JP3620263B2 - 開口枠の取り付け方法 - Google Patents
開口枠の取り付け方法 Download PDFInfo
- Publication number
- JP3620263B2 JP3620263B2 JP04248298A JP4248298A JP3620263B2 JP 3620263 B2 JP3620263 B2 JP 3620263B2 JP 04248298 A JP04248298 A JP 04248298A JP 4248298 A JP4248298 A JP 4248298A JP 3620263 B2 JP3620263 B2 JP 3620263B2
- Authority
- JP
- Japan
- Prior art keywords
- frame member
- vertical frame
- opening
- horizontal frame
- engaging
- Prior art date
- Legal status (The legal status is an assumption and is not a legal conclusion. Google has not performed a legal analysis and makes no representation as to the accuracy of the status listed.)
- Expired - Fee Related
Links
- 239000000463 material Substances 0.000 claims description 32
- 239000002023 wood Substances 0.000 description 1
Images
Landscapes
- Joining Of Corner Units Of Frames Or Wings (AREA)
Description
【0001】
【発明の属する技術分野】
本発明は、開口部に沿って開口枠を取り付ける方法に関するものである。
【0002】
【従来の技術】
従来、開口部に沿って開口枠を取り付けるとき、例えば、開口部の床面に沿って下横枠材を敷設して固定し、開口部の左右両側内面に沿って縦枠材を立設して縦枠材を開口部に固定し、開口部の上の内面に沿って左右両側の縦枠材の上端間に上横枠材を架設して上横枠材を開口枠に固定していた。
【0003】
【発明が解決しようとする課題】
上記のように開口部に沿って開口枠を取り付け施工するとき、下横枠材や左右両側の縦枠材は一人でも取り付け施工ができるが、上横枠材を取り付けるときは少なくとも一人が上横枠材を支え、他の一人が上横枠材を取り付ける作業をしなければならなく、施工に人手がいるという問題があった。また下横枠材、縦枠材及び上横枠材を相互に位置決めするのが困難で施工性が悪いという問題があった。
【0004】
本発明は叙述の点に鑑みてなされたものであって、人手を要せずに一人でも上横枠材の取り付けができ、しかも下横枠材、縦枠材及び上横枠材を相互に位置決めして施工性を向上できる開口枠の取り付け方法を提供するにある。
【0005】
【課題を解決するための手段】
上記課題を解決するため本発明の請求項1の開口枠の取り付け方法は、開口部1の床面に沿って下横枠材2が敷設され、次いで開口部1の左右両側に沿って垂直に縦枠材3が立設され、縦枠材3の下端が下横枠材2の長手方向の両端に係合され、縦枠材3がビス、釘等の固着具10にて開口部1に固定され、次いで縦枠材3の上端間に亙るように上横枠材4が架設されて上横枠材4の長手方向両端が縦枠材3の上端に係合にて連結されると共に上横枠材4がビス、釘等の固着具10にて開口部1に固定されることを特徴とする。縦枠材3を開口部1に沿って両側に立設した状態で両側の縦枠材3の上端間に上横枠材4を配置し、上横枠材4の両端を縦枠材3の上端に係合することで上横枠材4を両側の縦枠材3の上端間に連結すると共に上横枠材4をビス、釘等の固着具10にて開口部1に固定することができるものであって、一人の作業者でも上横枠材4を両側の縦枠材3の上端間に架設して取り付けることができ、従って上横枠材4の取り付けが人手を要せず容易に行うことができる。縦枠材3の下端を下横枠材2の長手方向の両端に係合し、上横枠材4の長手方向の両端を縦枠材3に係合することで、下横枠材2と縦枠材3と上横枠材4とを相互に位置決めできるものであって、開口枠の施工が容易にできる。また縦枠材3の下端を下横枠材2の長手方向の両端に係合するために縦枠材3を開口部1に固定すれば下横枠材2も固定でき、この点でも施工性を向上できる。
【0006】
また本発明の請求項2の開口枠の取り付け方法は、請求項1において、縦枠材3の内面の上端に断面略逆L字状の係合片6が設けられると共に上横枠材4の両端に断面略L字状の被係合片7が設けられ、被係合片7が下から上に挿入されて被係合片7が係合片6に係合されることで上横枠材4が縦枠材3の上端間に架設されることを特徴とする。両側の縦枠材3の上端間に亙るように上横枠材4を配置し、上横枠材4を上に移動させて被係合片7を下から上に挿入して被係合片7を係合片6に係合することで上横枠材4の両端を縦枠材3の上端に連結できるものであって、上横枠材4の連結が容易にできる。
【0007】
また本発明の請求項3の開口枠の取り付け方法は、請求項1において、縦枠材3の内面の上端に水平方向に係合凹溝8が設けられると共に上横枠材4の長手方向の両端に係合突部9が設けられ、係合凹溝8に対して係合突部9が前後方向の移動で挿入されて係合凹溝8に係合突部9が係合されることで上横枠材4が縦枠材3の上端間に架設されることを特徴とする。両側の縦枠材3の上端間に亙るように上横枠材4を配置し、上横枠材4を前後方向に移動させて係合突部9を係合凹溝8に係合させることで上横枠材4の両端を縦枠材3の上端に連結できるものであって、上横枠材4の連結が容易にできる。
【0008】
【発明の実施の形態】
まず、本発明の全体的な構造について説明する。
【0009】
建物の開口部1に取り付ける開口枠は開口部1の内周に沿って下横枠材2、左右両側の縦枠材3及び上の上横枠材4を矩形状に組み立てて形成される。図1(a)に示すような開口部1の床面に沿って図1(b)に示すように下横枠材2が敷設され、次いで図1(c)に示すように開口部1の左右両側に沿って垂直に縦枠材3が立設され、縦枠材3の下端が下横枠材2の長手方向の両端に係合され、縦枠材3がビス、釘等の固着具10にて開口部1に固定され、次いで図1(d)のように縦枠材3の上端間に亙るように上横枠材4が架設されて上枠材4の長手方向の両端が縦枠材3の上端に係合にて連結されると共に上横枠材4がビス、釘等の固着具10にて開口部1に固定される。
【0010】
下横枠材2と縦枠材3との連結部分の構造について説明すると次のようになっている。下横枠材2の長手方向の両端の端面には図2、図3に示すように係合具11を装着してある。この係合具11は図4に示すように半円状に形成されており、大径の半円状の大係合部11aと小径の半円状の小係合部11bとを階段状に設けてある。係合具11から嵌合ボス12を突設してあり、嵌合ボス12の外周に複数条の係止襞12aを設けてある。下横枠材2の長手方向の端面には嵌合孔13を設けてあり、嵌合ボス12を嵌合孔13に嵌合することで係合具11を装着してある。縦枠材3の下端には上記係合具11を係合する半円状の係合凹部14を設けてあり、この係合凹部14が大径の半円状の大係合凹部14aと小径の半円状の小係合凹部14bとを有している。下横枠材2を敷設した状態で両側に縦枠材3を立設したとき係合具11に嵌めるように係合凹部14を係合して下横枠材2の両端に縦枠材3の下端が係合される。これにより下横枠材2と縦枠材3とを相互に位置決めできて容易に取り付けることができる。また縦枠材3を固着具10にて固着したとき下横枠材2を固定しないでも縦枠材3にて下横枠材2を固定できる。
【0011】
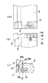
また縦枠材3の上端と上横枠材4の端部とを係合する構造を説明すると次のようになっている。図5に示すように縦枠材2の内面の上端には係合具15を装着してあり、この係合具15には断面略逆L字状の係合片6を一体に設けてあり、係合片6の下端に係合突起6aを設けてある。上横枠材4の両端には被係合具16を装着してあり、被係合具16には断面略L字状の被係合片7を設けてあり、被係合片7の上端に被係合突起7aを設けてある。しかして、図6に示すように作業者Hが両側の縦枠材3の上端間に亙るように上横枠材4を配置し、上横枠材4を上に持ち上げるように上横枠材4を上に移動させ、係合具15内に差し込むように被係合片7を挿入して係合突起6aと被係合突起7aとを係合して係合片6と被係合片7とを係合する。このように上横枠材4を架設して上横枠材4の両端を縦枠材3の上端に係合連結した状態で、上横枠材4を固着具10にて開口部1に固定する。
【0012】
また図7、図8は縦枠材3の上端と上横枠材4の端部とを係合連結する構造の他例を示すものである。上横枠材4の両端の端面には端面板17を装着してあり、端面板17に係合突部9を設けてある。端面板17の裏面側には嵌合ダボ18とレール嵌合縁19とを設けてある。上横枠材4には長手方向に亙るようにレール20を埋設してあり、上横枠材4の長手方向の端面に嵌合孔を設けてある。そして端面板17を上横枠材4の端面に端面を覆うように配置した状態で、嵌合ダボ18が嵌合孔に嵌合されると共にレール嵌合縁19がレール20の端部に嵌合されて固定される。端面板17に設けた係合突部9は長円形状の鍔部9aと鍔部9aの根元の鍔部9aより径の小さい長円形状の首部9bと鍔部9aより突設した軸部9cとで構成されている。縦枠材3の上端には切り欠き21を設けてあり、この切り欠き21には係合ブロック22を配置して装着してある。この係合ブロック22には係合ブロック22と一体の取り付け板23を垂下してあり、この取り付け板23には嵌合ダボ24を設けてあり、取り付け板23を縦枠材2の外面に沿わせると共に嵌合ダボ24を縦枠材3の嵌合孔に嵌合して係合ブロック22を装着してある。係合ブロック22には前後方向に係合凹溝8を穿設してあり、この係合凹溝8は内面側及び前後方向の一端側が開口している。この係合凹溝8は係合突部9の鍔部9aが入る溝部8aと首部9bを挿通するスリット8bと軸部9cが入る溝部8cとで構成されている。スリット8bの前後方向の一端には首部9bを導入しやすくするための開先8dを設けてあり、スリット8bの下縁には係止突起8eを設けてある。しかして、両側の縦枠材3の上端間に亙るように上横枠材4を配置し、上横枠材4を押すように上横枠材3を前後方向に移動させ、係合突起9を係合凹溝8に挿入して係合突起9を係合凹溝8に係合させる。このように上横枠材4を架設して上横枠材4の両端を縦枠材3の上端に係合連結した状態で、上横枠材4を固着具10にて開口部1に固定する。
【0013】
【発明の効果】
本発明の請求項1の発明は、開口部の床面に沿って下横枠材が敷設され、次いで開口部の左右両側に沿って垂直に縦枠材が立設され、縦枠材の下端が下横枠材の長手方向の両端に係合され、縦枠材がビス、釘等の固着具にて開口部に固定され、次いで縦枠材の上端間に亙るように上横枠材が架設されて上横枠材の長手方向両端が縦枠材の上端に係合にて連結されると共に上横枠材がビス、釘等の固着具にて開口部に固定されるので、縦枠材を開口部に沿って両側に立設した状態で両側の縦枠材の上端間に上横枠材を配置し、上横枠材の両端を縦枠材の上端に係合することで上横枠材を両側の縦枠材の上端間に連結すると共に上横枠材をビス、釘等の固着具にて開口部に固定することができるものであって、一人の作業者でも上横枠材を両側の縦枠材の上端間に架設して取り付けることができ、従って上横枠材の取り付けが人手を要せず容易に行うことができるものであり、また縦枠材の下端を下横枠材の長手方向の両端に係合し、上横枠材の長手方向の両端を縦枠材に係合することで、下横枠材と縦枠材と上横枠材とを相互に位置決めできるものであって、開口枠の施工が容易にできるものあり、また縦枠材の下端を下横枠材の長手方向の両端に係合するために縦枠材を開口部に固定すれば下横枠材も固定でき、この点でも施工性を向上できるものある。
【0014】
また本発明の請求項2の発明は、請求項1において、縦枠材の内面の上端に断面略逆L字状の係合片が設けられると共に上横枠材の両端に断面略L字状の被係合片が設けられ、被係合片が下から上に挿入されて被係合片が係合片に係合されることで上横枠材が縦枠材の上端間に架設されるので、両側の縦枠材の上端間に亙るように上横枠材を配置し、上横枠材を上に移動させて被係合片を下から上に挿入して被係合片を係合片に係合することで上横枠材の両端を縦枠材の上端に連結できるものであって、上横枠材の連結が容易にできるものである。
【0015】
また本発明の請求項3の発明は、請求項1において、縦枠材の内面の上端に水平方向に係合凹溝が設けられると共に上横枠材の長手方向の両端に係合突部が設けられ、係合凹溝に対して係合突部が前後方向の移動で挿入されて係合凹溝に係合突部が係合されることで上横枠材が縦枠材の上端間に架設されるので、両側の縦枠材の上端間に亙るように上横枠材を配置し、上横枠材を前後方向に移動させて係合突部を係合凹溝に係合させることで上横枠材の両端を縦枠材の上端に連結できるものであって、上横枠材の連結が容易にできるものである。
【図面の簡単な説明】
【図1】(a)(b)(c)(d)は本発明の実施の形態の一例の開口部に開口枠を取り付ける状態を説明する概略斜視図である。
【図2】同上の下横枠材と縦枠材とを係合する部分の分解斜視図である。
【図3】同上の下横枠材と縦枠材とを結合した部分を示し、(a)は側面図、(b)は平面図、(c)は断面図である。
【図4】同上の係合具を示し、(a)は正面図、(b)は左側面図、(c)は右側面図、(d)は底面図、(e)は断面図である。
【図5】同上の上横枠材と縦枠材とを係合する部分を示し、(a)は分解斜視図、(b)は正面図である。
【図6】同上の上横枠材を取り付ける状態を示す概略斜視図である。
【図7】同上の上横枠材と縦枠材とを係合する部分の他例の構造を示す分解斜視図である。
【図8】(a)は同上の上横枠材と縦枠材とを係合連結した部分の平面図、(b)は上横枠材と縦枠材とを係合連結した部分の一部切欠斜視図である。
【符号の説明】
1 開口部
2 下横枠材
3 縦枠材
4 上横枠材
6 係合片
7 被係合片
8 係合凹溝
9 係合突部
【発明の属する技術分野】
本発明は、開口部に沿って開口枠を取り付ける方法に関するものである。
【0002】
【従来の技術】
従来、開口部に沿って開口枠を取り付けるとき、例えば、開口部の床面に沿って下横枠材を敷設して固定し、開口部の左右両側内面に沿って縦枠材を立設して縦枠材を開口部に固定し、開口部の上の内面に沿って左右両側の縦枠材の上端間に上横枠材を架設して上横枠材を開口枠に固定していた。
【0003】
【発明が解決しようとする課題】
上記のように開口部に沿って開口枠を取り付け施工するとき、下横枠材や左右両側の縦枠材は一人でも取り付け施工ができるが、上横枠材を取り付けるときは少なくとも一人が上横枠材を支え、他の一人が上横枠材を取り付ける作業をしなければならなく、施工に人手がいるという問題があった。また下横枠材、縦枠材及び上横枠材を相互に位置決めするのが困難で施工性が悪いという問題があった。
【0004】
本発明は叙述の点に鑑みてなされたものであって、人手を要せずに一人でも上横枠材の取り付けができ、しかも下横枠材、縦枠材及び上横枠材を相互に位置決めして施工性を向上できる開口枠の取り付け方法を提供するにある。
【0005】
【課題を解決するための手段】
上記課題を解決するため本発明の請求項1の開口枠の取り付け方法は、開口部1の床面に沿って下横枠材2が敷設され、次いで開口部1の左右両側に沿って垂直に縦枠材3が立設され、縦枠材3の下端が下横枠材2の長手方向の両端に係合され、縦枠材3がビス、釘等の固着具10にて開口部1に固定され、次いで縦枠材3の上端間に亙るように上横枠材4が架設されて上横枠材4の長手方向両端が縦枠材3の上端に係合にて連結されると共に上横枠材4がビス、釘等の固着具10にて開口部1に固定されることを特徴とする。縦枠材3を開口部1に沿って両側に立設した状態で両側の縦枠材3の上端間に上横枠材4を配置し、上横枠材4の両端を縦枠材3の上端に係合することで上横枠材4を両側の縦枠材3の上端間に連結すると共に上横枠材4をビス、釘等の固着具10にて開口部1に固定することができるものであって、一人の作業者でも上横枠材4を両側の縦枠材3の上端間に架設して取り付けることができ、従って上横枠材4の取り付けが人手を要せず容易に行うことができる。縦枠材3の下端を下横枠材2の長手方向の両端に係合し、上横枠材4の長手方向の両端を縦枠材3に係合することで、下横枠材2と縦枠材3と上横枠材4とを相互に位置決めできるものであって、開口枠の施工が容易にできる。また縦枠材3の下端を下横枠材2の長手方向の両端に係合するために縦枠材3を開口部1に固定すれば下横枠材2も固定でき、この点でも施工性を向上できる。
【0006】
また本発明の請求項2の開口枠の取り付け方法は、請求項1において、縦枠材3の内面の上端に断面略逆L字状の係合片6が設けられると共に上横枠材4の両端に断面略L字状の被係合片7が設けられ、被係合片7が下から上に挿入されて被係合片7が係合片6に係合されることで上横枠材4が縦枠材3の上端間に架設されることを特徴とする。両側の縦枠材3の上端間に亙るように上横枠材4を配置し、上横枠材4を上に移動させて被係合片7を下から上に挿入して被係合片7を係合片6に係合することで上横枠材4の両端を縦枠材3の上端に連結できるものであって、上横枠材4の連結が容易にできる。
【0007】
また本発明の請求項3の開口枠の取り付け方法は、請求項1において、縦枠材3の内面の上端に水平方向に係合凹溝8が設けられると共に上横枠材4の長手方向の両端に係合突部9が設けられ、係合凹溝8に対して係合突部9が前後方向の移動で挿入されて係合凹溝8に係合突部9が係合されることで上横枠材4が縦枠材3の上端間に架設されることを特徴とする。両側の縦枠材3の上端間に亙るように上横枠材4を配置し、上横枠材4を前後方向に移動させて係合突部9を係合凹溝8に係合させることで上横枠材4の両端を縦枠材3の上端に連結できるものであって、上横枠材4の連結が容易にできる。
【0008】
【発明の実施の形態】
まず、本発明の全体的な構造について説明する。
【0009】
建物の開口部1に取り付ける開口枠は開口部1の内周に沿って下横枠材2、左右両側の縦枠材3及び上の上横枠材4を矩形状に組み立てて形成される。図1(a)に示すような開口部1の床面に沿って図1(b)に示すように下横枠材2が敷設され、次いで図1(c)に示すように開口部1の左右両側に沿って垂直に縦枠材3が立設され、縦枠材3の下端が下横枠材2の長手方向の両端に係合され、縦枠材3がビス、釘等の固着具10にて開口部1に固定され、次いで図1(d)のように縦枠材3の上端間に亙るように上横枠材4が架設されて上枠材4の長手方向の両端が縦枠材3の上端に係合にて連結されると共に上横枠材4がビス、釘等の固着具10にて開口部1に固定される。
【0010】
下横枠材2と縦枠材3との連結部分の構造について説明すると次のようになっている。下横枠材2の長手方向の両端の端面には図2、図3に示すように係合具11を装着してある。この係合具11は図4に示すように半円状に形成されており、大径の半円状の大係合部11aと小径の半円状の小係合部11bとを階段状に設けてある。係合具11から嵌合ボス12を突設してあり、嵌合ボス12の外周に複数条の係止襞12aを設けてある。下横枠材2の長手方向の端面には嵌合孔13を設けてあり、嵌合ボス12を嵌合孔13に嵌合することで係合具11を装着してある。縦枠材3の下端には上記係合具11を係合する半円状の係合凹部14を設けてあり、この係合凹部14が大径の半円状の大係合凹部14aと小径の半円状の小係合凹部14bとを有している。下横枠材2を敷設した状態で両側に縦枠材3を立設したとき係合具11に嵌めるように係合凹部14を係合して下横枠材2の両端に縦枠材3の下端が係合される。これにより下横枠材2と縦枠材3とを相互に位置決めできて容易に取り付けることができる。また縦枠材3を固着具10にて固着したとき下横枠材2を固定しないでも縦枠材3にて下横枠材2を固定できる。
【0011】
また縦枠材3の上端と上横枠材4の端部とを係合する構造を説明すると次のようになっている。図5に示すように縦枠材2の内面の上端には係合具15を装着してあり、この係合具15には断面略逆L字状の係合片6を一体に設けてあり、係合片6の下端に係合突起6aを設けてある。上横枠材4の両端には被係合具16を装着してあり、被係合具16には断面略L字状の被係合片7を設けてあり、被係合片7の上端に被係合突起7aを設けてある。しかして、図6に示すように作業者Hが両側の縦枠材3の上端間に亙るように上横枠材4を配置し、上横枠材4を上に持ち上げるように上横枠材4を上に移動させ、係合具15内に差し込むように被係合片7を挿入して係合突起6aと被係合突起7aとを係合して係合片6と被係合片7とを係合する。このように上横枠材4を架設して上横枠材4の両端を縦枠材3の上端に係合連結した状態で、上横枠材4を固着具10にて開口部1に固定する。
【0012】
また図7、図8は縦枠材3の上端と上横枠材4の端部とを係合連結する構造の他例を示すものである。上横枠材4の両端の端面には端面板17を装着してあり、端面板17に係合突部9を設けてある。端面板17の裏面側には嵌合ダボ18とレール嵌合縁19とを設けてある。上横枠材4には長手方向に亙るようにレール20を埋設してあり、上横枠材4の長手方向の端面に嵌合孔を設けてある。そして端面板17を上横枠材4の端面に端面を覆うように配置した状態で、嵌合ダボ18が嵌合孔に嵌合されると共にレール嵌合縁19がレール20の端部に嵌合されて固定される。端面板17に設けた係合突部9は長円形状の鍔部9aと鍔部9aの根元の鍔部9aより径の小さい長円形状の首部9bと鍔部9aより突設した軸部9cとで構成されている。縦枠材3の上端には切り欠き21を設けてあり、この切り欠き21には係合ブロック22を配置して装着してある。この係合ブロック22には係合ブロック22と一体の取り付け板23を垂下してあり、この取り付け板23には嵌合ダボ24を設けてあり、取り付け板23を縦枠材2の外面に沿わせると共に嵌合ダボ24を縦枠材3の嵌合孔に嵌合して係合ブロック22を装着してある。係合ブロック22には前後方向に係合凹溝8を穿設してあり、この係合凹溝8は内面側及び前後方向の一端側が開口している。この係合凹溝8は係合突部9の鍔部9aが入る溝部8aと首部9bを挿通するスリット8bと軸部9cが入る溝部8cとで構成されている。スリット8bの前後方向の一端には首部9bを導入しやすくするための開先8dを設けてあり、スリット8bの下縁には係止突起8eを設けてある。しかして、両側の縦枠材3の上端間に亙るように上横枠材4を配置し、上横枠材4を押すように上横枠材3を前後方向に移動させ、係合突起9を係合凹溝8に挿入して係合突起9を係合凹溝8に係合させる。このように上横枠材4を架設して上横枠材4の両端を縦枠材3の上端に係合連結した状態で、上横枠材4を固着具10にて開口部1に固定する。
【0013】
【発明の効果】
本発明の請求項1の発明は、開口部の床面に沿って下横枠材が敷設され、次いで開口部の左右両側に沿って垂直に縦枠材が立設され、縦枠材の下端が下横枠材の長手方向の両端に係合され、縦枠材がビス、釘等の固着具にて開口部に固定され、次いで縦枠材の上端間に亙るように上横枠材が架設されて上横枠材の長手方向両端が縦枠材の上端に係合にて連結されると共に上横枠材がビス、釘等の固着具にて開口部に固定されるので、縦枠材を開口部に沿って両側に立設した状態で両側の縦枠材の上端間に上横枠材を配置し、上横枠材の両端を縦枠材の上端に係合することで上横枠材を両側の縦枠材の上端間に連結すると共に上横枠材をビス、釘等の固着具にて開口部に固定することができるものであって、一人の作業者でも上横枠材を両側の縦枠材の上端間に架設して取り付けることができ、従って上横枠材の取り付けが人手を要せず容易に行うことができるものであり、また縦枠材の下端を下横枠材の長手方向の両端に係合し、上横枠材の長手方向の両端を縦枠材に係合することで、下横枠材と縦枠材と上横枠材とを相互に位置決めできるものであって、開口枠の施工が容易にできるものあり、また縦枠材の下端を下横枠材の長手方向の両端に係合するために縦枠材を開口部に固定すれば下横枠材も固定でき、この点でも施工性を向上できるものある。
【0014】
また本発明の請求項2の発明は、請求項1において、縦枠材の内面の上端に断面略逆L字状の係合片が設けられると共に上横枠材の両端に断面略L字状の被係合片が設けられ、被係合片が下から上に挿入されて被係合片が係合片に係合されることで上横枠材が縦枠材の上端間に架設されるので、両側の縦枠材の上端間に亙るように上横枠材を配置し、上横枠材を上に移動させて被係合片を下から上に挿入して被係合片を係合片に係合することで上横枠材の両端を縦枠材の上端に連結できるものであって、上横枠材の連結が容易にできるものである。
【0015】
また本発明の請求項3の発明は、請求項1において、縦枠材の内面の上端に水平方向に係合凹溝が設けられると共に上横枠材の長手方向の両端に係合突部が設けられ、係合凹溝に対して係合突部が前後方向の移動で挿入されて係合凹溝に係合突部が係合されることで上横枠材が縦枠材の上端間に架設されるので、両側の縦枠材の上端間に亙るように上横枠材を配置し、上横枠材を前後方向に移動させて係合突部を係合凹溝に係合させることで上横枠材の両端を縦枠材の上端に連結できるものであって、上横枠材の連結が容易にできるものである。
【図面の簡単な説明】
【図1】(a)(b)(c)(d)は本発明の実施の形態の一例の開口部に開口枠を取り付ける状態を説明する概略斜視図である。
【図2】同上の下横枠材と縦枠材とを係合する部分の分解斜視図である。
【図3】同上の下横枠材と縦枠材とを結合した部分を示し、(a)は側面図、(b)は平面図、(c)は断面図である。
【図4】同上の係合具を示し、(a)は正面図、(b)は左側面図、(c)は右側面図、(d)は底面図、(e)は断面図である。
【図5】同上の上横枠材と縦枠材とを係合する部分を示し、(a)は分解斜視図、(b)は正面図である。
【図6】同上の上横枠材を取り付ける状態を示す概略斜視図である。
【図7】同上の上横枠材と縦枠材とを係合する部分の他例の構造を示す分解斜視図である。
【図8】(a)は同上の上横枠材と縦枠材とを係合連結した部分の平面図、(b)は上横枠材と縦枠材とを係合連結した部分の一部切欠斜視図である。
【符号の説明】
1 開口部
2 下横枠材
3 縦枠材
4 上横枠材
6 係合片
7 被係合片
8 係合凹溝
9 係合突部
Claims (3)
- 開口部の床面に沿って下横枠材が敷設され、次いで開口部の左右両側に沿って垂直に縦枠材が立設され、縦枠材の下端が下横枠材の長手方向の両端に係合され、縦枠材がビス、釘等の固着具にて開口部に固定され、次いで縦枠材の上端間に亙るように上横枠材が架設されて上横枠材の長手方向両端が縦枠材の上端に係合にて連結されると共に上横枠材がビス、釘等の固着具にて開口部に固定されることを特徴とする開口枠の取り付け方法。
- 縦枠材の内面の上端に断面略逆L字状の係合片が設けられると共に上横枠材の両端に断面略L字状の被係合片が設けられ、被係合片が下から上に挿入されて被係合片が係合片に係合されることで上横枠材が縦枠材の上端間に架設されることを特徴とする請求項1記載の開口枠の取り付け方法。
- 縦枠材の内面の上端に水平方向に係合凹溝が設けられると共に上横枠材の長手方向の両端に係合突部が設けられ、係合凹溝に対して係合突部が前後方向の移動で挿入されて係合凹溝に係合突部が係合されることで上横枠材が縦枠材の上端間に架設されることを特徴とする請求項1記載の開口枠の取り付け方法。
Priority Applications (1)
| Application Number | Priority Date | Filing Date | Title |
|---|---|---|---|
| JP04248298A JP3620263B2 (ja) | 1998-02-24 | 1998-02-24 | 開口枠の取り付け方法 |
Applications Claiming Priority (1)
| Application Number | Priority Date | Filing Date | Title |
|---|---|---|---|
| JP04248298A JP3620263B2 (ja) | 1998-02-24 | 1998-02-24 | 開口枠の取り付け方法 |
Publications (2)
| Publication Number | Publication Date |
|---|---|
| JPH11241575A JPH11241575A (ja) | 1999-09-07 |
| JP3620263B2 true JP3620263B2 (ja) | 2005-02-16 |
Family
ID=12637289
Family Applications (1)
| Application Number | Title | Priority Date | Filing Date |
|---|---|---|---|
| JP04248298A Expired - Fee Related JP3620263B2 (ja) | 1998-02-24 | 1998-02-24 | 開口枠の取り付け方法 |
Country Status (1)
| Country | Link |
|---|---|
| JP (1) | JP3620263B2 (ja) |
Families Citing this family (3)
| Publication number | Priority date | Publication date | Assignee | Title |
|---|---|---|---|---|
| JP6181484B2 (ja) * | 2013-09-05 | 2017-08-16 | アロン化成株式会社 | 便器用手すり |
| JP6242754B2 (ja) * | 2014-06-05 | 2017-12-06 | Ykk Ap株式会社 | 開口枠の組立構造 |
| CN104612534A (zh) * | 2015-01-12 | 2015-05-13 | 天津城建大学 | 门槛可拆装的门框结构 |
-
1998
- 1998-02-24 JP JP04248298A patent/JP3620263B2/ja not_active Expired - Fee Related
Also Published As
| Publication number | Publication date |
|---|---|
| JPH11241575A (ja) | 1999-09-07 |
Similar Documents
| Publication | Publication Date | Title |
|---|---|---|
| JP3620263B2 (ja) | 開口枠の取り付け方法 | |
| JP2000129827A (ja) | 隔壁パネルの連結装置 | |
| JP3854178B2 (ja) | デッキ床の接合用金具 | |
| JP3200566B2 (ja) | 換気見切り部材 | |
| JP2002004374A (ja) | 防水床パンの設置構造 | |
| JPH0546569Y2 (ja) | ||
| JPH07279301A (ja) | 天井パネルの固定構造 | |
| JPH051555Y2 (ja) | ||
| JP2002129850A (ja) | 建築物の連窓シャッター装置 | |
| JPH04108710U (ja) | 間仕切用パネルの連結装置 | |
| JPS6118124Y2 (ja) | ||
| JPS6222589Y2 (ja) | ||
| JPH07292807A (ja) | 壁パネルの接続構造及び浴室ユニット | |
| JPH0625441B2 (ja) | 床パネルと壁パネルとの連結構造 | |
| JPS634097Y2 (ja) | ||
| JPH10339045A (ja) | 浴槽ユニットの天井パネル取付構造及び取付方法 | |
| JP2521682Y2 (ja) | ユニットルームの側壁の連結構造 | |
| JPH0350181Y2 (ja) | ||
| JPH0315908U (ja) | ||
| JPH0747573Y2 (ja) | ユニットルームの側壁構造 | |
| JPH1068189A (ja) | 天井パネルの配設構造 | |
| JP2897163B2 (ja) | 間仕切りパネル装置における支柱カバーの取付構造 | |
| JP2501367Y2 (ja) | 面格子の取付構造 | |
| JPH0723465Y2 (ja) | 縦格子パネルの組立構造 | |
| JPH11241576A (ja) | 枠材の連結構造 |
Legal Events
| Date | Code | Title | Description |
|---|---|---|---|
| A131 | Notification of reasons for refusal |
Free format text: JAPANESE INTERMEDIATE CODE: A131 Effective date: 20040629 |
|
| A521 | Written amendment |
Free format text: JAPANESE INTERMEDIATE CODE: A523 Effective date: 20040830 |
|
| TRDD | Decision of grant or rejection written | ||
| A01 | Written decision to grant a patent or to grant a registration (utility model) |
Free format text: JAPANESE INTERMEDIATE CODE: A01 Effective date: 20041026 |
|
| A61 | First payment of annual fees (during grant procedure) |
Free format text: JAPANESE INTERMEDIATE CODE: A61 Effective date: 20041108 |
|
| LAPS | Cancellation because of no payment of annual fees |