JP3607021B2 - 連結ケーブル - Google Patents

連結ケーブル Download PDF

Info

Publication number
JP3607021B2
JP3607021B2 JP31497596A JP31497596A JP3607021B2 JP 3607021 B2 JP3607021 B2 JP 3607021B2 JP 31497596 A JP31497596 A JP 31497596A JP 31497596 A JP31497596 A JP 31497596A JP 3607021 B2 JP3607021 B2 JP 3607021B2
Authority
JP
Japan
Prior art keywords
anchor
connecting cable
connector
steel
unbonded
Prior art date
Legal status (The legal status is an assumption and is not a legal conclusion. Google has not performed a legal analysis and makes no representation as to the accuracy of the status listed.)
Expired - Fee Related
Application number
JP31497596A
Other languages
English (en)
Other versions
JPH10152810A (ja
Inventor
達也 岡崎
Current Assignee (The listed assignees may be inaccurate. Google has not performed a legal analysis and makes no representation or warranty as to the accuracy of the list.)
Kobelco Wire Co Ltd
Original Assignee
Shinko Wire Co Ltd
Priority date (The priority date is an assumption and is not a legal conclusion. Google has not performed a legal analysis and makes no representation as to the accuracy of the date listed.)
Filing date
Publication date
Application filed by Shinko Wire Co Ltd filed Critical Shinko Wire Co Ltd
Priority to JP31497596A priority Critical patent/JP3607021B2/ja
Publication of JPH10152810A publication Critical patent/JPH10152810A/ja
Application granted granted Critical
Publication of JP3607021B2 publication Critical patent/JP3607021B2/ja
Anticipated expiration legal-status Critical
Expired - Fee Related legal-status Critical Current

Links

Images

Landscapes

  • Bridges Or Land Bridges (AREA)

Description

【0001】
【発明の属する技術分野】
本発明は、連結ケーブルに関し、詳細には、例えば高架構造の高速道路における橋台上の橋桁間、あるいは架橋の橋台と橋桁間などを連結するのに用いられる連結ケーブルに関するものである。
【0002】
【従来の技術】
最近の阪神大震災において橋桁が落下したこともあって、それを防止するため、例えば図5及び図6に示す構成の落橋防止装置が提案されている。この落橋防止装置は、隣り合う橋桁31, 31のそれぞれの端部にブラケット32をボルト 32Aにより固設し、そのブラケット32, 32間に連結ケーブル33を配線して構成するものである。
【0003】
ブラケット32は、その詳細を図6に示すように、基板34上に、ほぼ中央に連結ケーブル33を挿通する孔35が設けられたフランジ板36と、このフランジ板36の前後面(連結ケーブル33の定着ナット側を後面とする)の左右に固定した補強板37, 38とを立設固定して基本的に構造されるとともに、フランジ板36の前面側の左右補強板37, 37の間には偏向具39を取付ける取付部40が形成され、その取付部40には地震力による全方向の曲げに対して有効に作用するために用いる偏向具39が取付けられている。またフランジ板36の後面には、ほぼ中央に連結ケーブル33を挿通する孔41, 42が設けられた緩衝材43と支圧板44とが、その挿通孔41, 42がフランジ板36の挿通孔35と同心上となるように積層して取付けられている。
【0004】
連結ケーブル33は、多重よりPC鋼より線(PC鋼より線を 7〜19本さらに撚り合わせた物)45に直接ポリエチレン被覆46を施したケーブル本体47と、このケーブル本体47の両端に圧着加工により取付けた鋼製スリーブ48とで基本的に構成されるとともに、鋼製スリーブ48の端部には定着ナット49を取付けるためのネジ部50がねじ切り加工され、また鋼製スリーブ48のケーブル本体47側には、ケーブル本体47にわたって合成ゴム(例えばエチレンプロピレンゴム等)の熱収縮チューブ51が被覆されている。
【0005】
上記連結ケーブル33は、鋼製スリーブ48側を、橋桁31の端部に取付けられたブラケット32の偏向具39、フランジ板36、支圧板44及び緩衝材43の挿通孔52, 35, 41, 42に通すとともに、支圧板44の背面に突き出ている鋼製スリーブ48にスプリング53及び止めプレート54を取付け、更に止めプレート54の背面に鋼製スリーブ48のネジ部50に螺合して定着ナット49を取付けることで落橋防止装置を構成する。
【0006】
上記落橋防止装置は、定着ナット49を締め付けることでスプリング53を圧縮しその反発力で連結ケーブル33の自重による撓みを無くすように配線し、スプリング53と緩衝材43によって地震の際の衝撃力を緩和するとともに、連結ケーブル33によって落橋を防止するものである。
【0007】
【発明が解決しようとする課題】
上述した落橋防止装置は、その構造からして十分な落橋防止機能を有するものと思われるが、次のような問題のあることが判明した。
【0008】
即ち、上記連結ケーブル33では、ケーブル本体47の容量(耐力)が大きくなればなるほど把持力を増す必要があるため鋼製スリーブ48を大径で且つ長くする必要があり、これにより偏向具39が大きくなるとともに、ブラケット32も長く且つ大きくなる。このため落橋防止装置に構成した場合に装置自体が長く大型となり、橋桁31への取付けの容易性が損なわれ、また取付け位置に制約を受けるなどの実用上の問題が生じる。
【0009】
また、連結ケーブル33の加工において、鋼製スリーブ48のケーブル本体47への取付けは、一般に鋼製スリーブ48にケーブル本体47を差し込み押出加工(圧着加工)を行った後にネジ切り加工を施して行われるので、鋼製スリーブ48へのメッキ等の防錆処理はネジ切り加工後に行わなければならないが、ケーブル本体47が取付けられた後ではメッキ等の防錆処理が難しく、そのため落橋防止装置に構成した際に鋼製スリーブ48の防錆対策としてフランジ板36の後面側を別個にカバーする保護キャップ55等を設ける必要がある。
【0010】
また、ケーブル本体33は、多重よりPC鋼より線45に直接ポリエチレン被覆46を施したものであるから、ポリエチレン被覆46が損傷すると耐食性が損なわれ易くなる問題があり、落橋防止装置の寿命にも影響を及ぼすことになる。
【0011】
本発明は、上記の問題点を解消するためになしたものであって、その目的は、ブラケットを極力大きくすることなく、延いては落橋防止装置をコンパクトに構成し得るとともに、耐食性及び各種特性に優れた連結ケーブルを提供するものである。
【0012】
【課題を解決するための手段】
上記の目的を達成するために、本発明に係る連結ケーブルは、両端部に鋼製スリーブが圧着加工されてなるアンボンドPC鋼より線の複数本をパラレルに配置するとともにその外周にポリエチレン本管が被覆されたケーブル本体の両端部に、アンボンドPC鋼より線を収容する長手方向の溝と外ネジとが施されたアンカーと、アンカーの外ネジに螺合する内ネジが施されたオーバーラップ管と、アンカーの外ネジに螺合する内ネジと外周に外ネジが施されたコネクターと、コネクターの外ネジに螺合する内ネジが施された定着ナットと、を備えてなるものである。
【0013】
そして、上記連結ケーブルにおいては、アンカー、コネクター、定着ナットに亜鉛メッキが施されてあってもよい。また、定着ナットの後方には、コネクターの外ネジに螺合させて複数本のアンボンドPC鋼より線の端部を収容するキャップが設けてあってもよい。
【0014】
上記本発明の連結ケーブルでは、次のような作用効果が得られる。即ち、
▲1▼:個々のアンボンドPC鋼より線の両端部に鋼製スリーブを圧着加工し、そのアンボンドPC鋼より線をアンカーの溝に収容し、そのアンカーをコネクターにねじ込む構成としているので、鋼製スリーブがアンカーとコネクターの端面に当接してアンボンドPC鋼より線の抜け止めがなされる。従って、アンカーとコネクターの大きさ(長さ及び径)はアンボンドPC鋼より線の線径にそれほど大きく影響されることがなく、特に長さは定着ナットが定着機能を発揮し得る長さであればよいことから、偏向具をフランジ前面近傍又は直接取付けることができ、またケーブル本体の容量(耐力)を大きくしてもブラケットの大きさ(特に長さ)を変える必要がなく、落橋防止装置がコンパクトに構成できる。
▲2▼:ケーブル本体は、グリースが塗布された上に高密度ポリエチレンを被覆したアンボンドPC鋼より線の複数本に、更にポリエチレン管を被覆した3重防食構造となっているため、耐食性に優れる。また、アンボンドPC鋼より線をパラレルに配置しているので、構成PC鋼より線の特性をそのまま生かせ、機械的性質等の物理的特性の向上が図れる。
▲3▼:アンカー、コネクターはケーブル本体の両端部にねじ込んで取付ける構造としているので、定着ナット等の金属部品と同様に予め亜鉛メッキ等の防錆処理を施すことができ、従来のような防錆の意味での保護キャップを必ずしも必要としない。
▲4▼:上記▲2▼、▲3▼に説明したように防食構造となっているため、使用中における点検周期を長くでき点検作業の改善、更には落橋防止装置の延命が期待できる。
【0015】
【発明の実施の形態】
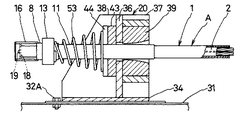
以下、本発明の実施形態を図面に基づいて説明する。図1は、本発明に係る連結ケーブルの説明図であって、aは全体斜視図、bはaの一端側を展開して示す部品の斜視図、図2は、本発明に係る連結ケーブルの一端側の断面図である。
【0016】
ケーブル本体1は、グリースが塗布された上に高密度ポリエチレンを被覆したアンボンドPC鋼より線2の両端に鋼製スリーブ3を圧着加工して取付け、本例では、その4本をパラレルに配置してポリエチレン本管4で被覆して構成されている。
【0017】
アンカー5は、外周面にねじ切り加工して外ネジ6が加工され、更にほぼ等間隔にアンボンドPC鋼より線2を収容する溝7が長手(軸)方向に平行に穿設されており、加工後に亜鉛メッキによる防錆処理が施されている。
【0018】
コネクター8は、外周面にねじ切り加工して外ネジ9が加工され、更に内周面にアンカー5の外ネジ6に螺合する内ネジ10がねじ切り加工されており、加工後に亜鉛メッキによる防錆処理が施されている。
【0019】
オーバーラップ管11は、ポリエチレン製であってその内径はケーブル本体1のポリエチレン本管4の外径より大きく、内周面の一端側にはアンカー5の外ネジ6に螺合する内ネジ12がねじ切り加工されている。
【0020】
定着ナット13は、コネクター8の外ネジ9に螺合する内ネジ14がねじ切り加工されており、加工後に亜鉛メッキによる防錆処理が施されている。
【0021】
熱収縮チューブ15は、合成ゴム(例えばエチレンプロピレンゴム等)でオーバーラップ管11の外径より大径に形成され、連結ケーブルを組立てた後に熱収縮させてポリエチレン本管4とオーバーラップ管11の重なり部を気密に保持する。
【0022】
キャップ16は、開放端の内周面にコネクター8の外ネジ9に螺合する内ネジ17がねじ切り加工されており、加工後に亜鉛メッキによる防錆処理が施されている。
【0023】
本発明の連結ケーブルAは、上述した部品を組立てて構成されるものであって次のように組立てられる。即ち、予めケーブル本体1にコネクター8、オーバーラップ管11及び熱収縮チューブ15を装入するとともに、ケーブル本体1の端部のポリエチレン本管4を所定長さ取り除く。その取り除いた部分に露出した4本のアンボンドPC鋼より線2を、アンカー5の収容溝7に収容するとともに、コネクター8を引き戻してアンカー5の外周に螺合させる。このとき、アンボンドPC鋼より線2の鋼製スリーブ3がアンカー5とコネクター8の端面に当接するように調節する。この後、オーバーラップ管11を引き戻してアンカー5の外周にコネクター8の端面に当接するまで螺合させた後、他端側のポリエチレン本管4との重なり部を熱収縮チューブ15で気密に被覆する。また、コネクター8の外周に定着ナット13とキャップ16を螺合させて取付ける。このとき、鋼製スリーブ3の端面から突出しているアンボンドPC鋼より線2の端を押え板18の孔に通し、その押え板18をボルト19によりアンカー5の端面の中央にねじ込み固定するようにしてもよい。これにより、鋼製スリーブ3を含むアンボンドPC鋼より線2の端が一体的に拘束される。
【0024】
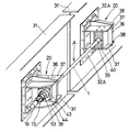
上記の如く組立て得る連結ケーブルAは、架設現場において落橋防止装置として図3及び図4に示すように、従来と同様に、隣り合う橋桁31, 31のそれぞれの端部にブラケット20をボルト 32A により固設し、そのブラケット20, 20間に連結ケーブルAを配線して使用される。
【0025】
上記落橋防止装置に使用されるブラケット20は、従来の落橋防止装置に使用されるブラケット32と基本的には同構造のもので、基板34上に、ほぼ中央に連結ケーブルAを挿通する孔35が設けられたフランジ板36と、このフランジ板36の前後面(連結ケーブル33の定着ナット側を後面とする)の左右に固定した補強板37, 38とを立設固定して構造されるとともに、フランジ板36の前面側の左右補強板37, 37の間には偏向具39を取付ける取付部40が形成され、その取付部40には地震力による全方向の曲げに対して有効に作用するために用いる偏向具39が取付けられ、またフランジ板36の後面には、ほぼ中央に連結ケーブルAを挿通する孔41, 42が設けられた緩衝材43と支圧板44とが、その挿通孔41, 42がフランジ板36の挿通孔35と同心上となるように積層して取付けられている。そして、本発明の連結ケーブルAでは、アンボンドPC鋼より線2の保持をアンカー5とコネクター8の端面に鋼製スリーブ3を当接させて行う形式で、アンカー5とコネクター8の長さが短く構成されているので、偏向具39をブラケット20のフランジ板36の前面に取付けることができる。これによりブラケット20の長さが短くできることから、落橋防止装置全体がコンパクトに構成できる。因みに、荷重 100tf( 980kN)の本発明の連結ケーブルAと従来技術の項で説明した多重よりPC鋼より線を用いた連結ケーブル33とで、偏向具39から連結ケーブルの端までの長さを測定したところ、従来の連結ケーブル33では 485mmであるのに対して本発明の連結ケーブルAではその半分の 220mmと短くできることが確認された。
【0026】
なお、ブラケット20に従来の連結ケーブル33を取付け使用することは可能であるが、この場合、ケーブル本体47の両端に圧着加工により取付けた鋼製スリーブ48が長く偏向具39にかかり、鋼製スリーブ48のケーブル本体47側が偏向基点となり偏向具39の機能が発揮されないばかりか、鋼製スリーブ48の端でケーブル本体47を損傷することになるので、これを防止するため、鋼製スリーブ48のケーブル本体47側の端が偏向具39にかからないようにフランジ板36又は支圧板44を厚く形成するなどの工夫を要することになり、何れにせよ落橋防止装置全体の長さは長くなる。
【0027】
また、本発明の連結ケーブルAと従来の連結ケーブル33との構造の相違から明らかなように、本発明の連結ケーブルAでは、上記利点の外に、ケーブル本体1が、グリースを塗布した上に高密度ポリエチレンを被覆したアンボンドPC鋼より線2の4本に、更にポリエチレン管4を被覆した3重防食構造となっているため、耐食性に優れる。また、アンボンドPC鋼より線2の4本をパラレルに配置しているので、構成PC鋼より線の特性がそのまま生かせ、機械的性質等の物理的特性の向上が期待される。また、アンカー5、コネクター8、定着ナット13、キャップ16は亜鉛メッキ等の防食処理が施されており、必ずしも従来のような防錆の意味での保護キャップを必要としない。
【0028】
なお、上記例では、アンボンドPC鋼より線2を4本用いた場合を例に説明したが、本発明はこの例に限定されるものではなく、取付ける部分の設計荷重に合わせ適宜2以上十数本、好ましくは 4〜12本の使用が可能である。
【0029】
【発明の効果】
上述したように、本発明に係る連結ケーブルによれば、偏向具を落橋防止装置を構成するブラケットのフランジ前面の近傍又は直接取付けることができるので、ブラケットの長さを短く構成でき、落橋防止装置全体がコンパクトに構成できる。また、ケーブル本体が、グリースを塗布した上に高密度ポリエチレンを被覆したアンボンドPC鋼より線の複数本に、更にポリエチレン管を被覆した3重防食構造となっているため、耐食性に優れる。また、アンボンドPC鋼より線をパラレルに配置しているので、構成PC鋼より線の特性をそのまま生かせ、機械的性質等の物理的特性の向上が図れる。また更に、アンカー、コネクターは、ケーブル本体の両端部にねじ込んで取付ける構造としているので、定着ナット等の金属部品と同様に予め亜鉛メッキ等の防錆処理を施すことができ、必ずしも従来のような防錆の意味での保護キャップを必要としない。
【0030】
更に、本発明に係る連結ケーブルによれば、十分な防食構造となっているので、使用中における点検周期を長くでき点検作業の改善、更には落橋防止装置の延命が期待できる。
【図面の簡単な説明】
【図1】本発明に係る連結ケーブルの説明図であって、aは全体斜視図、bはaの一端側を展開して示す部品の斜視図である。
【図2】本発明に係る連結ケーブルの一端側の断面図である。
【図3】本発明に係る連結ケーブルを落橋防止装置に組立てた全体斜視図である。
【図4】図3の一部断面説明図である。
【図5】落橋防止装置の全体概念図である。
【図6】従来の連結ケーブルを落橋防止装置に組立てた説明図であって、aは断面図、bはaの上面図である。
【符号の説明】
1:ケーブル本体 2:アンボンドPC鋼より線
3:鋼製スリーブ 4:ポリエチレン本管 5:アンカー
6,9:外ネジ 7:収容溝 8:コネクター
10, 12, 14:内ネジ 11:オーバーラップ管 13:定着ナット
15:熱収縮チューブ 16:キャップ 17:内ネジ
18:押え板 19:ボルト 20:ブラケット
A:連結ケーブル

Claims (3)

  1. 両端部に鋼製スリーブが圧着加工されてなるアンボンドPC鋼より線の複数本をパラレルに配置するとともにその外周にポリエチレン本管が被覆されたケーブル本体の両端部に、アンボンドPC鋼より線を収容する長手方向の溝と外ネジとが施されたアンカーと、アンカーの外ネジに螺合する内ネジが施されたオーバーラップ管と、アンカーの外ネジに螺合する内ネジと外周に外ネジが施されたコネクターと、コネクターの外ネジに螺合する内ネジが施された定着ナットと、を備えてなることを特徴とする連結ケーブル。
  2. アンカー、コネクター、定着ナットに亜鉛メッキが施されてなる請求項1記載の連結ケーブル。
  3. 定着ナットの後方に、コネクターの外ネジに螺合させて複数本のアンボンドPC鋼より線の端部を収容するキャップを備えてなる請求項1記載の連結ケーブル。
JP31497596A 1996-11-26 1996-11-26 連結ケーブル Expired - Fee Related JP3607021B2 (ja)

Priority Applications (1)

Application Number Priority Date Filing Date Title
JP31497596A JP3607021B2 (ja) 1996-11-26 1996-11-26 連結ケーブル

Applications Claiming Priority (1)

Application Number Priority Date Filing Date Title
JP31497596A JP3607021B2 (ja) 1996-11-26 1996-11-26 連結ケーブル

Publications (2)

Publication Number Publication Date
JPH10152810A JPH10152810A (ja) 1998-06-09
JP3607021B2 true JP3607021B2 (ja) 2005-01-05

Family

ID=18059926

Family Applications (1)

Application Number Title Priority Date Filing Date
JP31497596A Expired - Fee Related JP3607021B2 (ja) 1996-11-26 1996-11-26 連結ケーブル

Country Status (1)

Country Link
JP (1) JP3607021B2 (ja)

Families Citing this family (4)

* Cited by examiner, † Cited by third party
Publication number Priority date Publication date Assignee Title
JP4200660B2 (ja) * 2001-01-18 2008-12-24 敏雄 藤岡 免震構造物の脱落防止装置
JP2008303573A (ja) * 2007-06-06 2008-12-18 Shinko Wire Co Ltd 耐震補強ケーブル
CN113944102A (zh) * 2020-07-18 2022-01-18 武汉日意科技有限公司 防结冰凌桥拉索
JP2023117085A (ja) * 2022-02-10 2023-08-23 首都高速道路株式会社 ケーブル防護具

Family Cites Families (2)

* Cited by examiner, † Cited by third party
Publication number Priority date Publication date Assignee Title
JPH047213Y2 (ja) * 1988-12-05 1992-02-26
JPH05230809A (ja) * 1992-02-18 1993-09-07 Kumagai Gumi Co Ltd 斜張橋のステーケーブル定着方法及び定着装置並びに防振装置

Also Published As

Publication number Publication date
JPH10152810A (ja) 1998-06-09

Similar Documents

Publication Publication Date Title
JP3730513B2 (ja) 建設要素および構造ケーブルを固定する装置および方法
US4791237A (en) Cable suspension assembly with grounding mechanism
CN1448001A (zh) 架空电力线的减震器
JP3607021B2 (ja) 連結ケーブル
US6173104B1 (en) Dead end connector for fiber optic cable
JPH11323823A (ja) 建設構造物用の吊り下げ装置
IT8422200A1 (it) Metodo e struttura per supportare un conduttore in alluminio rinforzato con acciaio del tipo ad interstizio
DE19801786A1 (de) Verankerungsvorrichtung für einen Spann- und/oder Festanker
CA1078485A (en) Contraction terminating device for sheathed braided electrical conductor type cable
JP2000287350A (ja) 二重鎧装海底ケーブル中間接続部
JP2787286B2 (ja) 鋼製引張材端部定着装置及びその組立方法
JP3573801B2 (ja) 架設ケーブルの定着部における防錆処理方法
JP4041860B2 (ja) 光ファイバ用プーリングアイ
JP3481475B2 (ja) 被覆ケーブルの中間部クランプ構造並びに中間部クランプ金具
JPH10142432A (ja) 光ファイバ複合架空地線の腐食防止方法
JPH0750841Y2 (ja) 電線クランプ脱落防止装置
JPS5922735Y2 (ja) 配線固定装置
KR102879518B1 (ko) 클린칭 너트 밴드
JPS587804Y2 (ja) 架空電線の添線式防振装置
JP2003009369A (ja) 長尺体の鎧装線引留装置
JP3072970B2 (ja) 段差解消ブロック
JP2002320320A (ja) 外装鉄線の引留め装置
JPH01273008A (ja) 海浜マンホール内海底ケーブル引留方法
JPS6015383Y2 (ja) 架空電線の添線式防振装置
JP3019341U (ja) アンボンドpc鋼より線の端末処理構造および圧着グリップ

Legal Events

Date Code Title Description
A977 Report on retrieval

Free format text: JAPANESE INTERMEDIATE CODE: A971007

Effective date: 20040901

TRDD Decision of grant or rejection written
A01 Written decision to grant a patent or to grant a registration (utility model)

Free format text: JAPANESE INTERMEDIATE CODE: A01

Effective date: 20040928

A61 First payment of annual fees (during grant procedure)

Free format text: JAPANESE INTERMEDIATE CODE: A61

Effective date: 20041006

R150 Certificate of patent or registration of utility model

Free format text: JAPANESE INTERMEDIATE CODE: R150

R250 Receipt of annual fees

Free format text: JAPANESE INTERMEDIATE CODE: R250

FPAY Renewal fee payment (event date is renewal date of database)

Free format text: PAYMENT UNTIL: 20091015

Year of fee payment: 5

FPAY Renewal fee payment (event date is renewal date of database)

Free format text: PAYMENT UNTIL: 20091015

Year of fee payment: 5

FPAY Renewal fee payment (event date is renewal date of database)

Free format text: PAYMENT UNTIL: 20101015

Year of fee payment: 6

FPAY Renewal fee payment (event date is renewal date of database)

Free format text: PAYMENT UNTIL: 20101015

Year of fee payment: 6

FPAY Renewal fee payment (event date is renewal date of database)

Free format text: PAYMENT UNTIL: 20111015

Year of fee payment: 7

FPAY Renewal fee payment (event date is renewal date of database)

Free format text: PAYMENT UNTIL: 20121015

Year of fee payment: 8

FPAY Renewal fee payment (event date is renewal date of database)

Free format text: PAYMENT UNTIL: 20131015

Year of fee payment: 9

FPAY Renewal fee payment (event date is renewal date of database)

Free format text: PAYMENT UNTIL: 20131015

Year of fee payment: 9

FPAY Renewal fee payment (event date is renewal date of database)

Free format text: PAYMENT UNTIL: 20141015

Year of fee payment: 10

LAPS Cancellation because of no payment of annual fees