JP3599564B2 - イオン流形成方法及び装置 - Google Patents
イオン流形成方法及び装置 Download PDFInfo
- Publication number
- JP3599564B2 JP3599564B2 JP17884098A JP17884098A JP3599564B2 JP 3599564 B2 JP3599564 B2 JP 3599564B2 JP 17884098 A JP17884098 A JP 17884098A JP 17884098 A JP17884098 A JP 17884098A JP 3599564 B2 JP3599564 B2 JP 3599564B2
- Authority
- JP
- Japan
- Prior art keywords
- plasma
- ion
- ions
- ion flow
- flow forming
- Prior art date
- Legal status (The legal status is an assumption and is not a legal conclusion. Google has not performed a legal analysis and makes no representation as to the accuracy of the status listed.)
- Expired - Fee Related
Links
- 238000000034 method Methods 0.000 title claims description 53
- 150000002500 ions Chemical class 0.000 claims description 327
- 238000009792 diffusion process Methods 0.000 claims description 60
- 230000005684 electric field Effects 0.000 claims description 34
- 238000000605 extraction Methods 0.000 claims description 34
- 230000007246 mechanism Effects 0.000 claims description 30
- 230000001133 acceleration Effects 0.000 claims description 15
- 239000002245 particle Substances 0.000 claims description 8
- XUIMIQQOPSSXEZ-UHFFFAOYSA-N Silicon Chemical compound [Si] XUIMIQQOPSSXEZ-UHFFFAOYSA-N 0.000 claims description 7
- 230000009471 action Effects 0.000 claims description 7
- 230000015572 biosynthetic process Effects 0.000 claims description 7
- 229910052710 silicon Inorganic materials 0.000 claims description 7
- 239000010703 silicon Substances 0.000 claims description 7
- 230000008569 process Effects 0.000 claims description 6
- 238000005468 ion implantation Methods 0.000 claims description 3
- 238000010884 ion-beam technique Methods 0.000 claims description 2
- 239000007789 gas Substances 0.000 description 20
- 239000010409 thin film Substances 0.000 description 13
- 238000005530 etching Methods 0.000 description 6
- 239000000758 substrate Substances 0.000 description 6
- 230000000694 effects Effects 0.000 description 5
- XKRFYHLGVUSROY-UHFFFAOYSA-N Argon Chemical compound [Ar] XKRFYHLGVUSROY-UHFFFAOYSA-N 0.000 description 4
- 238000001816 cooling Methods 0.000 description 4
- 239000010408 film Substances 0.000 description 4
- 238000001020 plasma etching Methods 0.000 description 4
- 238000000151 deposition Methods 0.000 description 3
- 230000008021 deposition Effects 0.000 description 3
- 239000004065 semiconductor Substances 0.000 description 3
- 229910052786 argon Inorganic materials 0.000 description 2
- 238000005513 bias potential Methods 0.000 description 2
- 238000011109 contamination Methods 0.000 description 2
- 239000011521 glass Substances 0.000 description 2
- 238000012986 modification Methods 0.000 description 2
- 230000004048 modification Effects 0.000 description 2
- 230000035515 penetration Effects 0.000 description 2
- 238000005268 plasma chemical vapour deposition Methods 0.000 description 2
- 238000000926 separation method Methods 0.000 description 2
- 238000000992 sputter etching Methods 0.000 description 2
- MYMOFIZGZYHOMD-UHFFFAOYSA-N Dioxygen Chemical compound O=O MYMOFIZGZYHOMD-UHFFFAOYSA-N 0.000 description 1
- VYPSYNLAJGMNEJ-UHFFFAOYSA-N Silicium dioxide Chemical compound O=[Si]=O VYPSYNLAJGMNEJ-UHFFFAOYSA-N 0.000 description 1
- 238000004380 ashing Methods 0.000 description 1
- 230000008901 benefit Effects 0.000 description 1
- 230000008859 change Effects 0.000 description 1
- 238000006243 chemical reaction Methods 0.000 description 1
- 238000004140 cleaning Methods 0.000 description 1
- 238000010586 diagram Methods 0.000 description 1
- 229910001882 dioxygen Inorganic materials 0.000 description 1
- 238000009826 distribution Methods 0.000 description 1
- -1 electrons Chemical class 0.000 description 1
- NBVXSUQYWXRMNV-UHFFFAOYSA-N fluoromethane Chemical compound FC NBVXSUQYWXRMNV-UHFFFAOYSA-N 0.000 description 1
- 239000001307 helium Substances 0.000 description 1
- 229910052734 helium Inorganic materials 0.000 description 1
- SWQJXJOGLNCZEY-UHFFFAOYSA-N helium atom Chemical compound [He] SWQJXJOGLNCZEY-UHFFFAOYSA-N 0.000 description 1
- 238000002513 implantation Methods 0.000 description 1
- 238000009616 inductively coupled plasma Methods 0.000 description 1
- 239000011810 insulating material Substances 0.000 description 1
- 239000012528 membrane Substances 0.000 description 1
- 239000002184 metal Substances 0.000 description 1
- 230000007935 neutral effect Effects 0.000 description 1
- 238000002294 plasma sputter deposition Methods 0.000 description 1
- 239000004033 plastic Substances 0.000 description 1
- 229920001721 polyimide Polymers 0.000 description 1
- 239000009719 polyimide resin Substances 0.000 description 1
- 238000005036 potential barrier Methods 0.000 description 1
- 238000003672 processing method Methods 0.000 description 1
- 230000000644 propagated effect Effects 0.000 description 1
- 230000001902 propagating effect Effects 0.000 description 1
- 238000010926 purge Methods 0.000 description 1
- 239000012495 reaction gas Substances 0.000 description 1
- 230000006798 recombination Effects 0.000 description 1
- 238000005215 recombination Methods 0.000 description 1
- 230000001846 repelling effect Effects 0.000 description 1
- 229910052814 silicon oxide Inorganic materials 0.000 description 1
- 238000006557 surface reaction Methods 0.000 description 1
Images
Classifications
-
- C—CHEMISTRY; METALLURGY
- C23—COATING METALLIC MATERIAL; COATING MATERIAL WITH METALLIC MATERIAL; CHEMICAL SURFACE TREATMENT; DIFFUSION TREATMENT OF METALLIC MATERIAL; COATING BY VACUUM EVAPORATION, BY SPUTTERING, BY ION IMPLANTATION OR BY CHEMICAL VAPOUR DEPOSITION, IN GENERAL; INHIBITING CORROSION OF METALLIC MATERIAL OR INCRUSTATION IN GENERAL
- C23C—COATING METALLIC MATERIAL; COATING MATERIAL WITH METALLIC MATERIAL; SURFACE TREATMENT OF METALLIC MATERIAL BY DIFFUSION INTO THE SURFACE, BY CHEMICAL CONVERSION OR SUBSTITUTION; COATING BY VACUUM EVAPORATION, BY SPUTTERING, BY ION IMPLANTATION OR BY CHEMICAL VAPOUR DEPOSITION, IN GENERAL
- C23C16/00—Chemical coating by decomposition of gaseous compounds, without leaving reaction products of surface material in the coating, i.e. chemical vapour deposition [CVD] processes
- C23C16/44—Chemical coating by decomposition of gaseous compounds, without leaving reaction products of surface material in the coating, i.e. chemical vapour deposition [CVD] processes characterised by the method of coating
- C23C16/50—Chemical coating by decomposition of gaseous compounds, without leaving reaction products of surface material in the coating, i.e. chemical vapour deposition [CVD] processes characterised by the method of coating using electric discharges
- C23C16/515—Chemical coating by decomposition of gaseous compounds, without leaving reaction products of surface material in the coating, i.e. chemical vapour deposition [CVD] processes characterised by the method of coating using electric discharges using pulsed discharges
-
- C—CHEMISTRY; METALLURGY
- C23—COATING METALLIC MATERIAL; COATING MATERIAL WITH METALLIC MATERIAL; CHEMICAL SURFACE TREATMENT; DIFFUSION TREATMENT OF METALLIC MATERIAL; COATING BY VACUUM EVAPORATION, BY SPUTTERING, BY ION IMPLANTATION OR BY CHEMICAL VAPOUR DEPOSITION, IN GENERAL; INHIBITING CORROSION OF METALLIC MATERIAL OR INCRUSTATION IN GENERAL
- C23C—COATING METALLIC MATERIAL; COATING MATERIAL WITH METALLIC MATERIAL; SURFACE TREATMENT OF METALLIC MATERIAL BY DIFFUSION INTO THE SURFACE, BY CHEMICAL CONVERSION OR SUBSTITUTION; COATING BY VACUUM EVAPORATION, BY SPUTTERING, BY ION IMPLANTATION OR BY CHEMICAL VAPOUR DEPOSITION, IN GENERAL
- C23C16/00—Chemical coating by decomposition of gaseous compounds, without leaving reaction products of surface material in the coating, i.e. chemical vapour deposition [CVD] processes
- C23C16/44—Chemical coating by decomposition of gaseous compounds, without leaving reaction products of surface material in the coating, i.e. chemical vapour deposition [CVD] processes characterised by the method of coating
- C23C16/50—Chemical coating by decomposition of gaseous compounds, without leaving reaction products of surface material in the coating, i.e. chemical vapour deposition [CVD] processes characterised by the method of coating using electric discharges
- C23C16/511—Chemical coating by decomposition of gaseous compounds, without leaving reaction products of surface material in the coating, i.e. chemical vapour deposition [CVD] processes characterised by the method of coating using electric discharges using microwave discharges
-
- H—ELECTRICITY
- H01—ELECTRIC ELEMENTS
- H01J—ELECTRIC DISCHARGE TUBES OR DISCHARGE LAMPS
- H01J37/00—Discharge tubes with provision for introducing objects or material to be exposed to the discharge, e.g. for the purpose of examination or processing thereof
- H01J37/32—Gas-filled discharge tubes
- H01J37/32009—Arrangements for generation of plasma specially adapted for examination or treatment of objects, e.g. plasma sources
- H01J37/32192—Microwave generated discharge
-
- H—ELECTRICITY
- H01—ELECTRIC ELEMENTS
- H01J—ELECTRIC DISCHARGE TUBES OR DISCHARGE LAMPS
- H01J37/00—Discharge tubes with provision for introducing objects or material to be exposed to the discharge, e.g. for the purpose of examination or processing thereof
- H01J37/32—Gas-filled discharge tubes
- H01J37/32009—Arrangements for generation of plasma specially adapted for examination or treatment of objects, e.g. plasma sources
- H01J37/32357—Generation remote from the workpiece, e.g. down-stream
-
- H—ELECTRICITY
- H01—ELECTRIC ELEMENTS
- H01J—ELECTRIC DISCHARGE TUBES OR DISCHARGE LAMPS
- H01J37/00—Discharge tubes with provision for introducing objects or material to be exposed to the discharge, e.g. for the purpose of examination or processing thereof
- H01J37/32—Gas-filled discharge tubes
- H01J37/32009—Arrangements for generation of plasma specially adapted for examination or treatment of objects, e.g. plasma sources
- H01J37/32422—Arrangement for selecting ions or species in the plasma
Landscapes
- Chemical & Material Sciences (AREA)
- Engineering & Computer Science (AREA)
- Physics & Mathematics (AREA)
- Plasma & Fusion (AREA)
- Analytical Chemistry (AREA)
- Materials Engineering (AREA)
- Chemical Kinetics & Catalysis (AREA)
- Mechanical Engineering (AREA)
- Metallurgy (AREA)
- Organic Chemistry (AREA)
- General Chemical & Material Sciences (AREA)
- Electron Sources, Ion Sources (AREA)
- Plasma Technology (AREA)
Description
【発明の属する技術分野】
本発明は,プラズマ装置に関する。
【0002】
さらに,本発明は,例えばプラズマ処理装置において,正イオンのみをプラズマから引き出し,電子や負イオンはプラズマ側に追い返し,被処理物に向かう正イオン流を形成する方法及び装置に関する。
【0003】
【従来の技術】
従来より,プラズマ処理装置としては,プラズマエッチング装置,プラズマCVD装置,プラズマアッシング装置,プラズマクリーニング装置などが,広く知られている。これらのプラズマ処理装置(以下,プラズマ装置という)としては,平行平板型のプラズマ処理装置のようにプラズマ発生室とプラズマ処理室が一体化されている装置,及びECRプラズマ装置のようにプラズマ発生室とプラズマ処理室とが分離された装置とがある。
【0004】
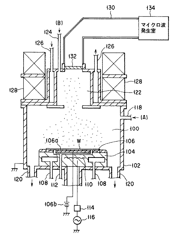
このプラズマ発生室とプラズマ処理室とが分離されたプラズマ装置においては,プラズマ発生室で形成されたプラズマを,或いはプラズマ中の荷電粒子(例.イオン)をプラズマ処理室に導く機構が必要である。図6にはECRプラズマエッチング装置が示されている。ECRプラズマエッチング装置において,処理室100は、気密で開閉自在な処理容器102内に形成されている。この処理容器102内に載置台104が設置され、この載置台104上に静電チャック106などの吸着手段を介して被処理体W(例.半導体ウェハ,LCDガラス基板など)が載置されている。静電チャック106は、ポリイミド樹脂などの絶縁素材性の薄膜間に板状電極106aを装着したもので、この板状電極106aに直流電源106bより高圧電力を印加することによって、ウェハWはクーロン力により載置台に吸着される。
【0005】
載置台104には、ウェハWを所定の温度に調節するために,冷却装置108や、ヒータ110などからなる温度調節手段が設けられている。載置台104内には伝熱ガス供給手段112が設けられており、静電チャック106上の複数の孔から伝熱ガス(例.へリウムガス)がウエハWの裏面から供給され,載置台104からウェハWに至る伝熱効率が高められる。載置台104には、マッチング回路114を介して高周波電源116が接続され,バイアス用高周波電力が載置台に印加される。
【0006】
上記処理容器102の上部側壁には、処理室100内へ所定の処理ガス(例.フッ化炭素ガス、酸素ガス及びアルゴンガスなどの混合ガス)Aを導入するための導入管118が設けられている。上記処理容器102の下部には,真空引き手段(不図示)に通じる排気管120が接続されている。
【0007】
上記処理室100の上部には、ECRプラズマを発生するプラズマ発生室122が連結されている。このプラズマ発生室122には,導波管130を介して,マイクロ波発生室134が連結されている。上記プラズマ発生室122の上壁には、プラズマ発生用のガス(例.アルゴンガス)Bを導入するための導入管124が設けられている。処理室100及びプラズマ発生室122内の気体は,該真空引き手段によって上記排気管120を介して排気されるとともに,上記導入管118及び124から所定の処理ガスが、上記各室に導入される。
上記プラズマ発生室122の側壁裏面部には、冷却手段126が設けられており、上記プラズマ発生室122内で発生した熱は放熱される。さらに、冷却手段126の外部には、磁気コイル128がプラズマ発生室122を取り囲むように設けられている。
【0008】
上記プラズマ発生室122には、マイクロ波を伝搬するための導波管130を介してマイクロ波発生室134が接続されている。マイクロ波発生室134のマグネトロン(不図示)により発振されたマイクロ波(例.2.45GHzのマイクロ波)は導波管130および絶緑壁132を介して,該プラズマ発生室122に伝搬される。該プラズマ発生室122内において、この伝搬されたマイクロ波により放電が励起される。該プラズマ発生室122内には,磁気コイル128により例えば875ガウスの磁界が与えられ、該放電中で電子はサイクロトロン運動し,プラズマ発生用ガスBのECRプラズマが生成される。
【0009】
上記処理室内には,所定の処理ガスAが導入されているため,上記プラズマ発生室122内で生じたプラズマ(電子)の作用により,処理ガス中の反応ガスは解離してラジカルが生じる。
【0010】
一方上記処理室100内の載置台104には,高周波電源116からエッチング回路114を介してバイアス用高周波電力が印加され,さらに上記処理室100内は,排気管120を介して排気されているため,上記プラズマ発生室122内で生じたプラズマ及び該ラジカルは,上記載置台104上に誘導される。上記載置台104上に載置されたウエハW上の被処理膜(例.シリコン酸化膜)は,これらプラズマ及び該ラジカルによりエッチングされる。
【0011】
このECRプラズマ処理装置は、従来の平行平板型プラズマ処理装置などと比較して、被処理体の高度な微細加工に適した装置である。このECRプラズマ処理装置は、異方性エッチングから完全等方性エッチングまでのエッチング形状を制御することが容易である。さらに,イオン化率が高いため、低イオンエネルギーで損傷の少ない高速エッチングが可能である。さらに,処理室内では無電極放電を利用するため、汚染が少ない。
【0012】
このような,プラズマ発生室とプラズマ処理室とが分離されたプラズマ処理装置においては,そのプラズマ処理の効率を高める上から,プラズマ発生室で形成したプラズマ中のイオンを処理室内に効率良く引き出すことが必要である。しかしながら,図6に示されたような装置においては,プラズマ発生室からは,プラズマ処理に必要なイオンのみならず電子も同時に拡散して引き出され,プラズマ処理室内の被処理体に導入される。
【0013】
それらイオンと電子との間には,電気的中性状態を維持するべく力が働いているため,それらを分離し,イオンのみを処理室に効率よく導入することは非常に困難である。電子とイオン(荷電粒子)が混在している状態において,電極を組み合わせた機構により,荷電粒子のみを制御することは容易ではない。この点から,プラズマからイオンのみを分離することの利点が生ずる。プラズマイオン源においては,プラズマからイオンのみを分離して取り出すことは前提条件である。プラズマCVDでは高エネルギーの入射イオンは膜を緻密にするよい働きもする。しかし,イオンのエネルギーが高すぎたり量が多すぎると逆に膜に多くの損傷を与えるという欠点も生ずる。別の観点では,イオンは成膜速度を上昇させる効果も及ぼす(ion induced deposition)。しかしイオンエッチングの効果が大きすぎると,下地にある異なる膜も削られ,汚染の原因にもなる。従って,いずれにしても入射イオンエネルギーの制御は重要な問題である。イオン源においては当然ながら,入射イオンエネルギーの制御は必須である。
【0014】
さらに,図6に示されたような装置において,電子と混在したイオンを所望の状態に制御,すなわちイオンを所望の方向に入射させることは困難である。このため,プラズマ処理室内に所定の電界を発生させる電界発生手段などの各種のイオンの流れを制御する手段が必要である。
【0015】
【発明が解決しようとする課題】
本発明は,プラズマ発生機構で形成されたプラズマから,イオンを効果的に引き出し,該イオンをウエーハ(基板)に向けることを目的とする。
【0016】
さらに,本発明は,プラズマ発生室とプラズマ処理室とが分離されたプラズマ処理装置において,プラズマ発生機構で形成されたプラズマから,イオンを効果的に引き出し,該イオンを被処理物に向けることを目的とする。
【0017】
本発明は,従来のプラズマ処理装置及びそのプラズマ処理方法における,上記のような問題点を解決することを目的する。
【0018】
本発明は,プラズマ発生室内で発生されたプラズマ中のイオンのみを選択的にプラズマ処理室内に向け,該イオンによって被処理物を効率良く処理することを目的とする。
【0019】
さらに,本発明は,相対的に少ない電力で相対的に多くのイオンを引き出すことが可能な,新規かつ改良されたイオン流形成方法及び導入装置を提供することを目的とする。
【0020】
【課題を解決するための手段】
イオンを引き出す箇所に継続的に一定の電位勾配をかけ続けた場合,以下の問題点がある。自由運動を経て電極上に達したイオンは,ある程度引き出しの為の力を受け始める。従ってイオンは電子に引きずられるような逆方向の力をも受ける。このためにこの場合には,イオンはなかなか引き出せない。本発明は,電極間で以下のような操作を反復することにより,この問題を解決する。
【0021】
1)両極性拡散(熱的拡散):電位勾配なし
2)電化分離(イオン加速):電位勾配つき
電極間に導入されたプラズマからイオンのみが効率的に荷電分離される。
【0022】
本発明により形成されたイオン流れは,種々の用途に使用され得る。例えば,インプランテーション用には,径が絞ぼられたイオン流が使用され得る。成膜 (ECR CVD)用には,径が広げられたイオン流が使用され得る。
【0023】
本願発明の第1番目の観点に従って,(a) プラズマ拡散出口を有するプラズマ発生室内にプラズマを発生させる工程と;(b) 該プラズマ発生室内で発生されたプラズマを拡散により、プラズマ発生室の外に配置した2つの電極の間の空間に移動させる拡散工程と;
(c) 該プラズマ発生室の外に移動した該プラズマに,プラズマ中の電子はプラズマ拡散出口の方向に戻し,該プラズマ中のイオンはその逆の方向に引き出す作用を及ぼす向きの電界を該両工程に比して短時間印加する,イオン引き出し工程と;及び
(d) 該引き出されたイオンを被処理物に向けるイオン流形成工程と,
を具備することを特徴とする,プラズマ発生室内で発生されたプラズマからイオンを引き出し,該イオンの流を形成するイオン流形成方法が提供される。
【0024】
本願発明の第2番目の観点に従って,上記第1番目の観点に従ったイオン流形成方法において,該工程(a) 乃至(d) が,この順序で反復して実施されることを特徴とする,イオン流形成方法が提供される。
本願発明の第3番目の観点に従って,上記第1番目の観点に従ったイオン流形成方法において,
該工程(a)が,常時実施されることを特徴とする,イオン流形成方法が提供される。
【0025】
本願発明の第4番目の観点に従って,上記第1番目の観点に従ったイオン流形成方法において,
該イオン引き出し工程(c) は,該プラズマ発生室のプラズマ拡散出口に設置された,2つの電極に異なる電圧を印加することにより実施されることを特徴とする,イオン流形成方法,が提供される。
【0026】
本願発明の第5番目の観点に従って,上記第4番目の観点に従ったイオン流形成方法において,
該イオン引き出し工程(c) は,該プラズマ発生室のプラズマ拡散出口に設置された,2つの電極に異なる電圧をパルス状に印加することにより実施され,
該イオン流形成工程(d) は,該イオンが該二つの電極間の空間から引き出された後で,該2つの電極への該電圧の印加を停止することにより実施される,ことを特徴とするイオン流形成方法が提供される。
【0027】
本願発明の第6番目の観点に従って,上記第1及び3のいずれか一つの観点に従ったイオン流形成方法において,
該工程(b) と該工程(c) との間に,該工程(c) よりはるかに短い時間の工程 (e)を含み,
該工程(e)では,イオンを制御対象として第1電極に,該工程(c)とは逆方向の電界が生じるようにバイアスが印加される,ことを特徴とする方法が提供される。
本願発明の第7番目の観点に従って,上記第1及び3のいずれか一つの観点に従ったイオン流形成方法において,
該イオン流形成工程(d) は,さらに,該2つの電極と被処理物との間に設置された第3の電極に,イオン加速用の電圧及びイオンビーム収束用の電圧の内の少なくとも一つを印加することにより実施される,ことを特徴とするイオン流形成方法が提供される。
【0028】
本願発明の第8番目の観点に従って,上記第4の観点に従ったイオン流形成方法において,
該イオン流形成工程(d) は,該イオンが該2つの電極から被処理物に至る経路において,該イオンの流れを分散する工程,を備えていることを特徴とするイオン流形成方法が提供される。
【0029】
本願発明の第9番目の観点に従って,上記第8の観点に従ったイオン流形成方法において,
該工程(c) は,該イオンに所定の質量とは異なる質量を有するイオンが含まれる場合においては,イオン加速時間/プラズマ拡散時間のパルス比を変更せずに周期を周波数変調及び振幅変調のいずれか一つで変更することにより,該異なる質量のイオンも引出す,ことを特徴とするイオン流形成方法が提供される。
【0030】
本願発明の第10番目の観点に従って,上記第1,4,及び5のいずれか一つの観点に従ったイオン流形成方法において,
イオン流形成工程(d) において,該引き出されたイオンが向けられる被処理物は回路パターンが形成されたシリコンウエハである,ことを特徴とするイオン流形成方法が提供される。
【0031】
本願発明の第11番目の観点に従って,上記第1,4,及び5のいずれか一つの観点に従ったイオン流形成方法において,
プラズマを発生させる工程(a) は,電子サイクロトロン共鳴によりプラズマを発生する工程である,ことを特徴とするイオン流形成方法が提供される。
【0032】
本願発明の第12番目の観点に従って,上記第11の観点に従ったイオン流形成方法において,
該イオン引き出し工程(c) においては,ECRプラズマ形成用のマイクロ波の導入及び外部磁場の少なくとも一つを遮断する,ことを特徴とするイオン流形成方法が提供される。
本願発明の第13番目の観点に従って,
プラズマ拡散出口を有するプラズマ発生室と;
該プラズマ拡散出口に対抗して配置された,被処理物を収容した処理室と;
該プラズマ発生室の該プラズマ拡散出口と,該処理室内の被処理物との間に配置された,2つの電極と;
該2つの電極の電位を制御する電位制御装置であって,該電位制御装置は,
該プラズマ発生室内で発生されたプラズマを拡散により該プラ ズマ発生室の外に配置した2つの電極の間の空間に移動させる拡 散工程においては,該2つの電極の電位は,等電位になるように, 制御し;
該プラズマ発生室の外に拡散し,該2つの電極間の空間に移動 した該プラズマに,プラズマ中の電子はプラズマ発生室の方向に 戻し,該プラズマ中のイオンは処理室の方向に引き出すイオン引 き出し工程においては,該イオン引き出し工程が実施され得るよ うな電界が該2つの電極間の空間に形成されるように,該2つの 電極にパルス状に異なる電圧を印加し;及び
該引き出されたイオンを処理室に収容された被処理物に向ける イオン流れ形成工程においては,該引き出されたイオンが該プラ ズマ中に再度引き戻される作用を及ぼす電界が生じないように, 該電極の電位を制御する,
ことを特徴とする,プラズマ発生室内で発生されたプラズマからイオンを引き出し,該イオンの流を形成する,ことを特徴とするイオン流形成装置が提供される。
【0033】
本願発明の第14番目の観点に従って,上記第13の観点に従ったイオン流形成装置において,該プラズマの発生と,該プラズマの拡散と,イオンの引き出しと,及びイオン流れ形成とが順に反復されることを特徴とするイオン流形成装置が提供される。
【0034】
本願発明の第16番目の観点に従って,上記第14及び15のいずれか一つの観点に従ったイオン流形成装置において,
該拡散工程と,該イオン引き出し工程の間に,該拡散工程よりはるかに短い時間の工程を含み,
該短い時間の工程では,イオンを制御対象として第1電極に,該イオン引き出し工程とは逆方向の電界を生じるようにバイアスが印加される,ことを特徴とする装置が提供される。
【0035】
本願発明の第17番目の観点に従って,上記第13の観点に従ったイオン流形成装置において,
該電位制御装置は,該二つの電極に加えて,プラズマ発生室,及び処理室の電位をも制御することを特徴とする,イオン流形成装置が提供される。
【0036】
本願発明の第18番目の観点に従って,上記第13の観点に従ったイオン流形成装置において,
該被処理物を収容した処理室は,
該電極と被処理物との間に,イオンの流れを分散させるための電極を備える,ことを特徴とする,イオン流形成装置が提供される。
【0037】
本願発明の第19番目の観点に従って,上記第18の観点に従ったイオン流形成装置において,該イオン流は,イオンインプランテーション以外の処理のために使用される,ことを特徴とする,イオン流形成装置が提供される。
【0038】
本願発明の第21番目の観点に従って,上記第13の観点に従ったイオン流形成装置において,
該電極sは,荷電粒子が通過する開口部に近付く程その厚さが薄くされている,ことを特徴とするイオン流形成装置が提供される。
【0039】
本願発明の第22番目の観点に従って,上記第13の観点に従ったイオン流形成装置において,
該イオン流れ形成工程は,該イオンに所定の質量とは異なる質量を有するイオンが含まれる場合においては,イオン加速時間/プラズマ拡散時間のパルス比を変更せずに周期を周波数変調及び振幅変調のいずれか一つで変更することにより,該異なる質量のイオンも引出す,ことを特徴とするイオン流形成装置が提供される。
本願発明の第23番目の観点に従って,上記第1,14,及び15のいずれか一つの観点に従ったイオン流形成装置において,該処理室に収容される被処理物はシリコンウエハである,ことを特徴とするイオン流形成装置が提供される。 本願発明の第24番目の観点に従って,上記第11,14,及び15のいずれか一つの観点に従ったイオン流形成装置において,該処理室に収容される被処理物は回路パターンが形成されたシリコンウエハである,ことを特徴とするイオン流形成装置が提供される。
【0040】
本願発明の第25番目の観点に従って,上記第11,14,及び15のいずれか一つの観点に従ったイオン流形成装置において,該プラズマ発生室は,電子サイクロトロン共鳴によりプラズマを発生する機構を備た,ことを特徴とするイオン流形成装置が提供される。
【0041】
本願発明の第26番目の観点に従って,上記第11,14,及び15のいずれか一つの観点に従ったイオン流形成装置において,
該プラズマ発生室は,電子サイクロトロン共鳴によりプラズマを発生する機構を備え,
イオン引き出しにおいては,ECRプラズマ形成用のマイクル波の導入及び外部磁場の印加の少なくとも一つ遮断することを特徴とするイオン流形成装置が提供される。
【0042】
【発明の実施の形態】
従来のプラズマ処理装置において,プラズマ発生室で形成されたプラズマを処理室に導入することによる,上述した課題を解決するために,本発明においては,プラズマ発生室で形成されたプラズマ中のイオンは,後述されるイオン流形成装置により,引き出され,該イオンは処理室に導入され,被処理物に向けられる。さらに,本願発明においては,上記イオン流形成装置により,プラズマ中の電子はイオンとは逆の方向に戻され,すなわちプラズマ発生室に戻され,プラズマ発生室でのプラズマの発生効率は向上される。
【0043】
図1を参照して,本願発明のイオン流形成方法及び装置におけるイオン流形成機構を説明する。
プラズマ室202はプラズマ発生機構(図には示されていない)と,該プラズマ発生機構により発生されたプラズマが室外に両極性拡散(イオン,電子及びラジカルが共存された状態での拡散)するためのプラズマ拡散出口203を備えている。
【0044】
プラズマ室202に対する位置に,イオン導入口205を備えた処理室204が設置される。この処理室内には,被処理物が収容されている。
【0045】
これらプラズマ室202と処理室204の間に,荷電粒子が通過し得る2つの電極(第1電極206,第2電極208)が設置される。これらの電極は,荷電粒子が通過し得る電極であればいずれの構造の電極でも採用されうる。例えば,第1電極206として図示された電極のように,その中央部に a開口を有する電極や,第2電極208として図示された電極のように,多数の小開口を有する電極が採用されうる。
【0046】
これらの第1及び第2電極206,208には,制御装置209による制御の下で,電圧源218から電圧が印加される。この電圧源218と制御装置209とにより電位制御装置が構成される。プラズマ発生室と処理室の外壁面を該電圧源218に接続し,制御装置209により,これらプラズマ発生室と処理室の外壁面の電位も制御することも可能である。これらプラズマ室202,第1電極206,第2電極208,処理室204の配置は,一例であって,他の配置も採用されることができる。例えば,プラズマ室202のプラズマ拡散出口203と処理室204のイオン導入口205とを接近又は密着させ,第1電極206及び第2電極208は処理室204の内に設置されることもできる。
【0047】
図1に示されたイオン流形成機構では,下記のステップ(a)〜(d)が繰り返し実施される。
【0048】
ステップ(a)では,プラズマ発生室202にプラズマが形成される。プラズマ発生室202はプラズマ発生用のガス(図6のガスB)が導入され,上記されたプラズマ発生機構により該ガスのプラズマが形成される。このプラズマ発生機構は,前述されたように,高周波電力を使用する方式,マイクロ波を使用する方式,電子サイクロトロン共鳴(ECR)を使用する方式など,プラズマを発生するためのいずれの方式も採用され得る。このプラズマ発生工程においては,プラズマ発生室202,第1電極206,第2電極208の各電圧は,同電位とされ得る。これにより,プラズマ発生室内に形成されるプラズマは,プラズマ拡散口に向かって両極性拡散する。
【0049】
ステップ(b)では,プラズマ発生室202内に形成されたプラズマが拡散する。該プラズマは,プラズマ拡散口203を出て,該プラズマ発生室202と該第1電極206との間の空間にゆっくりと拡散し,次いで第1電極206と第2電極208との間の空間に拡散する。この拡散のために,上記両空間は電界が形成されていない環境とされるのが好ましい。このために,プラズマ発生室202,第1電極206,第2電極208及び処理室204は同電位(例.接地電位)とされる。プラズマ発生室202内に形成されたプラズマは,イオン,電子及びラジカルを含んでいるが,該プラズマは,これらイオン,電子及びラジカルが共存した状態で分子拡散(両極性拡散)する。
【0050】
次のステップ(c)で,プラズマからイオンを効率良く引出すために,該プラズマは上記空間内に十分拡散されることが重要である。このためには,該プラズマ中のイオンと電子が再結合せず一種のアフターグローが継続する程度の拡散時間が確保されることが必要である。この拡散時間(To )は,実験により設定することもできるが,係数を無視して下記の式により概算することも可能である。
To =Lo /v (1)
v2 =kTi /mi (2)
ここで、 To …拡散時間
Lo …イオンの電極間への進入距離
v …熱速度
Ti …イオン温度
k …Boltzmann 定数
mi …イオンの質量
ステップ(c)では,該プラズマからイオンが引き出される。上記両グリツド電極間に到達したプラズマ中のイオンは,その電荷により電子と引きつけ合い,電子とは分かれにくい傾向を持つ。イオンは電子を引きずりながら移動しようとする。従って,熱エネルギ−による拡散によって上記両電極間の空間に「迷い込んだ」プラズマ中のイオンが,載置台に印加されるバイアス電位により加速され,処理室に引き出される効率は低く,プラズマからイオンが効率良く引き出されることは難しい。以上の状況は,金属から電子を引き出す際には仕事関数の値だけ余計にエネルギーを必要とするという状況と類似しているものと考えられる。
【0051】
本発明は,このプラズマから,イオンを効率良く引出すために,上記両電極間にパルス状に電界を形成する。このため,電圧源218から,第1電極206と第2電極208には,図2に示されるような大きさの,パルス制御されたイオン引き出し用電圧が供給される。ここで,Vc ,V1 ,V2 ,Vs は,図1に示すように,プラズマ発生室,第1電極,第2電極,及び処理室の各々に印加されるパルス制御された電位である。また,Zc は引き出し口の位置(チャンバ−(chamber) ),Z1 及びZ2 は電極1及び電極2の位置,Zs はウエハ(基板)の位置である。図2において,(Zc,Vc),(Z1,V1 ) ,(Z2,V2 ) 及び(Zs,Vc)を辿るケース1においては(Vc =Vs ),イオン加速時間は短すぎても長すぎてもよくない。(Zc,Vc),(Z1,V1 ) ,(Z2,V2 ) 及び(Zs,V2 ) を辿るケース2においては(V2 =Vs ),加速時間は長すぎても問題はない。これらのイオン引き出し用電圧が各部に供給されることにより,イオンは第2電極208の方に引きつけられ,電子は第1電極206の方に引きつけられる力が作用するような電界が両電極間に形成される。パルス状に制御されたこれら電圧により,瞬間的に形成された該電界の作用により,該プラズマ中のイオンと電子は,容易かつ効率的に引き離されイオンは第2電極に向け加速され,該第2電極を通過して処理室204のイオン導入口に導かれる。
【0052】
すなわち,イオンを引き出す箇所に継続的に一定の電位勾配をかけ続けた場合,以下の問題点がある。自由運動を経て電極上に達したイオンは,ある程度引き出しの為の力を受け始める。従ってイオンは電子に引きずられるような逆方向の力をも受ける。このために,この場合には,イオンはなかなか引き出せないこととなる。本発明は,電極間で以下のような操作を反復することにより,この課題を解決する。
【0053】
1)両極性拡散(熱的拡散):電位勾配なし
2)電化分離(イオン加速):電位勾配つき
電極間に導入されたプラズマからイオンのみが効率的に荷電分離される。
【0054】
一方,プラズマ中の電子群は,第1電極とプラズマ発生室との間の空間において,両端の電極に印加された電圧(Vc ,V1)により形成された電界の作用により,拡大分散することなくプラズマ拡散出口203に追い返される。従って,電子はプラズマ発生室のプラズマ拡散出口の縁に衝突することなく,プラズマ発生室内に追い返される。電子がプラズマ発生室内に追い返される結果,プラズマ発生室内の電子密度は高くなり,プラズマ発生機構によりプラズマが発生される効率が向上する。また,この電子密度が高くなることから,プラズマ発生室の電位(Vc)は変化する。しかし,第1電極206に印加された正電位(V1 )による電子が戻される効果自体は大きく変化しない。
【0055】
ステップ(d)では,処理室204のイオン導入口に導かれたイオンが被処理物に入射せしめられる。ステップ(c)において,プラズマから引出され,第2電極に向けて加速されたイオンは,第2電極を通過し,処理室204のイオン導入口205に向かう。イオンが第2電極からイオン導入口205に向かう期間,第2電極208の電位V2 と処理室(及び被処理物)の電位Vsが図2に示されたレベルに維持されると,このV2 とVs により形成される電界の作用により,第2電極208を通過したイオンは,減速される。従って,イオンが最高速度近辺に達した時点(例.該イオンの集団が第2電極を通過した直後の時点)で,上記電界を消すか,該イオンをイオン流導入口に加速する方向の電界を形成することが必要である。少なくとも電圧V2 とVsを同電位にすることで,上記電界は消されることができるが,他の電圧Vc,V1 からの影響も無くす観点からは,これら全部位の電圧Vc,V1 ,V2 及びVsを同電位にすることが好ましい。また,該イオンをイオン導入口に加速する方向の電界を形成するために,電圧V2 はVsよりも高い電位とすることができる。
【0056】
このように,上記電界を消すか,逆の方向の電界を形成することにより,イオンは電界による減速を受けることなく,被処理物に入射される。この過程で,或いは電子のエネルギー分布の高いェネルギー成分が電極によって形成されるポテンシャル障壁を越えることによって,被処理物の表面に電子がある程度チャージアップしても,後に入射されるイオンにより,該電子は中和される。イオンのみが選択的にウェハに入射されることから,電子によってイオンの入射方向が乱されることはない。また,入射されるイオンが電子と再結合して消滅することがなく,イオン密度が増加するためウェハを均−に処理することができる。
【0057】
ここで,上記工程(a)乃至(d)を,さらに詳細に説明する。
【0058】
上記ステップ(a)において,上記プラズマ発生機構は,プラズマを発生させる機構のいずれの機構も採用され得る。例えば,高周波プラズマ発生機構,容量結合型プラズマ発生機構,平行平板型プラズマ発生機構,誘導結合型プラズマ発生機構,マイクロ波プラズマ発生機構,ECRプラズマ発生機構など,も採用され得るが,特に図6が参照されて説明されたECRプラズマ発生機構は,好ましい機構の一つである。
【0059】
上記ステップ(b)において,充分にプラズマが生成された状態で,マイクロ波などの導入を中止する(磁場印加を中止する)ことにより,自由な状態で該プラズマを拡散させることもできる。
【0060】
上記ステップ(c)において,プラズマからイオンが引出される間,プラズマ発生用のマイクロ波などがプラズマ発生室に導入されない(例.磁場印加を中止する)ようにすることもできる。
【0061】
上記工程(b)の拡散による移動時間と,工程(c)の電界加速のための時間の2種類の時間の比は,イオンの質量に依存せず,イオン温度(熱速度)とバイアス電圧のみによって決定される。従って,任意のイオンに関して,イオン温度とバイアス電圧による同一のパラメータにより,パルス状バイアス電圧の時間比を決定できる。このため,パルス状のバイアス電圧の制御方法が簡単化される。従って,異なる質量のイオンが混合している場合には,波形を変えずに周波数及び/又は振幅を変調させる制御を行うこともできる。重いイオンに対しては大振幅長周期の変調中の瞬間が有効となる。
【0062】
上記ステップ(d)において,第2電極208又は処理室(被処理物)のどちらかに,負の電位が印加されることができる。第2電極208に負の電位が印加される場合,ここから被処理物までのイオンの運動を,第三の電極110(図3参照)により制御して,イオンの被処理物への入射方向を変更することができる。被処理物に負の電位を印加する場合,電極間で加速されたイオンは何回か互いに衝突する圧力領域を採用する場合が多い。しかし,電子は分離されているため,再結合は殆ど生じない。起きても荷電変換程度である。第三の電極110にバイアス電圧を印加する場合,電界加速のない状態を基礎としないと,そのバイアス電位が設定され難い。
【0063】
上記ステップ(d)において,イオンの入射方向を分散させる為の電極構造として,異なった電位を有する2種類の針状電極306を,図4に示されるように,交互に配置することもできる。ここで白丸○の針状電極は定電位を保持するための電極であり,黒丸●の針状電極はイオンを引きつける為の電極である。イオンを引きつける工程では,電極電位は負電位に固定する。こうすれば電極表面のイオン引き付け効果は弱まらない。それは負電荷を持つ電子が,負電位の電極と反発するためである。一方,イオンを跳ね返す工程では電極は正電位に保たれる。この場合,イオンと電極は反発し合うので,イオンによる電極のスパッタエッチングは少ない。
【0064】
この電極構造の例としては,B−C 間の電極は紙面の前後方向にイオン軌道を振るための電極とし,c−D 間の電極は紙面上の左右の方向にイオン軌道を振るための電極とされることができる。各電極の電位は,V1 =Vc (c=chamber),V2 =Vs (s=substrate),○=V2 ,●=V3 ,V1 〉V2 〉V3 とされることができる。また,V2 〈V3 とされることもできる。
【0065】
また,電子は処理室に侵入することなく,プラズマ発生室に追い返され,プラズマ発生室の電子密度は高められるから,プラズマ発生室内での電離度が増加し,プラズマの生成効率が高められる。
【0066】
上記工程(a)乃至(d)は,所定時間間隔で反復される。この反復時間は,拡散領域内に電子,イオンを伴ったプラズマが十分に拡散する時間と,拡散領域内のイオンのみを選択的に効率よく引き出すことができる時間とから算出され,設定される。そして,例えばイオン引き出し工程(c)の時間がプラズマ拡散工程の時間よりも相対的に短く設定されることにより,拡散領域内に電子,イオンを伴ったプラズマが所望の状態で拡散され,かつ効率よくイオンが第2電極208の方向に引き出される。
【0067】
パルス状制御を止め,イオン引き出し工程の時間をプラズマ拡散工程の時間と同程度にとると処理時間が約2倍になるという欠点が生ずる。
【0068】
第1電極と第2電極の間にイオン引き出し用の電位が印加され,プラズマ中よりイオンが引き出されるに要する時間(T1 ) は,下記の式で求められる。
【0069】
T1 2 =2Lg /a (3)
a=(e/mi )(V/Lg ) (ただし,Lo 〈Lg )(4)
ここで,T1 …プラズマ中よりイオンが引き出されるに要する時間
Lg …電極間距離
a…イオンの加速度
e…素電荷(1.6×10−19 (c) )
mi…イオンの質量
V…バイアス(加速)電圧
プラズマの拡散時間(T0 )とプラズマ中よりイオンが引き出されるに要する時間(T1 )との時間比(相対的パルス幅)は,下記の式で求められる。
【0070】
ここで, Lg …電極間距離
Mi …イオンの質量
e …素電荷
V …バイアス(加速)電圧
k …Boltzmann 定数
Lo …イオンの電極間への進入距離
Ti …イオン温度
第1電極206と第2電極208間に印加されるパルス制御されたイオン引き出し電圧の相対的パルス幅の下限値は,イオンの質量には,依存しない。実施のパルス幅の設定に当たっては,どの程度までイオンを電極間に進入させるのかという判断に従って係数Lg /Lo の値を変化させれば良い。以上の2種類の距離Lg ,Lo をはっきりと区別すればパルス幅は範囲を持ったものとして導出される。パルス幅の周波数の下限は電極間距離などにもよるが,おおよそ3〜10KHz となる。従って,100KHz程度の値に設定しても,この値は特に大きすぎることはない。
【0071】
イオン引き出し用バイアスVと,”電界加速のための時間(T1 )/熱拡散による移動時間(To)“の比の数値例を下記に示す。
【0072】
【表1】
【0073】
以上のように,本発明に関わるイオン流形成機構の一つの実施の形態が説明された。次に,他の実施の形態として,このイオン流形成機構が採用されたプラズマ処理装置が説明される。このイオン流形成機構は,種々の形式のプラズマ処理装置,種々の被処理物を処理するプラズマ処理装置に採用されることができる。ここでは,典型的な実施の形態として,半導体ウエハ上に薄膜を形成するための,ECRプラズマ薄膜形成装置を説明する。
図5を参照して,同図に示されたECRプラズマ薄膜形成装置は,その処理室204内に,図1に示されたような第1電極206と第2電極208が設置され,これらの電極には制御装置により制御される電源(図5には示されていない)が接続される。さらに,該電源はプラズマ発生室と処理室にも接続され,これら両室に所定の電圧を印加することもできる。このECRプラズマ薄膜形成装置は,これら電極,制御装置,及び電源以外は,基本的に図6に示された装置と略同一の構成となっている。
【0074】
制御装置による制御の下で,電源から第1電極206と第2電極208(さらには,プラズマ発生室と処理室)への電圧は,制御装置により,同期して供給される。
【0075】
プラズマ処理時には,図1で説明されたと同様の下記のステップが実施される。
【0076】
ステップ(a)では,プラズマ発生室202にプラズマが形成される。
【0077】
ステップ(b)では,プラズマ発生室202内に形成されたプラズマが拡散する。制御装置によって,第1電極206,及び第2電極208には,電圧は印加されない。これらの電極間には電界が無く,プラズマはが両極性拡散する環境が形成される。この環境は,プラズマが両電極間に充分に拡散する時間,維持される。
【0078】
ステップ(c)では,該プラズマからイオンが引き出される。ステップ(b)で,両電極間にプラズマが充分に拡散した後,第1グリット電極206と第2電極208とに,プラズマからイオンを引出すための電圧が印加される。その結果,該プラズマから引出されたイオンは第2電極208の方に加速され,電子は第1電極206の方に戻される。
【0079】
ステップ(d)では,処理室204のイオン導入口に導かれたイオンが被処理物に入射せしめられる。該プラズマから引出され,第2電極208の方に加速されたイオンは,プラズマ室の壁と処理対象物の電位が同一にされた場合には,第2電極を通過した後,第2電極により形成された電界の作用で,第2電極の方に引き戻される方向の作用を受ける。この作用を無くするために,イオンの集団が第2グリッド電極を通過した後,第1電極206及び第2電極208への電圧の印加を中止することができる。
【0080】
上記(a)〜(d)の工程により,処理室へはイオンのみが導入されるから,処理室内での薄膜形成,エッチングなどの処理は,イオンの振る舞いのみに注目して制御されれば良く,該制御は正確に実行されることができる。薄膜形成においては,入射イオン密度を高くするために,基板に不要に大きなバイアスを掛ける必要がなくなる。
【0081】
この実施の形態においては,イオンを被処理物に導く為に,さらに第3電極 (図には示されていない)が設けられる得る。イオンは第3電極を通過した後,該第3電極には,該電源からイオンを被処理物に向かわせる作用を生じるような電圧が印加される。
【0082】
また,イオンの流れ方向を分散させる為の電極構造として,図4に示されるような,異なった電位を有する2種類の針状電極306を,交互に配置することもできる。
【0083】
本発明にかかわるイオン流形成機構が採用された結果,上記実施の形態におけるECRプラズマ薄膜形成装置では,プラズマ中のイオンと電子を効果的に分離でき,プラズマから効率よくイオンは引き出され,高密度のイオンは所望の入射角度で被処理物に入射される。
【0084】
また,プラズマから分離された電子は再びプラズマ発生室内に戻されるため,プラズマ発生室202にはさらに多くの電子が供給され,高密度プラズマを発生させることができる。プラズマ拡散工程(b)に対して,イオン引き出し工程 (d)を相対的に短時間でパルス的に処理することができるため,必要とする量のイオンが短期間に確保されることができ,なめらかな波形による制御と比較して,スループットは向上されることができる。
【0085】
プラズマ処理室内に配置された被処理物は,高密度のイオンのみにより所望の均−な処理を施されることができる。イオンはウエハー上の溝や穴のようなパターンの肩を削り,堆積速度を向上させる働きする。処理室内に導入されたプラズマ中のラジカルは電界の影響を受けずに拡散されつづける。該ラジカルは,イオンによって活性化された被処理物の表面上に比較的ゆっくりと付着していく。電極電位制御の1周期の処理によって被処理物の表面上に処理ガス成分が堆積する量は10原子層未満であり,多くて数原子層である。表面反応確率,すなわち付着係数が小さい場合には,1原子層以下の場合も充分に想定される。すなわち,大部分の粒子がイオンによって活性化された面上に到達する現象が想定される。このため,被処理物の表面上に処理ガス成分が付着する率がイオンによって充分に向上される。従って,被処理物の表面上に効率良く薄膜が形成される。
【0086】
以上,本発明の好適な実施の形態について,添付図面を参照しながら説明したが,本発明はかかる構成に限定されない。
【0087】
例えば,上記実施の形態において,パルス制御されたイオン引き出し用電圧とイオン加速用電圧が使用されたが,本発明はかかる構成に限定されるものではなく,例えば半波整流された交流電力を用いても本発明は実施可能である。従って,本発明において,プラズマからイオンを引出すために印加するパルス状の電界は,矩形的にパルス状の電界が好ましいが,これにかぎられるものではない。矩形状でなくとも,所定の期間中継続する電圧であればよく,半波整流された交流電力により形成される電界などでもよい。
【0088】
さらに,上記実施の形態において,半導体ウェハの表面に薄膜を形成するECRプラズマ薄膜形成装置が説明された。本発明はかかる実施の形態にに限定されるものではなく,例えば,プラズマエッチング装置,プラズマスパッタ装置やイオン注入装置などの各種のプラズマ処理装置に適用されることができる。また,被処理物に関しても,シリコンウエハに限らず,LCD用ガラス基板などの電子部品なども処理されることもできる。
【0089】
さらなる特徴及び変更は,当該技術分野の当業者には着想されるところである。それゆえに,本発明はより広い観点に立つものであり,特定の詳細な及びここに開示された代表的な実施例に限定されるものではない。したがって,添付されたクレームに定義された広い発明概念及びその均等物の解釈と範囲において,そこから離れることなく,種々の変更を行うことができる。
【図面の簡単な説明】
【図1】本発明に関するイオン流形成装置を示した概略的な説明図である。
【図2】図1に示したイオン流形成装置において,イオン引き出し工程において各電極等に印加する電圧を示した図である。
【図3】図1に示したイオン流形成装置に,さらに第3電極が配置された装置の概略的な説明図である。
【図4】図1に示したイオン流形成装置に,さらにイオンを分散させる装置が配置された装置の概略的な説明図である。
【図5】図1に示したイオン流形成機構が適用されたECRプラズマ薄膜形成装置の概略的な説明図である。
【図6】関連技術としての,ECRプラズマ薄膜形成装置の概略的な説明図である。
【符号の説明】
102…処理容器, 104…載置台, 108…冷却装置,
110…ヒータ,116…高周波電源,114…マッチング回路,
120…排気管,124…導入管,128…磁気コイル,130…導波管
132…絶縁壁,134…プラズマ波発生室
202…プラズマ発生室,203…プラズマ拡散出口,204…処理室,
205…イオ 導入口,206…第1電極,208…第2電極,
209…制御装置,218…電圧源, 306…針状電極
Claims (24)
- (a)プラズマ拡散出口を有するプラズマ発生室内にプラズマを発生させる工程と;
(b)該プラズマ発生室内で発生されたプラズマを拡散により、プラズマ発生室の外に配置した2つの電極の間の空間に移動させる拡散工程と;
(c)該プラズマ発生室の外に移動した該プラズマに,プラズマ中の電子はプラズマ拡散出口の方向に戻し,該プラズマ中のイオンはその逆の方向に引き出す作用を及ぼす向きの電界を前記両工程に比して短時間印加する,イオン引き出し工程と;及び
(d)該引き出されたイオンを被処理物に向けるイオン流形成工程と,
を具備することを特徴とする,プラズマ発生室内で発生されたプラズマからイオンを引き出し,該イオンの流を形成するイオン流形成方法。 - 請求項1に記載されたイオン流形成方法において,
前記工程(a) 乃至(d) が,この順序で反復して実施されることを特徴とする,イオン流形成方法。 - 請求項1に記載されたイオン流形成方法において,
前記工程(a)が,常時実施されることを特徴とする,イオン流形成方法。 - 請求項1に記載されたイオン流形成方法において,
前記イオン引き出し工程(c) は,該プラズマ発生室のプラズマ拡散出口に設置された,2つの電極に異なる電圧を印加することにより実施されることを特徴とする,イオン流形成方法。 - 請求項4に記載されたイオン流形成方法において,
前記イオン引き出し工程(c)は,該プラズマ発生室のプラズマ拡散出口に設置された,2つの電極に異なる電圧をパルス状に印加することにより実施され,
前記イオン流形成工程(d)は,該イオンが前記2つの電極間の空間から引き出された後で,前記2つの電極への前記電圧の印加を停止することにより実施される,ことを特徴とするイオン流形成方法。 - 請求項1及び3のいずれか一つ記載されたイオン流形成方法において,前記工程(b)と前記工程(c)との間に,前記工程(c)よりはるかに短い時間の工程(e)を含み,
前記工程(e)では,イオンを制御対象として第1電極に,前記工程(c)とは逆方向の電界が生じるようにバイアスが印加される,ことを特徴とする方法。 - 請求項5に記載されたイオン流形成方法において,
前記イオン流形成工程(d)は,さらに,前記2つの電極と被処理物との間に設置された第3の電極に,イオン加速用の電圧及びイオンビーム収束用の電圧の内の少なくとも一つを印加することにより実施される,ことを特徴とするイオン流形成方法。 - 請求項4に記載されたイオン流形成方法において,
前記イオン流形成工程(d)は,該イオンが前記2つの電極から被処理物に至る経路において,該イオンの流れを分散する工程,を備えていることを特徴とするイオン流形成方法。 - 請求項8に記載されたイオン流形成方法において,
前記工程(c)は,該イオンに所定の質量とは異なる質量を有するイオンが含まれる場合においては,イオン加速時間/プラズマ拡散時間のパルス比を変更せずに周期を周波数変調及び振幅変調のいずれか一つで変更することにより,前記異なる質量のイオンも引出す,ことを特徴とするイオン流形成方法。 - 請求項1,4,及び5のいずれか一つに記載されたイオン流形成方法において,イオン流形成工程(d) において,該引き出されたイオンが向けられる被処理物は回路パターンが形成されたシリコンウエハである,
ことを特徴とするイオン流形成方法。 - 請求項1,4,及び5のいずれか一つに記載されたイオン流形成方法において,プラズマを発生させる工程(a) は,電子サイクロトロン共鳴によりプラズマを発生する工程である,
ことを特徴とするイオン流形成方法。 - 請求項11に記載されたイオン流形成方法において,
該イオン引き出し工程(c)においては,ECRプラズマ形成用のマイクロ波の導入及び外部磁場の少なくとも一つを遮断する,ことを特徴とするイオン流形成方法。 - プラズマ拡散出口を有するプラズマ発生室と;
該プラズマ拡散出口に対抗して配置された,被処理物を収容した処理室と;
該プラズマ発生室の該プラズマ拡散出口と,該処理室内の被処理物との間に配置された,2つの電極と;
前記2つの電極の電位を制御する電位制御装置であって,該電位制御装置は,
該プラズマ発生室内で発生されたプラズマを拡散により該プラズ マ発性室の外に配置した2つの電極の間の空間に移動させる拡散工 程においては,該2つの電極の電位は,等電位になるように,制御 し;
該プラズマ発生室の外に拡散し,前記2つの電極間の空間に移動 した該プラズマに,プラズマ中の電子はプラズマ発生室の方向に戻 し,該プラズマ中のイオンは処理室の方向に引き出すイオン引き出 し工程においては,該イオン引き出し工程が実施され得るような電 界が前記2つの電極間の空間に形成されるように,前記2つの電極 にパルス状に異なる電圧を印加し;及び
該引き出されたイオンを処理室に収容された被処理物に向けるイ オン流れ形成工程においては,該引き出されたイオンが前記プラズ マ中に再度引き戻される作用を及ぼす電界が生じないように,該二 つの電極の電位を制御する,
ことを特徴とする,プラズマ発生室内で発生されたプラズマからイオンを引き出し,該イオンの流を形成する,ことを特徴とするイオン流形成装置。 - 請求項13に記載されたイオン流形成装置において,
該プラズマの発生と,該プラズマの拡散と,イオンの引き出しと,及びイオン流れ形成とが,順に反復されることを特徴とするイオン流形成装置。 - 請求項14に記載されたイオン流形成装置において,
前記拡散工程と,前記イオン引き出し工程の間に,前記拡散工程よりはるかに短い時間の工程を含み,
前記短い時間の工程では,イオンを制御対象として第1電極に,前記イオン引き出し工程とは逆方向の電界を生じるようにバイアスが印加される,ことを特徴とする装置。 - 請求項13に記載されたイオン流形成装置において,
前記電位制御装置は,前記2つの電極に加えて,プラズマ発生室,及び処理室の電位をも制御することを特徴とする,イオン流形成装置。 - 請求項13に記載されたイオン流形成装置において,
前記被処理物を収容した処理室は,
前記電極と被処理物との間に,イオンの流れを分散させるための電極を備える,ことを特徴とする,イオン流形成装置。 - 請求項17に記載されたイオン流形成装置において,
前記イオン流は,イオンインプランテーション以外の処理のために使用される,ことを特徴とする,イオン流形成装置。 - 請求項13に記載されたイオン流形成装置において、前記電極は、荷電粒子が通過する開口部に近づく程その厚さが薄くされている、ことを特徴とするイオン流形成装置。
- 請求項13に記載されたイオン流形成装置において,
前記イオン流れ形成工程は,該イオンに所定の質量とは異なる質量を有するイオンが含まれる場合においては,イオン加速時間/プラズマ拡散時間のパルス比を変更せずに周期を周波数変調及び振幅変調のいずれか一つで変更することにより,前記異なる質量のイオンも引出す,ことを特徴とするイオン流形成装置。 - 請求項11及び14のいずれか一つに記載されたイオン流形成装置において,前記処理室に収容される被処理物はシリコンウエハである,ことを特徴とするイオン流形成装置。
- 請求項11及び14のいずれか一つに記載されたイオン流形成装置において,前記処理室に収容される被処理物は回路パターンが形成されたシリコンウエハである,ことを特徴とするイオン流形成装置。
- 請求項11及び14のいずれか一つに記載されたイオン流形成装置において,前記プラズマ発生室は,電子サイクロトロン共鳴によりプラズマを発生する機構を備えた,ことを特徴とするイオン流形成装置。
- 請求項11及び14のいずれか一つに記載されたイオン流形成装置において,
前記プラズマ発生室は,電子サイクロトロン共鳴によりプラズマを発生する機構を備え,
イオン引き出しにおいては,ECRプラズマ形成用のマイクロ波の導入及び外部磁場の印加の少なくとも一つ遮断することを特徴とするイオン流形成装置。
Priority Applications (3)
| Application Number | Priority Date | Filing Date | Title |
|---|---|---|---|
| JP17884098A JP3599564B2 (ja) | 1998-06-25 | 1998-06-25 | イオン流形成方法及び装置 |
| US09/122,673 US6136387A (en) | 1997-06-04 | 1998-07-27 | Ion flow forming method and apparatus |
| US09/660,419 US6435131B1 (en) | 1998-06-25 | 2000-09-12 | Ion flow forming method and apparatus |
Applications Claiming Priority (1)
| Application Number | Priority Date | Filing Date | Title |
|---|---|---|---|
| JP17884098A JP3599564B2 (ja) | 1998-06-25 | 1998-06-25 | イオン流形成方法及び装置 |
Publications (2)
| Publication Number | Publication Date |
|---|---|
| JP2000011906A JP2000011906A (ja) | 2000-01-14 |
| JP3599564B2 true JP3599564B2 (ja) | 2004-12-08 |
Family
ID=16055592
Family Applications (1)
| Application Number | Title | Priority Date | Filing Date |
|---|---|---|---|
| JP17884098A Expired - Fee Related JP3599564B2 (ja) | 1997-06-04 | 1998-06-25 | イオン流形成方法及び装置 |
Country Status (2)
| Country | Link |
|---|---|
| US (2) | US6136387A (ja) |
| JP (1) | JP3599564B2 (ja) |
Families Citing this family (43)
| Publication number | Priority date | Publication date | Assignee | Title |
|---|---|---|---|---|
| TW429402B (en) * | 1998-09-30 | 2001-04-11 | Tokyo Electron Ltd | Plasma processing apparatus and plasma processing method |
| JP2000277298A (ja) * | 1999-03-25 | 2000-10-06 | Shimadzu Corp | Ecrプラズマ装置 |
| JP2001279455A (ja) * | 2000-03-29 | 2001-10-10 | Canon Inc | 堆積膜形成方法及び堆積膜形成装置 |
| US20020197402A1 (en) * | 2000-12-06 | 2002-12-26 | Chiang Tony P. | System for depositing a film by modulated ion-induced atomic layer deposition (MII-ALD) |
| US6922019B2 (en) * | 2001-05-17 | 2005-07-26 | The Regents Of The University Of California | Microwave ion source |
| JP2005150632A (ja) * | 2003-11-19 | 2005-06-09 | Tokyo Electron Ltd | 還元装置および還元方法 |
| US20050178333A1 (en) * | 2004-02-18 | 2005-08-18 | Asm Japan K.K. | System and method of CVD chamber cleaning |
| US20060236931A1 (en) * | 2005-04-25 | 2006-10-26 | Varian Semiconductor Equipment Associates, Inc. | Tilted Plasma Doping |
| JP2007073751A (ja) * | 2005-09-07 | 2007-03-22 | Hitachi High-Technologies Corp | プラズマ処理装置および処理方法 |
| US8042370B2 (en) * | 2006-02-07 | 2011-10-25 | Ronjo, Llc | Flow formed gear |
| DE102006034988B4 (de) * | 2006-07-28 | 2008-10-30 | Deutsches Elektronen-Synchrotron Desy | Ionenquelle zur Erzeugung negativ geladener Ionen |
| EP1883281B1 (en) * | 2006-07-28 | 2012-09-05 | Sage Innovations, Inc. | A method for generating a pulsed flux of energetic particles, and a particle source operating accordingly |
| US8900403B2 (en) | 2011-05-10 | 2014-12-02 | Lam Research Corporation | Semiconductor processing system having multiple decoupled plasma sources |
| US9111728B2 (en) | 2011-04-11 | 2015-08-18 | Lam Research Corporation | E-beam enhanced decoupled source for semiconductor processing |
| US9177756B2 (en) * | 2011-04-11 | 2015-11-03 | Lam Research Corporation | E-beam enhanced decoupled source for semiconductor processing |
| TWI584337B (zh) * | 2011-04-11 | 2017-05-21 | 蘭姆研究公司 | 用以處理半導體基板之系統及方法 |
| TW201330705A (zh) * | 2011-09-28 | 2013-07-16 | Mapper Lithography Ip Bv | 電漿產生器 |
| KR101359320B1 (ko) * | 2012-12-27 | 2014-02-10 | 한국기초과학지원연구원 | 전자파-고주파 혼성 플라즈마 토치 |
| US20170178866A1 (en) * | 2015-12-22 | 2017-06-22 | Varian Semiconductor Equipment Associates, Inc. | Apparatus and techniques for time modulated extraction of an ion beam |
| US10510575B2 (en) | 2017-09-20 | 2019-12-17 | Applied Materials, Inc. | Substrate support with multiple embedded electrodes |
| US10555412B2 (en) | 2018-05-10 | 2020-02-04 | Applied Materials, Inc. | Method of controlling ion energy distribution using a pulse generator with a current-return output stage |
| US11476145B2 (en) | 2018-11-20 | 2022-10-18 | Applied Materials, Inc. | Automatic ESC bias compensation when using pulsed DC bias |
| CN118315254A (zh) | 2019-01-22 | 2024-07-09 | 应用材料公司 | 用于控制脉冲电压波形的反馈回路 |
| US11508554B2 (en) | 2019-01-24 | 2022-11-22 | Applied Materials, Inc. | High voltage filter assembly |
| US11462389B2 (en) | 2020-07-31 | 2022-10-04 | Applied Materials, Inc. | Pulsed-voltage hardware assembly for use in a plasma processing system |
| US11798790B2 (en) | 2020-11-16 | 2023-10-24 | Applied Materials, Inc. | Apparatus and methods for controlling ion energy distribution |
| US11901157B2 (en) | 2020-11-16 | 2024-02-13 | Applied Materials, Inc. | Apparatus and methods for controlling ion energy distribution |
| US11495470B1 (en) | 2021-04-16 | 2022-11-08 | Applied Materials, Inc. | Method of enhancing etching selectivity using a pulsed plasma |
| US11791138B2 (en) | 2021-05-12 | 2023-10-17 | Applied Materials, Inc. | Automatic electrostatic chuck bias compensation during plasma processing |
| US11948780B2 (en) | 2021-05-12 | 2024-04-02 | Applied Materials, Inc. | Automatic electrostatic chuck bias compensation during plasma processing |
| US11967483B2 (en) | 2021-06-02 | 2024-04-23 | Applied Materials, Inc. | Plasma excitation with ion energy control |
| US20220399185A1 (en) | 2021-06-09 | 2022-12-15 | Applied Materials, Inc. | Plasma chamber and chamber component cleaning methods |
| US12148595B2 (en) | 2021-06-09 | 2024-11-19 | Applied Materials, Inc. | Plasma uniformity control in pulsed DC plasma chamber |
| US11810760B2 (en) | 2021-06-16 | 2023-11-07 | Applied Materials, Inc. | Apparatus and method of ion current compensation |
| US11569066B2 (en) | 2021-06-23 | 2023-01-31 | Applied Materials, Inc. | Pulsed voltage source for plasma processing applications |
| US11776788B2 (en) | 2021-06-28 | 2023-10-03 | Applied Materials, Inc. | Pulsed voltage boost for substrate processing |
| US11476090B1 (en) | 2021-08-24 | 2022-10-18 | Applied Materials, Inc. | Voltage pulse time-domain multiplexing |
| US12106938B2 (en) | 2021-09-14 | 2024-10-01 | Applied Materials, Inc. | Distortion current mitigation in a radio frequency plasma processing chamber |
| US11694876B2 (en) | 2021-12-08 | 2023-07-04 | Applied Materials, Inc. | Apparatus and method for delivering a plurality of waveform signals during plasma processing |
| US11972924B2 (en) | 2022-06-08 | 2024-04-30 | Applied Materials, Inc. | Pulsed voltage source for plasma processing applications |
| US12315732B2 (en) | 2022-06-10 | 2025-05-27 | Applied Materials, Inc. | Method and apparatus for etching a semiconductor substrate in a plasma etch chamber |
| US12272524B2 (en) | 2022-09-19 | 2025-04-08 | Applied Materials, Inc. | Wideband variable impedance load for high volume manufacturing qualification and on-site diagnostics |
| US12111341B2 (en) | 2022-10-05 | 2024-10-08 | Applied Materials, Inc. | In-situ electric field detection method and apparatus |
Family Cites Families (17)
| Publication number | Priority date | Publication date | Assignee | Title |
|---|---|---|---|---|
| US3583361A (en) * | 1969-12-18 | 1971-06-08 | Atomic Energy Commission | Ion beam deposition system |
| JPS5744749A (en) * | 1980-08-27 | 1982-03-13 | Honda Motor Co Ltd | Controlling device of secondary air in suction air sistem of internal combustion engine |
| US4452679A (en) * | 1981-10-07 | 1984-06-05 | Becton Dickinson And Company | Substrate with chemically modified surface and method of manufacture thereof |
| JPS60195092A (ja) * | 1984-03-15 | 1985-10-03 | Tdk Corp | カ−ボン系薄膜の製造方法および装置 |
| JPS60221566A (ja) * | 1984-04-18 | 1985-11-06 | Agency Of Ind Science & Technol | 薄膜形成装置 |
| DE3717985A1 (de) * | 1986-05-28 | 1987-12-03 | Minolta Camera Kk | Elektrochrome vorrichtung |
| US4996077A (en) * | 1988-10-07 | 1991-02-26 | Texas Instruments Incorporated | Distributed ECR remote plasma processing and apparatus |
| JPH04129133A (ja) * | 1990-09-20 | 1992-04-30 | Hitachi Ltd | イオン源及びプラズマ装置 |
| US5427827A (en) * | 1991-03-29 | 1995-06-27 | The United States Of America As Represented By The Administrator Of The National Aeronautics And Space Administration | Deposition of diamond-like films by ECR microwave plasma |
| US5212118A (en) * | 1991-08-09 | 1993-05-18 | Saxena Arjun N | Method for selective chemical vapor deposition of dielectric, semiconductor and conductive films on semiconductor and metallic substrates |
| US5279669A (en) * | 1991-12-13 | 1994-01-18 | International Business Machines Corporation | Plasma reactor for processing substrates comprising means for inducing electron cyclotron resonance (ECR) and ion cyclotron resonance (ICR) conditions |
| DE4204650C1 (ja) * | 1992-02-15 | 1993-07-08 | Hoffmeister, Helmut, Dr., 4400 Muenster, De | |
| JPH05251390A (ja) * | 1992-03-06 | 1993-09-28 | Tokyo Electron Ltd | プラズマ装置 |
| JP2693899B2 (ja) * | 1992-10-09 | 1997-12-24 | 栄電子工業株式会社 | Ecrプラズマ加工方法 |
| US5525392A (en) * | 1992-12-10 | 1996-06-11 | International Business Machines Corporation | Magnetic recording medium having a fluorinated polymeric protective layer formed by an ion beam |
| JP3355869B2 (ja) * | 1995-04-28 | 2002-12-09 | 日新電機株式会社 | イオン源制御装置 |
| JP3129265B2 (ja) * | 1997-11-28 | 2001-01-29 | 日新電機株式会社 | 薄膜形成装置 |
-
1998
- 1998-06-25 JP JP17884098A patent/JP3599564B2/ja not_active Expired - Fee Related
- 1998-07-27 US US09/122,673 patent/US6136387A/en not_active Expired - Lifetime
-
2000
- 2000-09-12 US US09/660,419 patent/US6435131B1/en not_active Expired - Fee Related
Also Published As
| Publication number | Publication date |
|---|---|
| US6435131B1 (en) | 2002-08-20 |
| US6136387A (en) | 2000-10-24 |
| JP2000011906A (ja) | 2000-01-14 |
Similar Documents
| Publication | Publication Date | Title |
|---|---|---|
| JP3599564B2 (ja) | イオン流形成方法及び装置 | |
| US5593539A (en) | Plasma source for etching | |
| US7034285B2 (en) | Beam source and beam processing apparatus | |
| US4891095A (en) | Method and apparatus for plasma treatment | |
| JP2842344B2 (ja) | 中性粒子ビーム処理装置 | |
| JP2001023959A (ja) | プラズマ処理装置 | |
| JP2002289583A (ja) | ビーム処理装置 | |
| JP2002289585A (ja) | 中性粒子ビーム処理装置 | |
| US20040094400A1 (en) | Method of processing a surface of a workpiece | |
| JPH06342771A (ja) | ドライエッチング装置 | |
| JP2002289581A (ja) | 中性粒子ビーム処理装置 | |
| JP4073173B2 (ja) | 中性粒子ビーム処理装置 | |
| EP0658917A2 (en) | Fine-processing apparatus using low-energy neutral particle beam | |
| JPS61177728A (ja) | 低エネルギイオン化粒子照射装置 | |
| JP3363040B2 (ja) | 高速原子線源 | |
| JPH06181185A (ja) | プラズマ表面処理装置 | |
| JP4384295B2 (ja) | プラズマ処理装置 | |
| JP3686563B2 (ja) | 半導体装置の製造方法およびプラズマ処理装置 | |
| JP3223287B2 (ja) | 中性粒子加工方法およびその装置 | |
| JP3624986B2 (ja) | ビーム加工方法及び装置 | |
| JPH09330915A (ja) | 表面処理装置 | |
| JPH09223594A (ja) | ビーム源及び微細加工方法 | |
| JP3023931B2 (ja) | プラズマ処理方法及び装置 | |
| JPH062128A (ja) | Ecrスパッタリング装置 | |
| JP3605491B2 (ja) | 反応性イオンエッチング装置 |
Legal Events
| Date | Code | Title | Description |
|---|---|---|---|
| A977 | Report on retrieval |
Free format text: JAPANESE INTERMEDIATE CODE: A971007 Effective date: 20040401 |
|
| A131 | Notification of reasons for refusal |
Free format text: JAPANESE INTERMEDIATE CODE: A131 Effective date: 20040406 |
|
| A521 | Request for written amendment filed |
Free format text: JAPANESE INTERMEDIATE CODE: A523 Effective date: 20040607 |
|
| A131 | Notification of reasons for refusal |
Free format text: JAPANESE INTERMEDIATE CODE: A131 Effective date: 20040622 |
|
| A521 | Request for written amendment filed |
Free format text: JAPANESE INTERMEDIATE CODE: A523 Effective date: 20040823 |
|
| TRDD | Decision of grant or rejection written | ||
| A01 | Written decision to grant a patent or to grant a registration (utility model) |
Free format text: JAPANESE INTERMEDIATE CODE: A01 Effective date: 20040907 |
|
| A61 | First payment of annual fees (during grant procedure) |
Free format text: JAPANESE INTERMEDIATE CODE: A61 Effective date: 20040914 |
|
| R150 | Certificate of patent or registration of utility model |
Free format text: JAPANESE INTERMEDIATE CODE: R150 |
|
| FPAY | Renewal fee payment (event date is renewal date of database) |
Free format text: PAYMENT UNTIL: 20100924 Year of fee payment: 6 |
|
| FPAY | Renewal fee payment (event date is renewal date of database) |
Free format text: PAYMENT UNTIL: 20130924 Year of fee payment: 9 |
|
| R250 | Receipt of annual fees |
Free format text: JAPANESE INTERMEDIATE CODE: R250 |
|
| LAPS | Cancellation because of no payment of annual fees |
