JP2017537584A - 高電圧ゼロqrrブートスタート電源 - Google Patents

高電圧ゼロqrrブートスタート電源 Download PDF

Info

Publication number
JP2017537584A
JP2017537584A JP2017519239A JP2017519239A JP2017537584A JP 2017537584 A JP2017537584 A JP 2017537584A JP 2017519239 A JP2017519239 A JP 2017519239A JP 2017519239 A JP2017519239 A JP 2017519239A JP 2017537584 A JP2017537584 A JP 2017537584A
Authority
JP
Japan
Prior art keywords
transistor
gate
gate driver
voltage
bootstrap
Prior art date
Legal status (The legal status is an assumption and is not a legal conclusion. Google has not performed a legal analysis and makes no representation as to the accuracy of the status listed.)
Granted
Application number
JP2017519239A
Other languages
English (en)
Other versions
JP6703983B2 (ja
JP2017537584A5 (ja
Inventor
ローイ,マイケル エー デ
ローイ,マイケル エー デ
ティー ストリーダム,ジョアン
ティー ストリーダム,ジョアン
ロイシュ,デイヴィッド,シー
Original Assignee
エフィシエント パワー コンヴァーション コーポレーション
エフィシエント パワー コンヴァーション コーポレーション
Priority date (The priority date is an assumption and is not a legal conclusion. Google has not performed a legal analysis and makes no representation as to the accuracy of the date listed.)
Filing date
Publication date
Application filed by エフィシエント パワー コンヴァーション コーポレーション, エフィシエント パワー コンヴァーション コーポレーション filed Critical エフィシエント パワー コンヴァーション コーポレーション
Publication of JP2017537584A publication Critical patent/JP2017537584A/ja
Publication of JP2017537584A5 publication Critical patent/JP2017537584A5/ja
Application granted granted Critical
Publication of JP6703983B2 publication Critical patent/JP6703983B2/ja
Expired - Fee Related legal-status Critical Current
Anticipated expiration legal-status Critical

Links

Images

Classifications

    • HELECTRICITY
    • H03ELECTRONIC CIRCUITRY
    • H03KPULSE TECHNIQUE
    • H03K17/00Electronic switching or gating, i.e. not by contact-making and –breaking
    • H03K17/51Electronic switching or gating, i.e. not by contact-making and –breaking characterised by the components used
    • H03K17/56Electronic switching or gating, i.e. not by contact-making and –breaking characterised by the components used by the use, as active elements, of semiconductor devices
    • H03K17/567Circuits characterised by the use of more than one type of semiconductor device, e.g. BIMOS, composite devices such as IGBT
    • HELECTRICITY
    • H03ELECTRONIC CIRCUITRY
    • H03KPULSE TECHNIQUE
    • H03K17/00Electronic switching or gating, i.e. not by contact-making and –breaking
    • H03K17/04Modifications for accelerating switching
    • H03K17/042Modifications for accelerating switching by feedback from the output circuit to the control circuit
    • H03K17/04206Modifications for accelerating switching by feedback from the output circuit to the control circuit in field-effect transistor switches
    • HELECTRICITY
    • H03ELECTRONIC CIRCUITRY
    • H03KPULSE TECHNIQUE
    • H03K17/00Electronic switching or gating, i.e. not by contact-making and –breaking
    • H03K17/16Modifications for eliminating interference voltages or currents
    • H03K17/161Modifications for eliminating interference voltages or currents in field-effect transistor switches
    • H03K17/165Modifications for eliminating interference voltages or currents in field-effect transistor switches by feedback from the output circuit to the control circuit
    • HELECTRICITY
    • H03ELECTRONIC CIRCUITRY
    • H03KPULSE TECHNIQUE
    • H03K17/00Electronic switching or gating, i.e. not by contact-making and –breaking
    • H03K17/51Electronic switching or gating, i.e. not by contact-making and –breaking characterised by the components used
    • H03K17/56Electronic switching or gating, i.e. not by contact-making and –breaking characterised by the components used by the use, as active elements, of semiconductor devices
    • H03K17/687Electronic switching or gating, i.e. not by contact-making and –breaking characterised by the components used by the use, as active elements, of semiconductor devices the devices being field-effect transistors
    • H03K17/6871Electronic switching or gating, i.e. not by contact-making and –breaking characterised by the components used by the use, as active elements, of semiconductor devices the devices being field-effect transistors the output circuit comprising more than one controlled field-effect transistor
    • HELECTRICITY
    • H03ELECTRONIC CIRCUITRY
    • H03KPULSE TECHNIQUE
    • H03K19/00Logic circuits, i.e. having at least two inputs acting on one output; Inverting circuits
    • H03K19/0175Coupling arrangements; Interface arrangements
    • H03K19/017509Interface arrangements
    • HELECTRICITY
    • H03ELECTRONIC CIRCUITRY
    • H03KPULSE TECHNIQUE
    • H03K2217/00Indexing scheme related to electronic switching or gating, i.e. not by contact-making or -breaking covered by H03K17/00
    • H03K2217/0063High side switches, i.e. the higher potential [DC] or life wire [AC] being directly connected to the switch and not via the load
    • HELECTRICITY
    • H03ELECTRONIC CIRCUITRY
    • H03KPULSE TECHNIQUE
    • H03K2217/00Indexing scheme related to electronic switching or gating, i.e. not by contact-making or -breaking covered by H03K17/00
    • H03K2217/0072Low side switches, i.e. the lower potential [DC] or neutral wire [AC] being directly connected to the switch and not via the load
    • HELECTRICITY
    • H03ELECTRONIC CIRCUITRY
    • H03KPULSE TECHNIQUE
    • H03K2217/00Indexing scheme related to electronic switching or gating, i.e. not by contact-making or -breaking covered by H03K17/00
    • H03K2217/0081Power supply means, e.g. to the switch driver

Landscapes

  • Engineering & Computer Science (AREA)
  • Computer Hardware Design (AREA)
  • Physics & Mathematics (AREA)
  • Computing Systems (AREA)
  • General Engineering & Computer Science (AREA)
  • Mathematical Physics (AREA)
  • Electronic Switches (AREA)
  • Power Conversion In General (AREA)
  • Dc-Dc Converters (AREA)

Abstract

ハーフブリッジトポロジに配置された電気回路である。電気回路は、ハイサイドトランジスタと、ローサイドトランジスタと、ハイサイドトランジスタのゲートに電気的に結合されたゲートドライバ・レベルシフタと、ローサイドトランジスタのゲートに電気的に結合されたゲートドライバと、ゲートドライバ・レベルシフタと並列に電気的に結合されたキャパシタと、ゲートドライバ・レベルシフタの入力とゲートドライバの入力とに電気的に結合された電圧源と、電圧源とキャパシタとの間に電気的に結合されたブートストラップトランジスタを有する。GaN電界効果トランジスタは、ハーフブリッジ回路のローサイドデバイス同期してスイッチングされる。

Description

発明の背景
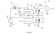
図1は、従来のハーフブリッジトポロジ10を示す。図示のように、従来のトポロジ10は、Q1及びQ2の符号が付された一対のトランジスタ12及び14を含む。そのようなトポロジは、例えば、エンハンスメント形電界効果トランジスタ(FETs)で実現されてもよい。典型的には、トランジスタ12及び14はハイサイド及びローサイドスイッチと見なされる。ハイサイドトランジスタ12のソース16は、ハーフブリッジの出力でローサイドトランジスタ14のドレイン18に結合されている。ハイサイドトランジスタ12のドレイン20は高電圧源22(VMain)に結合され、ローサイドトランジスタ14のソース24はグランド26に結合されている。さらに、ハイサイドトランジスタ12のゲート28は、ゲートドライバ・レベルシフタ30に結合されており、ローサイドトランジスタ14のゲート32はゲートドライバ34に結合される。ゲートドライバ・レベルシフタ30とゲートドライバ34とは、当技術分野で周知であり、ここでは詳細には説明しない。しかしながら、この構成は、動作中に1つのトランジスタ12又は14(Q1又はQ2)をスイッチオンし、他のトランジスタをスイッチオフすることを可能にし、逆も同様であることが理解されるべきである。
図1に示されるように、駆動電圧源36(VDrvr)は、ハイサイドゲートドライバ・レベルシフタ30の入力40と結合されており、かつ、ローサイドゲートドライバ34の入力38に結合されている。この従来の設計では、ブートストラップキャパシタ42(CBTST)は、ハイサイドゲートドライバ・レベルシフタ30と並列に結合され、ブートストラップダイオード44(DBTST)は、駆動電圧源36VDrvrとブートストラップキャパシタ42(CBTST)との間に結合される。ハイサイドトランジスタQ1及びローサイドトランジスタQ2に、eGaN FETを用いた場合、図1に示される構成は、ローサイドトランジスタが14(Q2)の「ボディダイオード」が導通する場合には、例えばブートストラップキャパシタ42(CBTST)にまたがって(across)、約7.5Vを生じる。しかしながら、電圧はいくつかの要因によって変わることがある。電圧は、動作条件及びローサイドトランジスタ14(Q2)に使用されるトランジスタデバイスのタイプに依存して、約6.5V以上にすることができる。しかしながら、この構成では、ハイサイドゲートドライバ30は何らかの形式のレギュレータを必要とする。従来、これはハーフブリッジ構成内のハイサイドトランジスタに電力を供給するために使用される内部ブートストラップダイオードで実現されている。理想的には、ショットキーダイオードが、小さく、順方向電圧降下が低く、逆回復電荷がないために使用される。しかしながら、集積回路プロセスにおいて高電圧(100V)ショットキーダイオードを作ることは非常に困難であり、従って、逆回復電荷を有するPN接合ダイオードがしばしば用いられる。さらに、高電圧ショットキーダイオードは、損失をもたらす逆回復電荷(QRR)を有する。
このために、このタイプのハーフブリッジトポロジのためにトランジスタ12及び14(Q1及びQ2)にGaN FETを使用すると、ショットキーダイオード又はPN接合ダイオードの逆回復電荷QRRが性能に影響を与え、ハイサイドトランジスタにおいて損失を誘発する。通常、これらの損失は、回路内の他の電力損失メカニズムと比較して無視できる程度である。しかしながら、逆回復電荷損失は周波数に比例し、より高い動作周波数ではコンバータ損失のかなりの部分になる点まで増加する。したがって、ブートストラップの従来の方法は、高いスイッチング周波数の動作では効率的ではない。
発明の概要
本発明は、ハーフブリッジトポロジのためのブートストラップサプライ(bootstrap supply)に関し、より詳細には、窒化ガリウム(GaN)FETを用いたブートストラップサプライに関する。有利には、GaN FETは、ゼロ逆回復電荷QRRを有し、ハーフブリッジ回路のローサイドトランジスタと同期してスイッチングすることができるので、高電圧アプリケーションに有用である。同期スイッチングは、FETのボディダイオードが導通した場合に、高ブートストラップサプライ電圧を阻止する。さらに、ブートストラップデバイスのゼロ逆回復電荷QRRは、スイッチング性能を、特に超低用量キャパシタデバイス対して著しく改善し、ハイサイドデバイス内への損失の誘発を低減する。
このために、ハーフブリッジトポロジに配置された電気回路が提供される。電気回路は、ハイサイドトランジスタと、ローサイドトランジスタと、ハイサイドトランジスタのゲートに電気的に結合されたハイサイドゲートドライバ・レベルシフタと、ローサイドトランジスタのゲートに電気的に結合されたローサイドゲートドライバと、ハイサイドゲートドライバ・レベルシフタと並列に電気的に結合されたキャパシタと、ハイサイドゲートドライバ・レベルシフタの入力とローサイドゲートドライバの入力とに電気的に結合された電圧源と、電圧源とキャパシタの間に結合されたブートストラップトランジスタとを備える。
いくつかの実施形態では、ブートストラップトランジスタはGaN電界効果トランジスタである。実施形態に応じて、ブートストラップトランジスタは、デプレッション形トランジスタ又はエンハンスメント形トランジスタであってもよい。ブートストラップトランジスタがデプレッション形トランジスタであるいくつかの実施形態では、デプレッション形トランジスタのゲートは、ゲートドライバの出力に電気的に結合される。デプレッション形の実施形態では、デプレッション形トランジスタのドレインは、ハイサイドゲートドライバ・レベルシフタの入力に電気的に結合される。
エンハンスメント形トランジスタがブートストラップデバイスとして使用される場合、実施形態に応じてクランプ(clamped)されてもクランプされていなくてもよい。エンハンスメント形トランジスタがクランプされている場合は、ブートストラップキャパシタと並列にツェナーダイオードでクランプすることができる。エンハンスメント形トランジスタのドレインとツェナーダイオードとの間に抵抗を直列に配置することができる。抵抗は、エンハンスメント形トランジスタに集積されてもよい。好ましくは、ツェナーダイオードは、ブートストラップキャパシタをまたぐ電圧をアッパーサイドデバイスに対する安全レベルにクランプする。
エンハンスメント形トランジスタは、それぞれのソースに短絡されたゲートと直列に結合された2つのエンハンスメント形GaN電界効果トランジスタでクランプされてもよい。
エンハンスメント形トランジスタが使用される実施形態では、エンハンスメント形トランジスタに供給される電圧は、ゲートドライバに供給される電圧よりも高い電圧であり得る。これらの実施形態のいくつかでは、1つ以上の電圧源を使用することができる。
いくつかの実施形態では、ローサイドゲートドライバを調整する必要がある場合がある。いくつかの実施形態では、レギュレータがローサイドゲートドライバとの電気的な通信内に配置されてもよい。
いくつかの実施形態では、ダイオードは、電源電圧とトランジスタのゲートとの間に電気的に結合され、第2のキャパシタは、トランジスタのゲートとゲートドライバの出力との間に電気的に結合される。
本発明の別の態様では、ハーフブリッジ回路をブートストラップする方法が提供される。好ましい実施形態では、GaN電界効果トランジスタは、ハーフブリッジ回路の、好ましくはGaN電界効果トランジスタであるローサイドトランジスタと同期してスイッチングされる。
好ましい実施形態では、GaN電界効果トランジスタのソースとドレインにわたる電圧は、ローサイドデバイストランジスタのソースとドレインにわたる電圧に等しい。
いくつかの実施形態では、ローサイドデバイストランジスタのゲートとソースにわたる電圧はゼロ(0)ボルトであり、ドレイン電流の値が最低(worst)の場合に、GaN電界効果トランジスタのゲートとソースにわたる電圧はマイナス5(−5)ボルトである。
図面の簡単な説明
ハーフブリッジトポロジ回路のための従来のブートストラップサプライを示す図である。 本発明の第1の実施形態によるハーフブリッジトポロジのためのブートストラップサプライを示す図である。 ブートストラップデバイスとしてeGaNトランジスタを使用した回路の好ましい実施形態のタイミングチャートを示す図である。 本発明の第2の実施形態200によるハーフブリッジトポロジのためのブートストラップサプライを示す図である。 図3の実施形態の変形例を示す図である。 本発明の追加の実施形態によるハーフブリッジトポロジのためのブートストラップサプライを示す図である。
以下の詳細な説明では、本発明の例示的な実施形態を参照する。例示的な実施形態は、当業者がそれらを実施できるように十分詳細に記載されている。他の実施形態を採用してもよく、様々な構造的、論理的及び電気的な変更を行うことができることを理解されたい。
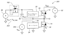
図2は、本発明の第1の実施形態100によるハーフブリッジトポロジのためのブートストラップサプライを示す。図示されているように、図2の設計は、上述した従来のハーフブリッジトポロジ10と同じ構成要素の多くを含む。すなわち、ハイサイドトランジスタ12及びローサイドトランジスタ14(Q1及び42)が設けられ、そのそれぞれのゲートは、それぞれ、ハイサイドゲートドライバ・レベルシフタ30へ、及び、ローサイドゲートドライバ34へ結合される。しかしながら、図1の従来の設計とは対照的に、図2の例示的な設計は、ブートストラップデバイス102として、デプレッション形トランジスタ(例えば、nチャンネルのデプレッション形電界効果トランジスタ(FET))が用いられている。好ましくは、ブートストラップデバイス102(QBTST)は、GaN FETである。
図示のように、ブートストラップデバイス102(QBTST)のソース104は、電圧源36(VDrvr)に結合される。ブートストラップデバイス102(QBTST)のゲート106は、ローサイドゲートドライバ34の出力39に結合される。ブートストラップデバイス102(QBTST)のドレイン108は、ハイサイドゲートドライバ・レベルシフタ30の入力40に結合される。有利には、例示的な実施形態のブートストラップデバイス102(QBTST)は、ローサイドトランジスタ14(Q2)のスイッチングに同期され、従来の設計について上述したブートストラップキャパシタ42(CsrsT)にわたる7.5Vを克服する(overcome)。
ブートストラップデバイス102(QBTST)のソースとドレインにわたる電圧VSDは、トランジスタ14(Q2)のソースとドレインにわたる電圧と同じであるべきである。さらに、トランジスタ14(Q2)のゲートとソースにわたる電圧VGS=0ボルトであり、ブートストラップデバイス102(QBTST)のゲートとソースにわたる電圧VGSは−5ボルトであり、ただし、ドレイン電流(ID)の値は最低の場合である。ドレインとソースの間の電圧VDSが、ブートストラップデバイス102(QBTST)とメイントランジスタ12及び/又は14(FETs Q1及び/又はQ2)の両方に対して同じ定格を有しているべきだが、ブートストラップデバイス102(QBTST)は著しく小さく(より高いRDS(on))できる。さらに、ブートストラップデバイス102(QBTST)は、集積化されたハーフブリッジデバイスペア内に集積化することができる。
同期FETの実装を保証するために、ブートストラップ回路10は、ゲートドライバへ及び電力回路への最小の影響を有し、いかなる条件においても動作し、回路10は厳しい条件下でロバストであるように設計されている必要がある。好ましい実施形態では、次の条件、すなわちローサイドFET逆導通(reverse conduction)、ローサイド逆導通(高損失COSS遷移)後のハードスイッチング、部分ゼロ電圧スイッチング(PZVS)、自己整流後のアッパーFETの逆導、及び、最も厳しくない条件のゼロ電圧スイッチング(ZVS)、によって説明されうる。
上述したように、ブートストラップデバイス102にFETを使用する実施形態は、好ましくは同期される。図3は、FETブートストラップデバイス102を含むブートストラップ回路の好ましい実施形態のタイミングチャートを示す。正しいタイミングは、上に列挙した厳しい条件の影響を操作又は除去するのを助ける。動作中に、ローサイドトランジスタ14のゲート電圧の上昇に続いて、スイッチノード電圧がハイからローに遷移するのには時間がかかる。小同期FETブートストラップデバイス102が時期を早めてオンにされたとすると、ドレイン電圧はまだハイである。この条件では、スイッチノードは5Vに結合されており、破滅的な結果となる。したがって、この発生を避けるために、同期FETブートストラップデバイス102のターンオンは、十分に遅らされなければならない。この遅れは、VGS_Qlow及びVGS_BTSTの立ち上がりの差として、図3に示されている。同様の理由から、同期FETブートストラップデバイス102のターンオフは、ローサイドトランジスタ14と同時に行われなければならない。これも図3に示されている。
上に列挙した厳しい条件に耐える実施形態を設計するための別の重要な設計パラメータは、オフ状態マージンである。ローサイドトランジスタ14と同期FETブートストラップデバイス102の両方がeGaN FETデバイスであることができるので、両者は、オフ保持されているときに、同様の逆導通電圧降下を有しうる。これらの条件の下では、同期FETブートストラップデバイス102にとって、ローサイドトランジスタ14とともに又はローサイドトランジスタ14の代わりに主電流を逆転して導通させることが可能である。これは、ブートストラップキャパシタ42にわたる過電圧状態をもたらし、ハイサイドトランジスタのゲート28の故障をもたらす虞がある。この発生を防止するために、いくつかの実施形態では、同期FETブートストラップデバイス102のオフ状態電圧は−1Vに保持され、それにより、逆導通電圧が増加し、ローサイドトランジスタ14よりも著しく高くなり、従って導通を防止する。
適切なオフ状態マージンの一例を図4に示す。
タイミング及びオフ状態マージンに加えて、好ましい実施形態は、ブートストラップデバイス102のドレイン回路がより高い電圧に共鳴するのを防止する回路レイアウトを使用する。同期FETブートストラップデバイス102のドレイン回路は、より高い電圧に共鳴する虞があり、これはブートストラップキャパシタ42を充電することができるより高い電圧にリングすることができ、ハイサイドトランジスタゲート28の故障をもたらす。
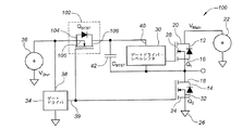
図4は、本発明の第2の実施形態200による、ハーフブリッジトポロジのためのブートストラップサプライを示す。図示されているように、図4の実施形態は、上述されたように、従来のハーフブリッジトポロジ10と同じ構成要素の多くを含む。すなわち、ハイサイドトランジスタ12及びローサイドトランジスタ14(Q1及びQ2)は、それぞれのゲート28及び32が、ゲートドライバ・レベルシフタ30とゲートドライバ34とにそれぞれ結合されている。しかしながら、図1の従来の設計10とは対照的に、ブートストラップデバイス102(QBTST)は、電圧源36(VDrvr)及びブートストラップキャパシタ42(CBTST)の間に結合された、クランプされていないエンハンスメント形デバイスである。さらに、追加の供給電圧202VSD_GaNが、ブートストラップデバイス102(QBTST)にも供給され、増加し、ブートストラップデバイスのGaN FETボディダイオードにわたる電圧降下を克服する。電圧源204(VDrvr)は、ローサイドゲートドライバ38に、追加の供給電圧202(VSD−GaN)なしで印加される。この構成は、トランジスタ14のボディダイオードが導通すると、ブートストラップキャパシタ42(CBTST)にわたる約7.5Vを生じる。しかしながら、ゲートドライバ34は、この構成に対して何らかの形式の調整を必要とする。実施形態に応じて、ゲートドライバ34は、内部的又は外部的に調整されてもよい。他の実施形態では、回路10のタイミングは、ローサイドゲートドライバ34を調整することができる。例えば、回路10を駆動する電圧源36を調整することができ、その調整は、回路が正常に動作するときに、順次ブートストラップキャパシタ42に伝えられることができる。図2の実施形態と同様に、ブートストラップデバイス102(QBTST)のソースとドレインにわたる電圧VSDは、トランジスタ14(Q2)のソースとドレインにわたる電圧と同一又は類似でなければならない。
図5の実施形態300は、図4の実施形態200の変形例を示す。基本的な違いは、ブートストラップ電源が、ブートストラップキャパシタ42(CBTST)に並列に結合されたツェナークランプ302(すなわち、ツェナーダイオードDCLMP)でクランプされることである。図5に示す実施形態300では、抵抗304RIlimは、ブートストラップデバイス102(QBTST)のドレイン108とツェナークランプDCLMPとの間に直列に結合されている。図5の構成は、トランジスタ14(Q2)のボディダイオードが導通した場合に、ブートストラップキャパシタ42(CBTST)にわたる電圧を安全な動作制限内に維持するために、ツェナークランプ302を用いる。さらに、ツェナークランプ302(DCLMP)は電圧をトランジスタ12(Q1)の安全制限にクランプし、抵抗304(RIlim)はクランプ中の電圧バッファを提供する。図2の実施形態100と同様に、ブートストラップデバイス102(QBTST)のソース及びドレインにわたる電圧VSDは、トランジスタ14(Q2)のソース及びドレインにわたる電圧と同一又は類似でなければならない。図4の構成200と同様に、ブートストラップデバイス102のボディダイオードにわたる電圧降下を克服するために、追加の供給電圧202(VSD_GaN)が、同様にブートストラップデバイス102に供給されている。
図5の例示的実施形態の一改良において、電流制御機能を備える抵抗304(RIlim)は、ブートストラップデバイス3102内に集積化されてもよい。いくつかの実施形態では、抵抗はRDS(on)すなわち、適切な抵抗を備えたFETの内部抵抗、を用いて集積化されてもよい。他の実施形態では、例えば金属バス(busing)などの抵抗素子を追加することができる。他の実施形態では、他の抵抗素子を使用することができる。抵抗素子304を集積することの利点の1つは、外部素子を除去することである。
さらに他の実施形態では、ツェナークランプ302は、それぞれのソースに短絡されたゲートと直列に結合された2つのエンハンスメントGaNFETを使用することによって達成することができる。この設計は、回路設計のための最大の集積化を可能にしうる。
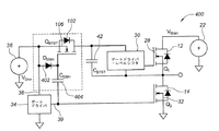
図6は、本開示の追加の実施形態400によるハーフブリッジトポロジのためのブートストラップサプライを示す。図示のように、図6の実施形態は、図2に示される実施形態100に関して上で説明されたハーフブリッジトポロジと同じ構成要素の多くを含む。例えば、実施形態400は、ハイサイドトランジスタ12とローサイドトランジスタ14と(Q1とQ2と)を含み、それぞれのゲート28とゲート32とがそれぞれゲートドライバ・レベルシフタ30とゲートドライバ34とに結合される。しかしながら、図2の設計とは対照的に、ブートストラップサプライは、同期エンハンスメント形デバイスの実装と見なすことができる。図示のように、ブートストラップデバイス102QBTSTは、駆動電圧源36(VDrvr)とハイサイドゲートドライバ・レベルシフタ30との間に結合されている。さらに、エンハンスメントダイオード402(DENH)が、駆動電圧源36(VDrvr)とブートストラップデバイス102(QBTST)のゲート106との間に結合されている。さらに、エンハンスメントキャパシタ404(CENH)がブートストラップデバイス102(QBTST)のゲート106と、ローゲートドライバ34の出力38との間に、結合されている。
いくつかの実施形態では、エンハンスメントダイオード402(DENH)は、外部コンポーネントの数を削減するためにブートストラップデバイス102に集積化されていてもよい。さらに他の実施形態では、エンハンスメントダイオード402と並列のエンハンスメント形抵抗もまた、ブートストラップデバイス102に集積化されていてもよい。
有利なことに、図5の実施形態のブートストラップデバイス102(QBTST)は、従来の設計では上述したようにブートストラップキャパシタ42(CBTST)にわたる7.5Vを克服するトランジスタ14(Q2)のスイッチングに同期している。同期することにより、ローサイドトランジスタ14の「ボディダイオード」が、ハイサイドトランジスタゲート28の過充電を防止する。例示的な実施形態では、ブートストラップデバイス102(QBTST)のソースとドレインにわたる電圧VSDは、トランジスタ14(Q2)のソースとドレインにわたる電圧と同じであるべきである。さらに、トランジスタ14(Q2)のソースとドレインにわたる電圧(VGS)=0ボルトであり、ブートストラップデバイス102(QBTST)のソースとドレインにわたる電圧(VGS)との間の電圧は、ドレイン電流Iの値が最低の場合に−5である。例示的な構成では、エンハンスメントダイオード402(DENH)の電圧降下は、ブートストラップデバイス102(QBTST)のゲートとソースにわたる電圧VGSを0Vよりも低下させ、したがってソースとドレインにわたる電圧VSDが上昇し、追加マージンのためのトランジスタ14(Q2)とブートストラップデバイス102(QBTST)との間の差異を増加させる。さらに、エンハンスメントキャパシタ404(CENH)は、従来のブートストラップサプライと同じ方法で(例えば、5Vに)充電される。しかしながら、使用されるエンハンスメントダイオード402(DENH)は、ゼロ又は超低逆回復電化量QRPを有する低電圧(例えば<20V)ショットキーダイオードであってもよい。
上述の例示的な実施形態の各々について、ブートストラップデバイス102(QBTST)を駆動するための構成に、メイントランジスタ12及び14(Q1及びQ2)にスイッチング遷移、最も好ましくは、トランジスタ14(Q2)のターンオンイベントを完了するための時間を許すための、追加のタイミングを付けくわえることができると好ましい。さらに、ブートストラップデバイス102(QBTST)がオンになると、抵抗と同じように両方向に電流を伝導することができる。さらに、エンハンスメントキャパシタ(CENH)にわたる電圧は、オフ状態の間にブートストラップデバイス102(QBTST)の追加のボディダイオード電圧マージンを付け加えるために、制御され(低減され)ることができ、トランジスタ(Q2)の」ボディダイオードの導通の逆電圧が、ブートストラップサプライ電圧を安全動作制限を超えて増大させる可能性をさらに低減させる。
いくつかの実施形態は、ブートストラップトランジスタ102がオンになる前にローサイドトランジスタ14が完全にオンになることを可能にするタイミング回路をさらに含むことができる。タイミング回路はまた、ローサイドトランジスタ14のゲートの電圧がゼロ(0)に低下したときに、ブートストラップトランジスタ102を直ちに、又はできるだけ早くオフにすることができる。
実験を通して、上述した実施形態は、抑制されていないと共鳴する虞があるブートストラップトランジスタ102のドレインインダクタンスに敏感であることが明らかになっている。トランジスタの設計/選択によって一般的にインダクタンス設計を維持する以外に、小さな直列抵抗がブートストラップトランジスタ102のドレインの後に直列に追加することができる。この抵抗を、ブートストラップトランジスタ102に集積化してもよい。いくつかの実施形態では、抵抗はブートストラップトランジスタ102の設計により、約3Ωの高RDS(on)と集積化されてもよい。さらに他の実施形態では、抵抗は、(RDS(on)ではなく別の)ただ集積された減衰抵抗であってもよい。
図2、4乃至6に示す例示的な各実施形態のブートストラップデバイスに使用されるトランジスタは、好ましくは、GaN FETであると好ましい。最後に、上述したブートストラップデバイスの構成は、窒化ガリウム「GaN」FETを駆動するために提供されるが、例示的な実施形態には決して限定されず、(例えば、ハーフブリッジトポロジのための)通常のMOSFETを駆動するために使用されてもよい。さらに、上述した技術は、ハーフブリッジトランジスタもMOSFETであれば、ブートストラップデバイス102としてMOSFETを使用しても動作しない。これには2つの主な理由がある。1)適切に作動するために、ブートストラップトランジスタはGaNの逆導通電圧特性を利用しなければならず、電圧降下は負のゲート電圧の大きさによってプログラムされる。これは、内部ダイオードが導通しないようにしなければならないときに、内部ダイオードからの電磁波耐性を獲得する。MOSFETはこのように動作することができず、従って、主電源回路の一部となり、破壊的な結果を招く可能性がある。2)MOSFETはQrrを有するが、eGaN FETはQrrを有さない。(何らかの理由で)MOSFETダイオードが導通すると、ここで示した技術の利点は完全に失われる。
上記の説明及び図面は、本明細書に記載された特徴及び利点を達成する特定の実施形態を例示するものとしてだけ考慮されるべきである。特定のプロセス条件に対する変更及び置換を行うことができる。したがって、本発明の実施形態は、前述の説明及び図面によって限定されているとみなされない。

Claims (24)

  1. ハーフブリッジトポロジで配置された電気回路であって、
    ハイサイドトランジスタと、
    ローサイドトランジスタと、
    前記ハイサイドトランジスタのゲートに電気的に結合されたゲートドライバ・レベルシフタと、
    前記ローサイドトランジスタのゲートに電気的に結合されたゲートドライバと、
    前記ゲートドライバ・レベルシフタと並列に電気的に結合されたキャパシタと、
    前記ゲートドライバ・レベルシフタの入力と前記ゲートドライバの入力とに電気的に結合された電圧源と、
    前記電圧源と前記キャパシタとの間に電気的に結合されたブートストラップデバイスと、を備え、
    前記ブートストラップデバイスは、GaN電界効果トランジスタである、電気回路。
  2. 前記ブートストラップデバイスは、デプレション形トランジスタであり、前記デプレション形トランジスタのゲートは、前記ゲートドライバの出力に電気的に結合されている、請求項1に記載の電気回路。
  3. 前記デプレション形トランジスタは、前記ゲートドライバ・レベルシフタの前記入力に電気的に結合されている、請求項2に記載の電気回路。
  4. 前記ブートストラップデバイスは、前記ローサイドトランジスタに同期している、請求項1に記載の電気回路。
  5. 前記ブートストラップデバイスは、エンハンスメント形トランジスタである、請求項1に記載の電気回路。
  6. 前記エンハンスメント形トランジスタはクランプされていない、請求項5に記載の電気回路。
  7. 前記エンハンスメント形トランジスタは、キャパシタと並列なツェナーダイオードでクランプされている、請求項5に記載の電気回路。
  8. 前記ゲートドライバに供給されるよりも高い電圧が、前記エンハンスメント形トランジスタに供給される、請求項5に記載の電気回路。
  9. さらに、前記ゲートドライバと電気的に通信するレギュレータを備える、請求項5に記載の電気回路。
  10. さらに、前記エンハンスメント形トランジスタのドレインと前記ツェナーダイオードとの間に直列に抵抗を備える、請求項7に記載の電気回路。
  11. 前記抵抗は、前記エンハンスメント形トランジスタ内に集積化されている、請求項10に記載の電気回路。
  12. 前記エンハンスメント形トランジスタは、それぞれのソースに短絡された各ゲートに直列に結合された、2つのエンハンスメント形GaN電界効果トランジスタでクランプされている、請求項5に記載の電気回路。
  13. さらに、前記のブートストラップデバイスであるトランジスタのゲートとソースとの間に電気的に結合されたダイオードと、
    前記のブートストラップデバイスであるトランジスタのゲートと前記ゲートドライバの出力との間に結合された第2のキャパシタと、を備える、請求項1に記載の電気回路。
  14. 前記ブートストラップデバイスは、前記ハイサイドトランジスタ及び前記ローサイドトランジスタと集積化されている、請求項1に記載の電気回路。
  15. ハーフブリッジ回路をブートストラップする方法であって、
    前記ハーフブリッジ回路のローサイドデバイスで、GaN電界効果トランジスタを同期してスイッチングするステップを含む、方法。
  16. 前記ローサイドデバイスは、トランジスタである、請求項15に記載の方法。
  17. 前記GaN電界効果トランジスタは、そのゲートが、前記ローサイドデバイスの前記ゲートと電気的に通信するゲートドライバの出力と電気的に通信する、請求項15に記載の方法。
  18. 前記GaN電界効果トランジスタのソースとドレインにわたる電圧は、前記ローサイドトランジスタのソースとドレインにわたる電圧に等しい、請求項16に記載の方法。
  19. 前記のローサイドデバイスであるトランジスタのゲートとソースにわたる電圧は、ゼロ(0)ボルトであり、前記GaN電界効果トランジスタのゲートとドレインにわたる電圧は、ドレイン電流の値が最低の場合に、マイナス5(−5)ボルトである、請求項18に記載の方法。
  20. 前記GaN電界効果トランジスタは、クランプされていないエンハンスメント形トランジスタであり、
    追加電圧は前記GaN電界効果トランジスタに供給され、増加し、前記GaN電界効果トランジスタのボディダイオードにわたる電圧降下を克服する、請求項15に記載の方法。
  21. 前記GaN電界効果トランジスタはエンハンスメント形トランジスタであり、キャパシタ、ゲートドライバ・レベルシフタと並列なツェナーダイオードでクランプされ、前記ゲートドライバ・レベルシフタは、ハーフブリッジ回路のアッパーサイドデバイスと電気的に通信する、請求項15に記載の方法。
  22. 前記ツェナーダイオードは、前記キャパシタにわたる電圧を前記ローサイドデバイスの安全レベルにクランプする、請求項21に記載の方法。
  23. 前記エンハンスメント形トランジスタのドレインとツェナーダイオードの間に、抵抗が直列に結合されている、請求項21に記載の方法。
  24. ダイオードが、駆動電圧と前記GaN電界効果トランジスタのゲートとの間に電気的に結合されており、
    キャパシタが、前記GaN電界効果トランジスタのゲートと前記ローサイドデバイスに対するゲートドライバの出力の間に電気的に結合されている、請求項15記載の方法。
JP2017519239A 2014-10-10 2015-10-09 高電圧ゼロqrrブートスタート電源 Expired - Fee Related JP6703983B2 (ja)

Applications Claiming Priority (3)

Application Number Priority Date Filing Date Title
US201462062445P 2014-10-10 2014-10-10
US62/062,445 2014-10-10
PCT/US2015/054851 WO2016057878A1 (en) 2014-10-10 2015-10-09 High voltage zero qrr bootstrap supply

Publications (3)

Publication Number Publication Date
JP2017537584A true JP2017537584A (ja) 2017-12-14
JP2017537584A5 JP2017537584A5 (ja) 2018-11-15
JP6703983B2 JP6703983B2 (ja) 2020-06-03

Family

ID=55653829

Family Applications (1)

Application Number Title Priority Date Filing Date
JP2017519239A Expired - Fee Related JP6703983B2 (ja) 2014-10-10 2015-10-09 高電圧ゼロqrrブートスタート電源

Country Status (7)

Country Link
US (2) US9667245B2 (ja)
EP (1) EP3205021B1 (ja)
JP (1) JP6703983B2 (ja)
KR (1) KR102458233B1 (ja)
CN (1) CN107078736B (ja)
TW (1) TWI607626B (ja)
WO (1) WO2016057878A1 (ja)

Cited By (2)

* Cited by examiner, † Cited by third party
Publication number Priority date Publication date Assignee Title
US11128295B1 (en) 2020-03-19 2021-09-21 Kabushiki Kaisha Toshiba Semiconductor device
JP7550175B2 (ja) 2020-01-14 2024-09-12 ローム株式会社 半導体装置

Families Citing this family (34)

* Cited by examiner, † Cited by third party
Publication number Priority date Publication date Assignee Title
TWI566328B (zh) 2013-07-29 2017-01-11 高效電源轉換公司 具有用於產生附加構件之多晶矽層的氮化鎵電晶體
JP6378003B2 (ja) * 2014-08-27 2018-08-22 ラピスセミコンダクタ株式会社 半導体装置、電池監視システム、及び半導体装置の起動方法
JP7080185B2 (ja) 2016-05-25 2022-06-03 エフィシエント パワー コンヴァーション コーポレーション エンハンスメントモードfetドライバic
US10394260B2 (en) * 2016-06-30 2019-08-27 Synaptics Incorporated Gate boosting circuit and method for an integrated power stage
JP6828296B2 (ja) * 2016-08-09 2021-02-10 株式会社Gsユアサ 蓄電装置および蓄電装置の充電制御方法
DE112017006120B4 (de) 2016-12-01 2020-12-10 Efficient Power Conversion Corporation Bootstrap-kondensator-überspannungs-überwachungsschaltung für wandler auf gan-transistorbasis
US10103629B2 (en) * 2017-02-14 2018-10-16 Nxp B.V. High side driver without dedicated supply in high voltage applications
KR102498234B1 (ko) * 2017-04-10 2023-02-09 마이크로칩 테크놀로지 인코포레이티드 하이-사이드 스위치를 위한 슬루 제어
US10637456B2 (en) 2017-07-20 2020-04-28 Efficient Power Conversion Corporation Low voltage drop cascaded synchronous bootstrap supply circuit
US10193554B1 (en) * 2017-11-15 2019-01-29 Navitas Semiconductor, Inc. Capacitively coupled level shifter
US10778219B2 (en) 2017-11-15 2020-09-15 Navitas Semiconductor, Inc. Level shifting in a GaN half bridge circuit
TWI663821B (zh) * 2018-01-11 2019-06-21 晶豪科技股份有限公司 自舉式電路以及使用該自舉式電路之關聯的直流轉直流轉換器
US11070203B2 (en) * 2018-02-19 2021-07-20 Cirrus Logic, Inc. Dual bootstrapping for an open-loop pulse width modulation driver
CN108494234B (zh) * 2018-04-09 2020-05-01 电子科技大学 适用于GaN高速栅驱动电路的浮动电源轨
US10742121B2 (en) * 2018-06-29 2020-08-11 Dialog Semiconductor Inc. Boot strap capacitor charging for switching power converters
EP3826164A4 (en) * 2018-07-19 2021-07-14 Mitsubishi Electric Corporation POWER CONVERTER DEVICE, MOTOR DRIVE DEVICE AND AIR CONDITIONING SYSTEM
US10536070B1 (en) * 2018-08-01 2020-01-14 Infineon Technologies Ag Driver for switching gallium nitride (GaN) devices
TWI732280B (zh) * 2018-08-28 2021-07-01 美商高效電源轉換公司 串級自舉式GaN功率開關及驅動器
US11303116B2 (en) * 2018-08-29 2022-04-12 Allegro Microsystems, Llc Methods and apparatus for electrical overstress protection
US10574229B1 (en) 2019-01-23 2020-02-25 Tagore Technology, Inc. System and device for high-side supply
US10601302B1 (en) * 2019-04-04 2020-03-24 Navitas Semiconductor, Inc. Bootstrap power supply circuit
CN109995235B (zh) * 2019-04-30 2024-03-08 广东美的制冷设备有限公司 智能功率模块和电器设备
KR102230129B1 (ko) * 2020-01-31 2021-03-22 청주대학교 산학협력단 부트스트랩 회로 및 이를 포함하는 전원 공급 장치
IT202000016072A1 (it) * 2020-07-02 2022-01-02 St Microelectronics Srl Circuito di pilotaggio, dispositivo e procedimento di funzionamento corrispondenti
CN216672983U (zh) 2020-07-02 2022-06-03 意法半导体股份有限公司 电路及电子设备
CN113054831B (zh) * 2021-04-30 2022-03-29 杰华特微电子股份有限公司 一种三电平开关电路
CN113746305B (zh) * 2021-08-30 2023-04-25 深圳数马电子技术有限公司 栅极驱动电路和多相智能功率模块
TWI778854B (zh) * 2021-11-03 2022-09-21 新唐科技股份有限公司 電子系統及晶片
WO2023107885A1 (en) * 2021-12-08 2023-06-15 Efficient Power Conversion Corporation Active bootstrapping drivers
CN114421946B (zh) * 2022-01-19 2024-07-02 科能芯(深圳)半导体有限公司 一种低反向导通压降的耗尽型功率器件的直驱电路
TWI871686B (zh) 2022-06-29 2025-02-01 美商高效電源轉換公司 通用功率場效電晶體(fet)驅動器積體電路(ic)架構
US12381478B2 (en) * 2023-05-23 2025-08-05 Murata Manufacturing Co., Ltd. Circuits and methods to startup and shutdown multi-level converters
CN117767711B (zh) * 2024-02-22 2024-05-24 杰华特微电子股份有限公司 单向导通电路、桥式驱动电路及开关电源
TWI901054B (zh) * 2024-03-27 2025-10-11 晶炫半導體股份有限公司 邏輯閘電路

Citations (4)

* Cited by examiner, † Cited by third party
Publication number Priority date Publication date Assignee Title
JP2007318891A (ja) * 2006-05-25 2007-12-06 Toyota Industries Corp スイッチング素子駆動用電源回路
JP2011509629A (ja) * 2008-01-11 2011-03-24 インターナショナル レクティフィアー コーポレイション 集積iii族窒化物電力変換回路
JP2011188178A (ja) * 2010-03-08 2011-09-22 Sanken Electric Co Ltd ゲートドライブ回路
WO2013138750A1 (en) * 2012-03-16 2013-09-19 Texas Instruments Incorporated SYSTEM AND APPARATUS FOR DRIVER CIRCUIT FOR PROTECTION OF GATES OF GaN FETS

Family Cites Families (16)

* Cited by examiner, † Cited by third party
Publication number Priority date Publication date Assignee Title
US5182468A (en) * 1989-02-13 1993-01-26 Ibm Corporation Current limiting clamp circuit
US5373435A (en) * 1993-05-07 1994-12-13 Philips Electronics North America Corporation High voltage integrated circuit driver for half-bridge circuit employing a bootstrap diode emulator
JP3219019B2 (ja) * 1997-05-30 2001-10-15 関西日本電気株式会社 異常電流検出回路およびそれを用いた負荷駆動回路
US7456658B2 (en) 2006-04-07 2008-11-25 International Rectifier Corporation Circuit to optimize charging of bootstrap capacitor with bootstrap diode emulator
TW200835125A (en) 2007-02-08 2008-08-16 Richtek Techohnology Corp Circuit for charging the boot-strap capacitor of voltage converter
US20080290841A1 (en) 2007-05-23 2008-11-27 Richtek Technology Corporation Charging Circuit for Bootstrap Capacitor and Integrated Driver Circuit Using Same
WO2009002541A1 (en) 2007-06-27 2008-12-31 International Rectifier Corporation Gate driving scheme for depletion mode devices in buck converters
US8659275B2 (en) 2008-01-11 2014-02-25 International Rectifier Corporation Highly efficient III-nitride power conversion circuit
US8154334B2 (en) 2009-07-21 2012-04-10 Intersil America Inc. System and method for pre-charging a bootstrap capacitor in a switching regulator with high pre-bias voltage
JP5457826B2 (ja) * 2009-12-28 2014-04-02 株式会社ジャパンディスプレイ レベルシフト回路、信号駆動回路、表示装置および電子機器
WO2012015427A1 (en) 2010-07-30 2012-02-02 Otis Elevator Company Regulated bootstrap power supply
JP2013062717A (ja) * 2011-09-14 2013-04-04 Mitsubishi Electric Corp 半導体装置
JP5236822B1 (ja) 2012-01-30 2013-07-17 シャープ株式会社 ドライバ回路
US9209793B2 (en) * 2012-02-17 2015-12-08 Infineon Technologies Austria Ag Bootstrap circuitry for an IGBT
CN103683872A (zh) * 2012-09-11 2014-03-26 深圳市海洋王照明工程有限公司 一种半桥驱动电路
US9171738B2 (en) * 2012-12-18 2015-10-27 Infineon Technologies Austria Ag Systems and methods for integrating bootstrap circuit elements in power transistors and other devices

Patent Citations (4)

* Cited by examiner, † Cited by third party
Publication number Priority date Publication date Assignee Title
JP2007318891A (ja) * 2006-05-25 2007-12-06 Toyota Industries Corp スイッチング素子駆動用電源回路
JP2011509629A (ja) * 2008-01-11 2011-03-24 インターナショナル レクティフィアー コーポレイション 集積iii族窒化物電力変換回路
JP2011188178A (ja) * 2010-03-08 2011-09-22 Sanken Electric Co Ltd ゲートドライブ回路
WO2013138750A1 (en) * 2012-03-16 2013-09-19 Texas Instruments Incorporated SYSTEM AND APPARATUS FOR DRIVER CIRCUIT FOR PROTECTION OF GATES OF GaN FETS

Cited By (2)

* Cited by examiner, † Cited by third party
Publication number Priority date Publication date Assignee Title
JP7550175B2 (ja) 2020-01-14 2024-09-12 ローム株式会社 半導体装置
US11128295B1 (en) 2020-03-19 2021-09-21 Kabushiki Kaisha Toshiba Semiconductor device

Also Published As

Publication number Publication date
JP6703983B2 (ja) 2020-06-03
WO2016057878A1 (en) 2016-04-14
TWI607626B (zh) 2017-12-01
US20170230046A1 (en) 2017-08-10
US10084445B2 (en) 2018-09-25
US20160105173A1 (en) 2016-04-14
KR102458233B1 (ko) 2022-10-24
US9667245B2 (en) 2017-05-30
CN107078736B (zh) 2021-01-22
EP3205021A1 (en) 2017-08-16
KR20170069244A (ko) 2017-06-20
EP3205021B1 (en) 2021-12-01
EP3205021A4 (en) 2018-06-13
CN107078736A (zh) 2017-08-18
TW201622348A (zh) 2016-06-16

Similar Documents

Publication Publication Date Title
JP6703983B2 (ja) 高電圧ゼロqrrブートスタート電源
US8816666B2 (en) Semiconductor switching device drive circuit using a limited drive voltage
US9954522B2 (en) Hybrid switch including GaN HEMT and MOSFET
EP3590189B1 (en) Hybrid switch control
US9793260B2 (en) System and method for a switch having a normally-on transistor and a normally-off transistor
US9935551B2 (en) Switching circuit including serially connected transistors for reducing transient current at time of turning off, and power supply circuit provided therewith
CN104767360B (zh) 用于驱动开关的系统和方法
US9515649B2 (en) Cascode circuit
US10686361B2 (en) Synchronous rectifier gate driver with active clamp
CN107979360B (zh) 可配置电路及其操作方法和集成电路
JP2019537417A (ja) GaNトランジスタに基づく電力コンバータのためのブートストラップキャパシタ過電圧管理回路
CN110299835B (zh) 用于为开关转换器供电的系统和方法
JP5263317B2 (ja) 半導体スイッチング素子の駆動回路
TW201607244A (zh) 包含高功率增強模式的氮化鎵電晶體與驅動電路的電源切換系統
JPWO2014196136A1 (ja) ゲートドライバおよびこれを備えたパワーモジュール
JP6988256B2 (ja) 電力変換器
CN102480216A (zh) 用于驱动共源共栅开关的系统和方法
EP3070830B1 (en) Rectifier circuit with reduced reverse recovery time
HK1242058B (zh) 高電壓零反向恢復電荷自舉供應器
HK1242058A1 (en) High voltage zero qrr bootstrap supply
CN117040516A (zh) 基于半导体的晶体管的电压栅极驱动器、功率开关器件及相应方法
JP2015037226A (ja) スイッチング素子用ゲート駆動回路
JP2017070198A (ja) 電力変換装置

Legal Events

Date Code Title Description
A521 Request for written amendment filed

Free format text: JAPANESE INTERMEDIATE CODE: A523

Effective date: 20181005

A621 Written request for application examination

Free format text: JAPANESE INTERMEDIATE CODE: A621

Effective date: 20181005

A977 Report on retrieval

Free format text: JAPANESE INTERMEDIATE CODE: A971007

Effective date: 20190807

A131 Notification of reasons for refusal

Free format text: JAPANESE INTERMEDIATE CODE: A131

Effective date: 20190813

A521 Request for written amendment filed

Free format text: JAPANESE INTERMEDIATE CODE: A523

Effective date: 20191113

A131 Notification of reasons for refusal

Free format text: JAPANESE INTERMEDIATE CODE: A131

Effective date: 20200212

A521 Request for written amendment filed

Free format text: JAPANESE INTERMEDIATE CODE: A523

Effective date: 20200310

TRDD Decision of grant or rejection written
A01 Written decision to grant a patent or to grant a registration (utility model)

Free format text: JAPANESE INTERMEDIATE CODE: A01

Effective date: 20200414

A61 First payment of annual fees (during grant procedure)

Free format text: JAPANESE INTERMEDIATE CODE: A61

Effective date: 20200511

R150 Certificate of patent or registration of utility model

Ref document number: 6703983

Country of ref document: JP

Free format text: JAPANESE INTERMEDIATE CODE: R150

R250 Receipt of annual fees

Free format text: JAPANESE INTERMEDIATE CODE: R250

R250 Receipt of annual fees

Free format text: JAPANESE INTERMEDIATE CODE: R250

LAPS Cancellation because of no payment of annual fees