JP2012225035A - 脚立式作業台 - Google Patents

脚立式作業台 Download PDF

Info

Publication number
JP2012225035A
JP2012225035A JP2011092706A JP2011092706A JP2012225035A JP 2012225035 A JP2012225035 A JP 2012225035A JP 2011092706 A JP2011092706 A JP 2011092706A JP 2011092706 A JP2011092706 A JP 2011092706A JP 2012225035 A JP2012225035 A JP 2012225035A
Authority
JP
Japan
Prior art keywords
handrail frame
main leg
top plate
bracket
stepladder
Prior art date
Legal status (The legal status is an assumption and is not a legal conclusion. Google has not performed a legal analysis and makes no representation as to the accuracy of the status listed.)
Granted
Application number
JP2011092706A
Other languages
English (en)
Other versions
JP5837757B2 (ja
Inventor
Toyoji Senda
豊治 千田
Current Assignee (The listed assignees may be inaccurate. Google has not performed a legal analysis and makes no representation or warranty as to the accuracy of the list.)
Gop Co Ltd
Original Assignee
Gop Co Ltd
Priority date (The priority date is an assumption and is not a legal conclusion. Google has not performed a legal analysis and makes no representation as to the accuracy of the date listed.)
Filing date
Publication date
Application filed by Gop Co Ltd filed Critical Gop Co Ltd
Priority to JP2011092706A priority Critical patent/JP5837757B2/ja
Publication of JP2012225035A publication Critical patent/JP2012225035A/ja
Application granted granted Critical
Publication of JP5837757B2 publication Critical patent/JP5837757B2/ja
Active legal-status Critical Current
Anticipated expiration legal-status Critical

Links

Images

Landscapes

  • Ladders (AREA)

Abstract

【課題】上端を折畳金物で回動自在に軸着して下方に向かって外側に傾斜する一対の梯子状の主脚間に、一端を一方の主脚に回動自在に軸着し、他端を他方の主脚より外方に突出させるように、主脚間に作業床用天板を折り畳み自在に架設し、前記長尺な主脚の上端に前記作業床用天板の突出方向と同じ方向に突出する平面コ字形に形成された手摺枠を設けた脚立式作業台において、作業床用天板上に立つ作業員の邪魔にならずに、当該作業員がワンタッチで、迅速かつ簡単に手摺枠を回動して水平の所定位置に固定セットすることができるものである。
【解決手段】手摺枠8は、前記長尺な主脚3の上端に設けたブラケット16に端部を軸着し、このブラケット16を介して主脚3に沿う折り畳み状態から上方に跳ね上がるようにして、略水平方向に突出するように支承する。
【選択図】図1

Description

本発明は、高所作業台としての手摺付きの脚立式作業台に関するものである。
脚立は、従来、周知のように例えば複数の踏桟を適宜間隔で取付けた梯子状の一対の脚部の上端を回動自在に軸着し、軸着部である最上段の部分に踏板を設け、軸着部を回動することで一対の脚部を開閉すると同時に踏板を折り畳みまたは開いて使用し、または不使用時に収納するようにしたものである。
ところで、踏板は前記のように三角形の2辺に位置する梯子状の脚部の頂点に位置する梯子の最上段に設けられるものであるため、人が立てるだけの狭い面積しか確保できない。さらに、踏板に立った状態では、手摺り等の手掛かりとなるものがないため、不安定な状態で作業することになり、踏板から転落するなどの危険発生のおそれもあり、安全面で問題があった。
これに対して、本願の発明者は下記特許文献にあるように、踏板の上方に転落防止手段としての手摺を設ける場合、脚部の開閉や踏板の折り畳み・開きの動作に連動して転落防止手段も折り畳まれたり開いたりして使い勝手がよく、不使用時には脚部と一体的になって偏平に折り畳まれ、収納スペースが少なくてすみ、また、使用時には作業者の周囲に配置するから安全性も向上する手摺付き脚立を提案し、出願した。
特開2010−126968号公報
これは図14、図15に示すように、上部に手摺支柱部分4を延設した一対の支柱脚1間に踏桟2を適宜間隔で取付けて梯子状の主脚3を形成し、この主脚3の一対を対向させ、一方の主脚3を長尺に、他方の主脚3をこれよりも多少短尺に形成し、長尺な主脚3の上端よりも多少下方位置に短尺な主脚3の上端を折畳金物9で回動自在に軸着し、支柱脚1の上部位置で主脚3間に作業床用天板6を折畳み自在に掛け渡す。
作業床用天板6は、一端が長尺な主脚3に回動自在に軸着され、他端が水平の使用状態で短尺な主脚3よりも外方に突出する幅に形成する。
図中7は、一端が作業床用天板6の下面に回動自在に軸着され、他端が短尺な主脚3に取付けてある踏桟2に回動自在に軸着されるアーム状のステイを示す。
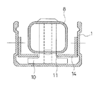
長尺な主脚3の上端に前記作業床用天板6の突出方向と同じ方向に突出する手摺枠8を主脚3内から上下方向に出没自在に取付ける。
図17に示すように手摺枠8は平面コ字形に形成され、その取付構造としては、コ字形の開口部側の端部外側に案内突起10を設け、一方、図18にも示すように支柱脚1の内部にこの案内突起10がスライドするガイド長孔11を支柱脚1の長さ方向にそって形成した断面コ字形の係合部材14を固定し、支柱脚1の上端は手摺枠8の回動および上下動が可能となるように開口に形成した。
また、支柱脚1の上端側部に手摺枠8を引き出した状態で下方から支承する支持部材12を取付け、この支持部材12に手摺枠8を固定する固定金具13を取付ける。
固定金具13は、L字形に形成され、支持部材12に対して上下方向に回動自在に軸着されて上方の回動位置で手摺枠8に被さるように構成される。
なお、手摺枠8の突出方向の長さは、突出端部が前記作業床用天板6の突出端部とほぼ同じ位置となるように設定する。また、手摺枠8は、突出状態で先端が僅かに上向きとなるように支持部材12の上面を先端に向けて例えば約7度程度上向きとなるように傾斜させる。
次に使用法について説明する。不使用時には図16に示すように長尺な主脚3と短尺な主脚3は折畳金物9を中心軸として平行に折畳まれている。この状態で、ステイ7と作業床用天板6は、一端がそれぞれの主脚3との回動軸着部を介して回動し、長尺な主脚3と短尺な主脚3との間で他端が上方に移動して扁平に折畳まれている。
また、固定金具13は下方に回動した状態で支持部材12の上から外れ、手摺枠8は、案内突起10がガイド長孔11にそって下方に移動し、支柱脚1の内部に収納された状態にある。
この状態から作業台を使用するには、長尺および短尺な主脚3を折畳金物9を介して図16において左右に回動し全体をハ字状に広げれば、主脚3の広がりに追随して作業床用天板6とステイ7もそれぞれの主脚3との軸着部を中心にして下方に回動し、長尺および短尺な主脚3,3の間で水平位置まで移動する。
この水平位置で作業床用天板6は、途中が主脚3に設けてある踏桟2を使用した天板受け材の上に載置し、この天板受け材で下方から支承される。そして、作業床用天板6は、回動軸着部とは反対側の先端が主脚3よりも外方に突出するから、壁面などの作業箇所に近接して作業床用天板6を位置させることができ、作業性の向上が図れる。
また、対向する主脚3,3は、一方を長尺に他方を短尺に形成してあるから、上部の回動軸着部が長尺な主脚3の上端に位置せず、これよりも下方位置となるから、長尺な主脚3に短尺な主脚3が寄りかかるような状態となり、対向する主脚を上端で軸着する場合に比較して安定性を増すことができる。
手摺枠8のセットは、支柱脚1の内部に収納されている手摺枠8を支柱脚1にそって上方にスライドさせて引き上げる。手摺枠8の開口端部が支柱脚1の上端まで引き上げられたならば、下端を軸にして手摺枠8を下方の水平方向に回動する。
略水平位置で手摺枠8は支柱脚1に取付けてある支持部材12の上に当接し、それ以上の回動が阻止されてこの略水平位置に係止される。次に、固定金具13を上方に回動し、手摺枠8の上に被せるようにすれば、手摺枠8が支持部材12の上、すなわち支柱脚1の上端部に固定される。
よって、作業中に手摺枠8が外れるおそれがなく、作業の安全を確保できる。また、手摺枠8のセットは、上方への引き出しと、水平方向への回動とで行えるから、作業床用天板6上に載っている作業員の邪魔になることもない。
そして、手摺枠8は、主脚1から外方水平方向に突出している作業床用天板6の上方に位置するから、作業床用天板6の突出部分に載って作業する作業員の安全を確保できる。
前記手摺枠8のセットは、第1に、手摺枠8を支柱脚1にそって上方にスライドさせて引き上げる動作、第2に、支持部材12の上に当接し、略水平位置に係止動作、第3に、固定金具13を上に被せる動作の3段階の動作により、手摺枠8の固定が行われる。
このような複数動作の組み合わせでの手摺枠8の固定セットを行うのでは、迅速性に欠け、面倒であり、完全な履行を期待できないおそれもある。
本発明の目的は前記従来例の不都合を解消し、上端を折畳金物で回動自在に軸着して下方に向かって外側に傾斜する一対の梯子状の主脚間に、一端を一方の主脚に回動自在に軸着し、他端を他方の主脚より外方に突出させるように、主脚間に作業床用天板を折り畳み自在に架設し、前記長尺な主脚上端に前記作業床用天板の突出方向と同じ方向に突出する平面コ字形に形成された手摺枠を設けた脚立式作業台において、作業床用天板上に立つ作業員の邪魔にならずに、当該作業員がワンタッチで、迅速かつ簡単に手摺枠を回動して水平の所定位置に固定セットすることができる脚立式作業台を提供するものである。
本発明は前記目的を達成するため、請求項1記載の発明は、手摺枠は、前記長尺な主脚の上端に設けたブラケットに端部を軸着し、このブラケットを介して主脚に沿う折り畳み状態から上方に跳ね上がるようにして、略水平方向に突出するように支承することを要旨とするものである。
請求項1記載の本発明によれば、手摺枠は、ブラケットを介して主脚に沿う折り畳み状態から上方に跳ね上がるようにして略水平方向に突出するように支承されるものであり、ブラケットが手摺枠回動のガイドとなるとともに、手摺枠はブラケットによりワンタッチで固定セットすることができる。
請求項2記載の本発明は、ブラケットは、4分割円周程度の円弧状縁を有する取付片を平行させ、その円弧状縁に沿って手摺枠を主脚に沿う折り畳み状態から上方に跳ね上がるように誘導することを要旨とするものである。
請求項2記載の本発明によれば、前記作用に加えて、ブラケットが手摺枠回動のガイドとなるのに4分割円周程度の円弧状縁に沿って上方に跳ね上がるように誘導できるのでスムーズな動きを得ることができる。
請求項3記載の本発明は、ブラケットは、4分割円周程度の円弧状縁を有する取付片を平行させ、その間に手摺枠端部を挿入してなり、このブラケットに第1のピン部材で前記手摺枠端部を回動可能に枢着し、手摺枠にスライド可能に設けた鞘体を取付片の円弧状縁に当接し、この鞘体に設ける第2のピン部材が挿通する手摺枠の貫通孔は第2のピン部材が移動し得るよう長孔に形成され、第1のピン部材と第2のピン部材の間を縮小するようにバネで付勢し、前記取付片の円弧状縁にはこの第2のピン部材が嵌り込む切り欠きを適宜位置に形成したことを要旨とするものである。
請求項3記載の本発明によれば、手摺枠には第2のピン部材を有する鞘体が設けられており、この鞘体を手摺枠に対してスライドさせることで第2のピン部材も移動する。鞘体を手で持って手摺枠を上方に跳ね上げるようにするが、その際に、鞘体を手摺枠に対してスライドさせて第2のピン部材を取付片の円弧状縁に設けた切り欠きから外すことでロックを解除でき、第2のピン部材はそのまま取付片の円弧状縁に当たりながら手摺枠とともに移動し、手摺枠が略水平になった状態で第2のピン部材は自動的に取付片の円弧状縁に設けた切り欠きに入り込みロックが行われる。
請求項4記載の発明は、鞘体は上床板に窓孔を形成し、手摺枠端部に設ける着色注意部をこの窓孔から顕出させることを要旨とするものである。
請求項4記載の発明によれば、鞘体の上床板に形成した窓孔から手摺枠端部に設ける着色注意部を観取することができ、鞘体の第2のピン部材のロック状態を知ることができる。
請求項5記載の発明は、前記窓孔は矢印形状であり、一方、着色注意部は2色に分け、その一つは赤系統色で、いずれの色も一色のみ窓孔から顕出させることが可能なことを要旨とするものである。
請求項5記載の発明によれば、前記請求項4の鞘体の上床板に形成した窓孔から手摺枠端部に設ける着色注意部を観取することができ、鞘体の第2のピン部材のロック状態を知ることができるということに関して、矢印形状の窓孔には赤系統色が現れた時はロックがなされていないことが分かり、確実にロックを行って手摺枠を設置し、安全性を高めることができる。
以上述べたように本発明の脚立式作業台は、上端を折畳金物で回動自在に軸着して下方に向かって外側に傾斜する一対の梯子状の主脚間に、一端を一方の主脚に回動自在に軸着し、他端を他方の主脚より外方に突出させるように、主脚間に作業床用天板を折り畳み自在に架設し、前記長尺な主脚上端に前記作業床用天板の突出方向と同じ方向に突出する平面コ字形に形成された手摺枠を設けた脚立式作業台において、作業床用天板上に立つ作業員の邪魔にならずに、当該作業員がワンタッチで、迅速かつ簡単に手摺枠を回動して水平の所定位置に固定セットすることができるものである。
以下、図面について本発明の実施の形態を詳細に説明する。図1〜図4は本発明の脚立式作業台の全体の概要を示すもので、前記従来例を示す図14〜16と同一構成要素には同一参照符号を付したものである。
上部に手摺支柱部分4を延設した一対の支柱脚1間に踏桟2を適宜間隔で取付けて梯子状の主脚3を形成した。
主脚3の一対を対向させ、一方の主脚3を長尺に、他方の主脚3をこれよりも多少短尺に形成し、長尺な主脚3の上端よりも多少下方位置に短尺な主脚3の上端を折畳金物9で回動自在に軸着した。このようにして、折畳金物9により、一対の主脚3は、それぞれ開き体となる。
かかる支柱脚1の上部位置で主脚3間に作業床用天板6を折畳み自在に掛け渡す。作業床用天板6は、一端が長尺な主脚3に回動自在に軸着され、他端が水平の使用状態で短尺な主脚3よりも外方に突出する幅に形成する。図中7は、一端が作業床用天板6の下面に回動自在に軸着され、他端が短尺な主脚3に取付けてある踏桟2に回動自在に軸着されるアーム状のステイを示す。
長尺な主脚3の上端に前記作業床用天板6の突出方向と同じ方向に突出する手摺枠8を、長尺な主脚3に添うように収まる状態から水平よりもわずかに、例えば約7度程度上向きとなるように傾斜させる状態まで跳ねあがるように出没自在に取付ける。
本発明は、手摺枠8を、長尺な主脚3の上端に取付けるのに、ブラケット16を介在させ、このブラケット16を介して長尺な主脚3に沿う折り畳み状態から上方に跳ね上がるようにして、略水平方向に突出するように支承するものとした。
該ブラケット16は、図5〜図8に示すように、4分割円周程度の円弧状縁17を下向きにして有する取付片18を平行させ、その円弧状縁17に沿って手摺枠8を主脚3に沿う折り畳み状態から上方に跳ね上がるように誘導するものである。
平行する取付片18の端には主脚3の上端への係合片19を一体に連続形成し、この係合片19で主脚3を挟み込みビス止めすることで、ブラケット16を主脚3の上端へ取付ける。
手摺枠8は平行する取付片18間に端部を挿入してなり、このブラケット16に第1のピン部材20で回動可能に枢着した。
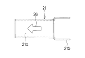
さらに、この手摺枠8には矩形断面の角管を本体21aとする鞘体21をスライド自在に嵌め、該鞘体21の本体21aの端部に形成する二股片21bに架け渡す第2のピン部材22を手摺枠8に形成した横長孔23の貫通孔に挿通させる。
前記第1のピン部材20と第2のピン部材22間に巻きバネ24を架設して、この巻きバネ24で第1のピン部材20と第2のピン部材22の間を縮小するように付勢した。
このようにして、鞘体21は第2のピン部材22をもってブラケット16の取付片18の円弧状縁17に当接し、一方、前記取付片18の円弧状縁17にはこの第2のピン部材22が嵌り込む切り欠き25a、25bを形成した。
切り欠き25a、25bのうち、切り欠き25aは切り欠き25bよりも小さなものでよく、手摺枠8が長尺な主脚3に添うように収まる状態で第2のピン部材22が嵌り込む位置に形成する。
切り欠き25bは切り欠き25aよりも深く形成することで確実なロックが得られるもので、手摺枠8が前記折り畳み状態から上方に跳ね上がるようにして、略水平方向に突出する状態で第2のピン部材22が嵌り込む位置に形成する。
図10〜図13に示すように、鞘体21は角管である本体21aの上床板に矢印形状の窓孔26を形成し、これに対応して手摺枠8の端部に着色注意部として赤系統色の着色注意部27aと緑系統色の着色注意部27bとを連続させて設け、これら赤系統色の着色注意部27aと緑系統色の着色注意部27bとが第2のピン部材22が切り欠き25bに嵌り込む前と後とで、それぞれ一色のみ窓孔26から顕出させるようにした。
図1中、15は開き体である一対の主脚3のうち、長尺な主脚3に軸着ピンによる回動軸着部を介して軸支される開き止め金具で、先端部に他方の開き体である短尺な主脚3に設けた係止ピンに係合する切り欠き溝を形成した横長片からなる。
次に使用法について説明する。不使用時には図4に示すように長尺な主脚3と短尺な主脚3は折畳金物9を中心軸として平行に折畳まれている。
この状態から作業台を使用するには、長尺および短尺な主脚3を折畳金物9を介して図1に示すように左右に回動し全体をハ字状に広げれば、主脚3の広がりに追随して天板6とステイ7もそれぞれの主脚3との軸着部を中心にして下方に回動し、長尺および短尺な主脚3,3の間で水平位置まで移動する。
この水平位置で作業床用天板6は、途中が主脚3に設けてある踏桟2を使用した天板受け材の上に載置し、この天板受け材で下方から支承される。そして、作業床用天板6は、回動軸着部とは反対側の先端が主脚3よりも外方に突出するから、壁面などの作業箇所に近接して作業床用天板6を位置させることができ、作業性の向上が図れる。
また、対向する主脚3,3は、一方を長尺に他方を短尺に形成してあるから、上部の回動軸着部が長尺な主脚3の上端に位置せず、これよりも下方位置となるから、長尺な主脚3に短尺な主脚3が寄りかかるような状態となり、対向する主脚を上端で軸着する場合に比較して安定性を増すことができる。
次に手摺枠8をセットする方法を説明する。手摺枠8は長尺な主脚3に添うように収まっており、第2のピン部材22が切り欠き25aに嵌り込んでロックされている。
この状態で、鞘体21部分もしくは手摺枠8の他の部分を手で掴んで、この手摺枠8を跳ね上げるようにすれば、第2のピン部材22が切り欠き25aから自動的に抜け出て(鞘体21をスライドさせる必要はない)、ブラケット16の取付片18の円弧状縁17に当接ながらすべり、手摺枠8が略水平方向に突出する状態になったところで、巻きバネ24が縮んで第2のピン部材22が切り欠き25bに嵌り込みロックが行われる。
鞘体21の窓孔26では、赤系統色の着色注意部27aの顕出から緑系統色の着色注意部27bの顕出へと色が変わり、確実にロックされたことを表示する。
よって、作業中に手摺枠8が外れるおそれがなく、作業の安全を確保できる。また、手摺枠8のセットは、上方への回動のみでワンタッチで行え、しかも、作業床用天板6上に載っている作業員の邪魔になることもない。
そして、手摺枠8は、主脚1から外方水平方向に突出している作業床用天板6の上方に位置するから、作業床用天板6の突出部分に載って作業する作業員の安全を確保できる。
一方、使用後に手摺枠8を畳むには、鞘体21を窓孔26が示す矢印方向にスライドさせれば、巻きバネ24が伸び、第2のピン部材22が切り欠き25bから抜け出るので、そのまま手摺枠8を押し下げれば、第2のピン部材22がブラケット16の取付片18の円弧状縁17に当接ながらすべり、手摺枠8が長尺な主脚3に添うように収まるところで第2のピン部材22が切り欠き25aに嵌り込んで軽くロックさる。
この時、鞘体21の窓孔26では、緑系統色の着色注意部27bの顕出から赤系統色の着色注意部27aの顕出へと色が変わり、ロックが行われていないことを表示する。
本発明の脚立式作業台の1実施形態を示す側面図である。 本発明の脚立式作業台の1実施形態を示す正面図である。 本発明の脚立式作業台の1実施形態を示す背面図である。 本発明の脚立式作業台の1実施形態を示す折畳んだ状態の側面図である。 本発明の脚立式作業台の1実施形態を示す要部である手摺枠部分の斜視図である。 本発明の脚立式作業台の1実施形態を示す要部である手摺枠部分の縦断側面図である。 手摺枠のロック状態を示す説明図である。 手摺枠の非ロック状態を示す説明図である。 バネの設置を示す説明図である。 鞘体の平面図である。 鞘体の側面図である。 鞘体の着色注意部顕出の説明図である。 手摺枠の着色注意部の平面図である。 従来例を示す脚立式作業台の側面図である。 従来例を示す脚立式作業台の正面図である。 従来例を示す脚立式作業台の折畳んだ状態の側面図である。 従来例を示す脚立式作業台の手摺部分の縦断側面図である。 従来例を示す脚立式作業台の手摺枠の取付け部の横断平面図である。
1 支柱脚 2 踏桟
3 主脚 4 手摺支柱部分
5 手摺 6 作業床用天板
7 ステイ 8 手摺枠
9 折畳金物 10 案内突起
11 ガイド長孔 12 支持部材
13 固定金具 14 係合部材
15 開き止め金具 16 ブラケット
17 円弧状縁 18 取付片
19 係合片 20 第1のピン部材
21 鞘体 21a 本体
21b 二股片 22 第2のピン部材
23 横長孔 24 巻きバネ
25a、25b 切り欠き 26 窓孔
27a 赤系統色の着色注意部
27b 緑系統色の着色注意部

Claims (5)

  1. 上端を折畳金物で回動自在に軸着して下方に向かって外側に傾斜する一対の梯子状の主脚間に、一端を一方の主脚に回動自在に軸着し、他端を他方の主脚より外方に突出させるように、主脚間に作業床用天板を折り畳み自在に架設し、前記長尺な主脚上端に前記作業床用天板の突出方向と同じ方向に突出する平面コ字形に形成された手摺枠を設けた脚立式作業台において、
    前記手摺枠は、前記長尺な主脚の上端に設けたブラケットに端部を軸着し、このブラケットを介して主脚に沿う折り畳み状態から上方に跳ね上がるようにして、略水平方向に突出するように支承することを特徴とする脚立式作業台。
  2. ブラケットは、4分割円周程度の円弧状縁を有する取付片を平行させ、その円弧状縁に沿って手摺枠を主脚に沿う折り畳み状態から上方に跳ね上がるように誘導する請求項1記載の脚立式作業台。
  3. ブラケットは、4分割円周程度の円弧状縁を有する取付片を平行させ、その間に手摺枠端部を挿入してなり、このブラケットに第1のピン部材で前記手摺枠端部を回動可能に枢着し、手摺枠にスライド可能に設けた鞘体を取付片の円弧状縁に当接し、この鞘体に設ける第2のピン部材が挿通する手摺枠の貫通孔は第2のピン部材が移動し得るよう長孔に形成され、第1のピン部材と第2のピン部材の間を縮小するようにバネで付勢し、前記取付片の円弧状縁にはこの第2のピン部材が嵌り込む切り欠きを適宜位置に形成した請求項1または請求項2記載の脚立式作業台。
  4. 鞘体は上床板に窓孔を形成し、手摺枠端部に設ける着色注意部をこの窓孔から顕出させる請求項1ないし請求項4のいずれかに記載の脚立式作業台。
  5. 前記窓孔は矢印形状であり、一方、着色注意部は2色に分け、その一つは赤系統色で、いずれの色も一色のみ窓孔から顕出させることが可能な請求項4に記載の脚立式作業台。
JP2011092706A 2011-04-19 2011-04-19 脚立式作業台 Active JP5837757B2 (ja)

Priority Applications (1)

Application Number Priority Date Filing Date Title
JP2011092706A JP5837757B2 (ja) 2011-04-19 2011-04-19 脚立式作業台

Applications Claiming Priority (1)

Application Number Priority Date Filing Date Title
JP2011092706A JP5837757B2 (ja) 2011-04-19 2011-04-19 脚立式作業台

Publications (2)

Publication Number Publication Date
JP2012225035A true JP2012225035A (ja) 2012-11-15
JP5837757B2 JP5837757B2 (ja) 2015-12-24

Family

ID=47275509

Family Applications (1)

Application Number Title Priority Date Filing Date
JP2011092706A Active JP5837757B2 (ja) 2011-04-19 2011-04-19 脚立式作業台

Country Status (1)

Country Link
JP (1) JP5837757B2 (ja)

Cited By (7)

* Cited by examiner, † Cited by third party
Publication number Priority date Publication date Assignee Title
JP2015031103A (ja) * 2013-08-06 2015-02-16 アルインコ株式会社 脚立式作業台
JP2015067980A (ja) * 2013-09-27 2015-04-13 アルインコ株式会社 脚立式作業台
JP2017031659A (ja) * 2015-07-31 2017-02-09 ジー・オー・ピー株式会社 脚立式作業台
JP2018193738A (ja) * 2017-05-16 2018-12-06 ジー・オー・ピー株式会社 作業台
JP2019019643A (ja) * 2017-07-21 2019-02-07 ジー・オー・ピー株式会社 作業台
JP2020112001A (ja) * 2019-01-16 2020-07-27 特殊梯子製作所有限会社 手摺り付き梯子
JP2020144187A (ja) * 2019-03-05 2020-09-10 株式会社リコー 支持装置およびスタンドディスプレイ

Citations (7)

* Cited by examiner, † Cited by third party
Publication number Priority date Publication date Assignee Title
JPS59100U (ja) * 1982-06-19 1984-01-05 梶浦 春夫 手摺つき脚立
JPS6153500U (ja) * 1984-09-12 1986-04-10
JP2002138783A (ja) * 2000-11-07 2002-05-17 Gop Kk 手摺付き脚立
JP2005290763A (ja) * 2004-03-31 2005-10-20 Gop Kk 可搬式作業台の手摺部材
JP2006152593A (ja) * 2004-11-26 2006-06-15 Gop Kk 可搬式作業台
JP2008255586A (ja) * 2007-04-02 2008-10-23 Gop Kk 可搬式作業台の手摺部材
JP2010126968A (ja) * 2008-11-27 2010-06-10 Gop Kk 可搬式作業台

Patent Citations (7)

* Cited by examiner, † Cited by third party
Publication number Priority date Publication date Assignee Title
JPS59100U (ja) * 1982-06-19 1984-01-05 梶浦 春夫 手摺つき脚立
JPS6153500U (ja) * 1984-09-12 1986-04-10
JP2002138783A (ja) * 2000-11-07 2002-05-17 Gop Kk 手摺付き脚立
JP2005290763A (ja) * 2004-03-31 2005-10-20 Gop Kk 可搬式作業台の手摺部材
JP2006152593A (ja) * 2004-11-26 2006-06-15 Gop Kk 可搬式作業台
JP2008255586A (ja) * 2007-04-02 2008-10-23 Gop Kk 可搬式作業台の手摺部材
JP2010126968A (ja) * 2008-11-27 2010-06-10 Gop Kk 可搬式作業台

Cited By (9)

* Cited by examiner, † Cited by third party
Publication number Priority date Publication date Assignee Title
JP2015031103A (ja) * 2013-08-06 2015-02-16 アルインコ株式会社 脚立式作業台
JP2015067980A (ja) * 2013-09-27 2015-04-13 アルインコ株式会社 脚立式作業台
JP2017031659A (ja) * 2015-07-31 2017-02-09 ジー・オー・ピー株式会社 脚立式作業台
JP2018193738A (ja) * 2017-05-16 2018-12-06 ジー・オー・ピー株式会社 作業台
JP7074310B2 (ja) 2017-05-16 2022-05-24 ジー・オー・ピー株式会社 作業台
JP2019019643A (ja) * 2017-07-21 2019-02-07 ジー・オー・ピー株式会社 作業台
JP2020112001A (ja) * 2019-01-16 2020-07-27 特殊梯子製作所有限会社 手摺り付き梯子
JP2020144187A (ja) * 2019-03-05 2020-09-10 株式会社リコー 支持装置およびスタンドディスプレイ
JP7180453B2 (ja) 2019-03-05 2022-11-30 株式会社リコー 支持装置およびスタンドディスプレイ

Also Published As

Publication number Publication date
JP5837757B2 (ja) 2015-12-24

Similar Documents

Publication Publication Date Title
JP5837757B2 (ja) 脚立式作業台
JP5364241B2 (ja) 可搬式作業台の手摺部材
KR20060071681A (ko) 절첩식 작업대
RU2008124808A (ru) Складная платформа
JP3581957B2 (ja) 作業台
JP5594954B2 (ja) 可搬式作業台
JP5066026B2 (ja) 伸縮体のロック機構
JP2017071980A (ja) 踏桟カバー
JP4843381B2 (ja) 可搬式作業台および手摺部材
JP6645766B2 (ja) 脚立式作業台
JP3180629U (ja) 脚立式作業台
JP2009235868A (ja) 作業台
JP2012225034A (ja) 脚立等の開き止め金具
JP5777695B2 (ja) 可搬式作業台
JP6254847B2 (ja) 脚立式作業台
JP2011202470A (ja) 脚立の転倒防止具
JP6634238B2 (ja) アウトリガー式脚装置
JP4814290B2 (ja) 梯子
KR200429498Y1 (ko) 높이조절이 가능한 작업대
JP3396667B2 (ja) 手摺付き脚立
JP2009024478A (ja) 可搬式作業台
KR200461587Y1 (ko) 작업대의 안전바 어셈블리.
KR20210154668A (ko) 사다리형 작업대의 접철식 안전 난간대
JP5628635B2 (ja) 作業用足場台及び足場台用手掛り棒保持金具
KR101390859B1 (ko) 사다리 고정장치

Legal Events

Date Code Title Description
A621 Written request for application examination

Free format text: JAPANESE INTERMEDIATE CODE: A621

Effective date: 20140207

A977 Report on retrieval

Free format text: JAPANESE INTERMEDIATE CODE: A971007

Effective date: 20141217

A131 Notification of reasons for refusal

Free format text: JAPANESE INTERMEDIATE CODE: A131

Effective date: 20150217

A521 Request for written amendment filed

Free format text: JAPANESE INTERMEDIATE CODE: A523

Effective date: 20150413

TRDD Decision of grant or rejection written
A01 Written decision to grant a patent or to grant a registration (utility model)

Free format text: JAPANESE INTERMEDIATE CODE: A01

Effective date: 20151013

A61 First payment of annual fees (during grant procedure)

Free format text: JAPANESE INTERMEDIATE CODE: A61

Effective date: 20151106

R150 Certificate of patent or registration of utility model

Ref document number: 5837757

Country of ref document: JP

Free format text: JAPANESE INTERMEDIATE CODE: R150

R250 Receipt of annual fees

Free format text: JAPANESE INTERMEDIATE CODE: R250

R250 Receipt of annual fees

Free format text: JAPANESE INTERMEDIATE CODE: R250