JP2010143818A - 純粋且つ無気泡のるつぼ内層を有するシリカるつぼ及びその製造方法 - Google Patents
純粋且つ無気泡のるつぼ内層を有するシリカるつぼ及びその製造方法 Download PDFInfo
- Publication number
- JP2010143818A JP2010143818A JP2009254727A JP2009254727A JP2010143818A JP 2010143818 A JP2010143818 A JP 2010143818A JP 2009254727 A JP2009254727 A JP 2009254727A JP 2009254727 A JP2009254727 A JP 2009254727A JP 2010143818 A JP2010143818 A JP 2010143818A
- Authority
- JP
- Japan
- Prior art keywords
- silica
- particle layer
- layer
- melting
- silica particle
- Prior art date
- Legal status (The legal status is an assumption and is not a legal conclusion. Google has not performed a legal analysis and makes no representation as to the accuracy of the status listed.)
- Granted
Links
Images
Classifications
-
- C—CHEMISTRY; METALLURGY
- C03—GLASS; MINERAL OR SLAG WOOL
- C03B—MANUFACTURE, SHAPING, OR SUPPLEMENTARY PROCESSES
- C03B19/00—Other methods of shaping glass
- C03B19/09—Other methods of shaping glass by fusing powdered glass in a shaping mould
- C03B19/095—Other methods of shaping glass by fusing powdered glass in a shaping mould by centrifuging, e.g. arc discharge in rotating mould
-
- C—CHEMISTRY; METALLURGY
- C03—GLASS; MINERAL OR SLAG WOOL
- C03B—MANUFACTURE, SHAPING, OR SUPPLEMENTARY PROCESSES
- C03B20/00—Processes specially adapted for the production of quartz or fused silica articles, not otherwise provided for
-
- C—CHEMISTRY; METALLURGY
- C30—CRYSTAL GROWTH
- C30B—SINGLE-CRYSTAL GROWTH; UNIDIRECTIONAL SOLIDIFICATION OF EUTECTIC MATERIAL OR UNIDIRECTIONAL DEMIXING OF EUTECTOID MATERIAL; REFINING BY ZONE-MELTING OF MATERIAL; PRODUCTION OF A HOMOGENEOUS POLYCRYSTALLINE MATERIAL WITH DEFINED STRUCTURE; SINGLE CRYSTALS OR HOMOGENEOUS POLYCRYSTALLINE MATERIAL WITH DEFINED STRUCTURE; AFTER-TREATMENT OF SINGLE CRYSTALS OR A HOMOGENEOUS POLYCRYSTALLINE MATERIAL WITH DEFINED STRUCTURE; APPARATUS THEREFOR
- C30B15/00—Single-crystal growth by pulling from a melt, e.g. Czochralski method
- C30B15/10—Crucibles or containers for supporting the melt
-
- Y—GENERAL TAGGING OF NEW TECHNOLOGICAL DEVELOPMENTS; GENERAL TAGGING OF CROSS-SECTIONAL TECHNOLOGIES SPANNING OVER SEVERAL SECTIONS OF THE IPC; TECHNICAL SUBJECTS COVERED BY FORMER USPC CROSS-REFERENCE ART COLLECTIONS [XRACs] AND DIGESTS
- Y10—TECHNICAL SUBJECTS COVERED BY FORMER USPC
- Y10T—TECHNICAL SUBJECTS COVERED BY FORMER US CLASSIFICATION
- Y10T117/00—Single-crystal, oriented-crystal, and epitaxy growth processes; non-coating apparatus therefor
- Y10T117/10—Apparatus
- Y10T117/1024—Apparatus for crystallization from liquid or supercritical state
- Y10T117/1032—Seed pulling
Landscapes
- Chemical & Material Sciences (AREA)
- Engineering & Computer Science (AREA)
- Materials Engineering (AREA)
- Organic Chemistry (AREA)
- Manufacturing & Machinery (AREA)
- Crystallography & Structural Chemistry (AREA)
- Metallurgy (AREA)
- Crystals, And After-Treatments Of Crystals (AREA)
- Glass Melting And Manufacturing (AREA)
Abstract
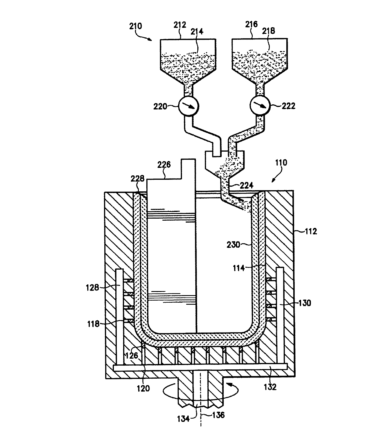
【解決手段】モールドキャビティに設けられるシリカ粒子を介して空気を吸引する形式のモールドキャビティにおいて、シリカるつぼを製造する方法であって、純粋なシリカ粒子層230を天然シリカ粒子層228の上部に形成し、シリカ粒子を介して空気を実質的に吸引することなく、純粋なシリカ粒子層230の少なくとも一部を溶融し、シリカを介してかなり高容量の空気を吸引しながら、任意の残留する純粋なシリカ粒子層230、及び天然シリカ粒子層228の少なくとも一部を溶融し、その後、溶融された純粋なシリカ粒子層230の少なくとも一部を昇華させる。
【選択図】図1
Description
前記モールドキャビティに第1のシリカ粒子層を形成すること、
前記第1のシリカ粒子層上に純粋なシリカ粒子層を形成すること、
前記シリカ粒子を介して空気を実質的に吸引することなく、前記純粋なシリカ粒子層の少なくとも一部を溶融すること、
前記シリカを介してかなり高容量の空気を吸引しながら、任意の残留する純粋なシリカ粒子層、及び前記第1のシリカ粒子層の少なくとも一部を溶融すること、及び
前記溶融された純粋なシリカ粒子層の少なくとも一部を昇華させること、
を含むことを特徴とする。
前記比較的低い溶融電力を約500kVA超に上げること、及び
前記溶融電力を約500kVA超に上げる前に20秒以上、前記シリカを介して前記かなり高容量の空気を吸引すること、
をさらに含むことを特徴とする。
モールドキャビティ内に第1のシリカ粒子層を形成すること、
前記第1のシリカ粒子層上に第2のシリカ粒子層を形成すること、
前記第2のシリカ粒子層の少なくとも一部を第1の温度で溶融すること、
前記第1のシリカ粒子層の少なくとも一部を、前記第1の温度を超える高い第2の温度で溶融すること、及び
第1のシリカ粒子層の少なくとも一部を昇華させること、
を含むことを特徴とする。
前記第1のシリカ粒子層を溶融しながら、前記粒子を介して、前記モールドキャビティの内壁に分布する孔へとガスを吸引すること、
をさらに含むことを特徴とする。
第1の電力で前記内側シリカ層の少なくとも一部を溶融することによって、第1の溶融シリカ層を形成すること、
前記第1の電力よりも大きい第2の電力で前記少なくとも1つの付加的なシリカ層の少なくとも一部を溶融することによって、第2の溶融シリカ層を形成すること、及び
前記第1の溶融シリカ層の一部を昇華させること、
を含むことを特徴とする。
前記第2の溶融シリカ層を溶融しながら、前記シリカ層を介してガスを吸引すること、
をさらに含むことを特徴とする。
前記モールドキャビティに第1のシリカ粒子層を形成すること、
前記第1のシリカ粒子層上に純粋なシリカ粒子層を形成すること、
前記シリカ粒子を介して空気を実質的に吸引することなく、比較的低い溶融電力で前記純粋なシリカ粒子層の第1の部分を溶融すること、
前記シリカ粒子を介してかなり高容量の空気を吸引しながら、比較的高い溶融電力で前記純粋なシリカ粒子層の第2の部分を溶融すること、
前記シリカを介してかなり高容量の空気を吸引しながら、前記第1のシリカ粒子層の少なくとも一部を溶融すること、及び
前記純粋なシリカ粒子層の前記溶融された第1の部分を実質的に全て昇華させること、
を含むことを特徴とする。
モールドキャビティに第1のシリカ層を形成すること、
前記第1のシリカ層上に、前記第1のシリカ層と比較して低い濃度の少なくともいくらかの不純物を含有する第2のシリカ層を形成すること、
前記第2のシリカ層の少なくとも一部を組み込む内側シリカ層を溶融すること、
前記内側シリカ層を溶融した後、残留するシリカの少なくとも一部を溶融しながら、未溶融シリカを介して空気を吸引すること、及び
前記溶融された内側シリカ層の少なくとも一部を昇華させること、
を含むことを特徴とする。
天然石英粒子を、回転式モールドにおいて天然粒子層として形成した。厚みが3.5mmの合成シリカ粒子を、天然石英粒子層上に純粋なシリカ粒子層として形成した。合成シリカ粒子は、Al、Ca、Li、Na及びKをそれぞれ0.2ppm未満で含有していた。天然石英粒子は、6ppmのAl、1.3ppmのCa、0.7ppmのLi、0.05ppmのNa及び0.1ppmのKを有していた。
1.5mm厚の合成シリカ粒子層を天然石英粒子層上に形成した以外は、実施例1に概説したものと同様の手順に従ってるつぼを調製した。
表3に示すように溶融段階をとった以外は、実施例1に概説したものと同様の手順に従ってるつぼを調製した。最大の違いは、排気システムを第1段階の始めから作動させたことである。
合成シリカ粒子層を天然石英粒子層上に形成しなかったこと以外は、実施例1に概説したものと同様の手順に従ってるつぼを調製した。溶融段階は表4に示した通りである。意図的な昇華のための第5段階はない。所要の寸法、直径及び壁厚を満たした時点で溶融を停止した。不純物プロファイルは図8に示す。実に、850kVA等の高電力における昇華段階がないため、莫大な不純物の集積が観測された。第1の層L1中のアルミニウム含量は、実施例2よりも7.8倍大きく且つ実施例1よりも55倍大きい110ppmであった。
Claims (38)
- モールドキャビティ内のシリカ粒子を介して空気を吸引することができる形式のモールドキャビティにおいて、シリカるつぼを製造する方法であって、
前記モールドキャビティに第1のシリカ粒子層を形成すること、
前記第1のシリカ粒子層上に純粋なシリカ粒子層を形成すること、
前記シリカ粒子を介して空気を実質的に吸引することなく、前記純粋なシリカ粒子層の少なくとも一部を溶融すること、
前記シリカを介してかなり高容量の空気を吸引しながら、任意の残留する純粋なシリカ粒子層、及び前記第1のシリカ粒子層の少なくとも一部を溶融すること、及び
前記溶融された純粋なシリカ粒子層の少なくとも一部を昇華させること、
を含む、シリカるつぼを製造する方法。 - 前記純粋なシリカ粒子層が約1ppm未満のアルミニウムを含有する、請求項1に記載の方法。
- 前記純粋なシリカ粒子層が約0.2ppm未満のアルミニウムを含有する、請求項2に記載の方法。
- 前記純粋なシリカ粒子層が、約1ppm未満の金属不純物を含有する合成シリカ粒子を含む、請求項1に記載の方法。
- 前記純粋なシリカ粒子層の厚みが約3mm未満であり、且つ昇華された部分の厚みが約0.5mmを超えて厚い、請求項1に記載の方法。
- 前記純粋なシリカ粒子層の厚みが約1.5mm未満であり、且つ昇華された部分の厚みが約0.8mmを超えて厚い、請求項1に記載の方法。
- 前記シリカ粒子を介して空気を実質的に吸引することなく溶融される前記純粋なシリカ粒子層の部分が、実質的に均質な厚みを有する、請求項1に記載の方法。
- 前記シリカ粒子を介して空気を実質的に吸引することなく前記純粋なシリカ粒子層の少なくとも一部を溶融することは、比較的低い溶融電力による溶融で溶融することを含む、請求項1に記載の方法。
- 前記シリカを介してかなり高容量の空気を吸引しながら、任意の残留する純粋なシリカ粒子層、及び前記第1のシリカ粒子層の少なくとも一部を溶融することは、前記比較的低い溶融電力よりもかなり高い第2の溶融電力で溶融することをさらに含む、請求項8に記載の方法。
- 前記比較的低い溶融電力が約300kVA未満である、請求項8に記載の方法。
- 前記比較的低い溶融電力が約200kVA未満である、請求項8に記載の方法。
- 前記溶融された純粋なシリカ粒子層の少なくとも一部を昇華させることが、前記第2の溶融電力よりも高い第3の溶融電力で昇華させることを含む、請求項8に記載の方法。
- 前記第3の溶融電力が約700kVAを超えて大きい、請求項12に記載の方法。
- 前記比較的低い溶融電力が約300kVA未満であり、且つ前記方法が、
前記比較的低い溶融電力を約500kVA超に上げること、及び
前記溶融電力を約500kVA超に上げる前に20秒以上、前記シリカを介して前記かなり高容量の空気を吸引すること、
をさらに含む、請求項8に記載の方法。 - 約30秒を超える間、前記シリカ粒子を介して空気を実質的に吸引することなく、前記純粋なシリカ粒子層の少なくとも一部を溶融することをさらに含む、請求項1に記載の方法。
- 約60秒を超える間、前記シリカ粒子を介して空気を実質的に吸引することなく、前記純粋なシリカ粒子層の少なくとも一部を溶融することをさらに含む、請求項1に記載の方法。
- 前記溶融された純粋なシリカ粒子層の少なくとも一部を昇華させることが、約20秒間〜約240秒間、該溶融された純粋なシリカ粒子層の少なくとも一部を昇華させることを含む、請求項1に記載の方法。
- 前記溶融された純粋なシリカ粒子層の少なくとも一部を昇華させることが、約700kVAを超える溶融電力で約20秒間〜約120秒間、該溶融された純粋なシリカ粒子層の少なくとも一部を昇華させることを含む、請求項1に記載の方法。
- 前記溶融された純粋なシリカ粒子層の少なくとも一部を昇華させた後に、最も内側の30マイクロメートルの該溶融された純粋なシリカ粒子層が、約20ppm未満のアルミニウムを含有する、請求項1に記載の方法。
- 前記溶融された純粋なシリカ粒子層の少なくとも一部を昇華させた後に、最も内側の30マイクロメートルの該溶融された純粋なシリカ粒子層が、約4ppm未満のアルミニウムを含有し、こうして製造されるるつぼが、約2mm〜約6mmである相対的に無気泡の最内層を有する、請求項1に記載の方法。
- 前記溶融された第2のシリカ粒子層の少なくとも一部を昇華させることが、該溶融された純粋なシリカ粒子層の一部のみを昇華させることを含む、請求項1に記載の方法。
- 前記溶融された第2のシリカ粒子層の少なくとも一部を昇華させることが、該溶融された純粋なシリカ粒子層の全体を実質的に昇華させることを含む、請求項1に記載の方法。
- 請求項1に記載の方法に従って製造される、シリカるつぼ。
- シリカガラスるつぼを製造する方法であって、
モールドキャビティ内に第1のシリカ粒子層を形成すること、
前記第1のシリカ粒子層上に第2のシリカ粒子層を形成すること、
前記第2のシリカ粒子層の少なくとも一部を第1の温度で溶融すること、
前記第1のシリカ粒子層の少なくとも一部を、前記第1の温度を超える高い第2の温度で溶融すること、及び
第1のシリカ粒子層の少なくとも一部を昇華させること、
を含む、シリカガラスるつぼを製造する方法。 - 前記粒子を介してガスを実質的に吸引することなく、前記第2のシリカ粒子層の少なくとも一部を溶融すること、及び
前記第1のシリカ粒子層を溶融しながら、前記粒子を介して、前記モールドキャビティの内壁に分布する孔へとガスを吸引すること、
をさらに含む、請求項24に記載の方法。 - 前記第2のシリカ粒子層の全体を昇華させることをさらに含む、請求項24に記載の方法。
- 前記第2のシリカ粒子層の一部のみを昇華させることをさらに含む、請求項24に記載の方法。
- 前記第2のシリカ粒子層の少なくともさらなる部分を前記第2の温度で溶融することをさらに含む、請求項24に記載の方法。
- 請求項24に記載の方法に従って製造される、シリカるつぼ。
- 内側シリカ層、及び該内側シリカ層よりも高い濃度の金属不純物を含有する少なくとも1つの付加的なシリカ層を溶融する方法であって、
第1の電力で前記内側シリカ層の少なくとも一部を溶融することによって、第1の溶融シリカ層を形成すること、
前記第1の電力よりも大きい第2の電力で前記少なくとも1つの付加的なシリカ層の少なくとも一部を溶融することによって、第2の溶融シリカ層を形成すること、及び
前記第1の溶融シリカ層の一部を昇華させること、
を含む、シリカ層を溶融する方法。 - 前記シリカ層を介してガスを実質的に吸引することなく、前記内側シリカ層の少なくとも一部を溶融すること、及び
前記第2の溶融シリカ層を溶融しながら、前記シリカ層を介してガスを吸引すること、
をさらに含む、請求項30に記載の方法。 - 請求項30に記載の方法に従って製造される、シリカるつぼ。
- モールドキャビティ内のシリカ粒子を介して空気を吸引することができる形式のモールドキャビティにおいて、シリカるつぼを製造する方法であって、
前記モールドキャビティに第1のシリカ粒子層を形成すること、
前記第1のシリカ粒子層上に純粋なシリカ粒子層を形成すること、
前記シリカ粒子を介して空気を実質的に吸引することなく、比較的低い溶融電力で前記純粋なシリカ粒子層の第1の部分を溶融すること、
前記シリカ粒子を介してかなり高容量の空気を吸引しながら、比較的高い溶融電力で前記純粋なシリカ粒子層の第2の部分を溶融すること、
前記シリカを介してかなり高容量の空気を吸引しながら、前記第1のシリカ粒子層の少なくとも一部を溶融すること、及び
前記純粋なシリカ粒子層の前記溶融された第1の部分を実質的に全て昇華させること、
を含む、シリカるつぼを製造する方法。 - 前記第1のシリカ粒子層が天然シリカ粒子層を有する、請求項33に記載のシリカるつぼを製造する方法。
- 前記シリカ粒子を介してかなり高容量の空気を吸引しながら形成される溶融部分の厚みが約2.0mm〜約6.0mmである、請求項33に記載のシリカるつぼを製造する方法。
- 真空焼成試験後、前記純粋なシリカ粒子層の前記溶融された第2の部分が、気泡を実質的に含まず、且つ気泡成長を実質的に示さない、請求項33に記載のシリカるつぼを製造する方法。
- 前記るつぼ内層内のアルミニウムの濃度が約1.0ppm未満である、請求項33に記載のシリカるつぼを製造する方法。
- シリカるつぼを製造する方法であって、
モールドキャビティに第1のシリカ層を形成すること、
前記第1のシリカ層上に、前記第1のシリカ層と比較して低い濃度の少なくともいくらかの不純物を含有する第2のシリカ層を形成すること、
前記第2のシリカ層の少なくとも一部を組み込む内側シリカ層を溶融すること、
前記内側シリカ層を溶融した後、残留するシリカの少なくとも一部を溶融しながら、未溶融シリカを介して空気を吸引すること、及び
前記溶融された内側シリカ層の少なくとも一部を昇華させること、
を含む、シリカるつぼを製造する方法。
Applications Claiming Priority (4)
| Application Number | Priority Date | Filing Date | Title |
|---|---|---|---|
| US13940508P | 2008-12-19 | 2008-12-19 | |
| US61/139,405 | 2008-12-19 | ||
| US12/370,517 US8272234B2 (en) | 2008-12-19 | 2009-02-12 | Silica crucible with pure and bubble free inner crucible layer and method of making the same |
| US12/370,517 | 2009-02-12 |
Related Child Applications (3)
| Application Number | Title | Priority Date | Filing Date |
|---|---|---|---|
| JP2013151660A Division JP5670519B2 (ja) | 2008-12-19 | 2013-07-22 | 純粋且つ無気泡のるつぼ内層を有するシリカるつぼの製造方法 |
| JP2013151667A Division JP5686862B2 (ja) | 2008-12-19 | 2013-07-22 | 純粋且つ無気泡のるつぼ内層を有するシリカるつぼの製造方法 |
| JP2013151663A Division JP5686861B2 (ja) | 2008-12-19 | 2013-07-22 | 純粋且つ無気泡のるつぼ内層を有するシリカるつぼ及びその製造方法 |
Publications (2)
| Publication Number | Publication Date |
|---|---|
| JP2010143818A true JP2010143818A (ja) | 2010-07-01 |
| JP5489330B2 JP5489330B2 (ja) | 2014-05-14 |
Family
ID=41600757
Family Applications (4)
| Application Number | Title | Priority Date | Filing Date |
|---|---|---|---|
| JP2009254727A Active JP5489330B2 (ja) | 2008-12-19 | 2009-11-06 | 純粋且つ無気泡のるつぼ内層を有するシリカるつぼの製造方法 |
| JP2013151663A Active JP5686861B2 (ja) | 2008-12-19 | 2013-07-22 | 純粋且つ無気泡のるつぼ内層を有するシリカるつぼ及びその製造方法 |
| JP2013151660A Active JP5670519B2 (ja) | 2008-12-19 | 2013-07-22 | 純粋且つ無気泡のるつぼ内層を有するシリカるつぼの製造方法 |
| JP2013151667A Active JP5686862B2 (ja) | 2008-12-19 | 2013-07-22 | 純粋且つ無気泡のるつぼ内層を有するシリカるつぼの製造方法 |
Family Applications After (3)
| Application Number | Title | Priority Date | Filing Date |
|---|---|---|---|
| JP2013151663A Active JP5686861B2 (ja) | 2008-12-19 | 2013-07-22 | 純粋且つ無気泡のるつぼ内層を有するシリカるつぼ及びその製造方法 |
| JP2013151660A Active JP5670519B2 (ja) | 2008-12-19 | 2013-07-22 | 純粋且つ無気泡のるつぼ内層を有するシリカるつぼの製造方法 |
| JP2013151667A Active JP5686862B2 (ja) | 2008-12-19 | 2013-07-22 | 純粋且つ無気泡のるつぼ内層を有するシリカるつぼの製造方法 |
Country Status (4)
| Country | Link |
|---|---|
| US (1) | US8272234B2 (ja) |
| EP (1) | EP2199262B1 (ja) |
| JP (4) | JP5489330B2 (ja) |
| KR (1) | KR20100071907A (ja) |
Cited By (4)
| Publication number | Priority date | Publication date | Assignee | Title |
|---|---|---|---|---|
| CN103635614A (zh) * | 2011-04-25 | 2014-03-12 | 康宁股份有限公司 | 用于熔融半导体材料的容器及其制造方法 |
| WO2015001592A1 (ja) | 2013-06-30 | 2015-01-08 | 株式会社Sumco | シリコン単結晶引上げ用シリカガラスルツボの製造に好適なシリカ粉の評価方法 |
| KR20200076636A (ko) | 2018-12-19 | 2020-06-29 | 가부시키가이샤 사무코 | 석영 유리 도가니 |
| JP2021165213A (ja) * | 2020-04-06 | 2021-10-14 | 信越石英株式会社 | 成型板、石英ガラスるつぼの製造装置及び石英ガラスるつぼの製造方法 |
Families Citing this family (9)
| Publication number | Priority date | Publication date | Assignee | Title |
|---|---|---|---|---|
| JP5377930B2 (ja) * | 2008-10-31 | 2013-12-25 | 株式会社Sumco | シリコン単結晶引上用石英ガラスルツボの製造方法 |
| JP4922355B2 (ja) * | 2009-07-15 | 2012-04-25 | 信越石英株式会社 | シリカ容器及びその製造方法 |
| US9003832B2 (en) * | 2009-11-20 | 2015-04-14 | Heraeus Shin-Etsu America, Inc. | Method of making a silica crucible in a controlled atmosphere |
| JP5500684B2 (ja) * | 2010-06-25 | 2014-05-21 | 株式会社Sumco | シリカガラスルツボ及びその製造方法、シリコンインゴットの製造方法 |
| FR2963341B1 (fr) * | 2010-07-27 | 2013-02-22 | Saint Gobain Quartz Sas | Creuset a ouverture polygonale |
| US9216923B2 (en) * | 2011-07-25 | 2015-12-22 | Shin-Etsu Quartz Products Co., Ltd. | Metal and graphite mold and method of making a crucible |
| US8524319B2 (en) * | 2011-11-18 | 2013-09-03 | Memc Electronic Materials, Inc. | Methods for producing crucibles with a reduced amount of bubbles |
| US8857214B2 (en) | 2011-11-18 | 2014-10-14 | Sunedison Semiconductor Limited | Methods for producing crucibles with a reduced amount of bubbles |
| JP6135982B2 (ja) * | 2013-01-17 | 2017-05-31 | 日本電産株式会社 | モータ |
Citations (2)
| Publication number | Priority date | Publication date | Assignee | Title |
|---|---|---|---|---|
| JP2004262690A (ja) * | 2003-02-28 | 2004-09-24 | Shinetsu Quartz Prod Co Ltd | シリコン単結晶引上げ用石英ガラスルツボの製造方法および該製造方法で製造された石英ガラスルツボ |
| WO2009122936A1 (ja) * | 2008-03-31 | 2009-10-08 | ジャパンスーパークォーツ株式会社 | 石英ガラスルツボとその製造方法 |
Family Cites Families (46)
| Publication number | Priority date | Publication date | Assignee | Title |
|---|---|---|---|---|
| GB1289737A (ja) | 1969-02-26 | 1972-09-20 | ||
| DE3014311C2 (de) * | 1980-04-15 | 1982-06-16 | Heraeus Quarzschmelze Gmbh, 6450 Hanau | Verfahren zur Herstellung von Quarzglastiegeln und Vorrichtung zur Durchführung dieses Verfahrens |
| JPH085739B2 (ja) | 1986-12-26 | 1996-01-24 | 東芝セラミツクス株式会社 | 石英ガラスルツボの製造方法 |
| US4935046A (en) * | 1987-12-03 | 1990-06-19 | Shin-Etsu Handotai Company, Limited | Manufacture of a quartz glass vessel for the growth of single crystal semiconductor |
| JP2561105B2 (ja) | 1987-12-15 | 1996-12-04 | 東芝セラミックス株式会社 | 石英ガラスルツボの製造方法 |
| JP2559604B2 (ja) | 1987-12-15 | 1996-12-04 | 東芝セラミックス株式会社 | 石英ガラスルツボの製造方法 |
| JPH0255285A (ja) * | 1988-08-19 | 1990-02-23 | Nippon Kojundo Sekiei Kk | 石英ルツボの製造方法 |
| JP3124674B2 (ja) | 1993-12-28 | 2001-01-15 | 東芝セラミックス株式会社 | シリコン単結晶引上げ用石英ガラス製ルツボの製造方法 |
| JP2840195B2 (ja) * | 1994-05-31 | 1998-12-24 | 信越石英株式会社 | 単結晶引上用石英ガラスルツボの製造方法 |
| JP2830987B2 (ja) * | 1994-07-19 | 1998-12-02 | 信越石英株式会社 | 石英ガラスルツボ及びその製造方法 |
| DE19541372A1 (de) * | 1994-11-15 | 1996-05-23 | Gen Electric | Tiegel aus geschmolzenem Quarz sowie Verfahren zu dessen Herstellung |
| JPH0920586A (ja) | 1995-06-30 | 1997-01-21 | Toshiba Ceramics Co Ltd | シリコン単結晶引上げ用石英ガラスルツボの製造方法 |
| JP4285788B2 (ja) * | 1996-03-14 | 2009-06-24 | 信越石英株式会社 | 単結晶引き上げ用大口径石英るつぼの製造方法 |
| JP3625636B2 (ja) | 1998-01-08 | 2005-03-02 | 東芝セラミックス株式会社 | シリコン単結晶引上げ用石英ガラスルツボの製造方法 |
| US5913975A (en) * | 1998-02-03 | 1999-06-22 | Memc Electronic Materials, Inc. | Crucible and method of preparation thereof |
| US6143073A (en) * | 1998-11-19 | 2000-11-07 | Heraeus Shin-Etsu America | Methods and apparatus for minimizing white point defects in quartz glass crucibles |
| JP4132367B2 (ja) | 1999-03-15 | 2008-08-13 | コバレントマテリアル株式会社 | シリコン単結晶引上げ用石英ガラスルツボの製造方法 |
| JP4548682B2 (ja) | 1999-04-06 | 2010-09-22 | 株式会社ワコム製作所 | 石英ガラスるつぼの製造方法 |
| WO2000059837A1 (fr) | 1999-04-06 | 2000-10-12 | Nanwa Quartz, Inc. | Procede de fabrication d'un creuset en verre de quartz |
| JP3765368B2 (ja) * | 1999-06-01 | 2006-04-12 | 東芝セラミックス株式会社 | 石英ガラスルツボおよびその製造方法 |
| JP3672460B2 (ja) | 1999-06-18 | 2005-07-20 | 東芝セラミックス株式会社 | シリコン単結晶引上用石英ガラスルツボの製造方法 |
| JP3717151B2 (ja) | 2000-03-13 | 2005-11-16 | 東芝セラミックス株式会社 | シリコン単結晶引上げ用石英ガラスルツボの製造方法 |
| JP2001302391A (ja) | 2000-04-14 | 2001-10-31 | Toshiba Ceramics Co Ltd | Si単結晶引上げ用石英ガラスるつぼの製造方法 |
| JP4592037B2 (ja) * | 2000-05-31 | 2010-12-01 | 信越石英株式会社 | 石英ガラスルツボの製造方法 |
| US6483329B1 (en) * | 2000-08-28 | 2002-11-19 | Micron Technology, Inc. | Test system, test contactor, and test method for electronic modules |
| US6502422B1 (en) * | 2000-10-27 | 2003-01-07 | General Electric Company | Method for quartz crucible fabrication |
| US6546754B1 (en) * | 2000-10-27 | 2003-04-15 | General Electric Company | Apparatus for silica crucible manufacture |
| US6510707B2 (en) * | 2001-03-15 | 2003-01-28 | Heraeus Shin-Etsu America, Inc. | Methods for making silica crucibles |
| US7118789B2 (en) * | 2001-07-16 | 2006-10-10 | Heraeus Shin-Etsu America | Silica glass crucible |
| US6641663B2 (en) * | 2001-12-12 | 2003-11-04 | Heracus Shin-Estu America | Silica crucible with inner layer crystallizer and method |
| JP4841764B2 (ja) * | 2001-07-23 | 2011-12-21 | 信越石英株式会社 | シリコン単結晶引上げ用石英ガラスるつぼの製造方法及び装置 |
| JP4092722B2 (ja) | 2002-04-23 | 2008-05-28 | ジャパンスーパークォーツ株式会社 | 石英ルツボ製造用加熱炉 |
| JP2004292214A (ja) | 2003-03-26 | 2004-10-21 | Kuramoto Seisakusho Co Ltd | 石英ルツボの製造方法 |
| JP2004292211A (ja) | 2003-03-26 | 2004-10-21 | Kuramoto Seisakusho Co Ltd | 石英ルツボの内面透明層形成方法 |
| JP4726436B2 (ja) | 2004-05-31 | 2011-07-20 | ジャパンスーパークォーツ株式会社 | 石英ガラスルツボの製造方法 |
| JP2006124235A (ja) | 2004-10-29 | 2006-05-18 | Japan Siper Quarts Corp | 石英ガラスルツボとその製造方法および用途 |
| JP4958203B2 (ja) * | 2005-03-30 | 2012-06-20 | コバレントマテリアル株式会社 | シリコン単結晶引上げ用石英ルツボ |
| US7383696B2 (en) * | 2005-09-08 | 2008-06-10 | Heraeus Shin-Etsu America, Inc. | Silica glass crucible with bubble-free and reduced bubble growth wall |
| US7427327B2 (en) * | 2005-09-08 | 2008-09-23 | Heraeus Shin-Etsu America, Inc. | Silica glass crucible with barium-doped inner wall |
| US7556764B2 (en) * | 2005-11-09 | 2009-07-07 | Heraeus Shin-Etsu America, Inc. | Silica vessel with nozzle and method of making |
| TW200730672A (en) | 2005-11-29 | 2007-08-16 | Japan Super Quartz Corp | Quartz glass crucible, method of producing the same, and application thereof |
| US7993556B2 (en) * | 2007-08-08 | 2011-08-09 | Heraeus Shin-Etsu America, Inc. | Method for making a silica glass crucible |
| JP5143520B2 (ja) | 2007-09-28 | 2013-02-13 | ジャパンスーパークォーツ株式会社 | シリカガラスルツボとその製造方法および引き上げ方法 |
| DE102008026890B3 (de) * | 2008-06-05 | 2009-06-04 | Heraeus Quarzglas Gmbh & Co. Kg | Verfahren und Vorrichtung zur Herstellung eines Tiegels aus Quarzglas |
| JP4922355B2 (ja) * | 2009-07-15 | 2012-04-25 | 信越石英株式会社 | シリカ容器及びその製造方法 |
| US9003832B2 (en) * | 2009-11-20 | 2015-04-14 | Heraeus Shin-Etsu America, Inc. | Method of making a silica crucible in a controlled atmosphere |
-
2009
- 2009-02-12 US US12/370,517 patent/US8272234B2/en not_active Expired - Fee Related
- 2009-11-06 JP JP2009254727A patent/JP5489330B2/ja active Active
- 2009-12-10 KR KR1020090122781A patent/KR20100071907A/ko not_active Withdrawn
- 2009-12-17 EP EP09179698.7A patent/EP2199262B1/en not_active Not-in-force
-
2013
- 2013-07-22 JP JP2013151663A patent/JP5686861B2/ja active Active
- 2013-07-22 JP JP2013151660A patent/JP5670519B2/ja active Active
- 2013-07-22 JP JP2013151667A patent/JP5686862B2/ja active Active
Patent Citations (2)
| Publication number | Priority date | Publication date | Assignee | Title |
|---|---|---|---|---|
| JP2004262690A (ja) * | 2003-02-28 | 2004-09-24 | Shinetsu Quartz Prod Co Ltd | シリコン単結晶引上げ用石英ガラスルツボの製造方法および該製造方法で製造された石英ガラスルツボ |
| WO2009122936A1 (ja) * | 2008-03-31 | 2009-10-08 | ジャパンスーパークォーツ株式会社 | 石英ガラスルツボとその製造方法 |
Cited By (9)
| Publication number | Priority date | Publication date | Assignee | Title |
|---|---|---|---|---|
| CN103635614A (zh) * | 2011-04-25 | 2014-03-12 | 康宁股份有限公司 | 用于熔融半导体材料的容器及其制造方法 |
| WO2015001592A1 (ja) | 2013-06-30 | 2015-01-08 | 株式会社Sumco | シリコン単結晶引上げ用シリカガラスルツボの製造に好適なシリカ粉の評価方法 |
| KR20160022372A (ko) | 2013-06-30 | 2016-02-29 | 가부시키가이샤 섬코 | 실리콘 단결정 인상용 실리카 유리 도가니의 제조에 적합한 실리카 분말의 평가 방법 |
| US9637405B2 (en) | 2013-06-30 | 2017-05-02 | Sumco Corporation | Evaluation method of suitable silica powder in manufacturing vitreous silica crucible for pulling of silicon single crystal |
| KR20200076636A (ko) | 2018-12-19 | 2020-06-29 | 가부시키가이샤 사무코 | 석영 유리 도가니 |
| JP2020100515A (ja) * | 2018-12-19 | 2020-07-02 | 株式会社Sumco | 石英ガラスルツボ |
| JP7024700B2 (ja) | 2018-12-19 | 2022-02-24 | 株式会社Sumco | 石英ガラスルツボ |
| JP2021165213A (ja) * | 2020-04-06 | 2021-10-14 | 信越石英株式会社 | 成型板、石英ガラスるつぼの製造装置及び石英ガラスるつぼの製造方法 |
| JP7359734B2 (ja) | 2020-04-06 | 2023-10-11 | 信越石英株式会社 | 成型板、石英ガラスるつぼの製造装置及び石英ガラスるつぼの製造方法 |
Also Published As
| Publication number | Publication date |
|---|---|
| JP2013212992A (ja) | 2013-10-17 |
| JP5686861B2 (ja) | 2015-03-18 |
| JP5670519B2 (ja) | 2015-02-18 |
| JP5489330B2 (ja) | 2014-05-14 |
| EP2199262B1 (en) | 2017-05-31 |
| KR20100071907A (ko) | 2010-06-29 |
| JP5686862B2 (ja) | 2015-03-18 |
| EP2199262A1 (en) | 2010-06-23 |
| JP2013237611A (ja) | 2013-11-28 |
| US8272234B2 (en) | 2012-09-25 |
| US20100154701A1 (en) | 2010-06-24 |
| JP2013234119A (ja) | 2013-11-21 |
Similar Documents
| Publication | Publication Date | Title |
|---|---|---|
| JP5489330B2 (ja) | 純粋且つ無気泡のるつぼ内層を有するシリカるつぼの製造方法 | |
| US6553787B1 (en) | Method for manufacturing quartz glass crucible | |
| JP5362972B2 (ja) | バリウムドープされた内壁を有するシリカガラスるつぼ | |
| US20020166341A1 (en) | Technique for quartz crucible fabrication having reduced bubble content in the wall | |
| JP2002536284A (ja) | タングステンをドーピングしたルツボおよびその製造方法 | |
| CN102046543A (zh) | 用于生产石英玻璃坩埚的方法和装置 | |
| JP5344865B2 (ja) | シリカガラス坩堝を製造する方法 | |
| EP2325146B1 (en) | Method of making a silica crucible in a controlled atmosphere | |
| JPH09202694A (ja) | Czシリコン結晶成長システムの急速冷却 | |
| JP6090391B2 (ja) | シリコン単結晶の製造方法 | |
| JP2011105591A5 (ja) | ||
| JP2001233629A (ja) | 石英ガラスるつぼの製造方法 | |
| JP4133329B2 (ja) | 石英るつぼ製造方法 | |
| WO2013105165A1 (ja) | 単結晶シリコン引き上げ用シリカ容器及びその製造方法 | |
| JP4087708B2 (ja) | シリカるつぼ製造装置 | |
| CN103703171A (zh) | 单晶硅提拉用二氧化硅容器及其制造方法 | |
| JP6795461B2 (ja) | 石英ガラスルツボの製造方法 | |
| JP7820140B2 (ja) | 石英ガラスルツボ | |
| CN119392350A (zh) | 降低直拉单晶氧含量的系统及其方法 | |
| JPH0687687A (ja) | シリコン単結晶引上げ装置 | |
| TW202248165A (zh) | 石英玻璃坩堝及其製造方法、以及矽單晶之製造方法 | |
| JP2012017244A (ja) | 石英ガラスルツボの製造方法 |
Legal Events
| Date | Code | Title | Description |
|---|---|---|---|
| A621 | Written request for application examination |
Free format text: JAPANESE INTERMEDIATE CODE: A621 Effective date: 20120612 |
|
| A711 | Notification of change in applicant |
Free format text: JAPANESE INTERMEDIATE CODE: A711 Effective date: 20130118 |
|
| A521 | Request for written amendment filed |
Free format text: JAPANESE INTERMEDIATE CODE: A821 Effective date: 20130118 |
|
| A521 | Request for written amendment filed |
Free format text: JAPANESE INTERMEDIATE CODE: A523 Effective date: 20130212 |
|
| A977 | Report on retrieval |
Free format text: JAPANESE INTERMEDIATE CODE: A971007 Effective date: 20130523 |
|
| A131 | Notification of reasons for refusal |
Free format text: JAPANESE INTERMEDIATE CODE: A131 Effective date: 20130529 |
|
| A521 | Request for written amendment filed |
Free format text: JAPANESE INTERMEDIATE CODE: A523 Effective date: 20130722 |
|
| TRDD | Decision of grant or rejection written | ||
| A01 | Written decision to grant a patent or to grant a registration (utility model) |
Free format text: JAPANESE INTERMEDIATE CODE: A01 Effective date: 20140221 |
|
| A61 | First payment of annual fees (during grant procedure) |
Free format text: JAPANESE INTERMEDIATE CODE: A61 Effective date: 20140224 |
|
| R150 | Certificate of patent or registration of utility model |
Ref document number: 5489330 Country of ref document: JP Free format text: JAPANESE INTERMEDIATE CODE: R150 |
|
| R250 | Receipt of annual fees |
Free format text: JAPANESE INTERMEDIATE CODE: R250 |
|
| R250 | Receipt of annual fees |
Free format text: JAPANESE INTERMEDIATE CODE: R250 |
|
| R250 | Receipt of annual fees |
Free format text: JAPANESE INTERMEDIATE CODE: R250 |
|
| R250 | Receipt of annual fees |
Free format text: JAPANESE INTERMEDIATE CODE: R250 |
|
| R250 | Receipt of annual fees |
Free format text: JAPANESE INTERMEDIATE CODE: R250 |
|
| R250 | Receipt of annual fees |
Free format text: JAPANESE INTERMEDIATE CODE: R250 |
|
| R250 | Receipt of annual fees |
Free format text: JAPANESE INTERMEDIATE CODE: R250 |
|
| S531 | Written request for registration of change of domicile |
Free format text: JAPANESE INTERMEDIATE CODE: R313531 |
|
| R350 | Written notification of registration of transfer |
Free format text: JAPANESE INTERMEDIATE CODE: R350 |
|
| R250 | Receipt of annual fees |
Free format text: JAPANESE INTERMEDIATE CODE: R250 |
|
| R250 | Receipt of annual fees |
Free format text: JAPANESE INTERMEDIATE CODE: R250 |
|
| R250 | Receipt of annual fees |
Free format text: JAPANESE INTERMEDIATE CODE: R250 |
