JP2010143571A - 自動車のブレーキ用のマスターシリンダシール - Google Patents

自動車のブレーキ用のマスターシリンダシール Download PDF

Info

Publication number
JP2010143571A
JP2010143571A JP2009286241A JP2009286241A JP2010143571A JP 2010143571 A JP2010143571 A JP 2010143571A JP 2009286241 A JP2009286241 A JP 2009286241A JP 2009286241 A JP2009286241 A JP 2009286241A JP 2010143571 A JP2010143571 A JP 2010143571A
Authority
JP
Japan
Prior art keywords
lip
master cylinder
housing
piston
pressed against
Prior art date
Legal status (The legal status is an assumption and is not a legal conclusion. Google has not performed a legal analysis and makes no representation as to the accuracy of the status listed.)
Granted
Application number
JP2009286241A
Other languages
English (en)
Other versions
JP5349276B2 (ja
Inventor
Olivier Bernadat
オリビエ・ベルナダ
Francois Gaffe
フランソワ・ガフ
Laurent Lhuillier
ロラン・リュイリエー
Antony Auguste
アントニ・オギュスト
Current Assignee (The listed assignees may be inaccurate. Google has not performed a legal analysis and makes no representation or warranty as to the accuracy of the list.)
Robert Bosch GmbH
Original Assignee
Robert Bosch GmbH
Priority date (The priority date is an assumption and is not a legal conclusion. Google has not performed a legal analysis and makes no representation as to the accuracy of the date listed.)
Filing date
Publication date
Application filed by Robert Bosch GmbH filed Critical Robert Bosch GmbH
Publication of JP2010143571A publication Critical patent/JP2010143571A/ja
Application granted granted Critical
Publication of JP5349276B2 publication Critical patent/JP5349276B2/ja
Active legal-status Critical Current
Anticipated expiration legal-status Critical

Links

Images

Classifications

    • BPERFORMING OPERATIONS; TRANSPORTING
    • B60VEHICLES IN GENERAL
    • B60TVEHICLE BRAKE CONTROL SYSTEMS OR PARTS THEREOF; BRAKE CONTROL SYSTEMS OR PARTS THEREOF, IN GENERAL; ARRANGEMENT OF BRAKING ELEMENTS ON VEHICLES IN GENERAL; PORTABLE DEVICES FOR PREVENTING UNWANTED MOVEMENT OF VEHICLES; VEHICLE MODIFICATIONS TO FACILITATE COOLING OF BRAKES
    • B60T11/00Transmitting braking action from initiating means to ultimate brake actuator without power assistance or drive or where such assistance or drive is irrelevant
    • B60T11/10Transmitting braking action from initiating means to ultimate brake actuator without power assistance or drive or where such assistance or drive is irrelevant transmitting by fluid means, e.g. hydraulic
    • B60T11/16Master control, e.g. master cylinders
    • B60T11/236Piston sealing arrangements
    • FMECHANICAL ENGINEERING; LIGHTING; HEATING; WEAPONS; BLASTING
    • F16ENGINEERING ELEMENTS AND UNITS; GENERAL MEASURES FOR PRODUCING AND MAINTAINING EFFECTIVE FUNCTIONING OF MACHINES OR INSTALLATIONS; THERMAL INSULATION IN GENERAL
    • F16JPISTONS; CYLINDERS; SEALINGS
    • F16J15/00Sealings
    • F16J15/16Sealings between relatively-moving surfaces
    • F16J15/32Sealings between relatively-moving surfaces with elastic sealings, e.g. O-rings
    • F16J15/3204Sealings between relatively-moving surfaces with elastic sealings, e.g. O-rings with at least one lip
    • F16J15/3232Sealings between relatively-moving surfaces with elastic sealings, e.g. O-rings with at least one lip having two or more lips
    • F16J15/3236Sealings between relatively-moving surfaces with elastic sealings, e.g. O-rings with at least one lip having two or more lips with at least one lip for each surface, e.g. U-cup packings

Landscapes

  • Engineering & Computer Science (AREA)
  • General Engineering & Computer Science (AREA)
  • Mechanical Engineering (AREA)
  • Transportation (AREA)
  • Transmission Of Braking Force In Braking Systems (AREA)
  • Sealing With Elastic Sealing Lips (AREA)

Abstract

【課題】静的シーリングリップ部による小さな固体粒子の捕捉を防止するようにした自動車用の液圧式制動回路用マスターシリンダを提供する。
【解決手段】 マスターシリンダ本体のハウジング(6)内に配置された環状シール(1)を備え、このシールは、ピストンを取り囲み、このピストンが後休止位置にある場合にピストンの環状溝(20)に嵌着する動的内側シーリングリップ部(14)と、ハウジングの壁に押し付けられた静的外側シーリングリップ部(10)と、このシールのハウジングの壁に押し付けられ、外側リップ部とともに液体の小さな閉鎖容積(V)を形成する追加の静的シーリングリップ部(16)とを含む。
【選択図】図1

Description

本発明は、本質的には、特に自動車用のブレーキマスターシリンダ用のシールに関する。
自動車のブレーキ制御装置は、一般的には、液体圧力を液圧回路を介してレシーバーに伝達するため、マスターシリンダに作用するブレーキペダルを含む。レシーバーが様々なホイールを制動する。
ブレーキペダルはピストンに作用し、ピストンは、シールを含む本体内で軸線方向に摺動する。シールは、大気圧の液体のリザーバを含む後容積を、ピストンの変位によって加圧されるチャンバを含む前容積から分離するため、ピストンに押し付けられるリップ部を含む。
この種のブレーキマスターシリンダは、米国特許第6,272,858号に記載されている。これは、二つのリップ部を持つ円形シールを有する。内側リップ部がピストンを取り囲み、動的シールを提供する。ピストンが休止時に後位置にある場合、内側リップ部は、深さが浅く且つ僅かに傾斜した側壁を持つピストン溝に入る。
ピストンがこの休止位置にある場合、ピストンに形成されており且つ溝に開放した半径方向の穿孔(例えば、ドリル穴)が、リップシールの内側リップ部の後方に位置決めされ、圧力チャンバを液体リザーバと連通し、必要であれば液圧回路の容積を再調節する。
リップシールは、ピストンを取り囲む本体の環状ハウジング内で軸線方向に楔をなし、この環状ハウジングの円筒形の底部に押し付けられて、圧力チャンバと後容積との間に静的シールを提供する外側リップ部を備えている。
このマスターシリンダの一つの重要な欠点は、静的シーリングリップ部(静的な封止用のリップ部)のところに、小さな固体粒子が、圧力回路が一杯に充填された場合の液体の移動により、例えばこのリップ部の下に引っ掛かり、静的状態で外径方向に常に押し付けられるリップ部によって、捕捉されたままになってしまう可能性があるということである。かくして、リップ部の下に引っ掛かった粒子は、最終的には漏れを引き起こしてしまう可能性がある。というのは、リップ部が、もはや対向する表面に均等に圧接されないためである。
米国特許第6,272,858号
本発明の特定の目的は、このような従来技術の欠点をなくし、リップシール型のブレーキマスターシリンダの静的シールを形成するための簡単であり且つ効果的な解決策を提供することである。
この目的のため、本発明は、特に自動車用の液圧式制動回路用マスターシリンダであって、本体内で軸線方向に摺動するピストンを備え、このピストンは、本体のハウジングに配置された環状シールと協働し、
このシールは、
ピストンを取り囲み且つピストンが後休止位置にある場合にピストンの環状溝に嵌着する動的な内側シーリングリップ部(動的な封止用の内側リップ部)と、
ハウジングの壁に押し付けられる静的な外側シーリングリップ部(静的な封止用の外側リップ部)とを備え、
前記シールは、追加の静的なシーリングリップ部(追加の静的な封止用のリップ部)を備え、この静的なシーリングリップ部は、このシールのハウジングの半径方向壁に押し付けられ、前記外側リップ部が液体の小さな閉鎖容積を形成する、ことを特徴とするマスターシリンダを提案する。
本発明によるマスターシリンダの一つの重要な利点は、簡単であり且つ経済的な方法で、二つの静的シーリングリップ部間に少量の液体を保持でき、作動中、リップ部に捕捉された粒子を押し出す流れを発生することによってこの容積を変化するということである。
本発明によるマスターシリンダは、更に、以下に列挙する特徴のうちの一つ又はそれ以上を含んでいてもよく、これらの特徴を互いに組み合わされてもよい。
本発明の別の特徴によれば、ピストンがその後休止位置から離れるとき、内側リップ部は環状溝から離れ、環状シールは、小さな容積を圧縮して液体をこの容積の外に押し出すための手段を含む。
有利には、外側リップ部は、僅かな傾斜によりハウジングの壁に押し付けられた状態で位置決めされ、また、小さな容積内の圧力が上昇した場合に開放する逆止弁を形成する。
有利には、追加のリップ部は、僅かな傾斜によりハウジングの壁に押し付けられた状態で位置決めされており、小さな容積内の圧力が低下した場合に開放する逆止弁を形成する。
本発明の特に好ましい実施例によれば、外側リップ部は実質的に軸線方向に延びており、ハウジングの円筒形の半径方向外面に押し付けられており、追加のリップ部は実質的に半径方向に延びており、このハウジングの平らな半径方向後面に押し付けられている。
有利には、環状シールは、外側リップ部と内側リップ部との間の半径方向中間に軸線方向リップ部を含み、この軸線方向リップ部は、実質的に軸線方向に差し向けられており、その端部は、環状ハウジングの実質的に半径方向に延びる前面に押し付けられている。
本発明は、例として説明した以下の説明を添付図面を参照して読むことによって、更によく理解されるであろうし、この他の特徴及び利点が更に明らかになるであろう。
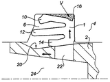
図1は、ピストンが後休止位置にある、本発明によるマスターシリンダの環状シールの軸線方向に沿った片側断面図である。 図2は、ピストンが小さく移動した後の環状シールの軸線方向に沿った片側断面図である。 図3は、外側リップ部が持ち上がった環状リップシールの軸線方向に沿った片側断面図である。 図4は、外側シールが再び閉鎖した環状リップシールの軸線方向に沿った片側断面図である。 図5は、小さな閉鎖容積からの粒子の押出しを示す、環状リップシールの軸線方向に沿った片側断面図である。 図6は、小さな閉鎖容積からの粒子の押出しを示す、環状リップシールの軸線方向に沿った片側断面図である。
図1乃至図4は、ブレーキマスターシリンダの本体4内で軸線方向に摺動するピストン2を取り囲む環状シール1を示す。
環状シール1は、ブレーキマスターシリンダの本体4の環状ハウジング6に取り付けられており、外側リップ部10と、内側リップ部14とを備えている。外側リップ部10の端部は、静的シールを提供するため、このハウジングの円筒形の外壁に半径方向に、押し付けられている(すなわち、圧接されている)。内側リップ部14の端部は、ピストン2の外面に半径方向に押し付けられており、このピストンの摺動時に動的シールを提供する。
環状シール1は、実質的に平らな後面を備えており、環状シール1の平らな後面は、環状ハウジング6の、半径方向に延びる平らな後面に押し付けられる。
環状シール1は、更に、外側リップ部10と内側リップ部14との間の半径方向中間に、軸線方向に延びるリップ部12を備えている。このリップ部12は、実質的に軸線方向に差し向けられており(すなわち、案内されており)、このリップ部12の端部は、ハウジングの前面及び後面の二つの面の間でこのシールが軸線方向で楔の作用をなすように、環状ハウジング6の実質的に半径方向に延びる前面に押し付けられている。
環状シール1は、半径方向外方に延びる小さな半径方向リップ部16を更に備えている。このリップ部16は、環状シール1の後面を延長し、環状ハウジング6の後面に押し付けられる。かくして、ハウジング6の円筒形の外壁の下に、外側リップ部10と半径方向リップ部16との間に小さな容積Vが形成される。
半径方向リップ部16は、外側リップ部10の作用を補助するように作用する。これは、半径方向リップ部16を第2シーリング障壁として直列に配置して、環状シール1と本体4との間の静的シールを強化するためである。
ピストン2が後休止位置にあるとき、内側リップ部14はピストン2の溝20内に落ち込んでいる。この溝は浅く、その側壁が小さな角度で傾斜している。この溝20の後壁には、半径方向に延びる穿孔(例えば、ドリル穴)22が形成されている。この穿孔は、第1に、内側リップ部14の後側に対して開放しており、第2にマスターシリンダの圧力チャンバ24内に開放している。
かくして、半径方向穿孔22は、運転者がブレーキペダルを離し、この図に示す休止位置にある場合、液圧回路内のレベルを調節するため、圧力チャンバ24を液体のリザーバと連通する。
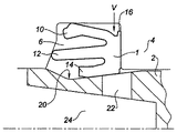
本発明による環状シール1の作動方法を図2、図3、及び図4に示す。制動時にピストン2が前方への移動を開始したとき、図2に示すように、環状シール1の内側リップ部14は、溝20の後方の傾斜に沿って摺動し、徐々に半径方向外方に持ち上がる。
この持ち上がり移動により、環状シール1の弾性材料が半径方向外方に圧縮され、これにより、液体で充填された小さな容積Vが圧縮される。この容積V内の液体の圧縮により、第1に、半径方向リップ部16が環状ハウジング6の後壁に更にしっかりと押し付けられ、第2に、ほぼ所定の圧力で又はこの圧力を越えたとき、外側リップ部10が移動でき、かくして、図3に示すように、この容積が少なくとも部分的に空になる。
ひとたびこの容積が少なくとも部分的に空になった後、その内部の圧力が低下し、
逆止弁と同様に作動する外側リップ部10が、図4に示すように、ハウジングの底部に再び押し付けられ、容積Vを再び閉鎖する。
制動の終了時に、ペダルがその休止位置に戻るに従って、内側リップ部14が溝20に再び落ち込み、シールの材料内の圧力が減少し、容積Vが再び増大し、内部圧力が減少し、これにより、半径方向リップ部16が移動する。この半径方向リップ部の移動によって、液体が容積V内に吸い込まれ、容積Vが再び充填される。
かくして各制動サイクルで、少量の流体の移動が発生し、この流体が容積Vから前方に連続的に押しやられ、後方から吸引される。
図5及び図6は、環状シール1の外側リップ部10の下に入り込んで引っ掛かった粒子30に流体のこの移動が及ぼす効果を示す。
容積Vが空になるとき、液体が粒子30をその前方への移動に従って搬送する。各制動サイクル時に外側リップ部10とハウジングの底部との間の接触領域を系統的にクリーニングできる。このことは、半径方向リップ部16についてもいえることであり、流体が通過する効果によりクリーニングが行われる。
動的シールを提供する内側リップ部14に関し、各制動サイクルでのピストン2の移動がこのリップ部上での摺動に影響を及ぼし、常に粒子の除去を行う。
かくして、ブレーキ流体に粒子が懸濁している場合でも、長期に亘り良好なシールが経済的に得られることが保証される。
1 環状シール
2 ピストン
4 ブレーキマスターシリンダ本体
6 環状ハウジング
10 外側リップ部
12 軸線方向リップ部
14 内側リップ部
16 半径方向リップ部
20 溝
22 半径方向穿孔(半径方向ドリル穴)
24 圧力チャンバ
V 容積部

Claims (6)

  1. 特に自動車用の液圧式制動回路用のマスターシリンダであって、
    本体(4)内で軸線方向に摺動するピストン(2)を備え、このピストンは、前記本体(4)のハウジング(6)に配置された環状シール(1)と協働しており、
    前記環状シール(1)は、
    前記ピストンを取り囲み、また、前記ピストンが後休止位置にある場合に前記ピストンの環状溝(20)に嵌着する動的な封止用の内側リップ部(14)と、
    前記ハウジングの壁に押し付けられる静的な封止用の外側リップ部(10)とを備えた、マスターシリンダにおいて、
    前記環状シール(1)は、追加の静的な封止用のリップ部(16)を備え、この静的な封止用のリップ部(16)は、当該環状シールの前記ハウジングの半径方向に沿った壁に押し付けられ、前記外側リップ部とともに液体の小さな閉鎖容積(V)を形成する、ことを特徴とするマスターシリンダ。
  2. 請求項1に記載のマスターシリンダにおいて、
    前記ピストン(2)がその後休止位置から離れるとき、前記内側リップ部(14)は前記環状溝(20)から離れ、
    前記環状シール(1)は、前記小さな容積(V)を圧縮して前記液体をこの容積の外に押し出すための手段を備える、ことを特徴とするマスターシリンダ。
  3. 請求項2に記載のマスターシリンダにおいて、
    前記外側リップ部(10)は、前記小さな容積(V)内の圧力が上昇した場合に開放する逆止弁を形成するように、僅かな傾斜により前記ハウジングの前記壁に押し付けられた状態で位置決めされる、ことを特徴とするマスターシリンダ。
  4. 請求項2又は3に記載のマスターシリンダにおいて、
    前記追加のリップ部(16)は、僅かな傾斜により前記ハウジングの壁に押し付けられた状態で位置決めされており、前記小さな容積(V)内の圧力が低下した場合に開放する逆止弁を形成する、ことを特徴とするマスターシリンダ。
  5. 請求項3又は4に記載のマスターシリンダにおいて、
    前記外側リップ部(10)は、実質的に軸線方向に延びており、前記ハウジング(6)の円筒形の半径方向外面に押し付けられており、
    前記追加のリップ部(16)は、実質的に半径方向に延びており、このハウジングの、半径方向に延びる平らな後面に押し付けられている、ことを特徴とするマスターシリンダ。
  6. 請求項1乃至5のうちのいずれか一項に記載のマスターシリンダにおいて、
    前記環状シール(1)は、前記外側リップ部(10)と前記内側リップ部(14)との間の半径方向中間に軸線方向リップ部(12)を備え、
    この軸線方向リップ部(12)は、実質的に軸線方向に差し向けられており、その端部は、前記環状ハウジング(6)の実質的に半径方向に延びる前面に押し付けられている、ことを特徴とするマスターシリンダ。
JP2009286241A 2008-12-19 2009-12-17 自動車のブレーキ用のマスターシリンダシール Active JP5349276B2 (ja)

Applications Claiming Priority (2)

Application Number Priority Date Filing Date Title
FR0807186A FR2940222B1 (fr) 2008-12-19 2008-12-19 Joint de maitre cylindre de freinage,pour vehicule automobile
FR0807186 2008-12-19

Publications (2)

Publication Number Publication Date
JP2010143571A true JP2010143571A (ja) 2010-07-01
JP5349276B2 JP5349276B2 (ja) 2013-11-20

Family

ID=41213169

Family Applications (1)

Application Number Title Priority Date Filing Date
JP2009286241A Active JP5349276B2 (ja) 2008-12-19 2009-12-17 自動車のブレーキ用のマスターシリンダシール

Country Status (5)

Country Link
US (1) US8567788B2 (ja)
EP (1) EP2199164B1 (ja)
JP (1) JP5349276B2 (ja)
CN (1) CN101746367B (ja)
FR (1) FR2940222B1 (ja)

Cited By (1)

* Cited by examiner, † Cited by third party
Publication number Priority date Publication date Assignee Title
JP2014151768A (ja) * 2013-02-08 2014-08-25 Nissin Kogyo Co Ltd 車両用液圧マスタシリンダ

Families Citing this family (12)

* Cited by examiner, † Cited by third party
Publication number Priority date Publication date Assignee Title
JP5201648B2 (ja) * 2006-10-31 2013-06-05 ボッシュ株式会社 カップシールおよびこれを用いたマスタシリンダ
FR2969089B1 (fr) * 2010-12-21 2012-12-28 Bosch Gmbh Robert Joint d'etancheite de maitre-cylindre de systeme de freinage
FR2969084B1 (fr) * 2010-12-21 2013-05-10 Bosch Gmbh Robert Piston secondaire de maitre-cylindre tandem et maitre-cylindre equipe d'un tel piston secondaire
FR2969085B1 (fr) 2010-12-21 2013-04-12 Bosch Gmbh Robert Piston primaire plastique a insert pour maitre-cylindre tandem a penetration et maitre-cylindre muni d'un tel piston
US9611712B2 (en) * 2012-02-09 2017-04-04 Onesubsea Ip Uk Limited Lip seal
KR102020087B1 (ko) * 2012-05-31 2019-09-09 히다치 오토모티브 시스템즈 가부시키가이샤 마스터 실린더
US10183657B2 (en) * 2013-01-31 2019-01-22 Hitachi Automotive Systems, Ltd. Master cylinder
DE102013111057A1 (de) * 2013-10-07 2015-04-23 Endress + Hauser Conducta Gesellschaft für Mess- und Regeltechnik mbH + Co. KG Dichtsystem und Wechselarmatur umfassend ein solches
CN107148525B (zh) * 2014-11-07 2018-09-11 戴科知识产权控股有限责任公司 具有改进的密封构件的止回阀
FR3046820B1 (fr) * 2016-01-15 2018-02-16 Valeo Embrayages Cylindre hydraulique emetteur a dispositif d'etancheite perfectionne
WO2018207314A1 (ja) * 2017-05-11 2018-11-15 日本バルカー工業株式会社 シール構造
FR3070741B1 (fr) * 2017-09-01 2019-10-18 Aetc Sapphire Joint annulaire pour mettre en oeuvre une etancheite tournante entre deux elements cylindriques

Citations (6)

* Cited by examiner, † Cited by third party
Publication number Priority date Publication date Assignee Title
JPS58138863U (ja) * 1982-03-15 1983-09-19 アイシン精機株式会社 リング形ゴムカツプ
JPH0296257U (ja) * 1988-10-28 1990-07-31
JP2000108878A (ja) * 1998-09-30 2000-04-18 Tokico Ltd マスタシリンダ
JP2006273293A (ja) * 2005-03-30 2006-10-12 Hitachi Ltd マスタシリンダ
JP2007091214A (ja) * 2005-09-26 2007-04-12 Robert Bosch Gmbh 自動車のマスターシリンダ
JP2008111495A (ja) * 2006-10-31 2008-05-15 Bosch Corp カップシールおよびこれを用いたマスタシリンダ

Family Cites Families (19)

* Cited by examiner, † Cited by third party
Publication number Priority date Publication date Assignee Title
US4326379A (en) 1979-11-06 1982-04-27 Societe Anonyme Francaise Du Ferodo Hydraulic control device for a motor vehicle braking circuit
US4781024A (en) * 1985-03-07 1988-11-01 Aisin Seiki Kabushiki Kaisha Static cup seal assembly for master cylinder end
FR2741922B1 (fr) 1995-12-05 1998-01-09 Valeo Procede pour l'assemblage d'un cylindre de commande pour un dispositif de commande hydraulique d'un embrayage de vehicule automobile
JP4286548B2 (ja) 2003-01-31 2009-07-01 株式会社日立製作所 マスタシリンダ
US7181911B2 (en) * 2003-04-23 2007-02-27 Bosch Corporation Plunger type master cylinder
DE102004014867A1 (de) * 2003-08-18 2005-11-24 Continental Teves Ag & Co. Ohg Zylinder insbesondere für hydraulische Kraftfahrzeugbremsanlagen
JP4645097B2 (ja) 2003-12-01 2011-03-09 株式会社アドヴィックス マスタシリンダ
JP4388838B2 (ja) 2004-03-23 2009-12-24 ボッシュ株式会社 カップシールおよびこれを用いたマスタシリンダ
JP4417233B2 (ja) * 2004-09-30 2010-02-17 日立オートモティブシステムズ株式会社 マスタシリンダ
JP4493567B2 (ja) 2005-08-31 2010-06-30 日信工業株式会社 リップ状シール部材及び該リップ状シール部材を用いた車両用液圧マスタシリンダ
US7487638B2 (en) 2006-06-09 2009-02-10 Shimano Inc. Bicycle hydraulic brake accentuate device
DE102006040487B3 (de) 2006-08-30 2007-11-08 Lucas Automotive Gmbh Dichtelement für einen Bremszylinder einer Fahrzeugbremsanlage
WO2008050633A1 (en) * 2006-10-23 2008-05-02 Bosch Corporation Cup seal and master cylinder using the same
CN201015990Y (zh) * 2006-12-14 2008-02-06 吉林汽车制动器厂 新型柱塞式制动主缸用主皮碗
FR2916405B1 (fr) * 2007-05-21 2009-07-10 Bosch Gmbh Robert Maitre-cylindre comportant un joint favorisant la realimentation.
FR2916406B1 (fr) * 2007-05-22 2009-07-10 Bosch Gmbh Robert Maitre-cylindre comportant un joint et une gorge associee favorisant la realimentation.
JP5112784B2 (ja) * 2007-08-10 2013-01-09 ボッシュ株式会社 カップシールおよびこれを用いたマスタシリンダ
KR100979956B1 (ko) * 2008-08-22 2010-09-06 주식회사 만도 마스터실린더용 실링부재 및 이를 갖춘 마스터실린더
FR2940221B1 (fr) * 2008-12-19 2011-10-21 Bosch Gmbh Robert Joint a levres de maitre-cylindre d'un circuit de freinage.

Patent Citations (6)

* Cited by examiner, † Cited by third party
Publication number Priority date Publication date Assignee Title
JPS58138863U (ja) * 1982-03-15 1983-09-19 アイシン精機株式会社 リング形ゴムカツプ
JPH0296257U (ja) * 1988-10-28 1990-07-31
JP2000108878A (ja) * 1998-09-30 2000-04-18 Tokico Ltd マスタシリンダ
JP2006273293A (ja) * 2005-03-30 2006-10-12 Hitachi Ltd マスタシリンダ
JP2007091214A (ja) * 2005-09-26 2007-04-12 Robert Bosch Gmbh 自動車のマスターシリンダ
JP2008111495A (ja) * 2006-10-31 2008-05-15 Bosch Corp カップシールおよびこれを用いたマスタシリンダ

Cited By (1)

* Cited by examiner, † Cited by third party
Publication number Priority date Publication date Assignee Title
JP2014151768A (ja) * 2013-02-08 2014-08-25 Nissin Kogyo Co Ltd 車両用液圧マスタシリンダ

Also Published As

Publication number Publication date
FR2940222A1 (fr) 2010-06-25
JP5349276B2 (ja) 2013-11-20
EP2199164A1 (fr) 2010-06-23
US20100156052A1 (en) 2010-06-24
FR2940222B1 (fr) 2010-12-24
EP2199164B1 (fr) 2013-05-22
CN101746367B (zh) 2013-12-04
CN101746367A (zh) 2010-06-23
US8567788B2 (en) 2013-10-29

Similar Documents

Publication Publication Date Title
JP5349276B2 (ja) 自動車のブレーキ用のマスターシリンダシール
FR2741312A1 (fr) Dispositif de commande de la pression de freinage pour un vehicule routier, comportant une installation de freinage electro-hydraulique a plusieurs circuits
JPH10266971A (ja) ピストンポンプ
JP2000108878A5 (ja)
USRE40573E1 (en) Master cylinder
US9102310B2 (en) Hydraulic unit
JP2006256408A (ja) ブレーキ装置用ストロークシミュレータ
JP2001508854A (ja) ピストンポンプ
KR101499744B1 (ko) 보조 제동 장치에 연결된 자동차용 마스터 실린더
FR2859436A1 (fr) Installation de frein hydraulique et procede pour commander celle-ci
KR20170019655A (ko) 캘리퍼 브레이크
KR102657659B1 (ko) 밸브 장치
JP4233457B2 (ja) 車両用電動油圧ブレーキ回路
US6065279A (en) Master cylinder
CN102416936B (zh) 快速充填串列主缸
KR200286155Y1 (ko) 차량용 안티록 브레이크 시스템의 고압어큐뮤레이터
GB2109492A (en) Improvements in hydraulic anti-skid braking systems for vehicles
JPH10281055A (ja) 自動車用電子制御装置における流体圧ポンプ
FR2837450A1 (fr) Maitre-cylindre, notamment maitre-cylindre tandem a bruit de fonctionnement reduit et systeme de freinage comportant un tel maitre-cylindre
CN105539406A (zh) 用于制动系统的主缸
JP3576379B2 (ja) ブレーキ液圧制御装置用リザーバ
FR2989046A1 (fr) Piston de maitre-cylindre
JPS6220065B2 (ja)
FR2917040A1 (fr) Dispositif de limitation de recul des pistons d'etrier de frein dans un systeme de freinage a disque hydraulique
JP2006240497A (ja) 車両用ブレーキ装置

Legal Events

Date Code Title Description
A621 Written request for application examination

Free format text: JAPANESE INTERMEDIATE CODE: A621

Effective date: 20111201

A977 Report on retrieval

Free format text: JAPANESE INTERMEDIATE CODE: A971007

Effective date: 20121212

A131 Notification of reasons for refusal

Free format text: JAPANESE INTERMEDIATE CODE: A131

Effective date: 20121217

A601 Written request for extension of time

Free format text: JAPANESE INTERMEDIATE CODE: A601

Effective date: 20130315

A602 Written permission of extension of time

Free format text: JAPANESE INTERMEDIATE CODE: A602

Effective date: 20130321

RD04 Notification of resignation of power of attorney

Free format text: JAPANESE INTERMEDIATE CODE: A7424

Effective date: 20130521

A521 Request for written amendment filed

Free format text: JAPANESE INTERMEDIATE CODE: A523

Effective date: 20130614

TRDD Decision of grant or rejection written
A01 Written decision to grant a patent or to grant a registration (utility model)

Free format text: JAPANESE INTERMEDIATE CODE: A01

Effective date: 20130722

A61 First payment of annual fees (during grant procedure)

Free format text: JAPANESE INTERMEDIATE CODE: A61

Effective date: 20130820

R150 Certificate of patent or registration of utility model

Ref document number: 5349276

Country of ref document: JP

Free format text: JAPANESE INTERMEDIATE CODE: R150

Free format text: JAPANESE INTERMEDIATE CODE: R150

R250 Receipt of annual fees

Free format text: JAPANESE INTERMEDIATE CODE: R250

R250 Receipt of annual fees

Free format text: JAPANESE INTERMEDIATE CODE: R250

R250 Receipt of annual fees

Free format text: JAPANESE INTERMEDIATE CODE: R250

R250 Receipt of annual fees

Free format text: JAPANESE INTERMEDIATE CODE: R250

R250 Receipt of annual fees

Free format text: JAPANESE INTERMEDIATE CODE: R250

R250 Receipt of annual fees

Free format text: JAPANESE INTERMEDIATE CODE: R250

R250 Receipt of annual fees

Free format text: JAPANESE INTERMEDIATE CODE: R250

R250 Receipt of annual fees

Free format text: JAPANESE INTERMEDIATE CODE: R250

R250 Receipt of annual fees

Free format text: JAPANESE INTERMEDIATE CODE: R250

R250 Receipt of annual fees

Free format text: JAPANESE INTERMEDIATE CODE: R250