JP2010143393A - ウエビング巻取装置 - Google Patents
ウエビング巻取装置 Download PDFInfo
- Publication number
- JP2010143393A JP2010143393A JP2008322567A JP2008322567A JP2010143393A JP 2010143393 A JP2010143393 A JP 2010143393A JP 2008322567 A JP2008322567 A JP 2008322567A JP 2008322567 A JP2008322567 A JP 2008322567A JP 2010143393 A JP2010143393 A JP 2010143393A
- Authority
- JP
- Japan
- Prior art keywords
- spool
- torsion
- connecting portion
- lock base
- lock
- Prior art date
- Legal status (The legal status is an assumption and is not a legal conclusion. Google has not performed a legal analysis and makes no representation as to the accuracy of the status listed.)
- Granted
Links
- 238000004804 winding Methods 0.000 title claims abstract description 21
- 238000003780 insertion Methods 0.000 claims abstract description 65
- 230000037431 insertion Effects 0.000 claims abstract description 65
- 230000002093 peripheral effect Effects 0.000 claims abstract description 47
- 238000006073 displacement reaction Methods 0.000 claims description 2
- 230000007246 mechanism Effects 0.000 description 13
- 230000008878 coupling Effects 0.000 description 8
- 238000010168 coupling process Methods 0.000 description 8
- 238000005859 coupling reaction Methods 0.000 description 8
- 230000000694 effects Effects 0.000 description 7
- 230000004048 modification Effects 0.000 description 4
- 238000012986 modification Methods 0.000 description 4
- 101000666896 Homo sapiens V-type immunoglobulin domain-containing suppressor of T-cell activation Proteins 0.000 description 2
- 102100038282 V-type immunoglobulin domain-containing suppressor of T-cell activation Human genes 0.000 description 2
- 230000009471 action Effects 0.000 description 1
- 238000005452 bending Methods 0.000 description 1
- 230000008859 change Effects 0.000 description 1
- 238000010438 heat treatment Methods 0.000 description 1
- 230000009466 transformation Effects 0.000 description 1
- 230000003313 weakening effect Effects 0.000 description 1
Images
Landscapes
- Automotive Seat Belt Assembly (AREA)
Abstract
【解決手段】本ウエビング巻取装置10では、ロックベース32に形成された嵌挿孔94に嵌め込まれたトーション側第2連結部92は、その突起が変形部82の軸方向に沿った両端側よりも中央側が外方へ張り出すように湾曲している。このため、ロックベース32が上記のように傾動しても、変形部82の軸方向に沿ったトーション側第2連結部92の突起の両端が嵌挿孔94の内周部に干渉されない。このため、トーション側第2連結部92においてはロックベース32の傾動方向へロックベース32から押圧されない。このため、上記のように傾動するロックベース32がトーション側第2連結部92を介して変形部82を変形させる等の影響を及ぼすことがない。
【選択図】図1
Description
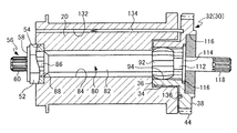
図1には本発明の一実施の形態に係るウエビング巻取装置10の構成が概略的な正面断面図により示されている。
次に、本実施の形態の作用並びに効果について説明する。
本ウエビング巻取装置10では、ウエビングベルト22が車両の乗員の身体に装着された状態で、車両急減速状態になると、ロック機構30を構成する「VSIR機構」が作動する。これにより、ロックパウル40が回動すると、ロックパウル40のラチェット歯42がラチェット部38(ロックベース32)のラチェット歯44に噛み合い、ロックベース32の引出方向への回転が規制される。
ところで、上記のように挿通孔132の開口縁でしごかれて変形したワイヤ134は、自らの弾性で元の形状(すなわち、直線的な棒形状)に復元しようとする。このように復元しようとするワイヤ134は溝部136の底部、すなわち、ロックベース32をスプール20から離間する方向へ押圧する。このような押圧力が作用することでロックベース32は、図2に示されるように、その中心軸線がスプール20の中心軸線に対して傾くように傾動する(なお、図2ではロックベース32、トーションシャフト80、スプール20の各々の状態をわかり易くするためにフレーム12等の図示は省略している)。
次に、本実施の形態に関する補足事項を以下に説明する。
20 スプール
22 ウエビングベルト
30 ロック機構(ロック手段)
32 ロックベース
80 トーションシャフト
82 変形部
86 トーション側第1連結部
92 トーション側第2連結部
94 嵌挿孔(ロック手段側連結部)
112 脆弱部
114 フランジ部(規制部)
134 ワイヤ(エネルギー吸収部材)
Claims (6)
- 巻取方向に回転することで長尺帯状のウエビングベルトをその長手方向基端側から巻き取って格納する筒状のスプールと、
前記スプールの軸方向一端部の側方で前記スプールに対して同軸的に相対回転可能に設けられたロックベースを有し、車両の急減速状態及び前記巻取方向とは反対の引出方向へ前記スプールが所定の速度以上で回転した状態の少なくとも何れか一方の状態で作動して前記引出方向への前記ロックベースの回転を規制するロック手段と、
前記スプールの軸方向一端部よりも他端側に設定されたトーション側第1連結部にて前記スプールに対して相対回転が規制された状態で前記スプールに繋げられると共に、トーション側第2連結部にて前記ロックベースに対する前記スプールの中心軸線周りの相対回転が規制された状態で前記ロックベースに設定されたロック手段側連結部に繋げられ、前記トーション側第1連結部側が前記トーション側第2連結部側に対して前記スプールの中心軸線周りに回転することで前記トーション側第1連結部側と前記トーション側第2連結部側の間に設定された変形部が変形するトーションシャフトと、
を備え、更に、前記スプールの中心軸線に対して前記ロックベースの中心軸線が傾く向きへの前記ロックベースの傾動が可能に前記トーション側第2連結部及び前記ロック手段側連結部の少なくとも何れか一方の形状を設定したウエビング巻取装置。 - 巻取方向に回転することで長尺帯状のウエビングベルトをその長手方向基端側から巻き取って格納する筒状のスプールと、
前記スプールの軸方向一端部の側方で前記スプールに対して同軸的に相対回転可能に設けられたロックベースを有し、車両の急減速状態及び前記巻取方向とは反対の引出方向へ前記スプールが所定の速度以上で回転した状態の少なくとも何れか一方の状態で作動して前記引出方向への前記ロックベースの回転を規制するロック手段と、
前記スプールの軸方向一端部よりも他端側に設定されたトーション側第1連結部にて前記スプールに対して相対回転が規制された状態で前記スプールに繋げられると共に、トーション側第2連結部にて前記ロックベースに対する前記スプールの中心軸線周りの相対回転が規制された状態で前記ロックベースに設定されたロック手段側連結部に繋げられ、前記トーション側第1連結部側が前記トーション側第2連結部側に対して前記スプールの中心軸線周りに回転することで前記トーション側第1連結部と前記トーション側第2連結部との間に設定された変形部が変形するトーションシャフトと、
を備え、更に、
前記ロックベースの前記スプールとは反対側に設けられて、前記スプールの軸方向に前記スプールから離間する向きへの前記ロックベースの変位を規制する規制部と、
前記トーション側第2連結部と前記規制部との間に設けられ、前記変形部よりも機械的強度が低く設定された脆弱部と、
を前記トーションシャフトに設けたウエビング巻取装置。 - 前記スプールの中心軸線に対して前記ロックベースの中心軸線が傾く向きへの前記ロックベースの傾動が可能に前記トーション側第2連結部及び前記ロック手段側連結部の少なくとも何れか一方の形状を設定した請求項2に記載のウエビング巻取装置。
- 内側に前記トーション側第2連結部を嵌め込み可能な筒状に前記ロック手段側連結部を形成すると共に、前記トーション側第2連結部の外周形状及び前記ロック手段側連結部の内周形状の少なくとも何れかの一方を、何れかの他方側へ向けて張り出すように湾曲した湾曲形状とした請求項1又は請求項3に記載のウエビング巻取装置。
- 内側に前記トーション側第2連結部を嵌め込み可能な筒状に前記ロック手段側連結部を形成すると共に、前記トーション側第2連結部の外周部と前記ロック手段側連結部の内周部との間隔が、前記変形部側へ向けて漸次広くなるように前記トーション側第2連結部の外周形状及び前記ロック手段側連結部の内周形状の少なくとも何れかの一方を設定した請求項1、請求項3、請求項4の何れか1項に記載のウエビング巻取装置。
- 前記スプールの軸方向他端部にて開口した挿通孔に一部が嵌挿され、前記スプールに対して前記ロックベースが相対回転することで前記ロックベースにより前記挿通孔から引き出されつつ前記スプールの回転周方向に変形されエネルギー吸収部材を備える請求項1から請求項5の何れか1項に記載のウエビング巻取装置。
Priority Applications (1)
| Application Number | Priority Date | Filing Date | Title |
|---|---|---|---|
| JP2008322567A JP5155135B2 (ja) | 2008-12-18 | 2008-12-18 | ウエビング巻取装置 |
Applications Claiming Priority (1)
| Application Number | Priority Date | Filing Date | Title |
|---|---|---|---|
| JP2008322567A JP5155135B2 (ja) | 2008-12-18 | 2008-12-18 | ウエビング巻取装置 |
Publications (2)
| Publication Number | Publication Date |
|---|---|
| JP2010143393A true JP2010143393A (ja) | 2010-07-01 |
| JP5155135B2 JP5155135B2 (ja) | 2013-02-27 |
Family
ID=42564271
Family Applications (1)
| Application Number | Title | Priority Date | Filing Date |
|---|---|---|---|
| JP2008322567A Expired - Fee Related JP5155135B2 (ja) | 2008-12-18 | 2008-12-18 | ウエビング巻取装置 |
Country Status (1)
| Country | Link |
|---|---|
| JP (1) | JP5155135B2 (ja) |
Cited By (2)
| Publication number | Priority date | Publication date | Assignee | Title |
|---|---|---|---|---|
| JP2013184605A (ja) * | 2012-03-08 | 2013-09-19 | Tokai Rika Co Ltd | ウェビング巻取装置 |
| JP2021185060A (ja) * | 2020-05-25 | 2021-12-09 | Joyson Safety Systems Japan株式会社 | シートベルトリトラクタ及びシートベルト装置 |
Citations (3)
| Publication number | Priority date | Publication date | Assignee | Title |
|---|---|---|---|---|
| JP2002356141A (ja) * | 2000-12-08 | 2002-12-10 | Takata Corp | シートベルトリトラクタ |
| JP2003072515A (ja) * | 2001-08-31 | 2003-03-12 | Tokai Rika Co Ltd | ウエビング巻取装置 |
| JP2006205822A (ja) * | 2005-01-26 | 2006-08-10 | Tokai Rika Co Ltd | ウエビング巻取装置 |
-
2008
- 2008-12-18 JP JP2008322567A patent/JP5155135B2/ja not_active Expired - Fee Related
Patent Citations (3)
| Publication number | Priority date | Publication date | Assignee | Title |
|---|---|---|---|---|
| JP2002356141A (ja) * | 2000-12-08 | 2002-12-10 | Takata Corp | シートベルトリトラクタ |
| JP2003072515A (ja) * | 2001-08-31 | 2003-03-12 | Tokai Rika Co Ltd | ウエビング巻取装置 |
| JP2006205822A (ja) * | 2005-01-26 | 2006-08-10 | Tokai Rika Co Ltd | ウエビング巻取装置 |
Cited By (3)
| Publication number | Priority date | Publication date | Assignee | Title |
|---|---|---|---|---|
| JP2013184605A (ja) * | 2012-03-08 | 2013-09-19 | Tokai Rika Co Ltd | ウェビング巻取装置 |
| JP2021185060A (ja) * | 2020-05-25 | 2021-12-09 | Joyson Safety Systems Japan株式会社 | シートベルトリトラクタ及びシートベルト装置 |
| JP7432442B2 (ja) | 2020-05-25 | 2024-02-16 | Joyson Safety Systems Japan合同会社 | シートベルトリトラクタ及びシートベルト装置 |
Also Published As
| Publication number | Publication date |
|---|---|
| JP5155135B2 (ja) | 2013-02-27 |
Similar Documents
| Publication | Publication Date | Title |
|---|---|---|
| JP5557367B2 (ja) | シートベルト装置 | |
| US5984223A (en) | Seat belt retractor and its spool | |
| JP2001180437A (ja) | シートベルトリトラクタ | |
| JP5705708B2 (ja) | ウェビング巻取装置 | |
| JP2009262632A (ja) | ウエビング巻取装置 | |
| JP2013060135A (ja) | ウェビング巻取装置 | |
| JP5155135B2 (ja) | ウエビング巻取装置 | |
| JP2013184605A (ja) | ウェビング巻取装置 | |
| JP4006827B2 (ja) | シートベルトリトラクタ | |
| JP2001253316A (ja) | ウェビング巻取装置 | |
| JP2010089652A (ja) | ウエビング巻取装置 | |
| JP2014180905A (ja) | ウェビング巻取装置 | |
| JP2000016245A (ja) | ウエビング巻取装置 | |
| WO2020137335A1 (ja) | シートベルトリトラクタ | |
| JP2009113551A (ja) | ウエビング巻取装置 | |
| JP5377417B2 (ja) | ウエビング巻取装置 | |
| JP2024127327A (ja) | シートベルト用リトラクタ | |
| JP2011037411A (ja) | ウエビング巻取装置 | |
| JP2011016457A (ja) | ウエビング巻取装置 | |
| JP2011042287A (ja) | ウェビング巻取装置 | |
| JP5210115B2 (ja) | ウエビング巻取装置 | |
| JP2010095058A (ja) | ウエビング巻取装置 | |
| JP4153929B2 (ja) | シートベルトリトラクタ | |
| JP2005170266A (ja) | シートベルトのリトラクター装置 | |
| JP2006213102A (ja) | ウエビング巻取装置 |
Legal Events
| Date | Code | Title | Description |
|---|---|---|---|
| A621 | Written request for application examination |
Free format text: JAPANESE INTERMEDIATE CODE: A621 Effective date: 20110512 |
|
| TRDD | Decision of grant or rejection written | ||
| A977 | Report on retrieval |
Free format text: JAPANESE INTERMEDIATE CODE: A971007 Effective date: 20121130 |
|
| A01 | Written decision to grant a patent or to grant a registration (utility model) |
Free format text: JAPANESE INTERMEDIATE CODE: A01 Effective date: 20121204 |
|
| A61 | First payment of annual fees (during grant procedure) |
Free format text: JAPANESE INTERMEDIATE CODE: A61 Effective date: 20121206 |
|
| FPAY | Renewal fee payment (event date is renewal date of database) |
Free format text: PAYMENT UNTIL: 20151214 Year of fee payment: 3 |
|
| R150 | Certificate of patent or registration of utility model |
Free format text: JAPANESE INTERMEDIATE CODE: R150 |
|
| LAPS | Cancellation because of no payment of annual fees |