JP2010143343A - ヘッドアップディスプレイ機構 - Google Patents
ヘッドアップディスプレイ機構 Download PDFInfo
- Publication number
- JP2010143343A JP2010143343A JP2008321440A JP2008321440A JP2010143343A JP 2010143343 A JP2010143343 A JP 2010143343A JP 2008321440 A JP2008321440 A JP 2008321440A JP 2008321440 A JP2008321440 A JP 2008321440A JP 2010143343 A JP2010143343 A JP 2010143343A
- Authority
- JP
- Japan
- Prior art keywords
- head
- display
- hood
- combiner
- control device
- Prior art date
- Legal status (The legal status is an assumption and is not a legal conclusion. Google has not performed a legal analysis and makes no representation as to the accuracy of the status listed.)
- Pending
Links
- 230000007246 mechanism Effects 0.000 title claims abstract description 89
- 230000003028 elevating effect Effects 0.000 claims description 40
- 230000008859 change Effects 0.000 claims description 5
- 230000000694 effects Effects 0.000 description 10
- 239000000725 suspension Substances 0.000 description 9
- 230000001965 increasing effect Effects 0.000 description 5
- 238000000034 method Methods 0.000 description 5
- 230000008569 process Effects 0.000 description 5
- 238000001514 detection method Methods 0.000 description 4
- 238000012545 processing Methods 0.000 description 4
- 230000000007 visual effect Effects 0.000 description 4
- 238000009434 installation Methods 0.000 description 3
- 230000004044 response Effects 0.000 description 3
- 230000007423 decrease Effects 0.000 description 2
- 238000010586 diagram Methods 0.000 description 2
- 239000005357 flat glass Substances 0.000 description 2
- 230000004048 modification Effects 0.000 description 2
- 238000012986 modification Methods 0.000 description 2
- 239000011347 resin Substances 0.000 description 2
- 229920005989 resin Polymers 0.000 description 2
- 238000012937 correction Methods 0.000 description 1
- 238000013461 design Methods 0.000 description 1
- 230000001747 exhibiting effect Effects 0.000 description 1
- 239000004973 liquid crystal related substance Substances 0.000 description 1
Images
Landscapes
- Instrument Panels (AREA)
- Devices For Indicating Variable Information By Combining Individual Elements (AREA)
Abstract
【課題】主に、コンバイナーフード(反射板フード)の高さを調整し得るようにする。
【解決手段】インストルメントパネル3にヘッドアップディスプレイ装置4が設けられ、ヘッドアップディスプレイ装置4が、情報等を表示可能なコンバイナーフード6を有するヘッドアップディスプレイ機構であって、インストルメントパネル3に対し、コンバイナーフード6をヘッドアップディスプレイ装置4ごと昇降自在に設置すると共に、ヘッドアップディスプレイ装置4を昇降駆動可能なヘッドアップディスプレイ用昇降装置21を設けるようにしている。
【選択図】図1
【解決手段】インストルメントパネル3にヘッドアップディスプレイ装置4が設けられ、ヘッドアップディスプレイ装置4が、情報等を表示可能なコンバイナーフード6を有するヘッドアップディスプレイ機構であって、インストルメントパネル3に対し、コンバイナーフード6をヘッドアップディスプレイ装置4ごと昇降自在に設置すると共に、ヘッドアップディスプレイ装置4を昇降駆動可能なヘッドアップディスプレイ用昇降装置21を設けるようにしている。
【選択図】図1
Description
この発明は、ヘッドアップディスプレイ機構に関するものである。
自動車などの車両には、車室内の前部に樹脂製のインストルメントパネル(計器等取付用パネル)などの車室前部内装パネルが設けられている。
そして、このようなインストルメントパネルに対して、ヘッドアップディスプレイ装置を設置することが検討されている。このようなヘッドアップディスプレイ装置には、情報等を表示可能なコンバイナーフードを有するコンバイナーフード式のものがある(例えば、特許文献1参照)。
このコンバイナーフード式のヘッドアップディスプレイ装置は、表示装置を有するヘッドアップディスプレイ装置本体と、ヘッドアップディスプレイ装置本体に設けられた表示装置の表示(情報等)を反射表示可能な上記コンバイナーフードとを備えている。
そして、このようなコンバイナーフード式のヘッドアップディスプレイ装置は、インストルメントパネルに形成されたヘッドアップディスプレイ用開口部の位置に設置される。
即ち、ヘッドアップディスプレイ装置本体は、インストルメントパネル内部における、ヘッドアップディスプレイ用開口部の下側の位置に設置される。また、コンバイナーフードは、インストルメントパネルの上部における、ヘッドアップディスプレイ用開口部の前側の位置に設置される。
このような構成によれば、ヘッドアップディスプレイ装置本体に設けられた表示装置の表示(情報等)は、インストルメントパネルに形成したヘッドアップディスプレイ用開口部を通して、コンバイナーフードで反射され、乗員に視認される。
特開2005−62812号
しかしながら、上記したヘッドアップディスプレイ装置には、以下のような問題があった。
即ち、ヘッドアップディスプレイ装置は、インストルメントパネルに対して固設されるようになっているので、例えば、ヘッドアップディスプレイ装置の非使用時に、コンバイナーフードをインストルメントパネルに格納させるようにすることができなかった。また、ヘッドアップディスプレイ装置の使用時に、インストルメントパネルに対するコンバイナーフードの高さを調整することができなかった。これにより、小柄な乗員の前方視界が、コンバイナーフードによって妨げられてしまうおそれなどがあった。
なお、上記した以外にも、本発明に至る過程で新たな問題やその他の問題などが発生することも考えられる。このような新たな問題やその他の問題などについては、この欄で記載する代りに本発明の実施例の中で説明するものとする。但し、この欄に記載する必要が生じた場合には、実施例中の当該記載をこの欄にも加えることができるものとする。また、その場合には、この欄の記載として適した表現に修正することができるものとする。
上記課題を解決するために、請求項1に記載された発明は、インストルメントパネルにヘッドアップディスプレイ装置が設置され、該ヘッドアップディスプレイ装置が、情報等を表示可能な反射板フードを有するヘッドアップディスプレイ機構において、インストルメントパネルに対して、反射板フードをヘッドアップディスプレイ装置ごと昇降自在となるように設置すると共に、ヘッドアップディスプレイ装置を昇降駆動可能なヘッドアップディスプレイ用昇降装置を設けたことを特徴している。
請求項2に記載された発明は、上記において、ヘッドアップディスプレイ用昇降装置に対して、昇降制御信号を出力することにより、反射板フードの高さ調整が可能なヘッドアップディスプレイ用制御装置を設けたことを特徴としている。
請求項3に記載された発明は、上記において、ヘッドアップディスプレイ用制御装置が、車速に応じて反射板フードの高さを制御可能な昇降制御信号をヘッドアップディスプレイ用昇降装置へ出力可能に構成されたことを特徴としている。
請求項4に記載された発明は、上記において、ヘッドアップディスプレイ用制御装置が、反射板フードに表示される情報等を、車速に応じたものに切替可能な表示切替部を備えたことを特徴としている。
請求項5に記載された発明は、上記において、ヘッドアップディスプレイ用制御装置が、反射板フードの高さの変化に応じて、外部の前方視界確保関連機構部に対し、前方視界確保用制御信号を出力可能に構成されたことを特徴としている。
請求項6に記載された発明は、上記において、前記前方視界確保関連機構部が、車両に設けられた、車高調整機構と、シート昇降機構と、ステアリング昇降機構とのうちの少なくともいずれかであることを特徴としている。
なお、上記は、それぞれ、所要の作用効果を発揮するための必要最小限の構成であり、上記構成の詳細や、上記されていない構成については、それぞれ自由度を有しているのは勿論である。そして、上記構成の記載から読取ることが可能な事項については、特に具体的に記載されていない場合であっても、その範囲内に含まれるのは勿論である。また、上記以外の構成を追加した場合には、追加した構成による作用効果が加わることになるのは勿論である。
請求項1の発明によれば、上記構成によって、以下のような作用効果を得ることができる。即ち、インストルメントパネルにヘッドアップディスプレイ装置を設置することにより、ヘッドアップディスプレイ装置の反射板フードに情報等を表示させることができる。そして、ヘッドアップディスプレイ用昇降装置を設けることによって、反射板フードをヘッドアップディスプレイ装置ごとインストルメントパネルに対して自動的に昇降させることができるようになる。以て、ヘッドアップディスプレイ装置の非使用時に、反射板フードをインストルメントパネルに格納したり、ヘッドアップディスプレイ装置の使用時に、反射板フードのインストルメントパネルに対する高さ(突出量)を調整して、乗員に合わせて前方視界を適正化したりすることが容易且つ可能となる。
請求項2の発明によれば、上記構成によって、以下のような作用効果を得ることができる。即ち、ヘッドアップディスプレイ用制御装置がヘッドアップディスプレイ用昇降装置へ昇降制御信号を送ることにより、インストルメントパネルに対する反射板フードの高さを制御することが可能となる。これにより、反射板フードの高さ調整を自動化して、高さ調整の手間を削減することが可能となる。
請求項3の発明によれば、上記構成によって、以下のような作用効果を得ることができる。即ち、ヘッドアップディスプレイ用制御装置は、車速に応じて反射板フードの高さを制御可能な昇降制御信号を、ヘッドアップディスプレイ用昇降装置へ出力する。これにより、インストルメントパネルに対する反射板フードの高さを、走行中に、車速に応じて自動的に変更、調整させることが可能となる。以て、反射板フードを、自動的に走行状況に応じた最適な高さとすることが可能となる。
請求項4の発明によれば、上記構成によって、以下のような作用効果を得ることができる。即ち、ヘッドアップディスプレイ昇降制御装置に備えられた表示切替部により、反射板フードに表示される情報等を、車速に応じて切替えさせるようにすることができる。
そして、請求項3と請求項4とを組合せることにより、例えば、車速が速い時(高速走行時)には、視線移動が少なくなることより情報等判読時間が短くなる傾向にあるので、反射板フードを高くして情報等表示面積を広くし、より多くの情報等を表示させるようにすることができる。反対に、車速が遅い時(低速走行時)には、視線移動が多くなることにより情報等判読時間が長くなる傾向にあるので、反射板フードを低くして情報等表示面積を狭くし、情報等を絞り込んで表示させるようにすることができる。
請求項5の発明によれば、上記構成によって、以下のような作用効果を得ることができる。即ち、ヘッドアップディスプレイ用制御装置は、反射板フードの高さの変化に応じて、前方視界確保用制御信号を、外部の前方視界確保関連機構部に出力する。これにより、前方視界確保関連機構部を連動させて、適正な前方視界を確保するのに必要な動作を行わせることができる。
請求項6に記載された発明は、上記構成によって、以下のような作用効果を得ることができる。即ち、車両に設けられた、車高調整機構と、シート昇降機構と、ステアリング昇降機構とのうちの少なくともいずれかを前方視界確保関連機構部とすることにより、請求項5の作用効果を具体的に実現することができる。
本発明は、主に、反射板フードの高さを調整し得るようにすることを目的としている。
以下、本発明を具体化した実施例について、図示例と共に説明する。
なお、以下の実施例は、上記した背景技術や発明が解決しようとする課題などと密接な関係があるので、必要が生じた場合には、互いに、記載を流用したり、必要な修正を伴って流用したりすることができるものとする。
図1〜図8は、この発明の実施例およびその変形例を示すものである。
<構成>まず、構成について説明する。
図1に示すように、自動車などの車両Aには、車室1の前部にフロントウインドウガラス2が設けられている。このフロントウインドウガラス2の下方(車室1内の前部)には、樹脂製のインストルメントパネル3(計器等取付用パネル)などの車室前部内装パネルが設けられている。
そして、このようなインストルメントパネル3に対して、ヘッドアップディスプレイ装置4(HUD装置)を設置する。この場合、ヘッドアップディスプレイ装置4を、情報等(例えば、走行情報など)を映像5として表示可能なコンバイナーフード6などの反射板フードを備えたコンバイナーフード式(反射板フード式)のものとする。
なお、この実施例では、反射板フードがコンバイナーフード6である場合について説明するようにしているが、反射板フードは、半透過ミラーのコンバイナーを用いたフードに限らず、全反射ミラー等の各種の反射板を用いたフードなどとすることが可能である。
そして、このようなコンバイナーフード式のヘッドアップディスプレイ装置4は、液晶表示装置などの表示装置7を有するヘッドアップディスプレイ装置本体8と、ヘッドアップディスプレイ装置本体8に設けられた表示装置7からの映像5を反射表示可能な上記コンバイナーフード6とを備えている。
コンバイナーフード6は、ヘッドアップディスプレイ装置本体8の上部で且つ前部に対し、表示装置7の上方を覆うように後傾状態で取付けられている。そして、このコンバイナーフード6は、下方に設置された表示装置7の映像5を、乗員へ向けて反射可能な反射板とされている。そのため、コンバイナーフード6は、乗員が情報等の表示を視認し易い角度に後傾されている。
また、表示装置7は、ヘッドアップディスプレイ装置本体8の上部中央などに取付けられている。なお、コンバイナーフード6は、ヘッドアップディスプレイ装置本体8に対して、上記した後傾状態にて固定するようにしても、或いは、上記した後傾状態(使用位置または開位置)と、ヘッドアップディスプレイ装置本体8の上面に当接される倒伏状態(不使用位置または閉位置)との間で開閉動可能に取付けるようにしても良い。
そして、このようなコンバイナーフード式のヘッドアップディスプレイ装置4は、インストルメントパネル3の上面に形成されたヘッドアップディスプレイ用開口部11の位置に設置される。
即ち、ヘッドアップディスプレイ装置本体8は、インストルメントパネル3内部における、ヘッドアップディスプレイ用開口部11の下側の位置に設置される。また、コンバイナーフード6は、少なくとも使用時に、ヘッドアップディスプレイ用開口部11からインストルメントパネル3の上方へ突出した状態となるように設置される。なお、コンバイナーフード6は、不使用時に、インストルメントパネル3の上方へ突出したままの状態とすることもできるが、インストルメントパネル3の内部に収納し得るようにしても良い。コンバイナーフード6をインストルメントパネル3の内部に収納する手段としては、上記したように、コンバイナーフード6をヘッドアップディスプレイ装置本体8に対して開閉動可能に取付けることや、後述するように、コンバイナーフード6をヘッドアップディスプレイ装置本体8ごと昇降させることなどが考えられる。
そして、インストルメントパネル3の内部には、ヘッドアップディスプレイ装置4に対して、表示装置7の映像5などを制御するための映像等制御信号12を出力可能なヘッドアップディスプレイ制御装置13(HUDコントローラ)が備えられる。
また、インストルメントパネル3の部分には、ヘッドアップディスプレイ装置4の表示等を操作するための操作スイッチ部14が取付けられる。そして、操作スイッチ部14からの操作信号15がヘッドアップディスプレイ制御装置13へ入力されるように構成する。また、ヘッドアップディスプレイ制御装置13には、ヘッドアップディスプレイ装置4の映像5(情報等)や制御などに必要な信号16が、車両Aの各所に設けられた機器類やセンサ類などの外部機器17から集められるように構成されている。なお、この場合、外部とは、(車両Aの内部で且つ)ヘッドアップディスプレイ装置4の外にあるものであるという意味である(以下、同様)。
そして、このような構成に対し、この実施例のものでは、以下のような構成を備えるようにしている。
(a)先ず、インストルメントパネル3に対して、コンバイナーフード6をヘッドアップディスプレイ装置4ごと昇降自在となるように設置する。そして、ヘッドアップディスプレイ装置4を昇降駆動可能なヘッドアップディスプレイ用昇降装置21を設ける。
ここで、上記したように、ヘッドアップディスプレイ装置本体8は、インストルメントパネル3の内部に設けられると共に、ヘッドアップディスプレイ用昇降装置21も、インストルメントパネル3の内部に設けられる。このヘッドアップディスプレイ用昇降装置21は、例えば、ヘッドアップディスプレイ装置本体8の下部などに取付けられたラック22と、このラック22に噛合うピニオン23と、このピニオン23を回転駆動するモータなどの駆動装置24とを備えた歯車式(ラックアンドピニオン方式)のものとされている。ラック22は、ほぼ上下方向へ延びる垂直ラックとされている。ピニオン23は、駆動装置24の出力軸に取付けられている。なお、ヘッドアップディスプレイ用昇降装置21は、ラックアンドピニオン方式のものに限らず、ウォームと、ホイールとを用いたウォーム・ホイール式のものとしても、シリンダ式やジャッキ式のものとしても、その他の機構のものとしても良い。
(b)そして、ヘッドアップディスプレイ用昇降装置21に対して、昇降制御信号26を出力することにより、コンバイナーフード6(およびヘッドアップディスプレイ装置本体8)の高さ調整(高さ制御)が可能なヘッドアップディスプレイ昇降制御装置27を設ける。
この場合、ヘッドアップディスプレイ昇降制御装置27には、上記したヘッドアップディスプレイ制御装置13を利用するようにしている。即ち、ヘッドアップディスプレイ制御装置13に、ヘッドアップディスプレイ昇降制御装置27としての機能を持たせて、制御装置の統合化・多機能化を図るようにしている。
そして、コンバイナーフード6の高さ制御に用いるため、ヘッドアップディスプレイ装置4(ヘッドアップディスプレイ装置本体8やコンバイナーフード6)、または、ヘッドアップディスプレイ用昇降装置21に対し、位置検出手段28,29が設けられる。そして、この位置検出手段28,29からの位置検出信号31,32がヘッドアップディスプレイ昇降制御装置27へ入力されて、フィードバック制御などに利用されるようになっている。位置検出手段28,29には、例えば、リミットスイッチや、ポテンショメータなどを用いることができる。この場合、位置検出手段28,29は、上限位置と加限位置とを検出し得るようにするために、ラック22に対して上下に隔てて2箇所設けられている。但し、位置検出手段28,29の設置箇所や設置個数などについては、これに限るものではない。
(c)更に、ヘッドアップディスプレイ制御装置13(ヘッドアップディスプレイ昇降制御装置27)が、外部からの車速信号等33を入力して、車速(車速信号等33の値)に応じてコンバイナーフード6の高さを制御可能な昇降制御信号26をヘッドアップディスプレイ用昇降装置21へ出力可能となるように構成される。
この場合、外部とは、車両Aにおける、車両用計器装置(メータ装置)や、エンジンまたはECU等に取付けられた車速情報検出器などの外部機器34である。これにより、昇降制御信号26は、車速対応昇降制御信号35となる。また、ヘッドアップディスプレイ昇降制御装置27は、車速対応型昇降制御装置36となる。
そして、ヘッドアップディスプレイ昇降制御装置27(車速対応型昇降制御装置36)は、例えば、図2、図3に示すように、設定された車速をしきい値として、コンバイナーフード6の高さが変更されるように、ヘッドアップディスプレイ用昇降装置21を制御し得るものなどとすることができる。この場合には、車速が速くなると、コンバイナーフード6が高くなり、車速が遅くなるとコンバイナーフード6が低くなるように構成している。或いは、車速が遅くなるとコンバイナーフード6がインストルメントパネル3内に格納される(非使用状態となる)ように構成することもできる。
例えば、図2に示すように、1つのしきい値(Vr)によって、コンバイナーフード6の高さを二段階(HI、LOW)に制御し得るもの(二段階制御)とすることができる。また、図3に実線で示すように、2つのしきい値(Vr1、Vr2)によって、コンバイナーフード6の高さを三段階(HI、MID、LOW)に制御し得るもの(三段階制御)とすることができる。或いは、図示しないが、複数のしきい値によって、コンバイナーフード6の高さを多段階に制御し得るもの(多段階制御)とすることができる。更に、図3に仮想線で示すように、2つのしきい値(Vr1、Vr2)の間で、コンバイナーフード6の高さを(比例制御などによって)無段階に制御し得るもの(無段階制御)ものとすることができる。
(d)ヘッドアップディスプレイ制御装置13(ヘッドアップディスプレイ昇降制御装置27、車速対応型昇降制御装置36)が、コンバイナーフード6に表示される情報等を、車速(車速信号等33の値)に応じたものに切替可能な表示切替部39(図1参照)を備えるように構成される。
表示切替部39は、ヘッドアップディスプレイ制御装置13(ヘッドアップディスプレイ昇降制御装置27、車速対応型昇降制御装置36)の内部に設けられる。表示切替部39は、例えば、車速に対応した映像5(車速対応型映像37)を、コンバイナーフード6の高さに合ったものとして作成すると共に、ヘッドアップディスプレイ装置4へ速度対応型映像信号38を出力して、この映像5(車速対応型映像37)に切替させるようにするものとされる。
(e)加えて、ヘッドアップディスプレイ制御装置13(ヘッドアップディスプレイ昇降制御装置27、車速対応型昇降制御装置36)が、コンバイナーフード6の高さの変化に応じて、外部の前方視界確保関連機構部41に対し、前方視界確保用制御信号42(連動制御信号)を出力可能となるように構成される。
これにより、ヘッドアップディスプレイ昇降制御装置27は、外部機構連動型制御装置43となる。ここで、前方視界確保関連機構部41は、車両Aに設けられた各種の機構部のうち、前方視界の確保に対して有効に機能可能なものを言う。
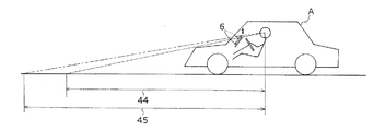
そして、図4に示すように、コンバイナーフード6が高くなると、前方視界が悪化する、即ち、前方不可視距離が長くなる(コンバイナーフード6の下降時の前方不可視距離44<コンバイナーフード6の上昇時の前方不可視距離45)ので、外部機構連動型制御装置43は、前方視界が確保されるように、前方視界確保関連機構部41を連動制御し得るものとする。
(f)上記において、前方視界確保関連機構部41が、車両Aに設けられた、車高等調整機構54と、シート昇降機構64と、ステアリング昇降機構69とのうちの少なくともいずれかであるようにする。これらは、外部機構連動型制御装置43によって、単体でヘッドアップディスプレイ用昇降装置21と連動させるようにすることも、組合せてヘッドアップディスプレイ用昇降装置21と連動させるようにすることも可能である。また、上記以外の前方視界確保関連機構部41がある場合には、それを、単体または上記と組合せて、ヘッドアップディスプレイ用昇降装置21と連動させるようにすることも可能である。
(g)例えば、前方視界確保関連機構部41を、車高等調整機構54とすることができる。この車高等調整機構54は、高さ調整機構付きのサスペンション装置51と、このサスペンション装置51に姿勢制御信号52を送って、車両Aの姿勢制御を行い得るようにした車高等調整用制御装置53(サスペンションコントローラ)とを有している。この場合、車高等調整用制御装置53には、上記した外部機器34からの車速信号等33や、車両Aに設けられた外部機器55からのサスペンション制御に必要な信号56が入力されるようになっている。
そして、外部機構連動型制御装置43が、前方視界確保用制御信号42を車高等調整用制御装置53へ出力することによって、図5に実線で示すように車高を低くするか、或いは、図6に示すように車両Aを前傾姿勢にするかさせて、前方視界を確保し得るように構成する(車高等変更後の前方不可視距離57<車高等変更前の前方不可視距離58)。
(h)また、前方視界確保関連機構部41を、シート昇降機構64とすることができる。このシート昇降機構64は、シートを昇降可能な電動シートリフター61と、この電動シートリフター61にシート昇降制御信号62を送って、シートの高さ制御を行い得るようにしたシート昇降制御装置63とを有している。
(i)更に、前方視界確保関連機構部41を、ステアリング昇降機構69とすることができる。このステアリング昇降機構69は、ステアリングを昇降等可能な電動チルトテレスコピックステアリング装置66と、この電動チルトテレスコピックステアリング装置66にステアリング昇降等制御信号67を送って、ステアリングの高さ制御を行い得るようにしたステアリング昇降制御装置68とを有している。
なお、上記したような構成を備えたことに伴い、上記した操作スイッチ部14は、図7に示すように、ヘッドアップディスプレイ装置4に対するオン・オフスイッチ部71や、オート・マニュアル切替スイッチ部72や、高さ調節スイッチ部73や、表示切替スイッチ部74や、前方視界確保用スイッチ部75(連動制御用スイッチ部)などを備えたものなどとする。
<作用>次に、この実施例の作用について説明する。
先ず、図7の操作スイッチ部14のオン・オフスイッチ部71を操作することにより、ヘッドアップディスプレイ装置4をオン・オフすることができる。そして、ヘッドアップディスプレイ装置4をオンにすると、ヘッドアップディスプレイ装置本体8に設けられた表示装置7が映像5を表示し、この映像5が、インストルメントパネル3に形成したヘッドアップディスプレイ用開口部11を通して、コンバイナーフード6で反射され、乗員が視認できるようになる。ヘッドアップディスプレイ装置4をオフにすると、例えば、コンバイナーフード6をインストルメントパネル3内に格納したりすることができる。
また、オート・マニュアル切替スイッチ部72を操作することにより、ヘッドアップディスプレイ装置4をオート制御またはマニュアル操作に切替えることができる。なお、オート制御と、マニュアル操作とは、どちらか一方としても良い。
そして、マニュアル操作の時に、高さ調節スイッチ部73を操作することにより、コンバイナーフード6の高さを乗員に合わせて手動で調節することができる。また、表示切替スイッチ部74を操作することにより、コンバイナーフード6に反射される映像5を、速度に合せたもの(車速対応型映像37、例えば、高速走行用映像、低速走行用映像など)に手動で切替えることなどができる。更に、前方視界確保用スイッチ部75(連動制御用スイッチ部)を操作することにより、外部の前方視界確保関連機構部41を手動で操作して、前方視界を確保することが可能となる。
これに対し、ヘッドアップディスプレイ装置4をオート制御にした場合には、以下のような作動を得ることができる。
例えば、コンバイナーフード6の高さを、図2に示すような二段階制御とすると共に、更に、コンバイナーフード6の高さに合わせて、コンバイナーフード6に反射される映像5を、速度に合せたもの(車速対応型映像37、例えば、高速走行用映像、低速走行用映像など)に切替え得るようにした場合には、ヘッドアップディスプレイ昇降制御装置27によって、図8のフローチャートに示すような制御が行われる。
即ち、車両Aが電源オンの状態になると、最初に、オン・オフスイッチ部71がオンになっているかを判断する(S1。オン・オフ判断部)。イエスの場合には、S2へ進む。ノーの場合には、ヘッドアップディスプレイ装置4がオフになっているので、コンバイナーフード6をLOW、または、インストルメントパネル3内に格納し、前方視界確保関連機構部41(車高等調整機構54や、シート昇降機構64や、ステアリング昇降機構69など)を、単独(従来)制御にして(P1。オン時処理部)、リターンする。
次に、オート・マニュアル切替スイッチ部72がオート制御になっているかを判断する(S2。オート・マニュアル判断部)。イエスの場合には、S3へ進む。ノーの場合には、マニュアル操作ができるようにして(P2。マニュアル処理部)、リターンする。
最後に、車速Vがしきい値Vrを越えたかどうかを判断する(S3。車速判断部)。イエスの場合には、高速走行となっているので、コンバイナーフード6を高くして情報等表示面積を広くし、高速走行用映像に切替え、前方視界確保関連機構部41(車高等調整機構54や、シート昇降機構64や、ステアリング昇降機構69など)を、連動制御にして(P3。高速走行時処理部)、リターンする。
ノーの場合には、低速走行となっているので、コンバイナーフード6を低くして情報等表示面積を狭くし、低速走行用映像に切替え、前方視界確保関連機構部41(車高等調整機構54や、シート昇降機構64や、ステアリング昇降機構69など)を、単独(従来)制御にして(P4。低速走行時処理部)、リターンする。
なお、特に図示しないが、コンバイナーフード6の高さを、三段階制御や、多段階制御や、無段階制御する場合についても、これとほぼ同様の考えに基づいて行うようにすることができる。
そして、この実施例によれば、以下のような作用効果を得ることができる。
(a)インストルメントパネル3にヘッドアップディスプレイ装置4を設置することにより、ヘッドアップディスプレイ装置4のコンバイナーフード6に情報等(例えば、走行情報など)を表示させることができる。
そして、ヘッドアップディスプレイ用昇降装置21を設けることによって、コンバイナーフード6をヘッドアップディスプレイ装置4ごとインストルメントパネル3に対して自動的に昇降させることができるようになる。以て、ヘッドアップディスプレイ装置4の非使用時に、コンバイナーフード6をインストルメントパネル3に格納したり、ヘッドアップディスプレイ装置4の使用時に、コンバイナーフード6のインストルメントパネル3に対する高さ(突出量)を調整して、乗員に合わせて前方視界を適正化したりすることが容易且つ可能となる。
また、コンバイナーフード6をヘッドアップディスプレイ装置4ごとインストルメントパネル3に対して昇降させることにより、ヘッドアップディスプレイ装置4とコンバイナーフード6との位置関係が狂って、コンバイナーフード6の表示等が見ずらくなるようなことを防止することができる。
(b)ヘッドアップディスプレイ昇降制御装置27が、ヘッドアップディスプレイ用昇降装置21へ昇降制御信号26を送ることにより、インストルメントパネル3に対するコンバイナーフード6の高さを制御することが可能となる。これにより、コンバイナーフード6の高さ調整を自動化して、高さ調整の手間を削減することが可能となる。
(c)ヘッドアップディスプレイ昇降制御装置27は、外部の車速信号等33を入力して、車速に応じてコンバイナーフードの高さを制御可能な昇降制御信号26を、ヘッドアップディスプレイ用昇降装置21へ出力する。これにより、インストルメントパネル3に対するコンバイナーフード6の高さを、走行中に、車速に応じて自動的に変更、調整させることが可能となる。以て、コンバイナーフード6を、自動的に走行状況に応じた最適な高さとすることが可能となる。
(d)ヘッドアップディスプレイ昇降制御装置27に備えられた表示切替部39により、コンバイナーフード6に表示される情報等を、車速に応じて切替えさせるようにすることができる。
例えば、上記したように、コンバイナーフード6の高さを車速に応じて制御するようにした場合に、更に、コンバイナーフード6の高さに合わせて、コンバイナーフード6に反射される映像5を、速度に合せたもの(車速対応型映像37、例えば、高速走行用映像や、低速走行用映像など)に切替え得るようにすることができる。
より具体的には、例えば、図2に示すような二段階制御とした場合に、車速対応型映像37は、例えば、車速が速い時(高速走行時)には、視線移動が少なくなることより情報等判読時間が短くなる傾向にあるので、コンバイナーフード6を高くして情報等表示面積を広くし、より多くの情報等を表示させ得るようにすることができる(高速走行用映像)。この場合、高速走行用映像は、低速走行時には余り使用しない、車間制御情報やオートクルーズなどのコンテンツを見やすく表示し得るようにしたものなどとすることができる。
反対に、車速対応型映像37は、例えば、車速が遅い時(低速走行時)には、視線移動が多くなることにより情報等判読時間が長くなる傾向にあるので、コンバイナーフード6を低くして情報等表示面積を狭くし、情報等を絞り込んで表示させるようにすることができる(低速走行用映像)。この場合、低速走行用映像は、絞り込んだ情報等を小さな表示サイズにまとめて見やすく表示し得るようにしたものなどどすることができる。
なお、コンバイナーフード6の高さは、二段階制御に限るものではなく、上記した三段階制御や、多段階制御や、無段階制御に対応させることもできる。
(e)ヘッドアップディスプレイ昇降制御装置27は、コンバイナーフード6の高さの変化に応じて、前方視界確保用制御信号42を、外部の前方視界確保関連機構部41に出力する。これにより、前方視界確保関連機構部41を連動させて、適正な前方視界を確保するのに必要な動作を行わせることができる。
(f)車両Aに設けられた、車高等調整機構54と、シート昇降機構64と、ステアリング昇降機構69とのうちの少なくともいずれかを前方視界確保関連機構部41とすることにより、上記(e)の作用効果を具体的に実現することができる。
(g)例えば、前方視界確保関連機構部41を、車高等調整機構54とした場合、車速が速くなって、コンバイナーフード6が高くなった時に、ヘッドアップディスプレイ制御装置13(ヘッドアップディスプレイ昇降制御装置27、車速対応型昇降制御装置36、外部機構連動型制御装置43)からの前方視界確保用制御信号42(サスペンション制御信号42a)により、車高等調整用制御装置53は、サスペンション装置51に姿勢制御信号52を送って、図5に実線で示すように車高を低くするか、或いは、図6に示すように車両Aを前傾姿勢となるようにする。これによって、前方視界を確保することが可能となる(車高等変更後の前方不可視距離57<車高等変更前の前方不可視距離58)と同時に、空気抵抗の低減や走行安定性の向上を同時に図ることも可能となる。
反対に、車速が遅くなって、コンバイナーフード6が低くなった時に、ヘッドアップディスプレイ制御装置13(ヘッドアップディスプレイ昇降制御装置27、車速対応型昇降制御装置36、外部機構連動型制御装置43)からの前方視界確保用制御信号42(サスペンション制御信号42a)により、車高等調整用制御装置53は、サスペンション装置51に姿勢制御信号52を送って、車高を元に戻し(標準ポジションに復帰させ)たり、車高を高くしたりするように制御する。
(h)例えば、前方視界確保関連機構部41を、シート昇降機構64とした場合、車速が速くなって、コンバイナーフード6が高くなった時に、ヘッドアップディスプレイ制御装置13(ヘッドアップディスプレイ昇降制御装置27、車速対応型昇降制御装置36、外部機構連動型制御装置43)からの前方視界確保用制御信号42(シート制御信号42b)により、シート昇降制御装置63は、電動シートリフター61にシート昇降制御信号62を送って、シートを上昇させることによって、前方視界が確保されるようにする。
反対に、車速が遅くなって、コンバイナーフード6が低くなった時に、ヘッドアップディスプレイ制御装置13(ヘッドアップディスプレイ昇降制御装置27、車速対応型昇降制御装置36、外部機構連動型制御装置43)からの前方視界確保用制御信号42(シート制御信号42b)により、シート昇降制御装置63は、電動シートリフター61にシート昇降制御信号62を送って、シートの高さを元に戻し(乗員の設定高さに復帰させ)たり、シートを低くしたりするように制御する。
(i)例えば、前方視界確保関連機構部41を、ステアリング昇降機構69とした場合、車速が速くなって、コンバイナーフード6が高くなった時に、ヘッドアップディスプレイ制御装置13(ヘッドアップディスプレイ昇降制御装置27、車速対応型昇降制御装置36、外部機構連動型制御装置43)からの前方視界確保用制御信号42(ステアリング位置制御信号42c)により、ステアリング昇降制御装置68は、電動チルトテレスコピックステアリング装置66にステアリング昇降等制御信号67を送って、主にステアリングを低くしたりするなどによって、前方視界が確保されるようにする。
反対に、車速が遅くなって、コンバイナーフード6が低くなった時に、ヘッドアップディスプレイ制御装置13(ヘッドアップディスプレイ昇降制御装置27、車速対応型昇降制御装置36、外部機構連動型制御装置43)からの前方視界確保用制御信号42(ステアリング位置制御信号42c)により、ステアリング昇降制御装置68は、電動チルトテレスコピックステアリング装置66にステアリング昇降等制御信号67を送って、主にステアリングの高さを元に戻すなどし(乗員の設定高さに復帰させ)たり、ステアリングを高くするなどの制御を行うようにする。
以上、この発明の実施例を図面により詳述してきたが、実施例はこの発明の例示にしか過ぎないものであるため、この発明は実施例の構成にのみ限定されるものではなく、この発明の要旨を逸脱しない範囲の設計の変更等があってもこの発明に含まれることは勿論である。また、例えば、各実施例に複数の構成が含まれている場合には、特に記載がなくとも、これらの構成の可能な組合せが含まれることは勿論である。また、複数の実施例や変形例が示されている場合には、特に記載がなくとも、これらに跨がった構成の組合せのうちの可能なものが含まれることは勿論である。また、図面に描かれている構成については、特に記載がなくとも、含まれることは勿論である。更に、「等」の用語がある場合には、同等のものを含むという意味で用いられている。また、「ほぼ」「約」「程度」などの用語がある場合には、常識的に認められる範囲や精度のものを含むという意味で用いられている。
A 車両
3 インストルメントパネル
4 ヘッドアップディスプレイ装置
6 コンバイナーフード(反射板フード)
21 ヘッドアップディスプレイ用昇降装置
26 昇降制御信号
27 ヘッドアップディスプレイ昇降制御装置
33 車速信号等
39 表示切替部
41 前方視界確保関連機構部
42 前方視界確保用制御信号
54 車高等調整機構
64 シート昇降機構
69 ステアリング昇降機構
51 サスペンション装置
53 車高等調整用制御装置
61 電動シートリフター
63 シート昇降制御装置
66 電動チルトテレスコピックステアリング装置
69 ステアリング昇降機構
3 インストルメントパネル
4 ヘッドアップディスプレイ装置
6 コンバイナーフード(反射板フード)
21 ヘッドアップディスプレイ用昇降装置
26 昇降制御信号
27 ヘッドアップディスプレイ昇降制御装置
33 車速信号等
39 表示切替部
41 前方視界確保関連機構部
42 前方視界確保用制御信号
54 車高等調整機構
64 シート昇降機構
69 ステアリング昇降機構
51 サスペンション装置
53 車高等調整用制御装置
61 電動シートリフター
63 シート昇降制御装置
66 電動チルトテレスコピックステアリング装置
69 ステアリング昇降機構
Claims (6)
- インストルメントパネルにヘッドアップディスプレイ装置が設置され、
該ヘッドアップディスプレイ装置が、情報等を表示可能な反射板フードを有するヘッドアップディスプレイ機構において、
インストルメントパネルに対して、反射板フードをヘッドアップディスプレイ装置ごと昇降自在となるように設置すると共に、
ヘッドアップディスプレイ装置を昇降駆動可能なヘッドアップディスプレイ用昇降装置を設けたことを特徴とするヘッドアップディスプレイ機構。 - ヘッドアップディスプレイ用昇降装置に対して、昇降制御信号を出力することにより、反射板フードの高さ調整が可能なヘッドアップディスプレイ用制御装置を設けたことを特徴とする請求項1記載のヘッドアップディスプレイ機構。
- ヘッドアップディスプレイ用制御装置が、車速に応じて反射板フードの高さを制御可能な昇降制御信号をヘッドアップディスプレイ用昇降装置へ出力可能に構成されたことを特徴とする請求項2記載のヘッドアップディスプレイ機構。
- ヘッドアップディスプレイ用制御装置が、反射板フードに表示される情報等を、車速に応じたものに切替可能な表示切替部を備えたことを特徴とする請求項3記載のヘッドアップディスプレイ機構。
- ヘッドアップディスプレイ用制御装置が、反射板フードの高さの変化に応じて、外部の前方視界確保関連機構部に対し、前方視界確保用制御信号を出力可能に構成されたことを特徴とする請求項3または請求項4記載のヘッドアップディスプレイ機構。
- 前記前方視界確保関連機構部が、車両に設けられた、車高調整機構と、シート昇降機構と、ステアリング昇降機構とのうちの少なくともいずれかであることを特徴とする請求項5記載のヘッドアップディスプレイ機構。
Priority Applications (1)
| Application Number | Priority Date | Filing Date | Title |
|---|---|---|---|
| JP2008321440A JP2010143343A (ja) | 2008-12-17 | 2008-12-17 | ヘッドアップディスプレイ機構 |
Applications Claiming Priority (1)
| Application Number | Priority Date | Filing Date | Title |
|---|---|---|---|
| JP2008321440A JP2010143343A (ja) | 2008-12-17 | 2008-12-17 | ヘッドアップディスプレイ機構 |
Publications (1)
| Publication Number | Publication Date |
|---|---|
| JP2010143343A true JP2010143343A (ja) | 2010-07-01 |
Family
ID=42564227
Family Applications (1)
| Application Number | Title | Priority Date | Filing Date |
|---|---|---|---|
| JP2008321440A Pending JP2010143343A (ja) | 2008-12-17 | 2008-12-17 | ヘッドアップディスプレイ機構 |
Country Status (1)
| Country | Link |
|---|---|
| JP (1) | JP2010143343A (ja) |
Cited By (5)
| Publication number | Priority date | Publication date | Assignee | Title |
|---|---|---|---|---|
| JP2014202834A (ja) * | 2013-04-02 | 2014-10-27 | 矢崎総業株式会社 | ヘッドアップディスプレイ装置 |
| WO2015162781A1 (ja) * | 2014-04-25 | 2015-10-29 | 三菱電機株式会社 | 自動調整装置、自動調整システムおよび自動調整方法 |
| WO2018159286A1 (ja) * | 2017-02-28 | 2018-09-07 | パナソニックIpマネジメント株式会社 | 表示装置、表示装置の制御方法、プログラムと記録媒体、及び表示装置を有する移動体 |
| JP2018141934A (ja) * | 2017-02-28 | 2018-09-13 | パナソニックIpマネジメント株式会社 | 表示装置、表示装置の制御方法、プログラム、及び表示装置を備える移動体 |
| JP2018141935A (ja) * | 2017-02-28 | 2018-09-13 | パナソニックIpマネジメント株式会社 | 表示装置、表示装置の制御方法、プログラム、及び表示装置を備える移動体 |
Citations (8)
| Publication number | Priority date | Publication date | Assignee | Title |
|---|---|---|---|---|
| JPH0392432A (ja) * | 1989-09-05 | 1991-04-17 | Stanley Electric Co Ltd | 車速連動型ヘッドアップディスプレイシステム |
| JPH0687043U (ja) * | 1993-05-28 | 1994-12-20 | 旭硝子株式会社 | 車両用表示装置 |
| JPH0976799A (ja) * | 1995-09-11 | 1997-03-25 | Mitsubishi Motors Corp | 運転視界可変装置 |
| JPH1035324A (ja) * | 1996-07-23 | 1998-02-10 | Toyoda Gosei Co Ltd | ヘッドアップディスプレイ装置 |
| JP2005062812A (ja) * | 2003-07-29 | 2005-03-10 | Yazaki Corp | ヘッドアップディスプレイ装置 |
| JP2006069476A (ja) * | 2004-09-06 | 2006-03-16 | Denso Corp | 車載画像表示装置用台座 |
| JP2006315444A (ja) * | 2005-05-10 | 2006-11-24 | Mitsubishi Electric Corp | 車両用表示装置 |
| JP2009154777A (ja) * | 2007-12-27 | 2009-07-16 | Calsonic Kansei Corp | 車両用表示装置の表示位置調整方法及び車両用表示装置 |
-
2008
- 2008-12-17 JP JP2008321440A patent/JP2010143343A/ja active Pending
Patent Citations (8)
| Publication number | Priority date | Publication date | Assignee | Title |
|---|---|---|---|---|
| JPH0392432A (ja) * | 1989-09-05 | 1991-04-17 | Stanley Electric Co Ltd | 車速連動型ヘッドアップディスプレイシステム |
| JPH0687043U (ja) * | 1993-05-28 | 1994-12-20 | 旭硝子株式会社 | 車両用表示装置 |
| JPH0976799A (ja) * | 1995-09-11 | 1997-03-25 | Mitsubishi Motors Corp | 運転視界可変装置 |
| JPH1035324A (ja) * | 1996-07-23 | 1998-02-10 | Toyoda Gosei Co Ltd | ヘッドアップディスプレイ装置 |
| JP2005062812A (ja) * | 2003-07-29 | 2005-03-10 | Yazaki Corp | ヘッドアップディスプレイ装置 |
| JP2006069476A (ja) * | 2004-09-06 | 2006-03-16 | Denso Corp | 車載画像表示装置用台座 |
| JP2006315444A (ja) * | 2005-05-10 | 2006-11-24 | Mitsubishi Electric Corp | 車両用表示装置 |
| JP2009154777A (ja) * | 2007-12-27 | 2009-07-16 | Calsonic Kansei Corp | 車両用表示装置の表示位置調整方法及び車両用表示装置 |
Cited By (10)
| Publication number | Priority date | Publication date | Assignee | Title |
|---|---|---|---|---|
| JP2014202834A (ja) * | 2013-04-02 | 2014-10-27 | 矢崎総業株式会社 | ヘッドアップディスプレイ装置 |
| WO2015162781A1 (ja) * | 2014-04-25 | 2015-10-29 | 三菱電機株式会社 | 自動調整装置、自動調整システムおよび自動調整方法 |
| CN106458059A (zh) * | 2014-04-25 | 2017-02-22 | 三菱电机株式会社 | 自动调整装置、自动调整系统以及自动调整方法 |
| JPWO2015162781A1 (ja) * | 2014-04-25 | 2017-04-13 | 三菱電機株式会社 | 自動調整装置、自動調整システムおよび自動調整方法 |
| US9873355B2 (en) | 2014-04-25 | 2018-01-23 | Mitsubishi Electric Corporation | Automatic adjuster, automatic adjusting system and automatic adjusting method |
| CN106458059B (zh) * | 2014-04-25 | 2018-10-16 | 三菱电机株式会社 | 自动调整装置、自动调整系统以及自动调整方法 |
| WO2018159286A1 (ja) * | 2017-02-28 | 2018-09-07 | パナソニックIpマネジメント株式会社 | 表示装置、表示装置の制御方法、プログラムと記録媒体、及び表示装置を有する移動体 |
| JP2018141934A (ja) * | 2017-02-28 | 2018-09-13 | パナソニックIpマネジメント株式会社 | 表示装置、表示装置の制御方法、プログラム、及び表示装置を備える移動体 |
| JP2018141935A (ja) * | 2017-02-28 | 2018-09-13 | パナソニックIpマネジメント株式会社 | 表示装置、表示装置の制御方法、プログラム、及び表示装置を備える移動体 |
| US10819963B2 (en) | 2017-02-28 | 2020-10-27 | Panasonic Intellectual Property Management Co., Ltd. | Display device, method for controlling display device, program, recording medium, and moving body equipped with display device |
Similar Documents
| Publication | Publication Date | Title |
|---|---|---|
| US10613810B2 (en) | Display device for vehicle | |
| US11794654B2 (en) | Electronic mirror system, automobile door, and automobile | |
| US10726812B2 (en) | Method for controlling a display apparatus for a motor vehicle, and motor vehicle having a display apparatus | |
| US4831366A (en) | Head up display apparatus for automotive vehicle | |
| EP3524456B1 (en) | Vehicle | |
| JP6578547B2 (ja) | 後方視認装置 | |
| US5034732A (en) | Head up display apparatus for automotive vehicle | |
| US20090128307A1 (en) | Display device and display method for a vehicle | |
| JP2009196473A (ja) | 車両用ヘッドアップディスプレイ装置 | |
| JP5466571B2 (ja) | 車両用表示装置 | |
| JP2010143343A (ja) | ヘッドアップディスプレイ機構 | |
| JP7614054B2 (ja) | 車両用表示装置 | |
| KR20150117117A (ko) | 차량용 헤드 업 디스플레이 장치 | |
| US10252673B2 (en) | Vehicle mirror device | |
| JP2022546286A (ja) | 車両用の可視化補助装置 | |
| US11840144B2 (en) | Deployable rollable display for a vehicle | |
| KR20240059332A (ko) | 무빙 디스플레이 장치 및 이를 활용한 차량 | |
| US20120205938A1 (en) | Sun visor | |
| JP2006232212A (ja) | 車外視認装置 | |
| KR20190091629A (ko) | 자동차의 a-필러측 사각지대 관찰장치 | |
| JP6604132B2 (ja) | 車両用表示装置 | |
| CN100398358C (zh) | 随车姿自动调整角度的汽车后视镜 | |
| JP5515233B2 (ja) | 自動車用表示装置 | |
| JP5814763B2 (ja) | 車載装置、及び移動方法 | |
| JP2012131301A (ja) | 車両の可動ミラー構造 |
Legal Events
| Date | Code | Title | Description |
|---|---|---|---|
| A621 | Written request for application examination |
Free format text: JAPANESE INTERMEDIATE CODE: A621 Effective date: 20110831 |
|
| A977 | Report on retrieval |
Free format text: JAPANESE INTERMEDIATE CODE: A971007 Effective date: 20121227 |
|
| A02 | Decision of refusal |
Free format text: JAPANESE INTERMEDIATE CODE: A02 Effective date: 20130611 |