JP2010143085A - 基板支持装置及びスクリーン印刷機 - Google Patents

基板支持装置及びスクリーン印刷機 Download PDF

Info

Publication number
JP2010143085A
JP2010143085A JP2008323008A JP2008323008A JP2010143085A JP 2010143085 A JP2010143085 A JP 2010143085A JP 2008323008 A JP2008323008 A JP 2008323008A JP 2008323008 A JP2008323008 A JP 2008323008A JP 2010143085 A JP2010143085 A JP 2010143085A
Authority
JP
Japan
Prior art keywords
support
hole
pin
pins
supporting
Prior art date
Legal status (The legal status is an assumption and is not a legal conclusion. Google has not performed a legal analysis and makes no representation as to the accuracy of the status listed.)
Pending
Application number
JP2008323008A
Other languages
English (en)
Inventor
Noboru Nishi
登 西
Kazuhiro Hineno
一弘 日根野
Ryuichi Komatsu
龍一 小松
Yoshio Tomizawa
喜男 富沢
Current Assignee (The listed assignees may be inaccurate. Google has not performed a legal analysis and makes no representation or warranty as to the accuracy of the list.)
Hitachi High Tech Corp
Original Assignee
Hitachi High Tech Instruments Co Ltd
Priority date (The priority date is an assumption and is not a legal conclusion. Google has not performed a legal analysis and makes no representation as to the accuracy of the date listed.)
Filing date
Publication date
Application filed by Hitachi High Tech Instruments Co Ltd filed Critical Hitachi High Tech Instruments Co Ltd
Priority to JP2008323008A priority Critical patent/JP2010143085A/ja
Priority to EP09015569A priority patent/EP2213454A3/en
Priority to CN2009102624507A priority patent/CN101746112B/zh
Publication of JP2010143085A publication Critical patent/JP2010143085A/ja
Pending legal-status Critical Current

Links

Images

Classifications

    • BPERFORMING OPERATIONS; TRANSPORTING
    • B41PRINTING; LINING MACHINES; TYPEWRITERS; STAMPS
    • B41FPRINTING MACHINES OR PRESSES
    • B41F15/00Screen printers
    • B41F15/14Details
    • B41F15/16Printing tables
    • B41F15/18Supports for workpieces
    • BPERFORMING OPERATIONS; TRANSPORTING
    • B41PRINTING; LINING MACHINES; TYPEWRITERS; STAMPS
    • B41FPRINTING MACHINES OR PRESSES
    • B41F15/00Screen printers
    • B41F15/14Details
    • B41F15/44Squeegees or doctors
    • B41F15/46Squeegees or doctors with two or more operative parts
    • HELECTRICITY
    • H05ELECTRIC TECHNIQUES NOT OTHERWISE PROVIDED FOR
    • H05KPRINTED CIRCUITS; CASINGS OR CONSTRUCTIONAL DETAILS OF ELECTRIC APPARATUS; MANUFACTURE OF ASSEMBLAGES OF ELECTRICAL COMPONENTS
    • H05K3/00Apparatus or processes for manufacturing printed circuits
    • H05K3/10Apparatus or processes for manufacturing printed circuits in which conductive material is applied to the insulating support in such a manner as to form the desired conductive pattern
    • H05K3/12Apparatus or processes for manufacturing printed circuits in which conductive material is applied to the insulating support in such a manner as to form the desired conductive pattern using thick film techniques, e.g. printing techniques to apply the conductive material or similar techniques for applying conductive paste or ink patterns
    • H05K3/1216Apparatus or processes for manufacturing printed circuits in which conductive material is applied to the insulating support in such a manner as to form the desired conductive pattern using thick film techniques, e.g. printing techniques to apply the conductive material or similar techniques for applying conductive paste or ink patterns by screen printing or stencil printing

Landscapes

  • Engineering & Computer Science (AREA)
  • Mechanical Engineering (AREA)
  • Screen Printers (AREA)
  • Supply And Installment Of Electrical Components (AREA)
  • Manufacturing Of Printed Wiring (AREA)

Abstract

【課題】作業者によるピンの抜き差し作業を無くし、基板支持装置でのピンの選択を自動化すると共に、ピンの選択に要する時間を極力短縮し、印刷機の印刷運転の遅れを回避する。
【解決手段】支持ピン52を支持する支持ブロック51と、支持ピンを昇降させる上部及び下部エア供給路58、59、支持ピンに対して相対的に移動が可能であり、上昇した状態の支持ピン52を下から支持する支持ピンベース81と、上下方向に移動可能で、下降して所望の支持ピンを押し込む押込装置87とを設ける。
【選択図】図8

Description

本発明は、プリント基板を支持する複数の支持ピンを備えた基板支持装置、及びスクリーン上の塗布剤をスキージを移動させることにより基板支持装置の支持ピンに支持されたプリント基板上に塗布するスクリーン印刷機に関する。
この種のスクリーン印刷機は、例えば特許文献1などに開示されており、略水平に配置されたθ軸ベースと、このθ軸ベースが略水平な平面内で回転するよう前記θ軸ベースの中心軸を回転可能に軸支する軸受けと、前記θ軸ベースの下面の縁部を摺動自在にする支持する複数個のθ軸ベース支持機構、前記θ軸ベース上に設けられた基板の支持機構とを備え、この支持機構の上部に位置するバックアップ機構(基板支持装置)は、プレートとこのプレートに多数形成された孔の何れかに装着される複数本のピンとから構成されている。
上述したバックアップ機構では、印刷する基板の機種毎にピンの位置を変更する必要があり、例えば作業者がプレートに対してピンの抜き差し作業を行うときには、作業が煩雑になるという問題が発生する。特に作業対象のピンの数が多数のときには、一層作業が煩雑になると共に、作業に要する時間も長くなり、印刷機による印刷運転が遅れるという問題も発生する。
そして、上述した作業者によるピンの抜き差し作業の問題、或いは作業時間の問題を極力解決するための支持ピンである下受けピンの設定機構が例えば特許文献2などに記載されている。この設定機構では、貫通孔に、上下動して突出可能に収容した下受けピンを、所定の間隔でXY方向に二次元配置したプリント基板下受け手段と、制御信号に基づいて駆動され下受けピンを突出させる選択ピンをX方向に配置した選択手段と、プリント基板下受け手段と選択手段の間に介在し、下受けピンと選択ピンが当接可能に形成した貫通孔をX方向一列に配置した設定板を総ての下受けピンに対応するようにY方向に複数配置した設定手段と、下受け手段と設定手段とを一括してY方向に所定間隔で駆動する駆動手段と、設定板をX方向に駆動する設定板駆動手段とを備え、下受ピンの突出及び非突出を設定する。
特開2000−211108号公報 特開平5−335800号公報
しかしながら、特許文献2に記載されているプリント基板の下受けピンを設定する機構では、特に作業対象のピンの数が多数のときには、下受け手段と前記設定手段とを一括してY方向に所定間隔で駆動する回数が多くなり、設定に要する時間も長くなり、印刷機での印刷が遅れるという問題も発生する。
そこで本発明は、作業者によるピンの抜き差し作業を無くし、ピンの選択を自動化すると共に、ピンの選択に要する時間を極力短縮し、印刷機の印刷の遅れを回避することを目的とする。
このため第1の発明は、プリント基板を支持する複数の支持ピンを備えた基板支持装置において、前記支持ピンを支持する支持ブロックと、前記支持ピンを昇降させる昇降手段と、前記支持ピンに対して相対的に移動が可能であり、上昇した状態の前記支持ピンを下から支持するベースと、上下方向に移動可能で、下降して所望の前記支持ピンを前記支持ブロック内に押し込む押込装置とを備えたことを特徴とする。
第2の発明は、プリント基板を支持する複数の支持ピンを備えた基板支持装置において、前記支持ピンを支持する複数の支持孔が間隔を存して上下方向に形成された支持ブロックと、前記支持ピンを複数本同時に昇降させる昇降手段と、支持ブロックの上に設けられ、前記支持ピンに対して移動が可能であり、上昇した状態の前記支持ピンを下から支持するベースと、水平方向及び上下方向に移動可能で、下降して所望の前記支持ピンを前記支持孔内に押し込む押込装置とを備えたことを特徴とする。
第3の発明は、プリント基板を支持する複数の支持ピンを備えた基板支持装置において、前記支持ピンを支持する複数の支持孔が間隔を存して上下方向に形成された支持ブロックと、前記支持ピンを複数本同時に昇降させる昇降手段と、支持ブロックの上に設けられ、前記支持ブックに対して水平方向に相対的に移動可能で前記支持ピンに対して接近し、上昇した状態の前記支持ピンの支持部を下から同時に支持するベースと、水平方向及び上下方向に移動可能で、下降して所望の前記支持ピンを前記支持孔内に押し込む押込装置とを備えたことを特徴とする。
第4の発明は、プリント基板を支持する複数の支持ピンを備えた基板支持装置において、水平方向にスライド自在に設けられ、前記支持ピンを支持する複数の支持孔が間隔を存して上下方向に形成され、前記支持孔は前記支持ブロックの上部に形成されて前記支持ピンを上下にスライド自在に支持する上部孔とこの上部孔の下に形成され前記上部孔より断面積が大きい下部孔とから成り、この下部孔の上部と下部とにエア供給路が連通した支持ブロックと、下部に設けられ前記下部孔内にて上下にスライドするスライド部と、このスライド部の上に形成されスライド部より断面積が小さく前記下部孔の側壁との間に空間が形成されると共に上昇により前記上部孔内に摺動して収まる下中間部とこの下中間部の上に形成され、断面積が前記下中間部より小さい中央部と、この中央部の上に形成され前記下中間部と断面形状が等しい上中間部と、この上中間部の上に形成され前記上中間部より断面積が小さく括れた延在部とを備えた支持ピンと、支持ブロックの上に設けられ、前記支持ピンに対応して形成され前記上中間部に対応した昇降部とこの昇降部から連続して形成され前記支持ピンが上昇した状態で前記上中間部の下端を支持する支持部と備えた複数の貫通孔が形成されたベースと、水平方向及び上下方向に移動可能で、下降して前記支持ピンを前記支持孔内に押し込む押込ヘッドとを備えた
ことを特徴とする。
第5の発明は、プリント基板を支持する複数の支持ピンと、パターン孔が形成されたスクリーンと、移動することにより前記スクリーン上の塗布剤をプリント基板上に前記パターン孔を介して塗布するスキージとを備えたスクリーン印刷機において、前記支持ピンを支持する支持ブロックと、前記支持ピンを昇降させる昇降手段と、前記支持ピンに対して相対的に移動が可能であり、上昇した状態の前記支持ピンを下から支持するベースと、上下方向に移動可能で、下降して所望の前記支持ピンを前記支持孔内に押し込む押込装置とを備えた基板支持装置を有したことを特徴とする。
第6の発明は、プリント基板を支持する複数の支持ピンと、パターン孔が形成されたスクリーンと、移動することにより前記スクリーン上の塗布剤をプリント基板上に前記パターン孔を介して塗布するスキージとを備えたスクリーン印刷機において、前記支持ピンを支持する複数の支持孔が間隔を存して上下方向に形成された支持ブロックと、前記支持ピンを複数本同時に昇降させる昇降手段と、支持ブロックの上に設けられ、前記支持ピンに対して移動が可能であり、上昇した状態の前記支持ピンを下から支持するベースと、水平方向及び上下方向に移動可能で、下降して所望の前記支持ピンを前記支持孔内に押し込む押込装置とを備えた基板支持装置を有したことを特徴とする。
第7の発明は、プリント基板を支持する複数の支持ピンと、パターン孔が形成されたスクリーンと、移動することにより前記スクリーン上の塗布剤をプリント基板上に前記パターン孔を介して塗布するスキージとを備えたスクリーン印刷機において、前記支持ピンを支持する複数の支持孔が間隔を存して上下方向に形成された支持ブロックと、前記支持ピンを複数本同時に昇降させる昇降手段と、支持ブロックの上に設けられ、前記支持ブックに対して水平方向に相対的に移動可能で前記支持ピンに対して接近し、上昇した状態の前記支持ピンの支持部を下から同時に支持するベースと、水平方向及び上下方向に移動可能で、下降して所望の前記支持ピンを前記支持孔内に押し込む押込装置とを備えた基板支持装置を有したことを特徴とする。
第8の発明は、請求項3又は7に記載の基板支持装置又はスクリーン印刷機において、前記支持ピンの下部には前記支持孔の側壁と接触するパッキンが設けられ、前記支持孔の下部と上部との何れか一方にエアを供給するエア供給源を備えたことを特徴とする請求項3又は7に記載の基板支持装置又はスクリーン印刷機。
第9の発明は、プリント基板を支持する複数の支持ピンと、パターン孔が形成されたスクリーンと、移動することにより前記スクリーン上の塗布剤をプリント基板上に前記パターン孔を介して塗布するスキージとを備えたスクリーン印刷機において、水平方向にスライド自在に設けられ、前記支持ピンを支持する複数の支持孔が間隔を存して上下方向に形成され、前記支持孔は前記支持ブロックの上部に形成されて前記支持ピンを上下にスライド自在に支持する上部孔とこの上部孔の下に形成され前記上部孔より断面積が大きい下部孔とから成り、この下部孔の上部と下部とにエア供給路が連通した支持ブロックと、下部に設けられ前記下部孔内にて上下にスライドするスライド部と、このスライド部の上に形成されスライド部より断面積が小さく前記下部孔の側壁との間に空間が形成されると共に上昇により前記上部孔内に摺動して収まる下中間部とこの下中間部の上に形成され、断面積が前記下中間部より小さい中央部と、この中央部の上に形成され前記下中間部と断面形状が等しい上中間部と、この上中間部の上に形成され前記上中間部より断面積が小さく括れた延在部とを備えた支持ピンと、支持ブロックの上に設けられ、前記支持ピンに対応して形成され前記上中間部に対応した昇降部とこの昇降部から連続して形成され前記支持ピンが上昇した状態で前記上中間部の下端を支持する支持部と備えた複数の貫通孔が形成されたベースと、水平方向及び上下方向に移動可能で、下降して前記支持ピンを前記支持孔内に押し込む押込ヘッドとを備えた基板支持装置を有したことを特徴とする。
第10の発明は、請求項4又は9に記載の基板支持装置又はスクリーン印刷機において、前記支持ピンのスライド部には前記下部孔内壁と接するパッキンが設けられたことを特徴とする。
第11の発明は、請求項4又は9に記載の基板支持装置又はスクリーン印刷機において、前記支持ブロック及び前記ベースは複数の前記支持ピン毎に複数に分割され、前記昇降手段或いは前記エア供給路は分割された各支持ブロック毎に設けられていることを特徴とする。
第12の発明は、請求項1乃至11に記載の基板支持装置又はスクリーン印刷機において、前記ベースの上には、前記支持ピンに対応して孔が形成されたシートが設けられたことを特徴とする。
本発明は、作業者によるピンの抜き差し作業を無くし、基板支持装置でのピンの選択を自動化すると共に、ピンの選択に要する時間を極力短縮し、印刷機での印刷の遅れを回避することができる。
以下、本発明の具体的な実施形態を図面を参照しながら説明する。図1はスクリーン印刷機の要部の正面図、図2はスクリーン印刷機の要部の右側面図を示す。
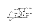
図1に示すように、前記スクリーン印刷機1は、基台11上に設置された基板支持テーブル12と、この基板支持テーブル12の上方に配置されたスクリーン支持手段13と、基板支持テーブル12とスクリーン支持手段13の間に配置され基板支持テーブル12によって支持されたプリント基板Pに対角線上の位置に付された基板認識マークKMを撮像する第1撮像手段14と、スクリーン支持手段13の上方に配置されスクリーン支持手段13に支持されたスクリーンSに付されたスクリーン認識マークを撮像する第2撮像手段15と、スクリーンSの上方に配置された一対の印刷ヘッド16A、16B(図2参照)と、基板Pを基板支持テーブル12上に供給する供給コンベア17と、基板Pを基板支持テーブル12上から排出する排出コンベア18と、第1及び第2撮像手段14、15で撮像した画像を映し出す後述のモニタ47(図示せず)とを備えている。
前記基板支持テーブル12は、水平方向に延びるX軸の方向(図2参照)に移動するための第1移動機構21と、この第1移動機構21上に設けられ水平面内で回転するための回転機構22と、この回転機構22上に設けられ垂直方向に延びるZ軸の方向に移動するための第2移動機構23と、この第2移動機構(以下、ブロックベースという。)23上に設けられ後述する複数本の支持ピンとこれらの支持ピンを支持するブロック等を備えた基板支持装置24と、この基板支持装置24の上面に設けられ基板PをX軸方向に搬送する搬送機構(図示せず)とを備えている。
前記スクリーン支持手段13は、スクリーンSの下面の周縁部を支持するスクリーン支持枠25と、該スクリーン支持枠25の上方に配置されスクリーンSをスクリーン支持枠25に圧接するシリンダ26、26と、水平方向に延びるY軸の方向に移動するための移動機構27とを備えている。
前記第1撮像手段14は、基板認識カメラ28と、この基板認識カメラ28をX軸及びY軸方向に移動させる移動機構29と、基板支持テーブル12上の基板Pに光を照射する照明装置(図示せず)とを備えている。また、第2撮像手段15は、スクリーン認識カメラ31と、このカメラ31をX軸方向に移動させる移動機構32と、基板支持テーブル12上の基板Pに光を照射する照明装置(図示せず)とを備えており、カメラ31は印刷ヘッド16A、16Bの移動機構34によってY軸方向に移動するようになっている。
なお、図2に示すように、印刷ヘッド16A、16BはY軸方向に間隔をおいて配置され、下端部にそれぞれスキージ33A、33Bが取り付けられており、前記移動機構34によって同時にY軸方向に移動すると共に垂直移動機構35A、35Bによってそれぞれ個別にZ軸方向に移動する。そして、印刷ヘッド16A、16Bが図2の左方向へ移動する際には右側の印刷ヘッド16Aが下降してスキージ33AがスクリーンS上を摺動し、図3の右方向へ移動する際には左側の印刷ヘッド16Bが下降してスキージ33BがスクリーンS上を摺動する。したがって、印刷ヘッド16A、16Bの一回の往復移動で二回の印刷処理が行われる。
以下、上述した基板支持装置24について、図3及び図4に基づいて詳細に説明する。
51は、支持ブロックであり、この支持ブロック51にはそれぞれが支持ピン52を支持する複数の支持孔53が等間隔で複数行(図1及び図2においてはX方向)、複数列(図2においてのY方向)、上下方向に形成されている。そして各支持孔53は、前記支持ブロック51の上部に形成されて前記支持ピン52を上下にスライド自在に支持する上部孔54とこの上部孔54の下に形成され上部孔54より断面積が大きい下部孔55とから成っている。また、支持ブロック51には、各行毎に下部孔55の上部と下部とのそれぞれを連通する上部エア供給路56及び下部エア供給路57が連通している。上部エア供給路56及び下部エア供給路57はそれぞれ上部吸入路58及び下部吸入路59に連通し、各上部吸入路58及び下部吸入路59のエア入り口は支持ブロック51の側面に支持孔53の各行毎に並んで取り付けられた例えばセンターオープンの5ポート電磁弁等の電磁弁60a〜60gに接続されている。
また、支持ブロック51とブロックベース23の間にはリニアガイド23aが複数個所に設けられ、支持ブロック51はブロックベース23の上に、水平方向(図3においてはX方向)にスライド自在に支持されている。ブロックベース23には電磁弁60a〜60gの近傍に接続孔61が形成され、この接続孔61の下部穴に図示しないエア供給源に接続されたエア供給パイプ62が接続され、位置決め孔61の上部穴には各電磁弁60a〜60gが配管接続されている。
ブロックベース23の上には支持ブロックをX方向(図4の矢印方向)に移動させるための駆動シリンダ63が設けられ、駆動シリンダ63のロッド63aが電磁弁60a〜60gと反対の支持ブロック51の側面に接続されている。
支持ピン52は、断面円形であり、その下部には、最も直径が大きく前記下部孔55内にて上下にスライドするスライド部64が形成されている。このスライド部64の下には、スライド部64より直径が小さい突出部64aが形成され、上にはスライド部64より直径が小さい括れ部65が形成されている。括れ部65は、その直径が上部孔54の直径より僅かに小さく支持ピン52の上昇により上部孔54内にほぼ収まる下中間部66と、この下中間部66の上に形成され、直径が下中間部66より小さい中央部(括れ)67と、この中央部67の上に形成され下中間部66と断面形状が等しい上中間部68とを備えている。そして、支持ピン52を下降させている状態で、括れ部65と下部孔55の側壁との間に空間70が形成されている。
更に、括れ部65の上には更に上方へ伸び中央部67と直径が等しく断面積が上中間部68より小さく括れている延在部71が形成され、この延在部71の上には延在部71より直径が大きい上端部72が形成されている。
上述したスライド部64、括れ部65、延在部71及び上端部72は例えば一体に形成され、スライド部64の外周側面には全周に亘り溝75が形成され、溝75にパッキン76が取り付けられている。パッキン76は、例えば断面形状が下方に開放したU形状であり、スライド部64、即ち、支持ピン52の下方への移動時の抵抗は上方への移動時の抵抗より大きい。
81は、支持ブロック51の上に、支持ブロック51と間隔を存して設けられた支持ピンベースであり、各支持ピン52に対応して複数行、複数列、貫通孔82が形成されている。各貫通孔82は断面がだるま形状であり、直径が大きく上中間部68が昇降可能な昇降部83と、この昇降部83から連続して形成され支持ピン52が上昇した状態で上中間部68の下端を支持する直径が小さい支持部84とを備えている。なお、図4においては、総ての貫通孔の記載は省略する。
更に、支持ピンベース81の上方には塵埃をよけるためのシート85が設けられ、シート85には支持ピン52に対応して複数の孔86が形成されている。シート85は支持ブロック51と図示しない連結機構により連結され、支持ブロック51の移動に伴い支持ブロック51と同時に移動する。
また、支持ブロック51の上方には、図7に示したように、XY方向、例えば水平方向に移動可能な押込装置であり、例えばシリンダである押込ヘッド87が設けられ、押込ヘッドには上下方向に移動可能で、下降して予め設置された支持ピン52を前記支持孔53内に押し込むロッド88が設けられている。
以下、印刷する基板に対応して各支持ピン52を設定するときの動作について、図3〜図12に基づいて説明する。なお、図5〜図12において、図示された各支持ピンを区別するために、最も左に位置した支持ピンから順に52a、52b及び52cとし、また、図3及び図4と同じ機構のものには同じ符号を付しその詳細な説明は省略する。
まず、各支持ピン52a、52b或いは52cによる基板支持の設定を開始する前の初期状態では、各支持ピン52a、52b及び52cは共に下降位置であり、スライド部64は、下部孔55の下部に位置し、突出部64aが下部孔55の底に当接し、括れ部65は上中間部68の上部を除き下部孔55内に位置し、支持ピン52a、52b及び52cと下部孔55の側壁との間に空間70が形成されている。また、中間部68の上部は上部孔54内に位置している。上部孔54の上方に貫通孔82が位置し、延在部71が貫通孔82を貫通し、上端部72がシート85の孔86に位置している。このような初期状態において、図示しないCPU等の制御装置が電磁弁60a〜60gに一方の開信号を出すると、電磁弁60a〜60gが動作する。そして、エア供給源から例えば電磁弁60aを介して矢印にて示したように、空気が対応した行の下部エア供給路57に送られ、各スライド部64には下方から圧力が加わり、各支持ピン52a、52b及び52cは上昇する。
この結果、図6に示したように、スライド部64の上面が下部孔55の上面に当接し、各支持ピン52a、52b及び52cは最も上昇した位置で停止する。このとき、下中間部66が上部孔54内にほぼ収まり、各支持ピン52a、52b及び52cが支持ブロック51の上部により支持され、また、中央部67は貫通孔82に対応した位置にある。そして、各支持ピン52a、52b及び52cのスライド部64のパッキン76により支持孔53内の空気の漏れが防止され、また、下部エア供給路57からの空気の供給が停止してもパッキン76と支持孔53の側壁との摩擦により各支持ピン52a、52b及び52cは上昇した位置に維持される(図3参照)。
更に、上述したように、パッキン76の断面形状が下方に開放したU形状であり、スライド部64の下方への移動時の抵抗は上方への移動時の抵抗より大きいので、各支持ピン52a、52b及び52cを上昇させるときの空気圧力を極力小さくすることができ、また、各支持ピン52a、52b及び52cを上昇した状態に一層確実に維持することができる。
次に、下部エア供給路57からの空気の供給が停止し、図7に示したように、予め設定されたプリント基板を支持する必要がない支持ピン(以下、支持不要ピンという。)52bの上方へ移動していた押込ヘッド87のロッド88は下降する。
この結果、ロッド88の下降によりその下端が支持ピン52bの上端部72に当接し、支持ピン52bが下降して図8に示したように支持ブロック51及び支持ピンベース81に押し込まれる。その後、押込ヘッド87は予め設定されているその他の支持不要ピンの上方へ移動し、同様に支持不要ピンを支持ブロック51及び支持ピンベース81に押し込む。支持ピンの押し込み時、下部エア供給路57は電磁弁を介して大気に開放され、支持ピンが押し込まれたときには、下部孔55内の空気は外部に押し出され、支持ピンをスムーズに押し込むことができる。
総ての支持不要ピンの押し込み作業が終了すると、図9に矢印90に示したようにロッド88は上昇し、その状態に維持される。また、プリント基板の支持に使用される図示された支持ピン52a及び52cなどは上昇した状態に維持されている。次に、駆動シリンダ63が動作してロッド63aが伸び、支持ブロック51及びシート85が共に矢印91及び92の方向に次第に移動する。この移動に伴い、支持ピン52a及び52cの中央部67、即ち、プリント基板の支持に使用する支持ピンの中央部67は貫通孔82の昇降部83から支持部84へ移動する。また、支持ピン52bの延在部71、即ち、プリント基板の支持に使用しない支持ピンの延在部71も昇降部83から支持部84へ移動する。
このように、支持ピン52a、52b及び52cなどには、支持ピン52a、52b及び52cが上昇している状態、或いは下降している状態で支持部84に対応して直径が小さい中央部67及び延在部71が形成されているので、各支持ピンが上昇している状態及び下降した状態の何れの状態においても、支持ブロック51の移動によって各支持ピンの中央部67及び延在部71を昇降部83から支持部84に移動させることできる。
支持ブロック51及びシート85の移動が終了すると、次に、電磁弁60a〜60gが動作し、図10に矢印93に示したように、エア供給源から電磁弁60a〜60gを介して空気が上部エア供給路56に流れる。このため、空気の圧力により使用する支持ピンである支持ピン52a及び52c等がほぼ同時に僅かに下降し、図10に示したように、上中間部68の下端が支持ベース81の支持部84の周囲上面に当接し、その位置に支持される。このとき、支持ピン52a及び52c等の使用する支持ピンの中央部67が支持部84に嵌合するようにしてもよい。
使用する支持ピン52a及び52c等の上中間部68の下端が支持ベース81の支持部84の周囲上面に当接し、その位置に支持されるので、支持ピン52a及び52cを含む使用する各支持ピンを支持ベース81により一斉に同じ高さ位置に位置決めすることができる。また、使用しない支持ピン52bなどは僅かに下降し、突出部64aが下部孔55の底面に当接して支持されて位置決めされる。
このように、支持ピン52a及び52cなどをプリント基板の支持位置に設定するとき、即ち、位置決めするとき、駆動手段を用いて各支持ピンを一斉に上昇或いは下降させて位置決めするので、支持ピンの設定に必要な時間を極力短くすることができる。
また、上述した支持ピンの設定は各電磁弁60b〜60gに対応した行毎に各支持ピンについても同様に行われる。各行の支持ピンのうちプリント基板支持に使用される支持ピンが位置決めされ、設定される。
この結果、支持ピン52a及び52cなどの使用する支持ピンをプリント基板の支持位置に設定するとき、作業者が作業を行うことなく必要な支持ピンを設定することができる。また、多数の支持ピンを設定するときにも設定に必要な時間を極力短くすることができる。
その後、プリント基板の支持に使用される支持ピン52a及び52cなど、及び使用されない支持ピン52bなどがそれぞれ位置決めされた状態で、上述したようにプリント基板への印刷運転が行われる。
その後、例えば複数枚のプリント基板への印刷が終了し、印刷運転が終わると、次に印刷するプリント基板に対応して支持ピンを設定する段取り替えが行われる。
この段取り替え時には、まず、駆動シリンダ63が動作してロッド63aが引き込まれ、支持ブロック51及びシート85が共に矢印94及び95の方向に次第に移動する。この移動に伴い、図11に示したように、支持ピン52a、52b及び52c、即ち、総ての支持ピンは貫通孔82に位置する。その後、矢印94に示したように、空気が電磁弁60a〜60gを介して下部エア供給路57に流れる。この結果、総ての支持ピン52a、52b及び52c・・・が上昇する。
この結果、図11に示したように、支持ピン52a、52b及び52c、即ち、総ての支持ピンの中央部67は貫通孔82の昇降部83に対応した位置に移動する。
図11に示し各支持ピン52a、52b及び52c及び支持ブロック51、支持ピンベース81及びシート85の位置関係は、図6に示した状態と同様で、以後、上述した支持ピンの設定時と同様に使用する支持ピンの設定が行われる。
また、印刷するプリント基板の大きさに基づいて、開閉制御される電磁弁60a〜60gは制御され、支持するプリント基板と無関係な電磁弁は動作しないようにすることができ、この結果、空気が無駄に支持ブロック51に供給されること、或いは支持ピンが無駄に昇降することを回避できる。
以下、本発明の他の実施形態の支持ピンの設定方法を、図面を参照しながら説明する。
図12及び図13は印刷機の一部の断面図であり、上述した実施形態と同様の機構には同様の符号を付し、その詳細な説明は省略する。
図12は、把持ヘッド78を備えた印刷機の支持ピン設定時の初期状態を示し、把持ヘッド78は押込ヘッド87と同様にXY方向、例えば水平方向に移動可能であり、且つ、図示しない昇降機構によって昇降可能であり、このヘッド78の下部には、水平方向に移動する一対の把持爪79、80が設けられている。また、各支持ピン52a、52b及び52cの延在部71は上述した実施形態の支持ピンより僅かに長く、延在部71の上部及び上端部72はシート85から上方へ突出している。
図12に示したように、下降した状態であり、プリント基板の支持に使用する支持ピン52bの上方に位置した把持ヘッド78の把持爪79、80が矢印95に示したように接近する水平方向に移動する。そして、把持爪79、80の下端により支持ピン52bの上端部72を係止した後、把持ヘッド78は図14に矢印96に示したように所定の高さ位置まで上昇し、支持ピン52bを引き上げる。この結果、支持ピン52bの中央部67は昇降部83に位置している。同様に、プリント基板の支持に使用するその他の支持ピンについても把持ヘッドが引き上げる。
次に、図9に示した状態と同様に、矢印91及び92に示した方向へ支持ブロック51及びシート85は移動し、以後、上述した実施の形態の図9から図10に示した設定時の動作と同様に使用する支持ピンが位置決めされ、設定される。
このように、把持ヘッド78を用いた場合には、使用する支持ピンを設定する動作を一層簡略化することができる。
以上のように本発明の実施態様について説明したが、上述の説明に基づいて当業者にとって種々の代替例、修正又は変形が可能であり、本発明はその趣旨を逸脱しない範囲で前述の種々の代替例、修正又は変形を包含するものである。
スクリーン印刷機の正面図である。 スクリーン印刷機の要部の右側面図である。 基板支持装置の一部断面図である。 基板支持装置の平面図である。 基板支持装置の一部断面図である。 基板支持装置の一部断面図である。 基板支持装置の一部断面図である。 基板支持装置の一部断面図である。 基板支持装置の一部断面図である。 基板支持装置の一部断面図である。 基板支持装置の一部断面図である。 他の実施形態の基板支持装置の一部断面図である。 他の実施形態の基板支持装置の一部断面図である。
符号の説明
1 スクリーン印刷機
24 基板支持装置
51 支持ブロック
52a〜b 支持ピン
53 支持孔
60a〜b 電磁弁(昇降手段)
65 括れ部
81 支持ベース
85 シート
87 押込装置

Claims (12)

  1. プリント基板を支持する複数の支持ピンを備えた基板支持装置において、
    前記支持ピンを支持する支持ブロックと、
    前記支持ピンを昇降させる昇降手段と、
    前記支持ピンに対して相対的に移動が可能であり、上昇した状態の前記支持ピンを下から支持するベースと、
    上下方向に移動可能で、下降して所望の前記支持ピンを前記支持ブロック内に押し込む押込装置とを備えた
    ことを特徴とする基板支持装置。
  2. プリント基板を支持する複数の支持ピンを備えた基板支持装置において、
    前記支持ピンを支持する複数の支持孔が間隔を存して上下方向に形成された支持ブロックと、
    前記支持ピンを複数本同時に昇降させる昇降手段と、
    支持ブロックの上に設けられ、前記支持ピンに対して移動が可能であり、上昇した状態の前記支持ピンを下から支持するベースと、
    水平方向及び上下方向に移動可能で、下降して所望の前記支持ピンを前記支持孔内に押し込む押込装置とを備えた
    ことを特徴とする基板支持装置。
  3. プリント基板を支持する複数の支持ピンを備えた基板支持装置において、
    前記支持ピンを支持する複数の支持孔が間隔を存して上下方向に形成された支持ブロックと、
    前記支持ピンを複数本同時に昇降させる昇降手段と、
    支持ブロックの上に設けられ、前記支持ブックに対して水平方向に相対的に移動可能で前記支持ピンに対して接近し、上昇した状態の前記支持ピンの支持部を下から同時に支持するベースと、
    水平方向及び上下方向に移動可能で、下降して所望の前記支持ピンを前記支持孔内に押し込む押込装置とを備えた
    ことを特徴とする基板支持装置。
  4. プリント基板を支持する複数の支持ピンを備えた基板支持装置において、
    水平方向にスライド自在に設けられ、前記支持ピンを支持する複数の支持孔が間隔を存して上下方向に形成され、前記支持孔は前記支持ブロックの上部に形成されて前記支持ピンを上下にスライド自在に支持する上部孔とこの上部孔の下に形成され前記上部孔より断面積が大きい下部孔とから成り、この下部孔の上部と下部とにエア供給路が連通した支持ブロックと、
    下部に設けられ前記下部孔内にて上下にスライドするスライド部と、このスライド部の上に形成されスライド部より断面積が小さく前記下部孔の側壁との間に空間が形成されると共に上昇により前記上部孔内に摺動して収まる下中間部とこの下中間部の上に形成され、断面積が前記下中間部より小さい中央部と、この中央部の上に形成され前記下中間部と断面形状が等しい上中間部と、この上中間部の上に形成され前記上中間部より断面積が小さく括れた延在部とを備えた支持ピンと、
    支持ブロックの上に設けられ、前記支持ピンに対応して形成され前記上中間部に対応した昇降部とこの昇降部から連続して形成され前記支持ピンが上昇した状態で前記上中間部の下端を支持する支持部と備えた複数の貫通孔が形成されたベースと、
    水平方向及び上下方向に移動可能で、下降して前記支持ピンを前記支持孔内に押し込む押込ヘッドとを備えた
    ことを特徴とする基板支持装置。
  5. プリント基板を支持する複数の支持ピンと、パターン孔が形成されたスクリーンと、移動することにより前記スクリーン上の塗布剤をプリント基板上に前記パターン孔を介して塗布するスキージとを備えたスクリーン印刷機において、
    前記支持ピンを支持する支持ブロックと、
    前記支持ピンを昇降させる昇降手段と、
    前記支持ピンに対して相対的に移動が可能であり、上昇した状態の前記支持ピンを下から支持するベースと、
    上下方向に移動可能で、下降して所望の前記支持ピンを前記支持孔内に押し込む押込装置とを備えた基板支持装置を有した
    ことを特徴とするスクリーン印刷機。
  6. プリント基板を支持する複数の支持ピンと、パターン孔が形成されたスクリーンと、移動することにより前記スクリーン上の塗布剤をプリント基板上に前記パターン孔を介して塗布するスキージとを備えたスクリーン印刷機において、
    前記支持ピンを支持する複数の支持孔が間隔を存して上下方向に形成された支持ブロックと、
    前記支持ピンを複数本同時に昇降させる昇降手段と、
    支持ブロックの上に設けられ、前記支持ピンに対して移動が可能であり、上昇した状態の前記支持ピンを下から支持するベースと、
    水平方向及び上下方向に移動可能で、下降して所望の前記支持ピンを前記支持孔内に押し込む押込装置とを備えた基板支持装置を有した
    ことを特徴とするスクリーン印刷機。
  7. プリント基板を支持する複数の支持ピンと、パターン孔が形成されたスクリーンと、移動することにより前記スクリーン上の塗布剤をプリント基板上に前記パターン孔を介して塗布するスキージとを備えたスクリーン印刷機において、
    前記支持ピンを支持する複数の支持孔が間隔を存して上下方向に形成された支持ブロックと、
    前記支持ピンを複数本同時に昇降させる昇降手段と、
    支持ブロックの上に設けられ、前記支持ブックに対して水平方向に相対的に移動可能で前記支持ピンに対して接近し、上昇した状態の前記支持ピンの支持部を下から同時に支持するベースと、
    水平方向及び上下方向に移動可能で、下降して所望の前記支持ピンを前記支持孔内に押し込む押込装置とを備えた基板支持装置を有した
    ことを特徴とするスクリーン印刷機。
  8. 前記支持ピンの下部には前記支持孔の側壁と接触するパッキンが設けられ、前記支持孔の下部と上部との何れか一方にエアを供給するエア供給源を備えたことを特徴とする請求項3又は7に記載の基板支持装置又はスクリーン印刷機。
  9. プリント基板を支持する複数の支持ピンと、パターン孔が形成されたスクリーンと、移動することにより前記スクリーン上の塗布剤をプリント基板上に前記パターン孔を介して塗布するスキージとを備えたスクリーン印刷機において、
    水平方向にスライド自在に設けられ、前記支持ピンを支持する複数の支持孔が間隔を存して上下方向に形成され、前記支持孔は前記支持ブロックの上部に形成されて前記支持ピンを上下にスライド自在に支持する上部孔とこの上部孔の下に形成され前記上部孔より断面積が大きい下部孔とから成り、この下部孔の上部と下部とにエア供給路が連通した支持ブロックと、
    下部に設けられ前記下部孔内にて上下にスライドするスライド部と、このスライド部の上に形成されスライド部より断面積が小さく前記下部孔の側壁との間に空間が形成されると共に上昇により前記上部孔内に摺動して収まる下中間部とこの下中間部の上に形成され、断面積が前記下中間部より小さい中央部と、この中央部の上に形成され前記下中間部と断面形状が等しい上中間部と、この上中間部の上に形成され前記上中間部より断面積が小さく括れた延在部とを備えた支持ピンと、
    支持ブロックの上に設けられ、前記支持ピンに対応して形成され前記上中間部に対応した昇降部とこの昇降部から連続して形成され前記支持ピンが上昇した状態で前記上中間部の下端を支持する支持部と備えた複数の貫通孔が形成されたベースと、
    水平方向及び上下方向に移動可能で、下降して前記支持ピンを前記支持孔内に押し込む押込ヘッドとを備えた基板支持装置を有した
    ことを特徴とするスクリーン印刷機
  10. 前記支持ピンのスライド部には前記下部孔内壁と接するパッキンが設けられたことを特徴とする請求項4又は9に記載の基板支持装置又はスクリーン印刷機。
  11. 前記支持ブロック及び前記ベースは複数の前記支持ピン毎に複数に分割され、前記昇降手段或いは前記エア供給路は分割された各支持ブロック毎に設けられていることを特徴とする請求項4又は9に記載の基板支持装置又はスクリーン印刷機。
  12. 前記ベースの上には、前記支持ピンに対応して貫通孔が形成されたシートが設けられたことを特徴とする請求項1乃至11に記載の基板支持装置又はスクリーン印刷機。
JP2008323008A 2008-12-18 2008-12-18 基板支持装置及びスクリーン印刷機 Pending JP2010143085A (ja)

Priority Applications (3)

Application Number Priority Date Filing Date Title
JP2008323008A JP2010143085A (ja) 2008-12-18 2008-12-18 基板支持装置及びスクリーン印刷機
EP09015569A EP2213454A3 (en) 2008-12-18 2009-12-16 Substrate supporting device and screen printer
CN2009102624507A CN101746112B (zh) 2008-12-18 2009-12-18 基板支承装置以及丝网印刷机

Applications Claiming Priority (1)

Application Number Priority Date Filing Date Title
JP2008323008A JP2010143085A (ja) 2008-12-18 2008-12-18 基板支持装置及びスクリーン印刷機

Publications (1)

Publication Number Publication Date
JP2010143085A true JP2010143085A (ja) 2010-07-01

Family

ID=42238634

Family Applications (1)

Application Number Title Priority Date Filing Date
JP2008323008A Pending JP2010143085A (ja) 2008-12-18 2008-12-18 基板支持装置及びスクリーン印刷機

Country Status (3)

Country Link
EP (1) EP2213454A3 (ja)
JP (1) JP2010143085A (ja)
CN (1) CN101746112B (ja)

Cited By (4)

* Cited by examiner, † Cited by third party
Publication number Priority date Publication date Assignee Title
JP2012074637A (ja) * 2010-09-29 2012-04-12 Hitachi High-Tech Instruments Co Ltd 支持ピンの段取り替え方法
JP2014099446A (ja) * 2012-11-13 2014-05-29 Yamaha Motor Co Ltd 基板処理装置及びバックアップピンの検査方法
WO2016195943A1 (en) * 2015-05-29 2016-12-08 Applied Materials, Inc. Grounding of conductive mask for deposition processes
WO2017187513A1 (ja) * 2016-04-26 2017-11-02 ヤマハ発動機株式会社 基板サポート装置、スクリーン印刷装置、塗布装置、表面実装機、及び、バックアップピン段取り方法

Families Citing this family (2)

* Cited by examiner, † Cited by third party
Publication number Priority date Publication date Assignee Title
CN103140054A (zh) * 2011-12-01 2013-06-05 上海广联电子有限公司 基板支承装置
CN114905842B (zh) * 2022-03-11 2025-08-19 伟创力电子技术(苏州)有限公司 一种用于dek印刷机的自动支撑机构

Citations (5)

* Cited by examiner, † Cited by third party
Publication number Priority date Publication date Assignee Title
JPH0722794A (ja) * 1993-06-30 1995-01-24 Taiho Seiki Co Ltd 板状部材の支持装置
JPH0722793A (ja) * 1993-06-30 1995-01-24 Matsushita Electric Ind Co Ltd 基板保持装置
JP2002335098A (ja) * 2001-05-10 2002-11-22 Matsushita Electric Ind Co Ltd 電子部品実装用装置における基板の下受け装置および下受けピンモジュールならびに基板の下受け方法
JP2008153457A (ja) * 2006-12-18 2008-07-03 Yamaha Motor Co Ltd バックアップピンのセッティング作業用治具、基板支持装置、表面実装機、クリーム半田印刷装置、基板検査装置及びバックアップピンのセッティング方法
JP2008235700A (ja) * 2007-03-22 2008-10-02 Koganei Corp ワーク支持装置

Family Cites Families (6)

* Cited by examiner, † Cited by third party
Publication number Priority date Publication date Assignee Title
JPH05335800A (ja) 1992-05-30 1993-12-17 Sony Corp プリント基板下受けピン設定装置
US6202999B1 (en) * 1997-02-14 2001-03-20 Dek Printing Machines Ltd. Workpiece support device
US6029966A (en) * 1998-10-13 2000-02-29 Hertz; Allen D. Flexible, self conforming, workpiece support system
JP4322340B2 (ja) 1999-01-21 2009-08-26 株式会社日立ハイテクインスツルメンツ スクリーン印刷機
JP4573692B2 (ja) * 2005-04-13 2010-11-04 ヤマハ発動機株式会社 基板支持装置および基板支持方法
JP4793987B2 (ja) * 2006-03-15 2011-10-12 富士機械製造株式会社 スクリーン印刷方法及びスクリーン印刷装置

Patent Citations (5)

* Cited by examiner, † Cited by third party
Publication number Priority date Publication date Assignee Title
JPH0722794A (ja) * 1993-06-30 1995-01-24 Taiho Seiki Co Ltd 板状部材の支持装置
JPH0722793A (ja) * 1993-06-30 1995-01-24 Matsushita Electric Ind Co Ltd 基板保持装置
JP2002335098A (ja) * 2001-05-10 2002-11-22 Matsushita Electric Ind Co Ltd 電子部品実装用装置における基板の下受け装置および下受けピンモジュールならびに基板の下受け方法
JP2008153457A (ja) * 2006-12-18 2008-07-03 Yamaha Motor Co Ltd バックアップピンのセッティング作業用治具、基板支持装置、表面実装機、クリーム半田印刷装置、基板検査装置及びバックアップピンのセッティング方法
JP2008235700A (ja) * 2007-03-22 2008-10-02 Koganei Corp ワーク支持装置

Cited By (5)

* Cited by examiner, † Cited by third party
Publication number Priority date Publication date Assignee Title
JP2012074637A (ja) * 2010-09-29 2012-04-12 Hitachi High-Tech Instruments Co Ltd 支持ピンの段取り替え方法
JP2014099446A (ja) * 2012-11-13 2014-05-29 Yamaha Motor Co Ltd 基板処理装置及びバックアップピンの検査方法
WO2016195943A1 (en) * 2015-05-29 2016-12-08 Applied Materials, Inc. Grounding of conductive mask for deposition processes
WO2017187513A1 (ja) * 2016-04-26 2017-11-02 ヤマハ発動機株式会社 基板サポート装置、スクリーン印刷装置、塗布装置、表面実装機、及び、バックアップピン段取り方法
JPWO2017187513A1 (ja) * 2016-04-26 2019-03-07 ヤマハ発動機株式会社 基板サポート装置、スクリーン印刷装置、塗布装置、表面実装機、及び、バックアップピン段取り方法

Also Published As

Publication number Publication date
CN101746112B (zh) 2012-06-27
CN101746112A (zh) 2010-06-23
EP2213454A3 (en) 2012-01-18
EP2213454A2 (en) 2010-08-04

Similar Documents

Publication Publication Date Title
US11007768B2 (en) Board work device having support member conveyance section for conveying board support member
JP6898248B2 (ja) ステンシルプリンターのためのリフトツールアセンブリ
JP2010143085A (ja) 基板支持装置及びスクリーン印刷機
CN105882121A (zh) 一种全自动丝印加工平台及其丝印工艺
KR20090064306A (ko) 스크린 인쇄기
EP3274173B1 (en) Stencil printer having stencil shuttle assembly
JP5305507B2 (ja) スクリーン印刷機の基板位置決め装置及び基板位置決め方法
JP2011189670A (ja) スクリーン印刷機及びスクリーン印刷機におけるマスク設置方法
JP4942624B2 (ja) スクリーン印刷装置の基板位置決め装置及び基板位置決め方法
JP2010082919A (ja) スクリーン印刷機及びスクリーン印刷方法
JP2002057498A (ja) 配線板作業システム
KR20110126581A (ko) 스크린 인쇄기 및 스크린 인쇄기의 클리닝 방법
KR20080022019A (ko) 전자동식 스크린 인쇄기
JPWO2017187513A1 (ja) 基板サポート装置、スクリーン印刷装置、塗布装置、表面実装機、及び、バックアップピン段取り方法
KR101628082B1 (ko) 실크 인쇄장치
JP2011073350A (ja) 基板支持装置及びスクリーン印刷機
JP5517784B2 (ja) 支持ピンの配置データ作成装置
JP2012074637A (ja) 支持ピンの段取り替え方法
JP4567510B2 (ja) 印刷装置およびステンシルの位置決め方法
JP2010188645A (ja) 基板支持装置、電子部品実装用装置、基板支持方法及び電子部品実装用装置による作業方法
TWI783104B (zh) 用於將黏性材料印刷於基板上的模板印刷機,運送系統,及模板印刷機的用來支撐並夾緊基板的方法
JP2006142646A (ja) スクリーン印刷機
JP5198143B2 (ja) 電子部品実装装置
WO2025074711A1 (ja) 印刷装置および搬送用治具
WO2024257252A1 (ja) 対基板作業機、支持ピン載置方法、および支持ピン

Legal Events

Date Code Title Description
A621 Written request for application examination

Free format text: JAPANESE INTERMEDIATE CODE: A621

Effective date: 20110131

A977 Report on retrieval

Free format text: JAPANESE INTERMEDIATE CODE: A971007

Effective date: 20120823

A131 Notification of reasons for refusal

Free format text: JAPANESE INTERMEDIATE CODE: A131

Effective date: 20120829

A521 Written amendment

Free format text: JAPANESE INTERMEDIATE CODE: A523

Effective date: 20121025

A02 Decision of refusal

Free format text: JAPANESE INTERMEDIATE CODE: A02

Effective date: 20130507