JP2010101401A - 締結部品及び環状スペーサ - Google Patents

締結部品及び環状スペーサ Download PDF

Info

Publication number
JP2010101401A
JP2010101401A JP2008272895A JP2008272895A JP2010101401A JP 2010101401 A JP2010101401 A JP 2010101401A JP 2008272895 A JP2008272895 A JP 2008272895A JP 2008272895 A JP2008272895 A JP 2008272895A JP 2010101401 A JP2010101401 A JP 2010101401A
Authority
JP
Japan
Prior art keywords
annular spacer
fastened
protrusion
annular
fastening
Prior art date
Legal status (The legal status is an assumption and is not a legal conclusion. Google has not performed a legal analysis and makes no representation as to the accuracy of the status listed.)
Granted
Application number
JP2008272895A
Other languages
English (en)
Other versions
JP4942724B2 (ja
Inventor
Shuji Yokoyama
修二 横山
Current Assignee (The listed assignees may be inaccurate. Google has not performed a legal analysis and makes no representation or warranty as to the accuracy of the list.)
Sansha Electric Manufacturing Co Ltd
Original Assignee
Sansha Electric Manufacturing Co Ltd
Priority date (The priority date is an assumption and is not a legal conclusion. Google has not performed a legal analysis and makes no representation as to the accuracy of the date listed.)
Filing date
Publication date
Application filed by Sansha Electric Manufacturing Co Ltd filed Critical Sansha Electric Manufacturing Co Ltd
Priority to JP2008272895A priority Critical patent/JP4942724B2/ja
Publication of JP2010101401A publication Critical patent/JP2010101401A/ja
Application granted granted Critical
Publication of JP4942724B2 publication Critical patent/JP4942724B2/ja
Active legal-status Critical Current
Anticipated expiration legal-status Critical

Links

Images

Landscapes

  • Connection Of Plates (AREA)
  • Bolts, Nuts, And Washers (AREA)

Abstract

【課題】 間隔の調整の仕方を複雑化させることなく、また、製造コストを増大させることなく、スペーサ間の位置合わせを容易化した締結部品を提供する。
【解決手段】 第1被締結物2及び第2被締結物3を締結する際に両被締結物間に重ね合わせた状態で配置される複数の環状スペーサ200と、第1被締結物2を貫通して環状スペーサ200に挿通させるカラー部110を有するブッシュ100とからなり、カラー部110及び環状スペーサ200を貫通するネジ4によって第1被締結物2及び第2被締結物3が締結される締結部品であって、環状スペーサ200が、一方の面201に設けられた突出部210と、他方の面202側に隣接配置される環状スペーサ200の突出部210を挿入させる挿入孔220と、他方の面202側に設けられ、締結時の押圧力によって突出部210を埋没させる埋没孔240とを備えて構成される。
【選択図】 図1

Description

本発明は、締結部品及び環状スペーサに係り、さらに詳しくは、被締結物間の間隔を調整するのに用いられる環状スペーサを含む締結部品の改良に関する。
基板にヒートシンクをネジ止めする際や電子機器の筐体に回路基板をネジ止めする際、これらの被締結物間の間隔を調整するのに環状のスペーサが用いられている。被締結物間の間隔を所望のものとするためには、所望の厚さのスペーサを使用するか、或いは、同じ厚さのスペーサを複数個重ね合わせて所望の厚さとすれば良い。
この様なスペーサには、間隔の調整の仕方が単純であり、低コストであることが要求される。しかしながら、様々な間隔に対応するために厚さの異なるスペーサを用意するのはコスト高となる。また、その様なスペーサを組み合わせて使用することでスペーサの種類を減らすこともできるが、種類の異なるスペーサを組み合わせるのは煩雑である。一方、同じ厚さのスペーサを重ね合わせて所望の厚さとする方法では、スペーサを重ね合わせる際に横ずれが生じ易く、スペーサ間の位置合わせが容易ではないという問題があった。
そこで、スペーサを重ね合わせる際の横ずれを防止するために、スペーサの一方の面から突出する突起と、他方の面側に隣接配置される他のスペーサの突起を挿入させる挿入孔とをスペーサに設けることが考えられる。しかし、突起を挿入孔に嵌め込むことによってスペーサ間の位置合わせは容易となるが、被締結物に隣接配置される最上段のスペーサの突起によって間隔調整に誤差を生じさせるという問題があった。
なお、特許文献1には、階段状に厚さを異ならせた2つのリングを組み合わせて使用することにより、部材間の間隔を調整する技術が開示されている。この特許文献1では、対向配置される2つのリングを相対的に周方向に回転させることによって、間隔が調整される。しかし、リング間の位置合わせが容易ではなく、また、周方向の回転によって所望の間隔とするのは煩雑である。
特開2007−278421号公報
本発明は、上記事情に鑑みてなされたものであり、間隔の調整の仕方を複雑化させることなく、また、製造コストを増大させることなく、スペーサ間の位置合わせを容易化した締結部品及び環状スペーサを提供することを目的とする。特に、同じ厚さの環状スペーサを重ね合わせて所望の厚さとする際の位置合わせを容易化した締結部品及び環状スペーサを提供することを目的とする。また、被締結物間の間隔調整に誤差を生じさせることなく、スペーサ間の位置合わせを容易化した締結部品及び環状スペーサを提供することを目的とする。
第1の本発明による締結部品は、第1被締結物及び第2被締結物を締結する際に両被締結物間に重ね合わせた状態で配置される2以上の環状スペーサと、第1被締結物を貫通して上記環状スペーサに挿通させるカラー部を有するブッシュとからなり、上記カラー部及び上記2以上の環状スペーサを貫通するネジによって第1被締結物及び第2被締結物が締結される締結部品であって、上記環状スペーサが、一方の面に設けられた突出部と、他方の面側に隣接配置される環状スペーサの上記突出部を挿入させる挿入孔と、上記他方の面側に設けられ、締結時の押圧力によって上記突出部を埋没させる埋没孔とを備えて構成される。
この様な構成によれば、環状スペーサが一方の面に設けられた突出部と、他方の面側に隣接配置される環状スペーサの突出部を挿入させる挿入孔とを有するので、突出部を挿入孔に嵌め込むことによってスペーサ間の位置合わせを容易化することができる。また、環状スペーサの他方の面側には、締結時の押圧力によって突出部を埋没させる埋没孔が設けられているので、被締結物に隣接配置される環状スペーサの突出部を当該被締結物からの押圧力によって埋没孔側へ移動させて埋没させることができる。従って、被締結物に隣接配置される環状スペーサの突出部が被締結物間の間隔調整に誤差を生じさせるのを抑制することができる。
第2の本発明による締結部品は、上記構成に加え、上記突出部の周囲の肉厚が、上記押圧力によって破断可能な厚さであるように構成される。この様な構成によれば、突出部が被締結物から押圧力を受けた際に突出部の周囲を破断させることができる。
第3の本発明による締結部品は、上記構成に加え、上記環状スペーサが、上記突出部の周囲に上記一方の面及び上記埋没孔の底面間よりも肉厚を薄くした肉薄部を備えて構成される。この様な構成によれば、突出部の周囲に肉厚を薄くした肉薄部が設けられているので、突出部が被締結物から押圧力を受けた際に突出部の周囲を破断し易くすることができる。
第4の本発明による締結部品は、上記構成に加え、上記突出部を取り囲む環状溝が形成されているように構成される。この様な構成によれば、突出部を取り囲む環状溝によって肉薄部が形成されるので、突出部の周囲を容易に破断させることができる。
第5の本発明による締結部品は、上記構成に加え、上記突出部の肉厚が、上記埋没孔の深さよりも薄いように構成される。この様な構成によれば、突出部の周囲の肉厚が環状スペーサの厚さに比べて十分に薄くなるので、突出部が被締結物から押圧力を受けた際に突出部の周囲を破断し易くすることができる。
第6の本発明による締結部品は、上記構成に加え、上記挿入孔が貫通孔であり、上記他方の面側に隣接配置される環状スペーサの上記挿入孔が上記埋没孔に対向するように各環状スペーサが配置され、上記挿入孔の内面に上記突出部を係止させるリブが設けられているように構成される。この様な構成によれば、挿入孔が貫通孔であるので、突出部を隣接する環状スペーサの挿入孔に嵌め込む際の位置合わせが容易となる。また、他方の面側に隣接配置される環状スペーサの挿入孔が埋没孔に対向するように各環状スペーサは配置されるが、挿入孔の内面には、突出部を係止させるリブが設けられているので、締結時に破断した突出部が挿入孔から抜け落ちるのを抑制することができる。
第7の本発明による締結部品は、上記構成に加え、上記リブが、環状スペーサの中心軸方向に形成されているように構成される。この様な構成によれば、挿入孔の内面のリブが中心軸方向に形成されているので、金型を用いて環状スペーサを成形する際に加工し易くすることができる。
第8の本発明による環状スペーサは、2個以上重ね合わせた状態で使用される環状スペーサであって、一方の面に設けられた突出部と、他方の面側に隣接配置される環状スペーサの上記突出部を挿入させる挿入孔と、上記他方の面側に設けられ、締結時の押圧力によって上記突出部を埋没させる埋没孔とを備えて構成される。
本発明による締結部品及び環状スペーサによれば、環状スペーサ一方の面に設けられた突出部と、他方の面側に隣接配置される環状スペーサの突出部を挿入させる挿入孔とを有するので、突出部を挿入孔に嵌め込むことによってスペーサ間の位置合わせを容易化することができる。従って、間隔の調整の仕方を複雑化させることなく、また、製造コストを増大させることなく、同じ厚さの環状スペーサを重ね合わせて所望の厚さとする際のスペーサ間の位置合わせを容易化することができる。
また、環状スペーサの他方の面側には、締結時の押圧力によって突出部を埋没させる埋没孔が設けられているので、被締結物に隣接配置される環状スペーサの突出部を当該被締結物からの押圧力によって埋没孔側へ移動させて埋没させることができる。従って、被締結物に隣接配置される環状スペーサの突出部が被締結物間の間隔調整に誤差を生じさせるのを抑制することができるので、被締結物間の間隔調整に誤差を生じさせることなく、スペーサ間の位置合わせを容易化した締結部品及び環状スペーサを実現することができる。
実施の形態1.
<締結部品>
図1は、本発明の実施の形態1による締結部品の概略構成の一例を示した斜視図であり、ブッシュ100及び2つの環状スペーサ200からなる締結部品1の締結前の様子が示されている。環状スペーサ200は、2つの被締結物を締結する際に両被締結物間の間隔を調整するのに用いられる環状の部品であり、両被締結物間に重ね合わせた状態で配置される。
ブッシュ100は、第1の被締結物を環状スペーサ200とは反対側から貫通して環状スペーサ200に挿通させるカラー部110と、締結時にカラー部110を貫通させるネジの頭部を収容する頭部収容孔130が形成された台座部120とを有する部品である。
カラー部110は、円筒形状からなり、その外周面と環状スペーサ200の内周面とが重なるようにして環状スペーサ200が装着される。
この環状スペーサ200は、一方の面、ここでは、第1の被締結物側の面に設けられた2つの突出部210と、他方の面側、すなわち、第2の被締結物側に隣接配置される環状スペーサ200の突出部210を挿入させる2つの挿入孔220と、第2の被締結物側に設けられ、締結時に第1の被締結物によって押圧された突出部210を埋没させる埋没孔240とを有する。
突出部210は、環状スペーサ200を重ね合わせる際の横ずれを防止するための円柱形状の突起であり、環状スペーサ200の中心軸に平行な方向に突出している。突出部210は、第1の被締結物側に隣接配置される他の環状スペーサ200の挿入孔220に挿入される。この挿入孔220は、環状スペーサ200を貫通する円形形状の貫通孔からなり、第2の被締結物側に隣接配置される他の環状スペーサ200の突出部210が挿入される。
この例では、突出部210及び挿入孔220が、それぞれ環状スペーサ200の中心軸に関して点対称な位置であって、互いに上記中心軸周りの回転移動に関して対称な位置に設けられている。すなわち、2つの突出部210は、上記中心軸に関して180度回転対称な位置に設けられている。また、2つの挿入孔220は、各突出部210を中心軸周りに所定量、この例では90度回転移動させた位置に設けられている。
ここでは、突出部210が形成されている面をブッシュ100に対向させて各環状スペーサ200が配置されるものとし、第2の被締結物側の環状スペーサが第1の被締結物側の環状スペーサに対して中心軸周りに90度回転移動させて配置されている。
<ブッシュ>
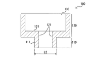
図2は、図1の締結部品1におけるブッシュ100の構成例を示した平面図である。また、図3は、図1の締結部品1におけるブッシュ100の構成例を示した断面図であり、図2のA−A線による切断面が示されている。このブッシュ100は、カラー部110及び台座部120により構成され、中央部には、ネジを貫通させるネジ孔121が形成されている。
締結時には、頭部収容孔130の底面131によってネジの頭部が係止される。カラー部110の外径L2は、台座部120の外径L1よりも小さくなっている。カラー部110の外周面111と環状スペーサ200の内周面とが重なるようにカラー部110を環状スペーサ200に嵌め込むことによって、環状スペーサ200がブッシュ100に装着される。
ここでは、ブッシュ100が、絶縁性及び耐熱性が高い合成樹脂によって形成されるものとする。例えば、フィラーが添加されたPBT(ポリブチレンテレフタレート)樹脂、又は、PPS(ポリフェニレンサルファイド)樹脂によって形成される。
<環状スペーサ>
図4は、図1の締結部品1における環状スペーサ200の構成例を示した平面図である。また、図5は、図1の締結部品1における環状スペーサ200の構成例を示した断面図であり、図4のB−B線による切断面が示されている。この環状スペーサ200は、薄型の円環形状の平面板に2つの突出部210及び2つの挿入孔220が形成されており、被締結物間の間隔に応じて、1個又は2個以上使用される。
ブッシュ100のカラー部110が嵌め込まれる環状スペーサ200の内径L5は、カラー部110の外径L2と略一致しており、内周面230には、抜け落ち防止用のリブ231が設けられている。
リブ231は、環状スペーサ200の中心軸に平行な方向、すなわち、厚さ方向に形成された線状の突出部となっている。ここでは、周方向の間隔が等間隔となるように複数のリブ231が形成されるものとする。この例では、環状スペーサ200の中心軸に関して120度間隔でリブ231が形成されている。この様なリブ231を内周面230上に設けたことにより、カラー部110と嵌合状態にある環状スペーサ200が中心軸方向に抜け落ちるのを防止することができる。
環状スペーサ200の外径L3は、ブッシュ100の台座部120の外径L1と略一致している。環状スペーサ200の外径L3及び台座部120の外径L1を略一致させたことにより、締結時に第1の被締結物に加えられる押圧力がブッシュ100によって分散されるので、第1の被締結物に隣接配置された環状スペーサ200の各突出部210に当該被締結物から作用する押圧力を均等にすることができる。
各突出部210の周囲には、当該突出部210を取り囲む環状溝211が形成されている。この環状溝211は、突出部210が第1の被締結物によって押圧された際に、第1の被締結物からの押圧力によって突出部210の周囲を破断させるための肉薄部を形成しており、環状スペーサ200の第1の被締結物側の面201に突出部210の周方向に形成されている。
挿入孔220の直径L4は、突出部210の直径L6と略一致している。この挿入孔220の内面には、突出部210を係止させるためのリブ221が設けられている。
リブ221は、環状スペーサ200の中心軸に平行な方向、すなわち、厚さ方向に形成された線状の隆起部となっている。ここでは、環状スペーサ200の中心軸に最も近い位置にリブ221が形成されている。
この様なリブ221を各挿入孔220の内面上に設けたことにより、挿入孔220と嵌合状態にある突出部210が中心軸方向に抜け落ちるのを防止することができ、重ね合わせた複数の環状スペーサ200をブッシュ100に装着する際の作業性を向上させることができる。
締結時に第1の被締結物によって押圧された突出部210を埋没させる埋没孔240は、環状スペーサ200の第2の被締結物側の面202に設けられている。埋没孔240の直径L9は、突出部210の直径L6よりも大きくなっている。また、埋没孔240の深さL10は、突出部210の面201からの高さL8よりも大きくなっている。
ここでは、突出部210の高さL8が、環状スペーサ200の厚さL7、すなわち、面201及び202間の距離よりも小さいものとする。また、埋没孔240の深さL10は、突出部210の肉厚(L8+L7−L10)よりも浅くても良いが、突出部210が第1の被締結物から押圧された際に突出部210周辺を破断させ易くするという観点からは、突出部210の肉厚よりも深くするのが望ましい。
ここでは、環状スペーサ200が、絶縁性及び耐熱性が高い合成樹脂によって形成されるものとする。例えば、ブッシュ100と同じ樹脂を用いて形成される。
図6は、図5の環状スペーサ200の要部を拡大して示した断面図であり、突出部210周辺の様子が示されている。突出部210の周囲の肉厚は、第1の被締結物からの押圧力によって破断可能な厚さであれば良い。
この例では、突出部210の周囲に環状溝211を設けることによって、突出部210の周囲に環状スペーサ200の第1の被締結物側の面201と埋没孔240の底面241との間の距離L11よりも肉厚が薄くなった肉薄部が形成されている。環状溝211の断面は、環状スペーサ200の厚さ方向に切り込まれた切り欠き形状からなる。特に、突出部210側が断面V字形状に切り込まれている。
締結時に突出部210が第1の被締結物によって下方向に押圧されれば、突出部210の埋没孔240側への移動によって上記肉薄部に応力が集中することとなる。その際、第1の被締結物側に左右から押し縮める力が作用するのに対して、埋没孔240の底面241側には左右に引き伸ばす力が作用する。これにより、突出部210周辺が破断し、当該突出部は埋没孔240内に収容される。
図7(a)及び(b)は、図5の環状スペーサ200を重ね合わせた際の様子を示した断面図であり、図7(a)には、第1の被締結物側の環状スペーサ200の突出部210周辺が示され、図7(b)には、第1の被締結物側の環状スペーサ200の挿入孔220周辺が示されている。
第1の被締結物側、すなわち、上側の環状スペーサ200に対して、下側に隣接配置される環状スペーサ200は、重ね合わせる際に、中心軸周りに90度回転移動させる必要がある。
突出部210及び挿入孔220が、それぞれ環状スペーサ200の中心軸に関して点対称な位置に設けられ、互いに中心軸周りの回転移動に関して対称であれば、上側のスペーサの突出部210と、下側のスペーサの挿入孔220とは必ず対向することとなる。また、上側のスペーサの挿入孔220と、下側のスペーサの突出部210とは必ず対向することとなる。
下側のスペーサの突出部210を上側のスペーサの挿入孔220に嵌め込んだ際、挿入孔220内のリブ221によって突出部210が抜けにくくなっているので、重ね合わせて連結した状態のスペーサが分離してしまうのを防止することができる。
<締結構造>
図8は、図1の締結部品1を含む締結構造の一例を示した断面図であり、ブッシュ100のカラー部110及び2つの環状スペーサ200を貫通するネジ4によって第1被締結物2及び第2被締結物3を締結する締結構造が示されている。第1被締結物2は、例えば、電子機器内の基板であり、ヒートシンクなどの第2被締結物3が固定されている。
連結された環状スペーサ200は、第1被締結物2を環状スペーサ200とは反対側から貫通させたブッシュ100のカラー部110に嵌合される。そして、カラー部110及び環状スペーサ200を貫通させたネジ4を第2被締結物3に螺合させることによって、第1被締結物2及び第2被締結物3が締結される。第1被締結物2及び第2被締結物3間の間隔は、環状スペーサ200の2個分の厚さL7×2となっている。
図9は、図8の締結構造の要部を拡大して示した図であり、第1被締結物2に隣接配置された環状スペーサ200の突出部210周辺の様子が示されている。締結時にネジ4を締め付けると、ネジ4の頭部がブッシュ100の底面131に押圧力を及ぼす。この押圧力は、ブッシュ100を介して第1被締結物2に及ぼされ、第1被締結物2及び第2被締結物3間に挟まれた環状スペーサ200に作用することとなる。
第1被締結物2に隣接配置される上側の環状スペーサ200の場合、環状スペーサ200の第1被締結物2側の面201から突出している突出部210は、締結時に第1被締結物2から下方向の押圧力が加えられる。この押圧力によって突出部210の周辺が破断し、当該突出部210は、埋没孔240内に収容されることとなる。
この例では、埋没孔240の底面241側における最も肉厚の薄いところから破断している。
上側のスペーサの突出部210の直下には、下側のスペーサの挿入孔220が位置しているが、挿入孔220内に設けられたリブ221により、破断してスペーサから離脱した突出部210が当該挿入孔220から抜け落ちるのが防止される。
本実施の形態によれば、環状スペーサ200が一方の面201に設けられた突出部210と、他方の面202側に隣接配置される環状スペーサ200の突出部210を挿入させる挿入孔220とを有するので、突出部210を挿入孔220に嵌め込むことによってスペーサ間の位置合わせを容易化することができる。また、環状スペーサ200の面202側には、締結時の押圧力によって突出部210を埋没させる埋没孔240が設けられているので、被締結物に隣接配置される環状スペーサ200の突出部210を当該被締結物からの押圧力によって埋没孔240側へ移動させて埋没させることができる。従って、被締結物に隣接配置される環状スペーサ200の突出部210が被締結物間の間隔調整に誤差を生じさせるのを抑制することができる。
実施の形態2.
実施の形態1では、突出部210を取り囲む環状溝211が環状スペーサ200の第1被締結物2側の面201に設けられる場合の例について説明した。これに対して、本実施の形態では、肉薄部を形成するための環状溝を埋没孔の底面に設ける場合について説明する。
図10は、本発明の実施の形態2による締結部品の一構成例を示した断面図であり、埋没孔440の底面441に環状溝411が設けられた環状スペーサ400が示されている。この環状スペーサ400では、埋没孔440の底面441に、突出部410を取り囲む環状溝411が形成されている。
この環状溝411の断面は、底面441を厚さ方向、すなわち、環状スペーサ400の中心軸に平行な方向に切り込まれた切り欠き形状からなる。
突出部410の周囲にこの様な環状溝411を設けることによって、突出部410の周囲に環状スペーサ400の第1被締結物2側の面と埋没孔440の底面441との間の距離よりも肉厚が薄くなった肉薄部を形成することができる。
実施の形態3.
実施の形態1では、環状溝211が環状スペーサ200の第1被締結物2側の面201に設けられる場合の例について説明した。これに対して、本実施の形態では、環状溝に沿って複数の貫通孔を設ける場合について説明する。
図11は、本発明の実施の形態3による締結部品の一構成例を示した平面図であり、複数の貫通孔512が突出部510周囲の環状溝511に沿って設けられた環状スペーサ500が示されている。環状スペーサ500を厚さ方向に貫通する各貫通孔512は、突出部510の周方向に等間隔に配置されている。
この様な貫通孔512を突出部510の周囲の肉薄部に設けることによって、突出部510が第1被締結物2から押圧された際に突出部510周辺をさらに破断させ易くすることができる。
なお、実施の形態1から3では、環状スペーサに突出部及び挿入孔が2つずつ設けられ、それぞれが環状スペーサの中心軸に関して点対称な位置であって、互いに中心軸周りの回転移動に関して対称な位置に設けられる場合の例について説明したが、本発明はこれに限られるものではない。例えば、突出部及び挿入孔を1つずつ設けるものや、それぞれ3以上設けるものであっても良い。
図12(a)〜(c)は、本発明のその他の実施の形態による締結部品の構成例を示した平面図であり、環状スペーサ600〜800が示されている。図12(a)には、環状スペーサ600に突出部610及び挿入孔620を1つずつ設ける場合が示されている。突出部610及び挿入孔620は、環状スペーサ600の中心軸に関して互いに点対称な位置に設けられている。
突出部610の周囲には、突出部610を取り囲む環状溝611が形成されている。また、隣接配置される他の環状スペーサ600の突出部610を挿入させる挿入孔620の内面には、抜け落ち防止用のリブ621が設けられている。
図12(b)には、環状スペーサ700の中心軸に関して互いに点対称な位置に突出部710及び挿入孔720を2つずつ設ける場合が示されている。2つの突出部710は、互いに反対方向に角度θだけ回転移動させた位置に形成されている。また、2つの挿入孔720は、各突出部710を中心軸周りに180度だけ回転移動させた位置に形成されている。
突出部710の周囲には、突出部710を取り囲む環状溝711が形成されている。また、隣接配置される他の環状スペーサ700の突出部710を挿入させる挿入孔720の内面には、抜け落ち防止用のリブ721が設けられている。
図12(c)には、環状スペーサ800の中心軸に関して互いに点対称な位置に突出部810及び挿入孔820を3つずつ設ける場合が示されている。3つの突出部810は、中心軸周りの角度120度ごとに形成されている。また、3つの挿入孔820は、各突出部810を中心軸周りに180度だけ回転移動させた位置に形成されている。
突出部810の周囲には、突出部810を取り囲む環状溝811が形成されている。また、隣接配置される他の環状スペーサ800の突出部810を挿入させる挿入孔820の内面には、抜け落ち防止用のリブ821が設けられている。
また、実施の形態1〜3では、突出部の周囲に環状溝による肉薄部が設けられる場合の例について説明したが、本発明はこれに限られるものではない。例えば、突出部の周囲の肉厚が締結時の押圧力によって破断可能な厚さであれば、突出部の周囲に環状スペーサの第1被締結物側の面及び埋没孔の底面間よりも肉厚を薄くした肉薄部を有しないものも本発明には含まれる。
また、実施の形態1〜3では、挿入孔の内面に突出部を係止させるリブが設けられる場合の例について説明したが、本発明はこれに限られるものではない。例えば、突出部が挿入孔から抜け落ちるのを防止する目的で、突出部の周面上にリブを設けるような構成であっても良い。
また、実施の形態1〜3では、突出部及び挿入孔が同じ個数設けられる場合の例について説明したが、本発明はこれに限られるものではなく、ダミーの挿入孔があっても良い。
また、実施の形態1〜3では、締結時の押圧力によって突出部の周囲が破断して当該突出部が埋没孔内に収容される場合の例について説明したが、本発明はこれに限られるものではない。例えば、突出部周辺が変形することによって当該突出部を埋没孔内に収容させるものも本発明には含まれる。
また、実施の形態1〜3では、環状スペーサの突出部及び挿入孔が円形形状からなる場合の例について説明したが、本発明はこれに限定するものではなく、突出部と挿入孔との嵌合が行えるものであれば、その形状は問わない。例えば、楕円形、多角形、星形などの形状であっても良い。
本発明の実施の形態1による締結部品の概略構成の一例を示した斜視図であり、締結部品1の締結前の様子が示されている。 図1の締結部品1におけるブッシュ100の構成例を示した平面図である。 図1の締結部品1におけるブッシュ100の構成例を示した断面図であり、図2のA−A線による切断面が示されている。 図1の締結部品1における環状スペーサ200の構成例を示した平面図である。 図1の締結部品1における環状スペーサ200の構成例を示した断面図であり、図4のB−B線による切断面が示されている。 図5の環状スペーサ200の要部を拡大して示した断面図であり、突出部210周辺の様子が示されている。 図5の環状スペーサ200を重ね合わせた際の様子を示した断面図である。 図1の締結部品1を含む締結構造の一例を示した断面図であり、カラー部110を貫通するネジ4によって被締結物2及び3を締結する締結構造が示されている。 図8の締結構造の要部を拡大して示した図であり、第1被締結物2に隣接配置された環状スペーサ200の突出部210周辺の様子が示されている。 本発明の実施の形態2による締結部品の一構成例を示した断面図であり、埋没孔の底面441に環状溝411が設けられた環状スペーサ400が示されている。 本発明の実施の形態3による締結部品の一構成例を示した平面図であり、貫通孔512が環状溝511に沿って設けられた環状スペーサ500が示されている。 本発明のその他の実施の形態による締結部品の構成例を示した平面図であり、環状スペーサ600〜800が示されている。
符号の説明
1 締結部品
2 第1被締結物
3 第2被締結物
4 ネジ
100 ブッシュ
110 カラー部
120 台座部
130 頭部収容孔
200 環状スペーサ
210 突出部
211 環状溝
220 挿入孔
221 リブ
230 内周面
231 リブ
240 埋没孔
400〜800 環状スペーサ
410〜810 突出部
411〜811 環状溝
620〜820 挿入孔

Claims (8)

  1. 第1被締結物及び第2被締結物を締結する際に両被締結物間に重ね合わせた状態で配置される2以上の環状スペーサと、第1被締結物を貫通して上記環状スペーサに挿通させるカラー部を有するブッシュとからなり、
    上記カラー部及び上記2以上の環状スペーサを貫通するネジによって第1被締結物及び第2被締結物が締結される締結部品において、
    上記環状スペーサが、一方の面に設けられた突出部と、
    他方の面側に隣接配置される環状スペーサの上記突出部を挿入させる挿入孔と、
    上記他方の面側に設けられ、締結時の押圧力によって上記突出部を埋没させる埋没孔とを備えたことを特徴とする締結部品。
  2. 上記突出部の周囲の肉厚が、上記押圧力によって破断可能な厚さであることを特徴とする請求項1に記載の締結部品。
  3. 上記環状スペーサが、上記突出部の周囲に上記一方の面及び上記埋没孔の底面間よりも肉厚を薄くした肉薄部を備えたことを特徴とする請求項1に記載の締結部品。
  4. 上記突出部を取り囲む環状溝が形成されていることを特徴とする請求項3に記載の締結部品。
  5. 上記突出部の肉厚が、上記埋没孔の深さよりも薄いことを特徴とする請求項1に記載の締結部品。
  6. 上記挿入孔が貫通孔であり、上記他方の面側に隣接配置される環状スペーサの上記挿入孔が上記埋没孔に対向するように各環状スペーサが配置され、
    上記挿入孔の内面に上記突出部を係止させるリブが設けられていることを特徴とする請求項1に記載の締結部品。
  7. 上記リブが、環状スペーサの中心軸方向に形成されていることを特徴とする請求項6に記載の締結部品。
  8. 2個以上重ね合わせた状態で使用される環状スペーサにおいて、
    一方の面に設けられた突出部と、
    他方の面側に隣接配置される環状スペーサの上記突出部を挿入させる挿入孔と、
    上記他方の面側に設けられ、締結時の押圧力によって上記突出部を埋没させる埋没孔とを備えたことを特徴とする環状スペーサ。
JP2008272895A 2008-10-23 2008-10-23 締結部品及び環状スペーサ Active JP4942724B2 (ja)

Priority Applications (1)

Application Number Priority Date Filing Date Title
JP2008272895A JP4942724B2 (ja) 2008-10-23 2008-10-23 締結部品及び環状スペーサ

Applications Claiming Priority (1)

Application Number Priority Date Filing Date Title
JP2008272895A JP4942724B2 (ja) 2008-10-23 2008-10-23 締結部品及び環状スペーサ

Publications (2)

Publication Number Publication Date
JP2010101401A true JP2010101401A (ja) 2010-05-06
JP4942724B2 JP4942724B2 (ja) 2012-05-30

Family

ID=42292222

Family Applications (1)

Application Number Title Priority Date Filing Date
JP2008272895A Active JP4942724B2 (ja) 2008-10-23 2008-10-23 締結部品及び環状スペーサ

Country Status (1)

Country Link
JP (1) JP4942724B2 (ja)

Cited By (4)

* Cited by examiner, † Cited by third party
Publication number Priority date Publication date Assignee Title
JP2013251308A (ja) * 2012-05-30 2013-12-12 Sansha Electric Mfg Co Ltd シールドケース
JP2014098446A (ja) * 2012-11-15 2014-05-29 Tokai Rubber Ind Ltd 防振装置
JP2014170024A (ja) * 2013-03-01 2014-09-18 Oki Data Corp 現像剤収容体、現像装置、画像形成装置、ピン構造体及びピン構造体の加工方法
EP4148289B1 (fr) * 2021-09-13 2025-10-29 Airbus Operations (S.A.S.) Elément intercalaire prédécoupé permettant d'obtenir une rondelle intercalaire positionnée entre des pièces d'un assemblage et procédé d'assemblage d'au moins deux pièces utilisant au moins un tel élément intercalaire prédécoupé

Citations (3)

* Cited by examiner, † Cited by third party
Publication number Priority date Publication date Assignee Title
JPS5755995A (en) * 1980-09-19 1982-04-03 Neos Co Ltd Emulsified fuel
JPS634423A (ja) * 1986-06-25 1988-01-09 Hitachi Maxell Ltd 磁気記録媒体の製造方法
JPH1147852A (ja) * 1997-07-25 1999-02-23 Press Kogyo Co Ltd 合成樹脂成形品のスペーサー取付構造およびその工法

Patent Citations (3)

* Cited by examiner, † Cited by third party
Publication number Priority date Publication date Assignee Title
JPS5755995A (en) * 1980-09-19 1982-04-03 Neos Co Ltd Emulsified fuel
JPS634423A (ja) * 1986-06-25 1988-01-09 Hitachi Maxell Ltd 磁気記録媒体の製造方法
JPH1147852A (ja) * 1997-07-25 1999-02-23 Press Kogyo Co Ltd 合成樹脂成形品のスペーサー取付構造およびその工法

Cited By (4)

* Cited by examiner, † Cited by third party
Publication number Priority date Publication date Assignee Title
JP2013251308A (ja) * 2012-05-30 2013-12-12 Sansha Electric Mfg Co Ltd シールドケース
JP2014098446A (ja) * 2012-11-15 2014-05-29 Tokai Rubber Ind Ltd 防振装置
JP2014170024A (ja) * 2013-03-01 2014-09-18 Oki Data Corp 現像剤収容体、現像装置、画像形成装置、ピン構造体及びピン構造体の加工方法
EP4148289B1 (fr) * 2021-09-13 2025-10-29 Airbus Operations (S.A.S.) Elément intercalaire prédécoupé permettant d'obtenir une rondelle intercalaire positionnée entre des pièces d'un assemblage et procédé d'assemblage d'au moins deux pièces utilisant au moins un tel élément intercalaire prédécoupé

Also Published As

Publication number Publication date
JP4942724B2 (ja) 2012-05-30

Similar Documents

Publication Publication Date Title
JP4942724B2 (ja) 締結部品及び環状スペーサ
JP5872000B1 (ja) 同軸コネクタ
US10439478B2 (en) Rotor for rotary electric machine
US20120028509A1 (en) Fixing structure for fixing metal plate and bolt to synthetic resin member
JP6378660B2 (ja) ステータ構造およびレゾルバ
JP2010232334A (ja) 半導体装置及びその製造方法
JP2019012715A (ja) コイル部品
WO2014054460A1 (ja) プリント基板の固定構造
CN1606192B (zh) 使用一对螺钉部件的固定结构及具备该结构的天线装置
JP2017025994A (ja) 締結装置
JP2019195003A (ja) 電子部品実装体および電子制御装置、ならびにサーボモータ
JP2010225929A (ja) 基板固定方法および基板固定具
JP2008185414A (ja) ノックセンサ
JP2006337367A (ja) エンコーダ用のサーボクリートとサーボクリートをもつエンコーダ
JP2008078438A (ja) プリント基板の取付構造
JP2009283375A (ja) アース端子の車体固定構造
JP5952062B2 (ja) 樹脂成型品の取付構造
JP2005180511A (ja) インサートナット
JP5813142B2 (ja) コンデンサ
JP2019044892A (ja) 締結部材を使用する締結構造、及び締結部材を使用する締結方法
JP2025119814A (ja) 電子ユニット及び電子ユニットの製造方法
KR20100126931A (ko) 체결유닛
JP6835609B2 (ja) バッテリー端子
JP2015098898A (ja) 座金一体型ナット
JP2006228682A (ja) 端子金具の取付構造

Legal Events

Date Code Title Description
A621 Written request for application examination

Free format text: JAPANESE INTERMEDIATE CODE: A621

Effective date: 20110418

A977 Report on retrieval

Free format text: JAPANESE INTERMEDIATE CODE: A971007

Effective date: 20120223

TRDD Decision of grant or rejection written
A01 Written decision to grant a patent or to grant a registration (utility model)

Free format text: JAPANESE INTERMEDIATE CODE: A01

Effective date: 20120228

A01 Written decision to grant a patent or to grant a registration (utility model)

Free format text: JAPANESE INTERMEDIATE CODE: A01

A61 First payment of annual fees (during grant procedure)

Free format text: JAPANESE INTERMEDIATE CODE: A61

Effective date: 20120228

R150 Certificate of patent or registration of utility model

Free format text: JAPANESE INTERMEDIATE CODE: R150

Ref document number: 4942724

Country of ref document: JP

Free format text: JAPANESE INTERMEDIATE CODE: R150

FPAY Renewal fee payment (event date is renewal date of database)

Free format text: PAYMENT UNTIL: 20150309

Year of fee payment: 3

R250 Receipt of annual fees

Free format text: JAPANESE INTERMEDIATE CODE: R250

R250 Receipt of annual fees

Free format text: JAPANESE INTERMEDIATE CODE: R250

R250 Receipt of annual fees

Free format text: JAPANESE INTERMEDIATE CODE: R250

R250 Receipt of annual fees

Free format text: JAPANESE INTERMEDIATE CODE: R250

R250 Receipt of annual fees

Free format text: JAPANESE INTERMEDIATE CODE: R250

R250 Receipt of annual fees

Free format text: JAPANESE INTERMEDIATE CODE: R250

R250 Receipt of annual fees

Free format text: JAPANESE INTERMEDIATE CODE: R250

R250 Receipt of annual fees

Free format text: JAPANESE INTERMEDIATE CODE: R250

R250 Receipt of annual fees

Free format text: JAPANESE INTERMEDIATE CODE: R250

R250 Receipt of annual fees

Free format text: JAPANESE INTERMEDIATE CODE: R250

R250 Receipt of annual fees

Free format text: JAPANESE INTERMEDIATE CODE: R250