JP2010100898A - 処理液槽のゲート装置 - Google Patents

処理液槽のゲート装置 Download PDF

Info

Publication number
JP2010100898A
JP2010100898A JP2008273228A JP2008273228A JP2010100898A JP 2010100898 A JP2010100898 A JP 2010100898A JP 2008273228 A JP2008273228 A JP 2008273228A JP 2008273228 A JP2008273228 A JP 2008273228A JP 2010100898 A JP2010100898 A JP 2010100898A
Authority
JP
Japan
Prior art keywords
gate
tank
tube
workpiece
gate device
Prior art date
Legal status (The legal status is an assumption and is not a legal conclusion. Google has not performed a legal analysis and makes no representation as to the accuracy of the status listed.)
Granted
Application number
JP2008273228A
Other languages
English (en)
Other versions
JP5398223B2 (ja
Inventor
Tetsuro Uemura
哲朗 植村
Kazuya Miyoshi
和也 三好
Tadaaki Narata
忠昭 奈良田
Current Assignee (The listed assignees may be inaccurate. Google has not performed a legal analysis and makes no representation or warranty as to the accuracy of the list.)
C Uyemura and Co Ltd
Original Assignee
C Uyemura and Co Ltd
Priority date (The priority date is an assumption and is not a legal conclusion. Google has not performed a legal analysis and makes no representation as to the accuracy of the date listed.)
Filing date
Publication date
Application filed by C Uyemura and Co Ltd filed Critical C Uyemura and Co Ltd
Priority to JP2008273228A priority Critical patent/JP5398223B2/ja
Priority to TW098134970A priority patent/TWI441951B/zh
Priority to CN200910208078.1A priority patent/CN101724883B/zh
Priority to KR1020090100996A priority patent/KR101573939B1/ko
Publication of JP2010100898A publication Critical patent/JP2010100898A/ja
Application granted granted Critical
Publication of JP5398223B2 publication Critical patent/JP5398223B2/ja
Expired - Fee Related legal-status Critical Current
Anticipated expiration legal-status Critical

Links

Images

Classifications

    • CCHEMISTRY; METALLURGY
    • C25ELECTROLYTIC OR ELECTROPHORETIC PROCESSES; APPARATUS THEREFOR
    • C25DPROCESSES FOR THE ELECTROLYTIC OR ELECTROPHORETIC PRODUCTION OF COATINGS; ELECTROFORMING; APPARATUS THEREFOR
    • C25D21/00Processes for servicing or operating cells for electrolytic coating
    • C25D21/11Use of protective surface layers on electrolytic baths
    • CCHEMISTRY; METALLURGY
    • C25ELECTROLYTIC OR ELECTROPHORETIC PROCESSES; APPARATUS THEREFOR
    • C25DPROCESSES FOR THE ELECTROLYTIC OR ELECTROPHORETIC PRODUCTION OF COATINGS; ELECTROFORMING; APPARATUS THEREFOR
    • C25D17/00Constructional parts, or assemblies thereof, of cells for electrolytic coating

Landscapes

  • Chemical & Material Sciences (AREA)
  • Engineering & Computer Science (AREA)
  • Chemical Kinetics & Catalysis (AREA)
  • Electrochemistry (AREA)
  • Materials Engineering (AREA)
  • Metallurgy (AREA)
  • Organic Chemistry (AREA)
  • Chemically Coating (AREA)
  • Electroplating Methods And Accessories (AREA)
  • Manufacturing Of Printed Wiring (AREA)

Abstract

【課題】長期間、密封性を高く維持し、駆動機構を簡素化し、かつ、処理液による駆動機構の機能低下を防止できる処理液槽のゲート装置を提供する。
【解決手段】板状ワークが通過可能なワーク通過口88を開閉する可動ゲート部材93と、可動ゲート部材93を、ワーク通過口88を閉じる閉位置とワーク通過口88を開く開位置との間で位置変更可能に移動させる駆動機構94とを備えている。駆動機構94は、可動ゲート部材93と一体的に移動するスライド部93aと、該スライド部93aの移動方向の両側に配置された膨張収縮可能な一対のチューブ部材101,102とを備えている。一方のチューブ部材101を膨張させると共に他方のチューブ部材102を収縮させることにより、可動ゲート部材93を開位置へ移動させ、一方のチューブ部材101を収縮させると共に他方のチューブ部材102を膨張させることにより、可動ゲート部材93を閉位置へ移動させる。
【選択図】図6

Description

本発明は、電気めっき装置等のように、めっき液等の処理液を貯留可能な処理液槽に設けられるゲート装置に関し、特に、ワーク搬送装置により垂直状態で保持された板状ワークを、昇降させることなく処理液槽内に搬入し又は搬出することができるワーク通過口を開閉自在に有する処理液槽のゲート装置に関する。
処理液槽のワーク通過用のゲート装置として、特許文献1及び2に記載された装置がある。これらのゲート装置は、板状ワークが垂直姿勢で通過可能なスリット状のワーク通過口と、該ワーク通過口を開閉するスライド可能な板状のゲート板部材とを備えると共に、該ゲート部材を開位置と閉位置との間で移動させるために、モータ及び減速ギヤ機構を有する機械的な駆動機構を備えている。
しかし、上記従来技術では、モータや減速ギヤ機構等で機械的にゲート部材を駆動する駆動機構にコストがかかり、また、駆動機構が処理液に浸漬するのを防ぐためのシール構造も複雑になる。
これらの従来構造に対し、本件出願人は、膨張伸縮自在な袋状のゲート部材を備えたゲート装置を開発しており(特許文献3)、これにより、ゲート部材及びその駆動機構の構造を簡素化し、コストを低減すると共に、処理液に浸漬することによる不具合を解消している。
特開2004−99957号公報 特開2002−327296号公報 特開2007−113066号公報
特許文献3のゲート装置は、袋状のゲート部材により、ワーク通過口を直接開閉する構成であり、しかも、袋状のゲート部材の一部の側面を、ゲート部材支持壁の隙間から膨出させて、ワーク通過口を閉じるように構成しているので、ゲート装置の開閉の度に、袋状ゲート部材が前記隙間の内面と擦れ合い、それがゲート部材の寿命を低下させる原因となっている。また、袋状ゲート部材同士の密着でワーク通過口を閉じているので、長期間の使用に対し、ワーク通過口の全長に亘って密封状態を維持するのは困難であった。
本発明の目的は、ゲート部材の駆動機構として、膨張収縮可能な一対のチューブ部材を用いることにより、長期間、密封性を高く維持し、駆動機構を簡素化し、かつ、処理液による駆動機構の機能低下を防止できるようにすることである。
コストを低減することである。
前記課題を解決するため、本発明は、板状ワークが通過可能なワーク通過口を有する処理液槽のゲート装置において、上記ワーク通過口を閉じる閉位置と上記ワーク通過口を開く開位置との間で位置変更可能な可動ゲート部材と、前記可動ゲート部材を閉位置と開位置との間で移動させる駆動機構と、を備え、該駆動機構は、前記可動ゲート部材と一体的に移動するスライド部と、該スライド部の移動方向の両側に配置された膨張収縮可能な一対のチューブ部材と、を備え、一方のチューブ部材を膨張させると共に他方のチューブ部材を収縮させることにより、前記スライド部と共に可動ゲート部材を開位置へ移動させ、一方のチューブ部材を収縮させると共に他方のチューブ部材を膨張させることにより、前記スライド部と共に可動ゲート部材を閉位置へ移動させるように、構成されている。
上記構成によると、従来のように、ワークを垂直状態又は水平状態で保持して、ワークを昇降させることなく浸漬槽に導入又は搬出できることはもとより、可動ゲート部材の駆動機構を簡素化し、コストの低減を達成することができる。しかも、駆動機構が処理液に浸漬しても、駆動機構の機能低下の虞がない。
本発明は、上記構成において、好ましくは、前記チューブ部材は、弾性材でできている。
上記構成によると、空圧等を利用して両チューブ部材を膨張及び収縮させるので、可動両ゲート部材の移動を敏速に行うことができ、開閉制御の応答性が向上する。また、何らかの原因により、開閉途中でゲート部材が停止した場合、仮にチューブ部材の膨張動作が継続していても、チューブ部材自体の弾性により、チューブ部材の破損を防ぐことができる。
本発明は、上記構成において、前記ゲート部材及び前記駆動機構を支持するゲート装置本体は、前記処理液槽の縦壁に、着脱自在に取り付けられている。
上記構成によると、処理液槽からゲート装置を取り外すことにより、ゲート装置のメンテナンス及び清掃を容易に行うことができる。また、ゲート装置を、ワークの形状に合わせた仕様のものに、交換することもできる。
本発明は、上記着脱自在なゲート装置本体を備えた構成において、前記縦壁には、ゲート装置本体取付用の上開きの凹部を形成し、前記ゲート装置本体には、ワーク搬送方向と直交する方向の両端縁に、上下方向に延びる筋状の嵌合溝を備え、上記嵌合溝を上記凹部の内端縁に係合し、ゲート装置本体を上方から凹部に差し込むことにより、ゲート装置本体を縦壁に取り付けている。
上記構成によると、処理液槽に対して、上方からゲート装置を簡単に着脱することができる。
[第1の実施の形態]
図1〜図16は、本発明にかかるゲート装置を備えた液処理槽の一例を示し、電気めっき装置に適用した例である。
(めっき装置全体の概略)
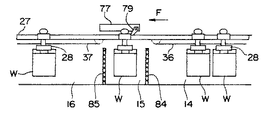
図1は電気めっき装置全体の平面図であり、概ね長円形状に構成されためっき処理ライン上には、処理ラインの長手方向の一端部(図1の右端部)のロード部10から、矢印F方向(時計回り方向)に、前処理工程の前処理槽(シャワー槽)11、空ステージ12、ボックス槽13、電気めっき工程のめっき槽14、後処理工程のボックス槽15、空ステージ16、第1の後処理槽(シャワー槽)17、長手方向の他端部の第2の後処理槽(回収槽)18、アンロード部19、剥離工程(ハンガー戻し工程)の空ステージ20、ボックス槽21、剥離槽22、ボックス槽23、空ステージ24及び剥離後処理槽(シャワー室)25を順次備えている。浸漬処理槽であるめっき槽14及び剥離槽22のワーク搬送方向の前後には、それぞれボックス槽13、15、21、23が隣接しており、ボックス槽13、21の出口は、めっき槽14及び剥離槽22の入口を兼ねており、ボックス槽15、23の入口はめっき槽14及び剥離槽22の出口を兼ねている。
前記めっき処理ラインの内周側に長円形状にガイドレール27が敷設され、該ガイドレール27には、多数の搬送ハンガー28がレール長方向移動可能に支持されている。
ガイドレール27の内周側には、搬送ハンガー28を水平方向に移動させるために、複数の独立した搬送装置31、32、…、40が配置されている。該搬送装置31、32、…、40のうち、各ボックス槽13、15、21、23に対応する位置には、リニアアクチュエータ型往復動式の取込搬送装置31、32、33、34がそれぞれ配設されている。前処理工程の前処理槽11及び空ステージ12に対応する位置と、めっき槽14に対応する位置と、後処理工程の空ステージ16及び第1の後処理槽17に対応する位置と、剥離工程の空ステージ20に対応する位置と、剥離槽22に対応する位置と、空ステージ24及び剥離後処理槽25に対応する位置には、それぞれチェーンコンベア型の連続搬送装置35、36、37、38、39、40が配設されている。また、後処理工程の第1の後処理槽17から第2の後処理槽18を経てアンロード部19に至る間と、剥離後処理槽25からロード部10を経て前処理槽11に至る間には、図示しないが搬送ハンガーを押し動かすプッシャー装置が配置されている。図1において、二重線の矢印で示す各区間A1〜A6は、チェーンコンベア型の連続搬送装置35、36、37、38、39、40による搬送区間を示し、破線の矢印で示す各区間B1〜Bはリニアアクチュエータ型の取込搬送装置31、32、33、34による搬送区間を示し、実線で示す区間C1、C2、C3、C4は、プッシャー装置による搬送区間を示している。
図2は、図1のめっき槽14、後処理工程のボックス槽15、空ステージ16及び第1の後処理槽17の縦断面拡大略図であり、これらめっき槽14、ボックス槽15、空ステージ及び第1の後処理槽17は、一定高さの架台42上に載置されており、架台42内には予備槽43が配置されている。ボックス槽15の上方には図示しない架台を介して所定容積のカラム槽47が配設されている。
ボックス槽15の底壁には、開閉可能な排出口栓46が設けられており、該排出口栓46には、該排出口栓46を開閉駆動するための操作部46aが設けられている。予備槽43とカラム槽47との間には配管48が配設され、該配管48には、予備槽43からカラム槽47へめっき液(処理液)を導入するためのポンプ49及びフィルター50が設けられている。カラム槽47の底部には、ボックス槽15に上方から処理液を供給可能な排出口栓51が開閉可能に設けられている。
予備槽43とめっき槽14の間には2つの配管55、56が並設されており、いずれの配管55、56にも予備槽43からめっき槽14へめっき液を供給するためのポンプ57、59及びフィルター58、60が設けられている。一方の配管55はボックス槽15のゲートが開閉した際に、めっき槽14の液面を所定高さに維持するためのものであり、他方の配管56はめっき液循環用である。また、空ステージ16の底部には予備槽43へめっき液を排出するための排出管44が設けられ、さらにめっき槽14には、オーバーフローするめっき液を予備槽43に排出するためのオーバーフロー管61も設けられている。
(搬送ハンガー)
図3は搬送ハンガー28の図2のIII-III断面拡大図であり、搬送ハンガー28は、前記ガイドレール27にガイドレール長さ方向移動自在に支持された移動基台63と、該移動基台63からガイドレール27と略直角方向に水平に延びるアーム部64と、該アーム部64の先端部から下方に延びるワーク吊持部65から構成されており、ワーク吊持部65の下端部には、吊持ピン66及びクランプ67が設けられている。前記吊持ピン66にワーク(たとえば回路用基板)Wの上端部の係合孔を係合し、クランプ67により脱落不能に保持するようになっている。吊持されたワークWは、吊持部65及び図示しないが適宜の電導機構を介してガイドレール27に電気的に接続されており、ガイドレール27から電気が供給されるようになっている。移動基台63の上面には、アーム部64と反対方向に水平に延びる支軸70が固着され、該支軸70には、スプロケット71がワンウエイクラッチ72を介して一方向へのみ回転するように支持されている。具体的には、図2において、前記スプロケット71は、矢印R方向には回転するが、反矢印R方向には回転しないように構成されている。
(搬送装置)
図2において、チェーンコンベア型の連続搬送装置36、37は、駆動スプロケット73と、従動スプロケット74と、両スプロケット73、74間に巻き掛けられた搬送チェーン75(図3)とから構成されており、搬送チェーン75の上側走行部分に、前記搬送ハンガー28のスプロケット71が係合するようになっている。搬送ハンガー28は、前述のように、ワンウエイクラッチ72(図3)を備えていることにより、搬送チェーン75に係合した状態で、図2の矢印F方向へ搬送チェーン75の上側部分と共に移動するようになっている。
図2において、リニアアクチュエータ型の取込搬送装置32は、ガイドレール27と並行に配置されたガイド部76に、スライダー77が、ガイドレール27と平行に移動可能に支持されており、該スライダー77は、図示しないがガイド部76に備えられたねじ送り機構及びサーボモータ等により、ガイド部76を往復移動するようになっている。
図4は図2のIV-IV断面拡大図であり、前記スライダー77には、搬送ハンガー28側へ略水平に延びる支軸78が固着されており、該支軸78には下方に延びる取込爪79が支軸78回り回動可能に支持されている。前記取込爪79は、図示しないストッパーにより、図2に示す状態に、反矢印S方向側から係止されており、搬送ハンガー28の支軸70に反矢印F方向側から係合し、スライダー77の矢印F方向への移動により、取込爪79を介して搬送ハンガー28を矢印F方向に移動するようになっている。なお、スライダー77が搬送ハンガー28に対して反矢印F方向側に移動する時には、取込爪79は、矢印S方向に回動して搬送ハンガー28の支軸78を乗り越えるようになっている。
(ゲート装置)
図5は、後処理工程のボックス槽15並びにその前後のめっき槽14及び空ステージ16の平面拡大図であり、前記ボックス槽15には、矢印F方向(ワーク搬送方向)と直交する方向に所定間隔を置いて、左右一対のボックス部15aが配置され、左右のボックス部15a間を、ワークWが通過するようになっている。めっき槽14とボックス槽15との間の縦壁82、並びにボックス槽15と空ステージ16との間の縦壁83に、ゲート装置84、85がそれぞれ設けられている。ボックス部15aを備えることで、ボックス槽15へ供給される液量が少なくなり、ゲート装置84を開閉した際のめっき液の変動を少なくできると共に、ボックス槽15へ供給されためっき液の排出時間を短縮することができる。
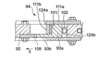
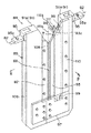
図6は図5のVI-VI断面拡大図、図7は図6のゲート装置84の斜視図、図8は図6のゲート装置84の分解斜視視図、図9は図6のIX-IX断面図、図10は図9のX-X断面図、図11は図10のXI-XI断面図である。なお、説明の都合上、ワーク搬送方向Fを「前」、その逆方向を「後」、ワーク搬送方向Fと直交する水平方向を「左右方向」として、以下説明する。図6において、ボックス槽15の縦壁82の左右幅の中央部には、U字状のゲート装置取付用凹部89が形成されており、該凹部89に、ゴムチューブ製パッキン(タイゴンチューブ)90を介して、ゲート装置84が装着されている。該ゲート装置84は、左右幅の中央部に、略垂直なスリット状のワーク通過口88を有している。該ワーク通過口88の左右幅は、板状ワークWの厚みよりも大きく、ワーク通過口88の上端部には、搬送ハンガー28の吊持部65及びクランプ67が通過しうるように、上向きに広がる逆三角形状の拡大部88aが形成されている。ゲート部材92,93の材料としては、たとえば耐蝕性及び耐久性の大きい樹脂等を選ぶことが好ましい。
図8において、ゲート装置84は、左右の柱部91a、91bにより縦長U字状に構成されたゲート装置本体91と、該U字状ゲート装置本体91の左側柱部91aに固定されるストッパー部材92と、ゲート装置本体91の左側柱部91bに左右方向に移動自在に配置される可動ゲート部材93と、該可動ゲート部材93をワーク搬送方向Fの両側からガイドするガイドプレート110及びガイドケース111と、左右の柱部91a、91bをワーク搬送方向Fの両側から挟持し連結する一対の固定板97と、前記可動ゲート部材93を移動するための第1及び第2のチューブ部材101、102を有する駆動機構94等と、を備えている。ゲート装置本体91の外周面には、ゲート装置本体装着用の取付溝106が形成され、さらに、左右の柱部91a、91bの上端には、ゲート装置本体固定用の固定具95が設けられている。ストッパー部材92、可動ゲート部材93、ガイドプレート110、ガイドケース111、チューブ部材101、及びチューブ部材102はワーク通過口88の上下方向の略全長に亘り配設されている。左側柱部91aと右側柱部91bは固定板97を取り外すことにより両者を分離することができる。右側柱部91bは下部から左に伸びる略直方体状の橋体91cを有しており、この橋体91cは後方から見てL字状に形成されている。橋体91cの左端部は左側柱部91aの下部に当接する。可動ゲート部材93は断面矩形状のスライド部93aと板状のゲート部93bにより上方から見てL字状になるよう一体に形成されている。ゲート部93bは、スライド部93aの左面前側から左に向かって突設されている。ゲート部93bの前後幅はスライド部93aの前後幅より小さい。
図7において、前記ゲート装置本体91の取付溝106を、縦壁82の前記凹部89の端縁に嵌合し、ゲート装置本体91を上方から凹部89内に差し込む。そして、左右の両固定具95をボルト95aで縦壁82の上面に固定することにより、ゲート装置本体91を縦壁82に密封状態で取り付ける。ストッパー部材92は、板状体であり、ゲート部93bと前後の位置が同じになるように左側柱部91aの前面に着脱可能に固定されている。ストッパー部材92の先端部には、上下方向の略全長に亘ってパッキン108が取り付けられている。
前記ガイドプレート110は、ワーク搬送方向Fに直交する板状体であり、右部分が右側柱部91bの前面に着脱可能に固定され、左部分は右側柱部91bよりも左側に位置している。ガイドケース111は、ワーク搬送方向Fに直交する板状体である後ガイド部111aと、ワーク搬送方向Fに平行な板状体である左ガイド部111bにより上方から見てL字状に形成され、後ガイド部111aの右側部分は、右側柱部91bの後面に着脱可能に固定されており、後ガイド部111aの左側部分はガイドプレート110の左部分と同じ左右位置に配置されている。左ガイド部111bの後端は後ガイド部111aの左端と一体に形成され、左ガイド部111bの前端は前記ガイドプレート110の左端との間に一定の隙間Tを開けて配置されている。
(駆動機構94の詳細構造)
図9において、後ガイド部111aの前面、左ガイド部111bの右面、ガイドプレート110の後面、右側柱部91bの左面、及び橋体91cの上面で囲まれたチューブ収納室124内には、スライド部93aが左右方向移動自在に収納されている。スライド部93aの前後幅は、チューブ収納室124内の前後幅より若干小さい。ゲート部93bは前記隙間Tを通過してチューブ収納室124外に突出している。ゲート部93bの前後幅は、前記隙間Tの前後幅より若干小さい。後ガイド部111aの前面、左ガイド部111bの右面、スライド部93aの左面、ゲート部93bの後面、および橋体91cの上面で囲まれた空間部124aに前記第1のチューブ部材101が収納され、後ガイド部111aの前面、ガイドプレート110の後面、スライド部93aの右面、右側柱部91bの左面、および橋体91cの上面で囲まれた空間部124bに前記第2のチューブ部材102が収納されている。両チューブ部材101、102は弾性を有するゴム製チューブであり、内部に空気を圧入することにより膨張し、内部の空気を抜くことにより、収縮するようになっている。
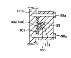
図10は、図9のX-X断面拡大図であり、上下方向の中間部分を省略して示している。この図10において、各チューブ部材101、102の下端部は、下側固定具99及びボルト99aにより、右側柱部91bの左面及び後ガイド部111bの右面にそれぞれ固定されると共に、閉塞されている。各チューブ部材101、102の上端部は、直方体状の上側固定具98及びボルト98aにより、右側柱部91bの左面及び後ガイド部111bの右面にそれぞれ固定されると共に、閉塞されているが、各チューブ部材101、102の上端閉塞部の近傍にはそれぞれ孔101a、102aが開けられており、この孔101a、102aに、L字状の樹脂製又は金属製の継手管130がそれぞれ挿入され、接続されている。
上側固定具98には、前記継手管130を固定するための溝部98bと、継手管130に連通するエア通路131が形成されており、エア通路131は上側固定具98の上面の略中央から内部に至るまで形成され、エアホースを介してエアポンプ132にそれぞれ接続している。溝部98bは右側柱部91bの左面に対向する面(又は後ガイド部111bの右面に対向する面)の略中央部から下端に至るまで形成されている。図22に示すように、エア通路131と溝部98bは通路98cによって連通している。
図11は、図10のXI-XI断面図であり、第1のチューブ部材101用の継手管130は、断面矩形状に形成され、継手管130の垂直部130aが上側固定具98の溝部98bに嵌め込まれ、後ガイド部111bの右面に押し付けられている。溝部98bの奥行きと幅は垂直部130aの外径より若干大きくなるよう設定されている。図10に示すように、継手管130の水平部130bは前記通路98cを通ってエア通路131に連通している。継手管130は、固定具98により押し付けられる力に抗する強度を有しているので、エア通路131とチューブ部材101の間の空気通路として常に安定した機能を発揮する。図23に示すように、垂直部130aは周囲をチューブ部材101に覆われた状態で溝部98bに嵌合されているので、垂直部130aと溝部98bの隙間(図23中に斜線で示すD1、D2)をチューブ部材101が閉塞し、固定具98の下面からの空気漏れを防止している。固定具98と後ガイド部111bは、対抗する面(図23中に斜線で示すE1、E2)にチューブ部材101を挟んで圧着した状態で固定されているので、固定具98と後ガイド部111bの隙間をチューブ部材101が閉塞し、固定具98の側面(後ガイド部111bに対抗する面)からの空気漏れを防止している。これにより固定具98の下面と側面の両方の空気漏れを防止しており、チューブ部材101の上端部を継手管130に気密状態に接続すると共に、後ガイド部111bに固定している。なお、図10に示す第2のチューブ部材102も、前記第1のチューブ部材101と同様の継手管130に接続され、右側柱部91bに固定されている。
図9において、上記のように両チューブ部材101,102から構成される駆動機構94は、第1のチューブ部材101に圧縮エアを供給して第1のチューブ部材101を膨張させると同時に第2のチューブ部材102内のエアを排出して第2のチューブ部材102を収縮させるゲート開状態と、反対に、第2のチューブ部材102に圧縮エアを供給して第2のチューブ部材102を膨張させると同時に第1のチューブ部材101内のエアを排出して第1のチューブ部材101を収縮させるゲート閉状態とに、切り換えられるようになっている。
すなわち、図12は開いた状態を示す図9の要部の拡大図であり、第1のチューブ部材101にエアを圧入して膨張させることで左ガイド部111bの右面とスライド部93aの左面との間の距離を広げ、かつ第2のチューブ部材102からエアを排出して収縮させることにより、スライド部93a及びゲート部93bを一体的に開方向(右方向)Oに移動させ、ワーク通過口88を開くことができる。この時、空間部124b内のめっき液及び空気は、スライド部93aの動作により圧縮され、空間部124bの上部、下部、可動ゲート部材93とガイドプレート110との間の隙間、及び後ガイド部111aとスライド部93aの隙間から排出される。一方、図13に示すように、第2のチューブ部材102にエアを圧入して膨張させることで右側柱部91bの左面とスライド部93aの右面との間の距離を広げ、かつ第1のチューブ部材101からエアを排出して収縮させることにより、スライド部93a及びゲート部93bを一体的に閉方向(左方向)Sに移動させ、ワーク通過口88を閉じることができる。この時、空間部124a内のめっき液及び空気は、スライド部93aの動作により圧縮され、空間部124aの上部、下部、可動ゲート部材93とガイドプレート110との間の隙間、及び左ガイド部111bとゲート部93bの隙間から排出される。この閉状態では、ゲート部93bの端縁は、ストッパー部材92のパッキン108に圧接している。
第1及び第2のチューブ部材101,102の材質は、前記のようなゴムに限定はされず、樹脂であれば特に制限はないが、耐薬品性、繰り返し伸縮することに耐える耐久性等を考慮して決定することが好ましい。例えば、酸性、アルカリ性の処理液を貯める処理液槽に用いる場合は、EPDM、4フッ化エチレン樹脂、ポリエチレン、ポリプロピレン、軟質塩化ビニル、天然ゴムなどが採用できる。
なお、図6において、前記ゴムチューブ製パッキン108も、継手管140を介してエアポンプ141に接続しており、ゴムチューブ製パッキン108にエアを圧入することにより、シール性能を発揮させることができる。
(作動の説明)
めっき処理工程並びにその後のハンガーの剥離工程等は、従来公知であるので、ごく簡単に説明する。図1において、ロード部10でめっき処理前のワークWを搬送ハンガー28に吊持し、プッシャー装置により搬送ハンガー28及びワークWを前処理槽11内まで搬送し、搬送ハンガー28のスプロケット71を前処理槽11の連続搬送装置35の搬送チェーン75の始端部に係合させる。
前記連続搬送装置35から、矢印F方向へと順次、取込搬送装置31、連続搬送装置36、取込搬送装置32及び連続搬送装置37によって搬送ハンガー27を移動することにより、ワークWは、前処理槽11、空ステージ12、ボックス槽13、めっき槽14、ボックス槽15、空ステージ16及び第1の後処理槽17を通過し、又は所定の処理位置で所定時間停止し、前処理、めっき処理及び洗浄等の後処理が行われる。めっき処理完了後のワークは、図示しないプッシャー装置により、第2の後処理槽18を介してアンロード部19まで搬送され、搬送ハンガー28からめっき処理後のワークWが取り外される。
ワークWを外した後の搬送ハンガー28は、次に、剥離工程の空ステージ20の連続搬送装置38のチェーンコンベア75にスプロケット71が係合させられ、該連続搬送装置38から、矢印F方向へと順に、取込搬送装置33、連続搬送装置39、取込搬送装置34及び連続搬送装置40によって移動させられ、付着物が剥離され、洗浄され、再びロード部10に戻される。
前記めっき処理において、ワークWを、たとえばめっき処理工程のめっき槽14からボックス槽15に水平移動する時、また、ボックス槽15から空ステージ16に水平移動する時等には、図12のように、第1のチューブ部材101を膨張させると同時に第2のチューブ部材102を収縮させることにより、可動ゲート部材93を開方向Oに移動させ、ワーク通過口88を開く。これにより、ワークWは、上昇することなく、ワーク通過口88を通過する。ワークWがワーク通過口88を通過し終えると、図13のように、第2のチューブ部材102を膨張させると同時に第1のチューブ部材92を収縮させることにより、可動ゲート部材93を閉方向(左方向)Sに移動させ、ワーク通過口88を閉じる。
[ゲート装置の開閉を利用したワーク搬送の一例]
図14〜図16は、めっき槽14と、ボックス槽15と、空ステージ16との間のワークWの搬送(移送)と、ゲート装置84、85の開閉動作との関連を示している。なお、ゲート装置84、85が開状態の場合はクロスハッチングを施し、閉状態の場合は白抜きで示している。
(1)図14において、予めボックス槽15内には図示しないカラム槽からのめっき液が供給されている。めっき槽14とボックス槽15との間のゲート装置84を開き、ボックス槽15と空ステージ16との間のゲート装置85は閉じておき、めっき槽14内の搬送ハンガー28のうち、最もボックス槽15側(矢印F方向側)に位置する搬送ハンガー(仮想線で示す)28の支軸70に、取込搬送装置32のスライダー77の取込爪79を反矢印F方向側から係合する。そして、スライダー77を矢印F方向に移動することにより、搬送ハンガー28と共にワークWを矢印F方向に移動し、ゲート装置84の開口部88(図6)を通過させてボックス槽15内まで搬送し、ボックス槽15で停止する。
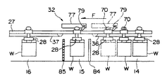
(2)図15において、めっき槽14とボックス槽15との間のゲート装置84を閉じ、ボックス槽15内のめっき液を排出する。
(3)図16において、ボックス槽15と空ステージ16との間のゲート装置85を開き、スライダー77を矢印F方向に移動することにより、搬送ハンガー28と共にワークWを矢印F方向に移動し、ゲート装置85の開口部88を通過させて空ステージ16内まで搬送する。その後、前記ゲート装置85は閉じられる。なお、空ステージ16内へ搬送された搬送ハンガー28は連続搬送装置37で搬送される。
(4)空ステージ16内へ搬送ハンガー28を搬送した後、スライダー77は反矢印F方向に移動し、めっき槽14の上方まで戻る。この時、スライダー77の取込爪79は、めっき槽14内の次の搬送ハンガー28の支軸70を乗り越え、反矢印F方向側から前記支軸70に係合する。
[実施の形態の効果]
(1)ストッパー部材92と可動ゲート部材93とを備え、可動ゲート部材93の駆動機構94として、膨張伸縮自在な一対の第1及び第2のチューブ部材101,102を備え、第1のチューブ部材101を膨張させると共に第2のチューブ部材102を収縮させることにより、可動ゲート部材93を開位置へ移動させ、第1のチューブ部材101を収縮させると共に第2のチューブ部材102を膨張させることにより、可動チューブ部材101を閉位置へ移動させるように、構成されているので、モータや減速ギヤ機構等の機械的駆動機構を備える場合と比べ、駆動機構94が簡素化され、コストの低減を達成することができる。しかも、駆動機構94のチューブ部材101,102が処理液に浸漬しても、駆動機構の機能低下の虞がない。実際の装置でテストした結果、特許文献3のゲート装置は袋状のゲート部材の寿命が1週間程度であったのに対し、本実施形態の駆動機構94は1ヶ月の寿命を達成した。
(2)空圧等を利用して弾性材製の両チューブ部材101,102を膨張及び収縮させるので、可動両ゲート部材93の移動を敏速に行うことができ、開閉制御の応答性が向上する。また、何らかの原因により、開閉途中で可動ゲート部材93が停止した場合、仮にチューブ部材101又は102の膨張動作が継続していても、チューブ部材自体の弾性により、チューブ部材の破損を防ぐことができる。
(3)縦壁82の凹部89に着脱自在なゲート装置本体91を備え、前記ゲート装置本体91の左右両部に、上下方向に延びる筋状の嵌合溝106を備え、上記嵌合溝106を上記凹部89の内端縁に係合し、ゲート装置本体91を上方から凹部89に差し込むことにより、ゲート装置本体を縦壁82に取り付けているので、処理液槽に対して、ゲート装置を簡単に着脱することができる。
(4)ガイドケース111、ガイドプレート110、及びストッパー部材92はゲート装置本体91に着脱でき、また左側柱部91aと右側柱部91bを分離できるので、チューブ部材101、102、及びパッキン108の交換を容易にできると共にチューブ収納室124内など各部分の洗浄も確実に行なうことができ、めっき槽14のメンテナンス性を向上できる。
(5)可動ゲート部材93を開く際にチューブ部材101の膨張により空間部124a内の処理液を排出し、かつ空間部124a内へ流入する処理液の体積を軽減するので、次の動作として可動ゲート部材93を閉じる際に、スライド部93aの左面に対する空間部124a内の処理液の抵抗を軽減することができ、可動ゲート部材93の閉動作を迅速かつスムーズにすることができる。同様にチューブ部材102を膨張させることにより、可動ゲート部材93の開動作を迅速かつスムーズにすることができる。従って開閉動作が迅速になり、ワークの移動時間を短縮できるので、めっき処理装置のワーク生産量増加に貢献することができる。
(6)可動ゲート部材93、チューブ部材102、及びパッキン108がワーク通過口88の上下方向の略全長に亘り配設されており、可動ゲート部材93がチューブ部材102の膨張により上下方向全体に均等に力を加えられた状態でパッキン108と圧接するため、ゲート装置84の液シール性を向上することができる。従ってめっき槽14やボックス槽15から流出するめっき液が少なくなるので、流出しためっき液をめっき槽14へ戻すポンプ57の能力を小さくできるとともに、めっき液の循環による液温変化が少なくなるので温度調節に要する負荷を軽減することができる。
(7)継手管130をチューブ部材101(又はチューブ部材102)に挿通した状態で固定部98の溝部98bに嵌め込み、後ガイド部111b(又は右側柱部91b)に押し付け、各チューブ部材の上端部を継手管130に気密状態に接続すると共に、継手管130により空気の通路を確保しているので、各チューブ部材への空気の出し入れを確実にして可動ゲート部材93の動作を円滑にすることができる。さらに、作業者がチューブ部材を固定する際に、継手管130をチューブ部材に開けられた孔の目印とすることができ、チューブ部材の取付作業を簡単に行なうことができる。
[第2の実施の形態]
図17は、第2の実施形態であって、可動ゲート部材93のみを示している。可動ゲート部材93は、一体に形成されているスライド部93aが空洞となっている。すなわち、スライド部93aの上下方向の略全長に亘って孔開け加工し、加工された空洞部140の上端開口部を蓋141で閉塞している。なお、空洞部140の下端はスライド部93aの下端部分で閉塞されている。
このように、スライド部93aを空洞化することにより、可動ゲート部材93の重量の軽減を図り、かつ浮力を効率よく利用できることにより、可動ゲート部材93の開閉移動の円滑性を向上させることができる。可動ゲート部材93の開閉移動の円滑性と応答性を向上することができ、開閉移動を迅速に行なうことができる。
[第3の実施形態]
図18は、第3の実施形態であり、ゲート装置84の水平断面図を示している。本実施形態のゲート装置84はガイドプレート110に代えてガイドケース113を備え、可動ゲート部材93に代えて可動ゲート部材151を備えている。また、前記駆動機構94に代えて、第1のチューブ部材101a 、101b、第2のチューブ部材102a 、102b、の計4本のチューブ部材を有する駆動機構941を備えている。上記の部品は全てワーク通過口88の上下方向の略全長に亘り配設されている。その他の構成は前述した第1の実施の形態と同様であり、同一または相当部分に同一符号を付して説明を省略する。ガイドケース113は、ワーク搬送方向Fに直交する板状体である前ガイド部113aと、ワーク搬送方向Fに平行な板状体である左ガイド部113bにより上方から見てL字状に形成され、前ガイド部113aの右側部分は、右側柱部91bの前面に着脱可能に固定されており、前ガイド部113aの左側部分はガイドケース111の左部分と同じ左右位置に配置されている。左ガイド部113bの前端は前ガイド部113aの左端と一体に形成され、左ガイド部113bの後端は前記左ガイド部111bの前端との間に一定の隙間Uを開けて配置されている。
後ガイド部111aの前面、左ガイド部111bの右面、前ガイド部113aの後面、左ガイド部113bの右面、右側柱部91bの左面、及び橋体91cの上面で囲まれたチューブ収納室124内には、前記可動ゲート部材151と一体に形成された断面矩形状のスライド部151aが、左右方向移動自在に収納されている。
可動ゲート部材151は、スライド部151aとゲート部151bにより上方から見てT字状になるよう一体に形成されている。ゲート部151bはスライド部151aの左面中央から左に向かって突出しており、ゲート部151bの前後幅はスライド部151aの前後幅より小さい。ゲート部151bは前記隙間Uを通過してチューブ収納室124外に突出している。ゲート部151bの前後幅は、前記隙間Uの前後幅より若干小さい。スライド部151aの前後幅は、チューブ収納室124内の前後幅より若干小さい。後ガイド部111aの前面、左ガイド部111bの右面、スライド部151aの左面、ゲート部151bの後面、および橋体91cの上面で囲まれた空間部124aに前記第1のチューブ部材101aが収納され、前ガイド部113aの後面、左ガイド部113bの右面、スライド部151aの左面、ゲート部151bの前面、および橋体91cの上面で囲まれた空間部124bに前記第1のチューブ部材101bが収納され、後ガイド部111aの前面、前ガイド部113aの後面、スライド部151aの右面、右側柱部91bの左面、および橋体91cの上面で囲まれた空間部124cの後側に前記第2のチューブ部材102aが収納され、前側に前記第2のチューブ部材102bが収納されている。チューブ部材101bは上側固定具98及び下側固定具99により左ガイド部113bの右面に固定され、前記第2のチューブ部材102a及び102bはそれぞれ上側固定具98及び下側固定具99により右側柱部91bの左面に固定されている。
第1のチューブ部材101a及び101bにエアを圧入して膨張させることでスライド部151aの左面と左ガイド部111bの右面及び左ガイド部113bの右面との間の距離を広げ、かつ第2のチューブ部材102a及び102bからエアを排出して収縮させることにより、スライド部151a及びゲート部151bを一体的に開方向(右方向)Oに移動させ、ワーク通過口88を開くことができる。この時、空間部124c内のめっき液及び空気は、空間部124cの上部、下部、スライド部151aと後ガイド部111aとの間の隙間、及びスライド部151aと前ガイド部113aの隙間から排出される。一方、第2のチューブ部材102a及び102bにエアを圧入して膨張させることで右側柱部91bの左面とスライド部151aの右面との間の距離を広げ、かつ第1のチューブ部材101a 及び101bからエアを排出して収縮させることにより、スライド部151aゲート部151bを一体的に閉方向(左方向)Sに移動させ、ワーク通過口88を閉じることができる。この時、空間部124a内のめっき液及び空気は、空間部124aの上部、下部、スライド部151aと後ガイド部111aとの間の隙間、及びゲート部151bと左ガイド部111bの隙間から排出され、空間部124b内のめっき液及び空気は、空間部124bの上部、下部、スライド部151aと前ガイド部113aとの間の隙間、及びゲート部151bと左ガイド部113bの隙間から排出される。この閉状態では、ゲート部151bの端縁は、ストッパー部材92のパッキン108に圧接している。このように本実施形態では第1のチューブ部材(101a 及び101b)と第2のチューブ部材(102a及び102b)がスライド部151aの移動方向の両側にそれぞれ配置され、膨張収縮可能な一対のチューブ部材として動作する。
本実施の形態によると、第1のチューブ部材101と第2のチューブ部材102とが、それぞれ一対配置されているので、可動ゲート部材93を、強い力で、かつ、ワーク搬送方向の全幅に亘る略均等な力で、移動させることができる。また、一対の第1のチューブ部材101の片方がパンクしたり、一対の第2のチューブ部材102の片方がパンクしたりしても、可動ゲート部材93の動作を確保することができる。なお、図18において、前記第1の実施の形態と同じ部品には、同じ符号を付している。
[第4の実施の形態]
図19は第4の実施形態であり、ゲート装置84の水平断面図を示しており、可動ゲート部材93及び駆動機構94を、左右一対設けた構造である。すなわち、前記第1の実施の形態の図6等の右半分に配置された可動ゲート部材93と、第1及び第2のチューブ部材101,102からなる駆動機構94を、左右対称に配置した構造である。図19において、前記第1の実施の形態と同じ部品には、同じ符号を付している。
該実施の形態によると、左右から各可動ゲート部材93を加圧するので、確実にスリット状ワーク通過口88閉じることができる。
[第5の実施の形態]
図20及び図21は、板状ワークWを、水平状態で搬送するめっき処理装置に本発明を適用した例である。図20はめっき処理装置全体を示しており、ワーク搬送元側から順に、ワークロード槽(ワークロード部)201,前処理槽(シャワー槽)202,ボックス槽203,めっき槽204、ボックス槽205、後処理槽(シャワー槽)206,ワークアンロード槽(ワークアンロード部)207を配置してあり、各槽間の縦壁に、水平なスリット状のワーク通過口210(図21)を有するゲート装置Gが配置されている。各槽201乃至207内には、水平状態のワークWを上下で挟持し、搬送する上下の搬送ローラ211が配置されている。なお、ボックス槽203,205には、ワーク搬送経路の下側にボックス槽203a,205aが配置されている。
図21は、ゲートGの一例であり、基本的には、前記図6乃至図9等に示す縦向きのワーク通過口を有するゲート装置を、90°回転して横向きに配置した構造であり、したがって、第1の実施の形態と同じ機能を有する部品には、同じ符号を付し、詳しい説明は省略する。
図21において、ゲート装置本体91は上下方向に間隔をおいて上下の柱部材(梁部材)91a、91bを有しており、両者はその端部同士を左右の垂直な柱部材91c、91d(91dのみ図示せず)で連結することによりワーク搬送方向F向きに貫通する穴を有する直方体を形成している。縦壁82の凹部89の端縁に、ゲート装置本体91の外周に形成された取付溝106が、ゴムチューブ製パッキン90を介して嵌合している。ガイドプレート110は、ワーク搬送方向Fに直交する板状体であり、下部分が下側柱部材91bの前面に着脱可能に固定され、上部分は下側柱部材91bよりも上側に配置されている。ガイドケース111は、ワーク搬送方向Fに直交する板状体である後ガイド部111aと、ワーク搬送方向Fに平行な板状体である上ガイド部111bにより側方から見てL字状に形成され、後ガイド部111aの下側部分は、下側柱部材91bの後面に着脱可能に固定されており、後ガイド部111aの上側部分は前記ガイドプレート110と同じ上下位置に配置されている。上ガイド部111bの後端は後ガイド部111aの上端と一体に形成され、上ガイド部111bの前端は前記ガイドプレート110の後端との間に一定の隙間Vを開けて配置されている。可動ゲート部材93は断面矩形状のスライド部93aと板状のゲート部93bにより側方から見てL字状になるよう一体に形成されている。ゲート部93bは、スライド部93aの上面前側から上に向かって突設されている。ゲート部93bの前後幅はスライド部93aの前後幅より小さい。後ガイド部111aの前面、上ガイド部111bの下面、ガイドプレート110の後面、下側柱部材91bの上面、左側柱部材91cの右面、及び右側柱部材91dの左面で囲まれたチューブ収納室124内には、スライド部93aが、上下方向移動自在に収納されている。スライド部93aの前後幅は、チューブ収納室124内の前後幅より若干小さい。
ゲート部93bは前記隙間Vを通過してチューブ収納室124外に突出している。ゲート部93bの前後幅は、前記隙間Vの前後幅より若干小さい。後ガイド部111aの前面、上ガイド部111bの下面、スライド部93aの上面、ゲート部93bの後面、左側柱部材91cの右面、及び右側柱部材91dの左面で囲まれた空間部124aに前記第1のチューブ部材101が収納され、後ガイド部111aの前面、ガイドプレート110の後面、スライド部93aの下面、下側柱部91bの上面、左側柱部材91cの右面、及び右側柱部材91dの左面で囲まれた空間部124bに前記第2のチューブ部材102が収納されている。
上側柱部材91aの下面には、下方に突出するストッパー部材92が設けられ、該ストッパー部材92の下面に対し、可動ゲート部材93の上端面が、水平なスリット状のワーク通過口210を介して対向している。
ストッパー部材92、可動ゲート部材93、ガイドプレート110、ガイドケース111、チューブ部材101、及びチューブ部材102は全てワーク通過口210の左右方向の略全長に亘り配設されている。
該ゲート装置Gでは、上側の第1のチューブ部材101にエアを圧入して膨張させることで上ガイド部111bの下面とスライド部93aの上面との間の距離を広げ、かつ第2のチューブ部材102からエアを排出して収縮させることにより、スライド部93a及びゲート部93bを一体的に開方向(下方向)に移動させ、ワーク通過口210を開く。これにより、ワークWは上昇することなく、水平な状態でワーク通過口210を通過する。一方、第2のチューブ部材102にエアを圧入して膨張させることで下側柱部91bの上面とスライド部93aの下面との間の距離を広げ、かつ第1のチューブ部材101からエアを排出して収縮させることにより、スライド部93a及びゲート部93bを一体的に閉方向(上方向)に移動させ、ワーク通過口210を閉じる。
[その他の実施の形態]
(1)前記各実施の形態は、搬送ハンガーを連続して水平移動することにより、各槽を通過させるいわゆる連続搬送方式のめっき装置であるが、本発明にかかるゲート装置は、たとえば、途中で、ハンガーを上昇させて次の槽まで移送し、次の槽で下降させる搬送区間を有する間欠搬送方式のめっき装置等にも適用することができる。
(2)本発明かかるゲート装置は、めっき装置には限定されず、たとえば、処理液槽内に貯留した処理液によりワークを洗浄する剥離槽等の浸漬処理装置にも適用することは可能である。
本発明は、めっき装置の他に、クロメート処理装置、アルミニウムの陽極酸化処理装置、電解研磨装置又は電解酸洗装置等の処理装置にも適用可能である。
本発明の第1の実施の形態であり、ゲート装置を備えためっき装置の全体平面図である。 図1のめっき槽及びボックス槽近辺の縦断面拡大図である。 図2のIII-III断面拡大図である。 図2のIV-IV断面拡大図である。 図2のボックス槽の平面拡大図である。 図5のVI-VI断面図である。 図6のゲート装置の斜視図である。 図6のゲート装置の分解斜視図である。 ワーク通過口が開いた状態の図6のゲート装置のIX-IX断面図である。 図9のX-X断面図である。 図10のXI-XI断面図である。 ワーク通過口が開いた状態の図6のゲート装置のIX-IX断面拡大図(図9の要部の拡大図)である。 ワーク通過口が閉じた状態の図6のゲート装置のIX-IX断面拡大図である。 図1のめっき槽と、ボックス槽と、空ステージとの間のワークの搬送と、ゲート装置の開閉動作との関連を示す作動説明図である。 図14の次の工程を示す図14と同様の作動説明図である。 図15の次の工程を示す図14と同様の作動説明図である。 本発明の第2の実施の形態であり、可動ゲート部材の正面図である。 本発明の第3の実施の形態であり、ゲート装置の水平断面図である。 本発明の第4の実施の形態であり、ゲート装置の水平断面図である。 本発明の第5の実施の形態であり、めっき処理装置の縦断面図である。 図20のゲート装置の断面斜視図である。 図8等に示す上側固定具の縦断面拡大図である。 図22の上側固定具の近傍の分解斜視図である。
符号の説明
14 めっき槽(処理液槽の一例)
15 ボックス槽
28 搬送ハンガー
84、85 ゲート装置
88 ワーク通過口
91 袋状ゲート部材
92 ストッパー部材
93 可動ゲート部材
93a スライド部(スライド部材の一例)
94 駆動機構
101,102 第1及び第2のチューブ部材
132 エアポンプ

Claims (4)

  1. 板状ワークが通過可能なスリット状のワーク通過口を有する処理液槽のゲート装置において、
    上記ワーク通過口を閉じる閉位置と上記ワーク通過口を開く開位置との間で位置変更可能な可動ゲート部材と、
    前記可動ゲート部材を閉位置と開位置との間で移動させる駆動機構と、を備え、
    該駆動機構は、前記可動ゲート部材と一体的に移動するスライド部と、該スライド部の移動方向の両側に配置された膨張収縮可能な一対のチューブ部材と、を備え、一方のチューブ部材を膨張させると共に他方のチューブ部材を収縮させることにより、前記スライド部と共に可動ゲート部材を開位置へ移動させ、一方のチューブ部材を収縮させると共に他方のチューブ部材を膨張させることにより、前記スライド部と共に可動ゲート部材を閉位置へ移動させるように、構成されている、処理液槽のゲート装置。
  2. 請求項1記載の処理液槽のゲート装置において、前記チューブ部材は、弾性材でできている処理液槽のゲート装置。
  3. 請求項1又は2記載の処理液槽のゲート装置において、前記ゲート部材及び前記駆動機構を支持するゲート装置本体は、前記処理液槽の縦壁に、着脱自在に取り付けられている処理液槽のゲート装置。
  4. 請求項3記載の処理液槽のゲート装置において、
    前記縦壁には、ゲート装置本体取付用の上開きの凹部を形成し、
    前記ゲート装置本体には、ワーク搬送方向と直交する方向の両端縁に、上下方向に延びる筋状の嵌合溝を備え、
    上記嵌合溝を上記凹部の内端縁に係合し、ゲート装置本体を上方から凹部に差し込むことにより、ゲート装置本体を縦壁に取り付けている処理液槽のゲート装置。
JP2008273228A 2008-10-23 2008-10-23 処理液槽のゲート装置 Expired - Fee Related JP5398223B2 (ja)

Priority Applications (4)

Application Number Priority Date Filing Date Title
JP2008273228A JP5398223B2 (ja) 2008-10-23 2008-10-23 処理液槽のゲート装置
TW098134970A TWI441951B (zh) 2008-10-23 2009-10-15 The gate device for the treatment tank
CN200910208078.1A CN101724883B (zh) 2008-10-23 2009-10-22 处理液槽的闸门装置
KR1020090100996A KR101573939B1 (ko) 2008-10-23 2009-10-23 처리액 탱크의 게이트 장치

Applications Claiming Priority (1)

Application Number Priority Date Filing Date Title
JP2008273228A JP5398223B2 (ja) 2008-10-23 2008-10-23 処理液槽のゲート装置

Publications (2)

Publication Number Publication Date
JP2010100898A true JP2010100898A (ja) 2010-05-06
JP5398223B2 JP5398223B2 (ja) 2014-01-29

Family

ID=42273130

Family Applications (1)

Application Number Title Priority Date Filing Date
JP2008273228A Expired - Fee Related JP5398223B2 (ja) 2008-10-23 2008-10-23 処理液槽のゲート装置

Country Status (4)

Country Link
JP (1) JP5398223B2 (ja)
KR (1) KR101573939B1 (ja)
CN (1) CN101724883B (ja)
TW (1) TWI441951B (ja)

Cited By (2)

* Cited by examiner, † Cited by third party
Publication number Priority date Publication date Assignee Title
JPWO2015198955A1 (ja) * 2014-06-27 2017-04-27 株式会社村田製作所 めっき装置
US9657406B2 (en) 2011-06-30 2017-05-23 C. Uyemura & Co., Ltd. Surface treating apparatus and plating tank

Families Citing this family (4)

* Cited by examiner, † Cited by third party
Publication number Priority date Publication date Assignee Title
KR101654293B1 (ko) * 2013-01-16 2016-09-06 주식회사 잉크테크 습식 공정 챔버 및 이를 포함하는 습식 공정 장치
KR101913545B1 (ko) 2018-06-26 2019-01-11 양미애 기판 도금장치
JP7333967B2 (ja) * 2020-11-20 2023-08-28 ケーピーエムテック シーオー., エルティーディー. 垂直型連続めっき装置のための基板移送装置
CN116254586B (zh) * 2023-05-15 2023-08-04 苏州晶洲装备科技有限公司 一种电镀装置

Citations (3)

* Cited by examiner, † Cited by third party
Publication number Priority date Publication date Assignee Title
JPS6398374U (ja) * 1986-12-17 1988-06-25
JPH08239797A (ja) * 1995-03-02 1996-09-17 C Uyemura & Co Ltd めっき装置の液漏れ防止機構
JP2007113066A (ja) * 2005-10-20 2007-05-10 C Uyemura & Co Ltd 浸漬処理装置

Family Cites Families (7)

* Cited by examiner, † Cited by third party
Publication number Priority date Publication date Assignee Title
US5228965A (en) * 1990-10-30 1993-07-20 Gould Inc. Method and apparatus for applying surface treatment to metal foil
JP2002327296A (ja) * 2001-04-27 2002-11-15 Ins Japan Kk 水平移動をするメツキ装置,その他の水平移動方法
JP2003301294A (ja) * 2002-04-12 2003-10-24 Electroplating Eng Of Japan Co カップ式めっき装置
JP4022115B2 (ja) * 2002-09-06 2007-12-12 豊 佐藤 ダム式連続浸漬処理装置
JP3477469B1 (ja) * 2002-10-08 2003-12-10 東京エレクトロン株式会社 液処理装置及び液処理方法
JP4987248B2 (ja) * 2005-05-18 2012-07-25 Ntn株式会社 軸受装置、および該軸受装置を有するモータ
JP2008174827A (ja) * 2007-01-22 2008-07-31 I Plant:Kk 電気メッキ処理システムに用いられるガイド装置

Patent Citations (3)

* Cited by examiner, † Cited by third party
Publication number Priority date Publication date Assignee Title
JPS6398374U (ja) * 1986-12-17 1988-06-25
JPH08239797A (ja) * 1995-03-02 1996-09-17 C Uyemura & Co Ltd めっき装置の液漏れ防止機構
JP2007113066A (ja) * 2005-10-20 2007-05-10 C Uyemura & Co Ltd 浸漬処理装置

Cited By (2)

* Cited by examiner, † Cited by third party
Publication number Priority date Publication date Assignee Title
US9657406B2 (en) 2011-06-30 2017-05-23 C. Uyemura & Co., Ltd. Surface treating apparatus and plating tank
JPWO2015198955A1 (ja) * 2014-06-27 2017-04-27 株式会社村田製作所 めっき装置

Also Published As

Publication number Publication date
CN101724883B (zh) 2014-01-08
KR101573939B1 (ko) 2015-12-02
JP5398223B2 (ja) 2014-01-29
KR20100045396A (ko) 2010-05-03
CN101724883A (zh) 2010-06-09
TW201026903A (en) 2010-07-16
TWI441951B (zh) 2014-06-21

Similar Documents

Publication Publication Date Title
JP5398223B2 (ja) 処理液槽のゲート装置
TWI440743B (zh) Treatment tank
JP2016516625A (ja) 壁面吸引式クローラ
US6244281B1 (en) Method and apparatus for drying substrate
JP4704181B2 (ja) 浸漬処理装置
KR101866675B1 (ko) 도금 장치
CN117969417B (zh) 一种光学玻璃透光检测装置
CN103132121A (zh) 阳极氧化装置、具有该装置的阳极氧化系统及半导体晶片
JP4022115B2 (ja) ダム式連続浸漬処理装置
CN105545714A (zh) 液体输送方法和液体输送系统
JP5438243B2 (ja) 流体供給装置
JP5026114B2 (ja) メッキ処理システム
JP5089040B2 (ja) タンクローリー
JP3000179B2 (ja) 搬送駆動装置
JP2011089210A (ja) 表面処理装置
CN222571614U (zh) 光固化3d打印系统
KR20170099528A (ko) 유로 제어장치
JP3267835B2 (ja) 表面処理方法及びその装置
CN211471596U (zh) 密封装置、工件处理容器及具有其的工件处理装置
JP3244962B2 (ja) 表面処理装置
JPH0429758B2 (ja)
KR102689610B1 (ko) 이송 로봇암을 이용한 케미컬 자동공급 시스템
JP2006111946A (ja) 平板形状物の表面処理方法およびその装置
JP3768562B2 (ja) 感光材料処理装置
JPS644845Y2 (ja)

Legal Events

Date Code Title Description
A621 Written request for application examination

Free format text: JAPANESE INTERMEDIATE CODE: A621

Effective date: 20110907

A977 Report on retrieval

Free format text: JAPANESE INTERMEDIATE CODE: A971007

Effective date: 20130920

TRDD Decision of grant or rejection written
A01 Written decision to grant a patent or to grant a registration (utility model)

Free format text: JAPANESE INTERMEDIATE CODE: A01

Effective date: 20131001

A61 First payment of annual fees (during grant procedure)

Free format text: JAPANESE INTERMEDIATE CODE: A61

Effective date: 20131022

R150 Certificate of patent or registration of utility model

Free format text: JAPANESE INTERMEDIATE CODE: R150

R250 Receipt of annual fees

Free format text: JAPANESE INTERMEDIATE CODE: R250

LAPS Cancellation because of no payment of annual fees