JP2010099224A - パチンコ遊技機 - Google Patents
パチンコ遊技機 Download PDFInfo
- Publication number
- JP2010099224A JP2010099224A JP2008272799A JP2008272799A JP2010099224A JP 2010099224 A JP2010099224 A JP 2010099224A JP 2008272799 A JP2008272799 A JP 2008272799A JP 2008272799 A JP2008272799 A JP 2008272799A JP 2010099224 A JP2010099224 A JP 2010099224A
- Authority
- JP
- Japan
- Prior art keywords
- board
- game board
- gaming machine
- divided
- attached
- Prior art date
- Legal status (The legal status is an assumption and is not a legal conclusion. Google has not performed a legal analysis and makes no representation as to the accuracy of the status listed.)
- Granted
Links
- 230000002093 peripheral effect Effects 0.000 claims abstract description 23
- 230000000149 penetrating effect Effects 0.000 claims abstract description 6
- 229920003002 synthetic resin Polymers 0.000 claims description 12
- 239000000057 synthetic resin Substances 0.000 claims description 12
- 239000000463 material Substances 0.000 claims description 9
- 239000011120 plywood Substances 0.000 claims description 6
- 241000722921 Tulipa gesneriana Species 0.000 description 7
- 230000000694 effects Effects 0.000 description 4
- NIXOWILDQLNWCW-UHFFFAOYSA-N acrylic acid group Chemical group C(C=C)(=O)O NIXOWILDQLNWCW-UHFFFAOYSA-N 0.000 description 3
- 239000004973 liquid crystal related substance Substances 0.000 description 3
- 239000007769 metal material Substances 0.000 description 3
- 229910000838 Al alloy Inorganic materials 0.000 description 2
- 238000005034 decoration Methods 0.000 description 2
- 239000011521 glass Substances 0.000 description 2
- 238000001746 injection moulding Methods 0.000 description 2
- 238000004519 manufacturing process Methods 0.000 description 2
- 238000000465 moulding Methods 0.000 description 2
- 229920000515 polycarbonate Polymers 0.000 description 2
- 239000004417 polycarbonate Substances 0.000 description 2
- 239000012780 transparent material Substances 0.000 description 2
- 239000002699 waste material Substances 0.000 description 2
- -1 acryl Chemical group 0.000 description 1
- 239000003795 chemical substances by application Substances 0.000 description 1
- 239000000428 dust Substances 0.000 description 1
- 230000002708 enhancing effect Effects 0.000 description 1
- 238000010030 laminating Methods 0.000 description 1
- 239000012466 permeate Substances 0.000 description 1
- 238000010079 rubber tapping Methods 0.000 description 1
- 239000000758 substrate Substances 0.000 description 1
Images
Landscapes
- Pinball Game Machines (AREA)
Abstract
【課題】分割盤部からなる遊技盤に取り付けられる取付部材を、交換、修理、リユース時を含めて、容易に取り付けることができるパチンコ遊技機の提供。
【解決手段】パチンコ遊技機1は、遊技盤14が、盤面に沿う方向で複数に分割された分割盤部16,21を連結させて構成される。分割盤部は、対応する相互の連結部位に、それぞれ、連結片部18,24を備える。分割盤部16,21相互は、対応する連結片部18,24相互を、前後方向で積層させる状態として、連結用筒体31により、連結される。連結用筒体31は、外周側に雄ねじ31aを設け、内周側にねじ孔31bを備えて、構成され、積層させた連結片部18,24に貫通させつつ螺着させて、連結片部18,24相互を連結する。複数の連結用筒体31の一つ31Aが、内周側のねじ孔31bに螺合する取付ねじ33により、遊技盤14の前面14a側に取り付けられる取付部材34を取り付けている。
【選択図】図6
【解決手段】パチンコ遊技機1は、遊技盤14が、盤面に沿う方向で複数に分割された分割盤部16,21を連結させて構成される。分割盤部は、対応する相互の連結部位に、それぞれ、連結片部18,24を備える。分割盤部16,21相互は、対応する連結片部18,24相互を、前後方向で積層させる状態として、連結用筒体31により、連結される。連結用筒体31は、外周側に雄ねじ31aを設け、内周側にねじ孔31bを備えて、構成され、積層させた連結片部18,24に貫通させつつ螺着させて、連結片部18,24相互を連結する。複数の連結用筒体31の一つ31Aが、内周側のねじ孔31bに螺合する取付ねじ33により、遊技盤14の前面14a側に取り付けられる取付部材34を取り付けている。
【選択図】図6
Description
本発明は、遊技盤が、盤面に沿う方向で複数に分割された分割盤部を連結させて構成されるパチンコ遊技機に関する。
従来、パチンコ遊技機では、遊技盤が、盤面に沿う方向で複数に分割された分割盤部を連結させて構成されるものが知られている(例えば、特許文献1参照)。
このようなパチンコ遊技機では、遊技盤の一部の部分的な交換を、所定の分割盤部毎に選択して容易に行え、修理やリユースに便利となっていた。勿論、このようなパチンコ遊技機では、一枚の合板(ベニヤ板)や合成樹脂板から、センター役物の配設部位を繰り抜いて、遊技盤を製造する場合に比べて、小ピースに分割された板材からなる分割盤部を形成して、分割盤部相互を連結すれば遊技盤を製造でき、極力、加工屑を減少して、遊技盤を製造することができる等のメリットがあった。
なお、従来のパチンコ遊技機では、上下方向に三分割された三つの分割盤部から形成されて、分割盤部相互の連結は、係合片とその係合片に係合する係合孔、あるいは、ダボとダボを嵌入させるダボ穴、等の係合手段を利用していた。
特開2003−290457号公報
しかし、従来のパチンコ遊技機では、遊技盤の分割盤部が、合板や合成樹脂板から形成されており、分割盤部にねじ止めした取付部材(台板部等)を、修理等で取り外して、再度、取り付ける際、ねじ孔がバカ穴になって、取付不能となる場合があった。このような場合には、再度、ねじ孔を設ける等の加工が必要となって、手間となり、取付部材の交換、修理、リユース時等に不便となってしまう。
本発明は、上述の課題を解決するものであり、分割盤部からなる遊技盤に取り付けられる取付部材を、交換、修理、リユース時を含めて、容易に取り付けることができるパチンコ遊技機を提供することを目的とする。
本発明に係るパチンコ遊技機は、遊技盤が、盤面に沿う方向で複数に分割された分割盤部を連結させて構成されるパチンコ遊技機であって、
分割盤部が、対応する相互の連結部位に、それぞれ、遊技盤の前後方向で積層される連結片部を、備えて構成され、
分割盤部相互が、
対応する連結片部相互を、前後方向で積層させた状態として、
外周側に雄ねじを設けて内周側をねじ孔とした連結用筒体を、雄ねじを利用し、積層させた連結片部に貫通させつつ螺着させて、積層させた連結片部相互を締結することにより、
連結される構成とし、
連結用筒体が、複数使用されるとともに、複数の連結用筒体の少なくとも一つが、内周側のねじ孔により、遊技盤の前面側に取り付けられる取付部材を取り付けていることを特徴とする。
分割盤部が、対応する相互の連結部位に、それぞれ、遊技盤の前後方向で積層される連結片部を、備えて構成され、
分割盤部相互が、
対応する連結片部相互を、前後方向で積層させた状態として、
外周側に雄ねじを設けて内周側をねじ孔とした連結用筒体を、雄ねじを利用し、積層させた連結片部に貫通させつつ螺着させて、積層させた連結片部相互を締結することにより、
連結される構成とし、
連結用筒体が、複数使用されるとともに、複数の連結用筒体の少なくとも一つが、内周側のねじ孔により、遊技盤の前面側に取り付けられる取付部材を取り付けていることを特徴とする。
本発明に係るパチンコ遊技機では、分割盤部の連結片部相互を連結する連結用筒体が、外周側に雄ねじを設け、内周側にねじ孔を設けて構成されている。そのため、対応する連結片部相互を、前後方向に積層させた状態として、雄ねじを有した連結用筒体を、ねじ部材のように利用して、対応する連結片部相互に貫通させつつ螺着させれば、対応する連結片部相互を締結でき、分割盤部が相互に連結されて、遊技盤を製造することができる。
また、連結用筒体は、内周側がねじ孔として構成されており、所定の連結用筒体の内周側のねじ孔を利用して、遊技盤の前面側に取り付けられる取付部材を、所定の取付ねじを利用したねじ止めにより、取り付けることができる。そして、連結用筒体を、予め、ねじ孔を含めて、耐久性を有した材料(例えば、金属材料)から形成しておけば、取付部材の取り付けや取り外しを繰り返しても、ねじ孔がバカ穴にならず、取付部材の着脱を円滑に行うことができる。
したがって、本発明に係るパチンコ遊技機では、分割盤部からなる遊技盤に取り付けられる取付部材を、連結用筒体のねじ孔に螺合する取付ねじを利用して、容易に、遊技盤に取り付けることができ、交換、修理、リユース時を含めて、取付部材の取付が容易となる。
勿論、本発明に係るパチンコ遊技機では、遊技盤が複数の分割盤部から構成されており、分割盤部から構成されるメリット、すなわち、遊技盤の一部の部分的な交換を、所定の分割盤部毎に選択して容易に行え、遊技盤の修理やリユースに便利となり、さらに、小ピースに分割された板材の分割盤部から、遊技盤が形成されており、極力、加工屑を減少して、遊技盤を製造することができる等のメリットも確保できる。
さらに、本発明に係るパチンコ遊技機では、複数の分割盤部を連結した連結用筒体の内周側を利用して、取付部材を取り付ける構成であり、別途、別々の位置で、分割盤部相互の連結や取付部材の取付を行う場合に比べて、遊技盤の遊技領域を狭めることを、極力、抑制することができる。
そして、本発明に係るパチンコ遊技機では、分割盤部相互の対応する連結片部は、前後方向に積層させる際に、分割盤部の相互の前面側を面一とするように、相互に嵌合可能な凹部若しくは凸部を設けて、構成することが望ましい。このような構成では、連結した分割盤部の前面を、面一の平面に形成できて、分割盤部の連結部位が、遊技球の通過領域となっても、支障なく、遊技球を通過させることができる。
また、本発明に係るパチンコ遊技機では、複数の連結用筒体の少なくとも一つは、ねじ孔を遊技盤の後面側まで貫通させて、配設することが望ましい。このような構成では、遊技盤の後面側まで貫通させたねじ孔を利用して、遊技盤の後面側に取り付けられる取付部材(例えば、盤裏カバー、裏樋、液晶ベース等)の着脱を容易に行うことができ、後面側の取付部材の交換、修理、リユース時の取付が容易となる。
さらに、複数の連結用筒体の少なくとも一つが、ねじ孔を遊技盤の後面側まで貫通して、配設されている場合には、そのねじ孔を有した連結用筒体の後面側に、光源を配設し、光源の前方の取付部材を、光源からの光を透過可能な透過材料から形成するとともに、光源からの光を加飾させて遊技盤の前方側へ放射可能な放射体として構成して、その放射体を、ねじ孔を利用して、前面側から連結用筒体に取り付けてもよい。このような構成では、後面側に配置した光源の光を、連結用筒体の内周側を通した後、放射体から、遊技盤の意匠効果を高めるように、加飾させて、遊技盤の前方側へ放射することができる。
なお、分割盤部は、合板や合成樹脂板から形成することができ、合成樹脂板から形成する場合には、アクリルやポリカーボネイト等の透明材料から形成してもよい。また、分割盤部を合成樹脂板から形成する場合には、小ピースの板材から切削等の加工により形成する他、射出成形等の型成形により、形成してもよい。
さらに、分割盤部には、相互に連結する前に、連結用筒体のねじ孔を利用して取り付ける部位を除き、風車、役物等の遊技盤の前面側に取り付けられる取付部材を、釘とともに、前面側に、取り付けて構成しておいたり、あるいは、分割盤部を相互に連結して遊技盤を製造した後、遊技盤の略全域にかけて、一体的に、連結用筒体のねじ孔を利用しつつ、風車、役物等の取付部材を、釘とともに、連結した分割盤部の前面側の所定位置に、取り付けてもよい。
以下、本発明の一実施形態を図面に基づいて説明すると、実施形態のパチンコ遊技機(以下、単に遊技機と略す)1では、図1に示すように、機枠3の上部前面側に、額縁状の前面枠5が、軸支部4,4を利用して、回動自在に軸支されて配設されている。前面枠5の前面側の下部の前板部8には、公知の操作ハンドル9や皿ユニット12が配設されている。また、前面枠5の前面側には、ガラス板11を設けたガラス扉枠10が取り付けられている。
そして、前面枠5の後面側には、図4に示すように、遊技盤14を取り付けるための固定具6が三箇所に配設されている。各固定具6には、鉛直方向に沿って回動する押え片7が、配設されている。また、前面枠5の後面側には、遊技盤14を嵌め込む嵌合部5aが形成され、各押え片7は、嵌合部5aに嵌め込まれた遊技盤14の後面14bを押えて、前面枠5に遊技盤14を取り付ける役目を果たす。さらに、嵌合部5aには、遊技盤14の位置決めが容易なように、遊技盤14の嵌合凹部(穴部)14cに嵌合可能な嵌合凸部5bも、配設されている。
遊技盤14の前面側となる遊技盤面14aには、図1に示すように、外側レール35と内側レール36とで囲まれた遊技領域15が配設され、遊技領域15には、その中央に、センター役物44が配設されている。センター役物44の周囲には、図示しない釘、風車37、普通入賞口38、賞球の無い入賞口39、始動入賞口40、電動チューリップ41、大入賞口42、アウト口43等の公知の取付部材34が配設されている。そして、操作ハンドル9を操作し、遊技球を外側レール35と内側レール36との間から遊技領域15に打ち出せば、遊技球は、普通入賞口38、賞球の無い入賞口39、始動入賞口40、電動チューリップ41、大入賞口42、アウト口43、センター役物44のいずれかに入球する。そして、遊技球が、普通入賞口38、開放時の大入賞口42、センター役物44に入賞すれば、所定数の遊技球を獲得でき、入賞口39に入賞すれば、抽選により電動チューリップ41を所定時間若しくは所定回数開放させることとなる。また、遊技球が、始動入賞口40や開放時の電動チューリップ41に入賞すれば、抽選により、大当たり、中当たり、小当たり等の当たりや外れが決定され、当たりとなれば、大入賞口42やセンター役物44の片開きチューリップ44aを、その当たりに応じて開放時間、開放回数、入賞個数等を制限して、開放することとなる。これらの作動や遊技フローは、公知のものであり、遊技盤面14aの背面側に配置された図示しないメイン制御基板が、入賞時のセンシングに基づき、各種の作動信号を出力し、そして、メイン制御基板からの当たりや外れ等の抽選結果に基づいて、図示しないサブ制御基板が、所定数の遊技球を払い出したり、所定のランプやスピーカ等を作動させることとなる。なお、センター役物44では、片開きチューリップ44aの開き時、遊技球が入球すれば、所定数の遊技球を払い出すとともに、入球した遊技球を、傾斜路44b、44c、44d、44e、44f、44gを入球口44hまで順次転動させ、その際、当たりに応じて、振り分け装置44iによって、入球口44hまで到達しないように、センター役物44から排出している。
そして、実施形態の遊技盤14は、図1〜4に示すように、透明なアクリル製の合成樹脂から形成されるとともに、遊技盤面14aに沿う方向で三つに分割された分割盤部16,21,26を連結させて構成されている。分割盤部16は、センター役物44の下方側に配設され、分割盤部21は、センター役物44の左方側から上方側にかける領域に配設され、分割盤部26は、センター役物44の右方側から上方側にかける領域に配設されている。
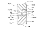
各分割盤部16,21,26は、それぞれ、対応する相互の連結部位に配置される連結片部18,19,23,24,28,29と、連結片部18,19,23,24,28,29以外の部位の本体部17,22,27と、を備えて構成されている。実施形態の場合、連結片部18,19,23,24,28,29は、それぞれ、遊技盤14の前後方向で積層するように配設されている。
すなわち、連結片部18は、分割盤部16の本体部17における左方側の上縁に配設され、連結片部19は、分割盤部16の本体部17における右方側の上縁に配設されている。連結片部24は、分割盤部21の本体部22の下縁側に配置されて、本体部17,22相互を面一とするように、連結片部18の後方側に重なって連結されるもので、連結片部18の後方側の凹部18aに嵌るように、前面側に連結片部18を配置させる凹部24aを設けて、構成されている。連結片部28は、分割盤部26の本体部27の下縁側に配置されて、本体部17,27相互を面一とするように、連結片部19の前方側に重なって連結されるもので、連結片部19の前方側の凹部19aに嵌るように、後面側に連結片部19を配置させる凹部28aを設けて配置されている。また、分割盤部21の本体部22における右縁に配置される連結片部23と、分割盤部26の本体部27における左縁に配置される連結片部29とは、相互に連結されるものである。そして、本体部22,27相互を面一とするように、連結片部23が、後面側に連結片部29を配置させる凹部23aを備え、連結片部29が、前面側に連結片部23を配置させる凹部29aを備えて構成されている。
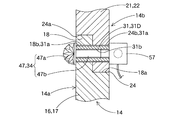
そして、前後で積層される連結片部18,24相互、連結片部28,19相互、及び、連結片部23,29相互は、対応する二箇所ずつの位置に、前後に貫通する貫通孔18b,24b,28b,19b,23b,29bを備えて構成されている。これらの前後で貫通する貫通孔18b,24b、貫通孔28b,19b、及び、貫通孔23b,29bには、連結片部18,24相互、連結片部28,19相互、及び、連結片部23,29相互を連結するための連結用筒体31が、螺着されている。連結用筒体31は、図5に示すように、所謂、セルフ・タッピング・インサートと言われるものであり、アルミニウム合金等の金属材料から形成され、外周側に雄ねじ31aが設けられるとともに、内周側にねじ孔31bが設けられて構成されている。連結用筒体31の一方の端面には、貫通孔18b,24b、貫通孔28b,19b、及び、貫通孔23b,29bに絞め込む際にドライバー等の治具を嵌める凹溝32が形成されている。
なお、実施形態の場合、連結用筒体31は、遊技盤14の後面14b側まで、ねじ孔31bを貫通させて配設されている。
また、実施形態の場合、連結用筒体31を嵌め込む際、貫通孔18b,24b相互、貫通孔28b,19b相互、及び、貫通孔23b,29b相互の配置位置を一致させ易いように、連結片部18,24相互、連結片部28,19相互、及び、連結片部23,29相互には、相互に嵌合される位置決め用の係合凸部14dと係合凹部14eとが、対応して、配設されている(図2,3,10参照)。
さらに、連結片部18,24相互、連結片部28,19相互、及び、連結片部23,29相互を連結した際の連結用筒体31の内、実施形態の場合、図3に示すように、4つの連結用筒体31A,31B,31C,31D,31Eは、ねじ孔31bに螺合する取付ねじ33,51を利用して、遊技盤14の前面(遊技盤面)14a側に取り付けられる取付部材(前側部材)34を取り付けている。
すなわち、連結用筒体31A,31B,31Cは、取付部材34としてのセンター役物44の台板部45を、遊技盤14に取り付けるために使用されるもので、各取付ねじ33を、台板部45の各取付孔45aを経て、連結用筒体31A,31B,31Cのねじ孔31bに螺着させることにより、台板部45を遊技盤14の前面(遊技盤面)14a側に取り付けている(図3,6参照)。
連結用筒体31Dのねじ孔31bは、図3,7に示すように、取付部材34としての透明な放射体47を遊技盤14に取り付けるために使用される。放射体47は、透明なアクリル等の合成樹脂から形成され、ねじ孔31bに螺合される雄ねじ部47bと、雄ねじ部47bの端部に配置されて、遊技盤面14aに露出される頭部47aと、を備えて構成されている。頭部47aは、多数の屈折光を放射可能に多数のカット面を設けて構成された略半球状としている。この放射体47を取り付けた連結用筒体31Dにおける遊技盤14の後面14b側には、発光ダイオード等からなる光源57が配設されている。そのため、光源57から発する光が、雄ねじ部47bを経て頭部47aに到達すれば、その頭部47aから種々の方向に屈折されて放射される。すなわち、この放射体47が、光源57からの光を、加飾させて遊技盤14の前方側へ放射させることができて、遊技機1の意匠効果を高めることができる。
また、連結用筒体31Eは、図3,8に示すように、取付部材34としての装飾板49を、遊技盤14に取り付けるために使用され、取付ねじ51を装飾板49の取付孔49aを経て、連結用筒体31Eのねじ孔31bに螺着させることにより、装飾板49を遊技盤14の前面(遊技盤面)14a側に取り付けている。さらに、この連結用筒体31Eでは、遊技盤14の後面14b側まで貫通させねじ孔31bを利用して、遊技盤14の後面14b側に取り付けられる取付部材(後側部材)55を取り付けている。すなわち、連結用筒体31Eは、取付ねじ53を、後面14b側の取付部材55としての盤裏カバー56の取付孔56aを経て、ねじ孔31bに螺合させることにより、盤裏カバー56を遊技盤14の後面14b側に取り付けている。ちなみに、この盤裏カバー56は、液晶モジュール等の遊技盤14の後面14b側に表れる部位、部材、部品を広く覆うものである。
なお、この遊技盤14では、各分割盤部16,21,26の本体部17,22,27にも、取付部材34(図例では台板部45)をねじ止めして、取り付けるために、貫通孔17a,22a,27aを設けて、連結用筒体31を螺着させている(図9参照)。
そして、実施形態の場合、製造時には、所定形状の合成樹脂板から対応する外形形状を切り出すとともに、入賞口38やセンター役物44等の開口や、各貫通孔18b,19b,23b,24b,28b,29b,17a,22a,27a、さらには、嵌合凹部14c、係合凸部14d、係合凹部14e等を形成して、各分割盤部16,21,26を、準備する。
そして、係合凸部14dと係合凹部14eとを相互に係合させつつ、連結片部18,24相互、連結片部28,19相互、及び、連結片部23,29相互を、それぞれ、前後に重ね、ついで、前後で貫通する貫通孔18b,24b、貫通孔28b,19b、及び、貫通孔23b,29bに、連結用筒体31を螺着させる。これにより、連結片部18,24相互、連結片部28,19相互、及び、連結片部23,29相互が連結され、遊技盤14が一枚の板状に連結される。
その後、取付ねじ33,51,53を使用して、取付部材34としての台板部45、放射体47、装飾板49を遊技盤面14aに取り付けるとともに、遊技盤14の後面14b側に取付部材55としての盤裏カバー56を取り付ける。さらに、図示しない釘とともに、他の外側レール35、内側レール36、風車37、普通入賞口38、賞球の無い入賞口39、始動入賞口40、電動チューリップ41、大入賞口42、サイドランプ等の前面14a側に取り付ける取付部材34や、裏樋や液晶ベース等の後面14b側に取り付ける取付部材55を遊技盤14に取り付ける。そして、遊技盤14は、既述したように、前面枠5の嵌合部5aに嵌め込み、嵌合凹部14cに嵌合凸部5bを嵌合させるとともに、各固定具6の押え片7を利用して、前面枠5に取り付ければ、遊技機1として利用可能となる。
この実施形態の遊技機1では、分割盤部16,21,26の連結片部18,24相互、連結片部28,19相互、及び、連結片部23,29相互を連結する連結用筒体31が、外周側に雄ねじ31aを設け、内周側にねじ孔31bを設けて構成されている。そのため、対応する連結片部18,24相互、連結片部28,19相互、及び、連結片部23,29相互を、前後方向に積層させた状態として、雄ねじ31aを有した連結用筒体31を、ねじ部材のように利用して、対応する連結片部18,24相互、連結片部28,19相互、及び、連結片部23,29相互における前後で貫通する貫通孔18b,24b、貫通孔28b,19b、及び、貫通孔23b,29bに貫通させつつ螺着させれば、対応する連結片部18,24相互、連結片部28,19相互、及び、連結片部23,29相互を締結でき、分割盤部16,21,26が相互に連結されて、遊技盤14を製造することができる。
また、連結用筒体31は、内周側がねじ孔31bとして構成されており、所定の連結用筒体31(31A,31B,31C,31D,31E)の内周側のねじ孔31bを利用して、遊技盤14の前面側に取り付けられる取付部材34(台板部45、放射体47、装飾板49)を、所定の取付ねじ33,51を利用したねじ止めにより、取り付けることができる。そして、連結用筒体31が、予め、ねじ孔31bを含めて、分割盤部16,21,26を形成する合成樹脂材料に比べて、耐久性を有した金属材料(実施形態ではアルミニウム合金)から形成されており、取付部材34の取り付けや取り外しを繰り返しても、ねじ孔31bがバカ穴にならず、取付部材34の着脱を円滑に行うことができる。
したがって、実施形態の遊技機1では、分割盤部16,21,26からなる遊技盤14に取り付けられる取付部材34を、連結用筒体31のねじ孔31bに螺合する取付ねじ33,51を利用して、容易に、遊技盤14に取り付けることができ、交換、修理、リユース時を含めて、取付部材34の取付が容易となる。
勿論、実施形態の遊技機1では、遊技盤14が複数の分割盤部16,21,26から構成されており、分割盤部16,21,26から構成されるメリット、すなわち、遊技盤14の一部の部分的な交換を、所定の分割盤部16,21,26毎に選択して容易に行え、遊技盤14の修理やリユースに便利となり、さらに、小ピースに分割された板材の分割盤部16,21,26から、遊技盤14が形成されており、極力、加工屑を減少して、遊技盤14を製造することができる等のメリットも確保できる。
さらに、実施形態の遊技機1では、複数の分割盤部16,21,26を連結した連結用筒体31の内周側を利用して、取付部材34を取り付ける構成であり、別途、別々の位置で、分割盤部16,21,26相互の連結や取付部材34の取付を行う場合に比べて、遊技盤14の遊技領域15を狭めることを、極力、抑制することができる。
そして、実施形態の遊技機1では、分割盤部16,21,26相互の対応する連結片部18,24相互、連結片部28,19相互、及び、連結片部23,29相互が、前後方向に積層させる際に、分割盤部16,21,26の本体部17,22,27相互の前面側を面一とするように、相互に嵌合可能な凹部18a,24a,28a,19a,23a,29aを設けて構成されている。そのため、連結した分割盤部16,21,26の前面16a,21a,26aを、面一の平面に形成できて、分割盤部16,21,26の連結部位が、遊技球の通過領域となっても、支障なく、遊技球を通過させることができる。
なお、実施形態では、連結片部18,24相互、連結片部28,19相互、及び、連結片部23,29相互を、凹部18a,19a,23a,24a,28a,29aを設けて、面一とする構成を示したが、前後方向に積層させるように、凹部や凸部を組み合わせたり、凸部相互を重ねて、面一の平面に形成してもよい。例えば、図11に示す分割盤部16A,21Aのように、凹溝18cを間に設けた連結片部18A,18Aと、凹溝18cに嵌合される突条24cを設けてなる連結片部24Aと、を、連結用筒体31を締め付けて、前後方向に積層させるようして相互に連結させてもよい。
また、実施形態の遊技機1では、連結用筒体31Eが、図8に示すように、ねじ孔31bを遊技盤14の後面14b側まで貫通させて、配設されている。そのため、このような構成では、遊技盤14の後面14b側まで貫通させたねじ孔31bを利用して、遊技盤14の後面14b側に取り付けられる取付部材55(例えば、盤裏カバー56)の着脱を容易に行うことができ、後面14b側の取付部材55の交換、修理、リユース時の取付が容易となる。
さらに、実施形態の場合、図7に示すように、ねじ孔31bを遊技盤14の後面14b側まで貫通させて配設させている連結用筒体31Dには、そのねじ孔31bを利用して、取付部材34としての透明な放射体47が、前面(遊技盤面)14a側から取り付けられている。そして、放射体47を取り付けた連結用筒体31Dの後面14b側に、光源57が配設されている。このような構成では、後面14b側に配置した光源57の光を、連結用筒体31Dの内周側を通しつつ、放射体47から、意匠効果を高めて、前面(遊技盤面)14a側に光らせるようにすることができる。
なお、放射体としては、後面14b側に配置させる光源の光を透過可能な透過材料から形成されて、光源からの光を加飾させて遊技盤14の前方側へ放射可能であれば、実施形態のような光源57からの光を屈折させて、多数の屈折光を放射するような多数のカット面を設けて構成する他、レンズ状として、光源の光を拡散させたり収束させるように加飾させて、放射するように構成してもよい。さらに、別途、蛍光剤等の所定の処理層を頭部47a側に設け、光源にブラックライトを使用して、ブラックライトの光を利用して、処理層を発光させて、輝度を高めるように加飾した光を遊技盤14の前方側へ放射するように、放射体47を構成してもよい。
また、実施形態の場合、分割盤部16,21,26を、透明材料とする場合、アクリルの他、ポリカーボネイトの合成樹脂板から形成することができ、また、分割盤部16,21,26を合成樹脂板から形成する場合には、小ピースの板材から切削等の加工により形成する他、射出成形等の型成形により、形成してもよい。
勿論、分割盤部16,21,26は、合板から形成してもよい。なお、図11に示す分割盤部16A,21Aは、合板から形成されている。
さらに、分割盤部16,21,26には、相互に連結する前に、連結用筒体31のねじ孔31bを利用して取り付ける部位を除き、釘とともに、風車、役物等の遊技盤14の前面(遊技盤面)14a側に取り付けられる取付部材34を、前面(遊技盤面)14a側に、取り付けて構成しておいたり、あるいは、実施形態のように、分割盤部16,21,26を相互に連結して遊技盤14を製造した後、遊技盤14の略全域にかけて、一体的に、連結用筒体31のねじ孔31bを利用しつつ、釘とともに、風車、役物等の取付部材34を、連結した分割盤部16,21,26の前面(遊技盤面)14a側の所定位置に、取り付けてもよい。
なお、実施形態では、遊技盤14を三つの分割盤部16,21,26に分割したが、二個、あるいは、四個以上の複数の分割盤部から遊技盤14を形成してもよい。
また、実施形態では、図7に示すように、放射体47を、分割盤部16,21の連結片部18,24相互を連結した連結用筒体31Dのねじ孔31bに螺合させて配設した場合を示したが、連結片部の部位ばかりでなく、分割盤部の本体部の位置に設けてもよい。さらに、放射体47の放射する光の意匠効果を確保できれば、分割盤部でなくとも、一枚状の遊技盤に連結用筒体31を設け、そのねじ孔31bを利用して、その遊技盤に配設してもよい。
さらに、分割盤部における連結片部の部位に限らず、遊技盤14の前面14aや後面14bに取り付けられる取付部材の全てを、連結用筒体31を利用して、遊技盤14に取り付けるようにしてもよい。
1…(パチンコ)遊技機、
14…遊技盤、
14a…前面、遊技盤面、
16,21,26…分割盤部、
18,19,23,24,28,29…取付片部、
18b,19b,23b,24b,28b,29b…凹部、
31…連結用筒体、
31a…雄ねじ、
31b…ねじ孔、
33,51,53…取付ねじ、
34…(遊技盤の前面側に取り付ける)取付部材、
45…台板部、
47…放射体、
49…装飾板、
55…(遊技盤の後面側に取り付ける)取付部材、
56…盤裏カバー。
14…遊技盤、
14a…前面、遊技盤面、
16,21,26…分割盤部、
18,19,23,24,28,29…取付片部、
18b,19b,23b,24b,28b,29b…凹部、
31…連結用筒体、
31a…雄ねじ、
31b…ねじ孔、
33,51,53…取付ねじ、
34…(遊技盤の前面側に取り付ける)取付部材、
45…台板部、
47…放射体、
49…装飾板、
55…(遊技盤の後面側に取り付ける)取付部材、
56…盤裏カバー。
Claims (7)
- 遊技盤が、盤面に沿う方向で複数に分割された分割盤部を連結させて構成されるパチンコ遊技機であって、
前記分割盤部が、対応する相互の連結部位に、それぞれ、遊技盤の前後方向で積層される連結片部を、備えて構成され、
前記分割盤部相互が、
対応する前記連結片部相互を、前後方向で積層させた状態として、
外周側に雄ねじを設けて内周側をねじ孔とした連結用筒体を、前記雄ねじを利用し、積層させた前記連結片部に貫通させつつ螺着させて、積層させた連結片部相互を締結することにより、
連結される構成とし、
前記連結用筒体が、複数使用されるとともに、複数の前記連結用筒体の少なくとも一つが、内周側のねじ孔により、遊技盤の前面側に取り付けられる取付部材を取り付けていることを特徴とするパチンコ遊技機。 - 前記分割盤部相互の対応する前記連結片部が、前後方向に積層させる際に、前記分割盤部の相互の前面側を面一とするように、相互に嵌合可能な凹部若しくは凸部を設けて、構成されていることを特徴とする請求項1に記載のパチンコ遊技機。
- 複数の前記連結用筒体の少なくとも一つが、前記ねじ孔を遊技盤の後面側まで貫通させて、配設されていることを特徴とする請求項1若しくは請求項2に記載のパチンコ遊技機。
- 前記ねじ孔を遊技盤の後面側まで貫通させた前記連結用筒体が、内周側の前記ねじ孔を利用して、遊技盤の後面側に取り付けられる取付部材を取り付けていることを特徴とする請求項3に記載のパチンコ遊技機。
- 遊技盤の前面側に前記取付部材を取り付けた前記連結用筒体の後面側に、光源が配設され、
該光源の前方の前記取付部材が、前記光源からの光を透過可能な透過材料から形成されるとともに、前記光源からの光を加飾させて遊技盤の前方側へ放射可能な放射体として構成され、前記ねじ孔を利用して、前面側から前記連結用筒体に取り付けられていることを特徴とする請求項3に記載のパチンコ遊技機。 - 前記分割盤部が、合板から形成されていることを特徴とする請求項1乃至請求項5のいずれか1項に記載のパチンコ遊技機。
- 前記分割盤部が、合成樹脂板から形成されていることを特徴とする請求項1乃至請求項5のいずれか1項に記載のパチンコ遊技機。
Priority Applications (1)
| Application Number | Priority Date | Filing Date | Title |
|---|---|---|---|
| JP2008272799A JP4819108B2 (ja) | 2008-10-23 | 2008-10-23 | パチンコ遊技機 |
Applications Claiming Priority (1)
| Application Number | Priority Date | Filing Date | Title |
|---|---|---|---|
| JP2008272799A JP4819108B2 (ja) | 2008-10-23 | 2008-10-23 | パチンコ遊技機 |
Publications (2)
| Publication Number | Publication Date |
|---|---|
| JP2010099224A true JP2010099224A (ja) | 2010-05-06 |
| JP4819108B2 JP4819108B2 (ja) | 2011-11-24 |
Family
ID=42290400
Family Applications (1)
| Application Number | Title | Priority Date | Filing Date |
|---|---|---|---|
| JP2008272799A Expired - Fee Related JP4819108B2 (ja) | 2008-10-23 | 2008-10-23 | パチンコ遊技機 |
Country Status (1)
| Country | Link |
|---|---|
| JP (1) | JP4819108B2 (ja) |
Cited By (27)
| Publication number | Priority date | Publication date | Assignee | Title |
|---|---|---|---|---|
| JP2013123567A (ja) * | 2011-12-15 | 2013-06-24 | Moriso:Kk | 弾球遊技機用遊技盤装置 |
| JP2013123568A (ja) * | 2011-12-15 | 2013-06-24 | Moriso:Kk | 弾球遊技機用遊技盤装置 |
| JP2014073247A (ja) * | 2012-10-04 | 2014-04-24 | Fujishoji Co Ltd | 遊技機 |
| JP2014124377A (ja) * | 2012-12-26 | 2014-07-07 | Sanyo Product Co Ltd | 遊技機 |
| JP2018158212A (ja) * | 2018-07-17 | 2018-10-11 | 株式会社三洋物産 | 遊技機 |
| JP2018158210A (ja) * | 2018-07-17 | 2018-10-11 | 株式会社三洋物産 | 遊技機 |
| JP2019076226A (ja) * | 2017-10-20 | 2019-05-23 | サミー株式会社 | 遊技機 |
| JP2022066339A (ja) * | 2020-02-27 | 2022-04-28 | 株式会社三洋物産 | 遊技機 |
| JP2022066338A (ja) * | 2020-02-27 | 2022-04-28 | 株式会社三洋物産 | 遊技機 |
| JP2022085947A (ja) * | 2020-11-30 | 2022-06-09 | 株式会社大一商会 | 遊技機 |
| JP2022085954A (ja) * | 2020-11-30 | 2022-06-09 | 株式会社大一商会 | 遊技機 |
| JP2022085944A (ja) * | 2020-11-30 | 2022-06-09 | 株式会社大一商会 | 遊技機 |
| JP2022085941A (ja) * | 2020-11-30 | 2022-06-09 | 株式会社大一商会 | 遊技機 |
| JP2022085945A (ja) * | 2020-11-30 | 2022-06-09 | 株式会社大一商会 | 遊技機 |
| JP2022103866A (ja) * | 2020-12-28 | 2022-07-08 | 株式会社大一商会 | 遊技機 |
| JP2022103570A (ja) * | 2020-12-28 | 2022-07-08 | 株式会社大一商会 | 遊技機 |
| JP2022103865A (ja) * | 2020-12-28 | 2022-07-08 | 株式会社大一商会 | 遊技機 |
| JP2022103864A (ja) * | 2020-12-28 | 2022-07-08 | 株式会社大一商会 | 遊技機 |
| JP2022103867A (ja) * | 2020-12-28 | 2022-07-08 | 株式会社大一商会 | 遊技機 |
| JP2022103568A (ja) * | 2020-12-28 | 2022-07-08 | 株式会社大一商会 | 遊技機 |
| JP2022103868A (ja) * | 2020-12-28 | 2022-07-08 | 株式会社大一商会 | 遊技機 |
| JP2022103569A (ja) * | 2020-12-28 | 2022-07-08 | 株式会社大一商会 | 遊技機 |
| JP2022187628A (ja) * | 2021-06-08 | 2022-12-20 | 株式会社大一商会 | 遊技機 |
| JP2022187629A (ja) * | 2021-06-08 | 2022-12-20 | 株式会社大一商会 | 遊技機 |
| JP2022187627A (ja) * | 2021-06-08 | 2022-12-20 | 株式会社大一商会 | 遊技機 |
| JP7568222B2 (ja) | 2020-11-30 | 2024-10-16 | 株式会社大一商会 | 遊技機 |
| JP7568223B2 (ja) | 2020-11-30 | 2024-10-16 | 株式会社大一商会 | 遊技機 |
Citations (3)
| Publication number | Priority date | Publication date | Assignee | Title |
|---|---|---|---|---|
| JP2006015073A (ja) * | 2004-07-05 | 2006-01-19 | Olympia:Kk | 遊技機 |
| JP2006311954A (ja) * | 2005-05-09 | 2006-11-16 | Newgin Corp | 遊技機 |
| JP2007021178A (ja) * | 2005-02-03 | 2007-02-01 | Sanyo Product Co Ltd | 遊技機 |
-
2008
- 2008-10-23 JP JP2008272799A patent/JP4819108B2/ja not_active Expired - Fee Related
Patent Citations (3)
| Publication number | Priority date | Publication date | Assignee | Title |
|---|---|---|---|---|
| JP2006015073A (ja) * | 2004-07-05 | 2006-01-19 | Olympia:Kk | 遊技機 |
| JP2007021178A (ja) * | 2005-02-03 | 2007-02-01 | Sanyo Product Co Ltd | 遊技機 |
| JP2006311954A (ja) * | 2005-05-09 | 2006-11-16 | Newgin Corp | 遊技機 |
Cited By (42)
| Publication number | Priority date | Publication date | Assignee | Title |
|---|---|---|---|---|
| JP2013123568A (ja) * | 2011-12-15 | 2013-06-24 | Moriso:Kk | 弾球遊技機用遊技盤装置 |
| JP2013123567A (ja) * | 2011-12-15 | 2013-06-24 | Moriso:Kk | 弾球遊技機用遊技盤装置 |
| JP2014073247A (ja) * | 2012-10-04 | 2014-04-24 | Fujishoji Co Ltd | 遊技機 |
| JP2014124377A (ja) * | 2012-12-26 | 2014-07-07 | Sanyo Product Co Ltd | 遊技機 |
| JP2019076226A (ja) * | 2017-10-20 | 2019-05-23 | サミー株式会社 | 遊技機 |
| JP2018158212A (ja) * | 2018-07-17 | 2018-10-11 | 株式会社三洋物産 | 遊技機 |
| JP2018158210A (ja) * | 2018-07-17 | 2018-10-11 | 株式会社三洋物産 | 遊技機 |
| JP7315052B2 (ja) | 2020-02-27 | 2023-07-26 | 株式会社三洋物産 | 遊技機 |
| JP2022066339A (ja) * | 2020-02-27 | 2022-04-28 | 株式会社三洋物産 | 遊技機 |
| JP2022066338A (ja) * | 2020-02-27 | 2022-04-28 | 株式会社三洋物産 | 遊技機 |
| JP2022085954A (ja) * | 2020-11-30 | 2022-06-09 | 株式会社大一商会 | 遊技機 |
| JP2022085944A (ja) * | 2020-11-30 | 2022-06-09 | 株式会社大一商会 | 遊技機 |
| JP2022085941A (ja) * | 2020-11-30 | 2022-06-09 | 株式会社大一商会 | 遊技機 |
| JP2022085945A (ja) * | 2020-11-30 | 2022-06-09 | 株式会社大一商会 | 遊技機 |
| JP7576793B2 (ja) | 2020-11-30 | 2024-11-01 | 株式会社大一商会 | 遊技機 |
| JP7576791B2 (ja) | 2020-11-30 | 2024-11-01 | 株式会社大一商会 | 遊技機 |
| JP7576792B2 (ja) | 2020-11-30 | 2024-11-01 | 株式会社大一商会 | 遊技機 |
| JP7568221B2 (ja) | 2020-11-30 | 2024-10-16 | 株式会社大一商会 | 遊技機 |
| JP7568223B2 (ja) | 2020-11-30 | 2024-10-16 | 株式会社大一商会 | 遊技機 |
| JP7568220B2 (ja) | 2020-11-30 | 2024-10-16 | 株式会社大一商会 | 遊技機 |
| JP2022085947A (ja) * | 2020-11-30 | 2022-06-09 | 株式会社大一商会 | 遊技機 |
| JP7568222B2 (ja) | 2020-11-30 | 2024-10-16 | 株式会社大一商会 | 遊技機 |
| JP2022103868A (ja) * | 2020-12-28 | 2022-07-08 | 株式会社大一商会 | 遊技機 |
| JP2022103568A (ja) * | 2020-12-28 | 2022-07-08 | 株式会社大一商会 | 遊技機 |
| JP2022103866A (ja) * | 2020-12-28 | 2022-07-08 | 株式会社大一商会 | 遊技機 |
| JP7270986B2 (ja) | 2020-12-28 | 2023-05-11 | 株式会社大一商会 | 遊技機 |
| JP7270987B2 (ja) | 2020-12-28 | 2023-05-11 | 株式会社大一商会 | 遊技機 |
| JP2022103570A (ja) * | 2020-12-28 | 2022-07-08 | 株式会社大一商会 | 遊技機 |
| JP7440083B2 (ja) | 2020-12-28 | 2024-02-28 | 株式会社大一商会 | 遊技機 |
| JP7440079B2 (ja) | 2020-12-28 | 2024-02-28 | 株式会社大一商会 | 遊技機 |
| JP7440085B2 (ja) | 2020-12-28 | 2024-02-28 | 株式会社大一商会 | 遊技機 |
| JP7440081B2 (ja) | 2020-12-28 | 2024-02-28 | 株式会社大一商会 | 遊技機 |
| JP7440084B2 (ja) | 2020-12-28 | 2024-02-28 | 株式会社大一商会 | 遊技機 |
| JP7440080B2 (ja) | 2020-12-28 | 2024-02-28 | 株式会社大一商会 | 遊技機 |
| JP2022103569A (ja) * | 2020-12-28 | 2022-07-08 | 株式会社大一商会 | 遊技機 |
| JP2022103865A (ja) * | 2020-12-28 | 2022-07-08 | 株式会社大一商会 | 遊技機 |
| JP2022103867A (ja) * | 2020-12-28 | 2022-07-08 | 株式会社大一商会 | 遊技機 |
| JP2022103864A (ja) * | 2020-12-28 | 2022-07-08 | 株式会社大一商会 | 遊技機 |
| JP2022187629A (ja) * | 2021-06-08 | 2022-12-20 | 株式会社大一商会 | 遊技機 |
| JP2022187628A (ja) * | 2021-06-08 | 2022-12-20 | 株式会社大一商会 | 遊技機 |
| JP2022187627A (ja) * | 2021-06-08 | 2022-12-20 | 株式会社大一商会 | 遊技機 |
| JP7659813B2 (ja) | 2021-06-08 | 2025-04-10 | 株式会社大一商会 | 遊技機 |
Also Published As
| Publication number | Publication date |
|---|---|
| JP4819108B2 (ja) | 2011-11-24 |
Similar Documents
| Publication | Publication Date | Title |
|---|---|---|
| JP4819108B2 (ja) | パチンコ遊技機 | |
| JP2009207880A (ja) | パチンコ機 | |
| JP2008250067A (ja) | 電気装飾装置 | |
| JP2009207881A (ja) | パチンコ機 | |
| JP5398320B2 (ja) | 遊技機 | |
| JP4817720B2 (ja) | パチンコ機のランプ装置 | |
| US10775551B2 (en) | Lighting display assembly for a gaming machine | |
| JP2009082301A (ja) | スピーカーユニット及び遊技機 | |
| JP5252445B2 (ja) | 遊技機 | |
| JP4650165B2 (ja) | 装飾装置及び遊技機 | |
| JP2009273667A (ja) | 遊技機 | |
| JP2007222471A (ja) | 遊技盤の製造方法 | |
| JP2010017480A (ja) | 遊技盤および遊技盤の製造方法 | |
| JP2009082303A (ja) | 遊技機 | |
| JP2009061115A (ja) | 遊技機 | |
| JP2010017359A (ja) | 遊技機 | |
| JP4150829B2 (ja) | 遊技機 | |
| JP2013236710A (ja) | 遊技機 | |
| JP2008104573A (ja) | 遊技盤面装飾部品 | |
| JP2005204797A (ja) | 発光飾り装置 | |
| JP4324917B2 (ja) | 遊技機 | |
| JP6803671B2 (ja) | 遊技機 | |
| JP5049019B2 (ja) | 電飾ユニット | |
| JP2003079829A (ja) | 電飾装置 | |
| JP4681317B2 (ja) | 遊技盤 |
Legal Events
| Date | Code | Title | Description |
|---|---|---|---|
| TRDD | Decision of grant or rejection written | ||
| A01 | Written decision to grant a patent or to grant a registration (utility model) |
Free format text: JAPANESE INTERMEDIATE CODE: A01 Effective date: 20110802 |
|
| A01 | Written decision to grant a patent or to grant a registration (utility model) |
Free format text: JAPANESE INTERMEDIATE CODE: A01 |
|
| A61 | First payment of annual fees (during grant procedure) |
Free format text: JAPANESE INTERMEDIATE CODE: A61 Effective date: 20110831 |
|
| FPAY | Renewal fee payment (event date is renewal date of database) |
Free format text: PAYMENT UNTIL: 20140909 Year of fee payment: 3 |
|
| R150 | Certificate of patent or registration of utility model |
Free format text: JAPANESE INTERMEDIATE CODE: R150 |
|
| R250 | Receipt of annual fees |
Free format text: JAPANESE INTERMEDIATE CODE: R250 |
|
| LAPS | Cancellation because of no payment of annual fees |