JP2010096844A - トナー - Google Patents
トナー Download PDFInfo
- Publication number
- JP2010096844A JP2010096844A JP2008265420A JP2008265420A JP2010096844A JP 2010096844 A JP2010096844 A JP 2010096844A JP 2008265420 A JP2008265420 A JP 2008265420A JP 2008265420 A JP2008265420 A JP 2008265420A JP 2010096844 A JP2010096844 A JP 2010096844A
- Authority
- JP
- Japan
- Prior art keywords
- resin
- toner
- acid
- electrostatic latent
- polyester
- Prior art date
- Legal status (The legal status is an assumption and is not a legal conclusion. Google has not performed a legal analysis and makes no representation as to the accuracy of the status listed.)
- Granted
Links
Images
Landscapes
- Developing Agents For Electrophotography (AREA)
Abstract
【課題】耐ホットオフセット性を確保しつつ、低温定着性にも優れ、画像濃度、ヘイズ度が良好な画像を得ることが可能なトナーの提供。
【解決手段】第1の樹脂(a)を含有する樹脂粒子(A)もしくは被膜(P)が、第2の樹脂(b)、及び第3の樹脂(d)を含有する樹脂粒子(B)の表面に付着されてなる樹脂粒子(C)からなるトナーであって、樹脂(b)が、ポリヒドロキシカルボン酸骨格を含有するポリエステルジオール(b11)と(b11)以外のポリエステルジオール(b12)とを、伸長剤とともに反応させて得られる直鎖状のポリエステル系樹脂(b1)を含有し、樹脂(d)が光学活性モノマーからなるポリヒドロキシカルボン酸骨格を含有し、該ポリヒドロキシカルボン酸骨格がモノマー成分換算で光学純度X(%)=|X()(L体)−X()(D体)|〔ただし、X(L体)、X(D体)は光学活性モノマー換算でのL体比率、D体比率(モル%)を表す〕が80%以下であるトナー。
【選択図】なし
【解決手段】第1の樹脂(a)を含有する樹脂粒子(A)もしくは被膜(P)が、第2の樹脂(b)、及び第3の樹脂(d)を含有する樹脂粒子(B)の表面に付着されてなる樹脂粒子(C)からなるトナーであって、樹脂(b)が、ポリヒドロキシカルボン酸骨格を含有するポリエステルジオール(b11)と(b11)以外のポリエステルジオール(b12)とを、伸長剤とともに反応させて得られる直鎖状のポリエステル系樹脂(b1)を含有し、樹脂(d)が光学活性モノマーからなるポリヒドロキシカルボン酸骨格を含有し、該ポリヒドロキシカルボン酸骨格がモノマー成分換算で光学純度X(%)=|X()(L体)−X()(D体)|〔ただし、X(L体)、X(D体)は光学活性モノマー換算でのL体比率、D体比率(モル%)を表す〕が80%以下であるトナー。
【選択図】なし
Description
本発明は複写機、静電印刷、プリンター、ファクシミリ、静電記録等の電子写真方式の画像形成に用いられるトナー、並びに該トナーを用いた画像形成装置、画像形成方法、及びプロセスカートリッジに関する。
従来より、電子写真方式の画像形成装置、静電記録装置等において、電気的又は磁気的潜像は、トナーによって顕像化される。例えば、電子写真法では、感光体上に静電荷像(潜像)を形成した後、トナーを用いて潜像を現像して、トナー画像を形成している。トナー画像は、通常、紙等の記録媒体上に転写された後、加熱等の方法で定着される。
静電荷像の現像に使用されるトナーは、一般に、結着樹脂中に、着色剤、帯電制御剤等を含有する着色粒子であり、その製造方法には、大別して粉砕法と懸濁重合法とがある。
静電荷像の現像に使用されるトナーは、一般に、結着樹脂中に、着色剤、帯電制御剤等を含有する着色粒子であり、その製造方法には、大別して粉砕法と懸濁重合法とがある。
前記粉砕法では、熱可塑性樹脂中に、着色剤、帯電制御剤、オフセット防止剤等を溶融混合により均一に分散させて得られるトナー組成物を粉砕し、分級することにより、トナーを製造する。この粉砕法によれば、ある程度優れた特性を有するトナーを製造することができるが、材料の選択に制限がある。例えば、溶融混合により得られるトナー組成物は、経済的に使用可能な装置により粉砕し、分級できるものでなければならない。この要請から、溶融混合により得られるトナー組成物は、充分に脆くせざるを得ない。このようなトナー組成物を粉砕する際には、粒径分布が広い粒子が形成されやすい。このとき、良好な解像度と階調性のある複写画像を得ようとすると、例えば、粒径5μm以下の微粉と、粒径20μm以上の粗粉とを分級により除去しなければならず、収率が非常に低くなるという問題がある。また、前記粉砕法では、着色剤、帯電制御剤等を熱可塑性樹脂中に均一に分散させることが困難であり、得られるトナーは、流動性、現像性、耐久性、画像品質等に悪影響が生じるという問題がある。
そこで、特許文献1及び2には、予め重合反応により合成した樹脂を溶解させた樹脂溶液を、界面活性剤又は水溶性樹脂等の分散(助)剤及び無機微粒子、樹脂微粒子等の分散安定剤の存在下、水性媒体中に分散させ、加熱、減圧等によって溶剤を除去することによりトナーを得る溶解樹脂懸濁法が提案されている。この溶解樹脂懸濁法によれば、分級しなくても均一なトナーが得られる。
また、電子写真方式の画像形成装置では、熱ローラ等の加熱部材を使用して行われる接触加熱方式による定着工程において、加熱部材に対する離型性(以下、耐オフセット性と称することもある)が要求される。この耐オフセット性は、溶解樹脂懸濁法において、変性ポリエステル樹脂を用いることで解決が図られている(特許文献3参照)。
また、電子写真方式の画像形成装置では、熱ローラ等の加熱部材を使用して行われる接触加熱方式による定着工程において、加熱部材に対する離型性(以下、耐オフセット性と称することもある)が要求される。この耐オフセット性は、溶解樹脂懸濁法において、変性ポリエステル樹脂を用いることで解決が図られている(特許文献3参照)。
ところで、トナーの構成成分の70%以上を占める結着樹脂は、そのほとんどが石油資源を原料としており、石油資源の枯渇問題、石油資源を大量消費して二酸化炭素を大気中へ排出することによる温暖化問題が懸念されている。そこで、結着樹脂として、大気中の二酸化炭素を取り込んで成長する植物由来の樹脂を使用すれば、生じる二酸化炭素は、環境中で循環するだけとなり、温暖化問題と石油資源の枯渇問題を同時に解決できる可能性があり、このような植物由来の樹脂を結着樹脂として用いたトナーが種々提案されている。例えば、特許文献4では、結着樹脂として、ポリ乳酸を使用することが提案されている。しかし、この提案のようにポリ乳酸をそのまま用いた場合、ポリエステル樹脂に比べてエステル結合の濃度が高いため、定着時に熱可塑性樹脂としての作用が低くなる。また、トナーが非常に硬くなるため、粉砕性に欠け、生産性が劣るという問題がある。
また、特許文献5では、乳酸、及び3官能以上のオキシカルボン酸を含有する組成物を脱水重縮合して得られたポリエステル樹脂、及び着色剤を含有する静電荷像現像用トナーが提案されている。しかし、この提案では、乳酸の水酸基とオキシカルボン酸のカルボキシル基との脱水重縮合反応によりポリエステル樹脂を形成しているため、分子量が大きくなり、シャープメルト性が損なわれ、低温定着性に欠けるという問題がある。
また、特許文献6では、熱特性を改良するために、ポリ乳酸系生分解性樹脂とテルペンフェノール共重合体とを含有する電子写真用トナーが開示されているが、低温定着性とホットフセット性を同時に満足できるものではない。
これらの先行技術文献に係るトナーは、いずれも粉砕法により得られるものであるため、分級によって生じるトナーのロスと、それに伴う廃棄の問題がある。また、粉砕法に必要なエネルギー量が比較的大きいことから、更なる環境負荷の低減が必要とされている。
また、特許文献6では、熱特性を改良するために、ポリ乳酸系生分解性樹脂とテルペンフェノール共重合体とを含有する電子写真用トナーが開示されているが、低温定着性とホットフセット性を同時に満足できるものではない。
これらの先行技術文献に係るトナーは、いずれも粉砕法により得られるものであるため、分級によって生じるトナーのロスと、それに伴う廃棄の問題がある。また、粉砕法に必要なエネルギー量が比較的大きいことから、更なる環境負荷の低減が必要とされている。
また、植物由来の樹脂として、汎用で入手しやすいポリ乳酸は、特許文献7及び8に記載されているような乳酸の脱水縮合、もしくは乳酸環状ラクチドの開環重合によって合成される。このため、ポリ乳酸を用いてトナーを製造する際には、前記特許文献1〜3のような溶解樹脂懸濁法を用いることができる。しかし、ポリ乳酸は、L体又はD体のみでは結晶性が高いため、有機溶剤に対する溶解性が極めて低く、溶解樹脂懸濁法を用いることは困難である。このため、ポリ乳酸のL体及びD体を混合して結晶性を低下させて、有機溶剤への溶解性を向上させることが可能である。
その一方で、ポリ乳酸は、分子量の制御が難しいこと、炭素原子のみを介してエステル結合が存在することから、トナーに必要な物性をポリ乳酸のみで達成することは困難である。これに対して、従来から用いられている方法のように、ポリ乳酸と、それ以外の樹脂を混合することで、トナーに必要な物性、及び熱特性を確保することが考えられるが、ポリ乳酸は、トナーに汎用に用いられるポリエステル樹脂及びスチレン−アクリル共重合体に対する相溶性及び分散性が極めて悪いため、このようにしてトナーを製造することが非常に困難である。
また、ポリ乳酸の結晶化速度が遅いため、溶解樹脂懸濁法を用いて製造したトナーは、ポリ乳酸の結晶状態を制御することが困難であり、溶解樹脂懸濁法を用いて製造したトナーは、結晶性が高いポリ乳酸及び結晶性が低いポリ乳酸が混在していることがある。そのため、結晶性が低いポリ乳酸を有する部分が、経時で結晶成長することにより帯電量、画像濃度が経時で変化するという問題がある。
したがって画像濃度、ヘイズ度、定着性、及び耐熱保存性に優れ、経時での定着性変化が少ないと共に、ポリ乳酸を含有するトナー及びその関連技術は、未だ得られておらず更なる改良、開発が望まれているのが現状である。
特開平9−319144号公報
特開2002−284881号公報
特許第3640918号公報
特許第2909873号公報
特開平9−274335号公報
特開2001−166537号公報
特開平7−33861号公報
特開昭59−96123号公報
本発明は従来技術における上記の事情に鑑みてなされたものである。すなわち、ポリ乳酸を用いた場合においても、耐ホットオフセット性を確保しつつ、低温定着性にも優れ、画像濃度、ヘイズ度が良好な画像を得ることが可能なトナー、画像形成装置、画像形成方法、およびプロセスカートリッジを提供するものである。
本発明者らは、上記の問題点を解決するべく鋭意検討した結果、本発明に到達した。すなわち本発明は、以下のとおりである。
(1)第1の樹脂(a)を含有する樹脂粒子(A)もしくは樹脂(a)を含有する被膜(P)が、第2の樹脂(b)、及び第3の樹脂(d)を含有する樹脂粒子(B)の表面に付着されてなる構造の樹脂粒子(C)からなるトナーであって、樹脂(b)が、ポリヒドロキシカルボン酸骨格を含有するポリエステルジオール(b11)と(b11)以外のポリエステルジオール(b12)とを、伸長剤とともに反応させて得られる直鎖状のポリエステル系樹脂(b1)を含有し、樹脂(d)が光学活性モノマーからなるポリヒドロキシカルボン酸骨格を含有し、前記光学活性モノマーからなるポリヒドロキシカルボン酸骨格がモノマー成分換算で光学純度X(%)=|X(L体)−X(D体)|〔ただし、X(L体)は光学活性モノマー換算でのL体比率(モル%)、X(D体)は光学活性モノマー換算でのD体比率(モル%)を表す〕が80%以下であることを特徴とするトナー。
(2)前記樹脂(d)のポリヒドロキシカルボン酸骨格が炭素数2〜6のヒドロキシカルボン酸が(共)重合した骨格であることを特徴とする前記(1)に記載のトナー。
(3)前記ポリヒドロキシカルボン酸骨格を含有するポリエステルジオール(b11)と樹脂(d)の質量比が25:75〜75:25であることを特徴とする前記(1)または(2)に記載のトナー。
(4)前記ポリヒドロキシカルボン酸骨格を含有するポリエステルジオール(b11)と(b11)以外のポリエステルジオール(b12)との質量比が31:69〜90:10であることを特徴とする前記(1)〜(3)のいずれかに記載のトナー。
(5)前記樹脂(a)が、ビニル樹脂、ポリエステル樹脂、ポリウレタン樹脂、およびエポキシ樹脂から選ばれる少なくとも1種の樹脂であることを特徴とする前記(1)〜(4)のいずれかに記載のトナー。
(6)前記樹脂(b)が、直鎖状のポリエステル系樹脂(b1)、および、樹脂粒子(C)形成工程で前駆体(b0)が反応して得られる樹脂(b2)を含有することを特徴とする前記(1)〜(5)のいずれかに記載のトナー。
(7)前記(b11)のポリヒドロキシカルボン酸骨格が炭素数2〜6のヒドロキシカルボン酸が(共)重合した骨格であることを特徴とする前記(1)〜(6)のいずれかに記載のトナー。
(8)前記(b11)のポリヒドロキシカルボン酸骨格を形成するモノマーが光学活性モノマーであり、モノマー成分換算で光学純度X(%)=|X(L体)−X(D体)|〔ただし、X(L体)は光学活性モノマー換算でのL体比率(モル%)、X(D体)は光学活性モノマー換算でのD体比率(モル%)を表す〕が80%以下であることを特徴とする前記(1)〜(7)のいずれかに記載のトナー。
(9)前記(b11)のポリヒドロキシカルボン酸骨格を形成するモノマーが光学活性モノマーであり、樹脂(b)中の樹脂(b1)の含有量Y(質量%)と、モノマー成分換算における光学純度X(モル%)=|X(L体)−X(D体)|〔ただし、X(L体)は光学活性モノマー換算でのL体比率(モル%)、X(D体)は光学活性モノマー換算でのD体比率(モル%)を表す〕の関係がY≦−1.5X+220(80<X≦100)を満たすことを特徴とする前記(1)〜(7)のいずれかに記載のトナー。
(10)前記トナーが帯電制御剤を含有することを特徴とする前記(1)〜(9)のいずれかに記載のトナー。
(11)前記帯電制御剤が含フッ素四級アンモニウム塩であることを特徴とする前記(10)に記載のトナー。
(12)前記トナーが着色剤を含有することを特徴とする前記(1)〜(11)のいずれかに記載のトナー。
(13)前記トナーが離型剤を含有することを特徴とする前記(1)〜(12)に記載のトナー。
(14)前記トナーが層状無機鉱物が有する層間のイオンの少なくとも一部を有機物イオンで変性した層状無機鉱物を含有することを特徴とする前記(1)〜(13)のいずれかに記載のトナー。
(2)前記樹脂(d)のポリヒドロキシカルボン酸骨格が炭素数2〜6のヒドロキシカルボン酸が(共)重合した骨格であることを特徴とする前記(1)に記載のトナー。
(3)前記ポリヒドロキシカルボン酸骨格を含有するポリエステルジオール(b11)と樹脂(d)の質量比が25:75〜75:25であることを特徴とする前記(1)または(2)に記載のトナー。
(4)前記ポリヒドロキシカルボン酸骨格を含有するポリエステルジオール(b11)と(b11)以外のポリエステルジオール(b12)との質量比が31:69〜90:10であることを特徴とする前記(1)〜(3)のいずれかに記載のトナー。
(5)前記樹脂(a)が、ビニル樹脂、ポリエステル樹脂、ポリウレタン樹脂、およびエポキシ樹脂から選ばれる少なくとも1種の樹脂であることを特徴とする前記(1)〜(4)のいずれかに記載のトナー。
(6)前記樹脂(b)が、直鎖状のポリエステル系樹脂(b1)、および、樹脂粒子(C)形成工程で前駆体(b0)が反応して得られる樹脂(b2)を含有することを特徴とする前記(1)〜(5)のいずれかに記載のトナー。
(7)前記(b11)のポリヒドロキシカルボン酸骨格が炭素数2〜6のヒドロキシカルボン酸が(共)重合した骨格であることを特徴とする前記(1)〜(6)のいずれかに記載のトナー。
(8)前記(b11)のポリヒドロキシカルボン酸骨格を形成するモノマーが光学活性モノマーであり、モノマー成分換算で光学純度X(%)=|X(L体)−X(D体)|〔ただし、X(L体)は光学活性モノマー換算でのL体比率(モル%)、X(D体)は光学活性モノマー換算でのD体比率(モル%)を表す〕が80%以下であることを特徴とする前記(1)〜(7)のいずれかに記載のトナー。
(9)前記(b11)のポリヒドロキシカルボン酸骨格を形成するモノマーが光学活性モノマーであり、樹脂(b)中の樹脂(b1)の含有量Y(質量%)と、モノマー成分換算における光学純度X(モル%)=|X(L体)−X(D体)|〔ただし、X(L体)は光学活性モノマー換算でのL体比率(モル%)、X(D体)は光学活性モノマー換算でのD体比率(モル%)を表す〕の関係がY≦−1.5X+220(80<X≦100)を満たすことを特徴とする前記(1)〜(7)のいずれかに記載のトナー。
(10)前記トナーが帯電制御剤を含有することを特徴とする前記(1)〜(9)のいずれかに記載のトナー。
(11)前記帯電制御剤が含フッ素四級アンモニウム塩であることを特徴とする前記(10)に記載のトナー。
(12)前記トナーが着色剤を含有することを特徴とする前記(1)〜(11)のいずれかに記載のトナー。
(13)前記トナーが離型剤を含有することを特徴とする前記(1)〜(12)に記載のトナー。
(14)前記トナーが層状無機鉱物が有する層間のイオンの少なくとも一部を有機物イオンで変性した層状無機鉱物を含有することを特徴とする前記(1)〜(13)のいずれかに記載のトナー。
(15)静電潜像担持体と、該静電潜像担持体表面を帯電させる帯電手段と、帯電された静電潜像担持体表面を露光して静電潜像を形成する露光手段と、前記静電潜像をトナーを用いて現像して可視像を形成する現像手段と、前記可視像を記録媒体に転写する転写手段と、前記記録媒体に転写された転写像を定着させる定着手段とを少なくとも有する画像形成装置であって、前記トナーが、前記(1)〜(14)のいずれかに記載のトナーであることを特徴とする画像形成装置。
(16)静電潜像担持体表面を帯電させる帯電工程と、帯電された静電潜像担持体表面を露光して静電潜像を形成する露光工程と、前記静電潜像をトナーを用いて現像して可視像を形成する現像工程と、前記可視像を記録媒体に転写する転写工程と、前記記録媒体に転写された転写像を定着させる定着工程とを少なくとも含む画像形成方法であって、前記トナーが、前記(1)〜(14)のいずれかに記載のトナーであることを特徴とする画像形成方法。
(17)静電潜像担持体と、該静電潜像担持体上に形成された静電潜像をトナーを用いて現像し可視像を形成する現像手段とを少なくとも有し、画像形成装置本体に着脱可能なプロセスカートリッジであって、前記トナーが、前記(1)〜(14)のいずれかに記載のトナーであることを特徴とするプロセスカートリッジ。
(16)静電潜像担持体表面を帯電させる帯電工程と、帯電された静電潜像担持体表面を露光して静電潜像を形成する露光工程と、前記静電潜像をトナーを用いて現像して可視像を形成する現像工程と、前記可視像を記録媒体に転写する転写工程と、前記記録媒体に転写された転写像を定着させる定着工程とを少なくとも含む画像形成方法であって、前記トナーが、前記(1)〜(14)のいずれかに記載のトナーであることを特徴とする画像形成方法。
(17)静電潜像担持体と、該静電潜像担持体上に形成された静電潜像をトナーを用いて現像し可視像を形成する現像手段とを少なくとも有し、画像形成装置本体に着脱可能なプロセスカートリッジであって、前記トナーが、前記(1)〜(14)のいずれかに記載のトナーであることを特徴とするプロセスカートリッジ。
本発明のトナーは以下の効果を有する。
耐ホットオフセット性を確保しつつ、低温定着性にも優れ、画像濃度、ヘイズ度が良好な画像を得ることが可能である。
耐ホットオフセット性を確保しつつ、低温定着性にも優れ、画像濃度、ヘイズ度が良好な画像を得ることが可能である。
本発明の、第1の樹脂(a)を含有する樹脂粒子(A)もしくは樹脂(a)を含有する被膜(P)が、第2の樹脂(b)、及び第3の樹脂樹脂(d)を含有する樹脂粒子(B)の表面に付着されてなる構造の樹脂粒子(C)において、樹脂(b)は、ポリヒドロキシカルボン酸骨格を含有するポリエステルジオール(b11)と(b11)以外のポリエステルジオール(b12)とを、伸長剤とともに反応させて得られる直鎖状のポリエステル系樹脂(b1)を含有する。直鎖状のポリエステルとするためには、(b11)、(b12)および伸長剤が、それぞれ2官能である必要がある。いずれかが3官能以上であると、架橋反応が進行し直鎖状のポリエステルを得ることができない。
直鎖状のポリエステルは、分岐状又は網目状のポリエステルに比べて分子量の大きさの割には溶剤溶解性が高い、粘弾性的にトナーに向いており、また製造性に優れるという利点を有している。
また、直鎖状のポリエステルは構造が単純であり分子量、これによって生じる物性(熱特性、他樹脂との相溶性など)の制御が容易である。また、本発明における直鎖状のポリエステル樹脂は(b11)と(b12)のユニットから構成され、(b12)のユニットに用いるポリエステル種、分子量、構造によっても(b1)の物性制御が可能になることがメリットであり、従来の乳酸を含有する組成物に対し、物性制御手段を明確に具備させたことが特徴である。
直鎖状のポリエステルは、分岐状又は網目状のポリエステルに比べて分子量の大きさの割には溶剤溶解性が高い、粘弾性的にトナーに向いており、また製造性に優れるという利点を有している。
また、直鎖状のポリエステルは構造が単純であり分子量、これによって生じる物性(熱特性、他樹脂との相溶性など)の制御が容易である。また、本発明における直鎖状のポリエステル樹脂は(b11)と(b12)のユニットから構成され、(b12)のユニットに用いるポリエステル種、分子量、構造によっても(b1)の物性制御が可能になることがメリットであり、従来の乳酸を含有する組成物に対し、物性制御手段を明確に具備させたことが特徴である。
樹脂(d)は、光学活性モノマーからなるポリヒドロキシカルボン酸骨格を有し、該ポリヒドロキシカルボン酸骨格は、ヒドロキシカルボン酸が(共)重合した骨格を有し、ヒドロキシカルボン酸を直接脱水縮合する方法、あるいは、対応する環状エステルを開環重合する方法で形成できる。重合法は、重合されるポリヒドロキシカルボン酸の分子量を大きくするという観点から環状エステルの開環重合が好ましい。樹脂粒子(C)の透明性と熱特性の観点から、ポリヒドロキシカルボン酸骨格を形成するモノマーとしては、脂肪族ヒドロキシカルボン酸が好ましく、さらに好ましくは炭素数2〜6のヒドロキシカルボン酸であり、特に好ましくは乳酸、ラクチドである。
ポリマーの原材料としてヒドロキシカルボン酸以外に、ヒドロキシカルボン酸の環状エステルを用いる事も可能であり、その場合には重合して得られる樹脂のヒドロキシカルボン酸骨格は、環状エステルを構成するヒドロキシカルボン酸が重合した骨格となる。例えばラクチドを用いて得られる樹脂のポリヒドロキシカルボン酸骨格は、乳酸が重合した骨格になる。
ポリヒドロキシカルボン酸骨格を形成する光学活性モノマーは、モノマー成分換算で光学純度X(%)=|X(L体)−X(D体)|〔ただし、X(L体)は光学活性モノマー換算でのL体比率(%)、X(D体)は光学活性モノマー換算でのD体比率(%)を表す〕が80%以下であることが好ましく、さらに好ましくは60%以下である。この範囲であると、溶剤溶解性、樹脂の透明性が向上する。
ポリマーの原材料としてヒドロキシカルボン酸以外に、ヒドロキシカルボン酸の環状エステルを用いる事も可能であり、その場合には重合して得られる樹脂のヒドロキシカルボン酸骨格は、環状エステルを構成するヒドロキシカルボン酸が重合した骨格となる。例えばラクチドを用いて得られる樹脂のポリヒドロキシカルボン酸骨格は、乳酸が重合した骨格になる。
ポリヒドロキシカルボン酸骨格を形成する光学活性モノマーは、モノマー成分換算で光学純度X(%)=|X(L体)−X(D体)|〔ただし、X(L体)は光学活性モノマー換算でのL体比率(%)、X(D体)は光学活性モノマー換算でのD体比率(%)を表す〕が80%以下であることが好ましく、さらに好ましくは60%以下である。この範囲であると、溶剤溶解性、樹脂の透明性が向上する。
樹脂(d)を使用した場合には、顔料、ワックスの樹脂中への分散を均一とし易く、また透明性が高いため、顔料やワックスを内包するトナーに使用した場合には画像濃度やヘイズ度が良好になるという特徴がある。含有量が多すぎる場合には耐熱保存性が損なわれることがあり、(b11)と樹脂(d)の質量比を25:75〜75:25の範囲とすることで耐熱保存性を損なわずに良好な画像特性を得ることが可能である。さらに好ましい範囲は40:60〜60:40である。
(b11)を構成するポリヒドロキシカルボン酸骨格は、ヒドロキシカルボン酸が重合した骨格を有し、ヒドロキシカルボン酸を直接脱水縮合する方法、あるいは、対応する環状エステルを開環重合する方法で形成できる。ヒドロキシカルボン酸としては、脂肪族ヒドロキシカルボン酸(グリコール酸、乳酸、ヒドロキシ酪酸等)、芳香族ヒドロキシカルボン酸(サリチル酸、クレオソート酸、マンデル酸、バーリン酸、シリング酸等)あるいはこれらの混合物を挙げられ、対応する環状エステルとしては、グリコリド、ラクチド、γ−ブチロラクトン、6−バレロラクトン等が挙げられる。これらのうちで、樹脂粒子(C)の透明性と熱特性の観点から、ポリヒドロキシカルボン酸骨格を形成するモノマーとしては、脂肪族ヒドロキシカルボン酸が好ましく、さらに好ましくは炭素数2〜6のヒドロキシカルボン酸であり、特に好ましくはグリコール酸、乳酸、グリコリド、ラクチドであり、最も好ましくは、グリコール酸および乳酸である。
ポリヒドロキシカルボン酸骨格を形成するモノマーが乳酸のように光学活性モノマーの場合、特に(b)として(b1)のみを用いる場合、モノマー成分換算で光学純度X(%)=|X(L体)−X(D体)|〔ただし、X(L体)は光学活性モノマー換算でのL体比率(%)、X(D体)は光学活性モノマー換算でのD体比率(%)を表す〕が80%以下であることが好ましく、さらに好ましくは60%以下である。この範囲であると、溶剤溶解性が向上し、好ましい製造方法である後述の(I)の製造方法を適用しやすい。
ポリヒドロキシカルボン酸骨格を形成するモノマーが乳酸のように光学活性モノマーの場合、特に(b)として(b1)のみを用いる場合、モノマー成分換算で光学純度X(%)=|X(L体)−X(D体)|〔ただし、X(L体)は光学活性モノマー換算でのL体比率(%)、X(D体)は光学活性モノマー換算でのD体比率(%)を表す〕が80%以下であることが好ましく、さらに好ましくは60%以下である。この範囲であると、溶剤溶解性が向上し、好ましい製造方法である後述の(I)の製造方法を適用しやすい。
ポリヒドロキシカルボン酸骨格を形成する際に、後述のジオール(11)を添加して共重合することで、ポリヒドロキシカルボン酸骨格を含有するポリエステルジオール(b11)が得られる。ジオールとして好ましいものは、1,2−プロピレングリコール、1,3−プロピレングリコール、1,4−ブタンジオール、1,6−ヘキサンジオール、ビスフェノール類(ビスフェノールA、ビスフェノールF、ビスフェノールSなど)のアルキレンオキサイド(アルキレンオキサイドを以下AOと略記する、具体例としてはエチレンオキサイド(以下EOと略記)、プロピレンオキサイド(以下POと略記)、ブチレンオキサイド(以下BOと略記)などが挙げられる)付加物(付加モル数2〜30)、およびこれらの併用であり、さらに好ましくは、1,2−プロピレングリコール、1,3−プロピレングリコール、1,4−ブタンジオール、ビスフェノールAのAO付加物であり、特に好ましくは1,3−プロピレングリコールである。
(b11)以外のポリエステルジオール(b12)は、後述のポリエステル樹脂のうち、ジオール(11)とジカルボン酸(13)の反応物と同様のものが使用可能であり、重合時にジオールとジカルボン酸の仕込み比率を調整して、水酸基を過剰にすることで得られる。(b12)として好ましいものは、1,2−プロピレングリコール、1,3−プロピレングリコール、1,4−ブタンジオール、1,6−ヘキサンジオール、ビスフェノール類(ビスフェノールA、ビスフェノールF、ビスフェノールSなど)のAO(EO、PO、BOなど)付加物(付加モル数2〜30)、およびこれらの併用から選ばれる1種以上と、テレフタル酸、イソフタル酸、アジピン酸、コハク酸、およびこれらの併用から選ばれる1種以上との反応物である。
(b11)および(b12)の数平均分子量(以下、Mnと略記)は、(b1)の物性調整の観点から、500〜3万が好ましく、さらに好ましくは1000〜2万、最も好ましくは2000〜5000である。
(b11)と(b12)との伸長に用いる伸長剤としては、(b11)および(b12)に含有される水酸基と反応可能な官能基を2つ有しているものであれば、特に制限されないが、後述のジカルボン酸(13)およびその無水物、ポリイソシアネート(15)、ポリエポキシド(19)のうち、2官能のものが挙げられる。これらのうち、(b11)および(b12)との相溶性の観点から、好ましいものは、ジイソシアネート化合物、ジカルボン酸化合物であり、さらに好ましくはジイソシアネート化合物である。具体的には、コハク酸、アジピン酸、マレイン酸(および無水物)、フマール酸(および無水物)、フタル酸、イソフタル酸、テレフタル酸、1,3−および/または1,4−フェニレンジイソシアネート、2,4−および/または2,6−トリレンジイソシアネート(TDI)、2,4’−および/または4,4’−ジフェニルメタンジイソシアネート(MDI)、ヘキサメチレンジイソシアネート(HDI)、ジシクロヘキシルメタン−4,4’−ジイソシアネート(水添MDI)、イソホロンジイソシアネート(IPDI)、ビスフェノールAジグリシジルエーテル等が挙げられ、これらのうち、好ましいものは、コハク酸、アジピン酸、イソフタル酸、テレフタル酸、マレイン酸(および無水物)、フマール酸(および無水物)、およびHDI、IPDIであり、もっとも好ましくはマレイン酸(および無水物)、フマール酸(および無水物)、およびIPDIである。
(b1)中の伸長剤の含有量は、透明性と熱特性の観点から、好ましくは0.1〜30質量%であり、さらに好ましくは1〜20質量%である。
(b1)中の伸長剤の含有量は、透明性と熱特性の観点から、好ましくは0.1〜30質量%であり、さらに好ましくは1〜20質量%である。
樹脂(b)に含有される直鎖状ポリエステル樹脂(b1)の含有量は、用途によって好ましい範囲に適宜調整すればよいが、樹脂粒子(C)の透明性と熱特性の観点から、好ましくは、樹脂(b)に対して40〜100質量%であり、さらに好ましくは60〜90質量%である。樹脂(b1)に含有されるヒドロキシカルボン酸が乳酸のように光学活性モノマーの場合でも、モノマー成分換算で光学純度が80%以下であれば、溶剤溶解性の観点から、同様の含有量が好ましい。モノマー成分換算で光学純度が80%を越える場合は、溶剤溶解性の観点から、樹脂(b)中の樹脂(b1)の含有量は、樹脂(b)中の樹脂(b1)の含有率Y(%)とXの関係がY≦−1.5X+220を満たすことが好ましい。
直鎖状ポリエステルを構成する、ポリヒドロキシカルボン酸骨格を含有するポリエステルジオール(b11)と(b11)以外のポリエステルジオール(b12)との質量比は、好ましくは31:69〜90:10であり、樹脂粒子(C)の透明性と熱特性の観点から、さらに好ましくは、40:60〜80:20である。
直鎖状ポリエステルを構成する、ポリヒドロキシカルボン酸骨格を含有するポリエステルジオール(b11)と(b11)以外のポリエステルジオール(b12)との質量比は、好ましくは31:69〜90:10であり、樹脂粒子(C)の透明性と熱特性の観点から、さらに好ましくは、40:60〜80:20である。
樹脂(b)に含有される樹脂は、上記の直鎖状ポリエステル(b1)以外に、公知のいかなる樹脂を併用してもよく、その具体例については、後述の(a)と同様のものが使用できる。併用する樹脂は、用途・目的に応じて適宜好ましいものを選択することができる。また、併用する樹脂は、樹脂粒子形成工程で前駆体(b0)が反応して得られる樹脂(b2)であってもよく、粒子形成が容易であるという観点から、前駆体(b0)を用いて、併用する樹脂を含有させる方法が好ましい。前駆体(b0)、および、(b0)から(b2)を得る反応方法は後述のものが使用できる。
一般に、併用される樹脂として好ましいものは、ビニル樹脂、ポリエステル樹脂、ポリウレタン樹脂、エポキシ樹脂、およびそれらの併用であり、さらに好ましいのは、ポリウレタン樹脂、およびポリエステル樹脂であり、とくに好ましいのは、1,2−プロピレングリコールを構成単位として含有する、ポリエステル樹脂およびポリウレタン樹脂である。
これらの好ましい樹脂については、樹脂(a)の説明で詳細に述べる。上記直鎖状ポリエステル樹脂(b1)以外の樹脂の含有量は、用途によって好ましい範囲に適宜調整すればよいが、樹脂粒子(C)の透明性と熱特性の観点から、(b)に対して0〜60質量%が好ましく、さらに好ましくは10〜40質量%である。
これらの好ましい樹脂については、樹脂(a)の説明で詳細に述べる。上記直鎖状ポリエステル樹脂(b1)以外の樹脂の含有量は、用途によって好ましい範囲に適宜調整すればよいが、樹脂粒子(C)の透明性と熱特性の観点から、(b)に対して0〜60質量%が好ましく、さらに好ましくは10〜40質量%である。
樹脂(b)の数平均分子量(ゲルパーミエーションクロマトグラフィーにて測定、測定法の詳細は後述する。以下Mnと略記)、融点(DSCにて測定)、ガラス転移温度(Tg)、sp値(sp値の計算方法はPolymer Engineering and Science,Feburuary,1974、Vol.14、No.2 P.147〜154による)は、用途によって好ましい範囲に適宜調整すればよい。
例えば、樹脂(b)のMnは、好ましくは1,000〜500万、さらに好ましくは2,000〜50万である。(b)の融点は、好ましくは20℃〜300℃、さらに好ましくは80℃〜250℃である。(b)のTgは、好ましくは20℃〜200℃、さらに好ましくは40℃〜200℃である。(b)のsp値は、好ましくは8〜16、さらに好ましくは9〜14である。
例えば、樹脂(b)のMnは、好ましくは1,000〜500万、さらに好ましくは2,000〜50万である。(b)の融点は、好ましくは20℃〜300℃、さらに好ましくは80℃〜250℃である。(b)のTgは、好ましくは20℃〜200℃、さらに好ましくは40℃〜200℃である。(b)のsp値は、好ましくは8〜16、さらに好ましくは9〜14である。
本発明におけるTgは、DSC測定またはフローテスター測定(DSCで測定できない場合)から求められる値である。
DSCで測定する場合は、セイコー電子工業(株)製DSC20、SSC/580を用いて、ASTM D3418−82に規定の方法(DSC法)で測定される。
フローテスター測定には、島津製作所製の高架式フローテスターCFT500型を用いる。フローテスター測定の条件は下記のとおりであり、以下測定は全てこの条件で行われる。
(フローテスター測定条件)
荷重:30kg/cm2、昇温速度:3.0℃/min。
ダイ口径:0.50mm、ダイ長さ:10.0mm
DSCで測定する場合は、セイコー電子工業(株)製DSC20、SSC/580を用いて、ASTM D3418−82に規定の方法(DSC法)で測定される。
フローテスター測定には、島津製作所製の高架式フローテスターCFT500型を用いる。フローテスター測定の条件は下記のとおりであり、以下測定は全てこの条件で行われる。
(フローテスター測定条件)
荷重:30kg/cm2、昇温速度:3.0℃/min。
ダイ口径:0.50mm、ダイ長さ:10.0mm
樹脂(a)としては、いかなる樹脂であっても使用でき、熱可塑性であっても熱硬化性樹脂であってもよく例えば、ビニル樹脂、ポリウレタン樹脂、エポキシ樹脂、ポリエステル樹脂、ポリアミド樹脂、ポリイミド樹脂、ケイ素系樹脂、フェノール樹脂、メラミン樹脂、ユリア樹脂、アニリン樹脂、アイオノマー樹脂、ポリカーボネート樹脂等が挙げられる。樹脂(a)としては、上記樹脂の2種以上を併用しても差し支えない。このうち好ましいのは、微細球状樹脂粒子の水性分散体が得られやすいという観点からビニル樹脂、ポリエステル樹脂、ポリウレタン樹脂、エポキシ樹脂およびそれらの併用であり、さらに好ましくはビニル樹脂である。
以下、(a)として好ましい樹脂であるビニル樹脂、ポリエステル樹脂、ポリウレタン樹脂、およびエポキシ樹脂につき、詳細に説明する。ビニル樹脂は、ビニルモノマーを単独重合または共重合したポリマーである。ビニルモノマーとしては、下記(1)〜(10)が挙げられる。
(1)ビニル炭化水素:
(1−1)脂肪族ビニル炭化水素:アルケン類、例えばエチレン、プロピレン、ブテン、イソブチレン、ペンテン、ヘプテン、ジイソブチレン、オクテン、ドデセン、オクタデセン、前記以外のα−オレフイン等;アルカジエン類、例えばブタジエン、イソプレン、1,4−ペンタジエン、1,6−ヘキサジエン、1,7−オクタジエン。
(1−2)脂環式ビニル炭化水素:モノ−もしくはジ−シクロアルケンおよびアルカジエン類、例えばシクロヘキセン、(ジ)シクロペンタジエン、ビニルシクロヘキセン、エチリデンビシクロヘプテン等;テルペン類、例えばピネン、リモネン、インデン等。
(1−3)芳香族ビニル炭化水素:スチレンおよびそのハイドロカルビル(アルキル、シクロアルキル、アラルキルおよび/またはアルケニル)置換体、例えばα−メチルスチレン、ビニルトルエン、2,4−ジメチルスチレン、エチルスチレン、イソプロピルスチレン、ブチルスチレン、フェニルスチレン、シクロヘキシルスチレン、ベンジルスチレン、クロチルベンゼン、ジビニルベンゼン、ジビニルトルエン、ジビニルキシレン、トリビニルベンゼン等;およびビニルナフタレン。
(1−1)脂肪族ビニル炭化水素:アルケン類、例えばエチレン、プロピレン、ブテン、イソブチレン、ペンテン、ヘプテン、ジイソブチレン、オクテン、ドデセン、オクタデセン、前記以外のα−オレフイン等;アルカジエン類、例えばブタジエン、イソプレン、1,4−ペンタジエン、1,6−ヘキサジエン、1,7−オクタジエン。
(1−2)脂環式ビニル炭化水素:モノ−もしくはジ−シクロアルケンおよびアルカジエン類、例えばシクロヘキセン、(ジ)シクロペンタジエン、ビニルシクロヘキセン、エチリデンビシクロヘプテン等;テルペン類、例えばピネン、リモネン、インデン等。
(1−3)芳香族ビニル炭化水素:スチレンおよびそのハイドロカルビル(アルキル、シクロアルキル、アラルキルおよび/またはアルケニル)置換体、例えばα−メチルスチレン、ビニルトルエン、2,4−ジメチルスチレン、エチルスチレン、イソプロピルスチレン、ブチルスチレン、フェニルスチレン、シクロヘキシルスチレン、ベンジルスチレン、クロチルベンゼン、ジビニルベンゼン、ジビニルトルエン、ジビニルキシレン、トリビニルベンゼン等;およびビニルナフタレン。
(2)カルボキシル基含有ビニルモノマーおよびその金属塩:
炭素数3〜30の不飽和モノカルボン酸、不飽和ジカルボン酸ならびにその無水物およびそのモノアルキル(炭素数1〜24)エステル、例えば(メタ)アクリル酸、(無水)マレイン酸、マレイン酸モノアルキルエステル、フマル酸、フマル酸モノアルキルエステル、クロトン酸、イタコン酸、イタコン酸モノアルキルエステル、イタコン酸グリコールモノエーテル、シトラコン酸、シトラコン酸モノアルキルエステル、桂皮酸等のカルボキシル基含有ビニルモノマー。なお、上記(メタ)アクリル酸とは、アクリル酸および/またはメタアクリル酸を意味し、以下同様の記載法を用いる。
炭素数3〜30の不飽和モノカルボン酸、不飽和ジカルボン酸ならびにその無水物およびそのモノアルキル(炭素数1〜24)エステル、例えば(メタ)アクリル酸、(無水)マレイン酸、マレイン酸モノアルキルエステル、フマル酸、フマル酸モノアルキルエステル、クロトン酸、イタコン酸、イタコン酸モノアルキルエステル、イタコン酸グリコールモノエーテル、シトラコン酸、シトラコン酸モノアルキルエステル、桂皮酸等のカルボキシル基含有ビニルモノマー。なお、上記(メタ)アクリル酸とは、アクリル酸および/またはメタアクリル酸を意味し、以下同様の記載法を用いる。
(3)スルホン基含有ビニルモノマー、ビニル硫酸モノエステル化物およびこれらの塩:
炭素数2〜14のアルケンスルホン酸、例えばビニルスルホン酸、(メタ)アリルスルホン酸、メチルビニルスルホン酸、スチレンスルホン酸;およびその炭素数2〜24のアルキル誘導体、例えばα−メチルスチレンスルホン酸等;スルホ(ヒドロキシ)アルキル−(メタ)アクリレートもしくは(メタ)アクリルアミド、例えば、スルホプロピル(メタ)アクリレート、2−ヒドロキシ−3−(メタ)アクリロキシプロピルスルホン酸、2−(メタ)アクリロイルアミノ−2,2−ジメチルエタンスルホン酸、2−(メタ)アクリロイルオキシエタンスルホン酸、3−(メタ)アクリロイルオキシ−2−ヒドロキシプロパンスルホン酸、2−(メタ)アクリルアミド−2−メチルプロパンスルホン酸、3−(メタ)アクリルアミド−2−ヒドロキシプロパンスルホン酸、アルキル(炭素数3〜18)アリルスルホコハク酸、ポリ(n=2〜30)オキシアルキレン(エチレン、プロピレン、ブチレン:単独、ランダム、ブロックでもよい)モノ(メタ)アクリレートの硫酸エステル[ポリ(n=5〜15)オキシプロピレンモノメタクリレート硫酸エステル等]、ポリオキシエチレン多環フェニルエーテル硫酸エステルおよび下記一般式(1−1)〜(1−3)で示される硫酸エステルもしくはスルホン酸基含有モノマー;ならびそれらの塩等。
炭素数2〜14のアルケンスルホン酸、例えばビニルスルホン酸、(メタ)アリルスルホン酸、メチルビニルスルホン酸、スチレンスルホン酸;およびその炭素数2〜24のアルキル誘導体、例えばα−メチルスチレンスルホン酸等;スルホ(ヒドロキシ)アルキル−(メタ)アクリレートもしくは(メタ)アクリルアミド、例えば、スルホプロピル(メタ)アクリレート、2−ヒドロキシ−3−(メタ)アクリロキシプロピルスルホン酸、2−(メタ)アクリロイルアミノ−2,2−ジメチルエタンスルホン酸、2−(メタ)アクリロイルオキシエタンスルホン酸、3−(メタ)アクリロイルオキシ−2−ヒドロキシプロパンスルホン酸、2−(メタ)アクリルアミド−2−メチルプロパンスルホン酸、3−(メタ)アクリルアミド−2−ヒドロキシプロパンスルホン酸、アルキル(炭素数3〜18)アリルスルホコハク酸、ポリ(n=2〜30)オキシアルキレン(エチレン、プロピレン、ブチレン:単独、ランダム、ブロックでもよい)モノ(メタ)アクリレートの硫酸エステル[ポリ(n=5〜15)オキシプロピレンモノメタクリレート硫酸エステル等]、ポリオキシエチレン多環フェニルエーテル硫酸エステルおよび下記一般式(1−1)〜(1−3)で示される硫酸エステルもしくはスルホン酸基含有モノマー;ならびそれらの塩等。
(式中、Rは炭素数1〜15のアルキル基、Aは炭素数2〜4のアルキレン基を示し、nが複数の場合同一でも異なっていてもよく、異なる場合はランダムでもブロックでもよい。Arはベンゼン環を示し、nは1〜50の整数を示し、R’はフッ素原子で置換されていてもよい炭素数1〜15のアルキル基を示す。)
(4)燐酸基含有ビニルモノマーおよびその塩:
(メタ)アクリロイルオキシアルキル(C1〜C24)燐酸モノエステル、例えば、2−ヒドロキシエチル(メタ)アクリロイルホスフェートフェニル−2−アクリロイロキシエチルホスフェート(メタ)アクリロイルオキシアルキル(炭素数1〜24)ホスホン酸類、例えば2−アクリロイルオキシエチルホスホン酸。
(メタ)アクリロイルオキシアルキル(C1〜C24)燐酸モノエステル、例えば、2−ヒドロキシエチル(メタ)アクリロイルホスフェートフェニル−2−アクリロイロキシエチルホスフェート(メタ)アクリロイルオキシアルキル(炭素数1〜24)ホスホン酸類、例えば2−アクリロイルオキシエチルホスホン酸。
なお、上記(2)〜(4)の塩としては、金属塩、アンモニウム塩、およびアミン塩(4級アンモニウム塩を含む)が挙げられる。金属塩を形成する金属としては、Al、Ti、Cr、Mn、Fe、Zn、Ba、Zr、Ca、Mg、Na、およびK等が挙げられる。好ましくはアルカリ金属塩、およびアミン塩であり、さらに好ましくは、ナトリウム蝋および炭素数3〜20の3級モノアミンの塩である。
(5)ヒドロキシル基含有ビニルモノマー:
ヒドロキシスチレン、N−メチロール(メタ)アクリルアミド、ヒドロキシエチル(メタ)アクリレート、ヒドロキシプロピル(メタ)アクリレート、ポリエチレングリコールモノ(メタ)アクリレート、(メタ)アリルアルコール、クロチルアルコール、イソクロチルアルコール、1−ブテン−3−オール、2−ブテン−1−オール、2−ブテン−1,4−ジオール、プロパルギルアルコール、2−ヒドロキシエチルプロペニルエーテル、庶糖アリルエーテル等
ヒドロキシスチレン、N−メチロール(メタ)アクリルアミド、ヒドロキシエチル(メタ)アクリレート、ヒドロキシプロピル(メタ)アクリレート、ポリエチレングリコールモノ(メタ)アクリレート、(メタ)アリルアルコール、クロチルアルコール、イソクロチルアルコール、1−ブテン−3−オール、2−ブテン−1−オール、2−ブテン−1,4−ジオール、プロパルギルアルコール、2−ヒドロキシエチルプロペニルエーテル、庶糖アリルエーテル等
(6)含窒素ビニルモノマー:
(6−1)アミノ基含有ビニルモノマー:アミノエチル(メタ)アクリレート、ジメチルアミノエチル(メタ)アクリレート、ジエチルアミノエチル(メタ)アクリレート、t−ブチルアミノエチルメタクリレート、N−アミノエチル(メタ)アクリルアミド、(メタ)アリルアミン、モルホリノエチル(メタ)アクリレート、4−ビニルピリジン、2−ビニルピリジン、クロチルアミン、N,N−ジメチルアミノスチレン、メチルα−アセトアミノアクリレート、ビニルイミダゾール、N−ビニルピロール、N−ビニルチオピロリドン、N−アリールフェニレンジアミン、アミノカルバゾール、アミノチアゾール、アミノインドール、アミノピロール、アミノイミダゾール、アミノメルカプトチアゾール、これらの塩等
(6−2)アミド基含有ビニルモノマー:(メタ)アクリルアミド、N−メチル(メタ)アクリルアミド、N−ブチルアクリルアミド、ジアセトンアクリルアミド、N−メチロール(メタ)アクリルアミド、N,N’−メチレン−ビス(メタ)アクリルアミド、桂皮酸アミド、N,N−ジメチルアクリルアミド、N,N−ジベンジルアクリルアミド、メタクリルホルムアミド、N−メチルN−ビニルアセトアミド、N−ビニルピロリドン等
(6−3)ニトリル基含有ビニルモノマー:(メタ)アクリロニトリル、シアノスチレン、シアノアクリレート等
(6−4)4級アンモニウムカチオン基含有ビニルモノマー:ジメチルアミノエチル(メタ)アクリレート、ジエチルアミノエチル(メタ)アクリレート、ジメチルアミノエチル(メタ)アクリルアミド、ジエチルアミノエチル(メタ)アクリルアミド、ジアリルアミン等の3級アミン基含有ビニルモノマーの4級化物(メチルクロライドジメチル硫酸、ベンジルクロライド、ジメチルカーボネート等の4級化剤を用いて4級化したもの)
(6−5)ニトロ基含有ビニルモノマー:ニトロスチレン等
(6−1)アミノ基含有ビニルモノマー:アミノエチル(メタ)アクリレート、ジメチルアミノエチル(メタ)アクリレート、ジエチルアミノエチル(メタ)アクリレート、t−ブチルアミノエチルメタクリレート、N−アミノエチル(メタ)アクリルアミド、(メタ)アリルアミン、モルホリノエチル(メタ)アクリレート、4−ビニルピリジン、2−ビニルピリジン、クロチルアミン、N,N−ジメチルアミノスチレン、メチルα−アセトアミノアクリレート、ビニルイミダゾール、N−ビニルピロール、N−ビニルチオピロリドン、N−アリールフェニレンジアミン、アミノカルバゾール、アミノチアゾール、アミノインドール、アミノピロール、アミノイミダゾール、アミノメルカプトチアゾール、これらの塩等
(6−2)アミド基含有ビニルモノマー:(メタ)アクリルアミド、N−メチル(メタ)アクリルアミド、N−ブチルアクリルアミド、ジアセトンアクリルアミド、N−メチロール(メタ)アクリルアミド、N,N’−メチレン−ビス(メタ)アクリルアミド、桂皮酸アミド、N,N−ジメチルアクリルアミド、N,N−ジベンジルアクリルアミド、メタクリルホルムアミド、N−メチルN−ビニルアセトアミド、N−ビニルピロリドン等
(6−3)ニトリル基含有ビニルモノマー:(メタ)アクリロニトリル、シアノスチレン、シアノアクリレート等
(6−4)4級アンモニウムカチオン基含有ビニルモノマー:ジメチルアミノエチル(メタ)アクリレート、ジエチルアミノエチル(メタ)アクリレート、ジメチルアミノエチル(メタ)アクリルアミド、ジエチルアミノエチル(メタ)アクリルアミド、ジアリルアミン等の3級アミン基含有ビニルモノマーの4級化物(メチルクロライドジメチル硫酸、ベンジルクロライド、ジメチルカーボネート等の4級化剤を用いて4級化したもの)
(6−5)ニトロ基含有ビニルモノマー:ニトロスチレン等
(7)エポキシ基含有ビニルモノマー:
グルシジル(メタ)アクリレート、テトラヒドロフルフリル(メタ)アクリレート、p−ビニルフェニルフェニルオキサイド等
グルシジル(メタ)アクリレート、テトラヒドロフルフリル(メタ)アクリレート、p−ビニルフェニルフェニルオキサイド等
(8)ハロゲン元素含有ビニルモノマー:
塩化ビニル、臭化ビニル、塩化ビニリデン、アリルクロライドクロルスチレンVIブロムスチレン、ジクロルスチレン、クロロメチルスチレン、テトラフルオロスチレン、クロロプレン等
塩化ビニル、臭化ビニル、塩化ビニリデン、アリルクロライドクロルスチレンVIブロムスチレン、ジクロルスチレン、クロロメチルスチレン、テトラフルオロスチレン、クロロプレン等
(9)ビニルエステル、ビニル(チオ)エーテル、ビニルケトン、ビニルスルホン類:
(9−1)ビニルエステル例えば酢酸ビニル、ビニルブチレート、プロピオン酸ビニル、酪酸ビニル、ジアリルフタレート、ジアリルアジペート、イソプロペニルアセテート、ビニルメタクリレート、メチル4−ビニルベンゾエート、シクロヘキシルメタクリレート、ベンジルメタクリレート、フェニル(メタ)アクリレート、ビニルメトキシアセテート、ビニルベンゾエート、エチルα−エトキシアクリレート、炭素数1〜50のアルキル基を有するアルキル(メタ)アクリレート[メチル(メタ)アクリレート、エチル(メタ)アクリレート、プロピル(メタ)アクリレート、ブチル(メタ)アクリレート、2−エチルヘキシル(メタ)アクリレート、ドデシル(メタ)アクリレート、ヘキサデシル(メタ)アクリレート、ヘプタデシル(メタ)アクリレート、エイコシル(メタ)アクリレート等]、ジアルキルフマレート(フマル酸ジアルキルエステル)(2個のアルキル基は、炭素数2〜8の、直鎖、分枝鎖もしくは脂環式の基であるルジアルキルマレエート(マレイン酸ジアルキルエステル)(2個のアルキル基は、炭素数2〜8の、直鎖、分枝鎖もしくは脂環式の基である)、ポリ(メタ)アリロキシアルカン類[ジアリロキシエタン、トリアリロキシエタン、テトラアリロキシエタン、テトラアリロキシプロパン、テトラアリロキシブタン、テトラメタアリロキシエタン等]等、ポリアルキレングリコール鎖を有するビニルモノマー[ポリエチレングリコール(分子量300)モノ(メタ)アクリレート、ポリプロピレングリコール(分子量500)モノアクリレート、メチルアルコールEO10モル付加物(メタ)アクリレートラウリルアルコールEO30モル付加物(メタ)アクリレート等]、ポリ(メタ)アクリレート類[多価アルコール類のポリ(メタ)アクリレート:エチレングリコールジ(メタ)アクリレート、プロピレングリコールジ(メタ)アクリレート、ネオペンチルグリコールジ(メタ)アクリレート、トリメチロールプロパントリ(メタ)アクリレート、ポリエチレングリコールジ(メタ)アクリレート等]等
(9−1)ビニルエステル例えば酢酸ビニル、ビニルブチレート、プロピオン酸ビニル、酪酸ビニル、ジアリルフタレート、ジアリルアジペート、イソプロペニルアセテート、ビニルメタクリレート、メチル4−ビニルベンゾエート、シクロヘキシルメタクリレート、ベンジルメタクリレート、フェニル(メタ)アクリレート、ビニルメトキシアセテート、ビニルベンゾエート、エチルα−エトキシアクリレート、炭素数1〜50のアルキル基を有するアルキル(メタ)アクリレート[メチル(メタ)アクリレート、エチル(メタ)アクリレート、プロピル(メタ)アクリレート、ブチル(メタ)アクリレート、2−エチルヘキシル(メタ)アクリレート、ドデシル(メタ)アクリレート、ヘキサデシル(メタ)アクリレート、ヘプタデシル(メタ)アクリレート、エイコシル(メタ)アクリレート等]、ジアルキルフマレート(フマル酸ジアルキルエステル)(2個のアルキル基は、炭素数2〜8の、直鎖、分枝鎖もしくは脂環式の基であるルジアルキルマレエート(マレイン酸ジアルキルエステル)(2個のアルキル基は、炭素数2〜8の、直鎖、分枝鎖もしくは脂環式の基である)、ポリ(メタ)アリロキシアルカン類[ジアリロキシエタン、トリアリロキシエタン、テトラアリロキシエタン、テトラアリロキシプロパン、テトラアリロキシブタン、テトラメタアリロキシエタン等]等、ポリアルキレングリコール鎖を有するビニルモノマー[ポリエチレングリコール(分子量300)モノ(メタ)アクリレート、ポリプロピレングリコール(分子量500)モノアクリレート、メチルアルコールEO10モル付加物(メタ)アクリレートラウリルアルコールEO30モル付加物(メタ)アクリレート等]、ポリ(メタ)アクリレート類[多価アルコール類のポリ(メタ)アクリレート:エチレングリコールジ(メタ)アクリレート、プロピレングリコールジ(メタ)アクリレート、ネオペンチルグリコールジ(メタ)アクリレート、トリメチロールプロパントリ(メタ)アクリレート、ポリエチレングリコールジ(メタ)アクリレート等]等
(9−2)ビニル(チオ)エーテル、例えばビニルメチルエーテル、ビニルエチルエーテル、ビニルプロピルエーテル、ビニルブチルエーテル、ビニル2−エチルヘキシルエーテル、ビニルフェニルエーテル、ビニル2−メトキシエチルエーテル、メトキシブタジエン、ビニル2−ブトキシエチルエーテル、3,4−ジヒドロ12−ピラン、2−ブトキシ−2’−ビニロキシジエチルエーテル、ビニル2−エチルメルカプトエチルエーテル、アセトキシスチレン、フェノキシスチレン等
(9−3)ビニルケトン、例えばビニルメチルケトン、ビニルエチルケトン、ビニルフェニルケトン;ビニルスルホン、例えばジビニルサルファイド、p−ビニルジフェニルサルファイドビニルエチルサルファイド、ビニルエチルスルフォン、ジビニルスルフォン、ジビニルスルフォキサイド等
(9−3)ビニルケトン、例えばビニルメチルケトン、ビニルエチルケトン、ビニルフェニルケトン;ビニルスルホン、例えばジビニルサルファイド、p−ビニルジフェニルサルファイドビニルエチルサルファイド、ビニルエチルスルフォン、ジビニルスルフォン、ジビニルスルフォキサイド等
(10)その他のビニルモノマー:
イソシアナトエチル(メタ)アクリレート、m−イソプロペニル−α,α−ジメチルベンジルイソシアネート等
イソシアナトエチル(メタ)アクリレート、m−イソプロペニル−α,α−ジメチルベンジルイソシアネート等
ビニル樹脂としては、上記(1)〜(10)の任意のモノマー同士を、2元またはそれ以上の個数で、好ましくは樹脂粒子(A)中のカルボキシル基の含量が1〜50%になるように、任意の割合で共重合したポリマーが挙げられるが、例えば、スチレン−(メタ)アクリル酸エステル−(メタ)アクリル酸共重合体、スチレン−ブタジエン−(メタ)アクリル酸共重合体、(メタ)アクリル酸一アクリル酸エステル共重合体、スチレン−アクリロニトリル−(メタ)アクリル酸一ジビニルベンゼン共重合体、スチレン−スチレンスルホン酸一(メタ)アクリル酸エステル共重合体およびこれらの共重合体の塩などが挙げられる。これらのうち好ましいものは、構成単位としてアクリル酸エステルを20〜80%含有する共重合体である。
なお、樹脂(a)が、水性分散体中で樹脂粒子(A)を形成する場合、少なくとも水性分散体を形成する条件下で水に完全に溶解していないことが必要である。そのため、ビニル樹脂を構成する疎水性モノマーと親水性モノマーの比率は、選ばれるモノマーの種類によるが、一般に疎水性モノマーが10%以上であることが好ましく、30%以上であることがより好ましい。疎水性モノマーの比率が、10%未満になるとビニル樹脂が水溶性になり、(C)の粒径均一性が損なわれる場合がある。ここで、親水性モノマーとは水に任意の割合で溶解するモノマーをいい、疎水性モノマーとは、それ以外のモノマー(基本的に水に混和しないモノマー)をいう。
ポリエステル樹脂としては、ポリオールとポリカルボン酸またはその酸無水物またはその低級アルキルエステルとの重縮合物、およびこれらの重縮合物の金属塩などが挙げられる。ポリオールとしてはジオール(11)および3〜8価またはそれ以上のポリオール(12)が、ポリカルボン酸またはその酸無水物またはその低級アルキルエステルとしては、ジカルボン酸(13)および3〜6価またはそれ以上のポリカルボン酸(14)およびこれらの酸無水物または低級アルキルエステルが挙げられる。
ポリオールとポリカルボン酸の比率は、水酸基[OH]とカルボキシル基[COOH]の当量比[OH]/[COOH]として、好ましくは2/1〜1/5、さらに好ましくは1.5/1〜1/4、とくに好ましくはl/1.3〜1/3である。
カルボキシル基の含有量を前記の好ましい範囲内とするために、水酸基が過剰なポリエステルをポリカルボン酸で処理してもよい。
ポリオールとポリカルボン酸の比率は、水酸基[OH]とカルボキシル基[COOH]の当量比[OH]/[COOH]として、好ましくは2/1〜1/5、さらに好ましくは1.5/1〜1/4、とくに好ましくはl/1.3〜1/3である。
カルボキシル基の含有量を前記の好ましい範囲内とするために、水酸基が過剰なポリエステルをポリカルボン酸で処理してもよい。
ジオール(11)としては、炭素数2〜36のアルキレングリコール(エチレングリコール、1,2−プロピレングリコール、1,3−プロピレングリコール、1,4−ブタンジオール、1,6−へキサンジオール、オクタンジオール、デカンジオール、ドデカンジオール、テトラデカンジオール、ネオペンチルグリコール、2,2−ジエチルー1,3−プロパンジオールなど):炭素数4〜36のアルキレンエーテルグリコール(ジエチレングリコール、トリエチレングリコール、ジプロピレングリコール、ポリエチレングリコール、ポリプロピレングリコール、ポリテトラメチレンエーテルグリコールなど);炭素数4〜36の脂環式ジオール(1,4−シクロヘキサンジメタノール、水素添加ビスフェノールAなど);上記アルキレングリコールまたは脂環式ジオールのAO〔EO、PO、BOなど〕付加物(付加モル数1〜120):ビスフェノール類(ビスフェノールA、ビスフェノールF、ビスフェノールSなど)のAO(AO、PO、BOなど)付加物(付加モル数2〜30);ポリラクトンジオール(ポリε−カプロラクトンジオールなど);およびポリブタジエンジオールなどが挙げられる。
ジオールとしては、上記のヒドロキシル基以外の官能基を有しないジオール以外に、他の官能基を有するジオール(11a)を用いてもよい。(11a)としては、カルボキシル基を有するジオール、スルホン酸基もしくはスルファミン酸基を有するジオールおよびこれらの塩等が挙げられる。
カルボキシル基を有するジオールとしては、ジアルキロールアルカン酸[C6〜24のもの、例えば2,2−ジメチロールプロピオン酸(DMPA)、2,2−ジメチロールブタン酸、2,2−ジメチロールヘブタン酸、2,2−ジメチロールオクタン酸など]が挙げられる。
スルホン酸基もしくはスルファミン酸基を有するジオールとしては、スルファミン酸ジオール[NN−ビス(2−ヒドロキシアルキル)スルファミン酸(アルキル基のC1〜6)またはそのAO付加物(AOとしてはEOまたはPOなど、AOの付加モル数1〜6):例えばN,N−ビス(2−ヒドロキシエチル)スルファミン酸およびN,N−ビス(2−ヒドロキシエチル)スルファミン酸PO2モル付加物など]:ビス(2−ヒドロキシエチル)ホスフェートなどが挙げられる。
これらの中和塩基を有するジオールの中和塩基としては、例えば前記炭素数3〜30の3級アミン(トリエチルアミンなど)および/またはアルカリ金属(ナトリウム塩など)が挙げられる。
これらのうち好ましいものは、炭素数2〜12のアルキレングリコール、カルボキシル基を有するジオールビスフェノール類のAO付加物、およびこれらの併用である。
カルボキシル基を有するジオールとしては、ジアルキロールアルカン酸[C6〜24のもの、例えば2,2−ジメチロールプロピオン酸(DMPA)、2,2−ジメチロールブタン酸、2,2−ジメチロールヘブタン酸、2,2−ジメチロールオクタン酸など]が挙げられる。
スルホン酸基もしくはスルファミン酸基を有するジオールとしては、スルファミン酸ジオール[NN−ビス(2−ヒドロキシアルキル)スルファミン酸(アルキル基のC1〜6)またはそのAO付加物(AOとしてはEOまたはPOなど、AOの付加モル数1〜6):例えばN,N−ビス(2−ヒドロキシエチル)スルファミン酸およびN,N−ビス(2−ヒドロキシエチル)スルファミン酸PO2モル付加物など]:ビス(2−ヒドロキシエチル)ホスフェートなどが挙げられる。
これらの中和塩基を有するジオールの中和塩基としては、例えば前記炭素数3〜30の3級アミン(トリエチルアミンなど)および/またはアルカリ金属(ナトリウム塩など)が挙げられる。
これらのうち好ましいものは、炭素数2〜12のアルキレングリコール、カルボキシル基を有するジオールビスフェノール類のAO付加物、およびこれらの併用である。
3〜8価またはそれ以上のポリオール(12)としては、炭素数3〜36の3〜8価またはそれ以上の多価脂肪族アルコール(アルカンポリオールおよびその分子内もしくは分子間脱水物、例えばグリセリン、トリメチロールエタン、トリメチロールプロパン、ペンタエリスリトール、ソルビトール、ソルビタン、およびポリグリセリン;糖類およびその誘導体、例えばショ糖、およびメチルグルコシド);多価脂肪族アルコールのAO付加物(付加モル数2〜120):トリスフェノール類(トリスフェノールPAなど)のAO付加物(付加モル数2〜30);ノボラック樹脂(フェノールノボラック、クレゾールノボラックなど)のAO付加物(付加モル数2〜30);アクリルポリオール[ヒドロキシエチル(メタ)アクリレートと他のビニルモノマーの共重合物など];などが挙げられる。これらのうち好ましいものは、3〜8価またはそれ以上の多価脂肪族アルコールおよびノボラック樹脂のAO付加物であり、さらに好ましいものはノボラック樹脂のAO付加物である。
ジカルボン酸(13)としては、炭素数4〜36のアルカンジカルボン酸(コハク酸、アジピン酸、セバシン酸、アゼライン酸、ドデカンジカルボン酸、オクタデカンジカルボン酸、デシルコハク酸など)およびアルケニルコハク酸(ドデセニルコハク酸、ペンタデセニルコハク酸、オクタデセニルコハク酸など);炭素数6〜40の脂環式ジカルボン酸〔ダイマー酸(2量化リノール酸)など〕、炭素数4〜36のアルケンジカルボン酸(マレイン酸、フマール酸、シトラコン酸など):炭素数8〜36の芳香族ジカルボン酸(フタル酸、イソフタル酸、テレフタル酸、ナフタレンジカルボン酸など)などが挙げられる。これらのうち好ましいものは、炭素数4〜20のアルケンジカルボン酸、および炭素数8〜20の芳香族ジカルボン酸である。
3〜6価またはそれ以上のポリカルボン酸(14)としては、炭素数9〜20の芳香族ポリカルボン酸(トリメリット酸、ピロメリット酸など)などが挙げられる。
なお、ジカルボン酸(13)または3〜6価またはそれ以上のポリカルボン酸(14)としては、上述のものの酸無水物または炭素数1〜4の低級アルキルエステル(メチルエステル、エチルエステル、イソプロピルエステルなど)を用いてもよい。
3〜6価またはそれ以上のポリカルボン酸(14)としては、炭素数9〜20の芳香族ポリカルボン酸(トリメリット酸、ピロメリット酸など)などが挙げられる。
なお、ジカルボン酸(13)または3〜6価またはそれ以上のポリカルボン酸(14)としては、上述のものの酸無水物または炭素数1〜4の低級アルキルエステル(メチルエステル、エチルエステル、イソプロピルエステルなど)を用いてもよい。
ポリウレタン樹脂としては、ポリイソシアネート(15)と活性水素含有化合物{水、ポリオール[ジオール(11)〔ヒドロキシル基以外の官能基を有するジオール(11a)を含む〕、および3〜8価またはそれ以上のポリオール(12)]ポリカルボン酸[ジカルボン酸(13)、および3〜6価またはそれ以上のポリカルボン酸(14)]、ポリオールとポリカルボン酸の重縮合により得られるポリエステルポリオール、炭素数6〜12のラクトンの開環重合体、ポリアミン(16)、ポリチオール(17)、およびこれらの併用等}の重付加物、並びに(15)と活性水素含有化合物を反応させてなる末端イソシアネート基プレポリマーと、該プレポリマーのイソシアネート基に対して等量の1級および/または2級モノアミン(18)とを反応させて得られる、アミノ基含有ポリウレタン樹脂が挙げられる。
ポリウレタン樹脂中のカルボキシル基の含有量は、0.1〜10%が好ましい。
ポリウレタン樹脂中のカルボキシル基の含有量は、0.1〜10%が好ましい。
ジオール(11)、3〜8価またはそれ以上のポリオール(12)、ジカルボン酸(13)、および3〜6価またはそれ以上のポリカルボン酸(14)としては、前記のものが挙げられ、好ましいものも同様である。
ポリイソシアネート(15)としては、炭素数(NCO基中の炭素を除く、以下同様)6〜20の芳香族ポリイソシアネート炭素数2〜18の脂肪族ポリイソシアネート炭素数4〜15の脂環式ポリイソシアネート、炭素数8〜15の芳香脂肪族ポリイソシアネートおよびこれらのポリイソシアネートの変性物(ウレタン基、カルボジイミド基、アロファネート基、ウレア基、ビューレット基、ウレトジオン基、ウレトイミン基、イソシアヌレート基、オキサゾリドン基含有変性物など)およびこれらの2種以上の混合物が挙げられる。
上記芳香族ポリイソシアネートの具体例としては、1,3−および/または14−フェニレンジイソシアネート2,4−および/または2,6−トリレンジイソシアネート(TDI)、粗製TDI、2,4’−および/または4,4’−ジフェニルメタンジイソシアネート(MDI)、粗製MDI[粗製ジアミノフェニルメタン〔ホルムアルデヒドと芳香族アミン(アニリン)またはその混合物との縮合生成物;ジアミノジフェニルメタンと少量(たとえば5〜20%)の3官能以上のポリアミンとの混合物〕のホスゲン化物:ポリアリルポリイソシアネート(PAPI)]、1,5−ナフチレンジイソシアネート4,4’,4”−トリフェニルメタントリイソシアネート、m−およびp−イソシアナトフェニルスルホニルイソシアネートなどが挙げられる。上記脂肪族ポリイソシアネートの具体例としては、エチレンジイソシアネートテトラメチレンジイソシアネートヘキサメチレンジイソシアネート(HDI)、ドデカメチレンジイソシアネート1,6,11−ウンデカントリイソシアネート2,2’4−トリメチルヘキサメチレンジイソシアネートリジンジイソシアネート2,6−ジイソシアナトメチルカプロエート、ビス(2−イソシアナトエチル)フマレートビス(2−イソシアナトエチル)カーボネート、2−イソシアナトエチル−2,6−ジイソシアナトヘキサノエートなどの脂肪族ポリイソシアネートなどが挙げられる。上記脂環式ポリイソシアネートの具体例としては、イソホロンジイソシアネート(IPDI)、ジシクロヘキシルメタン−4,4’−ジイソシアネート(水添MDI)、シクロヘキシレンジイソシアネートメチルシクロヘキシレンジイソシアネート(水添TDI)、ビス(2−イソシアナトエチル)−4−シクロヘキセン−1,2−ジカルボキシレート、2,5−および/または2,6−ノルボルナンジイソシアネートなどが挙げられる。上記芳香脂肪族ポリイソシアネートの具体例としては、m−および/またはp−キシリレンジイソシアネート(XDI)、α,α,α,α,−テトラメチルキシリレンジイソシアネート(TMXDI)などが挙げられる。また、上記ポリイソシアネートの変性物には、ウレタン基、カルボジイミド基、アロファネート基、ウレア基、ビューレット基、ウレトジオン基、ウレトイミン基、イソシアヌレート基、オキサゾリドン基含有変性物などが挙げられる。具体的には、変性MDI(ウレタン変性MDI、カルボジイミド変性MDI、トリヒドロカルビルホスフェート変性MDIなど)、ウレタン変性TDIなどのポリイソシアネートの変性物およびこれらの2種以上の混合物[たとえば変性MDIとウレタン変性TDI(イソシアネート含有プレポリマー)との併用]が含まれる。これらのうちで好ましいものは6〜15の芳香族ポリイソシアネート、炭素数4〜12の脂肪族ポリイソシアネートおよび炭素数4〜15の脂環式ポリイソシアネートであり、とくに好ましいものはTDI、MDI、HDI、水添MDI、およびIPDIである。
ポリアミン(16)の例としては、脂肪族ポリアミン類(C2〜Cl8):〔1〕脂肪族ポリアミン{C2〜C6アルキレンジアミン(エチレンジアミン、プロピレンジアミン、トリメチレンジアミン、テトラメチレンジアミン、へキサメチレンジアミンなど)、ポリアルキレン(C2〜C6)ポリアミン〔ジエチレントリアミン、イミノビスプロピルアミン、ビス(ヘキサメチレン)トリアミン,トリエチレンテトラミン、テトラエチレンペンタミン、ペンタエチレンヘキサミンなど〕};〔2〕これらのアルキル(C1〜C4)またはヒドロキシアルキル(C2〜C4)置換体〔ジアルキル(C1〜C3)アミノプロピルアミン、トリメチルヘキサメチレンジアミン、アミノエチルエタノールアミン、2,5−ジメチル−2,5−へキサメチレンジアミン、メチルイミノビスプロピルアミンなど〕;〔3〕脂環または複素環含有脂肪族ポリアミン〔3,9−ビス(3−アミノプロピル)−2,4,8,10−テトラオキサスピロ[5,5]ウンデカンなど〕;〔4〕芳香環含有脂肪族アミン類(C8〜C15)(キシリレンジアミン、テトラクロル−p−キシリレンジアミンなど)、脂環式ポリアミン(C4〜C15):1,3−ジアミノシクロヘキサンイソホロンジアミン、メンセンジアミン、4,4’−メチレンジシクロヘキサンジアミン(水添メチレンジアニリン)など、複素環式ポリアミン(C4〜C15):ピペラジン、N−アミノエチルビペラジン、1,4−ジアミノエチルビペラジン、1,4ビス(2−アミノ−2−メチルプロピル)ピペラジンなど、芳香族ポリアミン類(C6〜C20):〔1〕非置換芳香族ポリアミン〔1,2−、1,3−および1,4−フェニレンジアミン、2,4’−および4,4’−ジフェニルメタンジアミン、クルードジフェニルメタンジアミン(ポリフェニルポリメチレンポリアミン)、ジアミノジフェニルスルホン、ベンジジン、チオジアニリン、ビス(3,4−ジアミノフエール)スルホン、2,6−ジアミノピリジン、m−アミノベンジルアミン、トリフェニルメタン−4,4’,4”−トリアミン、ナフチレンジアミンなど;〔2〕核置換アルキル基〔メチル,エチル,n−およびi−プロピルブチルなどのC1〜C4アルキル基〕を有する芳香族ポリアミン、たとえば2.4−および2,6−トリレンジアミン、クルードトリレンジアミン、ジエチルトリレンジアミン、4,4’−ジアミノ−3,3’−ジメチルジフェニルメタン、4,4’−ビス(O一トルイジン)、ジアニシジン、ジアミノジトリルスルホン、1,3−ジメチル−2,4−ジアミノベンゼン、1,3−ジメチル−2,6−ジアミノベンゼン、1,4−ジイソプロピル−2,5−ジアミノベンゼン、2,4−ジアミノメシチレン、1−メチル−3,5−ジエチル−2,4−ジアミノベンゼン、2,3−ジメチル−1,4−ジアミノナフタレン、2,6−ジメチル−1,5−ジアミノナフタレン、3,3,5,5−テトラメチルベンジジン、3,3,5,5−テトラメチル−4,4’−ジアミノジフェニルメタン、3,5−ジエチル−3’−メチル−2’,4−ジアミノジフェニルメタン、3,3’−ジエチル−2,2’−ジアミノジフェニルメタン、4,4−ジアミノ−3,3’−ジメチルジフェニルメタン、3,3,5,5−テトラエチル−4,4−ジアミノベンゾフェノン、3,3,5,5−テトラエチル−4,4’−ジアミノジフェニルエーテル、3,3,5,5−テトライソプロピル−4,4’−ジアミノジフェニルスルホンなど〕、およびこれらの異性体の種々の割合の混合物:〔3〕核置換電子吸引基(Cl,Br,I,Fなどのハロゲン;メトキシ、エトキシなどのアルコキシ基:ニトロ基など)を有する芳香族ポリアミン〔メチレンビス−o−クロロアニリン、4−クロロ−o−フェニレンジアミン、2−クロル−1,4−フェニレンジアミン、3−アミノ−4−クロロアニリン、4−ブロモ−1,3−フェニレンジアミン、2,5−ジクロル−1,4−フェニレンジアミン、5−ニトロ−1,3−フェニレンジアミン、3−ジメトキシ−4−アミノアニリン;4,4’−ジアミノ−3,3’−ジメチル−5,5’−ジブロモ−ジフェニルメタン、3,3−ジクロロベンジジン、3,3−ジメトキシベンジジン、ビス(4−アミノ−3−クロロフェニル)オキシド、ビス(4−アミノ−2−クロロフェニル)プロパン、ビス(4−アミノ−2−クロロフェニル)スルホン、ビス(4−アミノ−3−メトキシフェニル)デカン、ビス(4−アミノフェニル)スルフイドビス(4−アミノフェニル)テルリド、ビス(4−アミノフェニル)セレニド、ビス(4−アミノ−3−メトキシフェニル)ジスルフイド、4,4−メチレンビス(2−ヨードアニリン)、4,4−メチレンビス(2−ブロモアニリン)、4,4−メチレンビス(2−フルオロアニリン)、4−アミノフェニル−2−クロロアニリンなど〕;〔4〕2級アミノ基を有する芳香族ポリアミン〔上記〔1〕〜〔3〕の芳香族ポリアミンの−NH2の一部または全部が−NH−R’(R’はアルキル基たとえばメチル,エチルなどの低級アルキル基)で置き換ったもの〕〔4,4−ジ(メチルアミノ)ジフェニルメタン、1−メチル−2−メチルアミノ−4−アミノベンゼンなど〕、ポリアミドポリアミン:ジカルボン酸(ダイマー酸など)と過剰の(酸lモル当り2モル以上の)ポリアミン類(上記アルキレンジアミン,ポリアルキレンポリアミンなど)との縮合により得られる低分子量ポリアミドポリアミンなど、ポリエーテルポリアミン:ポリエーテルポリオール(ポリアルキレングリコールなど)のシアノエチル化物の水素化物などが挙げられる。
ポリチオール(17)としては、炭素数2〜36のアルカンジチオール(エチレンジチオール、1,4−ブタンジチオール、1,6−ヘキサンジチオールなど)等が挙げられる。
1級および/または2級モノアミン(18)としては、炭素数2〜24のアルキルアミン(エチルアミン、ブチルアミン、イソブチルアミンなど)等が挙げられる。
エポキシ樹脂としては、ポリエポキシド(19)の開環重合物、ポリエポキシド(19)と活性水素基含有化合物{水、ポリオール[前記ジオール(11)および3〜8価またはそれ以上のポリオール(12)]、前記ジカルボン酸(13)、前記3〜6価またはそれ以上のポリカルボン酸(14)、前記ポリアミン(16)、前記ポリチオール(17)等}との重付加物、またはポリエポキシド(19)とジカルボン酸(13)または3〜6価またはそれ以上のポリカルボン酸(14)の酸無水物との硬化物などが挙げられる。
本発明に用いるポリエポキシド(19)は、分子中に2個以上のエポキシ基を有していれば、特に限定されない。ポリエポキシド(19)として好ましいものは、硬化物の機械的性質の観点から分子中にエポキシ基を2〜6個有するものである。ポリエポキシド(19)のエポキシ当量(エポキシ基1個当たりの分子量)は、好ましくは65〜1000であり、さらに好ましいのは90〜500である。エポキシ当量が1000を超えると、架橋構造がルーズになり硬化物の耐水性、耐薬品性、機械的強度等の物性が悪くなり、一方、エポキシ当量が65未満のものを合成するのは困難である。
ポリエポキシド(19)の例としては、芳香族系ポリエポキシ化合物、複素環系ポリエポキシ化合物、脂環族系ポリエポキシ化合物あるいは脂肪族系ポリエポキシ化合物が挙げられる。芳香族系ポリエポキシ化合物としては、多価フェノール類のグリシジルエーテル体およびグリシジルエステル体、グリシジル芳香族ポリアミン、並びに、アミノフェノールのグリシジル化物等が挙げられる。多価フェノールのグリシジルエーテル体としては、ビスフェノールFジグリシジルエーテル、ビスフェノールAジグリシジルエーテル、ビスフェノールBジグリシジルエーテル、ビスフェノールADジグリシジルエーテル、ビスフェノールSジグリシジルエーテル、ハロゲン化ビスフェノール、AジグリシジルテトラクロロビスフェノールAジグリシジルエーテル、カテキンジグリシジルエーテル、レゾルシノールジグリシジルエーテル、ハイドロキノンジグリシジルエーテル、ピロガロールトリグリシジルエーテル、1,5−ジヒドロキシナフタリンジグリシジルエーテル、ジヒドロキシビフェニルジグリシジルエーテル、オクタクロロ−4,4’−ジヒドロキシビフェニルジグリシジルエーテル、テトラメチルビフェニルジグリシジルエーテル、ジヒドロキシナフチルクレゾールトリグリシジルエーテル、トリス(ヒドロキシフェニル)メタントリグリシジルエーテル、ジナフチルトリオールトリグリシジルエーテル、テトラキス(4−ヒドロキシフェニル)エタンテトラグリシジルエーテル、p−グリシジルフェニルジメチルトリールビスフェノールAグリシジルエーテル、トリスメチル−tret−ブチル−ブチルヒドロキシメタントリグリシジルエーテル、9,9’−ビス(4−ヒドキシフェニル)フロオレンジグリシジルエーテル、4,4’−オキシビス(1,4−フェニルエチル)テトラクレゾールグリシジルエーテル、4,4’−オキシビス(1,4−フェニルエチル)フェニルグリシジルエーテル、ビス(ジヒドロキシナフタレン)テトラグリシジルエーテル、フェノールまたはクレゾールノボラック樹脂のグリシジルエーテル体、リモネンフェノールノボラック樹脂のグリシジルエーテル体、ビスフェノールA2モルとエピクロロヒドリン3モルの反応から得られるジグリシジルエーテル体、フェノールとグリオキザールグルタールアルデヒド、またはホルムアルデヒドの縮合反応によって得られるポリフェノールのポリグリシジルエーテル体、およびレゾルシンとアセトンの縮合反応によって得られるポリフェノールのポリグリシジルエーテル体等が挙げられる。多価フェノールのグリシジルエステル体としては、フタル酸ジグリシジルエステル、イソフタル酸ジグリシジルエステルテレフタル酸ジグリシジルエステル等が挙げられる。グリシジル芳香族ポリアミンとしては、NN−ジグリシジルアニリン、N,N,N’,N’−テトラグリシジルキシリレンジアミン、N,N,N’,N’−テトラグリシジルジフェニルメタンジアミン等が挙げられる。さらに、本発明において前記芳香族系として、P−アミノフェノールのトリグリシジルエーテル、トリレンジイソシアネートまたはジフェニルメタンジイソシアネートとグリシドールの付加反応によって得られるジグリシジルウレタン化合物、前記2反応物にポリオールも反応させて得られるグリシジル基含有ポリウレタン(プレ)ポリマーおよびビスフェノールAのアルキレンオキシド(エチレンオキシドまたはプロピレンオキシド)付加物のジグリシジルエーテル体も含む。複素環系ポリエポキシ化合物としては、トリスグリシジルメラミンが挙げられる:脂環族系ポリエポキシ化合物としては、ビニルシクロヘキセンジオキシドリモネンジオキシド、ジシクロペンタジエンジオキシド、ビス(2,3−エポキシシクロペンチル)エーテル、エチレングリコールビスエポキシジシクロペンチルエール、3,4−エポキシ−6−メチルシクロヘキシルメチル−3’,4’−エポキシ−6,−メチルシクロヘキサンカルボキシレートビス(3,4−エポキシ−6−メチルシクロヘキシルメチル)アジペートおよびビス(3,4−エポキシ−6−メチルシクロヘキシルメチル)ブチルアミン、ダイマー酸ジグリシジルエステル等が挙げられる。また、脂環族系としては、前記芳香族系ポリエポキシド化合物の核水添化物も含む;脂肪族系ポリエポキシ化合物としては、多価脂肪族アルコールのポリグリシジルエーテル体、多価脂肪酸のポリグリシジルエステル体、およびグリシジル脂肪族アミンが挙げられる。多価脂肪族アルコールのポリグリシジルエーテル体としては、エチレングリコールジグリシジルエーテル、プロピレングリコールジグリシジルエーテル、テトラメチレングリコールジグリシジルエーテル、1,6−ヘキサンジオールジグリシジルエーテル、ポリエチレングリコールジグリシジルエーテル、ポリプロピレングリコールジグリシジルエーテル、ポリテトラメチレングリコールジグリシジルエーテル、ネオペンチルグリコールジグリシジルエーテル、トリメチロールプロパンポリグリシジルエーテル、グリセロールポリグリシジルエーテル、ペンタエリスリトールポリグリシジルエーテル、ソルビトールポリグリシジルエーテルおよびポリグリセロールポリグリシジルエーテル等が挙げられる。多価脂肪酸のポリグリシジルエステル体としては、ジグリシジルオキサレートジグリシジルマレートジグリシジルスクシネートジグリシジルグルタレート、ジグリシジルアジペートジグリシジルピメレート等が挙げられる。グリシジル脂肪族アミンとしては、N,N,N’,N’−テトラグリシジルヘキサメチレンジアミンが挙げられる。また、本発明において脂肪族系としては、ジグリシジルエーテル、グリシジル(メタ)アクリレートの(共)重合体も含む。これらのうち、好ましいのは、脂肪族系ポリエポキシ化合物および芳香族系ポリエポキシ化合物である。本発明のポリエポキシドは、2種以上併用しても差し支えない。
本発明の樹脂粒子(C)は、第1の樹脂(a)を含有する樹脂粒子(A)もしくは、樹脂(a)を含有する被膜(P)が、第2の樹脂(b)、第3の樹脂(d)を含有する樹脂粒子(B)の表面を被覆するものであれば、いかなる製造方法で得られたものであってもよい。
本発明の樹脂粒子(C)はどのような方法および過程で製造された樹脂粒子であってもよいが、樹脂粒子を製造する方法として、次のような製造方法(I)あるいは(II)等が挙げられる。
(I):樹脂(a)を含有する樹脂粒子(A)の水性分散液(W)と、[樹脂(b1)と樹脂(d)、もしくはそれらの有機溶剤溶液乃至分散液](以下(O1)という)、または、[樹脂(b1)と樹脂(b2)の前駆体(b0)と樹脂(d)、もしくはそれらの有機溶剤溶液乃至分散液](以下(O2)という)とを混合し、(W)中に(O1)または(O2)を分散し、(W)中で(b)を含有する樹脂粒子(B)を形成する方法。この場合、樹脂粒子(B)の造粒と同時に(B)表面に樹脂粒子(A)あるいは被膜(P)が付着して樹脂粒子(C)の水性分散体(X)ができ、これから水性媒体を除去することによって造られる。
(I):樹脂(a)を含有する樹脂粒子(A)の水性分散液(W)と、[樹脂(b1)と樹脂(d)、もしくはそれらの有機溶剤溶液乃至分散液](以下(O1)という)、または、[樹脂(b1)と樹脂(b2)の前駆体(b0)と樹脂(d)、もしくはそれらの有機溶剤溶液乃至分散液](以下(O2)という)とを混合し、(W)中に(O1)または(O2)を分散し、(W)中で(b)を含有する樹脂粒子(B)を形成する方法。この場合、樹脂粒子(B)の造粒と同時に(B)表面に樹脂粒子(A)あるいは被膜(P)が付着して樹脂粒子(C)の水性分散体(X)ができ、これから水性媒体を除去することによって造られる。
(II):あらかじめ作製した樹脂(b)と樹脂(d)を含有する樹脂粒子(B)を樹脂(a)を含有するコーティング剤(W’)でコーティングして樹脂粒子(C)を造る方法。この場合、コーティング剤(W’)は液体、固体、どのような形態であってもかまわず、さらに(a)の前駆体(a’)でコーティングした後に(a’)を反応させて(a)にしてもよい。また、用いる(B)は、乳化重合凝集法などで作製された樹脂粒子であっても、粉砕法で作製された樹脂粒子であっても、どのような製造法で作製されたものでもかまわない。またコーティング方法には、限定はなく、例えば、樹脂(a)を含有する樹脂粒子(A)の水性分散液(W)中にあらかじめ作製した樹脂粒子(B)または(B)の分散体を分散させる方法や、(B)に(a)の溶解液をコーティング剤としてふりかける方法などが挙げられる。
これらの中では(I)の製法が好ましい。
これらの中では(I)の製法が好ましい。
樹脂粒子(C)は、以下の製造方法により得られたものであることが、粒径が均一な樹脂粒子となることからさらに好ましい。
樹脂粒子(A)の水性分散液(W)と、(O1)(樹脂(b1)と樹脂(d)、もしくはその有機溶剤溶液乃至分散液)、または(O2)(樹脂(b1)と樹脂(b2)の前駆体(b0)と樹脂(d)、もしくはその有機溶剤溶液乃至分散液)とを混合し、(W)中に(O1)または(O2)を分散させて、(b)を含有する樹脂粒子(B)が形成される際に、樹脂粒子(B)の表面に樹脂粒子(A)を吸着させることで樹脂粒子(C)同士が合一するのを防ぎ、また、高剪断条件下で(C)が分裂され難くする。これにより、(C)の粒径を一定の値に収斂させ、粒径の均一性を高める効果を発揮する。そのため、樹脂粒子(A)は、分散する際の温度において、剪断により破壊されない程度の強度を有すること、水に溶解したり、膨潤したりしにくいこと、(b1)と樹脂(d)、もしくはその有機溶剤溶液乃至分散液、(b1)と(b0)と樹脂(d)、もしくはその有機溶剤溶液乃至分散液に溶解しにくいことが好ましい特性としてあげられる。
また、トナー成分である、着色剤、離型剤及び変性層状無機鉱物は、樹脂粒子(B)中に包含される。このため、(W)と(O)(O1又はO2)との混合前に、(O)の溶液中に分散させておく。また、帯電制御剤は樹脂粒子(B)に内包させてもよく、外添してもよい。内包させる場合には前記着色剤等と同様に(O)の溶液中に分散させておけばよく、また、外添する場合には粒子Cの形成後に外添する。
樹脂粒子(A)の水性分散液(W)と、(O1)(樹脂(b1)と樹脂(d)、もしくはその有機溶剤溶液乃至分散液)、または(O2)(樹脂(b1)と樹脂(b2)の前駆体(b0)と樹脂(d)、もしくはその有機溶剤溶液乃至分散液)とを混合し、(W)中に(O1)または(O2)を分散させて、(b)を含有する樹脂粒子(B)が形成される際に、樹脂粒子(B)の表面に樹脂粒子(A)を吸着させることで樹脂粒子(C)同士が合一するのを防ぎ、また、高剪断条件下で(C)が分裂され難くする。これにより、(C)の粒径を一定の値に収斂させ、粒径の均一性を高める効果を発揮する。そのため、樹脂粒子(A)は、分散する際の温度において、剪断により破壊されない程度の強度を有すること、水に溶解したり、膨潤したりしにくいこと、(b1)と樹脂(d)、もしくはその有機溶剤溶液乃至分散液、(b1)と(b0)と樹脂(d)、もしくはその有機溶剤溶液乃至分散液に溶解しにくいことが好ましい特性としてあげられる。
また、トナー成分である、着色剤、離型剤及び変性層状無機鉱物は、樹脂粒子(B)中に包含される。このため、(W)と(O)(O1又はO2)との混合前に、(O)の溶液中に分散させておく。また、帯電制御剤は樹脂粒子(B)に内包させてもよく、外添してもよい。内包させる場合には前記着色剤等と同様に(O)の溶液中に分散させておけばよく、また、外添する場合には粒子Cの形成後に外添する。
樹脂粒子(A)が水や分散時に用いる溶剤に対して、溶解したり、膨潤したりするのを低減する観点から、樹脂(a)の分子量、sp値(sp値の計算方法はPolymer Engineering and Science,Feburuary,1974,VoL14、No.2P、147〜154による)、結晶性、架橋点間分子量等を適宜調整するのが好ましい。
樹脂(a)の数平均分子量(ゲルパーミエーションクロマトグラフイーにて測定、以下Mnと略記)は、好ましくは100〜500万、さらに好ましくは200〜500万、とくに好ましくは500〜500,000,sp値は、好ましくは7〜18、さらに好ましくは8〜14である。樹脂(a)の融点(DSCにて測定)は、好ましくは50℃以上、さらに好ましくは80〜200℃である。
本発明において、ポリエステル樹脂等のポリウレタン樹脂以外の樹脂の、数平均分子量(Mn)、および重量平均分子量(Mw)は、テトラヒドロフラン(THF)可溶分について、ゲルパーミエーションクロマトグラフイー(GPC)を用いて以下の条件で測定される。
装置(一例) :東ソー製HLC−8120
カラム(一例) :TSKgelGMHXL(2本)
:TSKgelMultiporeHXL−M(1本)
試料溶液 :0.25%のTHF溶液
溶液注入量 :100μl
流量 :1ml/分
測定温度 :40℃
検出装置 :屈折率検出器
基準物質 :東ソー製標準ポリスチレン(TSKstandardPOLYSTYRENE)12点(分子量500 1050 2800 5970 9100 18100 37900 96400 190000 355000 1090000 2890000)
装置(一例) :東ソー製HLC−8120
カラム(一例) :TSKgelGMHXL(2本)
:TSKgelMultiporeHXL−M(1本)
試料溶液 :0.25%のTHF溶液
溶液注入量 :100μl
流量 :1ml/分
測定温度 :40℃
検出装置 :屈折率検出器
基準物質 :東ソー製標準ポリスチレン(TSKstandardPOLYSTYRENE)12点(分子量500 1050 2800 5970 9100 18100 37900 96400 190000 355000 1090000 2890000)
また、ポリウレタン樹脂のMnおよびMwは、GPCを用いて以下の条件で測定される。
装置(一例) :東ソー製HLC−8220GPC
カラム(一例) :GuardcolumnαTSKgelα−M
試料溶液 :0.125%のジメチルホルムアミド溶液
溶液注入量 :100μl
流量 :1ml/分
温度 :40℃
検出装置 :屈折率検出器
基準物質 :東ソー製標準ポリスチレン(TSKstandardPOLYSTYRENE)12点(分子量500 1050 2800 5970 9100 18100 37900 96400 190000 355000 1090000 2890000)
装置(一例) :東ソー製HLC−8220GPC
カラム(一例) :GuardcolumnαTSKgelα−M
試料溶液 :0.125%のジメチルホルムアミド溶液
溶液注入量 :100μl
流量 :1ml/分
温度 :40℃
検出装置 :屈折率検出器
基準物質 :東ソー製標準ポリスチレン(TSKstandardPOLYSTYRENE)12点(分子量500 1050 2800 5970 9100 18100 37900 96400 190000 355000 1090000 2890000)
樹脂(a)のガラス転移温度(Tg)は、樹脂粒子(C)の粒径均一性、粉体流動性、保存時の耐熱性、耐ストレス性の観点から、好ましくは50℃〜100℃、さらに好ましくは51℃〜90℃、とくに好ましくは52℃〜75℃ある。水性樹脂分散体を作成する温度よりTgが低いと、合一を防止したり、分裂を防止したりする効果が小さくなり、粒径の均一性を高める効果が小さくなる。また、樹脂(a)を含有する樹脂粒子(A)および樹脂(a)を含有する被膜(P)のTgは、同様の理由で、好ましくは20〜200℃、さらに好ましくは30〜100℃、とくに好ましくは40〜85℃である。なお、本発明におけるTgは、DSC測定またはフローテスター測定(DSCで測定できない場合)から求められる値である。
DSCで測定の場合は、セイコー電子工業(株)製DSC20、SSC/580を用いて、ASTMD3418−82に規定の方法(DSC法)で測定される。
フローテスター測定には、島津製作所製の高架式フローテスターCFT500型を用いる。フローテスター測定の条件は下記のとおりであり、以下測定は全てこの条件で行われる。
(フローテスター測定条件)
荷重:30kg/cm2、昇温速度:3.0℃/min、
ダイロ径:0.50mm、タイ長さ:10.0mm
フローテスター測定には、島津製作所製の高架式フローテスターCFT500型を用いる。フローテスター測定の条件は下記のとおりであり、以下測定は全てこの条件で行われる。
(フローテスター測定条件)
荷重:30kg/cm2、昇温速度:3.0℃/min、
ダイロ径:0.50mm、タイ長さ:10.0mm
樹脂(a)は、前述のように公知の樹脂から選択されるが、樹脂(a)のガラス転移温度(Tg)を調整する場合、(a)の分子量および/または(a)を構成する単量体組成を変更することで容易に調整できる。(a)の分子量(分子量が大きくなるほど、これらの温度は高くなる。)を調整する方法としては、公知の方法でよく、例えば、ポリウレタン樹脂やポリエステル樹脂のような逐次反応で重合する場合には、単量体の仕込み比の調整が挙げられ、ビニル樹脂のような連鎖反応で重合する場合には、重合開始剤量および連鎖移動剤量の調整、反応温度、反応濃度の調整が挙げられる。
樹脂粒子(A)の水性分散液(W)中に、水以外に後述の有機溶剤(u)のうち水と混和性の有機溶剤(アセトン、メチルエチルケトン等)が含有されていてもよい。この際、含有される有機溶剤は、樹脂粒子(A)の凝集を引き起こさないもの、樹脂粒子(A)を溶解しないもの、および樹脂粒子(C)の造粒を妨げることがないものであればどの種であっても、またどの程度の含有量であってもかまわないが、水との合計量の40質量%以下用いて、乾燥後の樹脂粒子(C)中に残らないものが好ましい。
樹脂(a)を樹脂粒子(A)の水性分散液(W)にする方法は、とくに限定されないが、以下の〔1〕〜〔8〕が挙げられる。
〔1〕ビニル樹脂の場合において、モノマーを出発原料として、懸濁重合法、乳化重合法、シード重合法または分散重合法等の重合反応により、直接、樹脂粒子(A)の水性分散液を製造する方法
〔2〕ポリエステル樹脂等の重付加あるいは縮合系樹脂の場合において、前駆体(モノマー、オリゴマー等)またはその有機溶剤溶液乃至分散液を必要であれば適当な分散剤存在下で水性媒体中に分散させ、その後に加熱したり、硬化剤を加えたりして硬化させて樹脂粒子(A)の水性分散体を製造する方法
〔3〕ポリエステル樹脂等の重付加あるいは縮合系樹脂の場合において、前駆体(モノマー、オリゴマー等)またはその有機溶剤溶液乃至分散液(液体であることが好ましい。加熱により液状化してもよい)中に適当な乳化剤を溶解させた後、水を加えて転相乳化し、硬化剤を加えたりして硬化させて樹脂粒子(A)の水性分散体を製造する方法
〔4〕あらかじめ重合反応(付加重合、開環重合、重付加、付加縮合、縮合重合等いずれの重合反応様式であってもよい。以下の本項の重合反応も同様)により作成した樹脂を機械回転式またはジェット式等の微粉砕機を用いて粉砕し、次いで、分級することによって樹脂粒子を得た後、適当な分散剤存在下で水中に分散させる方法
〔5〕あらかじめ重合反応により作成した樹脂を有機溶剤に溶解した樹脂溶液を霧状に噴霧することにより樹脂粒子を得た後、該樹脂粒子を適当な分散剤存在下で水中に分散させる方法
〔6〕あらかじめ重合反応により作成した樹脂を有機溶剤に溶解した樹脂溶液に貧溶剤を添加するか、またはあらかじめ有機溶剤に加熱溶解した樹脂溶液を冷却することにより樹脂粒子を析出させ、次いで、有機溶剤を除去して樹脂粒子を得た後、該樹脂粒子を適当な分散剤存在下で水中に分散させる方法
〔7〕あらかじめ重合反応により作成した樹脂を有機溶剤に溶解した樹脂溶液を、適当な分散剤存在下で水性媒体中に分散させ、これを加熱または減圧等によって有機溶剤を除去する方法
〔8〕あらかじめ重合反応により作成した樹脂を有機溶剤に溶解した樹脂溶液中に適当な乳化剤を溶解させた後、水を加えて転相乳化する方法
〔1〕ビニル樹脂の場合において、モノマーを出発原料として、懸濁重合法、乳化重合法、シード重合法または分散重合法等の重合反応により、直接、樹脂粒子(A)の水性分散液を製造する方法
〔2〕ポリエステル樹脂等の重付加あるいは縮合系樹脂の場合において、前駆体(モノマー、オリゴマー等)またはその有機溶剤溶液乃至分散液を必要であれば適当な分散剤存在下で水性媒体中に分散させ、その後に加熱したり、硬化剤を加えたりして硬化させて樹脂粒子(A)の水性分散体を製造する方法
〔3〕ポリエステル樹脂等の重付加あるいは縮合系樹脂の場合において、前駆体(モノマー、オリゴマー等)またはその有機溶剤溶液乃至分散液(液体であることが好ましい。加熱により液状化してもよい)中に適当な乳化剤を溶解させた後、水を加えて転相乳化し、硬化剤を加えたりして硬化させて樹脂粒子(A)の水性分散体を製造する方法
〔4〕あらかじめ重合反応(付加重合、開環重合、重付加、付加縮合、縮合重合等いずれの重合反応様式であってもよい。以下の本項の重合反応も同様)により作成した樹脂を機械回転式またはジェット式等の微粉砕機を用いて粉砕し、次いで、分級することによって樹脂粒子を得た後、適当な分散剤存在下で水中に分散させる方法
〔5〕あらかじめ重合反応により作成した樹脂を有機溶剤に溶解した樹脂溶液を霧状に噴霧することにより樹脂粒子を得た後、該樹脂粒子を適当な分散剤存在下で水中に分散させる方法
〔6〕あらかじめ重合反応により作成した樹脂を有機溶剤に溶解した樹脂溶液に貧溶剤を添加するか、またはあらかじめ有機溶剤に加熱溶解した樹脂溶液を冷却することにより樹脂粒子を析出させ、次いで、有機溶剤を除去して樹脂粒子を得た後、該樹脂粒子を適当な分散剤存在下で水中に分散させる方法
〔7〕あらかじめ重合反応により作成した樹脂を有機溶剤に溶解した樹脂溶液を、適当な分散剤存在下で水性媒体中に分散させ、これを加熱または減圧等によって有機溶剤を除去する方法
〔8〕あらかじめ重合反応により作成した樹脂を有機溶剤に溶解した樹脂溶液中に適当な乳化剤を溶解させた後、水を加えて転相乳化する方法
上記〔1〕〜〔8〕の方法において、併用する乳化剤または分散剤としては、公知の界面活性剤(s)、水溶性ポリマー(t)等を用いることができる。また、乳化または分散の助剤として有機溶剤(u)、可塑剤(V)等を併用することができる。
界面活性剤(s)としては、アニオン界面活性剤(s−1)、カチオン界面活性剤(s−2)、両性界面活性剤(s−3)、非イオン界面活性剤(s−4)などが挙げられる。界面活性剤(s)は2種以上の界面活性剤を併用したものであってもよい。(s)の具体例としては、以下に述べるものの他特開2002−284881号公報に記載のものが挙げられる。
アニオン界面活性剤(s−1)としては、カルボン酸またはその塩、硫酸エステル塩、カルボキシメチル化物の塩、スルホン酸塩およびリン酸エステル塩等が用いられる。
カルボン酸またはその塩としては、炭素数8〜22の飽和または不飽和脂肪酸またはその塩が使用でき、例えば、カブリン酸、ラウリン酸、ミリスチン酸、パルミチン酸、ステアリン酸、アラキジン酸、ベヘン酸、オレイン酸、リノール酸およびリシノール酸並びにヤシ油、パーム核油、米ぬか油および牛脂などをケン化して得られる高級脂肪酸の混合物等が挙げられる。その塩としては、これらのナトリウム塩、カリウム塩、アミン塩、アンモニウム塩、4級アンモニウム塩およびアルカノールアミン塩(モノエタノールアミン塩、ジエタノールアミン塩、トリエタノールアミン塩等)などの塩があげられる。
硫酸エステル塩としては、高級アルコール硫酸エステル塩(炭素数8〜18の脂肪族アルコールの硫酸エステル塩)、高級アルキルエーテル硫酸エステル塩(炭素数8〜18の脂肪族アルコールのEOまたはPO1〜10モル付加物の硫酸エステル塩)、硫酸化油(炭素数12〜50の天然の不飽和油脂または不飽和のロウをそのまま硫酸化して中和したもの)可硫酸化脂肪酸エステル(不飽和脂肪酸(炭素数6〜40)の低級アルコール(炭素数1〜8)エステルを硫酸化して中和したもの)および硫酸化オレフイン(炭素数12〜18のオレフインを硫酸化して中和したもの)等が使用できる。塩としては、ナトリウム塩、カリウム塩、アミン塩、アンモニウム塩、4級アンモニウム塩およびアルカノールアミン塩(モノエタノールアミン塩、ジエタノールアミン塩、トリエタノールアミン塩等)等が挙げられる。
高級アルコール硫酸エステル塩としては、例えば、オクチルアルコール硫酸エステル塩、デシルアルコール硫酸エステル塩、ラウリルアルコール硫酸エステル塩、ステアリルアルコール硫酸エステル塩、チーグラー触媒を用いて合成されたアルコール(例えば、商品名:ALFOL1214:CONDEA社製)の硫酸エステル塩およびオキソ法で合成されたアルコール(例えば、商品名:ドバノール23,25,45、ダイヤドール115、115H、135:三菱化学製:、商品名:トリデカノール:協和発酵製、商品名:オキソコール1213,1215,1415:日産化学製)の硫酸エステル塩等が挙げられる。
高級アルキルエーテル硫酸エステル塩としては、例えば、ラウリルアルコールEO2モル付加物硫酸エステル塩およびオクチルアルコールEO3モル付加物硫酸エステル塩等が挙げられる。硫酸化油としては、例えば、ヒマシ油、落花生油、オリーブ油、ナタネ油、牛脂および羊脂などの硫酸化物の塩等が挙げられる。硫酸化脂肪酸エステルとしては、例えば、オレイン酸ブチルおよびリシノレイン酸ブチル等の硫酸化物の塩等が挙げられる。硫酸化オレフィンとしては、例えば、商品名:ティーポール(シェル社製)等が挙げられる。
カルボキシメチル化物の塩としては、炭素数8〜16の脂肪族アルコールのカルボキシメチル化物の塩および炭素数8〜16の脂肪族アルコールのEOまたはPO1〜10モル付加物のカルボキシメチル化物の塩等が使用できる。
脂肪族アルコールのカルボキシメチル化物の塩としては、例えば、オクチルアルコールカルボキシメチルイヒナトリウム塩、ラウリルアルコールカルポキシメチル化ナトリウム塩、ドバノール23のカルボキシメチル化ナトリウム塩、トリデカノールカルボキシメチルイヒナトリウム塩等が挙げられる。
脂肪族アルコールのEO1〜10モル付加物のカルボキシメチル化物の塩としては、例えば、オクチルアルコールEO3モル付加物カルボキシメチル化ナトリウム塩、ラウリルアルコールEO4モル付加物カルボキシメチル化ナトリウム塩、およびトリデカノールEO5モル付加物カルボキシメチル化ナトリウム塩などが挙げられる。
スルホン酸塩としては、アルキルベンゼンスルホン酸塩、アルキルナフタレンスルホン酸塩、スルホコハク酸ジエステル塩、α−オレフィンスルホン酸塩、イゲポンT型およびその他芳香環含有化合物のスルホン酸塩等が使用できる。アルキルベンゼンスルホン酸塩としては、例えば、ドデシルベンゼンスルホン酸ナトリウム塩等が挙げられる。
アルキルナフタレンスルホン酸塩としては、例えば、ドデシルナフタレンスルホン酸ナトリウム塩等が挙げられる。スルホコハク酸ジエステル塩としては、例えば、スルホコハク酸ジ−2−エチルヘキシルエステルナトリウム塩などが挙げられる。芳香環含有化合物のスルホン酸塩としては、アルキル化ジフェニルエーテルのモノまたはジスルホン酸塩およびスチレン化フェノールスルホン酸塩などが挙げられる。
リン酸エステル塩としては、高級アルコールリン酸エステル塩および高級アルコールEO付加物リン酸エステル塩等が使用できる。高級アルコールリン酸エステル塩としては、例えば、ラウリルアルコールリン酸モノエステルジナトリウム塩およびラウリルアルコールリン酸ジエステルナトリウム塩等が挙げられる。高級アルコールEO付加物リン酸エステル塩としては、例えば、オレイルアルコールEO5モル付加物リン酸モノエステルジナトリウム塩等が挙げられる。
カチオン界面活性剤(s−2)としては、第4級アンモニウム塩型界面活性剤およびアミン塩型界面活性剤等が使用できる。第4級アンモニウム塩型界面活性剤としては、炭素数3〜40の3級アミンと4級化剤(例えば、メチルクロライドメチルブロマイド、エチルクロライド、ベンジルクロライドおよびジメチル硫酸などのアルキル化剤並びにEOなど)との反応等で得られ、例えば、ラウリルトリメチルアンモニウムクロライド、ジデシルジメチルアンモニウムクロライド、ジオクチルジメチルアンモニウムブロマイドステアリルトリメチルアンモニウムブロマイドラウリルジメチルベンジルアンモニウムクロライド(塩化ベンザルコニウム)、セチルピリジニウムクロライド、ポリオキシエチレントリメチルアンモニウムクロライドおよびステアラミドエチルジエチルメチルアンモニウムメトサルフェートなどが挙げられる。
アミン塩型界面活性剤としては、1〜3級アミンを無機酸(例えば、塩酸、硝酸、硫酸、ヨウ化水素酸、リン酸および過塩素酸など)または有機酸(酢酸、ギ酸、膠酸、乳酸、グルコン酸、アジピン酸、炭素数2〜24のアルキルリン酸、リンゴ酸およびクエン酸など)で中和すること等により得られる。第1級アミン塩型界面活性剤としては、例えば、炭素数8〜40の脂肪族高級アミン(例えば、ラウリルアミン、ステアリルアミン、セチルアミン、硬化牛脂アミンおよび、ロジンアミンなどの高級アミン)の無機酸塩または有機酸塩および低級アミン(炭素数2〜6)の高級脂肪酸(炭素数8〜40、ステアリン酸、オレイン酸など)塩などが挙げられる。
第2級アミン塩型界面活性剤としては、例えば炭素数4〜40の脂肪族アミンのEO付加物などの無機酸塩または有機酸塩が挙げられる。また、第3級アミン塩型界面活性剤としては、例えば、炭素数4〜40の脂肪族アミン(例えば、トリエチルアミン、エチルジメチルアミン、N,N,N’,N’−テトラメチルエチレンジアミンなど)、脂肪族アミン(炭素数2〜40)のEO(2モル以上)付加物、炭素数6〜40の脂環式アミン(例えば、N−メチルピロリジン、N−メチルピペリジン、N−メチルヘキサメチレンイミン、N−メチルモルホリンおよび1,8−ジアザビシクロ(5,4,0)−7−ウンデセンなど)、炭素数5〜30の含窒素へテロ環芳香族アミン(例えば、4−ジメチルアミノピリジン、N−メチルイミダゾールおよび4,4’−ジピリジルなど)の無機酸塩または有機酸塩およびトリエタノールアミンモノステアレ−ト、ステアラミドエチルジエチルメチルエタノールアミンなどの3級アミンの無機酸塩または有機酸塩などが挙げられる。
両性界面活性剤(s−3)としては、カルボン酸塩型両性界面活性剤、硫酸エステル塩型両性界面活性剤、スルホン酸塩型両性界面活性剤およびリン酸エステル塩型両性界面活性剤などが使用できる。
カルボン酸塩型両性界面活性剤は、アミノ酸型両性界面活性剤、ベタイン型両性界面活性剤およびイミダゾリン型両性界面活性剤などが用いられる。アミノ酸型両性界面活性剤は、分子内にアミノ基とカルボキシル基を持っている両性界面活性剤であり、例えば、一般式(2)で示される化合物等が挙げられる。
[R−NH−(CH2)n−COO]mM (2)
[式中、Rは1価の炭化水素基;nは1または2:mは1または2;Mは水素イオン、アルカリ金属イオン、アルカリ土類金属イオン、アンモニウムカチオン、アミンカチオン、アルカノールアミンカチオンなどである。]
[式中、Rは1価の炭化水素基;nは1または2:mは1または2;Mは水素イオン、アルカリ金属イオン、アルカリ土類金属イオン、アンモニウムカチオン、アミンカチオン、アルカノールアミンカチオンなどである。]
一般式(2)で表される両面活性剤としては、例えば、アルキル(炭素数6〜40)アミノプロピオン酸型両性界面活性剤(ステアリルアミノプロピオン酸ナトリウム、ラウリルアミノプロピオン酸ナトリウムなど);アルキル(炭素数4〜24)アミノ酢酸型両性界面活性剤(ラウリルアミノ酢酸ナトリウムなど)などが挙げられる。
ベタイン型両性界面活性剤は、分子内に第4級アンモニウム塩型のカチオン部分とカルボン酸型のアニオン部分を持っている両性界面活性剤であり、例えば、アルキル(炭素数6〜40)ジメチルベタイン(ステアリルジメチルアミノ酢酸ベタイン、ラウリルジメチルアミノ酢酸ベタインなど)、炭素数6〜40のアミドベタイン(ヤシ油脂肪酸アミドプロピルベタインなど)、アルキル(炭素数6〜40)ジヒドロキシアルキル(炭素数6〜40)ベタイン(ラウリルジヒドロキシエチルベタインなど)などが挙げられる。
イミダゾリン型両性界面活性剤としては、イミダゾリン環を有するカチオン部分とカルボン酸型のアニオン部分を持っている両性界面活性剤であり、例えば、2−ウンデシル−N−カルボキシメチル−N−ヒドロキシエチルイミダゾリニウムベタインなどが挙げられる。
その他の両性界面活性剤として、例えば、ナトリウムラウロイルグリシン、ナトリウムラウリルジアミノエチルグリシン、ラウリルジアミノエチルグリシン塩酸塩、ジオクチルジアミノエチルグリシン塩酸塩などのグリシン型両性界面活性剤;ペンタデシルスルホタウリンなどのスルホベタイン型両性界面活性剤、スルホン酸塩型両性界面活性剤およびリン酸エステル塩型両性界面活性剤などが挙げられる。
非イオン界面活性剤(s−4)としては、AO付加型非イオン界面活性剤および多価アルコール型非イオン界面活性剤などが使用できる。AO付加型非イオン界面活性剤は、炭素数8〜40の高級アルコール、炭素数8〜40の高級脂肪酸または炭素数8〜40のアルキルアミン等に直接AO(炭素数2〜20)を付加させるか、グリコールにAOを付加させて得られるポリアルキレングリコールに高級脂肪酸などを反応させるか、あるいは多価アルコールに高級脂肪酸を反応して得られたエステル化物にAOを付加させるか、高級脂肪酸アミドにAOを付加させることにより得られる。
AOとしては、たとえばEO、POおよびBOが挙げられる。これらのうち好ましいものは、EOおよびEOとPOのランダムまたはブロック付加物である。AOの付加モル数としては10〜50モルが好ましく、該AOのうち50〜100%がEOであるものが好ましい。
AO付加型非イオン界面活性剤としては、例えば、オキシアルキレンアルキルエーテル(アルキレンの炭素数2〜24、アルキルの炭素数8〜40)(例えば、オクチルアルコールEO20モル付加物、ラウリルアルコールEO20モル付加物、ステアリルアルコールEO10モル付加物、オレイルアルコールEO5モル付加物、ラウリルアルコールEO10モルPo20モルブロック付加物など);ポリオキシアルキレン高級脂肪酸エステル(アルキレンの炭素数2〜24、高級脂肪酸の炭素数8〜40)(例えば、ステアリル酸EO10モル付加物、ラウリル酸EO10モル付加物など);ポリオキシアルキレン多価アルコール高級脂肪酸エステル(アルキレンの炭素数2〜24、多価アルコールの炭素数3〜40、高級脂肪酸の炭素数8〜40)(例えば、ポリエチレングリコール(重合度20)のラウリン酸ジエステル、ポリエチレングリコール(重合度20)のオレイン酸ジエステルなど);ポリオキシアルキレンアルキルフェニルエーテル(アルキレンの炭素数2〜24、アルキルの炭素数8〜40)(例えば、ノニルフェノールEO4モル付加物、ノールフェノールEO8モルPO20モルブロック付加物、オクチルフェノールEO10モル付加物、ビスフェノールA・EO10モル付加物、スチレン化フェノールEO20モル付加物など);ポリオキシアルキレンアルキルアミノエーテル(アルキレンの炭素数2〜24、アルキルの炭素数8〜40)および(例えば、ラウリルアミンEO10モル付加物、ステアリルアミンEO10モル付加物など):ポリオキシアルキレンアルカノールアミド(アルキレンの炭素数2〜24、アミド(アシル部分)の炭素数8〜24)(例えば、ヒドロキシエチルラウリン酸アミドのEO10モル付加物、ヒドロキシプロピルオレイン酸アミドのEO20モル付加物など)が挙げられる。
多価アルコール型非イオン界面活性剤としては、多価アルコール脂肪酸エステル、多価アルコール脂肪酸エステルAO付加物、多価アルコールアルキルエーテルおよび多価アルコールアルキルエーテルAO付加物等が使用できる。多価アルコールの炭素数としては3〜24、脂肪酸の炭素数としては8〜40,AOの炭素数としては2〜24である。
多価アルコール脂肪酸エステルとしては、例えば、ペンタエリスリトールモノラウレートペンタエリスリトールモノオレートソルビタンモノラウレートソルビタンモノステアレートソルビタンジラウレートソルビタンジオレートおよびショ糖モノステアレートなどが挙げられる。
多価アルコール脂肪酸エステルAO付加物としては、例えば、エチレングリコールモノオレートEO10モル付加物、エチレングリコールモノステアレートEO20モル付加物、トリメチロールプロパンモノステアレートEO20モルPO10モルランダム付加物、ソルビタンモノラウレートEO10モル付加物、ソルビタンジステアレートEO20モル付加物およびソルビタンジラウレートEO12モルPO24モルランダム付加物などが挙げられる。
多価アルコールアルキルエーテルとしては、例えば、ペンタエリスリトールモノブチルエーテル、ペンタエリスリトールモノラウリルエーテル、ソルビタンモノメチルエーテル、ソルビタンモノステアリルエーテル、メチルグリコシドおよびラウリルグリコシドなどが挙げられる。
多価アルコールアルキルエーテルAO付加物としては、例えば、ソルビタンモノステアリルエーテルEO10モル付加物、メチルグリコシドEO20モルPO10モルランダム付加物、ラウリルグリコシドEO10モル付加物およびステアリルグリコシドEO20モルPO20モルランダム付加物などが挙げられる。
水溶性ポリマー(t)としては、セルロース系化合物(例えば、メチルセルロース、エチルセルロース、ヒドロキシエチルセルロース、エチルヒドロキシエチルセルロース、カルボキシメチルセルロース、ヒドロキシプロピルセルロースおよびそれらのケン化物など)、ゼラチン、デンプン、デキストリン、アラビアゴム、キチン、キトサン、ポリビニルアルコール、ポリビニルピロリドン、ポリエチレングリコール、ポリエチレンイミン、ポリアクリルアミド、アクリル酸(塩)含有ポリマー(ポリアクリル酸ナトリウム、ポリアクリル酸カリウム、ポリアクリル酸アンモニウム、ポリアクリル酸の水酸化ナトリウム部分中和物、アクリル酸ナトリウム−アクリル酸エステル共重合体)、スチレン−無水マレイン酸共重合体の水酸化ナトリウム(部分)中和物、水溶性ポリウレタン(ポリエチレングリコール、ポリカプロラクトンジオール等とポリイソシアネートの反応生成物等)などが挙げられる。
本発明に用いる有機溶剤(u)は、乳化分散の際に必要に応じて水性媒体中に加えても、被乳化分散体中[樹脂(b1)および樹脂(d)を含む油相(O1)または樹脂(b1)、(b0)および樹脂(d)を含む油相(O2)中]に加えてもよい。有機溶剤(u)の具体例としては、トルエン、キシレン、エチルベンゼン、テトラリン等の芳香族炭化水素系溶剤;n−ヘキサン、n−へブタン、ミネラルスピリットシクロヘキサン等の脂肪族または脂環式炭化水素系溶剤;塩化メチル、臭化メチルヨウ化メチル、メチレンジクロライド、四塩化炭素、トリクロロエチレン、パークロロエチレンなどのハロゲン系溶剤;酢酸エチル、酢酸ブチル、メトキシブチルアセテート、メチルセロソルブアセテートエチルセロソルブアセテートなどのエステル系またはエステルエーテル系溶剤;ジエチルエーテル、テトラヒドロフランジオキサン、エチルセロソルブ、プチルセロソルブ、プロピレングリコールモノメチルエーテルなどのエーテル系溶剤;アセトン、メチルエチルケトン、メチルイソブチルケトン、ジ−n−ブチルケトン、シクロヘキサノンなどのケトン系溶剤:メタノールエタノールn−プロパノールイソプロパノール、n−ブタノール、イソブタノールt−ブタノール、2−エチルヘキシルアルコールベンジルアルコールなどのアルコール系溶剤:ジメチルホルムアミドジメチルアセトアミドなどのアミド系溶剤;ジメチルスルホキシドなどのスルホキシド系溶剤、N−メチルピロリドンなどの複素環式化合物系溶剤、ならびにこれらの2種以上の混合溶剤が挙げられる。
可塑剤(v)は、乳化分散の際に必要に応じて水性媒体中に加えても、被乳化分散体中[樹脂(b1)および樹脂(d)を含む油相(O1)または樹脂(b1)、(b0)および樹脂(d)を含む油相(O2)中]に加えてもよい。可塑剤(v)としては、何ら限定されず、以下のものが例示される。
(vl)フタル酸エステル[フタル酸ジブチル、フタル酸ジオクチル、フタル酸ブチルベンジルフタル酸ジイソデシル等];
(v2)脂肪族2塩基酸エステル[アジピン酸ジ−2−エチルヘキシル、セバシン酸−2−エチルヘキシル等];
(v3)トリメリット酸エステル[トリメリット酸トリ−2−エチルヘキシル、トリメリット酸トリオクチル等];
(v4)燐酸エステル[リン酸トリエチル、リン酸トリ−2−エチルヘキシル、リン酸トリクレジール等];
(v5)脂肪酸エステル[オレイン酸ブチル等];
(V6)およびこれらの2種以上の混合物が挙げられる。
(vl)フタル酸エステル[フタル酸ジブチル、フタル酸ジオクチル、フタル酸ブチルベンジルフタル酸ジイソデシル等];
(v2)脂肪族2塩基酸エステル[アジピン酸ジ−2−エチルヘキシル、セバシン酸−2−エチルヘキシル等];
(v3)トリメリット酸エステル[トリメリット酸トリ−2−エチルヘキシル、トリメリット酸トリオクチル等];
(v4)燐酸エステル[リン酸トリエチル、リン酸トリ−2−エチルヘキシル、リン酸トリクレジール等];
(v5)脂肪酸エステル[オレイン酸ブチル等];
(V6)およびこれらの2種以上の混合物が挙げられる。
本発明において用いる樹脂粒子(A)の粒径は、通常、形成される樹脂粒子(B)の粒径よりも小さく、粒径均一性の観点から、粒径比[樹脂粒子(A)の体積平均粒径]/[樹脂粒子(B)の体積平均粒径]の値が0.001〜0.3の範囲であるのが好ましい。粒径比の下限は、さらに好ましくは0.003であり、上限は、さらに好ましくは0.25である。粒径比が、0.3より大きいと(A)が(B)の表面に効率よく吸着しないため、得られる(C)の粒度分布が広くなる傾向がある。
樹脂粒子(A)の体積平均粒径は、所望の粒径の樹脂粒子(C)を得るのに適した粒径になるように、上記粒径比の範囲で適宜調整することができる。(A)の体積平均粒径は、一般的には、0.0005〜1μmが好ましい。上限は、さらに好ましくは0.75μm、とくに好ましくは0.5μmであり、下限は、さらに好ましくは0.01μm、とくに好ましくは0.02μm、最も好ましくは0.04μmである。ただし、例えば、体積平均粒径1μmの樹脂粒子(C)を得たい場合には、好ましくは0.0005〜0.30μm、とくに好ましくは0.001〜0.2μmの範囲、10μmの樹脂粒子(C)を得た場合には、好ましくは0.005〜0.8μm、とくに好ましくは0.05〜1μm、である。なお、体積平均粒径は、レーザー式粒度分布測定装置LA−920(堀場製作所製)やマルチサイザーIII(コールター社製)、光学系としてレーザードップラー法を用いるELS−800(大塚電子社製)などで測定できる。もし、各測定装置間で粒径の測定値に差を生じた場合は、ELS−800での測定値を採用する。なお、上記粒径比が得やすいことから、後述する樹脂粒子(B)の体積平均粒径は、0.1〜15μmが好ましい。さらに好ましくは0.5〜10μm、特に好ましくは1〜8μmである。
前駆体(b0)としては、反応性基を有するプレポリマー(α)と硬化剤(β)の組み合わせを用いることもできる。ここで「反応性基」とは硬化剤(β)と反応可能な基のことをいう。この場合、樹脂粒子(C)の形成工程で前駆体(b0)を反応させて得られる樹脂(b2)を含有する樹脂粒子(B)を形成する方法としては、反応性基含有プレポリマー(α)および硬化剤(β)および必要により有機溶剤(u)を含む油相を、樹脂粒子(A)の水系分散液中に分散させ、加熱により反応性基含有プレポリマー(α)と硬化剤(β)を反応させて樹脂(b2)を含有する樹脂粒子(B)を形成させる方法;反応性基含有プレポリマー(α)またはその有機溶剤溶液乃至分散液を樹脂粒子(A)の水系分散液中に分散させ、ここに水溶性の硬化剤(β)を加え反応させて、樹脂(b2)を含有する樹脂粒子(B)を形成させる方法;反応性基含有プレポリマー(α)が水と反応して硬化するものである場合は、反応性基含有プレポリマー(α)またはその有機溶剤溶液乃至分散液を樹脂粒子(A)の水性分散液(W)に分散させることで水と反応させて、(b2)を含有する樹脂粒子(B)を形成させる方法等が例示できる。
反応性基含有プレポリマー(α)が有する反応性基と、硬化剤(β)の組み合わせとしては、下記〔1〕、〔2〕などが挙げられる。
〔1〕反応性基含有プレポリマー(α)が有する反応性基が、活性水素化合物と反応可能な官能基(α1)であり、硬化剤(β)が活性水素基含有化合物(β1)であるという組み合わせ。
〔2〕反応性基含有プレポリマー(α)が有する反応性基が活性水素含有基(α2)であり、硬化剤(β)が活性水素含有基と反応可能な化合物(β2)であるという組み合わせ。
〔1〕反応性基含有プレポリマー(α)が有する反応性基が、活性水素化合物と反応可能な官能基(α1)であり、硬化剤(β)が活性水素基含有化合物(β1)であるという組み合わせ。
〔2〕反応性基含有プレポリマー(α)が有する反応性基が活性水素含有基(α2)であり、硬化剤(β)が活性水素含有基と反応可能な化合物(β2)であるという組み合わせ。
これらのうち、水中での反応率の観点から、〔1〕がより好ましい。上記組合せ〔1〕において、活性水素化合物と反応可能な官能基(α1)としては、イソシアネート基(α1a)、ブロック化イソシアネート基(α1b)、エポキシ基(α1c)、酸無水物基(α1d)および酸ハライド基(α1e)などが挙げられる。これらのうち好ましいものは、(α1a)、(α1b)および(α1c)であり、特に好ましいものは、(α1a)および(α1b)である。ブロック化イソシアネート基(α1b)は、ブロック化剤によりブロックされたイソシアネート基のことをいう。上記ブロック化剤としては、オキシム類[アセトオキシム、メチルイソブチルケトオキシム、ジエチルケトオキシム、シクロペンタノンオキシム、シクロヘキサノンオキシム、メチルエチルケトオキシム等];ラクタム類[γ−ブチロラクタム、ε−カプロラクタム、γ−バレロラクタム等]:炭素数1〜20の脂肪族アルコール類[エタノール、メタノール、オクタノール等];フェノール類[フェノール、−クレゾール、キシレノール、ノニルフェノール等];活性メチレン化合物[アセチルアセトン、マロン酸エチル、アセト酢酸エチル等];塩基性窒素含有化合物[N,N−ジエチルヒドロキシルアミン、2−ヒドロキシピリジン、ピリジンN−オキサイド、2−メルカプトピリジン等]:およびこれらの2種以上の混合物が挙げられる。これらのうち好ましいのはオキシム類であり、特に好ましいものはメチルエチルケトオキシムである。
反応性基含有プレポリマー(α)の骨格としては、ポリエーテル(αw)、ポリエステル(αx)、エポキシ樹脂(αy)およびポリウレタン(αz)などが挙げられる。これらのうち好ましいものは、(αx)、(αy)および(αz)であり、特に好ましいものは(αx)および(αz)である。ポリエーテル(αw)としては、ポリエチレンオキサイド、ポリプロピレンオキサイド、ポリブチレンオキサイドポリテトラメチレンオキサイドなどが挙げられる。ポリエステル(αx)としては、ジオール(11)とジカルボン酸(13)の重縮合物、ポリラクトン(ε−カプロラクトンの開環重合物)などが挙げらる。エポキシ樹脂(αy)としては、ビスフェノール類(ビスフェノールA、ビスフェノールF、ビスフェノールSなど)とエピクロルヒドリンとの付加縮合物などが挙げられる。ポリウレタン(αz)としては、ジオール(11)とポリイソシアネート(15)の重付加物、ポリエステル(αx)とポリイソシアネート(15)の重付加物などが挙げられる。
ポリエステル(αx)、エポキシ樹脂(αy)、ポリウレタン(αz)などに反応性基を含有させる方法としては、
〔1〕二以上の構成成分のうちの一つを過剰に用いることで構成成分の官能基を末端に残存させる方法、
〔2〕二以上の構成成分のうちの一つを過剰に用いることで構成成分の官能基を末端に残存させ、さらに残存した該官能基と反応可能な官能基および反応性基を含有する化合物を反応させる方法などが挙げられる。
上記方法〔1〕では、水酸基含有ポリエステルプレポリマー、カルボキシル基含有ポリエステルプレポリマー、酸ハライド基含有ポリエステルプレポリマー、水酸基含有エポキシ樹脂プレポリマー、エポキシ基含有エポキシ樹脂プレポリマー、水酸基含有ポリウレタンプレポリマー、イソシアネート基含有ポリウレタンプレポリマーなどが得られる。構成成分の比率は、例えば、水酸基含有ポリエステルプレポリマーの場合、ポリオール(1)とポリカルボン酸(2)の比率が、水酸基[OH]とカルボキシル基[COOH]の当量比[OH]/[COOH]として、好ましくは2/1〜1/1、さらに好ましくは1.5/1〜1/1、とくに好ましくは1.3/1〜1.02/1である。他の骨格、末端基のプレポリマーの場合も、構成成分が変わるだけで比率は同様である。
〔1〕二以上の構成成分のうちの一つを過剰に用いることで構成成分の官能基を末端に残存させる方法、
〔2〕二以上の構成成分のうちの一つを過剰に用いることで構成成分の官能基を末端に残存させ、さらに残存した該官能基と反応可能な官能基および反応性基を含有する化合物を反応させる方法などが挙げられる。
上記方法〔1〕では、水酸基含有ポリエステルプレポリマー、カルボキシル基含有ポリエステルプレポリマー、酸ハライド基含有ポリエステルプレポリマー、水酸基含有エポキシ樹脂プレポリマー、エポキシ基含有エポキシ樹脂プレポリマー、水酸基含有ポリウレタンプレポリマー、イソシアネート基含有ポリウレタンプレポリマーなどが得られる。構成成分の比率は、例えば、水酸基含有ポリエステルプレポリマーの場合、ポリオール(1)とポリカルボン酸(2)の比率が、水酸基[OH]とカルボキシル基[COOH]の当量比[OH]/[COOH]として、好ましくは2/1〜1/1、さらに好ましくは1.5/1〜1/1、とくに好ましくは1.3/1〜1.02/1である。他の骨格、末端基のプレポリマーの場合も、構成成分が変わるだけで比率は同様である。
上記方法〔2〕では、上記方法〔1〕で得られたプレプリマーに、ポリイソシアネートを反応させることでイソシアネート基含有プレポリマーが得られ、ブロック化ポリイソシアネートを反応させることでブロック化イソシアネート基含有プレポリマーが得られ、ポリエポキサイドを反応させることでエポキシ基含有プレポリマーが得られ、ポリ酸無水物を反応させることで酸無水物基含有プレポリマーが得られる。官能基および反応性基を含有する化合物の使用量は、例えば、水酸基含有ポリエステルにポリイソシアネートを反.応させてイソシアネート基含有ポリエステルプレポリマーを得る場合、ポリイソシアネートの比率が、イソシアネート基[NCO]と、水酸基含有ポリエステルの水酸基[Omの当量比[NCO]/[OH]として、好ましくは5/1〜1/1、さらに好ましくは4/1〜1.2/1、とくに好ましくは2.5/1〜1.5/1である。他の骨格、末端基を有するプレポリマーの場合も、構成成分が変わるだけで比率は同様である。
反応性基含有プレポリマー(α)中の1分子当たりに含有する反応性基は、通常1個以上、好ましくは、平均1.5〜3個、さらに好ましくは、平均1.8〜2.5個である。上記範囲にすることで、硬化剤(β)と反応させて得られる硬化物の分子量が高くなる。反応性基含有プレポリマー(α)のMnは、好ましくは500〜30,000、さらに好ましくは1,000〜20,000、とくに好ましくは2,000〜10,000である。反応性基含有プレポリマー(α)の重量平均分子量は、1,000〜50,000、好ましくは2,000〜40,000、さらに好ましくは4,000〜20,000である。反応性基含有プレポリマー(α)の粘度は、100℃において、好ましくは2,000ポイズ以下、さらに好ましくは1,000ポイズ以下である。2,000ポイズ以下にすることで、少量の有機溶剤で粒度分布のシヤープな樹脂粒子(C)が得られる点で好ましい。
活性水素基含有化合物(βl)としては、脱離可能な化合物でブロック化されていてもよいポリアミン(β1a)、ポリオール(β1b)、ポリメルカプタン(β1c)および水(β1d)などが挙げられる。これらのうち好ましいものは、(β1a)、(β1b)および(β1d)であり、さらに好ましいものは、(β1a)および(β1d)であり、特に好ましいものは、ブロック化されたポリアミン類および(β1d)である。(β1a)としては、ポリアミン(16)と同様のものが例示される。(β1a)として好ましいものは、4,4’−ジアミノジフェニルメタン、キシリレンジアミン、イソホロンジアミン、エチレンジアミン、ジエチレントリアミン、トリエチレンテトラミンおよびそれらの混合物である。
(β1a)が脱離可能な化合物でブロック化されたポリアミンである場合の例としては、前記ポリアミン類と炭素数3〜8のケトン類(アセトン、メチルエチルケトン、メチルイソブチルケトンなど)から得られるケチミン化合物、炭素数2〜8のアルデヒド化合物(ホルムアルデヒド、アセトアルデヒド)から得られるアルジミン化合物、エナミン化合物、およびオキサゾリジン化合物などが挙げられる。
ポリオール(β1b)としては、前記のジオール(11)およびポリオール(12)と同様のものが例示される。ジオール(11)単独、またはジオール(11)と少量のポリオール(12)の混合物が好ましい。ポリメルカプタン(β1c)としては、エチレンジチオール、1,4−ブタンジチオール、1,6−ヘキサンジチオールなどが挙げられる。
必要により活性水素基含有化合物(β1)と共に反応停止剤(βs)を用いることができる。反応停止剤を(βl)と一定の比率で併用することにより、(b2)を所定の分子量に調整することが可能である。反応停止剤(βs)としては、モノアミン(ジエチルアミン、ジブチルアミン、ブチルアミン、ラウリルアミン、モノエタノールアミン、ジエタノールアミンなど);モノアミンをブロックしたもの(ケチミン化合物など):モノオール(メタノール、エタノール、イソプロパノール、ブタノール、フェノールなど);モノメルカプタン(ブチルメルカプタン、ラウリルメルカブタンなど);モノイソシアネート(ラウリルイソシアネートフェニルイソシアネートなど):モノエポキサイド(ブチルグリシジルエーテルなど)などが挙げられる。
上記組合せ〔2〕における反応性基含有プレポリマー(α)が有する活性水素含有基(α2)としては、アミノ基(α2a)、水酸基(アルコール性水酸基およびフェノール性水酸基)(α2b)、メルカプト基(α2c)、カルポキシル基(α2d)およびそれらが脱離可能な化合物でブロック化された有機基(α2e)などが挙げられる。これらのうち好ましいものは、(α2a)、(α2b)およびアミノ基が脱離可能な化合物でブロック化された有機基(α2e)であり、特に好ましいものは、(α2b)である。アミノ基が脱離可能な化合物でブロック化された有機基としては、前記(β1a)の場合と同様のものが例示できる。
活性水素含有基と反応可能な化合物(β2)としては、ポリイソシアネート(β2a)、ポリエポキシド(β2b)、ポリカルボン酸(β2c)、ポリカルボン酸無水物(β2d)およびポリ酸ハライド(β2e)などが挙げられる。これらのうち好ましいものは、(β2a)および(β2b)であり、さらに好ましいものは、(β2a)である。
ポリイソシアネート(β2a)としては、ポリイソシアネート(15)と同様のものが例示され、好ましいものも同様である。ポリエポキシド(β2b)としては、ポリエポキシド(19)と同様のものが例示され、好ましいものも同様である。
ポリカルボン酸(β2c)としては、ジカルボン酸(β2c−1)および3価以上のポリカルボン酸(β2c−2)が挙げられ、(β2c−1)単独、および(β2c−1)と少量の(β2c−2)の混合物が好ましい。ジカルボン酸(β2c−1)としては、前記ジカルボン酸(13)と、ポリカルボン酸としては、前記ポリカルボン酸(5)と同様のものが例示され、好ましいものも同様である。
ポリカルボン酸無水物(β2d)としては、ピロメリット酸無水物などが挙げられる。ポリ酸ハライド類(β2e)としては、前記(β2c)の酸ハライド(酸クロライド、酸ブロマイド酸アイオダイド)などが挙げられる。さらに、必要により(β2)と共に反応停止剤(βs)を用いることができる。
硬化剤(β)の比率は、反応性基含有プレポリマー(α)中の反応性基の当量[α]と、硬化剤(β)中の活性水素含有基[β]の当量の比[α]/[β]として、好ましくは1/2〜2/1、さらに好ましくは1.5/1〜1/1.5、とくに好ましくは1.2/1〜1/1.2である。なお、硬化剤(β)が水(β1d)である場合は水は2価の活性水素化合物として取り扱う。
反応性基含有プレポリマー(α)と硬化剤(β)を含有する前駆体(b0)を水系媒体中で反応させた樹脂(b2)が樹脂粒子(B)並びに樹脂粒子(C)の構成成分となる。反応性基含有プレポリマー(α)と硬化剤(β)を反応させた樹脂(b2)の重量平均分子量は、好ましくは3000以上、さらに好ましくは3,000〜1000万、とくに好ましくは,5000〜100万である。
また、反応性基含有プレポリマー(α)と硬化剤(β)との水系媒体中での反応時に、直鎖状ポリエステル系樹脂(b1)等の反応性基含有プレポリマー(α)および硬化剤(β)と反応しないポリマー[いわゆるデッドポリマー]を系内に含有させることにより、樹脂(b)は、反応性基含有プレポリマー(α)と硬化剤(β)を水系媒体中で反応させて得られた樹脂(b2)と、直鎖状のポリエステル系樹脂(b1)等の反応させていない樹脂の混合物となる。
樹脂(b)100質量部に対する水性分散液(W)の使用量は、好ましくは50〜2,000質量部、さらに好ましくは100〜1,000質量部である。50質量部以上では(b)の分散状態が良好であり2,000質量部以下であると経済的である。
樹脂粒子(C)は、樹脂(a)を含有する樹脂粒子(A)の水性分散液(W)と、樹脂(b1)と樹脂(d)、もしくはそれらの有機溶剤溶液乃至分散液(O1)、または樹脂(b1)と樹脂(b2)の前駆体(b0)と樹脂(d)、もしくはそれらの有機溶剤溶液乃至分散液(O2)とが混合され、(W)中に(O1)または(O2)とが分散され、(b0)の場合は(b0)が反応されて樹脂(b2)が形成され、樹脂(b)を含有する樹脂粒子(B)の表面に樹脂(a)が付着してなる構造の樹脂粒子(C)の水性分散体(X)を得て、水性樹脂分散体(X)から水性媒体を除去することにより得られる。樹脂粒子(B)の表面に付着している樹脂(a)の状態は、樹脂粒子(A)でも被膜(P)のどちらでもよい。(A)となるか(P)となるかは、樹脂(a)のTg,樹脂粒子(C)の製造条件(脱溶媒温度等)により異なる。
前記製造方法(I)で得られる樹脂粒子(C)の形状の制御は、樹脂(a)と、樹脂(b)または(d)のsp値差、また樹脂(a)の分子量を制御することで粒子形状や粒子表面性を制御することができる。sp値差が小さいといびつな形で表面平滑な粒子が得られやすく、また、sp値差が大きいと球形で表面はザラつきのある粒子が得られやすい。また、(a)の分子量が大きいと表面はザラつきのある粒子が得られやすく、分子量が小さいと表面平滑な粒子が得られやすい。ただし、(a)と、(b)または(d)のsp値差は小さすぎても大きすぎても造粒困難になる。また樹脂(a)の分子量も小さすぎると造粒困難になる。このことから、好ましい(a)と、(b)または(d)のsp値差は0.01〜5.0で、より好ましくは0.1〜3.0、さらに好ましくは0.2〜2.0である。また、好ましい樹脂粒子(a)の重量平均分子量は100〜100万で、より好ましくは1000〜50万、さらに好ましくは2000〜20万、特に好ましくは3000〜10万である。
前記の製造方法(II)の場合においては、樹脂粒子(C)の形状はあらかじめ作製する樹脂粒子(B)の形状に大きく影響し、樹脂粒子(C)は樹脂粒子(B)とほぼ同じ形状になる。ただし、(B)がいびつな場合、製造方法(II)でより多くコーティング剤(W’)を使用すると球形になる。
本発明において、樹脂粒子(C)の粒径均一性、保存安定性等の観点から、樹脂粒子(C)は、0.01〜60質量%の樹脂(a)を含有する樹脂粒子(A)あるいは樹脂(a)を含有する被膜(P)と40〜99.99質量%の樹脂(b)及び樹脂(d)を含有する樹脂粒子(B)からなるのが好ましく、さらに好ましくは0.1〜50質量%の(A)あるいは(P)と50〜99.9質量%の(B)、とくに好ましくは1〜45質量%の(A)あるいは(P)と55〜99質量%の(B)からなるものである。(A)あるいは(P)が0.01質量%以上であると耐ブロッキング性が良好であり、60%質量以下であると定着特性、特に低温定着性が良好である。
また、樹脂粒子(C)の粒径均一性、粉体流動性、保存安定性等の観点からは、樹脂粒子(C)において、樹脂粒子(B)の表面の5%以上、好ましくは30%以上、さらに好ましくは50%以上、とくに好ましくは80%以上が樹脂(a)を含有する樹脂粒子(A)あるいは樹脂(a)を含有する被膜(P)で覆われているのがよい。(C)の表面被覆率は、走査電子顕微鏡(SEM)で得られる像の画像解析から下式に基づいて求めることができる。
表面被覆率(%)=[(A)あるいは(P)に覆われている部分の面積/(A)あるいは(P)に覆われている部分の面積+樹脂粒子(B)が露出している部分の面積]×100
表面被覆率(%)=[(A)あるいは(P)に覆われている部分の面積/(A)あるいは(P)に覆われている部分の面積+樹脂粒子(B)が露出している部分の面積]×100
粒径均一性の観点から、樹脂粒子(C)の体積分布の変動係数は、30%以下であるのが好ましく、0.1〜15%であるのがさらに好ましい。また、粒径均一性から、樹脂粒子(C)の[体積平均粒径/個数平均粒径]の値は、1.0〜1.4であるのが好ましく、1.0〜1.3であるのがさらに好ましい。(C)の体積平均粒径は、用途により異なるが、一般的には0.1〜16μmが好ましい。上限は、さらに好ましくは11μm、特に好ましくは9μmであり、下限は、さらに好ましくは0.5μm特に好ましくは1μmである。なお、体積平均粒径および個数平均粒径は、マルチサイザーIII(コールター社製)で同時に測定することができる。
本発明の樹脂粒子(C)は、樹脂粒子(A)と樹脂粒子(B)の粒径、および、樹脂(a)を含有する被膜(P)による樹脂粒子(B)表面の被覆率を変えることで、粒子表面に所望の凹凸を付与することができる。粉体流動性を向上させたい場合には、(C)のBET値比表面積が0.5〜5.0m2/gであるのが好ましい。本発明のBET比表面積は、比表面積計、例えばQUANTASORB(ユアサアイオニクス製)を用いて測定(測定ガス:He/Kr=99.9/0.1vol%、検量ガス:窒素)したものである。同様に粉体流動性の観点から、(C)の表面平均中心線粗さRaが0.01〜0.8μmであるのが好ましい。Raは、粗さ曲線とその中心線との偏差の絶対値を算術平均した値のことであり、例えば、走査型プローブ顕微鏡システム(東陽テクニカ製)で測定することができる。
樹脂粒子(C)の形状は、粉体流動性、溶融レベリング性等の観点から球状であるのが好ましい。その場合、樹脂粒子(B)も球状であるのが好ましい。(C)の平均円形度は0.95〜1.00であるのが好ましい。平均円形度は、さらに好ましくは0.96〜1.0、とくに好ましくは0.97〜1.0である。なお、平均円形度は、光学的に粒子を検知して、投影面積の等しい相当円の周囲長で除した値である。具体的には、フロー式粒子像分析装置(FPIA−2000;シスメックス社製)を用いて測定する。所定の容器に、予め不純固形物を除去した水100〜150mlを入れ、分散剤として界面活性剤(ドライウエル;富士写真フィルム社製)0.1〜0.5mlを加え、さらに測定試料0.1〜9.5g程度を加える。試料を分散した懸濁液を超音波分散器(ウルトラソニッククリーナモデルVS−150;ウエルボクリア社製)で約1〜3分間分散処理を行い、分散濃度を3,000〜10,000個/μlにして樹脂粒子の形状および分布を測定する。
(CCA)
本発明のトナーは必要に応じ帯電制御剤をトナー中に含有させることができる。
例えば、ニグロシン、炭素数2〜16のアルキル基を含むアジン系染料(特公昭42−1627号公報)、塩基性染料、例えばC.I.Basic Yello 2(C.I.41000)、C.I.Basic Yello 3、C.I.Basic Red 1(C.I.45160)、C.I.Basic Red 9(C.I.42500)、C.I.Basic Violet 1(C.I.42535)、C.I.Basic Violet 3(C.I.42555)、C.I.Basic Violet 10(C.I.45170)、C.I.Basic Violet 14(C.I.42510)、C.I.Bas ic Blue 1(C.I.42025)、C.I.Basic Blue3(C.I.51005)、C.I.Basic Blue 5(C.I.42140)、C.I.Basic Blue 7(C.I.42595)、C.I.Basic Blue 9(C.I.52015)、C.I.Basic Blue 24(C.I.52030)、C.I.Basic Blue 25(C.I.52025)、C.I.Basic Blue 26(C.I.44045)、C.I.Basic Green 1(C.I.42040)、C.I.Basic Green 4(C.I.42000)など及びこれらの塩基性染料のレーキ顔料、C.I.Solvent Black 8(C.I.26150)、ベンゾイルメチルヘキサデシルアンモニウムクロライド、デシルトリメチルクロライド等の4級アンモニウム塩、或いはジブチル又はジオクチルなどのジアルキルスズ化合物、ジアルキルスズボレート化合物、グアニジン誘導体、アミノ基を含有するビニル系ポリマー、アミノ基を含有する縮合系ポリマー等のポリアミン樹脂、特公昭41−20153号公報、特公昭43−27596号公報、特公昭44−6397号公報、特公昭45−26478号公報に記載されているモノアゾ染料の金属錯塩、特公昭55−42752号公報、特公昭59−7385号公報に記載されているサルチル酸、ジアルキルサルチル酸、ナフトエ酸、ジカルボン酸のZn、Al、Co、Cr、Fe等の金属錯体、スルホン化した銅フタロシアニン顔料、有機ホウ素塩類、含フッ素四級アンモニウム塩、カリックスアレン系化合物等が挙げられる。ブラック以外のカラートナーは、当然目的の色を損なう帯電制御剤の使用は避けるべきであり、白色のサリチル酸誘導体の金属塩等が好適に使用される。
本発明のトナーは必要に応じ帯電制御剤をトナー中に含有させることができる。
例えば、ニグロシン、炭素数2〜16のアルキル基を含むアジン系染料(特公昭42−1627号公報)、塩基性染料、例えばC.I.Basic Yello 2(C.I.41000)、C.I.Basic Yello 3、C.I.Basic Red 1(C.I.45160)、C.I.Basic Red 9(C.I.42500)、C.I.Basic Violet 1(C.I.42535)、C.I.Basic Violet 3(C.I.42555)、C.I.Basic Violet 10(C.I.45170)、C.I.Basic Violet 14(C.I.42510)、C.I.Bas ic Blue 1(C.I.42025)、C.I.Basic Blue3(C.I.51005)、C.I.Basic Blue 5(C.I.42140)、C.I.Basic Blue 7(C.I.42595)、C.I.Basic Blue 9(C.I.52015)、C.I.Basic Blue 24(C.I.52030)、C.I.Basic Blue 25(C.I.52025)、C.I.Basic Blue 26(C.I.44045)、C.I.Basic Green 1(C.I.42040)、C.I.Basic Green 4(C.I.42000)など及びこれらの塩基性染料のレーキ顔料、C.I.Solvent Black 8(C.I.26150)、ベンゾイルメチルヘキサデシルアンモニウムクロライド、デシルトリメチルクロライド等の4級アンモニウム塩、或いはジブチル又はジオクチルなどのジアルキルスズ化合物、ジアルキルスズボレート化合物、グアニジン誘導体、アミノ基を含有するビニル系ポリマー、アミノ基を含有する縮合系ポリマー等のポリアミン樹脂、特公昭41−20153号公報、特公昭43−27596号公報、特公昭44−6397号公報、特公昭45−26478号公報に記載されているモノアゾ染料の金属錯塩、特公昭55−42752号公報、特公昭59−7385号公報に記載されているサルチル酸、ジアルキルサルチル酸、ナフトエ酸、ジカルボン酸のZn、Al、Co、Cr、Fe等の金属錯体、スルホン化した銅フタロシアニン顔料、有機ホウ素塩類、含フッ素四級アンモニウム塩、カリックスアレン系化合物等が挙げられる。ブラック以外のカラートナーは、当然目的の色を損なう帯電制御剤の使用は避けるべきであり、白色のサリチル酸誘導体の金属塩等が好適に使用される。
前記帯電制御剤の含有量は、前記結着樹脂100質量部に対して、0.01質量部〜2質量部が好ましく、0.02質量部〜1質量部がより好ましい。前記含有量が、0.01質量部以上であると、帯電制御性が得られ、2質量部以下であると、トナーの帯電性が大きくなりすぎることがなく、主帯電制御剤の効果を減退させることもなく、現像ローラとの静電的吸引力が増大してトナーの流動性低下や画像濃度の低下を招くということもない。
本発明のトナーは、層状無機鉱物が有する層間のイオンの少なくとも一部を有機物イオンで変性した層状無機鉱物を含有することが好ましい。本発明に用いる層状無機鉱物が有する層間のイオンの少なくとも一部を有機物イオンで変性した層状無機鉱物は、スメクタイト系の基本結晶構造を持つものを有機カチオンで変性したものが望ましい。また、層状無機鉱物の2価金属の一部を3価の金属に置換することにより、金属アニオンを導入することが出来る。しかし、金属アニオンを導入すると親水性が高いため、金属アニオンの少なくとも一部を有機アニオンで変性した層状無機化合物が望ましい。
前記層状無機鉱物が有するイオンの少なくとも一部を有機物イオンで変性した層状無機鉱物の、有機物カチオン変性剤としては第4級アルキルアンモニウム塩、フォスフォニウム塩やイミダゾリウム塩などが挙げられるが、第4級アルキルアンモニウム塩が望ましい。前記第4級アルキルアンモニウムとしては、トリメチルステアリルアンモニウム、ジメチルステアリルベンジルアンモニウム、オレイルビス(2−ヒドロキシエチル)メチルアンモニウムなどが挙げられる。
前記有機物アニオン変性剤としては、さらに分岐、非分岐または環状アルキル(C1〜C44)、アルケニル(C1〜C22)、アルコキシ(C8〜C32)、ヒドロキシアルキル(C2〜C22)、エチレンオキサイド、プロピレンオキサイド等を有する硫酸塩、スルフォン酸塩、カルボン酸塩、またはリン酸塩が挙げられる。エチレンオキサイド骨格を持ったカルボン酸が望ましい。
層状無機鉱物を少なくとも一部を有機物イオンで変性することにより、適度な疎水性を持ち、トナー組成物含む前記油相(O1)、(O2)が非ニュ−トニアン粘性を持ち、トナーを異形化することが出来る。このとき、トナー材料中の一部を有機物イオンで変性した層状無機鉱物の含有量は、0.05〜10質量%であることが好ましく、0.05〜5質量%であることがより好ましい。
一部を有機物イオンで変性した層状無機鉱物は、適宜選択することができるが、モンモリロナイト、ベントナイト、ヘクトライト、アタパルジャイト、セピオライト及びこれらの混合物等が挙げられる。中でも、トナー特性に影響を与えず、容易に粘度調整ができ、添加量を少量とすることができることから有機変性モンモリロナイト又はベントナイトが好ましい。
一部を有機物イオンで変性した層状無機鉱物は、適宜選択することができるが、モンモリロナイト、ベントナイト、ヘクトライト、アタパルジャイト、セピオライト及びこれらの混合物等が挙げられる。中でも、トナー特性に影響を与えず、容易に粘度調整ができ、添加量を少量とすることができることから有機変性モンモリロナイト又はベントナイトが好ましい。
一部を有機カチオンで変性した層状無機鉱物の市販品としては、Bentone 3、Bentone 38、Bentone 38V(以上、レオックス社製)、チクソゲルVP(United catalyst社製)、クレイトン34、クレイトン40、クレイトンXL(以上、サザンクレイ社製)等のクオタニウム18ベントナイト;Bentone 27(レオックス社製)、チクソゲルLG(United catalyst社製)、クレイトンAF、クレイトンAPA(以上、サザンクレイ社製)等のステアラルコニウムベントナイト;クレイトンHT、クレイトンPS(以上、サザンクレイ社製)等のクオタニウム18/ベンザルコニウムベントナイトが挙げられる。特に好ましいのはクレイトンAF、クレイトンAPAがあげられる。また一部を有機アニオンで変性した層状無機鉱物としてはDHT−4A(協和化学工業社製)に下記一般式(1)で表される有機アニオンで変性させたものが特に好ましい。下記一般式(1)は例えばハイテノール330T(第一工業製薬社製)が上げられる。
一般式(1)
R1(OR2)nOSO3M
[式中、R1は炭素数13を有するアルキル基、R2は炭素数2から6を有するアルキレン基を表す。nは2から10の整数を表し、Mは1価の金属元素を表す]
一般式(1)
R1(OR2)nOSO3M
[式中、R1は炭素数13を有するアルキル基、R2は炭素数2から6を有するアルキレン基を表す。nは2から10の整数を表し、Mは1価の金属元素を表す]
(着色剤)
本発明のトナーに用いられる着色剤としては、イエロー、マゼンタ、シアン、ブラック各色のトナーを得ることが可能な公知の顔料や染料が使用できる。
例えば、黄色顔料としては、カドミウムイエロー、ミネラルファストイエロー、ニッケルチタンイエロー、ネーブルスイエロー、ナフトールイエローS、ハンザイエローG、ハンザイエロー10G、ベンジジンイエローGR、キノリンイエローレーキ、パーマネントイエローNCG、タートラジンレーキが挙げられる。
また、橙色顔料としては、モリブデンオレンジ、パーマネントオレンジGTR、ピラゾロンオレンジ、バルカンオレンジ、インダンスレンブリリアントオレンジRK、ベンジジンオレンジG、インダンスレンブリリアントオレンジGKが挙げられる。
赤色顔料としては、ベンガラ、カドミウムレッド、パーマネントレッド4R、リソールレッド、ピラゾロンレッド、ウォッチングレッドカルシウム塩、レーキレッドD、ブリリアントカーミン6B、エオシンレーキ、ローダミンレーキB、アリザリンレーキ、ブリリアントカーミン3Bが挙げられる。
紫色顔料としては、ファストバイオレットB、メチルバイオレットレーキが挙げられる。
青色顔料としては、コバルトブルー、アルカリブルー、ビクトリアブルーレーキ、フタロシアニンブルー、無金属フタロシアニンブルー、フタロシアニンブルー部分塩素化物、ファーストスカイブルー、インダンスレンブルーBCが挙げられる。
緑色顔料としては、クロムグリーン、酸化クロム、ピグメントグリーンB、マラカイトグリーンレーキが挙げられる。
黒色顔料としては、カーボンブラック、オイルファーネスブラック、チャンネルブラック、ランプブラック、アセチレンブラック、アニリンブラック等のアジン系色素、金属塩アゾ色素、金属酸化物、複合金属酸化物が挙げられる。
これらは、1種または2種以上を使用することができる。
本発明のトナーに用いられる着色剤としては、イエロー、マゼンタ、シアン、ブラック各色のトナーを得ることが可能な公知の顔料や染料が使用できる。
例えば、黄色顔料としては、カドミウムイエロー、ミネラルファストイエロー、ニッケルチタンイエロー、ネーブルスイエロー、ナフトールイエローS、ハンザイエローG、ハンザイエロー10G、ベンジジンイエローGR、キノリンイエローレーキ、パーマネントイエローNCG、タートラジンレーキが挙げられる。
また、橙色顔料としては、モリブデンオレンジ、パーマネントオレンジGTR、ピラゾロンオレンジ、バルカンオレンジ、インダンスレンブリリアントオレンジRK、ベンジジンオレンジG、インダンスレンブリリアントオレンジGKが挙げられる。
赤色顔料としては、ベンガラ、カドミウムレッド、パーマネントレッド4R、リソールレッド、ピラゾロンレッド、ウォッチングレッドカルシウム塩、レーキレッドD、ブリリアントカーミン6B、エオシンレーキ、ローダミンレーキB、アリザリンレーキ、ブリリアントカーミン3Bが挙げられる。
紫色顔料としては、ファストバイオレットB、メチルバイオレットレーキが挙げられる。
青色顔料としては、コバルトブルー、アルカリブルー、ビクトリアブルーレーキ、フタロシアニンブルー、無金属フタロシアニンブルー、フタロシアニンブルー部分塩素化物、ファーストスカイブルー、インダンスレンブルーBCが挙げられる。
緑色顔料としては、クロムグリーン、酸化クロム、ピグメントグリーンB、マラカイトグリーンレーキが挙げられる。
黒色顔料としては、カーボンブラック、オイルファーネスブラック、チャンネルブラック、ランプブラック、アセチレンブラック、アニリンブラック等のアジン系色素、金属塩アゾ色素、金属酸化物、複合金属酸化物が挙げられる。
これらは、1種または2種以上を使用することができる。
トナー中における着色剤の含有量は、1質量%〜15質量%が好ましく、3質量%〜10質量%がより好ましい。前記含有量が、1質量%未満であると、トナーの着色力が低下することがあり、15質量%を超えると、トナー中での顔料の分散不良が起こり、着色力の低下及びトナーの電気特性の低下を招くことがある。
着色剤は、樹脂と複合化されたマスターバッチとして使用してもよい。このような樹脂としては、例えば、ポリエステル、スチレン又はその置換体の重合体、スチレン系共重合体、ポリメタクリル酸メチル、ポリメタクリル酸ブチル、ポリ塩化ビニル、ポリ酢酸ビニル、ポリエチレン、ポリプロピレン、エポキシ樹脂、エポキシポリオール樹脂、ポリウレタン、ポリアミド、ポリビニルブチラール、ポリアクリル酸樹脂、ロジン、変性ロジン、テルペン樹脂、脂肪族炭化水素樹脂、脂環族炭化水素樹脂、芳香族系石油樹脂、塩素化パラフィン、パラフィンワックス等が挙げられる。これらは、1種単独で使用してもよいし、2種以上を併用してもよい。これらの中でも、スチレン又はその置換体の重合体が特に好ましい。
前記スチレン又はその置換体の重合体としては、例えば、ポリスチレン、ポリ(p−クロロスチレン)、ポリビニルトルエン等が挙げられる。スチレン系共重合体としては、例えば、スチレン−p−クロロスチレン共重合体、スチレン−プロピレン共重合体、スチレン−ビニルトルエン共重合体、スチレン−ビニルナフタレン共重合体、スチレン−アクリル酸メチル共重合体、スチレン−アクリル酸エチル共重合体、スチレン−アクリル酸ブチル共重合体、スチレン−アクリル酸オクチル共重合体、スチレン−メタクリル酸メチル共重合体、スチレン−メタクリル酸エチル共重合体、スチレン−メタクリル酸ブチル共重合体、スチレン−α−クロロメタクリル酸メチル共重合体、スチレン−アクリロニトリル共重合体、スチレン−ビニルメチルケトン共重合体、スチレン−ブタジエン共重合体、スチレン−イソプレン共重合体、スチレン−アクリロニトリル−インデン共重合体、スチレン−マレイン酸共重合体、スチレン−マレイン酸エステル共重合体等が挙げられる。
前記マスターバッチは、高せん断力をかけて、樹脂と着色剤を混合又は混練させて製造することができる。この際、着色剤と樹脂の相互作用を高めるために、有機溶媒を添加することが好ましい。また、いわゆるフラッシング法も着色剤のウエットケーキをそのまま用いることができ、乾燥する必要がない点で好適である。フラッシング法は、着色剤の水を含んだ水性ペーストを樹脂と有機溶媒と共に混合又は混練し、着色剤を樹脂側に移行させて水及び有機溶媒を除去する方法である。混合又は混練には、例えば、三本ロールミル等の高せん断分散装置を用いることができる。
(離型剤)
本発明においてトナーに使用される離型剤としては公知のものが全て使用できるが、特に脱遊離脂肪酸型カルナウバワックス、ポリエチレンワックス、モンタンワックス及び酸化ライスワックスを単独又は組み合わせて使用することができる。カルナウバワックスとしては、微結晶のものが良く、酸価が5以下であり、トナーバインダー中に分散した時の粒子径が1μm以下の粒径であるものが好ましい。モンタンワックスについては、一般に鉱物より精製されたモンタン系ワックスを指し、カルナウバワックス同様、微結晶であり、酸価が5〜14であることが好ましい。酸化ライスワックスは、米ぬかワックスを空気酸化したものであり、その酸価は10〜30が好ましい。その理由は本発明のトナー結着樹脂に対してこれらのワックスは適度に微分散するため後述するようにオフセット防止性と転写性・耐久性ともに優れたトナーとすることが容易なためである。これらワックス類は1種又は2種以上を併用して用いることができる。
本発明においてトナーに使用される離型剤としては公知のものが全て使用できるが、特に脱遊離脂肪酸型カルナウバワックス、ポリエチレンワックス、モンタンワックス及び酸化ライスワックスを単独又は組み合わせて使用することができる。カルナウバワックスとしては、微結晶のものが良く、酸価が5以下であり、トナーバインダー中に分散した時の粒子径が1μm以下の粒径であるものが好ましい。モンタンワックスについては、一般に鉱物より精製されたモンタン系ワックスを指し、カルナウバワックス同様、微結晶であり、酸価が5〜14であることが好ましい。酸化ライスワックスは、米ぬかワックスを空気酸化したものであり、その酸価は10〜30が好ましい。その理由は本発明のトナー結着樹脂に対してこれらのワックスは適度に微分散するため後述するようにオフセット防止性と転写性・耐久性ともに優れたトナーとすることが容易なためである。これらワックス類は1種又は2種以上を併用して用いることができる。
その他の離型剤としては、固形シリコーンワックス、高級脂肪酸高級アルコール、モンタン系エステルワックス、ポリエチレンワックス、ポリプロピレンワックス等、従来公知のいかなる離型剤をも混合して使用できる。
本発明のトナーに使用する離型剤のTgは70〜90℃が好ましい。70℃未満ではトナーの耐熱保存性が悪化し、90℃超では低温での離型性が発現されず、耐コールドオフセット性の悪化、定着機への紙の巻付きなどが発生する。これらの離型剤の使用量は、トナー樹脂成分に対し、1〜20質量%、好ましくは3〜10質量%である。1質量%未満ではオフセット防止効果が不十分であり20質量%を超えると転写性、耐久性が低下する。
本発明のトナーに使用する離型剤のTgは70〜90℃が好ましい。70℃未満ではトナーの耐熱保存性が悪化し、90℃超では低温での離型性が発現されず、耐コールドオフセット性の悪化、定着機への紙の巻付きなどが発生する。これらの離型剤の使用量は、トナー樹脂成分に対し、1〜20質量%、好ましくは3〜10質量%である。1質量%未満ではオフセット防止効果が不十分であり20質量%を超えると転写性、耐久性が低下する。
(現像剤)
現像剤は、本発明のトナーを少なくとも含有してなり、キャリア等の適宜選択したその他の成分を含有してなる。該現像剤としては、一成分現像剤であってもよいし、二成分現像剤であってもよいが、近年の情報処理速度の向上に対応した高速プリンター等に使用する場合には、寿命向上等の点で前記二成分現像剤が好ましい。
現像剤は、本発明のトナーを少なくとも含有してなり、キャリア等の適宜選択したその他の成分を含有してなる。該現像剤としては、一成分現像剤であってもよいし、二成分現像剤であってもよいが、近年の情報処理速度の向上に対応した高速プリンター等に使用する場合には、寿命向上等の点で前記二成分現像剤が好ましい。
(キャリア)
キャリアとしては、特に制限はなく、目的に応じて適宜選択することができるが、芯材と、該芯材を被覆する樹脂層とを有するものが好ましい。
前記芯材の材料としては、特に制限はなく、公知のものの中から適宜選択することができ、例えば、50〜90emu/gのマンガン−ストロンチウム(Mn−Sr)系材料、マンガン−マグネシウム(Mn−Mg)系材料などが好ましく、画像濃度の確保の点では、鉄粉(100emu/g以上)、マグネタイト(75〜120emu/g)等の高磁化材料が好ましい。また、トナーが穂立ち状態となっている静電潜像担持体への当りを弱くでき高画質化に有利である点で、銅−ジンク(Cu−Zn)系(30〜80emu/g)等の弱磁化材料が好ましい。これらは、1種単独で使用してもよい、2種以上を併用してもよい。
キャリアとしては、特に制限はなく、目的に応じて適宜選択することができるが、芯材と、該芯材を被覆する樹脂層とを有するものが好ましい。
前記芯材の材料としては、特に制限はなく、公知のものの中から適宜選択することができ、例えば、50〜90emu/gのマンガン−ストロンチウム(Mn−Sr)系材料、マンガン−マグネシウム(Mn−Mg)系材料などが好ましく、画像濃度の確保の点では、鉄粉(100emu/g以上)、マグネタイト(75〜120emu/g)等の高磁化材料が好ましい。また、トナーが穂立ち状態となっている静電潜像担持体への当りを弱くでき高画質化に有利である点で、銅−ジンク(Cu−Zn)系(30〜80emu/g)等の弱磁化材料が好ましい。これらは、1種単独で使用してもよい、2種以上を併用してもよい。
前記芯材の粒径としては、平均粒径(重量平均粒径(D50))で、10〜200μmが好ましく、40〜100μmがより好ましい。前記平均粒径(重量平均粒径(D50))が、10μm未満であると、キャリア粒子の分布において、微粉系が多くなり、1粒子当たりの磁化が低くなってキャリア飛散を生じることがあり、200μmを超えると、比表面積が低下し、トナーの飛散が生じることがあり、ベタ部分の多いフルカラーでは、特にベタ部の再現が悪くなることがある。
前記樹脂層の材料としては、特に制限はなく、公知の樹脂の中から目的に応じて適宜選択することができるが、例えば、アミノ系樹脂、ポリビニル系樹脂、ポリスチレン系樹脂、ハロゲン化オレフィン樹脂、ポリエステル系樹脂、ポリカーボネート系樹脂、ポリエチレン樹脂、ポリフッ化ビニル樹脂、ポリフッ化ビニリデン樹脂、ポリトリフルオロエチレン樹脂、ポリヘキサフルオロプロピレン樹脂、フッ化ビニリデンとアクリル単量体との共重合体、フッ化ビニリデンとフッ化ビニルとの共重合体、テトラフルオロエチレンとフッ化ビニリデンと非フッ化単量体とのターポリマー等のフルオロターポリマー(フッ化三重(多重)共重合体)、シリコーン樹脂などが挙げられる。これらは、1種単独で使用してもよいし、2種以上を併用してもよい。これらの中でも、シリコーン樹脂が特に好ましい。
前記シリコーン樹脂としては、特に制限はなく、一般的に知られているシリコーン樹脂の中から目的に応じて適宜選択することができ、例えば、オルガノシロサン結合のみからなるストレートシリコーン樹脂;アルキド樹脂、ポリエステル樹脂、エポキシ樹脂、アクリル樹脂、ウレタン樹脂等で変性したシリコーン樹脂、などが挙げられる。
前記シリコーン樹脂としては、市販品を用いることができ、ストレートシリコーン樹脂としては、例えば、信越化学工業株式会社製のKR271、KR255、KR152;東レ・ダウコーニング・シリコーン株式会社製のSR2400、SR2406、SR2410などが挙げられる。
前記変性シリコーン樹脂としては、市販品を用いることができ、例えば、信越化学工業株式会社製のKR206(アルキド変性)、KR5208(アクリル変性)、ES1001N(エポキシ変性)、KR305(ウレタン変性);東レ・ダウコーニング・シリコーン株式会社製のSR2115(エポキシ変性)、SR2110(アルキド変性)、などが挙げられる。
なお、シリコーン樹脂を単体で用いることも可能であるが、架橋反応する成分、帯電量調整成分等を同時に用いることも可能である。
前記シリコーン樹脂としては、市販品を用いることができ、ストレートシリコーン樹脂としては、例えば、信越化学工業株式会社製のKR271、KR255、KR152;東レ・ダウコーニング・シリコーン株式会社製のSR2400、SR2406、SR2410などが挙げられる。
前記変性シリコーン樹脂としては、市販品を用いることができ、例えば、信越化学工業株式会社製のKR206(アルキド変性)、KR5208(アクリル変性)、ES1001N(エポキシ変性)、KR305(ウレタン変性);東レ・ダウコーニング・シリコーン株式会社製のSR2115(エポキシ変性)、SR2110(アルキド変性)、などが挙げられる。
なお、シリコーン樹脂を単体で用いることも可能であるが、架橋反応する成分、帯電量調整成分等を同時に用いることも可能である。
前記樹脂層には、必要に応じて導電粉等を含有させてもよく、該導電粉としては、例えば、金属粉、カーボンブラック、酸化チタン、酸化錫、酸化亜鉛、などが挙げられる。これらの導電粉の平均粒子径としては、1μm以下が好ましい。前記平均粒子径が1μmを超えると、電気抵抗の制御が困難になることがある。
前記樹脂層は、例えば、前記シリコーン樹脂等を有機溶剤に溶解させて塗布溶液を調製した後、該塗布溶液を前記芯材の表面に公知の塗布方法により均一に塗布し、乾燥した後、焼付を行うことにより形成することができる。前記塗布方法としては、例えば、浸漬法、スプレー法、ハケ塗り法、などが挙げられる。
前記有機溶剤としては、特に制限はなく、目的に応じて適宜選択することができるが、例えば、トルエン、キシレン、メチルエチルケトン、メチルイソブチルケトン、セルソルブ、ブチルアセテート、などが挙げられる。
前記樹脂層は、例えば、前記シリコーン樹脂等を有機溶剤に溶解させて塗布溶液を調製した後、該塗布溶液を前記芯材の表面に公知の塗布方法により均一に塗布し、乾燥した後、焼付を行うことにより形成することができる。前記塗布方法としては、例えば、浸漬法、スプレー法、ハケ塗り法、などが挙げられる。
前記有機溶剤としては、特に制限はなく、目的に応じて適宜選択することができるが、例えば、トルエン、キシレン、メチルエチルケトン、メチルイソブチルケトン、セルソルブ、ブチルアセテート、などが挙げられる。
前記焼付としては、特に制限はなく、外部加熱方式であってもよいし、内部加熱方式であってもよく、例えば、固定式電気炉、流動式電気炉、ロータリー式電気炉、バーナー炉等を用いる方法、マイクロウエーブを用いる方法、などが挙げられる。
前記樹脂層の前記キャリアにおける量としては、0.01〜5.0質量%が好ましい。前記量が、0.01質量%未満であると、前記芯材の表面に均一な前記樹脂層を形成することができないことがあり、5.0質量%を超えると、前記樹脂層が厚くなり過ぎてキャリア同士の造粒が発生し、均一なキャリア粒子が得られないことがある。
前記樹脂層の前記キャリアにおける量としては、0.01〜5.0質量%が好ましい。前記量が、0.01質量%未満であると、前記芯材の表面に均一な前記樹脂層を形成することができないことがあり、5.0質量%を超えると、前記樹脂層が厚くなり過ぎてキャリア同士の造粒が発生し、均一なキャリア粒子が得られないことがある。
前記現像剤が二成分現像剤である場合には、前記キャリアの該二成分現像剤における含有量としては、特に制限はなく、目的に応じて適宜選択することができるが、二成分系現像剤のトナーとキャリアの好ましい混合割合は、一般にキャリア100質量部に対しトナー1〜10.0質量部である。
<画像形成方法及び画像形成装置>
静電潜像担持体表面を帯電させる帯電工程と、帯電された静電潜像担持体表面を露光して静電潜像を形成する露光工程と、前記静電潜像をトナーを用いて現像して可視像を形成する現像工程と、前記可視像を記録媒体に転写する転写工程と、前記記録媒体に転写された転写像を定着させる定着工程とを少なくとも含む画像形成方法であって、現像剤として本件発明のトナー又は本件発明の2成分現像剤を用いる。
さらに本発明の画像形成装置は、潜像担持体(感光体)と、該静電潜像担持体表面を帯電させる帯電手段と、帯電された静電潜像担持体表面を露光して静電潜像を形成する露光手段と、前記静電潜像をトナーを用いて現像して可視像を形成する現像手段と、前記可視像を記録媒体に転写する転写手段と、前記記録媒体に転写された転写像を定着させる定着手段とを少なくとも有しており、またさらに転写後の潜像担持体をクリーニングするクリーニング手段を備えており、現像剤として本件発明のトナー又は本件発明の2成分現像剤を備えている。
静電潜像担持体表面を帯電させる帯電工程と、帯電された静電潜像担持体表面を露光して静電潜像を形成する露光工程と、前記静電潜像をトナーを用いて現像して可視像を形成する現像工程と、前記可視像を記録媒体に転写する転写工程と、前記記録媒体に転写された転写像を定着させる定着工程とを少なくとも含む画像形成方法であって、現像剤として本件発明のトナー又は本件発明の2成分現像剤を用いる。
さらに本発明の画像形成装置は、潜像担持体(感光体)と、該静電潜像担持体表面を帯電させる帯電手段と、帯電された静電潜像担持体表面を露光して静電潜像を形成する露光手段と、前記静電潜像をトナーを用いて現像して可視像を形成する現像手段と、前記可視像を記録媒体に転写する転写手段と、前記記録媒体に転写された転写像を定着させる定着手段とを少なくとも有しており、またさらに転写後の潜像担持体をクリーニングするクリーニング手段を備えており、現像剤として本件発明のトナー又は本件発明の2成分現像剤を備えている。
(画像形成装置)
本発明のトナーを用いる画像形成装置の概略について以下述べる。
本発明の画像形成装置は静電潜像担持体(感光体)と、該静電潜像担持体表面を帯電させる帯電手段と、帯電された静電潜像担持体表面を露光して静電潜像を形成する露光手段と、前記静電潜像をトナーを用いて現像して可視像を形成する現像手段と、前記可視像を記録媒体に転写する転写手段と、前記記録媒体に転写された転写像を定着させる定着手段とを少なくとも有しており、使用するトナーとして本発明のトナーを用いる。
本発明の電子写真式画像形成装置の一例としての複写機を図1に示す。
図1は、本発明の一実施の形態に係るカラー画像形成装置の内部構成図の一例を示す。この具体例はタンデム型間接転写方式の電子写真複写装置であるが、本発明の画像形成装置は本具体例に限ったものではない。
本発明のトナーを用いる画像形成装置の概略について以下述べる。
本発明の画像形成装置は静電潜像担持体(感光体)と、該静電潜像担持体表面を帯電させる帯電手段と、帯電された静電潜像担持体表面を露光して静電潜像を形成する露光手段と、前記静電潜像をトナーを用いて現像して可視像を形成する現像手段と、前記可視像を記録媒体に転写する転写手段と、前記記録媒体に転写された転写像を定着させる定着手段とを少なくとも有しており、使用するトナーとして本発明のトナーを用いる。
本発明の電子写真式画像形成装置の一例としての複写機を図1に示す。
図1は、本発明の一実施の形態に係るカラー画像形成装置の内部構成図の一例を示す。この具体例はタンデム型間接転写方式の電子写真複写装置であるが、本発明の画像形成装置は本具体例に限ったものではない。
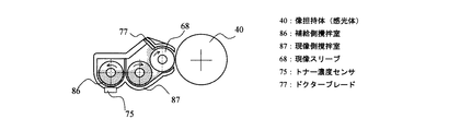
図中符号100は複写装置本体、200は複写装置本体100を載せる給紙テーブル、300は複写装置本体100上に取り付けるスキャナ(読取り光学系)、400はさらにその上に取り付ける原稿自動搬送装置(ADF)である。複写装置本体100の中央位置には、横方向へ延びる無端ベルト状の中間転写体10を設ける。そして、図示例では中間転写体を3つの支持ローラ14・15・16に掛け回して図中時計回りに回転搬送可能とする。この図示例では、3つの支持ローラの中で、第2の支持ローラ15の左に、画像転写後に中間転写体10上に残留する残留トナーを除去する中間転写体クリーニング装置17を設ける。また、3つの支持ローラの中で第1の支持ローラ14と第2の支持ローラ15間に張り渡した中間転写体10上には、その搬送方向に沿って、ブラック・イエロー・マゼンタ・シアンの4つの画像形成手段18を横に並べて配置してタンデム画像形成部20を構成する。タンデム画像形成部20の直上には、図に示すように、さらに露光装置21を設ける。一方、中間転写体10を挟んでタンデム画像形成部20と反対の側には、2次転写装置22を備える。2次転写装置22は、図示例では、2つのローラ23間に、無端ベルトである2次転写ベルト24を掛け渡して構成し、中間転写体10を介して第3の支持ローラ16に押し当てて配置し、中間転写体10上の画像をシートに転写する。2次転写装置22の横には、シート上の転写画像を定着する定着装置25を設ける。定着装置25は、無端ベルトである定着ベルト26に加圧ローラ27を押し当てて構成する。上述した2次転写装置22は、画像転写後のシートをこの定着装置25へと搬送するシート搬送機能も備えている。なお、図示例では、このような2次転写装置22および定着装置25の下に、上述したタンデム画像形成部20と平行に、シートの両面に画像を記録すべくシートを反転するシート反転装置28を備える。
さて、いまこのカラー電子写真装置を用いてコピーをとるときは、原稿自動搬送装置400の原稿台30上に原稿をセットする。または、原稿自動搬送装置400を開いてスキャナ300のコンタクトガラス32上に原稿をセットし、原稿自動搬送装置400を閉じてそれで押さえる。不図示のスタートスイッチを押すと、原稿自動搬送装置400に原稿をセットしたときは、原稿を搬送してコンタクトガラス32上へと移動させた後、他方コンタクトガラス32上に原稿をセットしたときは、直ちにスキャナ300を駆動し、第1走行体33および第2走行体34を走行する。そして、第1走行体33で光源から光を発射するとともに原稿面からの反射光をさらに反射して第2走行体34に向け、第2走行体34のミラーで反射して結像レンズ35を通して読取りセンサ36に入れ、原稿内容を読み取る。また、不図示のスタートスイッチを押すと、不図示の駆動モータで支持ローラ14、15、16のうちの1つを回転駆動して他の2つの支持ローラを従動回転し、中間転写体10を回転搬送する。同時に、個々の画像形成手段18でその感光体40を回転して各感光体40上にそれぞれ、ブラック・イエロー・マゼンタ・シアンの単色画像を形成する。
そして、中間転写体10の搬送とともに、それらの単色画像を順次転写して中間転写体10上に合成カラー画像を形成する。一方、不図示のスタートスイッチを押すと、給紙テーブル200の給紙ローラ42の1つを選択回転し、ペーパーバンク43に多段に備える給紙カセット44の1つからシートを繰り出し、分離ローラ45で1枚ずつ分離して給紙路46に入れ、搬送ローラ47で搬送して複写機本体100内の給紙路48に導き、レジストローラ49に突き当てて止める。そして、中間転写体10上の合成カラー画像にタイミングを合わせてレジストローラ49を回転し、中間転写体10と2次転写装置22との間にシートを送り込み、2次転写装置22で転写してシート上にカラー画像を記録する。画像転写後のシートは、2次転写装置22で搬送して定着装置25へと送り込み、定着装置25で熱と圧力とを加えて転写画像を定着した後、切換爪55で切り換えて排出ローラ56で排出し、排紙トレイ57上にスタックする。または、切換爪55で切り換えてシート反転装置28に入れ、そこで反転して再び転写位置へと導き、裏面にも画像を記録して後、排出ローラ56で排紙トレイ57上に排出する。一方、画像転写後の中間転写体10は、中間転写体クリーニング装置17で、画像転写後に中間転写体10上に残留する残留トナーを除去し、タンデム画像形成部20による再度の画像形成に備える。
さて、上述したタンデム画像形成部20において、個々の画像形成手段18は、ドラム状の感光体40のまわりに、帯電装置60、現像装置61、1次転写装置62、除電装置64などを備えている。感光体クリーニング装置63は少なくともブレードクリーニング部材を持つ。また、現像装置61は、図2に示すように現像剤容器内に、現像剤攪拌・搬送手段としてのトナー補給側攪拌室86、現像側攪拌室87、現像スリーブ68、トナー濃度センサ75、ドクタブレード77を備える。第一の現像剤撹拌室86の容器外壁には図示しない補給口を設けて図示しないトナー補給装置からトナーが供給される。トナー補給側の攪拌スクリューは、トナー補給装置から補給されたトナーと現像剤容器内の現像剤(磁性粒子とトナーとを有する二成分現像剤)とを攪拌、搬送する。また、第二の現像剤撹拌室87(現像剤担持体側)の攪拌スクリューは、現像剤容器内の現像剤を攪拌、搬送する。(以後、第二の現像剤攪拌室を現像側攪拌室と呼ぶ。)
補給側攪拌室と現像側攪拌室は図3に示すように仕切り板80で仕切られており、両端部に現像剤の受け渡す開口部がある。
現像側攪拌室の現像剤は現像スリーブに汲み上げられ、ドクタブレードによって量を規制され潜像坦持体との摺擦部に供給される。この時、ドクタブレードにより現像剤は最も大きな摺擦力を与えられる。
補給側攪拌室と現像側攪拌室は図3に示すように仕切り板80で仕切られており、両端部に現像剤の受け渡す開口部がある。
現像側攪拌室の現像剤は現像スリーブに汲み上げられ、ドクタブレードによって量を規制され潜像坦持体との摺擦部に供給される。この時、ドクタブレードにより現像剤は最も大きな摺擦力を与えられる。
本発明の画像形成用トナーを静電潜像担持体と、現像手段とを少なくとも有し、画像形成装置本体に着脱可能なプロセスカートリッジに収容して用いることもできる。
図4に本発明の画像形成用トナーを有するプロセスカートリッジを備えた画像形成装置の概略構成を示す。
図において、1はプロセスカートリッジ全体を示し、2は感光体、3は帯電手段、4は現像手段、5はクリーニング手段を示す。
本発明においては、上述の感光体2、帯電手段3、現像手段4及びクリーニング手段5等の構成要素のうち、複数のものをプロセスカートリッジとして一体に結合して構成し、このプロセスカートリッジを複写機やプリンター等の画像形成装置本体に対して着脱可能に構成する。
図4に本発明の画像形成用トナーを有するプロセスカートリッジを備えた画像形成装置の概略構成を示す。
図において、1はプロセスカートリッジ全体を示し、2は感光体、3は帯電手段、4は現像手段、5はクリーニング手段を示す。
本発明においては、上述の感光体2、帯電手段3、現像手段4及びクリーニング手段5等の構成要素のうち、複数のものをプロセスカートリッジとして一体に結合して構成し、このプロセスカートリッジを複写機やプリンター等の画像形成装置本体に対して着脱可能に構成する。
本発明の画像形成用トナーを有するプロセスカートリッジを備えた画像形成装置の動作を説明すると次の通りである。
感光体2が所定の周速度で回転駆動される。感光体2は回転過程において、帯電手段3によりその周面に正または負の所定電位の均一帯電を受け、次いで、スリット露光やレーザービーム走査露光等の像露光手段からの画像露光光を受け、こうして感光体の周面に静電潜像が順次形成され、形成された静電潜像は、次いで現像手段4によりトナー現像され、現像されたトナー像は、給紙部から感光体と転写手段との間に感光体の回転と同期されて給送された転写材に、転写手段により順次転写されていく。像転写を受けた転写材は感光体面から分離されて像定着手段へ導入されて像定着され、複写物(コピー)として装置外へプリントアウトされる。像転写後の感光体の表面は、クリーニング手段によって転写残りトナーの除去を受けて清浄面化され、更に除電された後、繰り返し画像形成に使用される。
感光体2が所定の周速度で回転駆動される。感光体2は回転過程において、帯電手段3によりその周面に正または負の所定電位の均一帯電を受け、次いで、スリット露光やレーザービーム走査露光等の像露光手段からの画像露光光を受け、こうして感光体の周面に静電潜像が順次形成され、形成された静電潜像は、次いで現像手段4によりトナー現像され、現像されたトナー像は、給紙部から感光体と転写手段との間に感光体の回転と同期されて給送された転写材に、転写手段により順次転写されていく。像転写を受けた転写材は感光体面から分離されて像定着手段へ導入されて像定着され、複写物(コピー)として装置外へプリントアウトされる。像転写後の感光体の表面は、クリーニング手段によって転写残りトナーの除去を受けて清浄面化され、更に除電された後、繰り返し画像形成に使用される。
以下実施例により本発明をさらに説明するが、本発明はこれに限定されるものではない。以下の記載において「部」は質量部を示す。
[製造例A] (樹脂粒子(A)の水性分散液の製造)
攪拌棒および温度計をセットした反応容器に、水600部、スチレン120部、メタクリル酸100部、アクリル酸ブチル45部、アルキルアリルスルホコハク酸ナトリウム塩(エレミノールJS−2、三洋化成工業製)10部、過硫酸アンモニウム1部を仕込み、400回転/分で20分攪拌したところ、白色の乳濁液が得られた。加熱して、系内温度75℃まで昇温し6時間反応させた。さらに1%過硫酸アンモニウム水溶液30部を加え、75℃で6時間熟成してビニル樹脂(スチレンーメタクリル酸一メタクリル酸ブチルーアルキルアリルスルホコハク酸ナトリウム塩の共重合体)の水性分散液[微粒子分散液W1]を得た。[微粒子分散液W1]をELS−800で測定した体積平均粒径は0.08μmであった。[微粒子分散液W1]の一部を乾燥して樹脂分を単離し、該樹脂分のフローテスター測定によるガラス転移温度は74℃であった。
攪拌棒および温度計をセットした反応容器に、水600部、スチレン120部、メタクリル酸100部、アクリル酸ブチル45部、アルキルアリルスルホコハク酸ナトリウム塩(エレミノールJS−2、三洋化成工業製)10部、過硫酸アンモニウム1部を仕込み、400回転/分で20分攪拌したところ、白色の乳濁液が得られた。加熱して、系内温度75℃まで昇温し6時間反応させた。さらに1%過硫酸アンモニウム水溶液30部を加え、75℃で6時間熟成してビニル樹脂(スチレンーメタクリル酸一メタクリル酸ブチルーアルキルアリルスルホコハク酸ナトリウム塩の共重合体)の水性分散液[微粒子分散液W1]を得た。[微粒子分散液W1]をELS−800で測定した体積平均粒径は0.08μmであった。[微粒子分散液W1]の一部を乾燥して樹脂分を単離し、該樹脂分のフローテスター測定によるガラス転移温度は74℃であった。
[製造例1〜18](樹脂(b1)の製造)
温度計、攪枠機および窒素挿入管の付いたオートクレーブ反応槽中に、表1のポリエステルジオール(b11)に示される原材料、および2−エチルヘキシル酸スズ2部を入れ、常圧で160℃3時間開環重合し、さらに常圧、130℃で反応させた。取り出した樹脂を室温まで冷却後、粉砕粒子化しポリヒドロキシカルボン酸骨格を含有するポリエステルジオール(b11)−1〜18を得た。表1のポリエステルジオール(b12)に示される原材料を脱水縮合して得たポリエステルジオール(b12)−1〜18と、先に得られたポリエステルジオール(b11)−1〜18のそれぞれをメチルエチルケトン中に溶解し、続いて伸長剤としてIPDIを加えて、50℃で6時間伸長反応を行い、溶媒を留去して製造例1〜18の[ポリエステルb1−1〜18]を得た。
温度計、攪枠機および窒素挿入管の付いたオートクレーブ反応槽中に、表1のポリエステルジオール(b11)に示される原材料、および2−エチルヘキシル酸スズ2部を入れ、常圧で160℃3時間開環重合し、さらに常圧、130℃で反応させた。取り出した樹脂を室温まで冷却後、粉砕粒子化しポリヒドロキシカルボン酸骨格を含有するポリエステルジオール(b11)−1〜18を得た。表1のポリエステルジオール(b12)に示される原材料を脱水縮合して得たポリエステルジオール(b12)−1〜18と、先に得られたポリエステルジオール(b11)−1〜18のそれぞれをメチルエチルケトン中に溶解し、続いて伸長剤としてIPDIを加えて、50℃で6時間伸長反応を行い、溶媒を留去して製造例1〜18の[ポリエステルb1−1〜18]を得た。
−水系媒体の調製−
イオン交換水300質量部、[微粒子分散液W1]300質量部、及びドデシルベンゼンスルホン酸ナトリウム0.2質量部を混合撹拌して均一に溶解させて水系媒体相を調製した。
イオン交換水300質量部、[微粒子分散液W1]300質量部、及びドデシルベンゼンスルホン酸ナトリウム0.2質量部を混合撹拌して均一に溶解させて水系媒体相を調製した。
−ポリエステルプレポリマーの合成−
冷却管、撹拌機、及び窒素導入管の付いた反応容器内に、ビスフェノールAのエチレンオキシド2モル付加物720質量部、ビスフェノールAのプロピレンオキシド2モル付加物90質量部、テレフタル酸290質量部、無水トリメリット酸25質量部、及びジブチルスズオキシド2質量部を入れ、常圧下、230℃で8時間反応させた後、10〜15mmHgの減圧下で7時間反応させ、中間体ポリエステル樹脂を合成した。得られた中間体ポリエステル樹脂は、数平均分子量(Mn)が2,500、重量平均分子量(Mw)が10,700、ピーク分子量が3,400、ガラス転移温度(Tg)が57℃、酸価が0.4mgKOH/g、水酸基価49mgKOH/gであった。
次に、冷却管、撹拌機、及び窒素導入管の付いた反応容器内に、400質量部の中間体ポリエステル樹脂、イソホロンジイソシアネート95質量部、及び酢酸エチル580質量部を入れ、100℃で8時間反応させ、[ポリエステルプレポリマー]を合成した。得られたポリエステルプレポリマーは、遊離イソシアネートの含有量が1.42質量%であった。
冷却管、撹拌機、及び窒素導入管の付いた反応容器内に、ビスフェノールAのエチレンオキシド2モル付加物720質量部、ビスフェノールAのプロピレンオキシド2モル付加物90質量部、テレフタル酸290質量部、無水トリメリット酸25質量部、及びジブチルスズオキシド2質量部を入れ、常圧下、230℃で8時間反応させた後、10〜15mmHgの減圧下で7時間反応させ、中間体ポリエステル樹脂を合成した。得られた中間体ポリエステル樹脂は、数平均分子量(Mn)が2,500、重量平均分子量(Mw)が10,700、ピーク分子量が3,400、ガラス転移温度(Tg)が57℃、酸価が0.4mgKOH/g、水酸基価49mgKOH/gであった。
次に、冷却管、撹拌機、及び窒素導入管の付いた反応容器内に、400質量部の中間体ポリエステル樹脂、イソホロンジイソシアネート95質量部、及び酢酸エチル580質量部を入れ、100℃で8時間反応させ、[ポリエステルプレポリマー]を合成した。得られたポリエステルプレポリマーは、遊離イソシアネートの含有量が1.42質量%であった。
−マスターバッチの作製−
水1,000質量部、及びDBP吸油量が42ml/100g、pHが9.5のカーボンブラック(Printex35、デグサ社製)530質量部、及び1200質量部の樹脂を、ヘンシェルミキサー(三井鉱山株式会社製)を用いて混合した。二本ロールを用いて、得られた混合物を150℃で30分間混練した後、圧延冷却し、パルペライザー(ホソカワミクロン株式会社製)で粉砕して、マスターバッチを作製した。
水1,000質量部、及びDBP吸油量が42ml/100g、pHが9.5のカーボンブラック(Printex35、デグサ社製)530質量部、及び1200質量部の樹脂を、ヘンシェルミキサー(三井鉱山株式会社製)を用いて混合した。二本ロールを用いて、得られた混合物を150℃で30分間混練した後、圧延冷却し、パルペライザー(ホソカワミクロン株式会社製)で粉砕して、マスターバッチを作製した。
−ケチミン化合物の合成−
撹拌棒、及び温度計をセットした反応容器内に、イソホロンジアミン30質量部、及びメチルエチルケトン70質量部を仕込み、50℃で5時間反応させ、ケチミン化合物を合成した。得られたケチミン化合物は、アミン価が423mgKOH/gであった。
撹拌棒、及び温度計をセットした反応容器内に、イソホロンジアミン30質量部、及びメチルエチルケトン70質量部を仕込み、50℃で5時間反応させ、ケチミン化合物を合成した。得られたケチミン化合物は、アミン価が423mgKOH/gであった。
<合成例1〜18>
L−ラクチド、D−ラクチド、ε−カプロラクトン、オクチル酸錫を表2に示す部数で4つ口フラスコに加え、窒素雰囲気下、190℃で20分間加熱溶融させた。その後、残留ラクチドとカプロラクトンを減圧下留去し、樹脂d−1〜d−18を得た。
L−ラクチド、D−ラクチド、ε−カプロラクトン、オクチル酸錫を表2に示す部数で4つ口フラスコに加え、窒素雰囲気下、190℃で20分間加熱溶融させた。その後、残留ラクチドとカプロラクトンを減圧下留去し、樹脂d−1〜d−18を得た。
[実施例1〜9、比較例1〜9]
−トナー1〜18の作製−
反応容器内に表3に示す部数で[ポリエステルb1−1〜18]、[ポリエステルプレポリマー]、[樹脂d−1〜18]、及び酢酸エチル80質量部を加えて攪拌して、樹脂溶液1〜18を調製した。
−トナー1〜18の作製−
反応容器内に表3に示す部数で[ポリエステルb1−1〜18]、[ポリエステルプレポリマー]、[樹脂d−1〜18]、及び酢酸エチル80質量部を加えて攪拌して、樹脂溶液1〜18を調製した。
次に、樹脂溶液1〜18にカルナウバワックス(分子量1,800、酸価2.7mgKOH/g、針入度1.7mm(40℃))5質量部、及びマスターバッチ5質量部を仕込み、ビーズミルのウルトラビスコミル(アイメックス社製)を用いて、送液速度1kg/時、ディスク周速度6m/秒で、粒径が0.5mmジルコニアビーズを80体積%充填した条件で3パスした。更に、ケチミン化合物2.5質量部を加えて溶解させ、トナー材料液を得た。
次に、容器内に水系媒体150質量部を入れ、TK式ホモミキサー(特殊機化工業株式会社製)を用いて、12,000rpmで攪拌しながら、トナー材料液100質量部を添加し、10分間混合して乳化スラリーを得た。更に、攪拌機、及び温度計をセットしたコルベンに、乳化スラリー100質量部を仕込み、攪拌周速20m/分で攪拌しながら、30℃で10時間脱溶剤し、分散スラリーを得た。
次に、容器内に水系媒体150質量部を入れ、TK式ホモミキサー(特殊機化工業株式会社製)を用いて、12,000rpmで攪拌しながら、トナー材料液100質量部を添加し、10分間混合して乳化スラリーを得た。更に、攪拌機、及び温度計をセットしたコルベンに、乳化スラリー100質量部を仕込み、攪拌周速20m/分で攪拌しながら、30℃で10時間脱溶剤し、分散スラリーを得た。
次に、分散スラリー100質量部を減圧濾過し、得られた濾過ケーキにイオン交換水100質量部を添加し、TK式ホモミキサーを用いて、12,000rpmで10分間混合した後、濾過した。得られた濾過ケーキにイオン交換水300質量部を添加し、TK式ホモミキサーを用いて、12,000rpmで10分間混合した後、濾過する操作を2回行った。得られた濾過ケーキに10質量%水酸化ナトリウム水溶液20部を添加し、TK式ホモミキサーを用いて、12,000rpmで30分間混合した後、減圧濾過した。得られた濾過ケーキにイオン交換水300質量部を添加し、TK式ホモミキサーを用いて、12,000rpmで10分間混合した後、濾過した。得られた濾過ケーキにイオン交換水300質量部を添加し、TK式ホモミキサーを用いて、12,000rpmで10分間混合した後、濾過する操作を2回行った。得られた濾過ケーキに10質量%塩酸20質量部を添加し、TK式ホモミキサーを用いて、12,000rpmで10分間混合した後、フッ素系第四級アンモニウム塩化合物フタージェントF−310(ネオス社製)を、フッ素系四級アンモニウム塩がトナーの固形分100質量部に対して0.1質量部相当になるよう5%メタノール溶液で添加し、10分間攪拌した後、濾過した。得られた濾過ケーキにイオン交換水300質量部を添加し、TK式ホモミキサーを用いて、12,000rpmで10分間混合した後、濾過する操作を2回行い、濾過ケーキを得た。循風乾燥機を用いて、得られた濾過ケーキを40℃で36時間乾燥し、目開きが75μmのメッシュで篩い、トナー母体粒子1〜18を作製した。
−トナーの作製−
得られたトナー母体粒子1〜18を100質量部と、外添剤としての疎水性シリカ(H2000、クラリアントジャパン社製)1.0質量部を、ヘンシェルミキサー(三井鉱山株式会社製)を用いて、周速30m/秒で30秒間混合し、1分間休止する処理を5サイクル行った後、目開きが35μmのメッシュで篩い、トナー1〜18を作製した。
得られたトナー母体粒子1〜18を100質量部と、外添剤としての疎水性シリカ(H2000、クラリアントジャパン社製)1.0質量部を、ヘンシェルミキサー(三井鉱山株式会社製)を用いて、周速30m/秒で30秒間混合し、1分間休止する処理を5サイクル行った後、目開きが35μmのメッシュで篩い、トナー1〜18を作製した。
−キャリアの作製−
トルエン100質量部に、シリコーン樹脂(オルガノストレートシリコーン)100質量部、γ−(2−アミノエチル)アミノプロピルトリメトキシシラン5質量部、及びカーボンブラック10質量部を添加し、ホモミキサーで20分間分散させて、樹脂層塗布液を調製した。流動床型コーティング装置を用いて、体積平均粒径が50μmの球状マグネタイト1,000質量部の表面に樹脂層塗布液を塗布して、キャリアを作製した。
トルエン100質量部に、シリコーン樹脂(オルガノストレートシリコーン)100質量部、γ−(2−アミノエチル)アミノプロピルトリメトキシシラン5質量部、及びカーボンブラック10質量部を添加し、ホモミキサーで20分間分散させて、樹脂層塗布液を調製した。流動床型コーティング装置を用いて、体積平均粒径が50μmの球状マグネタイト1,000質量部の表面に樹脂層塗布液を塗布して、キャリアを作製した。
−現像剤の作製−
トナー1〜18のそれぞれを5質量部と、前記キャリア95質量部とを混合して、実施例1〜9及び比較例1〜9の各現像剤を作製した。
トナー1〜18のそれぞれを5質量部と、前記キャリア95質量部とを混合して、実施例1〜9及び比較例1〜9の各現像剤を作製した。
次に、得られた各現像剤を用いて、以下のようにして定着性、耐熱保存性、及びヘイズ度を評価した。結果を表4に示す。
[実施例10〜14]
製造例1〜4における樹脂溶液1〜4に、少なくとも一部をベンジル基を有する第4級アンモニウム塩で変性した層状無機鉱物モンモリロナイト(クレイトンAPA Southern Clay Products社製)3部を添加し、T.K.ホモディスパー(特殊機化工業社製)を用いて、30分間攪拌した事以外は製造例1〜4と同様にして、製造例19〜22の[ポリエステルb1−19〜22]を得て、このポリエステルb1−19〜22を用いて、実施例1〜4と同様にトナー19〜22を得た。
このトナーについての評価結果を実施例10〜13として表4に示す。
製造例1〜4における樹脂溶液1〜4に、少なくとも一部をベンジル基を有する第4級アンモニウム塩で変性した層状無機鉱物モンモリロナイト(クレイトンAPA Southern Clay Products社製)3部を添加し、T.K.ホモディスパー(特殊機化工業社製)を用いて、30分間攪拌した事以外は製造例1〜4と同様にして、製造例19〜22の[ポリエステルb1−19〜22]を得て、このポリエステルb1−19〜22を用いて、実施例1〜4と同様にトナー19〜22を得た。
このトナーについての評価結果を実施例10〜13として表4に示す。
<定着性>
定着ローラとして、テフロン(登録商標)ローラを使用した電子写真方式の複写機(MF−200、株式会社リコー製)の定着部を改造した装置を用いて、定着ベルトの温度を変化させて、普通紙及び厚紙の転写紙タイプ6200(株式会社リコー製)及び複写印刷用紙<135>(NBSリコー社製)に、トナーの付着量が0.85±0.1mg/cm2のベタ画像を形成した。このとき、普通紙でホットオフセットの発生しない上限温度を定着上限温度とした。また、厚紙でベタ画像をパットで擦った後の画像濃度の残存率が70%以上となる下限温度を定着下限温度とした。
〔定着上限温度の評価基準〕
A:定着上限温度が190℃以上
B:定着上限温度が180℃以上190℃未満
C:定着上限温度が170℃以上180℃未満
D:定着上限温度が170℃未満
〔定着下限温度の評価基準〕
A:定着下限温度が135℃未満
B:定着下限温度が135℃以上145℃未満
C:定着下限温度が145℃以上155℃未満
D:定着下限温度が155℃以上
定着ローラとして、テフロン(登録商標)ローラを使用した電子写真方式の複写機(MF−200、株式会社リコー製)の定着部を改造した装置を用いて、定着ベルトの温度を変化させて、普通紙及び厚紙の転写紙タイプ6200(株式会社リコー製)及び複写印刷用紙<135>(NBSリコー社製)に、トナーの付着量が0.85±0.1mg/cm2のベタ画像を形成した。このとき、普通紙でホットオフセットの発生しない上限温度を定着上限温度とした。また、厚紙でベタ画像をパットで擦った後の画像濃度の残存率が70%以上となる下限温度を定着下限温度とした。
〔定着上限温度の評価基準〕
A:定着上限温度が190℃以上
B:定着上限温度が180℃以上190℃未満
C:定着上限温度が170℃以上180℃未満
D:定着上限温度が170℃未満
〔定着下限温度の評価基準〕
A:定着下限温度が135℃未満
B:定着下限温度が135℃以上145℃未満
C:定着下限温度が145℃以上155℃未満
D:定着下限温度が155℃以上
<画像濃度>
タンデム型カラー画像形成装置(imagio Neo 450、株式会社リコー製)を用いて、定着ローラの表面温度を160±2℃にして、複写紙TYPE 6000<70W>(株式会社リコー製)に、トナーの付着量が1.00±0.05mg/cm2のベタ画像を形成した。得られたベタ画像の任意の6箇所の画像濃度を、分光計(938 スペクトロデンシトメータ、X−Rite社製)を用いて測定し、画像濃度(平均値)を求め、下記基準で評価した。
〔評価基準〕
A:画像濃度が2.0以上
B:画像濃度が1.70以上2.0未満
C:画像濃度が1.70未満
タンデム型カラー画像形成装置(imagio Neo 450、株式会社リコー製)を用いて、定着ローラの表面温度を160±2℃にして、複写紙TYPE 6000<70W>(株式会社リコー製)に、トナーの付着量が1.00±0.05mg/cm2のベタ画像を形成した。得られたベタ画像の任意の6箇所の画像濃度を、分光計(938 スペクトロデンシトメータ、X−Rite社製)を用いて測定し、画像濃度(平均値)を求め、下記基準で評価した。
〔評価基準〕
A:画像濃度が2.0以上
B:画像濃度が1.70以上2.0未満
C:画像濃度が1.70未満
<ヘイズ度>
定着性評価の画像サンプルとして単色画像サンプルを、定着ベルトの温度を160℃にして、OHPシートのタイプPPC−DX(株式会社リコー製)に現像したサンプルのヘイズ度を、直読ヘイズ度コンピュータ(HGM−2DP型、スガ試験機株式会社製)を用いて測定した。ヘイズ度は、曇り度とも言われ、トナーの透明性を示す尺度として測定され、この値が低い程、透明性が高く、OHPシートを用いた場合の発色性が良好となる。
〔評価基準〕
A:ヘイズ度が20%未満
B:ヘイズ度が20%以上30%未満
C:ヘイズ度が30%以上
定着性評価の画像サンプルとして単色画像サンプルを、定着ベルトの温度を160℃にして、OHPシートのタイプPPC−DX(株式会社リコー製)に現像したサンプルのヘイズ度を、直読ヘイズ度コンピュータ(HGM−2DP型、スガ試験機株式会社製)を用いて測定した。ヘイズ度は、曇り度とも言われ、トナーの透明性を示す尺度として測定され、この値が低い程、透明性が高く、OHPシートを用いた場合の発色性が良好となる。
〔評価基準〕
A:ヘイズ度が20%未満
B:ヘイズ度が20%以上30%未満
C:ヘイズ度が30%以上
ポリヒドロキシカルボン酸骨格を含有するポリエステルジオール、含まないジオールと併用して適切な範囲のラセミ化率を持つポリ乳酸を使用したトナーは、良好な定着性を持
ち、画像濃度、ヘイズ度も良好に得られた。併用するポリ乳酸の光学純度や含有量が適切でない場合、定着性、特に低温定着性に悪化が見られた。
ち、画像濃度、ヘイズ度も良好に得られた。併用するポリ乳酸の光学純度や含有量が適切でない場合、定着性、特に低温定着性に悪化が見られた。
本発明の画像形成用トナーは熱特性(特に低温定着性)に優れており、かつ良好な画質が得られるため、複写機、静電印刷、プリンター、ファクシミリ、静電記録等の電子写真方式の画像形成に用いられるトナーとして好適に使用することができる。
1 プロセスカートリッジ
2 感光体
3 帯電手段
4 現像手段
5 クリーニング手段
10 中間転写体
14・15・16 支持ローラ
17 中間転写体クリーニング装置
18 画像形成手段
20 タンデム画像形成部
22 2次転写装置
24 2次転写ベルト
25 定着装置
26 定着ベルト
27 加圧ローラ
28 シート反転装置
30 原稿台
32 コンタクトガラス
33 第1走行体
34 第2走行体
35 結像レンズ
36 読取りセンサ
40 感光体
42 給紙ローラ
43 ペーパーバンク
44 給紙カセット
45 分離ローラ
46 給紙路
47 搬送ローラ
48 給紙路
49 レジストローラ
55 切換爪
56排出ローラ
57 排紙トレイ
60 帯電装置
61 現像装置
62 1次転写装置
64 除電装置
63 感光体クリーニング装置
61現像装置
86 トナー補給側攪拌室
87 現像側攪拌室
68 現像スリーブ
75 トナー濃度センサ
77 ドクタブレード
87 第二の現像剤撹拌室
80 仕切り板
100 複写装置本体
200 給紙テーブル
300 スキャナ
400 原稿自動搬送装置(ADF)
2 感光体
3 帯電手段
4 現像手段
5 クリーニング手段
10 中間転写体
14・15・16 支持ローラ
17 中間転写体クリーニング装置
18 画像形成手段
20 タンデム画像形成部
22 2次転写装置
24 2次転写ベルト
25 定着装置
26 定着ベルト
27 加圧ローラ
28 シート反転装置
30 原稿台
32 コンタクトガラス
33 第1走行体
34 第2走行体
35 結像レンズ
36 読取りセンサ
40 感光体
42 給紙ローラ
43 ペーパーバンク
44 給紙カセット
45 分離ローラ
46 給紙路
47 搬送ローラ
48 給紙路
49 レジストローラ
55 切換爪
56排出ローラ
57 排紙トレイ
60 帯電装置
61 現像装置
62 1次転写装置
64 除電装置
63 感光体クリーニング装置
61現像装置
86 トナー補給側攪拌室
87 現像側攪拌室
68 現像スリーブ
75 トナー濃度センサ
77 ドクタブレード
87 第二の現像剤撹拌室
80 仕切り板
100 複写装置本体
200 給紙テーブル
300 スキャナ
400 原稿自動搬送装置(ADF)
Claims (17)
- 第1の樹脂(a)を含有する樹脂粒子(A)もしくは樹脂(a)を含有する被膜(P)が、第2の樹脂(b)、及び第3の樹脂(d)を含有する樹脂粒子(B)の表面に付着されてなる構造の樹脂粒子(C)からなるトナーであって、樹脂(b)が、ポリヒドロキシカルボン酸骨格を含有するポリエステルジオール(b11)と(b11)以外のポリエステルジオール(b12)とを、伸長剤とともに反応させて得られる直鎖状のポリエステル系樹脂(b1)を含有し、樹脂(d)が光学活性モノマーからなるポリヒドロキシカルボン酸骨格を含有し、前記光学活性モノマーからなるポリヒドロキシカルボン酸骨格がモノマー成分換算で光学純度X(%)=|X(L体)−X(D体)|〔ただし、X(L体)は光学活性モノマー換算でのL体比率(モル%)、X(D体)は光学活性モノマー換算でのD体比率(モル%)を表す〕が80%以下であることを特徴とするトナー。
- 前記樹脂(d)のポリヒドロキシカルボン酸骨格が炭素数2〜6のヒドロキシカルボン酸が(共)重合した骨格であることを特徴とする請求項1に記載のトナー。
- 前記ポリヒドロキシカルボン酸骨格を含有するポリエステルジオール(b11)と樹脂(d)の質量比が25:75〜75:25であることを特徴とする請求項1または2に記載のトナー。
- 前記ポリヒドロキシカルボン酸骨格を含有するポリエステルジオール(b11)と(b11)以外のポリエステルジオール(b12)との質量比が31:69〜90:10であることを特徴とする請求項1〜3のいずれかに記載のトナー。
- 前記樹脂(a)が、ビニル樹脂、ポリエステル樹脂、ポリウレタン樹脂、およびエポキシ樹脂から選ばれる少なくとも1種の樹脂であることを特徴とする請求項1〜4のいずれかに記載のトナー。
- 前記樹脂(b)が、直鎖状のポリエステル系樹脂(b1)、および、樹脂粒子(C)形成工程で前駆体(b0)が反応して得られる樹脂(b2)を含有することを特徴とする請求項1〜5のいずれかに記載のトナー。
- 前記(b11)のポリヒドロキシカルボン酸骨格が炭素数2〜6のヒドロキシカルボン酸が(共)重合した骨格であることを特徴とする請求項1〜6のいずれかに記載のトナー。
- 前記(b11)のポリヒドロキシカルボン酸骨格を形成するモノマーが光学活性モノマーであり、モノマー成分換算で光学純度X(%)=|X(L体)−X(D体)|〔ただし、X(L体)は光学活性モノマー換算でのL体比率(モル%)、X(D体)は光学活性モノマー換算でのD体比率(モル%)を表す〕が80%以下であることを特徴とする請求項1〜7のいずれかに記載のトナー。
- 前記(b11)のポリヒドロキシカルボン酸骨格を形成するモノマーが光学活性モノマーであり、樹脂(b)中の樹脂(b1)の含有量Y(質量%)と、モノマー成分換算における光学純度X(モル%)=|X(L体)−X(D体)|〔ただし、X(L体)は光学活性モノマー換算でのL体比率(モル%)、X(D体)は光学活性モノマー換算でのD体比率(モル%)を表す〕の関係がY≦−1.5X+220(80<X≦100)を満たすことを特徴とする請求項1〜7のいずれかに記載のトナー。
- 前記トナーが帯電制御剤を含有することを特徴とする請求項1〜9のいずれかに記載のトナー。
- 前記帯電制御剤が含フッ素四級アンモニウム塩であることを特徴とする請求項10に記載のトナー。
- 前記トナーが着色剤を含有することを特徴とする請求項1〜11のいずれかに記載のトナー。
- 前記トナーが離型剤を含有することを特徴とする請求項1〜12に記載のトナー。
- 前記トナーが層状無機鉱物が有する層間のイオンの少なくとも一部を有機物イオンで変性した層状無機鉱物を含有することを特徴とする請求項1〜13のいずれかに記載のトナー。
- 静電潜像担持体と、該静電潜像担持体表面を帯電させる帯電手段と、帯電された静電潜像担持体表面を露光して静電潜像を形成する露光手段と、前記静電潜像をトナーを用いて現像して可視像を形成する現像手段と、前記可視像を記録媒体に転写する転写手段と、前記記録媒体に転写された転写像を定着させる定着手段とを少なくとも有する画像形成装置であって、前記トナーが、請求項1〜14のいずれかに記載のトナーであることを特徴とする画像形成装置。
- 静電潜像担持体表面を帯電させる帯電工程と、帯電された静電潜像担持体表面を露光して静電潜像を形成する露光工程と、前記静電潜像をトナーを用いて現像して可視像を形成する現像工程と、前記可視像を記録媒体に転写する転写工程と、前記記録媒体に転写された転写像を定着させる定着工程とを少なくとも含む画像形成方法であって、前記トナーが、請求項1〜14のいずれかに記載のトナーであることを特徴とする画像形成方法。
- 静電潜像担持体と、該静電潜像担持体上に形成された静電潜像をトナーを用いて現像し可視像を形成する現像手段とを少なくとも有し、画像形成装置本体に着脱可能なプロセスカートリッジであって、前記トナーが、請求項1〜14のいずれかに記載のトナーであることを特徴とするプロセスカートリッジ。
Priority Applications (1)
| Application Number | Priority Date | Filing Date | Title |
|---|---|---|---|
| JP2008265420A JP5288328B2 (ja) | 2008-10-14 | 2008-10-14 | トナー |
Applications Claiming Priority (1)
| Application Number | Priority Date | Filing Date | Title |
|---|---|---|---|
| JP2008265420A JP5288328B2 (ja) | 2008-10-14 | 2008-10-14 | トナー |
Publications (2)
| Publication Number | Publication Date |
|---|---|
| JP2010096844A true JP2010096844A (ja) | 2010-04-30 |
| JP5288328B2 JP5288328B2 (ja) | 2013-09-11 |
Family
ID=42258591
Family Applications (1)
| Application Number | Title | Priority Date | Filing Date |
|---|---|---|---|
| JP2008265420A Expired - Fee Related JP5288328B2 (ja) | 2008-10-14 | 2008-10-14 | トナー |
Country Status (1)
| Country | Link |
|---|---|
| JP (1) | JP5288328B2 (ja) |
Cited By (5)
| Publication number | Priority date | Publication date | Assignee | Title |
|---|---|---|---|---|
| JP2012037819A (ja) * | 2010-08-11 | 2012-02-23 | Ricoh Co Ltd | トナー、及び、そのトナーの製造方法、並びに、そのトナーを用いた画像形成装置、画像形成方法及びプロセスカートリッジ |
| JP2012063471A (ja) * | 2010-09-15 | 2012-03-29 | Ricoh Co Ltd | 電子写真用トナー、該トナーを用いた現像剤、画像形成装置、画像形成方法、及びプロセスカートリッジ |
| JP2012118494A (ja) * | 2010-11-11 | 2012-06-21 | Ricoh Co Ltd | 電子写真用トナー、該トナーを用いた現像剤、画像形成装置、画像形成方法、及びプロセスカートリッジ |
| US9901344B2 (en) | 2008-02-14 | 2018-02-27 | Ethicon Llc | Stapling assembly |
| CN116642927A (zh) * | 2023-06-08 | 2023-08-25 | 湖南科伦制药有限公司 | 一种乳糖酸红霉素制备过程中乳糖酸纯度的检测方法 |
Citations (14)
| Publication number | Priority date | Publication date | Assignee | Title |
|---|---|---|---|---|
| JPH06308765A (ja) * | 1993-02-26 | 1994-11-04 | Mitsui Toatsu Chem Inc | 電子写真トナー用樹脂 |
| JPH11190915A (ja) * | 1997-10-07 | 1999-07-13 | Ricoh Co Ltd | 電子写真用トナー及びその製造方法 |
| JP2001166537A (ja) * | 1999-12-10 | 2001-06-22 | Tomoegawa Paper Co Ltd | 電子写真用トナー |
| JP2004012834A (ja) * | 2002-06-07 | 2004-01-15 | Mitsui Chemicals Inc | トナー用バインダー樹脂組成物ならびに静電荷現像電子写真用トナー |
| JP2004177554A (ja) * | 2002-11-26 | 2004-06-24 | Dainippon Ink & Chem Inc | 静電荷像現像用トナーの製造方法 |
| JP2006091278A (ja) * | 2004-09-22 | 2006-04-06 | Sharp Corp | 電子写真用トナー |
| JP2006284614A (ja) * | 2005-03-31 | 2006-10-19 | Ricoh Co Ltd | 静電荷現像用トナー、現像剤、画像形成方法および画像形成装置 |
| JP2006309203A (ja) * | 2005-03-31 | 2006-11-09 | Sanyo Chem Ind Ltd | トナーバインダー |
| JP2007047764A (ja) * | 2005-07-15 | 2007-02-22 | Ricoh Co Ltd | トナー、現像剤、現像方法及びトナー収納容器 |
| JP2007114607A (ja) * | 2005-10-21 | 2007-05-10 | Sharp Corp | 非磁性一成分現像用トナー |
| JP2009037206A (ja) * | 2007-07-06 | 2009-02-19 | Sharp Corp | トナーおよびその製造方法、二成分現像剤、現像装置ならびに画像形成装置 |
| JP2009058628A (ja) * | 2007-08-30 | 2009-03-19 | Ricoh Co Ltd | トナー及びその製造方法、並びに現像剤、現像剤入り容器、プロセスカートリッジ、画像形成方法、及び画像形成装置 |
| JP2010014758A (ja) * | 2008-07-01 | 2010-01-21 | Ricoh Co Ltd | 画像形成用トナー、画像形成装置、画像形成方法、およびプロセスカートリッジ |
| JP2010014757A (ja) * | 2008-07-01 | 2010-01-21 | Ricoh Co Ltd | トナー |
-
2008
- 2008-10-14 JP JP2008265420A patent/JP5288328B2/ja not_active Expired - Fee Related
Patent Citations (14)
| Publication number | Priority date | Publication date | Assignee | Title |
|---|---|---|---|---|
| JPH06308765A (ja) * | 1993-02-26 | 1994-11-04 | Mitsui Toatsu Chem Inc | 電子写真トナー用樹脂 |
| JPH11190915A (ja) * | 1997-10-07 | 1999-07-13 | Ricoh Co Ltd | 電子写真用トナー及びその製造方法 |
| JP2001166537A (ja) * | 1999-12-10 | 2001-06-22 | Tomoegawa Paper Co Ltd | 電子写真用トナー |
| JP2004012834A (ja) * | 2002-06-07 | 2004-01-15 | Mitsui Chemicals Inc | トナー用バインダー樹脂組成物ならびに静電荷現像電子写真用トナー |
| JP2004177554A (ja) * | 2002-11-26 | 2004-06-24 | Dainippon Ink & Chem Inc | 静電荷像現像用トナーの製造方法 |
| JP2006091278A (ja) * | 2004-09-22 | 2006-04-06 | Sharp Corp | 電子写真用トナー |
| JP2006284614A (ja) * | 2005-03-31 | 2006-10-19 | Ricoh Co Ltd | 静電荷現像用トナー、現像剤、画像形成方法および画像形成装置 |
| JP2006309203A (ja) * | 2005-03-31 | 2006-11-09 | Sanyo Chem Ind Ltd | トナーバインダー |
| JP2007047764A (ja) * | 2005-07-15 | 2007-02-22 | Ricoh Co Ltd | トナー、現像剤、現像方法及びトナー収納容器 |
| JP2007114607A (ja) * | 2005-10-21 | 2007-05-10 | Sharp Corp | 非磁性一成分現像用トナー |
| JP2009037206A (ja) * | 2007-07-06 | 2009-02-19 | Sharp Corp | トナーおよびその製造方法、二成分現像剤、現像装置ならびに画像形成装置 |
| JP2009058628A (ja) * | 2007-08-30 | 2009-03-19 | Ricoh Co Ltd | トナー及びその製造方法、並びに現像剤、現像剤入り容器、プロセスカートリッジ、画像形成方法、及び画像形成装置 |
| JP2010014758A (ja) * | 2008-07-01 | 2010-01-21 | Ricoh Co Ltd | 画像形成用トナー、画像形成装置、画像形成方法、およびプロセスカートリッジ |
| JP2010014757A (ja) * | 2008-07-01 | 2010-01-21 | Ricoh Co Ltd | トナー |
Cited By (5)
| Publication number | Priority date | Publication date | Assignee | Title |
|---|---|---|---|---|
| US9901344B2 (en) | 2008-02-14 | 2018-02-27 | Ethicon Llc | Stapling assembly |
| JP2012037819A (ja) * | 2010-08-11 | 2012-02-23 | Ricoh Co Ltd | トナー、及び、そのトナーの製造方法、並びに、そのトナーを用いた画像形成装置、画像形成方法及びプロセスカートリッジ |
| JP2012063471A (ja) * | 2010-09-15 | 2012-03-29 | Ricoh Co Ltd | 電子写真用トナー、該トナーを用いた現像剤、画像形成装置、画像形成方法、及びプロセスカートリッジ |
| JP2012118494A (ja) * | 2010-11-11 | 2012-06-21 | Ricoh Co Ltd | 電子写真用トナー、該トナーを用いた現像剤、画像形成装置、画像形成方法、及びプロセスカートリッジ |
| CN116642927A (zh) * | 2023-06-08 | 2023-08-25 | 湖南科伦制药有限公司 | 一种乳糖酸红霉素制备过程中乳糖酸纯度的检测方法 |
Also Published As
| Publication number | Publication date |
|---|---|
| JP5288328B2 (ja) | 2013-09-11 |
Similar Documents
| Publication | Publication Date | Title |
|---|---|---|
| JP5146670B2 (ja) | トナー | |
| JP5560985B2 (ja) | トナー、並びに現像剤、画像形成方法及び画像形成装置 | |
| KR101191000B1 (ko) | 화상 형성용 토너, 화상 형성 장치, 화상 형성 방법 및 프로세스 카트리지 | |
| JP6375625B2 (ja) | 画像形成装置 | |
| US8865384B2 (en) | Electrophotographic toner, developer, and image forming apparatus | |
| JP5494922B2 (ja) | トナー、現像剤、トナー入り容器、プロセスカートリッジ、画像形成方法及び画像形成装置 | |
| JP5760666B2 (ja) | トナー、現像剤、及び画像形成方法 | |
| JP5495028B2 (ja) | トナー、現像剤、及び画像形成方法 | |
| US9470996B2 (en) | Toner, method of manufacturing the toner, and developer, image forming apparatus, image forming method, and process cartridge using the toner | |
| JP2011237663A (ja) | トナー、現像剤、及び画像形成方法 | |
| KR101729875B1 (ko) | 토너, 현상제, 화상 형성 장치 및 프로세스 카트리지 | |
| JP2014077973A (ja) | トナー、現像剤、及び画像形成装置 | |
| JP2014235400A (ja) | 画像形成装置及び画像形成方法 | |
| JP5446642B2 (ja) | 静電荷潜像現像用トナーとその製造方法、該トナーを用いた現像剤、画像形成装置、画像形成方法、プロセスカートリッジ | |
| JP4806596B2 (ja) | トナー及びその製造方法、現像剤、画像形成方法並びにトナー収納容器 | |
| JP5288328B2 (ja) | トナー | |
| JP2014048638A (ja) | トナー、現像剤、及び画像形成装置 | |
| JP5664615B2 (ja) | トナー、現像剤、及び画像形成装置 | |
| JP4440155B2 (ja) | 静電荷現像用トナー、現像剤、画像形成方法および画像形成装置 | |
| JP6028421B2 (ja) | 電子写真用トナーの製造方法 | |
| JP2012168219A (ja) | トナー、現像剤、画像形成方法及び画像形成装置 | |
| JP5509797B2 (ja) | トナー、並びに該トナーを用いた現像剤、画像形成方法、画像形成装置及びプロセスカートリッジ | |
| JP5464256B2 (ja) | 画像形成用トナー、画像形成装置、画像形成方法、およびプロセスカートリッジ | |
| JP5142031B2 (ja) | 画像形成用トナー、画像形成装置、画像形成方法、およびプロセスカートリッジ | |
| JP2012088439A (ja) | トナー及び現像剤、並びにこれを用いた画像形成装置、画像形成方法、プロセスカートリッジ |
Legal Events
| Date | Code | Title | Description |
|---|---|---|---|
| A621 | Written request for application examination |
Free format text: JAPANESE INTERMEDIATE CODE: A621 Effective date: 20110905 |
|
| A977 | Report on retrieval |
Free format text: JAPANESE INTERMEDIATE CODE: A971007 Effective date: 20130222 |
|
| TRDD | Decision of grant or rejection written | ||
| A01 | Written decision to grant a patent or to grant a registration (utility model) |
Free format text: JAPANESE INTERMEDIATE CODE: A01 Effective date: 20130513 |
|
| A61 | First payment of annual fees (during grant procedure) |
Free format text: JAPANESE INTERMEDIATE CODE: A61 Effective date: 20130526 |
|
| LAPS | Cancellation because of no payment of annual fees |
