JP2010095422A - 水素製造装置 - Google Patents

水素製造装置 Download PDF

Info

Publication number
JP2010095422A
JP2010095422A JP2008269253A JP2008269253A JP2010095422A JP 2010095422 A JP2010095422 A JP 2010095422A JP 2008269253 A JP2008269253 A JP 2008269253A JP 2008269253 A JP2008269253 A JP 2008269253A JP 2010095422 A JP2010095422 A JP 2010095422A
Authority
JP
Japan
Prior art keywords
hydrogen
separation membrane
hydrogen separation
production apparatus
temperature
Prior art date
Legal status (The legal status is an assumption and is not a legal conclusion. Google has not performed a legal analysis and makes no representation as to the accuracy of the status listed.)
Granted
Application number
JP2008269253A
Other languages
English (en)
Other versions
JP5263769B2 (ja
Inventor
Masateru Nishioka
将輝 西岡
Koichi Sato
剛一 佐藤
Satoshi Hamakawa
聡 濱川
Tomoya Inoue
朋也 井上
Yoshito Wakui
喜人 和久井
Yasuhisa Hasegawa
泰久 長谷川
Current Assignee (The listed assignees may be inaccurate. Google has not performed a legal analysis and makes no representation or warranty as to the accuracy of the list.)
National Institute of Advanced Industrial Science and Technology AIST
Original Assignee
National Institute of Advanced Industrial Science and Technology AIST
Priority date (The priority date is an assumption and is not a legal conclusion. Google has not performed a legal analysis and makes no representation as to the accuracy of the date listed.)
Filing date
Publication date
Application filed by National Institute of Advanced Industrial Science and Technology AIST filed Critical National Institute of Advanced Industrial Science and Technology AIST
Priority to JP2008269253A priority Critical patent/JP5263769B2/ja
Publication of JP2010095422A publication Critical patent/JP2010095422A/ja
Application granted granted Critical
Publication of JP5263769B2 publication Critical patent/JP5263769B2/ja
Expired - Fee Related legal-status Critical Current
Anticipated expiration legal-status Critical

Links

Images

Landscapes

  • Hydrogen, Water And Hydrids (AREA)
  • Separation Using Semi-Permeable Membranes (AREA)

Abstract

【課題】分散型、車載型に用いることが出来る小型の水素製造装置として、(1)不純物除去の性能が高く、(2)コールドスタート時の起動が早く、(3)負荷変動に対しても速やかに供給量を調整することが出来る、水素製造装置を提供する。
【解決手段】水素分離膜1を用いて原料ガス4から水素5を分離する水素製造装置であって、前記水素分離膜にマイクロ波を照射する手段7を有する水素製造装置。
【選択図】図1

Description

本発明は、水素分離膜を用いて水素精製を行う水素製造装置と水素製造方法に関する。
水素利用が拡大する最近の社会情況において、天然ガスやバイオマスなど多種多様な原料を改質して燃料電池を始めとする各種の機器に必要な、純度の高い水素を供給できる分散型・コンパクトシステムが望まれている。しかしながら原料の多様化にともない、原料ガス中に水蒸気や二酸化炭素などの妨害ガスが水素製造時に大量に発生するため、パラジウム膜などの水素分離膜による不純物除去による高純度化の工程が必要となっている。特に、家庭用や車載用の燃料電池は、負荷変動が大きく、頻繁な始動・停止が行われるため、水素精製工程の迅速な起動や、水素精製量の迅速な制御が要求されている。
一方、マイクロ波加熱を行う技術が近年提案されている。例えば、円筒内の流体をマイクロ波照射して均一に加熱する装置がある(特許文献1)。しかし、この技術は誘電体円管を均一に加熱するものである。この技術では、水素分離膜としての機能を有するパラジウム膜などの金属薄膜は、マイクロ波を反射してしまうため加熱することができない。
特開2005−322582号公報
本発明は、分散型、車載型に用いることが出来る小型の水素製造装置として、(1)不純物除去の性能が高く、(2)コールドスタート時の起動が早く、(3)負荷変動に対しても速やかに供給量を調整、制御することが出来る、水素製造装置を提供することを目的とする。
本発明の課題は、下記の手段によって解決された。
(1)水素分離膜を用いて原料ガスから水素を分離する水素製造装置であって、前記水素分離膜にマイクロ波を照射する手段を有することを特徴とする水素製造装置。
(2)前記水素分離膜が金属薄膜である(1)に記載の水素製造装置。
(3)前記水素分離膜が、円筒状の支持体の外表面または内表面に水素分離性能を有する金属薄膜を形成したものである(1)又は(2)に記載の水素製造装置。
(4)前記マイクロ波を照射する手段が共振空胴構造を有する(1)〜(3)のいずれか1項に記載の水素製造装置。
(5)前記共振空胴構造として、円筒型共振空胴を有し、その内部にTM0n0モード(nは1以上の任意の整数)定在波、もしくは、同軸型共振空胴モードの定在波を励起するマイクロ波を照射する手段を有している(4)に記載の水素製造装置。
(6)水素分離膜を用いて原料ガスから水素を分離する水素製造方法であって、前記水素分離膜にマイクロ波を照射することを特徴とする水素製造方法。
本発明の水素製造装置は、高い不純物除去性能を有し、高速に起動することができ、さらに高精度に水素製造量を調整できる。水素製造量を応答速度よく制御することができるうえ、高いエネルギー効率で運転することができるという優れた効果を奏する。
本発明の水素製造装置は、水素分離膜と、当該水素分離膜に均一にマイクロ波を照射するマイクロ波照射手段を有する。
水素分離膜としては、シリカ膜やカーボン膜、または、パラジウム、パラジウム合金、ニッケルジルコニア合金などの金属膜が利用される。分離性能や透過量の観点からは金属膜が好ましく、パラジウム膜、パラジウム合金膜が特に好ましい。膜厚は、通常、水素分離膜(水素透過膜)として用いられる厚さを特に制限なく選択することができるが、透過性能からは薄い膜が好ましく、耐久性の観点からは厚いものが望ましいとされている。マイクロ波加熱するうえでは0.1〜20μmが好ましく、0.1〜10μmがより好ましい。
本発明において水素分離膜は、円筒状の支持体の外表面もしくは内表面に形成したものであることが好ましい。支持体は、多孔質などの水素を透過する材質のものを用いる。具体的には、多孔質α−アルミナ、多孔質ジルコニアなどの多孔質セラミックや、多孔質ステンレスなどの多孔質金属などがあげられ、多孔質セラミックが好ましい。円筒の大きさ、形状は、装置の目的等に応じ適宜定めることができる。
本発明で用いるマイクロ波照射手段は、金属薄膜も加熱することができることを特徴とする。例えば、マイクロ波が導入される空間を円筒状の空胴共振器内に形成し、その中に水素分離膜を同軸的に配設することが好ましい。空胴共振器内に、大きさが円周に沿って一定で軸方向に対しても変化せず、向きが中心軸に平行な軸対称マイクロ波電界を発生させることによって水素分離膜を加熱する、共振空胴構造を用いることができる。
この共振空胴構造として、円筒型共振空胴を有し、その内部にTM0n0モード(nは1以上の任意の整数で、半径方向に対し変化する次数を表し、好ましくは1である)定在波、もしくは、同軸型共振空胴モードの定在波を励起するマイクロ波を照射する手段を有することが好ましい。水素分離膜として有機系およびセラミック系の分離膜を用いる場合は、円筒型共振空胴が望ましく、金属膜を用いる場合は同軸型共振空胴を用いることが望ましい。なお、マイクロ波照射手段は円筒型共振空胴や同軸型共振空胴に限定されるものではなく、これ以外のマイクロ波照射手段も用いることができる。
マイクロ波照射の量は、水素分離膜の温度に合わせて自動的に調整されることが好ましい。照射方法は、連続的もしくはパルス的に照射することで水素分離膜の温度を安定に維持できることが好ましい。波長は900MHz〜26GHzが好ましく、ISMバンドとして工業的に使用が許可されている902-928 MHz、2.4-2.5 GHz、5.725-5.875 GHz、24-24.25 GHzがより好ましい。
水素精製量(水素製造量ともいう)の制御は、水素分離膜の温度検知を行い、これをもとにマイクロ波出力を調整して、加熱制御することにより行える。加えて、水素製造量検知を行えば、より高精度の制御が行える。
本発明の水素製造装置においては、不純物として水素と分離除去できる成分としては、窒素、二酸化炭素、水などを分離できる。原料ガスとしては、炭化水素からの改質ガスなどを用いることができる。
次に図面を参照して本発明をさらに詳細に説明する。
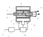
図1は、本発明の一実施形態を模式的に断面図で示した説明図である。不純物を含む水素ガス4を、円筒型(チューブ状)の水素分離膜1の内側に供給すると、水素は水素分離膜1を選択的に透過するため、水素分離膜1の外側に水素のみを導き出すことができる。内側には不純物が残るため、出口では高純度水素5と、不純物ガス6を分離することができる。
本実施形態における水素分離膜1はパラジウム薄膜である。このパラジウム薄膜は金属であるため、マイクロ波を反射してしまう。そこで、本実施形態においては金属薄膜を加熱する方法として、同軸型空胴共振器2を用いる。特定の周波数を有するマイクロ波をマイクロ波供給導波管7から照射すると、金属製の水素分離膜1と、同軸型空胴共振器2の間で、定在波が形成される。この定在波の電界強度は、水素分離膜1と同軸型空胴共振器2表面ではほぼ0で、その中間の位置に極大を持つ。一方、磁界強度は水素分離膜1表面近傍で最大強度となり、電界強度の強いところで極小となる。また、水素分離膜表面軸方向では磁界強度分布は一定である。つまり、金属薄膜表面には強く、なおかつ金属表面では均一な磁界が形成される。この磁界により、金属内に電流が誘導され、金属薄膜はそれ自体が発熱する。薄膜自体が加熱されるため、水素分離膜は高速に温度制御することができる。
また、本発明においては必要に応じ電磁界強度検出器を用いることができる。本実施形態の装置に設けられた電磁界強度検出器9は、前述の定在波の形成を検出する役目を有する。また、この検出結果をもとに、適切な周波数を持つマイクロ波発振を制御することで、安定な定在波を維持させることができる。
水素分離膜の表面温度を温度計測器8により検出し、その情報をもとにマイクロ波発信器・制御器10により、マイクロ波照射量を調整することで、高精度に水素分離膜の温度を制御することができる。水素製造時の水素分離膜の温度は150〜700℃に加熱することが好ましく、200〜500℃がより好ましい。
水素製造量は、上記のように水素分離膜の温度の調整によって制御することができる。そこで、外部から指令される水素発生量指示信号12をもとに、水素発生量設定器11で水素分離膜の温度を計算することで、水素発生量を任意にかつ、高精度に制御することが可能となる。
最外周がアルミ製の同軸型空胴共振器2は、中心軸にパラジウム水素分離膜1を、その外側に石英ガラス管3を有する。不純物を含む水素4は、パラジウム水素分離膜1の内側から供給することができ、水素のみがパラジウム膜1内を透過したのち、石英ガラス管3とパラジウム水素分離膜1の間を通過して、高純度水素5として取り出すことが可能となる。
上記実施形態において、パラジウム水素分離膜を、高速かつ高精度に調整することで、不純物除去性能が高く、コールドスタート時の起動が早く、負荷応答にも素早く追従でき、かつ高精度に水素製造量が調整できる、水素製造装置の実現が可能となる
本発明の別の実施形態を図2に示す。図2は、図1の形態に対して、さらに安定した水素製造量を調整するために、水素発生量測定器13を組み込んだ構成である。図1と同符号は同じものを意味する。水素発生量測定器13で計測した水素製造量をもとに、水素分離膜の温度をフィードバック制御することにより、さらに安定性高く、高精度に高純度の水素製造が可能となる。
以下、本発明を実施例に基づき更に詳細に説明するが、本発明はこれらに限定されるものではない。
水素分離膜としてパラジウム薄膜を作製し、これを用いて図1に示す装置でマイクロ波照射を行った。
図3は本実施例で用いたパラジウム水素分離膜の構造を模式的に示す断面図である。多孔質α-アルミナの基材14上にγ-Al2O3‐YSZ層15を形成させ、この層15の内部にパラジウムめっきを施し、パラジウムめっき層16(めっき量0.037g)を設けた。通常のパラジウム水素分離膜に対して、膜の耐久性を向上させるため、特開2006-95521号公報に記載された、細孔内にパラジウムをめっきした無眼コムpore-fillタイプのチューブ型パラジウム水素分離膜を用いた。Pore-fillタイプのチューブ型パラジウム水素分離膜の製法を以下に示す。
パラジウム水素分離膜は、基材となる外径10mm、内径6mm、長さ20cmの多孔質α-アルミナチューブの外側表面にめっき法で製膜を施した。基材チューブの片側を閉じるため、外径6mmのアルミナ緻密管を耐熱セラミック接着剤で封止を行った。パラジウム水素分離膜をめっきする部分の長さを中心部110mmとし、それ以外の部分はガラスでシールした。ガラスシールはα-テルピネオールとエチルセルロースおよび粉ガラスを混合したガラスペーストを調整し、中心部の110mmを除いて、ガラスペーストを塗布し、1150℃、20分間保持し焼成した。
その後、ガラスシールを行っていない中心部にγ-Al2O3‐YSZ層を形成させた。γ-Al2O3‐YSZ層は、γ-Al2O3:YSZ:ポリビニルアルコール:ポリエチレングリコール:純水を1.35:1.35:1:0.3:96の混合比で調整した溶液に、グラスシールを行った基材を10秒間浸漬させた後温度40℃、湿度60%下で6時間乾燥させた。その後500℃、3時間で焼成した。
先に形成したγ-Al2O3‐YSZ層内にめっきの核となるパラジウム微粒子を分散させるため(シーディング)、以下のシーティング処理を8回繰り返した。
シーディング処理
(1)0.4%の酢酸パラジウムを含んだクロロホルム溶液に、15分間浸漬
(2)乾燥
(3)2Mのヒドラジンに浸し還元
(4)純水で洗浄後
(5)110℃の乾燥機で乾燥
シーディングが終了したら再びγ-Al2O3‐YSZ溶液に10秒間浸漬させ乾燥後、600℃、3時間で焼成した。
シーディングを行った基材のめっきは、酢酸パラジウム0.02M、アンモニア(2M)、次亜リン酸(1M)およびギ酸(2M)に調整しためっき浴を用いた。50℃に保持しためっき浴中に、真空ポンプでチューブ内側を−0.4kPaに減圧したチューブを浸漬させ、チューブ外側からめっき液を吸引することで、パラジウムめっきを行った。めっき後、チューブは550℃、3時間焼成を行った。パラジウムめっきおよび焼成は計4回行った。4回のめっきの合計時間は36.5分であった。
図4に、作成したパラジウム水素分離膜の温度に対する窒素透過流束、図5に、温度に対する水素透過流束を示す。各透過流束は、水素分離膜の外側に0〜400kPaに加圧した窒素もしくは水素を供給したとき、水素分離膜の内側に流入したガス流量を測定した結果から、50kPa加圧時の各温度における単位時間、単位面積に単位圧力加えたときの透過流束を計算した。例えば300℃では、窒素は1.1×10-9mols-1m-2Pa-1しか透過しないが、水素は1567×10-9mols-1m-2Pa-1透過しており、1500倍の水素選択率が実現できている(温度に対する、パラジウム水素分離膜の不純物除去による水素分離係数のグラフを図6に示した)。また、分離膜の温度が高くなると、水素透過流束が比例的に増えることから、分離膜温度を変化させることで水素透過量を調整できることがわかる。
この同軸型空胴共振器の中央に取り付けてある、導波管からマイクロ波を照射したときの水素分離膜の温度変化を図7に示す。設定温度として、破線で示すようなプログラムを行った。プログラムは、最初300秒までは、水素分離膜温度を100℃と設定し、300秒〜420秒の間に250℃昇温し、その後300秒間250℃を維持した。その後一旦150℃に温度を下げ、再び200℃と、温度の上下を繰り返している。実際の水素分離膜の温度変化は実線で示す。設定温度と実際の水素分離膜温度には大きな乖離はみられず、温度制御性が高いことが認められる。また、70℃/分の速さで昇温ができており、高速な起動操作ができることがわかる。
この温度プログラムで水素分離制御を行った場合どのような水素製造量が得られるか、図5の結果を基にシミュレーションを行った結果を図8に示す。
図5より水素透過流束と水素分離膜温度の関係は、
水素透過流束=5.48×10-9×水素分離膜温度 (式1)
と表すことが出来る。この関係式を用い、図7に示す温度プログラムで水素分離膜を加熱したときの水素透過流束は図8で示されるようになると予測できる。この予測結果から、始動後100秒で水素透過流束 450×10-9mols-1m-2Pa-1を得ることが出来る。300秒後には、急激な負荷変動を想定し、水素透過流束を上昇させている。3倍の水素透過流束である1280×10-9mols-1m-2Pa-1を得ることも100秒以内に達成できていることがわかる。このことより、マイクロ波照射によるパラジウム水素分離膜の温度制御をすることで、始動速度の高速化や、急激な負荷変動への応答が実現可能であることが示された。
マイクロ波加熱により最高250℃に加熱したサンプルについて、マイクロ波照射前後の透過流束を調べた結果を図9に示す。マイクロ波照射によって水素透過流束は大きく変化していない。マイクロ波照射による水素分離膜のダメージは発生しないことが確認できる。
以上の実施例より、本発明の水素製造装置は、高い不純物除去性能を有し、高速に起動することができ、負荷変動などに対しても、高精度に水素製造量を調整できることがわかる。
本発明の一実施形態を模式的に断面図で示した説明図である。 本発明の他の実施形態を模式的に断面図で示した説明図である。 実施例で用いたパラジウム水素分離膜の構造を模式的に示す断面図である。 実施例で作成したパラジウム水素分離膜の温度に対する窒素透過流束を示すグラフである。 実施例で作成したパラジウム水素分離膜の温度に対する水素透過流束を示すグラフである。 温度に対する、パラジウム水素分離膜の不純物除去による水素分離係数のグラフである。 導波管からマイクロ波を照射したときの水素分離膜の温度変化を示すグラフである。 実施例の温度プログラムで水素分離制御を行ったときの水素製造量のシミュレーション結果を示すグラフである。 マイクロ波加熱により最大250℃に加熱したサンプルに対し、マイクロ波照射前後の透過流束を調べた結果を示すグラフである。
符号の説明
1 水素分離膜
2 同軸空胴共振器
3 石英管
4 不純物を含んだ水素ガス
5 高純度水素
6 不純物ガス
7 マクロ波供給導波管
8 温度計測器
9 電磁界強度検出器
10 マイクロ波発振器・制御器
11 水素発生量設定器
12 水素発生量指示信号
13 水素発生量測定器
14 α−アルミナ基材
15 γ−Al2O3−YSZ層
16 パラジウムめっき層

Claims (6)

  1. 水素分離膜を用いて原料ガスから水素を分離する水素製造装置であって、前記水素分離膜にマイクロ波を照射する手段を有することを特徴とする水素製造装置。
  2. 前記水素分離膜が金属薄膜である請求項1に記載の水素製造装置。
  3. 前記水素分離膜が、円筒状の支持体の外表面または内表面に水素分離性能を有する金属薄膜を形成したものである請求項1又は2に記載の水素製造装置。
  4. 前記マイクロ波を照射する手段が共振空胴構造を有する請求項1〜3のいずれか1項に記載の水素製造装置。
  5. 前記共振空胴構造として、円筒型共振空胴を有し、その内部にTM0n0モード(nは1以上の任意の整数)定在波、もしくは、同軸型共振空胴モードの定在波を励起するマイクロ波を照射する手段を有している請求項4に記載の水素製造装置。
  6. 水素分離膜を用いて原料ガスから水素を分離する水素製造方法であって、前記水素分離膜にマイクロ波を照射することを特徴とする水素製造方法。
JP2008269253A 2008-10-19 2008-10-19 水素製造装置 Expired - Fee Related JP5263769B2 (ja)

Priority Applications (1)

Application Number Priority Date Filing Date Title
JP2008269253A JP5263769B2 (ja) 2008-10-19 2008-10-19 水素製造装置

Applications Claiming Priority (1)

Application Number Priority Date Filing Date Title
JP2008269253A JP5263769B2 (ja) 2008-10-19 2008-10-19 水素製造装置

Publications (2)

Publication Number Publication Date
JP2010095422A true JP2010095422A (ja) 2010-04-30
JP5263769B2 JP5263769B2 (ja) 2013-08-14

Family

ID=42257384

Family Applications (1)

Application Number Title Priority Date Filing Date
JP2008269253A Expired - Fee Related JP5263769B2 (ja) 2008-10-19 2008-10-19 水素製造装置

Country Status (1)

Country Link
JP (1) JP5263769B2 (ja)

Cited By (1)

* Cited by examiner, † Cited by third party
Publication number Priority date Publication date Assignee Title
WO2013008112A2 (en) 2011-07-08 2013-01-17 Pst Sensors (Proprietary) Limited Method of producing nanoparticles

Citations (11)

* Cited by examiner, † Cited by third party
Publication number Priority date Publication date Assignee Title
JPH11276867A (ja) * 1998-03-31 1999-10-12 Tokyo Gas Co Ltd 水素透過膜の接合方法
JP2002274803A (ja) * 2001-03-13 2002-09-25 Sekisui Chem Co Ltd 水素貯蔵・供給システム
JP2004502525A (ja) * 2000-07-07 2004-01-29 セカ ソシエテ アノニム カルシウムゼオライトxを用いた水素を主にしたガス混合物を精製する方法
JP2004148208A (ja) * 2002-10-30 2004-05-27 Mitsui Eng & Shipbuild Co Ltd 膜分離方法及びその装置
JP2004299958A (ja) * 2003-03-31 2004-10-28 Nippon Telegr & Teleph Corp <Ntt> 高純度水素ガス発生装置
JP2005074342A (ja) * 2003-09-01 2005-03-24 Hiromitsu Takahane 電磁波を用いた膜分離装置、膜分離方法およびメンブレンリアクター
JP2005322582A (ja) * 2004-05-11 2005-11-17 Idx Corp マイクロ波加熱装置
JP2006021129A (ja) * 2004-07-08 2006-01-26 Matsushita Electric Ind Co Ltd 水素透過分離材およびその製造方法
JP2007000774A (ja) * 2005-06-23 2007-01-11 Toyota Central Res & Dev Lab Inc 触媒反応装置、触媒加熱方法、及び燃料改質方法
JP2007260630A (ja) * 2006-03-29 2007-10-11 Chugoku Electric Power Co Inc:The 水素分離ユニット
JP2008023496A (ja) * 2006-07-25 2008-02-07 Mitsubishi Gas Chem Co Inc 水素分離膜セルの製造方法

Patent Citations (11)

* Cited by examiner, † Cited by third party
Publication number Priority date Publication date Assignee Title
JPH11276867A (ja) * 1998-03-31 1999-10-12 Tokyo Gas Co Ltd 水素透過膜の接合方法
JP2004502525A (ja) * 2000-07-07 2004-01-29 セカ ソシエテ アノニム カルシウムゼオライトxを用いた水素を主にしたガス混合物を精製する方法
JP2002274803A (ja) * 2001-03-13 2002-09-25 Sekisui Chem Co Ltd 水素貯蔵・供給システム
JP2004148208A (ja) * 2002-10-30 2004-05-27 Mitsui Eng & Shipbuild Co Ltd 膜分離方法及びその装置
JP2004299958A (ja) * 2003-03-31 2004-10-28 Nippon Telegr & Teleph Corp <Ntt> 高純度水素ガス発生装置
JP2005074342A (ja) * 2003-09-01 2005-03-24 Hiromitsu Takahane 電磁波を用いた膜分離装置、膜分離方法およびメンブレンリアクター
JP2005322582A (ja) * 2004-05-11 2005-11-17 Idx Corp マイクロ波加熱装置
JP2006021129A (ja) * 2004-07-08 2006-01-26 Matsushita Electric Ind Co Ltd 水素透過分離材およびその製造方法
JP2007000774A (ja) * 2005-06-23 2007-01-11 Toyota Central Res & Dev Lab Inc 触媒反応装置、触媒加熱方法、及び燃料改質方法
JP2007260630A (ja) * 2006-03-29 2007-10-11 Chugoku Electric Power Co Inc:The 水素分離ユニット
JP2008023496A (ja) * 2006-07-25 2008-02-07 Mitsubishi Gas Chem Co Inc 水素分離膜セルの製造方法

Non-Patent Citations (2)

* Cited by examiner, † Cited by third party
Title
西岡 将輝 ほか: "マイクロ波照射を用いた膜型反応器による化学反応制御", 分離技術, vol. 第37巻,第1号, JPN6013001194, 31 January 2007 (2007-01-31), pages 28 - 32, ISSN: 0002432302 *
西岡 将輝: "マイクロ波を用いた固体触媒反応器の設計と最近の展開", ペトロテック, vol. 第31巻,第8号, JPN6013001191, 1 August 2008 (2008-08-01), pages 569 - 573, ISSN: 0002432303 *

Cited By (1)

* Cited by examiner, † Cited by third party
Publication number Priority date Publication date Assignee Title
WO2013008112A2 (en) 2011-07-08 2013-01-17 Pst Sensors (Proprietary) Limited Method of producing nanoparticles

Also Published As

Publication number Publication date
JP5263769B2 (ja) 2013-08-14

Similar Documents

Publication Publication Date Title
Coronas et al. Development of ceramic membrane reactors with a non-uniform permeation pattern. Application to methane oxidative coupling
CN110114301B (zh) 在膜反应器中产生压缩氢的方法及用于其的反应器
JP2019087410A (ja) マイクロ波加熱装置及び化学反応方法
JP5263769B2 (ja) 水素製造装置
JP2631244B2 (ja) 燃料電池用水素製造方法及び装置
CN104947076A (zh) 一种基于dlp技术和化学气相沉积的微点阵结构制备方法
Sato et al. Rapid control of hydrogen permeation in Pd membrane reactor by magnetic-field-induced heating under microwave irradiation
JP2008247667A (ja) 改質装置
JP2008221176A (ja) 脱水システム及び脱水方法
JP2024512432A (ja) アンモニア脱水素
JPS61238303A (ja) 微細多孔質膜の製造方法
CN105430864A (zh) 一种原子发生器
JP2009189899A (ja) カーボン膜を備える分離膜エレメントの製造方法
JP6271561B2 (ja) 水素を獲得するための方法および獲得のための装置
JP2015205788A (ja) 水素製造装置、並びに水素生成触媒及びその製造方法
JP4471556B2 (ja) 多孔質セラミック材及びその製造方法
CN112999985A (zh) 一种等离子体强化混合导体膜透氧过程的方法
JP6793622B2 (ja) 水素製造装置
JP2006275351A (ja) ガス加熱装置
JPS5794304A (en) Gas separating membrane made of polysulfone hollow fiber and its manufacture
CN113710610B (zh) 气体制造系统和气体制造方法
JP6951140B2 (ja) 改質方法、改質装置および改質構造体
JPH07135094A (ja) マイクロ波誘導プラズマへの原料供給方法及び装置
JPS59102403A (ja) 多孔質隔膜の製造方法
CN108745263B (zh) 甲烷部分氧化制氢的透氧-透氢-反应三效管状膜反应器的制备方法

Legal Events

Date Code Title Description
A621 Written request for application examination

Free format text: JAPANESE INTERMEDIATE CODE: A621

Effective date: 20110509

A977 Report on retrieval

Free format text: JAPANESE INTERMEDIATE CODE: A971007

Effective date: 20130110

A131 Notification of reasons for refusal

Free format text: JAPANESE INTERMEDIATE CODE: A131

Effective date: 20130122

A521 Request for written amendment filed

Free format text: JAPANESE INTERMEDIATE CODE: A523

Effective date: 20130325

TRDD Decision of grant or rejection written
A01 Written decision to grant a patent or to grant a registration (utility model)

Free format text: JAPANESE INTERMEDIATE CODE: A01

Effective date: 20130416

A61 First payment of annual fees (during grant procedure)

Free format text: JAPANESE INTERMEDIATE CODE: A61

Effective date: 20130423

R150 Certificate of patent or registration of utility model

Free format text: JAPANESE INTERMEDIATE CODE: R150

Ref document number: 5263769

Country of ref document: JP

Free format text: JAPANESE INTERMEDIATE CODE: R150

S533 Written request for registration of change of name

Free format text: JAPANESE INTERMEDIATE CODE: R313533

R350 Written notification of registration of transfer

Free format text: JAPANESE INTERMEDIATE CODE: R350

R250 Receipt of annual fees

Free format text: JAPANESE INTERMEDIATE CODE: R250

R250 Receipt of annual fees

Free format text: JAPANESE INTERMEDIATE CODE: R250

R250 Receipt of annual fees

Free format text: JAPANESE INTERMEDIATE CODE: R250

R250 Receipt of annual fees

Free format text: JAPANESE INTERMEDIATE CODE: R250

R250 Receipt of annual fees

Free format text: JAPANESE INTERMEDIATE CODE: R250

R250 Receipt of annual fees

Free format text: JAPANESE INTERMEDIATE CODE: R250

R250 Receipt of annual fees

Free format text: JAPANESE INTERMEDIATE CODE: R250

LAPS Cancellation because of no payment of annual fees