JP2010089487A - 画像処理装置、画像処理方法、プログラム、記録媒体、印刷システム、画像形成装置 - Google Patents

画像処理装置、画像処理方法、プログラム、記録媒体、印刷システム、画像形成装置 Download PDF

Info

Publication number
JP2010089487A
JP2010089487A JP2009180241A JP2009180241A JP2010089487A JP 2010089487 A JP2010089487 A JP 2010089487A JP 2009180241 A JP2009180241 A JP 2009180241A JP 2009180241 A JP2009180241 A JP 2009180241A JP 2010089487 A JP2010089487 A JP 2010089487A
Authority
JP
Japan
Prior art keywords
colorant
color
image
usage amount
amount
Prior art date
Legal status (The legal status is an assumption and is not a legal conclusion. Google has not performed a legal analysis and makes no representation as to the accuracy of the status listed.)
Granted
Application number
JP2009180241A
Other languages
English (en)
Other versions
JP2010089487A5 (ja
JP5146424B2 (ja
Inventor
Takayuki Ito
貴之 伊藤
Yoshihisa Ota
善久 太田
Masakazu Yoshida
雅一 吉田
Takashi Kimura
隆 木村
Masanori Hirano
政徳 平野
Naoki Nakano
直己 中野
Shinichi Hatanaka
伸一 畑中
Yoshiaki Hoshino
好昭 星野
Current Assignee (The listed assignees may be inaccurate. Google has not performed a legal analysis and makes no representation or warranty as to the accuracy of the list.)
Ricoh Co Ltd
Original Assignee
Ricoh Co Ltd
Priority date (The priority date is an assumption and is not a legal conclusion. Google has not performed a legal analysis and makes no representation as to the accuracy of the date listed.)
Filing date
Publication date
Application filed by Ricoh Co Ltd filed Critical Ricoh Co Ltd
Priority to JP2009180241A priority Critical patent/JP5146424B2/ja
Priority to US13/061,718 priority patent/US8416459B2/en
Priority to PCT/JP2009/066054 priority patent/WO2010030030A1/en
Priority to EP09813173.3A priority patent/EP2321957B1/en
Priority to CN200980135697.0A priority patent/CN102150419B/zh
Publication of JP2010089487A publication Critical patent/JP2010089487A/ja
Publication of JP2010089487A5 publication Critical patent/JP2010089487A5/ja
Application granted granted Critical
Publication of JP5146424B2 publication Critical patent/JP5146424B2/ja
Expired - Fee Related legal-status Critical Current
Anticipated expiration legal-status Critical

Links

Images

Classifications

    • HELECTRICITY
    • H04ELECTRIC COMMUNICATION TECHNIQUE
    • H04NPICTORIAL COMMUNICATION, e.g. TELEVISION
    • H04N1/00Scanning, transmission or reproduction of documents or the like, e.g. facsimile transmission; Details thereof
    • H04N1/46Colour picture communication systems
    • H04N1/56Processing of colour picture signals
    • H04N1/60Colour correction or control
    • H04N1/6016Conversion to subtractive colour signals
    • H04N1/6019Conversion to subtractive colour signals using look-up tables

Landscapes

  • Engineering & Computer Science (AREA)
  • Multimedia (AREA)
  • Signal Processing (AREA)
  • Color Image Communication Systems (AREA)
  • Facsimile Image Signal Circuits (AREA)
  • Color, Gradation (AREA)
  • Image Processing (AREA)

Abstract

【課題】コストを重視して色剤使用量を低減し過ぎて画質が低下し、あるいは、画質を重視して色剤使用量の低減の効果が薄れる。
【解決手段】CMM変換処理部2Bは、入力画像データをカラー印刷するときに使用する色剤の使用量を低減する指定が指定されたとき、色剤使用量低減モード用CMM変換LUTを用いてCMM変換処理を行い、RGB色空間からCMY色空間への変換処理を行うときに、入力画像データを、入力画像をカラー印刷したときの色剤使用量が、入力画像をモノクロ印刷したときに必要な色剤の使用量に基づいて定められた目標色剤使用量となるデータに変換する。
【選択図】図1

Description

本発明は画像処理装置、画像処理方法、プログラム、記録媒体、印刷システム、画像形成装置に関する。
一般に、画像データを処理する画像処理装置、例えばパーソナルコンピュータ、ワークステーションなどにおいては、アプリケーションソフトによって文字やグラフィックス、イメージなどからなる各種ドキュメントを作成することができ、このようなドキュメントを画像として形成出力するプリンタ、ファクシミリ、複写装置、プリンタ/ファクシミリ/複写機の複合機などの各種画像形成装置は、インクジェット記録方式や電子写真方式などの画像形成方式によって、トナーやインクなどの色剤(画像形成材)を使用して画像を形成(記録、印刷なども同義語で使用する。)する。
ところで、特にオフィスなどで使用される画像形成装置を使用して画像を出力する場合、印刷画像の画質もさることながら印刷コストも重要な要素である。つまり、モノクロ印刷であれば、基本的に使用する色剤はK(黒)1色であるが、カラー印刷の場合、CMYKの4色(場合によっては、特殊なカラーを含めて4色以上)の色剤が使用されることになる。カラー画像を出力する場合(表現する場合)においては、各色が単独で使用されだけでなく、同一箇所で色剤を重ね合わせて様々な色調を表現することから、印刷にかかるコストは、単純に計算しても数倍に跳ね上がることになる。
そこで、通常、カラー画像を印刷出力する場合に、そのまま印刷した場合の色剤の使用量よりも相対的に色剤の使用量を減らす印刷モード(これを「色剤使用量低減モード」という。エコノモード、省インクモード、セーブモードなどとも称される。)を搭載することで、より低コストでの印刷を行うことができるようにしている。
例えば、特許文献1に記載されているように、指定された条件に基づいて画像形成材の使用量をセーブする画像形成材セーブに関する目標を設定し、設定された目標に基づいて入力色情報に対する色再現条件を変更する、例えば、色空間のγ値を変更する、色域圧縮条件を変更する、色域の圧縮方向を変更するなどの処理を行うことが知られている。
また、特許文献2に記載されているように印刷データに対して特定のパターンで間引き処理を行うこと、特許文献3に記載されているように入力データに対して一定の比率で階調を減らす処理を行うこと、特許文献4に記載されているように、色剤消費量が多いオブジェクト(画像を形成する要素)順にオブジェクトの濃度を薄く(ただし、輪郭が内部よりも濃くなるように)して、所定の色剤使用量まで低減すること、特許文献5に記載されているように、色剤低減モードが選択されたときに一定の比率で階調特性を圧縮することで色剤使用量を低減すること、特許文献6に記載されているように、色剤低減モードが選択されたときに、黒の濃度が通常モード時と同じになるように印刷し、黒以外の色の濃度が通常のモードより薄くなるように印刷することで色剤使用量を低減することなどが知られている。
特開2006−68982号公報 特開2006−270927号公報 特開平09−216419号公報 特許第3268712号公報 特開2008−132665号公報 特開2007−50708号公報
しかしながら、上述した従来の技術では、色剤の低減量についてどの程度の使用量まで低減するかについては定かでなく、画質とコストのバランスが採れていない。例えば、コストを重視して色剤使用量を低減し過ぎると、画像全体が薄くぼやけた画質となり、本来カラー化によって得られるはずであった画像のメリハリが損なわれることになり、あるいは、画質を重視すると、色剤使用量低減の効果が薄れる。
このように、従来は色剤使用量の低減と色剤使用量の低減による画質の低下(色の見え難さ)を両立することができないという課題がある。
本発明は上記の課題に鑑みてなされたものであり、色相のバランスを維持しつつ色剤のコストを低減できるようにすることを目的とする。
上記の課題を解決するために、本発明に係る画像処理装置は、
入力画像データを、色剤を使用して画像を出力する画像形成装置用の出力画像データに変換する画像処理装置において、
前記入力画像データについて、入力画像をカラー印刷したときの色剤使用量が、前記入力画像をモノクロ印刷したときに必要な色剤の使用量に基づいて定められた目標色剤使用量になるデータに変換する色剤使用量低減処理を行う手段を備えている
構成とした。
ここで、前記色剤使用量低減処理はRGB値からCMY値への変換、RGB値からKCMY値への変換及びRGB値からKCMYRGB値への変換の少なくともいずれかの変換に伴って行われる構成とできる。
また、前記色剤使用量低減処理で使用される前記目標色剤使用量は色データに応じて異なる構成とできる。
また、文字及び線画の少なくともいずれかの入力画像データについては前記色剤使用量低減処理を行わない構成とできる。
また、前記目標色剤使用量はオブジェクトの種類に応じて定められている構成とできる。
また、前記色剤使用量低減処理で使用される前記目標色剤使用量は色データに応じて異なり、
所定の色データについてはモノクロ印刷したときに必要な色剤量に基づいて定められ、
前記所定の色データ以外の色データについてはモノクロ印刷したときに必要な色剤量とカラー印刷したときに必要な色剤量に基づいて定められている
構成とできる。
この場合、原稿画像を異なる記録条件で複写する複数のコピーモードを有し、前記色剤使用量低減処理で使用される前記目標色剤使用量は各コピーモードに応じて定められている構成とできる。
また、両面記録と片面記録を行うモードを有し、前記色剤使用量低減処理で使用される前記目標色剤使用量は各モードに応じて定められている構成とできる。
本発明に係る画像処理方法は、
入力画像データを、色剤を使用して画像を出力する画像形成装置用の出力画像データに変換する画像処理方法において、
前記入力画像データについて、入力画像をカラー印刷したときの色剤使用量が、前記入力画像をモノクロ印刷したときに必要な色剤の使用量に基づいて定められた目標色剤使用量になるデータに変換する色剤使用量低減処理を行う
構成とした。
本発明に係るプログラムは、
入力画像データを、色剤を使用して画像を出力する画像形成装置用の出力画像データに変換する処理をコンピュータに行わせるプログラムにおいて、
前記入力画像データについて、入力画像をカラー印刷したときの色剤使用量が、前記入力画像をモノクロ印刷したときに必要な色剤の使用量に基づいて定められた目標色剤使用量になるデータに変換する色剤使用量低減処理をコンピュータに行わせる
構成とした。
本発明に係る記録媒体は、本発明に係るプログラムが記録されている構成とした。
本発明に係る印刷システムは、
本発明に係る画像処理装置と、
前記画像処理装置からの出力画像データに応じて色剤を使用して画像を出力する画像形成装置と、を備えている
構成とした。
本発明に係る画像形成装置は、
入力画像データに応じて色剤を使用して画像を出力する画像形成装置において、
前記入力画像データについて、入力画像をカラー印刷したときの色剤使用量が、前記入力画像をモノクロ印刷したときに必要な色剤の使用量に基づいて定められた目標色剤使用量になるデータに変換する色剤使用量低減処理を行う手段を備えている
構成とした。
本発明に係る画像処理装置、画像処理方法、プログラム、印刷システム、画像形成装置によれば、入力画像データについて、入力画像をカラー印刷したときの色剤使用量が、入力画像をモノクロ印刷したときに必要な色剤の使用量に基づいて定められた目標色剤使用量になるデータに変換する色剤使用量低減処理を行うので、色相のバランスを維持しつつ色剤のコストを低減できるようになる。本発明に係る記録媒体によれば、本発明に係るプログラムを記録しているので、本発明に係るプログラムを提供することができる。
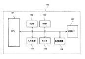
本発明に係る画像処理装置の第1例を示す機能ブロック説明図である。 CMM変換処理の説明に供する説明図である。 色剤使用量低減処理を含むCMM変換処理で使用するLUTの作成手順の説明に供する説明図である。 モノクロ変換についてNTSC変換と一列係数変換における色剤使用量の一例を示す説明図である。 本発明に係る画像処理装置の第2例を示す機能ブロック説明図である。 本発明に係る画像処理装置の第3例を示す機能ブロック説明図である。 本発明に係る画像処理装置の第4例を示す機能ブロック説明図である。 本発明に係る画像処理装置の第5例における色剤使用量低減処理を含むCMM変換処理で使用するLUTの作成手順の説明に供する説明図である。 本発明に係る画像処理装置の第6例を示す機能ブロック説明図である。 本発明に係る画像処理装置の第7例を示す機能ブロック説明図である。 本発明に係る画像処理装置の第8例を示す機能ブロック説明図である。 本発明に係る画像処理装置の第9例を示す機能ブロック説明図である。 本発明に係る印刷システムの一例を示すブロック説明図である。 同システムの画像処理装置(情報処理装置)のブロック説明図である。 同画像処理装置におけるデータの流れの説明に供するブロック説明図である。 同システムのインクジェット記録装置の機構部の一例を示す側面説明図である。 同じく要部平面説明図である。 同じく制御部の概要を示すブロック説明図である。 本発明に係る画像処理装置を含むインクジェット複合機の一例の説明に供する外観斜視説明図である。
以下、本発明の実施の形態について添付図面を参照して説明する。図1は本発明に係る画像処理方法を行う本発明に係る画像処理装置の説明に供する機能ブロック説明図である。
この画像処理装置は、アプリケーションソフトなどから与えられた入力画像データ1を、画像形成装置で出力する出力画像データ7に変換するため、モニタ表示用の色空間から記録装置(画像形成装置)用の色空間への変換(RGB表色系→CMY表色系)を行なうCMM(Color Management Module)処理部2A、2Bと、CMYの値から黒生成/下色除去を行なうBG/UCR(black generation/ Under Color Removal)処理部3と、記録制御信号となるCMYK信号に対し画像形成装置が画像形成できる色剤の最大総量値に応じてCMYK信号を補正する総量規制処理部4と、画像形成装置の特性やユーザの嗜好を反映した入出力補正を行なうγ補正処理部5と、階調データをドットパターン配置に置き換える中間調処理部6とを有している。なお、これらの各処理部2A、2B、3ないし6はプログラムで構成されている。
ここで、CMM変換処理部2Aは、色剤使用量低減処理を行わない(入力画像をそのまま再現する)通常モードにおけるCMM変換処理を行う。CMM変換処理手段2Bは、本発明に係る色剤使用量低減処理を行う手段であり、入力画像をカラー印刷するときに通常モードよりも色剤の使用量を低減して出力させる色剤使用量低減モードが指定されたときに、入力されたRGBデータを、色剤使用量低減CMM変換用ルックアップテーブル(LCT)を使用して、色剤の使用量を低減したCMY(又はCMYK)データに変換する処理を行う。
つまり、本発明における色剤使用量低減処理手段(色剤使用量低減モードを行う手段)は、上述したように、CMM変換処理によって行うようにしている。CMM変換処理は、図2に示すように、3次元LUT(ルックアップテーブル)を使用して、入力各色のRGB成分を一対一に対応するCMY成分へと変換するため、入力色毎に独立した設定が可能であり、色毎の色剤使用量の調整に適した処理を行うことができる。
そこで、このCMM変換処理部2Bで使用するLUTの値として、入力値をモノクロ印刷したときに使用する色剤の使用量を基準として定められた目標色剤使用量に対応する変換値(CMYの値又はCMYKの値)として組み込んでおくことによって、入力画像データについて、入力画像をカラー印刷したときの色剤使用量が、入力画像をモノクロ印刷したときに必要な色剤の使用量に基づいて定められた目標色剤使用量になるデータに変換する処理をCMM変換処理に伴って行うことができる。なお、このようなLUTを上述したように「色剤使用量低減用CMM変換LUT」という。
上述したように色剤使用量低減処理では、入力画像をモノクロ印刷したときに必要な色剤の使用量に基づいて定められた目標色剤使用量になるデータに変換する処理を行う。この場合、目標色剤使用量は、通常のモノクロ印刷では、使用される色剤はK(黒)の1種類であるので、Kで印刷した場合の色剤使用量を基準とするが、複数の色剤を使用して黒を表現する画像形成装置に出力する場合には、使用する色剤の合計使用量をモノクロ印刷時の色剤の使用量(基準使用量)とする。
ここで、色剤使用量を低減するデータへの変換処理を行うCMM変換処理部2Bで使用する色剤使用量低減用LUTの作成手順について図3を参照して説明する。
まず、所要の入力値(RGB値、図3の例では、R=0、G=224、B=240の入力画像データ)をモノクロ印刷するとき(モノクロ変換した時)の色剤使用量(図3の例ではDmono[0])を求める(図3の(1)、(2)の手順)。
次に、入力値(R=0、G=224、B=240)と同じか、より明るい、同じ色相上の色をリストアップ(列挙)する(図3の(3)の手順)。このとき、通常モード(色剤使用量を低減しないモード)で使用するCMM変換LUTを基に、色相のリストアップを行うことになる。
次に、リストアップした同じか、より明るい、色相上の色の色剤使用量(カラー印刷時の使用量。Dcolor[*])をリストアップし、入力値のモノクロ印刷時の色剤使用量(Dmono[0])と同じか、より小さくかつ一番近いカラー色剤使用量を探す(図3の(4)の手順)。つまり、入力値のモノクロ変換色剤量(図3の例ではDmono[0])と同等以下となる変換条件を探す(図3では、Dcolor[31]が条件を満たすカラー印刷時の色剤使用量に対応する。)。
そして、見つかった変換条件(図3の例では、上述したようにC[31]、M[31]、Y[31]、K[31]が該当する)が、色剤使用量低減モードにおける色変換値となる(図3の(5)の手順)。
これを入力値毎に求めることによって、色剤使用量低減モード用CMM変換LUTを作成することができる。
上述したCMM変換処理部2Bでは、入力画像データをカラー印刷するときに使用する色剤の使用量を低減する指定、即ち色剤使用量低減モードが指定されたときに、上述した色剤使用量低減モード用CMM変換LUTを用いてCMM変換処理を行う。これにより、CMM変換処理(RGB色空間からCMY色空間への変換)を行うときに、入力画像データを、入力画像をカラー印刷したときの色剤使用量が、入力画像をモノクロ印刷したときに必要な色剤の使用量に基づいて定められた目標色剤使用量となるデータに変換することができる。
このように、入力画像データについて、入力画像をカラー印刷したときの色剤使用量が、入力画像をモノクロ印刷したときに必要な色剤の使用量に基づいて定められた目標色剤使用量になるデータに変換する色剤使用量低減処理を行うことで、色相のバランスを維持しつつ色剤のコストを低減できるようになる。
次に、目標色剤使用量の他の例に付いて説明すると、上記の例ではモノクロ印刷時の色剤使用量を目標色剤使用量としているが、モノクロ印刷時の色剤使用量を基準使用量としてこれに予め定めた係数s(s=0〜100%)を乗じた値を目標色剤使用量とすることもできる。
また、色剤の成分によって価格が異なる場合、必ずしも黒の色剤の価格とカラーの色剤の価格が同じになるという仮定が成り立つとは限らない。この場合、色剤使用量から更にコストを求め、モノクロ印刷時と同等以下のコストとなる色剤量の組合せを選択して、これを目標色剤使用量とすることもできる。
なお、ここで言う「コスト」とは、色データを表現するために必要な単位面積当たりの物理的な色剤使用量に単位面積当たりの色剤コストを乗じて算出される。単位面積当たりの色剤コスト情報は、インクカートリッジやトナーカートリッジなどの記録剤収容部材、インクカートリッジ一体型の液体吐出ヘッド(記録ヘッド)に予め記録されていれば、取得することができる。また、インクカートリッジやトナーカートリッジなどの記録剤収容部材、インクカートリッジ一体型の液体吐出ヘッド(記録ヘッド)から型式情報を取得することによって、その情報を基にコスト情報を設定することもできる。
ここで、入力画像データのモノクロ変換について説明する。
一般的にモノクロ変換で使用される変換式としては、次のNTSC変換式がある。
K=(R*306+G*601+B*117)/1024
NTSC変換式では、入力RGB値に対して人間の視感特性に応じた係数が乗算され、Kのデータとして出力される。このとき、最大に出力されていたとしても、イエローのような明度の高い色は、非常に薄いグレーとして処理され、ブルーのような明度の低い色は、濃いグレーとして処理されることになる。
このNTSC変換を行った場合の色相毎の色剤使用量の一例を図4に示している。この図4には、比較例として、各色相に単純な係数(例えば、0.5)を乗算した場合の色剤使用量を併せて示している。この図4から分かるように、NTSC変換の場合、色相によって極端に色剤使用量が変化する。つまり、モノクロ印刷と同等の色剤使用量に低減する処理では、イエロー(Yellow)近傍の色が多く使われている画像については、大幅に色剤使用量を低減できるが、ブルー(Blue)近傍の色が多く使われている画像については色剤低減効果が低くなることが分かる。
以上のモノクロ印刷と同等の色剤使用量への合わせ込みによる色剤使用量低減処理は、所定の色データ(色)について適用することが好ましい。ここで、所定の色データとは、前述の色剤使用量低減処理を行った場合に、視認性が極端に悪くならない色のデータを意味する。視認性の良し悪しは、色データを表現するために必要な色剤使用量の多少に関係する。すなわち、色データをモノクロ印刷用のデータに変換したときの明度が大きな要素となる。例えば、前述したように、イエロー(Yellow)は明度が高くなり、結果として色剤使用量が少なくなり、視認性が悪くなることになる。
そこで、モノクロ印刷と同等の色剤使用量への合わせ込み(カラー印刷時の色剤使用量の低減)を実施する色データとモノクロ印刷よりも多い色剤使用量を認める色データに分けることで、特定の色の視認性悪化を抑えることができる。
所定の色データは、前述したNTSC変換から決めることができる。Kのデータが小さく(濃い)なる入力RGB値は所定の色データとして扱う。
この場合、所定の色データにするかどうかは、出力画像データを出力する画像形成装置の特性や対象となるユーザの好みなどによって変わる。また、人の視覚特性を考慮すると、明度だけでなく彩度や色相も視認性に関係する。そこで、所定の色データとする、つまり色剤使用量低減のための変換処理を適用するか否かは、彩度や色相をその要素とする、つまり、明度の高低、再度の高低、ダイナミックレンジの広い色相に属しているか否かの少なくともいずれかを要素として決定することで、より視認性の高い画像を得ることができる。
さらに、ここでは入力RGB値の色データについて説明したが、CMM変換処理後のCMYKデータや画像形成装置で実際に記録した記録媒体上での記録色の明度や彩度、色相を基に所定の色データとするか否かを決定することもできる。
一方、所定の色データ以外の色データは、色剤使用量低減処理を行うことで視認性が悪くなる色のデータである。そこで、所定の色データ以外の色データについては、色剤使用量がモノクロ印刷の色剤使用量とカラー印刷の色剤使用量の範囲となるように設定する。このとき、視認性を重視する場合はカラー印刷の色剤使用量に近づけ、色剤低減を重視する場合はモノクロ印刷の色剤使用量に近づける。
これらの所定の色データと所定の色データ以外の色データについて、異なる目標色剤使用量を定めてCMM変換処理によるCMYKの値を前述したLUTとして作成しておくことで、所定の色データについて、入力画像をカラー印刷したときの色剤使用量が、入力画像をモノクロ印刷したときに必要な色剤の使用量(又は色剤コスト)に基づいて定められた目標色剤使用量となるデータに変換する処理を行うことができるとともに、所定の色データ以外の色データについても当該色に応じた目標色剤使用量となるデータに変換することができる。
ここで、所定の色データと所定の色データ以外の色データについて目標色剤使用量を異ならせるには、例えば前述した基準使用量に乗じる係数sの値を異ならせればよい。また、所定の色データと所定の色データ以外の色データについて目標色剤使用量が異なる場合には、所定の色データ以外の色データについて色剤使用量の低減を行わない場合を含む意味である。
なお、上記説明においては、色剤使用量低減処理をCMM変換処理部のLUTを用いて行う例で説明しているが、図5に示すように、CMM変換処理とBG/UCR処理は、CMM変換処理用3次元LUTの値として直接統合することができる(前述したようにRGB値からCMYK値に変換する)ので、この統合されたCMM変換処理部2Bで行うこともできる。
また、色剤使用量低減処理は、RGB値からCMY値への変換やRGB値からKCMY値への変換以外にも、例えばRGB値からKCMYRGB値への変換、その他の場合(色種類や色数が多いなど)の変換に伴って行うこともできる。
同様に、図6及び図7に示すように、CMM変換処理部2の前処理、あるいは、BG/UCR処理部3の後処理として、色相補正LUT部8を設けて、この色相補正LUT部8で色剤使用量低減処理における変換処理を行う構成とすることもできる。
次に、入力画像の種類との関係について説明すると、画像を構成する文字や塗り、線、写真などのオブジェクトごとに視認性の重要度が違う場合がある。この場合、最も視認性が重要な文字或いは線画については、その他のオブジェクトと前記係数sを異ならせて目標色剤使用量とするか、あるいは、色剤使用量低減処理を行わない構成とすることもできる。
この場合、文字や線のオブジェクトは通常のCMM変換処理用のLCTを使用してCMM変換処理などを行い、それ以外のオブジェクトは前述した色剤使用量低減モード用CMM変換LUTを使用してCMM変換処理などを行う。あるいは、文字や線画のオブジェクトとそれ以外のオブジェクトとで目標色剤使用量を設定するときの係数sを異なられた場合には、オブジェクトの種類ごとに対応する色剤使用量低減モード用CMM変換LUTを作成して、LUTを選択して使用することで対応できる。
さらに、視認性と色剤低減をより細かく最適化したい場合もある。この場合には、画像を構成する文字や塗り、線、写真のオブジェクトごとに目標色剤使用量を設定するときの係数sを異ならせ、あるいは、色剤使用量低減処理を適用する所定の色データの判定を異ならせることもできる。
色剤使用量低減処理用のLUTは、ソフトウエアパラメータとしてプログラム上から呼び出すことも、ROMやRAMに記憶させてハードウエア処理に使用することもできる。色剤使用量低減処理用LUTや、それを用いて色剤使用量低減処理を行うプログラムは、CDやDVDといったデータ記録媒体に保存した状態、あるいはネットワークを介して配布可能である
また、上記の説明ではLUTを用いて色剤使用量低減処理を行っているが、LUTに限らず演算処理を行うようにすることもできる。
このように、本発明では、低減すべき色剤量の目安として、モノクロ印刷時の色剤使用量(若しくはモノクロ印刷時の色剤コストに対応する使用量)を基準としてカラー印刷時の色剤使用量の低減量を決めている。モノクロ印刷時の色剤使用量と同等であれば、モノクロ印刷装置からカラー印刷装置に入れ替えたとしても、ユーザが負担すべき消耗品(色剤)コストは変わらないことになる。
そして、モノクロ印刷の画質は、階調特性のみで必要な情報が全て表現されているため、モノクロ印刷時の使用量を基準としてカラー印刷時の低減された色剤使用量を決めることで、各色相における階調バランスを最適に保つことができ、単純な間引き処理や、シフト演算による一律な階調ダウン処理よりも高品質な画像を得ることができ、画像品質(色相バランス)を維持しつつ色剤コストを低減することができる。
ただし、上述したように、モノクロ印刷で色剤使用量が少ない色、例えば黄色などの明るい色の場合は、モノクロ印刷の色剤使用量に色毎に合わせるために視認性が悪くなることがあるので、この場合、モノクロ印刷の色剤使用量に合わせることとの他に、視認性を確保することを両立させるために見えにくい色の色剤低減量を少なくすることが好ましい。
また、文字および線、塗り、写真、それ以外の画像構成要素毎に色剤低減量を異ならせることで、各画像構成要素に最低限必要な視認性を確保しつつ最大限の色剤使用量の低減による色剤コストの低減が可能となる。
次に、複写装置に適用した場合について説明する。
まず、コピー(複写:原稿画像の読取りと印刷)においても、カラーコピーの色剤使用量をモノクロコピーの色剤使用量に合わせ込んだ色剤使用量低減処理を行うことで、カラーコピーにおける各色の使用色剤量をモノクロコピー時の色剤量に合わせることができて、モノクロ複写機からカラー複写機に入れ替えを行っても、ユーザは消耗品のコスト増を気にすることなく、高品位なカラー出力環境を入手することができる。なお、コピーで使用する色剤使用量低減LUT(これを「色剤使用量低減コピーモード用CMM変換LUT」ともいう。)の作成手順などについては前述した説明が、モノクロ印刷を「モノクロコピー」と、「カラー印刷」を「カラーコピー」と読み替えるだけでそのまま妥当するので、詳細な説明を省略する。
ここで、複写装置の場合、スキャンした画像を構成する文字や塗り、線、写真などのオブジェクト毎に視認性の重要度が違うことがある、この場合、スキャン画像を構成するオブジェクトを区別できる複写装置であれば、前述したように、最も視認性が重要な文字あるいは線については、その他のオブジェクトと前記係数sを異ならせるか、前記色低減処理をしないことを選択可能とすることができる。つまり、文字や線オブジェクトは通常モード(色剤使用量低減処理を行わないモード)のCMM変換LUTを使用し、それ以外のオブジェクトは前述の色剤使用量低減コピーモード用CMM変換LUTを使用する、または、文字や線オブジェクトとそれ以外の係数sを変えた各オブジェクト毎の色剤使用量低減モード用CMM変換LUTを作成し、それを使用することができる。
また、コピーモードとして、黒文字を強調する「黒文字優先コピーモード」、文字を強調する「文字優先コピーモード」、階調性を優先する「写真優先コピーモード」などを有する場合、各コピーモードに応じた目標色剤使用量を定めることができる。
例えば、黒文字優先コピーモードについては、黒文字の表現に使用する色剤の使用量を増加させ、その他の色の表現に使用する色剤の使用量を低減させる目標色剤使用量を定めて、当該目標色剤使用量が得られるデータに変換する前述した色剤使用量低減コピーモード用CMM変換LUTを作成する。これにより、黒と黒以外の全体的な色剤使用量の低減を図れる。
また、文字優先コピーモードについては、ユーザが選択した色の文字の表現に使用する色剤の使用量を増加させ、その他の色の表現に使用する色剤の使用量を低減させる目標色剤使用量を定めて、当該目標色剤使用量が得られるデータに変換する前述した色剤使用量低減コピーモード用CMM変換LUTを作成する。これにより、選択された色と選択された色以外の全体的な色剤使用量の低減を図れる。
また、写真優先コピーモードについては、階調表現が滑らかになるよう、各色の色剤使用量を増減させる目標色剤使用量を定めて、当該目標色剤使用量が得られるデータに変換する前述した色剤使用量低減コピーモード用CMM変換LUTを作成する。これにより、全体的な色剤使用量を低減したまま、明度特性が直線(リニア)に近づくように階調特性を調整し、画像全体の色の見えのバランスを優先し、色剤の使用量に制限を設けることによって画像の見た目が損なわれてしまう問題を回避しながら、色剤使用量を少なくすることができる。
そして、指定されたコピーモードに対応する色剤使用量低減コピーモード用CMM変換LUTを選択して色剤使用量低減処理を行うことによって、コピーモードに応じた最適の色剤使用量の低減を行いつつ画像品質の劣化を抑制できる。
次に、両面印刷(両面記録)が可能な画像形成装置によって出力する画像データの処理に適用する場合について説明する。
両面記録と片面記録を行うモードを有する場合、両面記録時に片面記録時と同じ量のインクを打ち込むと、用紙にしわなどが発生することから、一般的に、総量規制値を異ならせている。そのため、両面記録と片面記録とでは同じデータでも画像の色(濃さ)に違いが生じている。
そこで、色剤使用量低減処理で使用する目標使用色剤使用量として両面記録と片面記録とで異ならせることで同じデータに対して同じ画像の色(濃さ)が得られるようにする。
前述したように、色剤使用量低減処理では、色剤量の目安として、モノクロ印刷時の色剤量を目安としている。片面記録を行うモードでは、そのままモノクロ印刷時の色剤量などに基づいて目標使用色剤量を定め、両面記録を行うモードでは、「乾燥時間を設けずに両面記録可能な色剤量」、又は「裏抜けの発生しない色剤量」を目標色剤使用量としてさだめる。
ここで、「乾燥時間を設けずに両面記録可能な色剤量」とは、乾燥時間を設けずとも、用紙の反転時に用紙を汚さない色剤量を意味する。すなわち、両面記録時には、用紙を反転させるが、色剤量が過多な場合には色剤が十分に乾燥しないと用紙を反転させる機構に色剤が付着し、用紙を汚すことになる。そこで、乾燥時間を設けずに両面記録可能な色剤量を色剤使用量の上限とすることで、両面記録における画像劣化を防止できる。
また、「裏抜けの発生しない色剤量」とは、第1面の画像が第2面に透け、又は第2面の画像が第1面に透け、画像品質を劣化させない色剤量を意味する。すなわち、両面記録と時に、色剤量が過多な場合には、第1面の画像が第2面に透けて見え、あるいは、第2面の画像が第1面に透けて見えることで、画像品質を劣化させることになる。そこで、裏抜けの発生しない色剤量を色剤使用量の上限とすることで、両面記録における画像劣化を防止できる。
次に、この両面記録に対応した色剤使用量を低減するデータへの変換処理を行うCMM変換処理部2Bで使用する色剤使用量低減用LUTの作成手順について図8を参照して説明する。
前述した図3で説明したと同様に、まず、所要の入力値(RGB値、図8の例では、R=0、G=224、B=240の入力画像データ)をモノクロ印刷するとき(モノクロ変換した時)の色剤使用量(図8の例ではDmono[0])を求める(図8の(1)、(2)の手順)。
次に、入力値(R=0、G=224、B=240)と同じか、より明るい、同じ色相上の色をリストアップ(列挙)する(図8の(3)の手順)。このとき、通常モード(色剤使用量を低減しないモード)で使用するCMM変換LUTを基に、色相のリストアップを行うことになる。
次に、リストアップした同じか、より明るい、色相上の色の色剤使用量(カラー印刷時の使用量。Dcolor[*])をリストアップし、入力値のモノクロ印刷時の色剤使用量(Dmono[0])と同じか、より小さくかつ一番近いカラー色剤使用量を探す(図8の(4)の手順)。つまり、入力値のモノクロ変換色剤量(図8の例ではDmono[0])と同等以下となる変換条件を探す(図8では、Dcolor[31]が条件を満たすカラー印刷時の色剤使用量に対応する。)。
そして、ここでは、両面記録可能な記録条件においては、乾燥時間を設けずに両面記録可能な色剤使用量、又は、裏抜けが防止可能な色剤使用量(DDp1x[0])と同じか、より小さく、かつ、一番近いカラー色剤量とする(図8では、Dcolor[31]が条件を満たす両面記録可能な記録条件におけるカラー印刷時の色剤使用量に対応するものとする。)。
そして、見つかった変換条件(図8の例では、上述したようにC[31]、M[31]、Y[31]、K[31]が該当する)が、両面記録可能な記録条件で使用する色剤使用量低減モードにおける色変換値となる(図8の(6)の手順)。
これを入力値毎に求めることによって、両面記録可能な記録条件で使用する色剤使用量低減モード用CMM変換LUTを作成することができる。
次に、総量規制について説明する。
まず、視認性が重視され、片面記録と両面記録が混在する可能性のある記録条件の場合は、単位面積当たりの色剤使用量の上限(総量規制値)を「通常記録モード」(色剤使用量低減処理を行わないモード)に対して抑制する(低減する)ことで、乾燥時間を設けずに両面記録可能で、且つ、裏抜けの発生しない印刷条件となるデータに変換する。
これに対し、色剤低減処理のみを目的とする記録条件の場合は、単位面積当たりの色剤使用量の上限を更に抑制する(低減する)ことで、モノクロ印刷同等の色剤使用量とする。
この単位面積当たり色剤使用量上限の切替えは、図9に示すように、総量規制処理部4において使用する総量規制値として通常記録モード用、色剤抑制モード(視認性優先)用、色剤抑制処理モード(色剤低減優先)用の総量規制値を選択的することでおこなうことができる。なお、色剤抑制処理モードは「色剤低減処理を行うモード」の意味である。
また、図10に示すように、CMM変換処理部として、BG/URL処理を統合した上で、更に視認性を優先する色相補正を統合したCMM変換処理部2Cと、色剤低減を優先する色相補正を統合したCMM変換処理部2Dとを備え、記録条件に応じて切替えるようにすることもできる。
さらに、図11及び図12に示すように、CMM変換処理部2の前処理、あるいは、BG/UCR処理部3の後処理として、視認性優先色相補正LUT部8A、色剤低減色相補正LUT部8Bを設けて、この色相補正LUT部8A、8Bを記録条件に応じて切替えるようにすることもできる。
このように、色剤使用量低減処理を行うモードでは通常記録モードよりも総量規制値を抑制する(上限値を抑制する)ことで、記録条件に応じて単位面積当たりの総量規制値を抑制することによって、オブジェクトを区別できない複写装置においても、最も視認性が重要な黒文字あるいは黒線については、片面記録においても両面記録においても色剤低減による画質の劣化を防止することができる。また、片面記録のみが存在する記録条件では、モノクロ記録の色剤量のみを考慮した目標色剤使用量とし、両面記録の存在する記録条件では、乾燥時間を設けずに両面記録可能な色剤使用量、または裏抜けの発生しない色剤使用量に抑制することで、片面記録と両面記録の画質の差を防止できる。
この場合、前述したようにコピーモードに応じて単位面積当たりの色剤使用量の上限(総量規制値)を切替えるようにすれば、両面記録及び片面記録の各コピーモードに応じた最適な画像を得ることができる。
次に、本発明に係る画像処理装置と画像形成装置であるインクジェットプリンタ(インクジェット記録装置)とで構成した本発明に係る印刷システムの一例について図13を参照して説明する。
この印刷システム(画像形成システム)は、パーソナルコンピュータ(PC)などからなる1又は複数台の画像処理装置100と、インクジェットプリンタ200とが、所定のインターフェイス又はネットワークで接続されて構成されている。
画像処理装置100は、図14に示すように、CPU101と、メモリ手段である各種のROM102やRAM103とが、バスラインで接続されている。このバスラインには、所定のインターフェイスを介して、ハードディスクなどの磁気記憶装置を用いた記憶装置106と、マウスやキーボードなどの入力装置104と、LCDやCRTなどのモニタ105と、図示しないが、光ディスクなどの記憶媒体を読み取る記憶媒体読取装置が接続され、また、インターネットなどのネットワークやUSBなどの外部機器と通信を行なう所定のインターフェイス(外部I/F)107が接続されている。
画像処理装置100の記憶装置106には、前述した色剤使用量低減処理用LUTを用いるCMM変換処理を含む本発明に係るプログラムなどの画像処理プログラムが記憶されている。この画像処理プログラムは、記憶媒体から記憶媒体読取装置により読み取って、あるいは、インターネットなどのネットワークからダウンロードするなどして、記憶装置106にインストールされたものである。このインストールにより画像処理装置100は、上述した画像処理装置におけると同様な画像処理を行なうために動作可能な状態となる。なお、この画像処理プログラムは、所定のOS上で動作するものであってもよい。また、特定のアプリケーションソフトの一部をなすものであってもよい。
この画像処理装置100は、アプリケーションソフトなどからのプリント命令がソフトウェアとして組み込まれたプリンタドライバで画像処理されてインクジェット記録装置200が出力可能な多値のドットパターンのデータ(出力画像データ)が生成され、それがラスタライズされてインクジェット記録装置200に転送され,インクジェット記録装置200によって印刷出力される。
ここで、この画像処理装置100内の本発明に係るプログラムとしてのプリンタドライバによる画像処理の流れについて図15に示すブロック説明図を参照して説明する。
パーソナルコンピュータなどのデータ処理装置上で動作するアプリケーションソフトから「印刷」指示が出されると、プリンタドライバにおいては、入力600に対してオブジェクト判定処理601でオブジェクトの種類を判定し、オブジェクト毎、つまり文字の画像データ602、線画の画像データ603、グラフィックスの画像データ604、イメージの画像データ605毎にデータが渡され、それぞれのルートを通って処理が行われる。
つまり、文字602、線画603、グラフィックス604については、カラー調整処理606を行なう。そして、文字についてはカラーマッチング処理(CMM変換処理)607、BG/UCR処理609、総量規制処理611を行い、更に文字ディザ処理(中間調処理)615を行なう。また、線画及グラフィックスについてはカラーマッチング処理608、BG/UCR処理610、総量規制処理612、γ補正処理613を行い、更にグラフィックスディザ処理(中間調処理)616を行なう。
一方、イメージ605については、色判定及び圧縮方式判定処理621を行って、通常の場合には、カラー調整処理622、カラーマッチング処理623を行なった後、BG/UCR処理624、総量規制処理625、γ補正処理623を行い、更に誤差拡散処理(中間調処理)627を行なう。また、2色以下の場合には、イメージ間引き処理631、カラー調整処理632、カラーマッチング処理633a又はインデックスレス処理(カラーマッチングを行なわない処理)633bを行なった後、BG/UCR処理624、総量規制処理625、γ補正処理626を行い、更に誤差拡散処理(中間調処理)627を行なう。
なお、線画及びグラフィックスについてはカラー調整処理606に至る前に分岐してROP処理641を経てイメージの場合のカラーマッチング処理632に移行することもある。
このようにしてオブジェクト毎に処理された画像データは、また元の一つの画像データに合成され、図示しないがラスタライジング処理を経てインクジェット記録装置200へと渡されることになる
ここで、イメージについてのカラーマッチング処理623においては、前述した色剤使用量低減処理用LCTを用いたCMM変換処理を行うことによって、イメージをカラー印刷するときに色剤使用量がモノクロ印刷時の色剤使用量と同等になるように制限されて、色剤使用量を低減することができる。
次に、インクジェット記録装置200の一例について図16ないし図18を参照して説明する。なお、図16は同装置の機構部の全体構成を説明する概略構成図、図17は同機構部の要部平面説明図、図18は同装置の制御部の概要を示すブロック説明図である。
このインクジェット記録装置200は、シリアル型画像形成装置であり、左右の側板221A、221Bに横架したガイド部材である主従のガイドロッド231、232でキャリッジ233を主走査方向に摺動自在に保持し、図示しない主走査モータによってタイミングベルトを介して矢示方向(キャリッジ主走査方向)に移動走査する。
このキャリッジ233には、イエロー(Y)、シアン(C)、マゼンタ(M)、ブラック(K)の各色のインク滴を吐出するための本発明に係る液体吐出ヘッドからなる記録ヘッド234a、234b(区別しないときは「記録ヘッド234」という。)を複数のノズルからなるノズル列を主走査方向と直交する副走査方向に配列し、インク滴吐出方向を下方に向けて装着している。
記録ヘッド234は、それぞれ2つのノズル列を有し、記録ヘッド234aの一方のノズル列はブラック(K)の液滴を、他方のノズル列はシアン(C)の液滴を、記録ヘッド234bの一方のノズル列はマゼンタ(M)の液滴を、他方のノズル列はイエロー(Y)の液滴を、それぞれ吐出する。なお、ここでは2ヘッド構成で4色の液滴を吐出する構成としているが、各色毎の記録ヘッドを備えることもできるし、4色の液滴を吐出する複数のノズルを並べたノズル列を有する1つの記録ヘッド構成とすることもできる。
また、キャリッジ233には、記録ヘッド234のノズル列に対応して各色のインクを供給するためのサブタンク235a、235b(区別しないときは「サブタンク235」という。)を搭載している。このサブタンク235には各色の供給チューブ236を介して、供給ユニット224によって各色のインクカートリッジ210から各色のインクが補充供給される。
一方、給紙トレイ202の用紙積載部(圧板)241上に積載した用紙242を給紙するための給紙部として、用紙積載部241から用紙242を1枚ずつ分離給送する半月コロ(給紙コロ)243及び給紙コロ243に対向し、摩擦係数の大きな材質からなる分離パッド244を備え、この分離パッド244は給紙コロ243側に付勢されている。
そして、この給紙部から給紙された用紙242を記録ヘッド234の下方側に送り込むために、用紙242を案内するガイド部材245と、カウンタローラ246と、搬送ガイド部材247と、先端加圧コロ249を有する押さえ部材248とを備えるとともに、給送された用紙242を静電吸着して記録ヘッド234に対向する位置で搬送するための搬送手段である搬送ベルト251を備えている。
この搬送ベルト251は、無端状ベルトであり、搬送ローラ252とテンションローラ253との間に掛け渡されて、ベルト搬送方向(副走査方向)に周回するように構成している。また、この搬送ベルト251の表面を帯電させるための帯電手段である帯電ローラ256を備えている。この帯電ローラ256は、搬送ベルト251の表層に接触し、搬送ベルト251の回動に従動して回転するように配置されている。この搬送ベルト251は、図示しない副走査モータによってタイミングを介して搬送ローラ252が回転駆動されることによってベルト搬送方向に周回移動する。
さらに、記録ヘッド234で記録された用紙242を排紙するための排紙部として、搬送ベルト251から用紙242を分離するための分離爪261と、排紙ローラ262及び排紙コロ263とを備え、排紙ローラ262の下方に排紙トレイ203を備えている。
また、装置本体の背面部には両面ユニット271が着脱自在に装着されている。この両面ユニット271は搬送ベルト251の逆方向回転で戻される用紙242を取り込んで反転させて再度カウンタローラ246と搬送ベルト251との間に給紙する。また、この両面ユニット271の上面は手差しトレイ272としている。
さらに、キャリッジ233の走査方向一方側の非印字領域には、記録ヘッド234のノズルの状態を維持し、回復するための維持回復機構281を配置している。この維持回復機構281には、記録ヘッド234の各ノズル面をキャピングするための各キャップ部材(以下「キャップ」という。)282a、282b(区別しないときは「キャップ282」という。)と、ノズル面をワイピングするためのブレード部材であるワイパブレード283と、増粘した記録液を排出するために記録に寄与しない液滴を吐出させる空吐出を行うときの液滴を受ける空吐出受け284などを備えている。
また、キャリッジ233の走査方向他方側の非印字領域には、記録中などに増粘した記録液を排出するために記録に寄与しない液滴を吐出させる空吐出を行うときの液滴を受ける空吐出受け288を配置し、この空吐出受け288には記録ヘッド234のノズル列方向に沿った開口部289などを備えている。
次に、このインクジェット記録装置200の制御部は、図18に示すように、装置全体の制御を司るマイクロコンピュータなどで構成した主制御部501及び印刷制御を司るマイクロコンピュータで構成した印刷制御部502を備え、画像処理装置(情報処理装置)100から通信回路500を介して画像データを受信する。画像処理装置100は、アプリケーション111を通してユーザより印刷命令があった場合、OS(例えばGDI:Graphic Device Interface)112がインクジェット記録装置200で出力する画像データをプリンタドライバ113に伝達する。プリンタドライバ113は、アプリケーション111から伝達された画像データを、インクジェット記録装置200が処理できる形式の印刷画像データに変換して、外部I/F107、通信回路500を経由してインクジェット記録装置200に入力する。
主制御部501は、通信回路500から入力される画像データに基づいて用紙242に画像を形成するために、前述したように、キャリッジ233を移動走査する主走査モータ531や搬送ローラ252を回転駆動する副走査モータ532を主走査モータ駆動回路503及び副走査モータ駆動回路504を介して駆動制御するとともに、印刷制御部302に対して印刷用データを送出するなどの制御を行なう。
主制御部501には、キャリッジ233の位置を検出するキャリッジ位置検出回路505からの検出信号が入力され、主制御部501はこの検出信号に基づいてキャリッジ233の移動位置及び移動速度を制御する。キャリッジ位置検出回路505は、キャリッジ233の走査方向に配置されたエンコーダシートのスリット数を、キャリッジ233に搭載されたフォトセンサで読み取って計数することで、キャリッジ233の位置を検出する。主走査モータ駆動回路503は、主制御部501から入力されるキャリッジ移動量に応じて主走査モータ531を回転駆動させて、キャリッジ233を所定の位置に所定の速度で移動させる。
主制御部501には搬送ベルト251の移動量を検出する搬送量検出回路506からの検出信号が入力され、主制御部501はこの検出信号に基づいて搬送ベルト251の移動量及び移動速度を制御する。搬送量検出回路506は、例えば、搬送ローラ252の回転軸に取り付けられた回転エンコーダシートのスリット数を、フォトセンサで読み取って計数することで搬送量を検出する。副走査モータ駆動回路504は、主制御部501から入力される搬送量に応じて副走査モータ532を回転駆動させて、搬送ローラ252を回転駆動して搬送ベルト251を所定の位置に所定の速度で移動させる。
主制御部501は、図示しない給紙コロ駆動回路に給紙コロ駆動指令を与えることによって給紙コロ243を一回転させる。主制御部301は、維持回復機構駆動用モータ駆動回路511を介してモータ533を回転駆動することにより、キャップ82の昇降、ワイパブレード83の昇降などを行なわせる。
主制御部501は、インク供給モータ駆動回路512を介して供給ポンプユニット24の供給ポンプを駆動してインクカートリッジ210からサブタンク235にインクを給送させる制御をする。
主制御部501には、センサ群520からの各種検知信号が入力される。また、主制御部501は、カートリッジ通信回路515を通じて、各インクカートリッジ210に設けられる記憶手段である不揮発性メモリ516に記憶されている情報を取り込んで、所要の処理を行なって、本体側記憶手段である不揮発性メモリ(例えば、EEPROM)514に格納保持する。
なお、インクカートリッジ210の不揮発性メモリ516(情報記憶手段)にインク(色剤)の単位量当たりの色剤コスト情報を記憶しておき、あるいは、色剤型式情報を記憶しておき、これらの色剤コスト情報や色剤型式情報を、主制御部501が取り込んで画像処理装置100側に転送するようにすることもできる。
印刷制御部502は、主制御部501からの信号とキャリッジ位置検出回路505及び搬送量検出回路506などからのキャリッジ位置や搬送量に基づいて、記録ヘッド234の液滴を吐出させるための圧力発生手段を駆動するためのデータを生成して、ヘッド駆動回路510に与える。
ヘッド駆動回路510は、印刷制御部502からの印刷データに基づいて記録ヘッド34の圧力発生手段(ピエゾ型ヘッドであれば圧電素子)を駆動して、所要のノズルから液滴を吐出させる。
このように構成したこのインクジェット記録装置200においては、給紙トレイ202から用紙242が1枚ずつ分離給紙され、略鉛直上方に給紙された用紙242はガイド245で案内され、搬送ベルト251とカウンタローラ246との間に挟まれて搬送され、更に先端を搬送ガイド247で案内されて先端加圧コロ249で搬送ベルト251に押し付けられ、略90°搬送方向を転換される。
このとき、帯電ローラ256に対してプラス出力とマイナス出力とが交互に繰り返すように、つまり交番する電圧が印加され、搬送ベルト251が交番する帯電電圧パターン、すなわち、周回方向である副走査方向に、プラスとマイナスが所定の幅で帯状に交互に帯電されたものとなる。このプラス、マイナス交互に帯電した搬送ベルト251上に用紙242が給送されると、用紙242が搬送ベルト251に吸着され、搬送ベルト251の周回移動によって用紙242が副走査方向に搬送される。
そこで、キャリッジ233を移動させながら画像信号に応じて記録ヘッド234を駆動することにより、停止している用紙242にインク滴を吐出して1行分を記録し、用紙242を所定量搬送後、次の行の記録を行う。記録終了信号又は用紙242の後端が記録領域に到達した信号を受けることにより、記録動作を終了して、用紙242を排紙トレイ203に排紙する。
次に、本発明に係る画像処理装置を含む複合機としてのインクジェット記録装置の一例について図19を参照して説明する。なお、図19は同インクジェット記録装置の外観斜視説明図である。
この画像形成装置は、画像形成を行う装置本体301の上部に画像を読取る画像読取り手段(スキャナ手段)302を備えている。装置本体301には、機構部に給紙する用紙をストックする給紙カセット303が着脱自在に装着され、給紙カセット303の上方には画像が形成されて排出される用紙をストックする排紙トレイ304が装着されている。また、装置本体301の前面側にはインクカートリッジを装着するカートリッジ装着部305を有し、更に各種操作信号の入力や表示情報を表示する操作/表示部(操作パネル)306が配置されている。
なお、このインクジェット記録装置の印字機構部は前述した図16及び図17で説明した同様な機構部で構成することができ、また、制御部は前述した図18の制御部にスキャナ手段302を制御するスキャナ制御部を追加することで構成できるので、その説明を省略する。
このインクジェット記録装置では、スキャナ手段302によって原稿画像を読取って印字機構部で印字することで複写(コピー)を行うことができる。
なお、前記実施形態では画像処理装置側で色剤使用量低減処理を行った画像データを生成しているが、画像形成装置側で色剤使用量低減処理を行った画像データを生成することもでき、例えば、スキャナなどの画像読取装置を備えたいわゆるマルチファンクションの画像形成装置における画像処理にも本発明を同様に適用することができる。また、画像形成装置としては、インクジェット記録方式に限らず、電子写真方式、サーマル転写方式など、いずれの画像形成方式の画像形成装置であっても適用することができる。また、シリアル型画像形成装置だけでなく、ライン型画像形成装置にも同様に適用することができる。
また、前記実施形態では色剤使用量低減処理にLUTを使用しているが変換式を用いて逐次演算することもできる。
2 CMM変換処理部
2A CMM変換処理部(通常モード用)
2B CMM変換処理部(色剤使用量低減モード用:色剤使用量低減処理手段)
3 BG/UCR処理部
4 総量規制処理部
100 画像処理装置
200 インクジェット記録装置

Claims (13)

  1. 入力画像データを、色剤を使用して画像を出力する画像形成装置用の出力画像データに変換する画像処理装置において、
    前記入力画像データについて、入力画像をカラー印刷したときの色剤使用量が、前記入力画像をモノクロ印刷したときに必要な色剤の使用量に基づいて定められた目標色剤使用量になるデータに変換する色剤使用量低減処理を行う手段を備えている
    ことを特徴とする画像処理装置。
  2. 前記色剤使用量低減処理はRGB値からCMY値への変換、RGB値からKCMY値への変換及びRGB値からKCMYRGB値への変換の少なくともいずれかの変換に伴って行われることを特徴とする請求項1記載の画像処理装置。
  3. 前記色剤使用量低減処理で使用される前記目標色剤使用量は色データに応じて異なることを特徴とする請求項1又は2記載の画像処理装置。
  4. 文字及び線画の少なくともいずれかの入力画像データについては前記色剤使用量低減処理を行わないことを特徴とする請求項1ないし3のいずれか記載の画像処理装置。
  5. 前記目標色剤使用量はオブジェクトの種類に応じて定められていることを特徴とする請求項1ないし4のいずれか記載の画像処理装置。
  6. 前記色剤使用量低減処理で使用される前記目標色剤使用量は色データに応じて異なり、
    所定の色データについてはモノクロ印刷したときに必要な色剤量に基づいて定められ、
    前記所定の色データ以外の色データについてはモノクロ印刷したときに必要な色剤量とカラー印刷したときに必要な色剤量の範囲内で定められている
    ことを特徴とする請求項1に記載の画像処理装置。
  7. 原稿画像を異なる記録条件で複写する複数のコピーモードを有し、前記色剤使用量低減処理で使用される前記目標色剤使用量は各コピーモードに応じて定められていることを特徴とする請求項6に記載の画像処理装置。
  8. 両面記録と片面記録を行うモードを有し、前記色剤使用量低減処理で使用される前記目標色剤使用量は各モードに応じて定められていることを特徴とする請求項6又は7に記載の画像形成装置。
  9. 入力画像データを、色剤を使用して画像を出力する画像形成装置用の出力画像データに変換する画像処理方法において、
    前記入力画像データについて、入力画像をカラー印刷したときの色剤使用量が、前記入力画像をモノクロ印刷したときに必要な色剤の使用量に基づいて定められた目標色剤使用量になるデータに変換する色剤使用量低減処理を行う
    ことを特徴とする画像処理方法。
  10. 入力画像データを、色剤を使用して画像を出力する画像形成装置用の出力画像データに変換する処理をコンピュータに行わせるプログラムにおいて、
    前記入力画像データについて、入力画像をカラー印刷したときの色剤使用量が、前記入力画像をモノクロ印刷したときに必要な色剤の使用量に基づいて定められた目標色剤使用量になるデータに変換する色剤使用量低減処理をコンピュータに行わせる
    ことを特徴とするプログラム。
  11. 請求項10に記載のプログラムが記録されていることを特徴とする記録媒体。
  12. 請求項1ないし9のいずれかに記載の画像処理装置と、
    前記画像処理装置からの出力画像データに応じて色剤を使用して画像を出力する画像形成装置と、を備えている
    ことを特徴とする印刷システム。
  13. 入力画像データに応じて色剤を使用して画像を出力する画像形成装置において、
    前記入力画像データについて、入力画像をカラー印刷したときの色剤使用量が、前記入力画像をモノクロ印刷したときに必要な色剤の使用量に基づいて定められた目標色剤使用量になるデータに変換する色剤使用量低減処理を行う手段を備えている
    ことを特徴とする画像形成装置。
JP2009180241A 2008-09-13 2009-08-01 画像処理装置、画像処理方法、プログラム、記録媒体、印刷システム、画像形成装置 Expired - Fee Related JP5146424B2 (ja)

Priority Applications (5)

Application Number Priority Date Filing Date Title
JP2009180241A JP5146424B2 (ja) 2008-09-13 2009-08-01 画像処理装置、画像処理方法、プログラム、記録媒体、印刷システム、画像形成装置
US13/061,718 US8416459B2 (en) 2008-09-13 2009-09-09 Image processing apparatus, image processing method, program, recording medium, printing system, image forming apparatus
PCT/JP2009/066054 WO2010030030A1 (en) 2008-09-13 2009-09-09 Image processing apparatus, image processing method, program, recording medium, printing system, image forming apparatus
EP09813173.3A EP2321957B1 (en) 2008-09-13 2009-09-09 Image processing apparatus, image processing method, program, recording medium, printing system, image forming apparatus
CN200980135697.0A CN102150419B (zh) 2008-09-13 2009-09-09 图像处理装置、图像处理方法、打印系统、图像形成装置

Applications Claiming Priority (3)

Application Number Priority Date Filing Date Title
JP2008235779 2008-09-13
JP2008235779 2008-09-13
JP2009180241A JP5146424B2 (ja) 2008-09-13 2009-08-01 画像処理装置、画像処理方法、プログラム、記録媒体、印刷システム、画像形成装置

Publications (3)

Publication Number Publication Date
JP2010089487A true JP2010089487A (ja) 2010-04-22
JP2010089487A5 JP2010089487A5 (ja) 2010-07-01
JP5146424B2 JP5146424B2 (ja) 2013-02-20

Family

ID=42005277

Family Applications (1)

Application Number Title Priority Date Filing Date
JP2009180241A Expired - Fee Related JP5146424B2 (ja) 2008-09-13 2009-08-01 画像処理装置、画像処理方法、プログラム、記録媒体、印刷システム、画像形成装置

Country Status (5)

Country Link
US (1) US8416459B2 (ja)
EP (1) EP2321957B1 (ja)
JP (1) JP5146424B2 (ja)
CN (1) CN102150419B (ja)
WO (1) WO2010030030A1 (ja)

Cited By (8)

* Cited by examiner, † Cited by third party
Publication number Priority date Publication date Assignee Title
JP2012045796A (ja) * 2010-08-26 2012-03-08 Ricoh Co Ltd 画像形成装置
JP2012051221A (ja) * 2010-08-31 2012-03-15 Canon Inc カラー画像処理装置及びプログラム
CN102385278A (zh) * 2010-08-31 2012-03-21 佳能株式会社 彩色图像处理装置
JP2012256976A (ja) * 2011-06-07 2012-12-27 Ricoh Co Ltd 画像処理装置およびプログラム
JP2013110465A (ja) * 2011-11-17 2013-06-06 Ricoh Co Ltd 画像形成装置、画像処理方法、プログラム及び記録媒体
US8610957B2 (en) 2010-11-29 2013-12-17 Ricoh Company, Limited Image processing apparatus, image processing method, and non-transitory computer-readable medium
JP2015162714A (ja) * 2014-02-26 2015-09-07 ブラザー工業株式会社 データ処理装置、および、コンピュータプログラム
US10979602B2 (en) 2019-03-20 2021-04-13 Kyocera Document Solutions Inc. Image forming control device that selects image forming medium for reproducing image color indicated by inputted image data, image forming apparatus, image forming control method, and non-transitory computer-readable recording medium having image forming control program

Families Citing this family (16)

* Cited by examiner, † Cited by third party
Publication number Priority date Publication date Assignee Title
US8582116B2 (en) * 2009-04-14 2013-11-12 Canon Kabushiki Kaisha Recording sheet surface detection apparatus and image forming apparatus
JP5423225B2 (ja) * 2009-08-10 2014-02-19 富士ゼロックス株式会社 画像処理装置、画像処理プログラム
JP5553139B2 (ja) * 2009-08-10 2014-07-16 富士ゼロックス株式会社 画像処理装置、画像処理プログラム
JP4983955B2 (ja) * 2010-04-07 2012-07-25 ブラザー工業株式会社 画像処理装置及び画像処理プログラム
JP5494641B2 (ja) * 2011-12-27 2014-05-21 コニカミノルタ株式会社 色変換テーブル作成装置、色変換テーブル作成方法及びプログラム
JP2013193300A (ja) 2012-03-19 2013-09-30 Ricoh Co Ltd 画像形成方法、画像形成装置およびプログラム
US9087289B2 (en) * 2012-08-21 2015-07-21 Canon Kabushiki Kaisha Image processing method and apparatus for printing monochrome or color images on a medium
US9183475B2 (en) * 2012-08-21 2015-11-10 Canon Kabushiki Kaisha Image processing method and apparatus configured for printing a plurality of monochrome images having different parameters
JP2014049774A (ja) 2012-08-29 2014-03-17 Ricoh Co Ltd 画像処理装置、画像処理方法、画像記録装置およびプログラム
US9994053B2 (en) * 2016-03-01 2018-06-12 Electronics For Imaging, Inc. Achieving ink cost saving for printing devices by taking visual appearance and real ink costs into account
US10009514B2 (en) * 2016-08-10 2018-06-26 Ricoh Company, Ltd. Mechanism to perform force-X color management mapping
JP2018069593A (ja) * 2016-10-31 2018-05-10 京セラドキュメントソリューションズ株式会社 モノクロ画像形成装置
DE102018202522A1 (de) * 2017-03-22 2018-09-27 Heidelberger Druckmaschinen Ag Verfahren zur optimierten Farbsteuerung in einer Druckmaschine
US10347039B2 (en) * 2017-04-17 2019-07-09 Intel Corporation Physically based shading via fixed-functionality shader libraries
JP7596111B2 (ja) * 2020-10-08 2024-12-09 キヤノン株式会社 画像形成装置、その制御方法、及びプログラム
CN116490755A (zh) 2020-10-22 2023-07-25 惠普发展公司,有限责任合伙企业 具有干燥延迟的打印模式

Citations (7)

* Cited by examiner, † Cited by third party
Publication number Priority date Publication date Assignee Title
JPH09216419A (ja) * 1996-02-09 1997-08-19 Canon Inc 画像処理装置
JP3268712B2 (ja) * 1994-12-28 2002-03-25 キヤノン株式会社 画像形成方法とその装置
JP2005121991A (ja) * 2003-10-17 2005-05-12 Kyocera Mita Corp 多色画像記録装置
JP2006068982A (ja) * 2004-09-01 2006-03-16 Ricoh Co Ltd 画像処理装置及び画像処理方法並びにプリンタドライバ
JP2006270927A (ja) * 2005-02-22 2006-10-05 Fuji Xerox Co Ltd 画像処理方法および画像処理装置並びに画像形成装置
JP2007050708A (ja) * 2006-09-21 2007-03-01 Seiko Epson Corp 画像処理装置及び印刷装置
JP2008132665A (ja) * 2006-11-28 2008-06-12 Fuji Xerox Co Ltd 画像形成方法及び画像形成装置

Family Cites Families (12)

* Cited by examiner, † Cited by third party
Publication number Priority date Publication date Assignee Title
JPH03268712A (ja) 1990-03-20 1991-11-29 Matsushita Electric Ind Co Ltd 電気湯沸かし器の出湯装置
US6637849B2 (en) 2002-01-16 2003-10-28 Xerox Corporation Systems and methods for HUE control
JP3937977B2 (ja) 2002-08-14 2007-06-27 コニカミノルタビジネステクノロジーズ株式会社 プリンタドライバプログラム、および画像処理システム
JP2004274476A (ja) 2003-03-10 2004-09-30 Seiko Epson Corp 色変換テーブル作成装置、色変換テーブル作成方法および色変換テーブル作成プログラム
JP3815465B2 (ja) 2003-09-05 2006-08-30 村田機械株式会社 カラー画像処理装置
JP4522801B2 (ja) 2004-09-14 2010-08-11 株式会社リコー 画像処理装置および画像処理装置の制御方法および画像形成装置および画像形成装置の制御装置およびプログラムおよび記録媒体
US7880932B2 (en) 2005-02-22 2011-02-01 Fuji Xerox Co., Ltd. Halftone dot formation method and apparatus for reducing layer thickness of coloring material inside halftone dots, and image formation apparatus
JP4561398B2 (ja) * 2005-02-23 2010-10-13 セイコーエプソン株式会社 濃淡インクを使用する印刷のためのルックアップテーブルの生成
US7636178B2 (en) * 2005-04-15 2009-12-22 Canon Kabushiki Kaisha Image processing apparatus, printing apparatus and image processing method
US20070253039A1 (en) * 2006-04-28 2007-11-01 Kabushiki Kaisha Toshiba Image processing apparatus
JP2008186262A (ja) * 2007-01-30 2008-08-14 Brother Ind Ltd 印刷制御システム、プリンタ及び印刷制御プログラム
JP4901613B2 (ja) 2007-07-10 2012-03-21 株式会社リコー 画像処理装置、画像処理方法および画像処理プログラム

Patent Citations (7)

* Cited by examiner, † Cited by third party
Publication number Priority date Publication date Assignee Title
JP3268712B2 (ja) * 1994-12-28 2002-03-25 キヤノン株式会社 画像形成方法とその装置
JPH09216419A (ja) * 1996-02-09 1997-08-19 Canon Inc 画像処理装置
JP2005121991A (ja) * 2003-10-17 2005-05-12 Kyocera Mita Corp 多色画像記録装置
JP2006068982A (ja) * 2004-09-01 2006-03-16 Ricoh Co Ltd 画像処理装置及び画像処理方法並びにプリンタドライバ
JP2006270927A (ja) * 2005-02-22 2006-10-05 Fuji Xerox Co Ltd 画像処理方法および画像処理装置並びに画像形成装置
JP2007050708A (ja) * 2006-09-21 2007-03-01 Seiko Epson Corp 画像処理装置及び印刷装置
JP2008132665A (ja) * 2006-11-28 2008-06-12 Fuji Xerox Co Ltd 画像形成方法及び画像形成装置

Cited By (10)

* Cited by examiner, † Cited by third party
Publication number Priority date Publication date Assignee Title
JP2012045796A (ja) * 2010-08-26 2012-03-08 Ricoh Co Ltd 画像形成装置
JP2012051221A (ja) * 2010-08-31 2012-03-15 Canon Inc カラー画像処理装置及びプログラム
CN102385278A (zh) * 2010-08-31 2012-03-21 佳能株式会社 彩色图像处理装置
US8885214B2 (en) 2010-08-31 2014-11-11 Canon Kabushiki Kaisha Color image processing apparatus which reduces the amount of color materials consumed that are used to form a color image with reference to an index with high utility
KR101463649B1 (ko) * 2010-08-31 2014-11-19 캐논 가부시끼가이샤 컬러 화상 처리 장치 및 저장 매체
US8610957B2 (en) 2010-11-29 2013-12-17 Ricoh Company, Limited Image processing apparatus, image processing method, and non-transitory computer-readable medium
JP2012256976A (ja) * 2011-06-07 2012-12-27 Ricoh Co Ltd 画像処理装置およびプログラム
JP2013110465A (ja) * 2011-11-17 2013-06-06 Ricoh Co Ltd 画像形成装置、画像処理方法、プログラム及び記録媒体
JP2015162714A (ja) * 2014-02-26 2015-09-07 ブラザー工業株式会社 データ処理装置、および、コンピュータプログラム
US10979602B2 (en) 2019-03-20 2021-04-13 Kyocera Document Solutions Inc. Image forming control device that selects image forming medium for reproducing image color indicated by inputted image data, image forming apparatus, image forming control method, and non-transitory computer-readable recording medium having image forming control program

Also Published As

Publication number Publication date
US8416459B2 (en) 2013-04-09
CN102150419B (zh) 2014-12-10
US20110170142A1 (en) 2011-07-14
EP2321957A4 (en) 2012-04-04
EP2321957B1 (en) 2017-04-05
JP5146424B2 (ja) 2013-02-20
EP2321957A1 (en) 2011-05-18
WO2010030030A1 (en) 2010-03-18
CN102150419A (zh) 2011-08-10

Similar Documents

Publication Publication Date Title
JP5146424B2 (ja) 画像処理装置、画像処理方法、プログラム、記録媒体、印刷システム、画像形成装置
US7600842B2 (en) Image reproducing and forming apparatus, printer driver and data processing apparatus
US7481510B2 (en) Image forming apparatus, image processing method, and printer driver
JP4825180B2 (ja) 画像処理方法、画像処理装置、画像形成装置、画像形成システム、プログラム、記憶媒体
KR101012449B1 (ko) 화상 처리 장치, 프로그램을 기록한 기록 매체, 화상 형성 장치, 화상 형성 방법, 및 디더 매트릭스
JP2012223931A (ja) 画像処理装置、印刷装置、画像処理方法および画像処理プログラム
JP2001138555A (ja) 印刷制御装置、印刷装置、印刷制御方法、印刷方法、記録媒体、および色変換テーブルの設定方法
JP5262485B2 (ja) 画像処理装置、画像処理方法、プログラム、記録媒体、印刷システム、画像形成装置
JP5646822B2 (ja) 画像処理装置および画像処理方法
US8289567B2 (en) Image recording apparatus that performs borderless recording
JP3886051B2 (ja) 画像形成装置、プリンタドライバ及びデータ処理装置
JP2010068497A (ja) 画像処理装置、画像処理方法、プログラム、記録媒体、印刷システム、画像形成装置
JP2005205685A (ja) 画像処理装置及び画像処理方法
JP2006255970A (ja) インクジェットプリンタおよび複写装置
JP2010074325A (ja) 画像処理装置、画像処理方法、プログラム、記録媒体、印刷システム、画像形成装置
CN100439103C (zh) 图像再现和形成装置、打印机驱动器和数据处理装置
JP7626969B2 (ja) 画像処理装置、および、コンピュータプログラム
JP7303483B2 (ja) 制御装置、および、コンピュータプログラム
JP5845688B2 (ja) 画像形成装置、画像形成方法およびプログラム
JP2001277554A (ja) 特定色のインクを他色で置き換えて印刷可能な印刷システム、印刷制御装置およびその印刷方法
JP2006167934A (ja) 画像形成装置、画像処理装置、プリンタドライバ及び画像形成システム
JP2009049690A (ja) 画像処理方法、画像処理装置、画像形成装置、画像形成システム、プログラム、記憶媒体
JP2007069614A (ja) 画像形成装置、プリンタドライバ及びデータ処理装置
JP2018085610A (ja) 画像処理方法、印刷装置、プログラム

Legal Events

Date Code Title Description
A521 Request for written amendment filed

Free format text: JAPANESE INTERMEDIATE CODE: A523

Effective date: 20100518

A621 Written request for application examination

Free format text: JAPANESE INTERMEDIATE CODE: A621

Effective date: 20120528

A131 Notification of reasons for refusal

Free format text: JAPANESE INTERMEDIATE CODE: A131

Effective date: 20120814

A521 Request for written amendment filed

Free format text: JAPANESE INTERMEDIATE CODE: A523

Effective date: 20121003

TRDD Decision of grant or rejection written
A01 Written decision to grant a patent or to grant a registration (utility model)

Free format text: JAPANESE INTERMEDIATE CODE: A01

Effective date: 20121030

A61 First payment of annual fees (during grant procedure)

Free format text: JAPANESE INTERMEDIATE CODE: A61

Effective date: 20121112

R151 Written notification of patent or utility model registration

Ref document number: 5146424

Country of ref document: JP

Free format text: JAPANESE INTERMEDIATE CODE: R151

FPAY Renewal fee payment (event date is renewal date of database)

Free format text: PAYMENT UNTIL: 20151207

Year of fee payment: 3

LAPS Cancellation because of no payment of annual fees