JP2010077548A - フィブリル化溶融液晶ポリマー繊維の製造方法 - Google Patents
フィブリル化溶融液晶ポリマー繊維の製造方法 Download PDFInfo
- Publication number
- JP2010077548A JP2010077548A JP2008244123A JP2008244123A JP2010077548A JP 2010077548 A JP2010077548 A JP 2010077548A JP 2008244123 A JP2008244123 A JP 2008244123A JP 2008244123 A JP2008244123 A JP 2008244123A JP 2010077548 A JP2010077548 A JP 2010077548A
- Authority
- JP
- Japan
- Prior art keywords
- liquid crystal
- crystal polymer
- fiber
- molten liquid
- fibrillated
- Prior art date
- Legal status (The legal status is an assumption and is not a legal conclusion. Google has not performed a legal analysis and makes no representation as to the accuracy of the status listed.)
- Granted
Links
Images
Landscapes
- Treatment Of Fiber Materials (AREA)
- Artificial Filaments (AREA)
- Woven Fabrics (AREA)
- Paper (AREA)
Abstract
【解決手段】溶融液晶ポリマーのフィブリル化物の製造方法は、数平均分子量1,000〜30,000の溶融液晶ポリマー繊維1を支持体3上に準備する準備工程と、
前記繊維1に対して、100〜300kgf/cm2の水流を噴射して、前記繊維1をフィブリル化するフィブリル化工程と、
を少なくとも備える。支持体3上に載置する溶融液晶ポリマー繊維1は、織編物などの集合体であってもよい。
【選択図】図1
Description
本発明の別の目的は、パルプ状物内部での分散性に優れている溶融液晶ポリマー繊維のフィブリル化物を提供することにある。
本発明のさらに別の目的は、紙力・地合に優れた合成紙を製造するのに好適な溶融液晶ポリマー繊維のフィブリル化物を提供することにある。
(溶融液晶ポリマー繊維を構成するポリマー)
本発明で用いられる溶融時に光学的異方性を示す液晶ポリマー繊維(溶融液晶ポリマー繊維)を構成するポリマーは、溶融成形できる液晶性ポリマーであれば特にその化学的構成については特に限定されるものではないが、例えば、サーモトロピック液晶ポリエステル、又はこれにアミド結合が導入されたサーモトロピック液晶ポリエステルアミドなどを挙げることができる。
また溶融液晶ポリマーは、芳香族ポリエステルまたは芳香族ポリエステルアミドに、更にイミド結合、カーボネート結合、カルボジイミド結合やイソシアヌレート結合などのイソシアネート由来の結合等が導入されたポリマーであってもよい。
次に、溶融液晶ポリマーの紡糸方法について述べる。溶融液晶ポリマーは、ノズルを通過する時のせん断速度を103〜105sec−1とすると、紡糸時に著しい分子配向が生じるため、通常のポリエチレンテレフタレート紡糸原糸などに行われている紡糸後の延伸を行なわなくとも、紡糸原糸のままで強度8cN/dtex以上、弾性率400cN/dtex以上の繊維となる。本発明にいうせん断速度γは、円形ノズルの場合は次式により求めることが出来る。
γ=4Q/πr3(sec−1)
但し r:ノズルの半径(cm)
Q:単孔当たりのポリマー吐出量(cm3/sec)
これらのうち、水圧の高い水流に対して繊維が飛散するのを防止できるだけでなく、効率的に水流を噴射できるため、集合体は、織編物の形状を有しているのが好ましい。
フィブリル化工程では、支持体上に準備した繊維に対して、所定の水圧の水流を噴射し、繊維のフィブリル化を行う。
試料0.1gを精秤してとり、n−プロピルアミン2mlを添加して、室温で3昼夜攪拌し完全溶解した。アミン分解液のHPLC測定を行うことにより、全末端数を把握し、数平均分子量を測定した。
フィブリル化物の電子顕微鏡写真を撮影し、その任意の10点について直径および長さを測定し平均値を求め、さらに他の任意の4ヶ所についても同様に撮影し、それぞれの箇所において同様にして平均値を求め、合計5箇所で得られた平均値の相加平均を直径とした。なお、枝部分の繊維長は40μm以上であった。
下記の各例で得られた合成紙から縦×横=15mm×200mmの試験片を採取し、その試験片を用いて、JIS P 8113−1976に準拠して、その縦方向および横方向の裂断長を測定し、縦方向と横方向の平均値、すなわち、
{(縦方向裂断長+横方向裂断長)/2}(単位km)
で表した。なお、この裂断長は、主に合成紙の引張強度を示す目安である。
合成紙の両面を肉眼で観察して、以下の基準を用いて評価した。
◎:いずれの面にも繊維および/またはパルプの浮き上がりやムラな部分がなく、平滑で均一な状態を呈している。
○:一方または両方の面に、繊維および/またはパルプの浮き上がりやムラな部分が見られるが、全体としては平滑で均一な状態を呈している。
×:一方または両方の面に繊維および/またはパルプの浮き上がりやムラな部分が存在し、面が平滑ではなく不均一な状態を呈している。
・ 溶融液晶ポリマー繊維の準備工程
パラアセトキシ安息香酸(A)と2,6−アセトキシナフトエ酸(B)の仕込み比を7:3(モル比)とし、重合温度310℃でアセテート法による重合を行い、繰り返し構成単位(A)と(B)のモル比が7:3である全芳香族ポリエステルポリマー(Mn=5,000、Mp=280℃)を作製した。この全芳香族ポリエステルを単軸押し出し機を用いて紡糸温度315℃にて0.15mm径、300ホールの口金より巻取り速度2000m/分で紡糸し、1670dtex/300フィラメントの紡糸原糸を得た。このフィラメントから溶融液晶ポリマー繊維の集合体(編物)を得た。
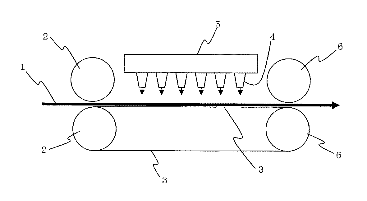
図1に示すように、前記準備工程(1)で得られた繊維集合体を、送り出しロール2,2によって送り出される支持ベルト3に載置し、5m/分の速度で、前記繊維集合体をベルトの長さ方向に移動させつつ、水流噴射装置5に接続された高圧噴射ノズル4から、水圧150kgf/cm2の水流を繊維集合体に対して噴射し、繊維をフィブリル化した。
前記工程(2)で得られたフィブリル化物を、カッターを用いて繊維長1.5mmにカットした。なお、ろ水度はJIS P8121−1976に準拠して、カナディアン標準フリーネス(CFS値)(単位ml)より求めた。
目付約35g/m2となるように計量して水中に投じ、攪拌分散させた後、この分散物を80メッシュのステンレス金網により抄紙し、シート状物を得た。次いでこのシート状物を表面温度120℃のドラム乾燥機で処理して脱水乾燥させた。得られた紙を200℃、100kg/cmの条件でカレンダー処理した。
得られたフィブリル化物の平均繊維径、パルプ状物のろ水度、ならびに合成紙の裂断長および地合いについて、表6に示す。
実施例1の全芳香族ポリマーをMn=8,000とする以外は、実施例1と同様にした。
得られたフィブリル化物の平均繊維径、パルプ状物のろ水度、ならびに合成紙の裂断長および地合いについて、表6に示す。
実施例1の全芳香族ポリマーをMn=13,000とする以外は、実施例1と同様にした。
得られたフィブリル化物の平均繊維径、パルプ状物のろ水度、ならびに合成紙の裂断長および地合いについて、表6に示す。
実施例1で得られた紡糸原糸を、さらに乾燥窒素雰囲気下にて260℃で12時間熱処理し、処理後の紡糸原糸のMn=40,000とする以外は、実施例1と同様にした。
得られたフィブリル化物の平均繊維径、パルプ状物のろ水度、ならびに合成紙の裂断長および地合いについて、表6に示す。
実施例1で得られた紡糸原糸を、さらに乾燥窒素雰囲気下にて280℃で12時間熱処理し、処理後の紡糸原糸のMn=70,000とする以外は、実施例1と同様にした。
得られたフィブリル化物の平均繊維径、パルプ状物のろ水度、ならびに合成紙の裂断長および地合いについて、表6に示す。
2:送り出しロール
3:支持ベルト
4:高圧噴射ノズル
5:水流噴射装置
6:引取りロール
Claims (9)
- 溶融時に光学的異方性を示し、数平均分子量1,000〜30,000の液晶ポリマー繊維を支持体上に準備する準備工程と、
前記繊維に対して、100〜300kgf/cm2の水流を噴射して、前記繊維をフィブリル化するフィブリル化工程と、
を少なくとも備え、フィブリル化溶融液晶ポリマー繊維を製造する方法。 - 請求項1において、準備工程において溶融液晶ポリマー繊維の集合体を準備する製造方法。
- 請求項2において、溶融液晶ポリマー繊維の集合体が、織編物の形状である製造方法。
- 請求項1〜3のいずれか一項に記載の製造方法により形成された溶融液晶ポリマー繊維のフィブリル化物。
- 請求項4において、少なくとも繊維の一部に、繊維長が40μm以上、かつ繊維径が1μm以下の枝構造を有しているフィブリル化物。
- 請求項4または5において、枝部分の平均繊維径が0.1〜1μmであるフィブリル化物。
- 請求項4〜6のいずれか一項において、アルカリ化物または溶解パラメーターが10未満の低極性有機溶媒を実質的に含まないフィブリル化物。
- 請求項4〜7のいずれか一項に記載のフィブリル化物で構成されるパルプ状物。
- 請求項4〜7のいずれか一項に記載のフィブリル化物で構成される合成紙。
Priority Applications (1)
| Application Number | Priority Date | Filing Date | Title |
|---|---|---|---|
| JP2008244123A JP5254720B2 (ja) | 2008-09-24 | 2008-09-24 | フィブリル化溶融液晶ポリマー繊維の製造方法 |
Applications Claiming Priority (1)
| Application Number | Priority Date | Filing Date | Title |
|---|---|---|---|
| JP2008244123A JP5254720B2 (ja) | 2008-09-24 | 2008-09-24 | フィブリル化溶融液晶ポリマー繊維の製造方法 |
Publications (2)
| Publication Number | Publication Date |
|---|---|
| JP2010077548A true JP2010077548A (ja) | 2010-04-08 |
| JP5254720B2 JP5254720B2 (ja) | 2013-08-07 |
Family
ID=42208287
Family Applications (1)
| Application Number | Title | Priority Date | Filing Date |
|---|---|---|---|
| JP2008244123A Expired - Fee Related JP5254720B2 (ja) | 2008-09-24 | 2008-09-24 | フィブリル化溶融液晶ポリマー繊維の製造方法 |
Country Status (1)
| Country | Link |
|---|---|
| JP (1) | JP5254720B2 (ja) |
Cited By (3)
| Publication number | Priority date | Publication date | Assignee | Title |
|---|---|---|---|---|
| JP2013159887A (ja) * | 2012-02-09 | 2013-08-19 | Kuraray Co Ltd | 耐久性に優れた高性能ワイピング材 |
| WO2022220079A1 (ja) * | 2021-04-14 | 2022-10-20 | 株式会社村田製作所 | 繊維マットの製造方法、および繊維マット |
| US11646127B2 (en) | 2013-05-22 | 2023-05-09 | Murata Manufacturing Co., Ltd. | Fibrillated liquid crystal polymer powder, method of producing fibrillated liquid crystal polymer powder, paste, resin multilayer substrate, and method of producing resin multilayer substrate |
Citations (4)
| Publication number | Priority date | Publication date | Assignee | Title |
|---|---|---|---|---|
| JPS60239600A (ja) * | 1984-05-11 | 1985-11-28 | ヘキスト・セラニーズ・コーポレーション | サ−モトロピツク液晶ポリマ−のフイブリルよりなる高性能紙 |
| JPH0931817A (ja) * | 1995-05-10 | 1997-02-04 | Japan Vilene Co Ltd | 不織布 |
| JP2007107139A (ja) * | 2005-10-14 | 2007-04-26 | Du Pont Toray Co Ltd | 防護用布帛およびその製造方法 |
| JP2008111210A (ja) * | 2006-10-31 | 2008-05-15 | Toray Ind Inc | 布帛およびその製造方法 |
-
2008
- 2008-09-24 JP JP2008244123A patent/JP5254720B2/ja not_active Expired - Fee Related
Patent Citations (4)
| Publication number | Priority date | Publication date | Assignee | Title |
|---|---|---|---|---|
| JPS60239600A (ja) * | 1984-05-11 | 1985-11-28 | ヘキスト・セラニーズ・コーポレーション | サ−モトロピツク液晶ポリマ−のフイブリルよりなる高性能紙 |
| JPH0931817A (ja) * | 1995-05-10 | 1997-02-04 | Japan Vilene Co Ltd | 不織布 |
| JP2007107139A (ja) * | 2005-10-14 | 2007-04-26 | Du Pont Toray Co Ltd | 防護用布帛およびその製造方法 |
| JP2008111210A (ja) * | 2006-10-31 | 2008-05-15 | Toray Ind Inc | 布帛およびその製造方法 |
Cited By (6)
| Publication number | Priority date | Publication date | Assignee | Title |
|---|---|---|---|---|
| JP2013159887A (ja) * | 2012-02-09 | 2013-08-19 | Kuraray Co Ltd | 耐久性に優れた高性能ワイピング材 |
| US11646127B2 (en) | 2013-05-22 | 2023-05-09 | Murata Manufacturing Co., Ltd. | Fibrillated liquid crystal polymer powder, method of producing fibrillated liquid crystal polymer powder, paste, resin multilayer substrate, and method of producing resin multilayer substrate |
| WO2022220079A1 (ja) * | 2021-04-14 | 2022-10-20 | 株式会社村田製作所 | 繊維マットの製造方法、および繊維マット |
| JPWO2022220079A1 (ja) * | 2021-04-14 | 2022-10-20 | ||
| CN117015642A (zh) * | 2021-04-14 | 2023-11-07 | 株式会社村田制作所 | 纤维毡的制造方法和纤维毡 |
| JP7495010B2 (ja) | 2021-04-14 | 2024-06-04 | 株式会社村田製作所 | 繊維マットの製造方法、および繊維マット |
Also Published As
| Publication number | Publication date |
|---|---|
| JP5254720B2 (ja) | 2013-08-07 |
Similar Documents
| Publication | Publication Date | Title |
|---|---|---|
| US5169499A (en) | Paper machine felts of a copolymer of 1,4-dimethylolcyclohexane, terephthalic acid, and isophthalic acid | |
| JP3079571B2 (ja) | ポリテトラフルオロエチレン繊維,それを含む綿状物およびその製造方法 | |
| RU2436878C2 (ru) | Расщепляющееся сопряженное волокно, его агрегат и волокнистая форма, выполненная из расщепляющегося сопряженного волокна | |
| JP2010070870A (ja) | 不織布の製造方法および不織布および不織布構造体および繊維製品 | |
| JP2011137267A (ja) | 湿式短繊維不織布 | |
| JP5254720B2 (ja) | フィブリル化溶融液晶ポリマー繊維の製造方法 | |
| JP5421199B2 (ja) | 湿式短繊維不織布 | |
| JP4338507B2 (ja) | 高強度不織布 | |
| US5954920A (en) | Paper comprising aromatic polyester and process for producing the same | |
| KR101031924B1 (ko) | 나노사이즈의 메타아라미드피브릴의 제조방법 | |
| TWI409373B (zh) | 刺繡用基布及其製法 | |
| JP5610831B2 (ja) | 湿式短繊維不織布用ショートカット複合繊維 | |
| JP6211882B2 (ja) | 湿式不織布およびセパレーター | |
| WO2023243396A1 (ja) | 短繊維、繊維分散液および不織布 | |
| JPH02216295A (ja) | 高強力ポリエステル繊維紙の製造方法 | |
| JP4468025B2 (ja) | 分割型複合繊維及びポリアミド繊維構造物 | |
| JP2003129392A (ja) | 湿式不織布 | |
| JPH0754257A (ja) | ポリビニルアルコール系水溶性長繊維不織布 | |
| JP5689626B2 (ja) | 湿式短繊維不織布 | |
| TW554097B (en) | Divisible hollow copolyester fibers, and divided copolyester fibers, woven or knitted fabric, artificial leather and nonwoven fabric comprising same | |
| JPH0327195A (ja) | 水分散溶解性能を有する嵩高紙及びその製造方法 | |
| JP5485790B2 (ja) | 湿式短繊維不織布用ショートカット繊維 | |
| JPS6246679B2 (ja) | ||
| JPH08325912A (ja) | 生分解性不織布およびその製造方法 | |
| KR20010009106A (ko) | 생분해성 장섬유부직포 및 그 제조방법 |
Legal Events
| Date | Code | Title | Description |
|---|---|---|---|
| A621 | Written request for application examination |
Free format text: JAPANESE INTERMEDIATE CODE: A621 Effective date: 20110225 |
|
| A977 | Report on retrieval |
Free format text: JAPANESE INTERMEDIATE CODE: A971007 Effective date: 20120920 |
|
| A131 | Notification of reasons for refusal |
Free format text: JAPANESE INTERMEDIATE CODE: A131 Effective date: 20121002 |
|
| A521 | Request for written amendment filed |
Free format text: JAPANESE INTERMEDIATE CODE: A523 Effective date: 20121121 |
|
| TRDD | Decision of grant or rejection written | ||
| A01 | Written decision to grant a patent or to grant a registration (utility model) |
Free format text: JAPANESE INTERMEDIATE CODE: A01 Effective date: 20130402 |
|
| A61 | First payment of annual fees (during grant procedure) |
Free format text: JAPANESE INTERMEDIATE CODE: A61 Effective date: 20130418 |
|
| R150 | Certificate of patent or registration of utility model |
Ref document number: 5254720 Country of ref document: JP Free format text: JAPANESE INTERMEDIATE CODE: R150 Free format text: JAPANESE INTERMEDIATE CODE: R150 |
|
| FPAY | Renewal fee payment (event date is renewal date of database) |
Free format text: PAYMENT UNTIL: 20160426 Year of fee payment: 3 |
|
| LAPS | Cancellation because of no payment of annual fees |
