JP2010076181A - 光学フィルムの製造方法、光学フィルム及び偏光板 - Google Patents
光学フィルムの製造方法、光学フィルム及び偏光板 Download PDFInfo
- Publication number
- JP2010076181A JP2010076181A JP2008245511A JP2008245511A JP2010076181A JP 2010076181 A JP2010076181 A JP 2010076181A JP 2008245511 A JP2008245511 A JP 2008245511A JP 2008245511 A JP2008245511 A JP 2008245511A JP 2010076181 A JP2010076181 A JP 2010076181A
- Authority
- JP
- Japan
- Prior art keywords
- film
- optical film
- compound
- laser
- wavelength
- Prior art date
- Legal status (The legal status is an assumption and is not a legal conclusion. Google has not performed a legal analysis and makes no representation as to the accuracy of the status listed.)
- Granted
Links
- 239000012788 optical film Substances 0.000 title claims abstract description 88
- 238000004519 manufacturing process Methods 0.000 title claims abstract description 37
- 238000000034 method Methods 0.000 claims abstract description 78
- 150000001875 compounds Chemical class 0.000 claims abstract description 60
- 230000008569 process Effects 0.000 claims abstract description 18
- 238000005520 cutting process Methods 0.000 claims abstract description 17
- 230000001678 irradiating effect Effects 0.000 claims abstract description 9
- 239000010408 film Substances 0.000 abstract description 192
- 229920005989 resin Polymers 0.000 description 41
- 239000011347 resin Substances 0.000 description 41
- 238000005266 casting Methods 0.000 description 35
- 238000004049 embossing Methods 0.000 description 31
- -1 aliphatic hydrocarbon chlorides Chemical class 0.000 description 23
- 238000012545 processing Methods 0.000 description 23
- 229920002678 cellulose Polymers 0.000 description 22
- 239000002904 solvent Substances 0.000 description 20
- 125000001557 phthalyl group Chemical group C(=O)(O)C1=C(C(=O)*)C=CC=C1 0.000 description 19
- 125000000217 alkyl group Chemical group 0.000 description 18
- 238000001035 drying Methods 0.000 description 18
- 239000010419 fine particle Substances 0.000 description 17
- 239000000047 product Substances 0.000 description 16
- YMWUJEATGCHHMB-UHFFFAOYSA-N Dichloromethane Chemical compound ClCCl YMWUJEATGCHHMB-UHFFFAOYSA-N 0.000 description 15
- 239000004973 liquid crystal related substance Substances 0.000 description 15
- 239000000243 solution Substances 0.000 description 15
- 229920002284 Cellulose triacetate Polymers 0.000 description 13
- NNLVGZFZQQXQNW-ADJNRHBOSA-N [(2r,3r,4s,5r,6s)-4,5-diacetyloxy-3-[(2s,3r,4s,5r,6r)-3,4,5-triacetyloxy-6-(acetyloxymethyl)oxan-2-yl]oxy-6-[(2r,3r,4s,5r,6s)-4,5,6-triacetyloxy-2-(acetyloxymethyl)oxan-3-yl]oxyoxan-2-yl]methyl acetate Chemical compound O([C@@H]1O[C@@H]([C@H]([C@H](OC(C)=O)[C@H]1OC(C)=O)O[C@H]1[C@@H]([C@@H](OC(C)=O)[C@H](OC(C)=O)[C@@H](COC(C)=O)O1)OC(C)=O)COC(=O)C)[C@@H]1[C@@H](COC(C)=O)O[C@@H](OC(C)=O)[C@H](OC(C)=O)[C@H]1OC(C)=O NNLVGZFZQQXQNW-ADJNRHBOSA-N 0.000 description 13
- 239000010410 layer Substances 0.000 description 13
- LFQSCWFLJHTTHZ-UHFFFAOYSA-N Ethanol Chemical compound CCO LFQSCWFLJHTTHZ-UHFFFAOYSA-N 0.000 description 11
- VYPSYNLAJGMNEJ-UHFFFAOYSA-N Silicium dioxide Chemical compound O=[Si]=O VYPSYNLAJGMNEJ-UHFFFAOYSA-N 0.000 description 11
- 238000009835 boiling Methods 0.000 description 10
- 239000000155 melt Substances 0.000 description 9
- JFNLZVQOOSMTJK-KNVOCYPGSA-N norbornene Chemical compound C1[C@@H]2CC[C@H]1C=C2 JFNLZVQOOSMTJK-KNVOCYPGSA-N 0.000 description 9
- 239000004014 plasticizer Substances 0.000 description 9
- 125000003545 alkoxy group Chemical group 0.000 description 8
- 230000000052 comparative effect Effects 0.000 description 8
- 229960001545 hydrotalcite Drugs 0.000 description 8
- 229910001701 hydrotalcite Inorganic materials 0.000 description 8
- 238000004804 winding Methods 0.000 description 8
- GDVKFRBCXAPAQJ-UHFFFAOYSA-A dialuminum;hexamagnesium;carbonate;hexadecahydroxide Chemical compound [OH-].[OH-].[OH-].[OH-].[OH-].[OH-].[OH-].[OH-].[OH-].[OH-].[OH-].[OH-].[OH-].[OH-].[OH-].[OH-].[Mg+2].[Mg+2].[Mg+2].[Mg+2].[Mg+2].[Mg+2].[Al+3].[Al+3].[O-]C([O-])=O GDVKFRBCXAPAQJ-UHFFFAOYSA-A 0.000 description 7
- 239000000178 monomer Substances 0.000 description 7
- 230000001681 protective effect Effects 0.000 description 7
- QTBSBXVTEAMEQO-UHFFFAOYSA-N Acetic acid Chemical compound CC(O)=O QTBSBXVTEAMEQO-UHFFFAOYSA-N 0.000 description 6
- 125000002496 methyl group Chemical group [H]C([H])([H])* 0.000 description 6
- 239000002245 particle Substances 0.000 description 6
- 239000013557 residual solvent Substances 0.000 description 6
- 229910002012 Aerosil® Inorganic materials 0.000 description 5
- JVTAAEKCZFNVCJ-UHFFFAOYSA-M Lactate Chemical compound CC(O)C([O-])=O JVTAAEKCZFNVCJ-UHFFFAOYSA-M 0.000 description 5
- 230000000694 effects Effects 0.000 description 5
- 238000001125 extrusion Methods 0.000 description 5
- 125000004435 hydrogen atom Chemical group [H]* 0.000 description 5
- 229910052751 metal Inorganic materials 0.000 description 5
- 239000002184 metal Substances 0.000 description 5
- 239000000203 mixture Substances 0.000 description 5
- 125000002347 octyl group Chemical group [H]C([*])([H])C([H])([H])C([H])([H])C([H])([H])C([H])([H])C([H])([H])C([H])([H])C([H])([H])[H] 0.000 description 5
- NORCOOJYTVHQCR-UHFFFAOYSA-N propyl 2-hydroxyacetate Chemical compound CCCOC(=O)CO NORCOOJYTVHQCR-UHFFFAOYSA-N 0.000 description 5
- 239000002994 raw material Substances 0.000 description 5
- 229910001220 stainless steel Inorganic materials 0.000 description 5
- 239000010935 stainless steel Substances 0.000 description 5
- 239000006097 ultraviolet radiation absorber Substances 0.000 description 5
- PZBLUWVMZMXIKZ-UHFFFAOYSA-N 2-o-(2-ethoxy-2-oxoethyl) 1-o-ethyl benzene-1,2-dicarboxylate Chemical compound CCOC(=O)COC(=O)C1=CC=CC=C1C(=O)OCC PZBLUWVMZMXIKZ-UHFFFAOYSA-N 0.000 description 4
- 239000004372 Polyvinyl alcohol Substances 0.000 description 4
- XBDQKXXYIPTUBI-UHFFFAOYSA-M Propionate Chemical compound CCC([O-])=O XBDQKXXYIPTUBI-UHFFFAOYSA-M 0.000 description 4
- 125000003342 alkenyl group Chemical group 0.000 description 4
- 125000003118 aryl group Chemical group 0.000 description 4
- 239000011248 coating agent Substances 0.000 description 4
- 238000000576 coating method Methods 0.000 description 4
- 238000001816 cooling Methods 0.000 description 4
- 230000007547 defect Effects 0.000 description 4
- 230000006866 deterioration Effects 0.000 description 4
- 125000001495 ethyl group Chemical group [H]C([H])([H])C([H])([H])* 0.000 description 4
- 229920002451 polyvinyl alcohol Polymers 0.000 description 4
- 125000001436 propyl group Chemical group [H]C([*])([H])C([H])([H])C([H])([H])[H] 0.000 description 4
- 230000002829 reductive effect Effects 0.000 description 4
- 229920000742 Cotton Polymers 0.000 description 3
- KFZMGEQAYNKOFK-UHFFFAOYSA-N Isopropanol Chemical compound CC(C)O KFZMGEQAYNKOFK-UHFFFAOYSA-N 0.000 description 3
- WMFOQBRAJBCJND-UHFFFAOYSA-M Lithium hydroxide Chemical compound [Li+].[OH-] WMFOQBRAJBCJND-UHFFFAOYSA-M 0.000 description 3
- OKKJLVBELUTLKV-UHFFFAOYSA-N Methanol Chemical compound OC OKKJLVBELUTLKV-UHFFFAOYSA-N 0.000 description 3
- 238000012644 addition polymerization Methods 0.000 description 3
- 239000000654 additive Substances 0.000 description 3
- 239000000853 adhesive Substances 0.000 description 3
- 230000001070 adhesive effect Effects 0.000 description 3
- 239000003963 antioxidant agent Substances 0.000 description 3
- 239000007864 aqueous solution Substances 0.000 description 3
- VFGRALUHHHDIQI-UHFFFAOYSA-N butyl 2-hydroxyacetate Chemical compound CCCCOC(=O)CO VFGRALUHHHDIQI-UHFFFAOYSA-N 0.000 description 3
- 125000000484 butyl group Chemical group [H]C([*])([H])C([H])([H])C([H])([H])C([H])([H])[H] 0.000 description 3
- 125000004432 carbon atom Chemical group C* 0.000 description 3
- ZANNOFHADGWOLI-UHFFFAOYSA-N ethyl 2-hydroxyacetate Chemical compound CCOC(=O)CO ZANNOFHADGWOLI-UHFFFAOYSA-N 0.000 description 3
- 238000011156 evaluation Methods 0.000 description 3
- 125000005843 halogen group Chemical group 0.000 description 3
- 238000010438 heat treatment Methods 0.000 description 3
- 230000001771 impaired effect Effects 0.000 description 3
- 239000007788 liquid Substances 0.000 description 3
- 239000002905 metal composite material Substances 0.000 description 3
- 150000002739 metals Chemical class 0.000 description 3
- FKUVGXBVCSQMHI-UHFFFAOYSA-N octyl 2-hydroxyacetate Chemical compound CCCCCCCCOC(=O)CO FKUVGXBVCSQMHI-UHFFFAOYSA-N 0.000 description 3
- 230000003287 optical effect Effects 0.000 description 3
- RVTZCBVAJQQJTK-UHFFFAOYSA-N oxygen(2-);zirconium(4+) Chemical compound [O-2].[O-2].[Zr+4] RVTZCBVAJQQJTK-UHFFFAOYSA-N 0.000 description 3
- 229920000642 polymer Polymers 0.000 description 3
- 239000000377 silicon dioxide Substances 0.000 description 3
- 235000012239 silicon dioxide Nutrition 0.000 description 3
- 229920002050 silicone resin Polymers 0.000 description 3
- 238000005507 spraying Methods 0.000 description 3
- XZZNDPSIHUTMOC-UHFFFAOYSA-N triphenyl phosphate Chemical compound C=1C=CC=CC=1OP(OC=1C=CC=CC=1)(=O)OC1=CC=CC=C1 XZZNDPSIHUTMOC-UHFFFAOYSA-N 0.000 description 3
- 229910001928 zirconium oxide Inorganic materials 0.000 description 3
- QSRJVOOOWGXUDY-UHFFFAOYSA-N 2-[2-[2-[3-(3-tert-butyl-4-hydroxy-5-methylphenyl)propanoyloxy]ethoxy]ethoxy]ethyl 3-(3-tert-butyl-4-hydroxy-5-methylphenyl)propanoate Chemical compound CC(C)(C)C1=C(O)C(C)=CC(CCC(=O)OCCOCCOCCOC(=O)CCC=2C=C(C(O)=C(C)C=2)C(C)(C)C)=C1 QSRJVOOOWGXUDY-UHFFFAOYSA-N 0.000 description 2
- ZCYVEMRRCGMTRW-UHFFFAOYSA-N 7553-56-2 Chemical compound [I] ZCYVEMRRCGMTRW-UHFFFAOYSA-N 0.000 description 2
- 239000004925 Acrylic resin Substances 0.000 description 2
- 229920000178 Acrylic resin Polymers 0.000 description 2
- GOJCZVPJCKEBQV-UHFFFAOYSA-N Butyl phthalyl butylglycolate Chemical compound CCCCOC(=O)COC(=O)C1=CC=CC=C1C(=O)OCCCC GOJCZVPJCKEBQV-UHFFFAOYSA-N 0.000 description 2
- NLZUEZXRPGMBCV-UHFFFAOYSA-N Butylhydroxytoluene Chemical compound CC1=CC(C(C)(C)C)=C(O)C(C(C)(C)C)=C1 NLZUEZXRPGMBCV-UHFFFAOYSA-N 0.000 description 2
- VTYYLEPIZMXCLO-UHFFFAOYSA-L Calcium carbonate Chemical compound [Ca+2].[O-]C([O-])=O VTYYLEPIZMXCLO-UHFFFAOYSA-L 0.000 description 2
- NIQCNGHVCWTJSM-UHFFFAOYSA-N Dimethyl phthalate Chemical compound COC(=O)C1=CC=CC=C1C(=O)OC NIQCNGHVCWTJSM-UHFFFAOYSA-N 0.000 description 2
- LYCAIKOWRPUZTN-UHFFFAOYSA-N Ethylene glycol Chemical compound OCCO LYCAIKOWRPUZTN-UHFFFAOYSA-N 0.000 description 2
- OAKJQQAXSVQMHS-UHFFFAOYSA-N Hydrazine Chemical compound NN OAKJQQAXSVQMHS-UHFFFAOYSA-N 0.000 description 2
- WHXSMMKQMYFTQS-UHFFFAOYSA-N Lithium Chemical compound [Li] WHXSMMKQMYFTQS-UHFFFAOYSA-N 0.000 description 2
- CSNNHWWHGAXBCP-UHFFFAOYSA-L Magnesium sulfate Chemical compound [Mg+2].[O-][S+2]([O-])([O-])[O-] CSNNHWWHGAXBCP-UHFFFAOYSA-L 0.000 description 2
- LRHPLDYGYMQRHN-UHFFFAOYSA-N N-Butanol Chemical compound CCCCO LRHPLDYGYMQRHN-UHFFFAOYSA-N 0.000 description 2
- 239000004820 Pressure-sensitive adhesive Substances 0.000 description 2
- 238000010521 absorption reaction Methods 0.000 description 2
- 125000002777 acetyl group Chemical group [H]C([H])([H])C(*)=O 0.000 description 2
- 239000002253 acid Substances 0.000 description 2
- 150000007513 acids Chemical class 0.000 description 2
- 239000012790 adhesive layer Substances 0.000 description 2
- 229920003232 aliphatic polyester Polymers 0.000 description 2
- 239000003513 alkali Substances 0.000 description 2
- 229910052782 aluminium Inorganic materials 0.000 description 2
- XAGFODPZIPBFFR-UHFFFAOYSA-N aluminium Chemical compound [Al] XAGFODPZIPBFFR-UHFFFAOYSA-N 0.000 description 2
- 230000003078 antioxidant effect Effects 0.000 description 2
- 125000004104 aryloxy group Chemical group 0.000 description 2
- 239000002585 base Substances 0.000 description 2
- 230000005540 biological transmission Effects 0.000 description 2
- 230000015572 biosynthetic process Effects 0.000 description 2
- BJQHLKABXJIVAM-UHFFFAOYSA-N bis(2-ethylhexyl) phthalate Chemical compound CCCCC(CC)COC(=O)C1=CC=CC=C1C(=O)OCC(CC)CCCC BJQHLKABXJIVAM-UHFFFAOYSA-N 0.000 description 2
- 239000000378 calcium silicate Substances 0.000 description 2
- 229910052918 calcium silicate Inorganic materials 0.000 description 2
- OSGAYBCDTDRGGQ-UHFFFAOYSA-L calcium sulfate Chemical compound [Ca+2].[O-]S([O-])(=O)=O OSGAYBCDTDRGGQ-UHFFFAOYSA-L 0.000 description 2
- OYACROKNLOSFPA-UHFFFAOYSA-N calcium;dioxido(oxo)silane Chemical compound [Ca+2].[O-][Si]([O-])=O OYACROKNLOSFPA-UHFFFAOYSA-N 0.000 description 2
- 150000001733 carboxylic acid esters Chemical class 0.000 description 2
- 229910052801 chlorine Inorganic materials 0.000 description 2
- 125000001309 chloro group Chemical group Cl* 0.000 description 2
- 239000002131 composite material Substances 0.000 description 2
- 210000002858 crystal cell Anatomy 0.000 description 2
- ZSWFCLXCOIISFI-UHFFFAOYSA-N cyclopentadiene Chemical compound C1C=CC=C1 ZSWFCLXCOIISFI-UHFFFAOYSA-N 0.000 description 2
- LPIQUOYDBNQMRZ-UHFFFAOYSA-N cyclopentene Chemical compound C1CC=CC1 LPIQUOYDBNQMRZ-UHFFFAOYSA-N 0.000 description 2
- FLKPEMZONWLCSK-UHFFFAOYSA-N diethyl phthalate Chemical compound CCOC(=O)C1=CC=CC=C1C(=O)OCC FLKPEMZONWLCSK-UHFFFAOYSA-N 0.000 description 2
- 229910052731 fluorine Inorganic materials 0.000 description 2
- 150000004679 hydroxides Chemical class 0.000 description 2
- 239000011261 inert gas Substances 0.000 description 2
- 229910052740 iodine Inorganic materials 0.000 description 2
- 239000011630 iodine Substances 0.000 description 2
- 238000010030 laminating Methods 0.000 description 2
- 238000003698 laser cutting Methods 0.000 description 2
- 239000002346 layers by function Substances 0.000 description 2
- 229910052744 lithium Inorganic materials 0.000 description 2
- 239000011777 magnesium Substances 0.000 description 2
- 229910052749 magnesium Inorganic materials 0.000 description 2
- 239000012046 mixed solvent Substances 0.000 description 2
- 150000002848 norbornenes Chemical class 0.000 description 2
- JRZJOMJEPLMPRA-UHFFFAOYSA-N olefin Natural products CCCCCCCC=C JRZJOMJEPLMPRA-UHFFFAOYSA-N 0.000 description 2
- 239000003960 organic solvent Substances 0.000 description 2
- 230000000737 periodic effect Effects 0.000 description 2
- 125000001997 phenyl group Chemical group [H]C1=C([H])C([H])=C(*)C([H])=C1[H] 0.000 description 2
- 150000003014 phosphoric acid esters Chemical class 0.000 description 2
- 150000003021 phthalic acid derivatives Chemical class 0.000 description 2
- 238000006116 polymerization reaction Methods 0.000 description 2
- 238000003825 pressing Methods 0.000 description 2
- BDERNNFJNOPAEC-UHFFFAOYSA-N propan-1-ol Chemical compound CCCO BDERNNFJNOPAEC-UHFFFAOYSA-N 0.000 description 2
- 230000002441 reversible effect Effects 0.000 description 2
- 238000007142 ring opening reaction Methods 0.000 description 2
- 238000007761 roller coating Methods 0.000 description 2
- 238000007127 saponification reaction Methods 0.000 description 2
- 239000007787 solid Substances 0.000 description 2
- 125000001424 substituent group Chemical group 0.000 description 2
- 238000006467 substitution reaction Methods 0.000 description 2
- 229920001169 thermoplastic Polymers 0.000 description 2
- 239000004416 thermosoftening plastic Substances 0.000 description 2
- 230000007704 transition Effects 0.000 description 2
- URAYPUMNDPQOKB-UHFFFAOYSA-N triacetin Chemical compound CC(=O)OCC(OC(C)=O)COC(C)=O URAYPUMNDPQOKB-UHFFFAOYSA-N 0.000 description 2
- XLYOFNOQVPJJNP-UHFFFAOYSA-N water Chemical compound O XLYOFNOQVPJJNP-UHFFFAOYSA-N 0.000 description 2
- 229920003169 water-soluble polymer Polymers 0.000 description 2
- 230000037303 wrinkles Effects 0.000 description 2
- OJOWICOBYCXEKR-APPZFPTMSA-N (1S,4R)-5-ethylidenebicyclo[2.2.1]hept-2-ene Chemical compound CC=C1C[C@@H]2C[C@@H]1C=C2 OJOWICOBYCXEKR-APPZFPTMSA-N 0.000 description 1
- BJQHLKABXJIVAM-BGYRXZFFSA-N 1-o-[(2r)-2-ethylhexyl] 2-o-[(2s)-2-ethylhexyl] benzene-1,2-dicarboxylate Chemical compound CCCC[C@H](CC)COC(=O)C1=CC=CC=C1C(=O)OC[C@H](CC)CCCC BJQHLKABXJIVAM-BGYRXZFFSA-N 0.000 description 1
- KWKAKUADMBZCLK-UHFFFAOYSA-N 1-octene Chemical compound CCCCCCC=C KWKAKUADMBZCLK-UHFFFAOYSA-N 0.000 description 1
- FJGQBLRYBUAASW-UHFFFAOYSA-N 2-(benzotriazol-2-yl)phenol Chemical compound OC1=CC=CC=C1N1N=C2C=CC=CC2=N1 FJGQBLRYBUAASW-UHFFFAOYSA-N 0.000 description 1
- YJERZJLSXBRUDQ-UHFFFAOYSA-N 2-o-(3,4-dihydroxybutyl) 1-o-methyl benzene-1,2-dicarboxylate Chemical compound COC(=O)C1=CC=CC=C1C(=O)OCCC(O)CO YJERZJLSXBRUDQ-UHFFFAOYSA-N 0.000 description 1
- 125000003903 2-propenyl group Chemical group [H]C([*])([H])C([H])=C([H])[H] 0.000 description 1
- HCILJBJJZALOAL-UHFFFAOYSA-N 3-(3,5-ditert-butyl-4-hydroxyphenyl)-n'-[3-(3,5-ditert-butyl-4-hydroxyphenyl)propanoyl]propanehydrazide Chemical compound CC(C)(C)C1=C(O)C(C(C)(C)C)=CC(CCC(=O)NNC(=O)CCC=2C=C(C(O)=C(C=2)C(C)(C)C)C(C)(C)C)=C1 HCILJBJJZALOAL-UHFFFAOYSA-N 0.000 description 1
- QRLSTWVLSWCGBT-UHFFFAOYSA-N 4-((4,6-bis(octylthio)-1,3,5-triazin-2-yl)amino)-2,6-di-tert-butylphenol Chemical compound CCCCCCCCSC1=NC(SCCCCCCCC)=NC(NC=2C=C(C(O)=C(C=2)C(C)(C)C)C(C)(C)C)=N1 QRLSTWVLSWCGBT-UHFFFAOYSA-N 0.000 description 1
- VSAWBBYYMBQKIK-UHFFFAOYSA-N 4-[[3,5-bis[(3,5-ditert-butyl-4-hydroxyphenyl)methyl]-2,4,6-trimethylphenyl]methyl]-2,6-ditert-butylphenol Chemical compound CC1=C(CC=2C=C(C(O)=C(C=2)C(C)(C)C)C(C)(C)C)C(C)=C(CC=2C=C(C(O)=C(C=2)C(C)(C)C)C(C)(C)C)C(C)=C1CC1=CC(C(C)(C)C)=C(O)C(C(C)(C)C)=C1 VSAWBBYYMBQKIK-UHFFFAOYSA-N 0.000 description 1
- YRIYXMAKROEVBQ-UHFFFAOYSA-N 5,5-dimethylbicyclo[2.2.1]hept-2-ene Chemical compound C1C2C(C)(C)CC1C=C2 YRIYXMAKROEVBQ-UHFFFAOYSA-N 0.000 description 1
- YSWATWCBYRBYBO-UHFFFAOYSA-N 5-butylbicyclo[2.2.1]hept-2-ene Chemical compound C1C2C(CCCC)CC1C=C2 YSWATWCBYRBYBO-UHFFFAOYSA-N 0.000 description 1
- QHJIJNGGGLNBNJ-UHFFFAOYSA-N 5-ethylbicyclo[2.2.1]hept-2-ene Chemical compound C1C2C(CC)CC1C=C2 QHJIJNGGGLNBNJ-UHFFFAOYSA-N 0.000 description 1
- PCBPVYHMZBWMAZ-UHFFFAOYSA-N 5-methylbicyclo[2.2.1]hept-2-ene Chemical compound C1C2C(C)CC1C=C2 PCBPVYHMZBWMAZ-UHFFFAOYSA-N 0.000 description 1
- PGNNHYNYFLXKDZ-UHFFFAOYSA-N 5-phenylbicyclo[2.2.1]hept-2-ene Chemical compound C1=CC2CC1CC2C1=CC=CC=C1 PGNNHYNYFLXKDZ-UHFFFAOYSA-N 0.000 description 1
- ZVVFVKJZNVSANF-UHFFFAOYSA-N 6-[3-(3,5-ditert-butyl-4-hydroxyphenyl)propanoyloxy]hexyl 3-(3,5-ditert-butyl-4-hydroxyphenyl)propanoate Chemical compound CC(C)(C)C1=C(O)C(C(C)(C)C)=CC(CCC(=O)OCCCCCCOC(=O)CCC=2C=C(C(O)=C(C=2)C(C)(C)C)C(C)(C)C)=C1 ZVVFVKJZNVSANF-UHFFFAOYSA-N 0.000 description 1
- 239000005995 Aluminium silicate Substances 0.000 description 1
- IJGRMHOSHXDMSA-UHFFFAOYSA-N Atomic nitrogen Chemical compound N#N IJGRMHOSHXDMSA-UHFFFAOYSA-N 0.000 description 1
- WKBOTKDWSSQWDR-UHFFFAOYSA-N Bromine atom Chemical group [Br] WKBOTKDWSSQWDR-UHFFFAOYSA-N 0.000 description 1
- VBBCHDAFCQWZTG-UHFFFAOYSA-N C1(=CC=CC=C1)C12C=CC(C(C1)C)C2 Chemical compound C1(=CC=CC=C1)C12C=CC(C(C1)C)C2 VBBCHDAFCQWZTG-UHFFFAOYSA-N 0.000 description 1
- 229920008347 Cellulose acetate propionate Polymers 0.000 description 1
- 229920001747 Cellulose diacetate Polymers 0.000 description 1
- 229940126062 Compound A Drugs 0.000 description 1
- XDTMQSROBMDMFD-UHFFFAOYSA-N Cyclohexane Chemical compound C1CCCCC1 XDTMQSROBMDMFD-UHFFFAOYSA-N 0.000 description 1
- MQIUGAXCHLFZKX-UHFFFAOYSA-N Di-n-octyl phthalate Natural products CCCCCCCCOC(=O)C1=CC=CC=C1C(=O)OCCCCCCCC MQIUGAXCHLFZKX-UHFFFAOYSA-N 0.000 description 1
- PYGXAGIECVVIOZ-UHFFFAOYSA-N Dibutyl decanedioate Chemical compound CCCCOC(=O)CCCCCCCCC(=O)OCCCC PYGXAGIECVVIOZ-UHFFFAOYSA-N 0.000 description 1
- VGGSQFUCUMXWEO-UHFFFAOYSA-N Ethene Chemical compound C=C VGGSQFUCUMXWEO-UHFFFAOYSA-N 0.000 description 1
- 239000005977 Ethylene Substances 0.000 description 1
- YCKRFDGAMUMZLT-UHFFFAOYSA-N Fluorine atom Chemical compound [F] YCKRFDGAMUMZLT-UHFFFAOYSA-N 0.000 description 1
- AEMRFAOFKBGASW-UHFFFAOYSA-M Glycolate Chemical compound OCC([O-])=O AEMRFAOFKBGASW-UHFFFAOYSA-M 0.000 description 1
- AEMRFAOFKBGASW-UHFFFAOYSA-N Glycolic acid Chemical class OCC(O)=O AEMRFAOFKBGASW-UHFFFAOYSA-N 0.000 description 1
- NLDMNSXOCDLTTB-UHFFFAOYSA-N Heterophylliin A Natural products O1C2COC(=O)C3=CC(O)=C(O)C(O)=C3C3=C(O)C(O)=C(O)C=C3C(=O)OC2C(OC(=O)C=2C=C(O)C(O)=C(O)C=2)C(O)C1OC(=O)C1=CC(O)=C(O)C(O)=C1 NLDMNSXOCDLTTB-UHFFFAOYSA-N 0.000 description 1
- FYYHWMGAXLPEAU-UHFFFAOYSA-N Magnesium Chemical compound [Mg] FYYHWMGAXLPEAU-UHFFFAOYSA-N 0.000 description 1
- OAICVXFJPJFONN-UHFFFAOYSA-N Phosphorus Chemical compound [P] OAICVXFJPJFONN-UHFFFAOYSA-N 0.000 description 1
- 229920000954 Polyglycolide Polymers 0.000 description 1
- OFOBLEOULBTSOW-UHFFFAOYSA-N Propanedioic acid Natural products OC(=O)CC(O)=O OFOBLEOULBTSOW-UHFFFAOYSA-N 0.000 description 1
- 229920001131 Pulp (paper) Polymers 0.000 description 1
- XUIMIQQOPSSXEZ-UHFFFAOYSA-N Silicon Chemical compound [Si] XUIMIQQOPSSXEZ-UHFFFAOYSA-N 0.000 description 1
- YSMRWXYRXBRSND-UHFFFAOYSA-N TOTP Chemical compound CC1=CC=CC=C1OP(=O)(OC=1C(=CC=CC=1)C)OC1=CC=CC=C1C YSMRWXYRXBRSND-UHFFFAOYSA-N 0.000 description 1
- 239000007983 Tris buffer Substances 0.000 description 1
- 229910021536 Zeolite Inorganic materials 0.000 description 1
- YKTSYUJCYHOUJP-UHFFFAOYSA-N [O--].[Al+3].[Al+3].[O-][Si]([O-])([O-])[O-] Chemical compound [O--].[Al+3].[Al+3].[O-][Si]([O-])([O-])[O-] YKTSYUJCYHOUJP-UHFFFAOYSA-N 0.000 description 1
- OEMGCAOEZNBNAE-UHFFFAOYSA-N [P].[Li] Chemical compound [P].[Li] OEMGCAOEZNBNAE-UHFFFAOYSA-N 0.000 description 1
- 239000006096 absorbing agent Substances 0.000 description 1
- NIXOWILDQLNWCW-UHFFFAOYSA-N acrylic acid group Chemical group C(C=C)(=O)O NIXOWILDQLNWCW-UHFFFAOYSA-N 0.000 description 1
- 150000001298 alcohols Chemical class 0.000 description 1
- 239000012670 alkaline solution Substances 0.000 description 1
- 150000001336 alkenes Chemical class 0.000 description 1
- WNROFYMDJYEPJX-UHFFFAOYSA-K aluminium hydroxide Chemical compound [OH-].[OH-].[OH-].[Al+3] WNROFYMDJYEPJX-UHFFFAOYSA-K 0.000 description 1
- 235000012211 aluminium silicate Nutrition 0.000 description 1
- DIZPMCHEQGEION-UHFFFAOYSA-H aluminium sulfate (anhydrous) Chemical compound [Al+3].[Al+3].[O-]S([O-])(=O)=O.[O-]S([O-])(=O)=O.[O-]S([O-])(=O)=O DIZPMCHEQGEION-UHFFFAOYSA-H 0.000 description 1
- 230000003321 amplification Effects 0.000 description 1
- 150000001450 anions Chemical class 0.000 description 1
- 230000003373 anti-fouling effect Effects 0.000 description 1
- 125000001204 arachidyl group Chemical group [H]C([*])([H])C([H])([H])C([H])([H])C([H])([H])C([H])([H])C([H])([H])C([H])([H])C([H])([H])C([H])([H])C([H])([H])C([H])([H])C([H])([H])C([H])([H])C([H])([H])C([H])([H])C([H])([H])C([H])([H])C([H])([H])C([H])([H])C([H])([H])[H] 0.000 description 1
- BMAXQTDMWYDIJX-UHFFFAOYSA-N bicyclo[2.2.1]hept-2-ene-5-carbonitrile Chemical compound C1C2C(C#N)CC1C=C2 BMAXQTDMWYDIJX-UHFFFAOYSA-N 0.000 description 1
- 229910000019 calcium carbonate Inorganic materials 0.000 description 1
- AXCZMVOFGPJBDE-UHFFFAOYSA-L calcium dihydroxide Chemical compound [OH-].[OH-].[Ca+2] AXCZMVOFGPJBDE-UHFFFAOYSA-L 0.000 description 1
- 239000000920 calcium hydroxide Substances 0.000 description 1
- 229910001861 calcium hydroxide Inorganic materials 0.000 description 1
- BRPQOXSCLDDYGP-UHFFFAOYSA-N calcium oxide Chemical compound [O-2].[Ca+2] BRPQOXSCLDDYGP-UHFFFAOYSA-N 0.000 description 1
- 239000000292 calcium oxide Substances 0.000 description 1
- ODINCKMPIJJUCX-UHFFFAOYSA-N calcium oxide Inorganic materials [Ca]=O ODINCKMPIJJUCX-UHFFFAOYSA-N 0.000 description 1
- 239000001506 calcium phosphate Substances 0.000 description 1
- 229910000389 calcium phosphate Inorganic materials 0.000 description 1
- 235000011010 calcium phosphates Nutrition 0.000 description 1
- XFWJKVMFIVXPKK-UHFFFAOYSA-N calcium;oxido(oxo)alumane Chemical compound [Ca+2].[O-][Al]=O.[O-][Al]=O XFWJKVMFIVXPKK-UHFFFAOYSA-N 0.000 description 1
- 239000003054 catalyst Substances 0.000 description 1
- 229920006217 cellulose acetate butyrate Polymers 0.000 description 1
- 230000008859 change Effects 0.000 description 1
- KRKNYBCHXYNGOX-UHFFFAOYSA-N citric acid Chemical class OC(=O)CC(O)(C(O)=O)CC(O)=O KRKNYBCHXYNGOX-UHFFFAOYSA-N 0.000 description 1
- 239000004927 clay Substances 0.000 description 1
- 229910052570 clay Inorganic materials 0.000 description 1
- 238000013329 compounding Methods 0.000 description 1
- 238000007796 conventional method Methods 0.000 description 1
- 229920001577 copolymer Polymers 0.000 description 1
- 150000001925 cycloalkenes Chemical class 0.000 description 1
- 229940031954 dibutyl sebacate Drugs 0.000 description 1
- HANKSFAYJLDDKP-UHFFFAOYSA-N dihydrodicyclopentadiene Chemical compound C12CC=CC2C2CCC1C2 HANKSFAYJLDDKP-UHFFFAOYSA-N 0.000 description 1
- FBSAITBEAPNWJG-UHFFFAOYSA-N dimethyl phthalate Natural products CC(=O)OC1=CC=CC=C1OC(C)=O FBSAITBEAPNWJG-UHFFFAOYSA-N 0.000 description 1
- 229960001826 dimethylphthalate Drugs 0.000 description 1
- 229910001873 dinitrogen Inorganic materials 0.000 description 1
- HNPSIPDUKPIQMN-UHFFFAOYSA-N dioxosilane;oxo(oxoalumanyloxy)alumane Chemical compound O=[Si]=O.O=[Al]O[Al]=O HNPSIPDUKPIQMN-UHFFFAOYSA-N 0.000 description 1
- 238000004090 dissolution Methods 0.000 description 1
- 238000007606 doctor blade method Methods 0.000 description 1
- 125000003438 dodecyl group Chemical group [H]C([H])([H])C([H])([H])C([H])([H])C([H])([H])C([H])([H])C([H])([H])C([H])([H])C([H])([H])C([H])([H])C([H])([H])C([H])([H])C([H])([H])* 0.000 description 1
- 125000001301 ethoxy group Chemical group [H]C([H])([H])C([H])([H])O* 0.000 description 1
- JBTWLSYIZRCDFO-UHFFFAOYSA-N ethyl methyl carbonate Chemical compound CCOC(=O)OC JBTWLSYIZRCDFO-UHFFFAOYSA-N 0.000 description 1
- 238000001704 evaporation Methods 0.000 description 1
- 230000008020 evaporation Effects 0.000 description 1
- 238000004880 explosion Methods 0.000 description 1
- 239000003925 fat Substances 0.000 description 1
- 230000002349 favourable effect Effects 0.000 description 1
- 239000011737 fluorine Substances 0.000 description 1
- 125000001153 fluoro group Chemical group F* 0.000 description 1
- 238000007429 general method Methods 0.000 description 1
- 230000009477 glass transition Effects 0.000 description 1
- 239000001087 glyceryl triacetate Substances 0.000 description 1
- 235000013773 glyceryl triacetate Nutrition 0.000 description 1
- XLYOFNOQVPJJNP-UHFFFAOYSA-M hydroxide Chemical compound [OH-] XLYOFNOQVPJJNP-UHFFFAOYSA-M 0.000 description 1
- 125000002887 hydroxy group Chemical group [H]O* 0.000 description 1
- WGCNASOHLSPBMP-UHFFFAOYSA-N hydroxyacetaldehyde Natural products OCC=O WGCNASOHLSPBMP-UHFFFAOYSA-N 0.000 description 1
- 238000001746 injection moulding Methods 0.000 description 1
- 229960004592 isopropanol Drugs 0.000 description 1
- 125000001449 isopropyl group Chemical group [H]C([H])([H])C([H])(*)C([H])([H])[H] 0.000 description 1
- NLYAJNPCOHFWQQ-UHFFFAOYSA-N kaolin Chemical compound O.O.O=[Al]O[Si](=O)O[Si](=O)O[Al]=O NLYAJNPCOHFWQQ-UHFFFAOYSA-N 0.000 description 1
- 150000002596 lactones Chemical class 0.000 description 1
- 238000003475 lamination Methods 0.000 description 1
- 230000000670 limiting effect Effects 0.000 description 1
- 230000007774 longterm Effects 0.000 description 1
- ZLNQQNXFFQJAID-UHFFFAOYSA-L magnesium carbonate Chemical compound [Mg+2].[O-]C([O-])=O ZLNQQNXFFQJAID-UHFFFAOYSA-L 0.000 description 1
- 239000001095 magnesium carbonate Substances 0.000 description 1
- 229910000021 magnesium carbonate Inorganic materials 0.000 description 1
- VTHJTEIRLNZDEV-UHFFFAOYSA-L magnesium dihydroxide Chemical compound [OH-].[OH-].[Mg+2] VTHJTEIRLNZDEV-UHFFFAOYSA-L 0.000 description 1
- 239000000347 magnesium hydroxide Substances 0.000 description 1
- 229910001862 magnesium hydroxide Inorganic materials 0.000 description 1
- HCWCAKKEBCNQJP-UHFFFAOYSA-N magnesium orthosilicate Chemical compound [Mg+2].[Mg+2].[O-][Si]([O-])([O-])[O-] HCWCAKKEBCNQJP-UHFFFAOYSA-N 0.000 description 1
- 239000000395 magnesium oxide Substances 0.000 description 1
- CPLXHLVBOLITMK-UHFFFAOYSA-N magnesium oxide Inorganic materials [Mg]=O CPLXHLVBOLITMK-UHFFFAOYSA-N 0.000 description 1
- 239000000391 magnesium silicate Substances 0.000 description 1
- 229910052919 magnesium silicate Inorganic materials 0.000 description 1
- 235000019792 magnesium silicate Nutrition 0.000 description 1
- 229910052943 magnesium sulfate Inorganic materials 0.000 description 1
- 235000019341 magnesium sulphate Nutrition 0.000 description 1
- AXZKOIWUVFPNLO-UHFFFAOYSA-N magnesium;oxygen(2-) Chemical compound [O-2].[Mg+2] AXZKOIWUVFPNLO-UHFFFAOYSA-N 0.000 description 1
- VZCYOOQTPOCHFL-UPHRSURJSA-N maleic acid Chemical compound OC(=O)\C=C/C(O)=O VZCYOOQTPOCHFL-UPHRSURJSA-N 0.000 description 1
- 239000011976 maleic acid Substances 0.000 description 1
- 239000000463 material Substances 0.000 description 1
- 238000002844 melting Methods 0.000 description 1
- 230000008018 melting Effects 0.000 description 1
- 239000012528 membrane Substances 0.000 description 1
- 239000006078 metal deactivator Substances 0.000 description 1
- 229910044991 metal oxide Inorganic materials 0.000 description 1
- 150000004706 metal oxides Chemical class 0.000 description 1
- 125000000956 methoxy group Chemical group [H]C([H])([H])O* 0.000 description 1
- AEBDJCUTXUYLDC-UHFFFAOYSA-N methyl 5-methylbicyclo[2.2.1]hept-2-ene-5-carboxylate Chemical compound C1C2C(C(=O)OC)(C)CC1C=C2 AEBDJCUTXUYLDC-UHFFFAOYSA-N 0.000 description 1
- RMAZRAQKPTXZNL-UHFFFAOYSA-N methyl bicyclo[2.2.1]hept-2-ene-5-carboxylate Chemical compound C1C2C(C(=O)OC)CC1C=C2 RMAZRAQKPTXZNL-UHFFFAOYSA-N 0.000 description 1
- 239000010445 mica Substances 0.000 description 1
- 229910052618 mica group Inorganic materials 0.000 description 1
- 239000011259 mixed solution Substances 0.000 description 1
- 238000002156 mixing Methods 0.000 description 1
- 238000012986 modification Methods 0.000 description 1
- 230000004048 modification Effects 0.000 description 1
- 125000004108 n-butyl group Chemical group [H]C([H])([H])C([H])([H])C([H])([H])C([H])([H])* 0.000 description 1
- WIBFFTLQMKKBLZ-SEYXRHQNSA-N n-butyl oleate Chemical compound CCCCCCCC\C=C/CCCCCCCC(=O)OCCCC WIBFFTLQMKKBLZ-SEYXRHQNSA-N 0.000 description 1
- 125000000449 nitro group Chemical group [O-][N+](*)=O 0.000 description 1
- 125000001400 nonyl group Chemical group [H]C([*])([H])C([H])([H])C([H])([H])C([H])([H])C([H])([H])C([H])([H])C([H])([H])C([H])([H])C([H])([H])[H] 0.000 description 1
- 238000003199 nucleic acid amplification method Methods 0.000 description 1
- 125000005447 octyloxy group Chemical group [H]C([H])([H])C([H])([H])C([H])([H])C([H])([H])C([H])([H])C([H])([H])C([H])([H])C([H])([H])O* 0.000 description 1
- 230000010355 oscillation Effects 0.000 description 1
- KZAUOCCYDRDERY-UHFFFAOYSA-N oxamyl Chemical compound CNC(=O)ON=C(SC)C(=O)N(C)C KZAUOCCYDRDERY-UHFFFAOYSA-N 0.000 description 1
- 238000006864 oxidative decomposition reaction Methods 0.000 description 1
- TWNQGVIAIRXVLR-UHFFFAOYSA-N oxo(oxoalumanyloxy)alumane Chemical compound O=[Al]O[Al]=O TWNQGVIAIRXVLR-UHFFFAOYSA-N 0.000 description 1
- RGSFGYAAUTVSQA-UHFFFAOYSA-N pentamethylene Natural products C1CCCC1 RGSFGYAAUTVSQA-UHFFFAOYSA-N 0.000 description 1
- 230000035699 permeability Effects 0.000 description 1
- 150000003013 phosphoric acid derivatives Chemical class 0.000 description 1
- OJMIONKXNSYLSR-UHFFFAOYSA-N phosphorous acid Chemical compound OP(O)O OJMIONKXNSYLSR-UHFFFAOYSA-N 0.000 description 1
- 229910052698 phosphorus Inorganic materials 0.000 description 1
- 239000011574 phosphorus Substances 0.000 description 1
- 230000000704 physical effect Effects 0.000 description 1
- 239000011295 pitch Substances 0.000 description 1
- 238000005268 plasma chemical vapour deposition Methods 0.000 description 1
- 238000009832 plasma treatment Methods 0.000 description 1
- 229920003023 plastic Polymers 0.000 description 1
- 229920000747 poly(lactic acid) Polymers 0.000 description 1
- 229920003229 poly(methyl methacrylate) Polymers 0.000 description 1
- 229920002961 polybutylene succinate Polymers 0.000 description 1
- 239000004631 polybutylene succinate Substances 0.000 description 1
- 229920001610 polycaprolactone Polymers 0.000 description 1
- 239000004632 polycaprolactone Substances 0.000 description 1
- 229920000728 polyester Polymers 0.000 description 1
- 229920000921 polyethylene adipate Polymers 0.000 description 1
- 239000004633 polyglycolic acid Substances 0.000 description 1
- 239000004626 polylactic acid Substances 0.000 description 1
- 239000004926 polymethyl methacrylate Substances 0.000 description 1
- 229920005672 polyolefin resin Polymers 0.000 description 1
- 229920001296 polysiloxane Polymers 0.000 description 1
- 229920000036 polyvinylpyrrolidone Polymers 0.000 description 1
- 239000001267 polyvinylpyrrolidone Substances 0.000 description 1
- 235000013855 polyvinylpyrrolidone Nutrition 0.000 description 1
- 239000000843 powder Substances 0.000 description 1
- 239000002244 precipitate Substances 0.000 description 1
- 238000001556 precipitation Methods 0.000 description 1
- 238000002360 preparation method Methods 0.000 description 1
- 238000003672 processing method Methods 0.000 description 1
- BPJZKLBPJBMLQG-KWRJMZDGSA-N propanoyl (z,12r)-12-hydroxyoctadec-9-enoate Chemical compound CCCCCC[C@@H](O)C\C=C/CCCCCCCC(=O)OC(=O)CC BPJZKLBPJBMLQG-KWRJMZDGSA-N 0.000 description 1
- 238000005086 pumping Methods 0.000 description 1
- 230000005855 radiation Effects 0.000 description 1
- 238000007788 roughening Methods 0.000 description 1
- 125000002914 sec-butyl group Chemical group [H]C([H])([H])C([H])([H])C([H])(*)C([H])([H])[H] 0.000 description 1
- 239000010703 silicon Substances 0.000 description 1
- 229910052814 silicon oxide Inorganic materials 0.000 description 1
- 239000002210 silicon-based material Substances 0.000 description 1
- 239000007921 spray Substances 0.000 description 1
- 238000004544 sputter deposition Methods 0.000 description 1
- 239000003381 stabilizer Substances 0.000 description 1
- 230000003068 static effect Effects 0.000 description 1
- 238000003756 stirring Methods 0.000 description 1
- 239000000126 substance Substances 0.000 description 1
- 239000000758 substrate Substances 0.000 description 1
- 150000003467 sulfuric acid derivatives Chemical class 0.000 description 1
- 239000000454 talc Substances 0.000 description 1
- 229910052623 talc Inorganic materials 0.000 description 1
- 125000000999 tert-butyl group Chemical group [H]C([H])([H])C(*)(C([H])([H])[H])C([H])([H])[H] 0.000 description 1
- 229920005992 thermoplastic resin Polymers 0.000 description 1
- VZCYOOQTPOCHFL-UHFFFAOYSA-N trans-butenedioic acid Natural products OC(=O)C=CC(O)=O VZCYOOQTPOCHFL-UHFFFAOYSA-N 0.000 description 1
- 230000001131 transforming effect Effects 0.000 description 1
- 229960002622 triacetin Drugs 0.000 description 1
- QORWJWZARLRLPR-UHFFFAOYSA-H tricalcium bis(phosphate) Chemical compound [Ca+2].[Ca+2].[Ca+2].[O-]P([O-])([O-])=O.[O-]P([O-])([O-])=O QORWJWZARLRLPR-UHFFFAOYSA-H 0.000 description 1
- 238000007740 vapor deposition Methods 0.000 description 1
- 229920002554 vinyl polymer Polymers 0.000 description 1
- 239000010457 zeolite Substances 0.000 description 1
- 239000004711 α-olefin Substances 0.000 description 1
Images
Landscapes
- Liquid Crystal (AREA)
- Shaping Of Tube Ends By Bending Or Straightening (AREA)
- Polarising Elements (AREA)
Abstract
【解決手段】光学フィルムの製造方法において、レーザー光の波長を吸収する化合物を含有する光学フィルムに、前記レーザー光を照射して、前記光学フィルムを加工する工程を有することを特徴とする。
【選択図】図1
Description
レーザー光の波長を吸収する化合物を含有する光学フィルムに、前記レーザー光を照射して、前記光学フィルムを加工する工程を有することを特徴とする光学フィルムの製造方法。
前記工程は、前記光学フィルムを切断する工程であることを特徴とする前記1に記載の光学フィルムの製造方法。
前記工程は、前記光学フィルムの表面に、凹凸を形成する工程であることを特徴とする前記1に記載の光学フィルムの製造方法。
前記レーザー光の波長が遠赤外線領域にあり、前記化合物が、4〜25μmの波長領域の光を吸収する化合物であることを特徴とする前記1乃至3の何れか1項に記載の光学フィルムの製造方法。
前記レーザー光の波長が紫外線領域にあり、前記化合物が、0.2〜0.4μmの波長領域の光を吸収する化合物であることを特徴とする前記1乃至3の何れか1項に記載の光学フィルムの製造方法。
前記工程の前に、前記光学フィルムの表面の前記レーザー光を照射する部分に、前記レーザー光の波長を吸収する化合物を含有させる工程を有することを特徴とする前記1乃至5の何れか1項に記載の光学フィルムの製造方法。
前記1乃至6の何れか1項に記載の光学フィルムの製造方法により作製されたことを特徴とする光学フィルム。
前記7に記載の光学フィルムを少なくとも偏光子の片側に配置したことを特徴とする偏光板。
ここで、Mはウェブの任意時点での質量、Nは質量Mのものを110℃で3時間乾燥させたときの質量である。
(実施例1〜5)
(図1の溶液流延製膜法による光学フィルムの製造)
溶液流延製膜法により目標ドライ膜厚40μmの本発明のセルローストリアセテートフィルムを製造するにあたり、まずドープを調製した。すなわち、溶媒にトリアセチルセルロースを溶解した下記配合組成物を密閉容器に投入し、撹拌しながら溶解してドープを調製し、調製後のドープを濾紙により濾過した。
(ドープ組成)
アセチル置換度2.88のセルローストリアセテート 100質量部
(数平均分子量150000)
トリフェニルホスフェート 10質量部
エチルフタリルエチルグリコレート 2質量部
AEROSIL 200V 0.1質量部
メチレンクロライド 475質量部
エタノール 25質量部
に、4〜25μmの波長領域の光を吸収する化合物(化合物A)として、ハイドロタルサイト(協和化学工業社製、「アルカマイザーDHT−4A」)を用い、0.2〜0.4μmの波長領域の光を吸収する化合物(化合物B)としてUV−23Lを用い、表2に示す配合比率で混合し、実施例1〜5のドープ組成とした。
(実施例6)
実施例6においては、実施例1における4〜25μmの波長領域の光を吸収する化合物(ハイドロタルサイト)を、ドープの作製時に混合せずに、ドープを支持体上に流延した後に、支持体上のドープ膜にハイドロタルサイトをエタノールに5質量%で分散した液を、スリット加工する領域及びエンボス加工する領域に噴射装置で塗布した。この時塗設量は実施例2のフィルム中の含有量に対し、1/10の量とした。その他は、実施例1と同様に作製した。
(比較例1)
比較例1においては、実施例1における4〜25μmの波長領域の光を吸収する化合物(ハイドロタルサイト)と0.2〜0.4μmの波長領域の光を吸収する化合物(UV−23L)を添加しなかった他は、実施例1と同様に作製した。
(比較例2)
比較例1においては、実施例5における0.2〜0.4μmの波長領域の光を吸収する化合物(UV−23L)を添加しなかった他は、実施例5と同様に作製した。
(スリッターによる切断面形状の評価)
スリッター12により切断した実施例1〜6と比較例1、2の切断面を以下のように評価し、評価結果を表2に示す。
(エンボス加工形状、外観、表面の傷評価)
実施例1〜6と比較例1、2のエンボス加工後のエンボス高さを測定し、外観及び表面の傷(エンボス加工が最適にない場合、巻き取り時にフィルム面同士がスリップして表面に傷が付く。)を以下のように評価し、評価結果を表3に示す。
◎:きれい。
◎:傷が無くきれい。
2 流延ダイ
3 剥離ロール
4 テンター乾燥装置
5 ロール搬送乾燥装置
6 搬送ロール
7 搬送ロール
10 ウェブ
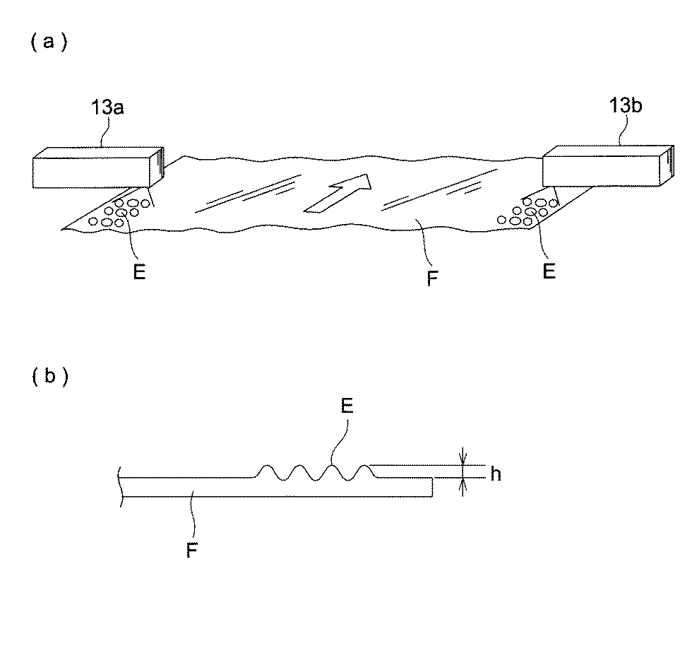
12 切断加工用のレーザー光照射装置
13 エンボス加工用のレーザー光照射装置
14 搬送ロール
15 巻取り機
E エンボス部
F フィルム
Claims (8)
- レーザー光の波長を吸収する化合物を含有する光学フィルムに、前記レーザー光を照射して、前記光学フィルムを加工する工程を有することを特徴とする光学フィルムの製造方法。
- 前記工程は、前記光学フィルムを切断する工程であることを特徴とする請求項1に記載の光学フィルムの製造方法。
- 前記工程は、前記光学フィルムの表面に、凹凸を形成する工程であることを特徴とする請求項1に記載の光学フィルムの製造方法。
- 前記レーザー光の波長が遠赤外線領域にあり、前記化合物が、4〜25μmの波長領域の光を吸収する化合物であることを特徴とする請求項1乃至3の何れか1項に記載の光学フィルムの製造方法。
- 前記レーザー光の波長が紫外線領域にあり、前記化合物が、0.2〜0.4μmの波長領域の光を吸収する化合物であることを特徴とする請求項1乃至3の何れか1項に記載の光学フィルムの製造方法。
- 前記工程の前に、前記光学フィルムの表面の前記レーザー光を照射する部分に、前記レーザー光の波長を吸収する化合物を含有させる工程を有することを特徴とする請求項1乃至5の何れか1項に記載の光学フィルムの製造方法。
- 請求項1乃至6の何れか1項に記載の光学フィルムの製造方法により作製されたことを特徴とする光学フィルム。
- 請求項7に記載の光学フィルムを少なくとも偏光子の片側に配置したことを特徴とする偏光板。
Priority Applications (1)
| Application Number | Priority Date | Filing Date | Title |
|---|---|---|---|
| JP2008245511A JP5347406B2 (ja) | 2008-09-25 | 2008-09-25 | 光学フィルムの製造方法 |
Applications Claiming Priority (1)
| Application Number | Priority Date | Filing Date | Title |
|---|---|---|---|
| JP2008245511A JP5347406B2 (ja) | 2008-09-25 | 2008-09-25 | 光学フィルムの製造方法 |
Publications (2)
| Publication Number | Publication Date |
|---|---|
| JP2010076181A true JP2010076181A (ja) | 2010-04-08 |
| JP5347406B2 JP5347406B2 (ja) | 2013-11-20 |
Family
ID=42207201
Family Applications (1)
| Application Number | Title | Priority Date | Filing Date |
|---|---|---|---|
| JP2008245511A Expired - Fee Related JP5347406B2 (ja) | 2008-09-25 | 2008-09-25 | 光学フィルムの製造方法 |
Country Status (1)
| Country | Link |
|---|---|
| JP (1) | JP5347406B2 (ja) |
Cited By (12)
| Publication number | Priority date | Publication date | Assignee | Title |
|---|---|---|---|---|
| WO2014010517A1 (ja) * | 2012-07-10 | 2014-01-16 | 旭硝子株式会社 | インプリント方法、及びインプリント装置 |
| JP2014191006A (ja) * | 2013-03-26 | 2014-10-06 | Sumitomo Chemical Co Ltd | 樹脂フィルム、それを用いた偏光板及び樹脂フィルムの切断加工方法 |
| WO2016031776A1 (ja) * | 2014-08-28 | 2016-03-03 | 日本ゼオン株式会社 | 光学フィルム |
| JP2017114027A (ja) * | 2015-12-25 | 2017-06-29 | コニカミノルタ株式会社 | 樹脂フィルムロール、樹脂フィルムロールの製造方法、偏光板及び画像表示装置 |
| KR20170112748A (ko) * | 2016-04-01 | 2017-10-12 | 주식회사 엘지화학 | 광학 필름 마킹 시스템 및 광학 필름 마킹 방법 |
| JP2018112754A (ja) * | 2018-03-22 | 2018-07-19 | 住友化学株式会社 | 樹脂フィルム、それを用いた偏光板及び樹脂フィルムの切断加工方法 |
| WO2019078076A1 (ja) * | 2017-10-16 | 2019-04-25 | トリニティ工業株式会社 | 加飾部品及びその製造方法 |
| JP2019072989A (ja) * | 2017-10-16 | 2019-05-16 | トリニティ工業株式会社 | 加飾部品及びその製造方法 |
| KR20190108564A (ko) | 2017-01-30 | 2019-09-24 | 니폰 제온 가부시키가이샤 | 표시 장치 |
| CN112571693A (zh) * | 2019-09-27 | 2021-03-30 | Lg化学株式会社 | 使用标记的光学膜以及用于制造光学膜的设备和方法 |
| KR20210037438A (ko) * | 2019-09-27 | 2021-04-06 | 주식회사 엘지화학 | 표면 처리를 이용한 광학 필름, 광학 필름 제조 장치 및 그 제조 방법 |
| KR20210037519A (ko) * | 2019-09-27 | 2021-04-06 | 주식회사 엘지화학 | 마킹을 이용한 광학 필름, 광학 필름 제조 장치 및 제조 방법 |
Citations (5)
| Publication number | Priority date | Publication date | Assignee | Title |
|---|---|---|---|---|
| JPH0716924A (ja) * | 1993-07-05 | 1995-01-20 | Ricoh Micro Electron Kk | エキシマレーザによる樹脂加工法 |
| JPH09286169A (ja) * | 1996-04-22 | 1997-11-04 | Dainippon Ink & Chem Inc | レーザマーキング用記録体及びレーザマーキング方法 |
| JP2001172608A (ja) * | 1999-10-08 | 2001-06-26 | Mizusawa Ind Chem Ltd | 極遠赤外乃至遠赤外線吸収複合金属多塩基性塩 |
| WO2002030167A1 (en) * | 2000-09-29 | 2002-04-11 | Zeon Corporation | Process for producing circuit substrate |
| JP2004188436A (ja) * | 2002-12-09 | 2004-07-08 | Fuji Photo Film Co Ltd | 微細傾斜面の加工方法 |
-
2008
- 2008-09-25 JP JP2008245511A patent/JP5347406B2/ja not_active Expired - Fee Related
Patent Citations (5)
| Publication number | Priority date | Publication date | Assignee | Title |
|---|---|---|---|---|
| JPH0716924A (ja) * | 1993-07-05 | 1995-01-20 | Ricoh Micro Electron Kk | エキシマレーザによる樹脂加工法 |
| JPH09286169A (ja) * | 1996-04-22 | 1997-11-04 | Dainippon Ink & Chem Inc | レーザマーキング用記録体及びレーザマーキング方法 |
| JP2001172608A (ja) * | 1999-10-08 | 2001-06-26 | Mizusawa Ind Chem Ltd | 極遠赤外乃至遠赤外線吸収複合金属多塩基性塩 |
| WO2002030167A1 (en) * | 2000-09-29 | 2002-04-11 | Zeon Corporation | Process for producing circuit substrate |
| JP2004188436A (ja) * | 2002-12-09 | 2004-07-08 | Fuji Photo Film Co Ltd | 微細傾斜面の加工方法 |
Cited By (25)
| Publication number | Priority date | Publication date | Assignee | Title |
|---|---|---|---|---|
| WO2014010517A1 (ja) * | 2012-07-10 | 2014-01-16 | 旭硝子株式会社 | インプリント方法、及びインプリント装置 |
| JP2014191006A (ja) * | 2013-03-26 | 2014-10-06 | Sumitomo Chemical Co Ltd | 樹脂フィルム、それを用いた偏光板及び樹脂フィルムの切断加工方法 |
| WO2016031776A1 (ja) * | 2014-08-28 | 2016-03-03 | 日本ゼオン株式会社 | 光学フィルム |
| KR20170046134A (ko) | 2014-08-28 | 2017-04-28 | 니폰 제온 가부시키가이샤 | 광학 필름 |
| JPWO2016031776A1 (ja) * | 2014-08-28 | 2017-06-15 | 日本ゼオン株式会社 | 光学フィルム |
| JP2017114027A (ja) * | 2015-12-25 | 2017-06-29 | コニカミノルタ株式会社 | 樹脂フィルムロール、樹脂フィルムロールの製造方法、偏光板及び画像表示装置 |
| KR20170112748A (ko) * | 2016-04-01 | 2017-10-12 | 주식회사 엘지화학 | 광학 필름 마킹 시스템 및 광학 필름 마킹 방법 |
| CN109073805B (zh) * | 2016-04-01 | 2021-01-05 | 株式会社Lg化学 | 用于在光学膜处进行标记的系统和方法 |
| CN109073805A (zh) * | 2016-04-01 | 2018-12-21 | 株式会社Lg化学 | 光学膜标记系统和光学膜标记方法 |
| US10814658B2 (en) | 2016-04-01 | 2020-10-27 | Lg Chem, Ltd. | System and method for marking at optical film |
| KR102033697B1 (ko) | 2016-04-01 | 2019-10-17 | 주식회사 엘지화학 | 광학 필름 마킹 시스템 및 광학 필름 마킹 방법 |
| JP2019512393A (ja) * | 2016-04-01 | 2019-05-16 | エルジー・ケム・リミテッド | 光学フィルムマーキングシステム及び光学フィルムマーキング方法 |
| KR20190108564A (ko) | 2017-01-30 | 2019-09-24 | 니폰 제온 가부시키가이샤 | 표시 장치 |
| JP2019072989A (ja) * | 2017-10-16 | 2019-05-16 | トリニティ工業株式会社 | 加飾部品及びその製造方法 |
| WO2019078076A1 (ja) * | 2017-10-16 | 2019-04-25 | トリニティ工業株式会社 | 加飾部品及びその製造方法 |
| JP2018112754A (ja) * | 2018-03-22 | 2018-07-19 | 住友化学株式会社 | 樹脂フィルム、それを用いた偏光板及び樹脂フィルムの切断加工方法 |
| CN112571693A (zh) * | 2019-09-27 | 2021-03-30 | Lg化学株式会社 | 使用标记的光学膜以及用于制造光学膜的设备和方法 |
| WO2021060739A1 (ko) * | 2019-09-27 | 2021-04-01 | 주식회사 엘지화학 | 마킹을 이용한 광학 필름, 광학 필름 제조 장치 및 제조 방법 |
| KR20210037438A (ko) * | 2019-09-27 | 2021-04-06 | 주식회사 엘지화학 | 표면 처리를 이용한 광학 필름, 광학 필름 제조 장치 및 그 제조 방법 |
| KR20210037519A (ko) * | 2019-09-27 | 2021-04-06 | 주식회사 엘지화학 | 마킹을 이용한 광학 필름, 광학 필름 제조 장치 및 제조 방법 |
| KR102363070B1 (ko) * | 2019-09-27 | 2022-02-15 | 주식회사 엘지화학 | 표면 처리를 이용한 광학 필름, 광학 필름 제조 장치 및 그 제조 방법 |
| KR102363071B1 (ko) * | 2019-09-27 | 2022-02-16 | 주식회사 엘지화학 | 마킹을 이용한 광학 필름, 광학 필름 제조 장치 및 제조 방법 |
| JP2022550538A (ja) * | 2019-09-27 | 2022-12-02 | エルジー・ケム・リミテッド | マーキングを用いた光学フィルム、光学フィルムの製造装置および製造方法 |
| JP7301452B2 (ja) | 2019-09-27 | 2023-07-03 | エルジー・ケム・リミテッド | マーキングを用いた光学フィルム、光学フィルムの製造装置および製造方法 |
| CN112571693B (zh) * | 2019-09-27 | 2024-01-30 | Lg化学株式会社 | 使用标记的光学膜以及用于制造光学膜的设备和方法 |
Also Published As
| Publication number | Publication date |
|---|---|
| JP5347406B2 (ja) | 2013-11-20 |
Similar Documents
| Publication | Publication Date | Title |
|---|---|---|
| JP5347406B2 (ja) | 光学フィルムの製造方法 | |
| JP5510459B2 (ja) | 光学フィルムの製造方法 | |
| JP2006272616A (ja) | 光学フィルム、及びその製造装置 | |
| KR20100014601A (ko) | 광학 필름의 제조 방법, 광학 필름, 편광판 및 표시 장치 | |
| JP4849075B2 (ja) | セルロースエステルフィルム、その製造方法、セルロースエステルフィルムを用いた偏光板、及び表示装置 | |
| JP5163222B2 (ja) | 光学フィルムの製造方法 | |
| JP2010274615A (ja) | 光学フィルムの製造方法、光学フィルム、偏光板及び液晶表示装置 | |
| JP2009073154A (ja) | 光学フィルム、及びその製造方法 | |
| JP5401987B2 (ja) | セルロースアシレートフィルムの製造方法、セルロースアシレートフィルム、偏光板及び液晶表示装置 | |
| JP6665512B2 (ja) | 光学フィルムの製造方法 | |
| JP5056218B2 (ja) | 光学フィルム、及びその製造方法 | |
| JP6164050B2 (ja) | 光学フィルム、偏光板及びそれらの製造方法、並びに画像表示装置 | |
| TW201730596A (zh) | 偏光板、偏光板之製造方法及液晶顯示裝置 | |
| JP5458527B2 (ja) | 光学フィルムの製造方法 | |
| JP2009160796A (ja) | 光学フィルム、その製造方法、光学フィルムを用いた偏光板、及び表示装置 | |
| JP5907178B2 (ja) | 光学フィルムの製造方法 | |
| JP2009220285A (ja) | 光学フィルム、及びこれを用いた偏光板 | |
| JP2010069646A (ja) | 光学フィルム、その製造方法、光学フィルムを用いた偏光板、及び液晶表示装置 | |
| JP5849679B2 (ja) | 光学フィルムの製造方法 | |
| JP5838778B2 (ja) | 光学フィルムの製造方法 | |
| JP5828284B2 (ja) | 光学フィルムの製造方法 | |
| JP5083020B2 (ja) | 光学フィルムの製造方法 | |
| JP2011115969A (ja) | 光学フィルムの製造方法、光学フィルム、偏光板及び表示装置 | |
| JP2009280384A (ja) | 光学フィルム、その巻取り方法、光学フィルムを用いた偏光板、及び表示装置 | |
| JP5682522B2 (ja) | 液晶表示装置用光学フィルムの製造方法 |
Legal Events
| Date | Code | Title | Description |
|---|---|---|---|
| A621 | Written request for application examination |
Free format text: JAPANESE INTERMEDIATE CODE: A621 Effective date: 20110816 |
|
| RD03 | Notification of appointment of power of attorney |
Free format text: JAPANESE INTERMEDIATE CODE: A7423 Effective date: 20120213 |
|
| A977 | Report on retrieval |
Free format text: JAPANESE INTERMEDIATE CODE: A971007 Effective date: 20121213 |
|
| A131 | Notification of reasons for refusal |
Free format text: JAPANESE INTERMEDIATE CODE: A131 Effective date: 20121219 |
|
| A521 | Written amendment |
Free format text: JAPANESE INTERMEDIATE CODE: A523 Effective date: 20130215 |
|
| A711 | Notification of change in applicant |
Free format text: JAPANESE INTERMEDIATE CODE: A712 Effective date: 20130418 |
|
| TRDD | Decision of grant or rejection written | ||
| A01 | Written decision to grant a patent or to grant a registration (utility model) |
Free format text: JAPANESE INTERMEDIATE CODE: A01 Effective date: 20130723 |
|
| A61 | First payment of annual fees (during grant procedure) |
Free format text: JAPANESE INTERMEDIATE CODE: A61 Effective date: 20130805 |
|
| R150 | Certificate of patent or registration of utility model |
Free format text: JAPANESE INTERMEDIATE CODE: R150 |
|
| LAPS | Cancellation because of no payment of annual fees |
