JP2010074893A - グロメット - Google Patents

グロメット Download PDF

Info

Publication number
JP2010074893A
JP2010074893A JP2008237164A JP2008237164A JP2010074893A JP 2010074893 A JP2010074893 A JP 2010074893A JP 2008237164 A JP2008237164 A JP 2008237164A JP 2008237164 A JP2008237164 A JP 2008237164A JP 2010074893 A JP2010074893 A JP 2010074893A
Authority
JP
Japan
Prior art keywords
diameter cylindrical
small
grommet
cylindrical portion
expansion
Prior art date
Legal status (The legal status is an assumption and is not a legal conclusion. Google has not performed a legal analysis and makes no representation as to the accuracy of the status listed.)
Granted
Application number
JP2008237164A
Other languages
English (en)
Other versions
JP5115417B2 (ja
Inventor
Daiki Nagai
大樹 永易
Current Assignee (The listed assignees may be inaccurate. Google has not performed a legal analysis and makes no representation or warranty as to the accuracy of the list.)
Sumitomo Wiring Systems Ltd
Original Assignee
Sumitomo Wiring Systems Ltd
Priority date (The priority date is an assumption and is not a legal conclusion. Google has not performed a legal analysis and makes no representation as to the accuracy of the date listed.)
Filing date
Publication date
Application filed by Sumitomo Wiring Systems Ltd filed Critical Sumitomo Wiring Systems Ltd
Priority to JP2008237164A priority Critical patent/JP5115417B2/ja
Publication of JP2010074893A publication Critical patent/JP2010074893A/ja
Application granted granted Critical
Publication of JP5115417B2 publication Critical patent/JP5115417B2/ja
Expired - Fee Related legal-status Critical Current
Anticipated expiration legal-status Critical

Links

Images

Landscapes

  • Insulating Bodies (AREA)
  • Processing Of Terminals (AREA)
  • Installation Of Indoor Wiring (AREA)

Abstract

【課題】グロメットの小径筒部を拡げ治具で拡大してワイヤハーネスを貫通させた後に拡げ治具の拡開爪を抜き取る際に、ワイヤハーネスおよびグロメットに損傷が生じない形状としたグロメットを提供する。
【解決手段】小径筒部2の一端に拡径筒部3が連続し、該拡径筒部の大径側外周面に環状の車体係止凹部を備えた弾性材からなり、車両用のワイヤハーネスに外装するグロメットであって、小径筒部2を囲む拡径筒部3の小径側に周方向に間隔をあけて3個または4個の拡開爪挿入筒13を設け、これらの拡開爪挿入筒13の小径筒部12に沿った部分を小径筒部の外周面に周方向に間隔をあけて一体化させて拡径筒部より突出させると共に、突出端は閉鎖部13bとし、ワイヤハーネスの貫通作業時に、前記拡径筒部の大径側開口より拡げ治具の3本または4本の拡開爪21を1本づつ前記拡開爪挿入筒に通し、これら拡開爪を互いに離反方向に拡げて前記小径筒部を拡げる構成としている。
【選択図】図2

Description

本発明は、車両に配索するワイヤハーネスを貫通させて取り付けるグロメットであって、特に、前記ワイヤハーネスの貫通作業性を高める構成としているものである。
従来、自動車等の車両に配索されるワイヤハーネスは、例えば、被水領域のエンジンルームから非被水領域の車室を仕切る車体の貫通穴を通す部位に、ゴムまたはエラストマーからなるグロメットを取り付け、該グロメットを前記貫通穴の周縁に密嵌することでワイヤハーネスが貫通穴の周縁と接触して損傷を受けることを防止し、かつ、防塵や防水を図っている。
この種のグロメットは、ワイヤハーネスを密着して貫通させる小径筒部と、貫通穴の周縁に密嵌する車体係止凹部を環状に設けた大径筒部を連続して設けている。前記小径筒部はワイヤハーネスへの密着性を高めるために、貫通させるワイヤハーネスの外径より小径筒部の内径を大幅に小さく設定している。
よって、前記小径筒部にワイヤハーネスを貫通させる際に、拡げ治具を用いて小径筒部の中空部を拡げた状態でワイヤハーネスの貫通作業を行い、貫通後は拡げ治具を小径筒部から取り外している。
この種の拡げ治具として、従来、特開平11−215659号公報に開示されている拡げ治具(通し治具)が用いられる。該拡げ治具100は、図7に示すように、90度間隔で平行配置する4本の拡開爪100aをリンク手段で近接離反させる構成としている。該拡げ治具100の拡開爪100aを互いに近接した閉じた状態でグロメット110の小径筒部110aの中空部に挿入し、挿入後に拡開爪100aをリンク手段で離反させて拡げ、小径筒部110aの周壁を押し広げて中空部を拡大している。この状態でワイヤハーネスW/Hを小径筒部110aおよび大径筒部110cの中空部に貫通させ、貫通後に拡開爪100aを小径筒部110aから抜き取っている。
特開平11−215659号公報
前記ワイヤハーネスの貫通後に小径筒部110aから拡開爪100aを抜き取る作業が非常に困難となっている。該抜き取り作業時、拡開爪100aはグロメット110の小径筒部110aの周壁内面に強い力で密着しているため、拡開爪100aを開いた状態から閉じるように狭めている。この状態で、拡げ治具は作業台に固定されているため、グロメットとワイヤハーネスとを作業員が持って引っ張ることで、小径筒部110aから拡開爪100aを抜き取っている。
前記拡開爪100aの抜き取り作業時に、小径筒部110aの周壁の内周面とワイヤハーネスW/Hの外周面の間に挟まり、抜き取りに強い力でグロメット110およびワイヤハーネスW/Hを引っ張る必要がある。この引っ張り時に拡開爪100aが内周側に位置するワイヤハーネスW/Hの電線群と干渉して電線群に損傷が生じる恐れがある。また、外周側に位置するグロメット110にも損傷が生じ、グロメットに亀裂や割れを発生させる。
さらに、拡げ治具で小径筒部を拡げる作業時においても、小径筒部の内径を小さくしているため、拡開爪100aが小径筒部110aの中空部に挿入しずらい問題もある。そのため、拡開爪100aに潤滑剤を塗布している場合があり、作業工数が増加する問題がある。
拡開爪100aを小径筒部110aに挿入しやすくするため細くすると折れやすくなり、ワイヤハーネスの貫通作業時に拡開爪に折れが発生すると、折れた部分が飛んで作業員が怪我をする恐れがある。そのため、拡開爪を細くすることも出来ない問題がある。
本発明は、前記問題に鑑みてなされたもので、ワイヤハーネスに密着させるグロメットの小径筒部を、簡単に拡げることができ、貫通作業後に拡開爪をワイヤハーネスおよびグロメットに損傷を与えることなく簡単に抜き取れるグロメットを提供することを課題としている。
前記課題を解決するため、本発明は、小径筒部の一端に拡径筒部が連続し、該拡径筒部の大径側外周面に環状の車体係止凹部を備えた弾性材からなり、車両用のワイヤハーネスに外装するグロメットであって、
前記小径筒部を囲む前記拡径筒部の小径側に周方向に間隔をあけて3個または4個の拡開爪挿入筒を設け、これらの拡開爪挿入筒の前記小径筒部に沿った部分を小径筒部の外周面に周方向に間隔をあけて一体化させて拡径筒部より突出させると共に、突出端は閉鎖部とし、
ワイヤハーネスの貫通作業時に、前記拡径筒部の大径側開口より拡げ治具の3本または4本の拡開爪を1本ずつ前記拡開爪挿入筒に通し、これら拡開爪を互いに離反方向に拡げて前記小径筒部を拡げる構成としていることを特徴とするグロメットを提供している。
本発明のグロメットは、電線群の貫通作業時に小径筒部の中空部に拡げ治具の複数の拡開爪を挿入するのではなく、小径筒部に連続する拡径筒部から小径筒部の外周に周方向に間隔をあけて突設した拡開爪挿入筒に拡げ治具の拡開爪挿入筒に1本ずつ挿入している。この状態で拡開爪を互いに離反させて拡げていくと、各拡開爪挿入筒を小径筒部の外周に周方向に間隔をあけて一体化させているため、該小径筒部を無理なく拡げていくことができる。
この小径筒部を拡げた状態で、該小径筒部および拡径筒部の中空部に電線群を貫通させると、電線群の貫通作業を容易に行うことができる。
また、電線群を貫通させた後、拡開爪を互いに近接させて閉じてグロメットから抜き取る際、拡開爪は電線群を挿通した小径筒部の中空部を通しておらず、よって電線群と接触しない。かつ、拡径筒部の中空部内においても電線群の外周側に拡開爪を通しているため、強く密着せず、グロメットおよび電線群を強い力で引っ張る必要はない。かつ、該抜き取り作業時にグロメットおよび電線群に損傷を発生させることを防止できる。
さらに、拡開爪挿入筒の小径筒部と連続させて外方に突出する先端は閉鎖部としているため、浸水の発生はない。
さらにまた、拡開爪挿入筒の内径を小さくしても、拡げ治具の拡開爪をそれぞれ通す専用穴としているため、拡開爪の挿入を容易にでき、従来行われていた潤滑剤の塗布を不要とすることができる。
そのうえ、拡開爪が作業中に折れても、拡開爪挿入筒に挿入されているため、折れた破片が飛ばず、作業者の安全性に寄与できる。
前記小径筒部の外周面に周方向に間隔をあけて設ける拡開爪挿入筒を繋ぐ周方向リブを小径筒部の外周面から突設していることが好ましい。
前記周方向リブを設けると、拡開爪挿入筒が拡開爪により拡げられると、拡開爪挿入筒の間の周方向リブも追従して開き方向に移動し、小径筒部の全周を均等に無理なく拡げていくことができる。
前記拡開爪挿入筒の先端の閉鎖部は切除して、オープナーケーブルおよび給水ホースの挿通穴にできるようにしている。
即ち、エンジンルームと車室とを仕切る車体パネルの貫通穴にグロメットを装着したワイヤハーネスを貫通する際、前記グロメットには、ボンネット開き用のオープナーケーブルやフロントガラス洗浄用の給水ホースがグロメットに貫通される場合が多い。この場合、グロメットに電線群の挿通作業を終了して、前記拡開爪をグロメットより抜き出した後に、オープナーケーブルおよび給水ホースをグロメットに通す場合には、拡開爪挿入筒の先端の閉鎖部を切除すると、 オープナーケーブルおよび給水ホースの挿通穴として利用することができる。
また、後工程でグロメットを通す電線があれば、該電線の挿通穴とすることもできる。
前記拡径筒部の内部に突出させた内部小径筒部を前記小径筒部に連続させて設け、前記拡開爪挿入筒に連続する先端開口の拡開爪用内側挿入筒を前記内部小径筒部の外面と連結させて設けていることが好ましい。
前記のように、拡径筒部内に内部小径筒部を連続して突出しているグロメットにおいて、該内部小径筒部に拡開爪用内側挿通筒を連続させておくと、拡径筒部より外方に突出した前記小径筒部を開く時に内部小径筒部も同時に開くことができる。さらに、細長い拡開爪を前記拡開爪用内側挿通筒と外側に突出した拡開爪挿入筒に挿通するため、安定した状態で保持できる。
前述したように、本発明のグロメットは、ワイヤハーネスの貫通作業時に、ワイヤハーネスの電線群に密着させる小径筒部の外面に周方向に間隔をあけて設けた拡げ治具の拡開爪挿入筒に拡開爪を1本ずつ挿入し、これら拡開爪を互いに離反方向へ移動させてグロメットの小径筒部を外部から引っ張って拡げている。即ち、従来の小径筒部の中空部に拡開爪を挿入し、内部から押し拡げず、電線群と接触しない小径筒部の外方から引っ張っている。
よって、拡開爪の抜き取り時に、ワイヤハーネスの電線群と密着していないために、拡開爪を容易に抜き取ることができ、ワイヤハーネスおよびグロメットに損傷を発生させることを防止できる等の種々の利点を有する。
以下、本発明のグロメットの実施形態を図1乃至図5を参照して説明する。
グロメット1はゴムまたはエラストマーからなる弾性材料で一体成形しており、自動車のエンジンルームから車室へと配索するワイヤハーネス10に外装し、エンジンルームと車室とを仕切る車体パネルの貫通穴に装着されるものである。
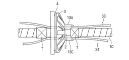
グロメット1は図1および図2に示すように、小径筒部2の一端に拡径筒部3の小径端が連続し、該拡径筒部3の大径側外周面に環状の車体係止凹部4を備えている。小径筒部2は貫通させるワイヤハーネス10の外径より小さく形成しており、ワイヤハーネス10の貫通作業時には拡げ治具20で小径筒部2を拡げてワイヤハーネス10を貫通させるものとしている。
前記小径筒部2には、拡径筒部3の内部に突出する内部小径筒部5を連続して設け、該内部小径筒部5の外周面と拡径筒部3の小径側内周面との間に周方向に間隔をあけて支持壁6を連結して設けている。
また、拡径筒部3の大径端側には内周面から閉鎖壁7を突設し、該閉鎖壁7の中央部に直径方向のスリット7aを設けて2分割し、該スリット7aの中央にワイヤハーネスの貫通穴8を設け、該貫通穴8の周縁より半割れ状としたテープ巻き舌片8a(8a−1、8a−2)を設けている。また、該テープ巻き舌片8aを囲む外周に等間隔をあけて治具挿入穴9(9A〜9D)を設けている。
前記拡径筒部3には、小径筒部2との連続側の根元部分に周方向に等間隔をあけて4個の拡開爪挿入筒13(13A〜13D)を突設している。これら拡開爪挿入筒13は、拡径筒部3と連続する部分は貫通穴12(12A〜12B)となり、該貫通穴12の周縁より小径筒部2の外周に沿って軸方向に延在させている。小径筒部2に沿った部分13aは小径筒部2の外周面と一体化し、先端は閉鎖部13bとしている。
前記拡開爪挿入筒13は小径筒部2の長さ方向の略中央まで延長させ、かつ、先端側の閉鎖部13bを含めた部分は肉厚tを薄くしている。これにより、小径筒部2に貫通させたワイヤハーネス10と小径筒部12の先端側とに粘着テープを巻き付けて固着する際に、拡開爪挿入筒13の先端側を偏平化しやすくしている。
さらに、4つの拡開爪挿入筒13を繋ぐ4本の周方向リブ14を小径筒部2の外周面から突設している。
また、前記4つの拡開爪挿入筒13の中空部となる前記貫通穴12の周縁内面より、拡径筒部3内に延在する拡開爪内側挿入筒15(15A〜15D)を設け、前記外方に延在させる拡開爪挿入筒13と連通させている。これら拡開爪内側挿入筒15は前記内部小径筒部5と支持壁6との境界位置に介設した状態で設け、内部小径筒部5と支持壁6との沿った部分は、これら内部小径筒部5および支持壁6と一体化している。該拡開爪内側挿入筒15の先端は開口15aとし、前記大径端側に設けた治具挿入穴9と対向する位置に前記開口15aを位置させている。
図3(A)(B)は拡げ治具20を示し、該拡げ治具20は従来から用いられている拡げ治具で、従来は小径筒部2の中空部に挿入されていたものである。
該拡げ治具20は作業台30上に固定され、周方向に間隔をあけて平行に配置する4本の棒状の拡開爪21(21A〜21D)をリンク22で連結して、4本の拡開爪21を近接離反作動させる構成とされている。これら4本の拡開爪21は、先端を鋭角状に突出させ、拡開爪用内側挿入筒15の開口15aから挿入しやすくしている。
前記グロメット1は小径筒部2から車体パネル(図示せず)の貫通穴に一方向から挿入すると、車体係止凹部4が貫通穴に嵌合できるワンモーショングロメットであり、拡径筒部3の外周面には、周方向に間隔をあけて段状突起18を設けている。前記拡開爪挿入筒13は段状突起18を設けた部位に形成している。
つぎに、前記グロメット1へのワイヤハーネス10の貫通作業について説明する。
図4(A)に示すように、作業台30上に固定された拡げ治具20に対向してグロメット1を配置し、グロメット1の拡径筒部3の大径側を拡開爪21の突出側に向け、該大径側に設けた4個の治具挿入穴9に4本の拡開爪21をそれぞれ通して拡径筒部3内に挿入し、拡開爪用内側挿入筒15の先端開口15aを通して挿入していく。
其の際、拡開爪用内側挿入筒15を90度間隔で設けていると共に、4本の拡開爪21も90度間隔で設けているため、該拡開爪21を4個の治具挿入穴9に容易に位置を合わせてセットすることができる。さらに、治具挿入穴9と拡開爪内側挿入筒15の先端開口15aの位置も対応させているため、治具挿入穴9に挿入した拡開爪21を自動的に拡開爪内側挿入筒15に挿入していくことができる。
グロメット1側を拡げ治具20側に向けて移動することにより、4本の拡開爪21はそれぞれ拡開爪内側挿入筒15から拡開爪挿入筒13内へと挿入されていく。拡開爪21の先端が閉鎖部13bに達する直前でグロメット1の拡げ治具20側への移動を停止する。
ついで、拡げ治具20の4本の拡開爪21が互いに離反する方向に拡げていく。これに伴い、拡開爪内側挿入筒15、拡開爪挿入筒13が外周側へと押し拡げられる。拡開爪内側挿入筒15の外周側への移動に追従して内部小径筒部5が拡がり、拡径筒部3の貫通穴12の移動で拡径筒部3が拡がり、拡開爪挿入筒13の移動で小径筒部2が拡げられる。かつ、小径筒部2側では、拡開爪挿入筒13の間の周方向リブ14が拡開爪挿入筒13の移動に追従して拡がっていくため、小径筒部2は周方向全体が均等に拡がっていき、図4(B)の状態となる。
このように、小径筒部2、内部小径筒部5が拡げられた状態で、図4(C)に示すように、ワイヤハーネス10を小径筒部2、内部小径筒部5および拡径筒部3の内部に貫通させる。
貫通作業終了後に、拡げ治具20の拡開爪21が互いに近接するように狭め、図4(A)と同様な状態とする。この状態で、ワイヤハーネス10を通したグロメット1を、ワイヤハーネス10と共に拡げ治具20より離れる方向にひっぱり、拡開爪21をグロメット1より引き抜く。
前記拡開爪21をグロメット1より引き抜く時、拡開爪21は拡開爪内側挿入筒15、貫通穴12、拡開爪挿入筒13を通しているため、ワイヤハーネス10の電線群と小径筒部2および内部小径筒部5内の電線群と接触しない。接触する可能性があるのは拡開爪用内側挿入筒15の先端開口から閉鎖壁7の治具挿入穴9に達するまでであるが、この間は内部小径筒部5から引き出された直後の電線群は小径に保持されているため、拡開爪21と接触しても強く密着することはない。
このように、拡開爪21はワイヤハーネス10の電線群およびグロメット1に対して圧接しながら引き抜かれることはないため、電線群およびグロメット1に損傷を与えることはない。
前記のように、ワイヤハーネス10をグロメット1に貫通した後、図5に示すように、ワイヤハーネス10は小径筒部2の先端側と粘着テープTでテープ巻き固着し、他端では、閉鎖壁部7の開口8に沿って突出したテープ巻き舌片8aに粘着テープTを巻き付けてテープ巻き固着している。
前記グロメット1に、オープナーケーブル33および給水ホース34を貫通させる場合には、前記図5に示すように、拡開爪21の通し部分となる拡開爪挿入筒13、貫通穴12、拡開爪内側挿入筒15をオープナーケーブル33および給水ホース34の挿通路として用いている。其の際、拡開爪挿入筒13の先端閉鎖部13bは切断している。
これらオープナーケーブル33および給水ホース34が挿通しない拡開爪挿入筒13は先端閉鎖部13bを閉鎖状態のままとして、前記粘着テープTの巻き付け時に先端閉鎖部13bにも粘着テープを巻き付けている。
前記のように、本実施形態のグロメット1では、拡げ治具20の拡開爪21の抜き取り時にワイヤハーネスの電線群と小径筒部の間に拡開爪21が挿入されていないため、無理なく抜き取りが行え、電線群およびグロメットに損傷を発生させず、かつ、抜き取り力を低減できるため作業者の負担を軽くできる。
図6(A)(B)に第二実施形態のグロメットを示す。
該グロメット1−Aは、大径側の閉鎖壁7に、第一実施形態で設けていた治具挿入穴は設けていない点が相違する。
グロメット1−Aに拡げ治具20の拡開爪21の通し作業をする際は、閉鎖壁7の中央に直径方向に設けたスリット7aを大きく拡げて、拡開爪21を拡径筒部3内に挿入し、前記拡開爪内側挿入筒15から拡開爪挿入筒13へと挿入している。
前記構成とすると、グロメット1−Aの大径側の閉鎖壁7に治具挿入穴を設けていないため、該治具挿入穴からの塵芥の発生を防止できる。かつ、閉鎖壁7側が浸水領域に配置された場合でも、治具挿入穴からの浸水の発生を防止できる。
他の構成および作用効果は第一実施形態と同様であるため、同一符号を付して説明を省略する。
本発明は前記実施形態に限定されず、小径筒部が小さいグロメットでは、治具穴を3箇所として、拡げ治具の3本の拡開爪で拡げてもよい。また、拡径筒部内に突出させる内部小径筒部がないグロメットにも適用できることは言うまでもない。また、グロメットはワンモーショングロメットに限定されず、グロメットを車体パネルの貫通穴に挿入した後に引き戻して貫通穴に装着するツーモーションのグロメットにも適用することができる。
本発明の第一実施形態のグロメットを示し、(A)は正面図、(B)は左側面図、(C)は右側面図である。 前記グロメットの拡大断面図である。 拡げ治具を示し、(A)は拡開爪を閉じた状態の斜視図、(B)は拡開爪を拡げた状態の斜視図である。 (A)はグロメットに拡げ治具の拡開爪を挿入していく状態の断面図、(B)は拡開爪でグロメットを拡げた状態の斜視図、(C)は拡げた状態でワイヤハーネスを通す状態を示す断面図である。 グロメットにワイヤハーネスを貫通してテープで固着し、かつ、オープナーケーブルと給水ホースをグロメットに通した状態を示す概略正面図である。 第二実施形態を示し、(A)はグロメットの大径側の閉鎖壁を示す左側面図、(B)は拡げ治具挿通時の断面図である。 従来例を示す図面である。
符号の説明
1 グロメット
2 小径筒部
3 拡径筒部
5 内部小径筒部
6 支持壁
7 閉鎖壁
7a スリット
8a テープ巻き舌片
9(9A〜9D) 治具挿入穴
10 ワイヤハーネス
13(13A〜13D) 拡開爪挿入筒
14 周方向リブ
15(15A〜15D) 拡開爪内側挿入筒
20 拡げ治具
21(21A〜21D) 拡開爪
33 オープナーケーブル
34 給水ホース

Claims (4)

  1. 小径筒部の一端に拡径筒部が連続し、該拡径筒部の大径側外周面に環状の車体係止凹部を備えた弾性材からなり、車両用のワイヤハーネスに外装するグロメットであって、
    前記小径筒部を囲む前記拡径筒部の小径側に周方向に間隔をあけて3個または4個の拡開爪挿入筒を設け、これらの拡開爪挿入筒の前記小径筒部に沿った部分を小径筒部の外周面に周方向に間隔をあけて一体化させて拡径筒部より突出させると共に、突出端は閉鎖部とし、
    ワイヤハーネスの貫通作業時に、前記拡径筒部の大径側開口より拡げ治具の3本または4本の拡開爪を1本ずつ前記拡開爪挿入筒に通し、これら拡開爪を互いに離反方向に拡げて前記小径筒部を拡げる構成としていることを特徴とするグロメット。
  2. 前記小径筒部の外周面に周方向に間隔をあけて設ける拡開爪挿入筒を繋ぐ周方向リブを小径筒部の外周面から突設している請求項1に記載のグロメット。
  3. 前記拡開爪挿入筒の先端の閉鎖部は切除して、オープナーケーブルおよび給水ホースの挿通穴にできるようにしている請求項1または請求項2に記載のグロメット。
  4. 前記拡径筒部の内部に突出させた内部小径筒部を前記小径筒部に連続させて設け、前記拡開爪挿入筒に連続する先端開口の拡開爪用内側挿入筒を前記内部小径筒部の外面と連結させて設けている請求項1乃至請求項3のいずれか1項に記載のグロメット。
JP2008237164A 2008-09-16 2008-09-16 グロメット Expired - Fee Related JP5115417B2 (ja)

Priority Applications (1)

Application Number Priority Date Filing Date Title
JP2008237164A JP5115417B2 (ja) 2008-09-16 2008-09-16 グロメット

Applications Claiming Priority (1)

Application Number Priority Date Filing Date Title
JP2008237164A JP5115417B2 (ja) 2008-09-16 2008-09-16 グロメット

Publications (2)

Publication Number Publication Date
JP2010074893A true JP2010074893A (ja) 2010-04-02
JP5115417B2 JP5115417B2 (ja) 2013-01-09

Family

ID=42206160

Family Applications (1)

Application Number Title Priority Date Filing Date
JP2008237164A Expired - Fee Related JP5115417B2 (ja) 2008-09-16 2008-09-16 グロメット

Country Status (1)

Country Link
JP (1) JP5115417B2 (ja)

Cited By (1)

* Cited by examiner, † Cited by third party
Publication number Priority date Publication date Assignee Title
JP2017055571A (ja) * 2015-09-10 2017-03-16 矢崎総業株式会社 止水部材及びワイヤハーネスの製造方法

Citations (3)

* Cited by examiner, † Cited by third party
Publication number Priority date Publication date Assignee Title
JP2002305831A (ja) * 2001-04-03 2002-10-18 Sumitomo Wiring Syst Ltd グロメット検査用治具
JP2008027692A (ja) * 2006-07-20 2008-02-07 Sumitomo Wiring Syst Ltd グロメット及び該グロメットの成形方法
JP2008042968A (ja) * 2006-08-01 2008-02-21 Yazaki Corp ワイヤーハーネスに対するグロメットの位置決め治具および位置決め方法

Patent Citations (3)

* Cited by examiner, † Cited by third party
Publication number Priority date Publication date Assignee Title
JP2002305831A (ja) * 2001-04-03 2002-10-18 Sumitomo Wiring Syst Ltd グロメット検査用治具
JP2008027692A (ja) * 2006-07-20 2008-02-07 Sumitomo Wiring Syst Ltd グロメット及び該グロメットの成形方法
JP2008042968A (ja) * 2006-08-01 2008-02-21 Yazaki Corp ワイヤーハーネスに対するグロメットの位置決め治具および位置決め方法

Cited By (1)

* Cited by examiner, † Cited by third party
Publication number Priority date Publication date Assignee Title
JP2017055571A (ja) * 2015-09-10 2017-03-16 矢崎総業株式会社 止水部材及びワイヤハーネスの製造方法

Also Published As

Publication number Publication date
JP5115417B2 (ja) 2013-01-09

Similar Documents

Publication Publication Date Title
CA2747792C (en) Grommet
JP5157513B2 (ja) グロメット
US2664458A (en) Strain-relief grommet
JP4933854B2 (ja) グロメット及び該グロメットの成形方法
JP5266670B2 (ja) グロメット
JP2013017367A (ja) グロメット
JP5115417B2 (ja) グロメット
JP5266669B2 (ja) グロメット
JP2010136560A (ja) グロメット穴拡張装置
JP5094185B2 (ja) スライド式防護管及びその装着方法
JP3606083B2 (ja) グロメットの装着方法
JP2015124849A (ja) シート挿入方法、管路更生工法およびシート筒成形治具
JPH1012290A (ja) 圧縮スリーブ
JP2010115028A (ja) グロメット
JPH08129918A (ja) グロメット
JP2009214702A (ja) 自動車用内装部品構造
JP4103735B2 (ja) ワイヤハーネス用カバー
JP5960233B2 (ja) 間接活線工事用コッター及び間接活線工事用アダプタ
JP3293550B2 (ja) グロメット
JPH11252739A (ja) ワイヤハーネス用外装材
JP5533368B2 (ja) グロメット装着部の遮音構造
JP4553202B2 (ja) 配電線用絶縁カバー
JP2001054216A (ja) 貫通穴へのワイヤハーネス通し具
JP2002101532A (ja) グロメット
JPS5922664Y2 (ja) グロメツト

Legal Events

Date Code Title Description
A621 Written request for application examination

Free format text: JAPANESE INTERMEDIATE CODE: A621

Effective date: 20110330

A977 Report on retrieval

Free format text: JAPANESE INTERMEDIATE CODE: A971007

Effective date: 20120817

TRDD Decision of grant or rejection written
A01 Written decision to grant a patent or to grant a registration (utility model)

Free format text: JAPANESE INTERMEDIATE CODE: A01

Effective date: 20120918

A01 Written decision to grant a patent or to grant a registration (utility model)

Free format text: JAPANESE INTERMEDIATE CODE: A01

A61 First payment of annual fees (during grant procedure)

Free format text: JAPANESE INTERMEDIATE CODE: A61

Effective date: 20121001

R150 Certificate of patent (=grant) or registration of utility model

Free format text: JAPANESE INTERMEDIATE CODE: R150

FPAY Renewal fee payment (prs date is renewal date of database)

Free format text: PAYMENT UNTIL: 20151026

Year of fee payment: 3

LAPS Cancellation because of no payment of annual fees