JP2010059977A - 冷凍サイクル装置 - Google Patents

冷凍サイクル装置 Download PDF

Info

Publication number
JP2010059977A
JP2010059977A JP2009283216A JP2009283216A JP2010059977A JP 2010059977 A JP2010059977 A JP 2010059977A JP 2009283216 A JP2009283216 A JP 2009283216A JP 2009283216 A JP2009283216 A JP 2009283216A JP 2010059977 A JP2010059977 A JP 2010059977A
Authority
JP
Japan
Prior art keywords
compression
blade
cylinder
pressure
capacity
Prior art date
Legal status (The legal status is an assumption and is not a legal conclusion. Google has not performed a legal analysis and makes no representation as to the accuracy of the status listed.)
Granted
Application number
JP2009283216A
Other languages
English (en)
Other versions
JP5063673B2 (ja
Inventor
Izumi Onoda
泉 小野田
Current Assignee (The listed assignees may be inaccurate. Google has not performed a legal analysis and makes no representation or warranty as to the accuracy of the list.)
Carrier Japan Corp
Original Assignee
Toshiba Carrier Corp
Priority date (The priority date is an assumption and is not a legal conclusion. Google has not performed a legal analysis and makes no representation as to the accuracy of the date listed.)
Filing date
Publication date
Application filed by Toshiba Carrier Corp filed Critical Toshiba Carrier Corp
Priority to JP2009283216A priority Critical patent/JP5063673B2/ja
Publication of JP2010059977A publication Critical patent/JP2010059977A/ja
Application granted granted Critical
Publication of JP5063673B2 publication Critical patent/JP5063673B2/ja
Anticipated expiration legal-status Critical
Expired - Lifetime legal-status Critical Current

Links

Images

Classifications

    • FMECHANICAL ENGINEERING; LIGHTING; HEATING; WEAPONS; BLASTING
    • F04POSITIVE - DISPLACEMENT MACHINES FOR LIQUIDS; PUMPS FOR LIQUIDS OR ELASTIC FLUIDS
    • F04CROTARY-PISTON, OR OSCILLATING-PISTON, POSITIVE-DISPLACEMENT MACHINES FOR LIQUIDS; ROTARY-PISTON, OR OSCILLATING-PISTON, POSITIVE-DISPLACEMENT PUMPS
    • F04C23/00Combinations of two or more pumps, each being of rotary-piston or oscillating-piston type, specially adapted for elastic fluids; Pumping installations specially adapted for elastic fluids; Multi-stage pumps specially adapted for elastic fluids
    • FMECHANICAL ENGINEERING; LIGHTING; HEATING; WEAPONS; BLASTING
    • F01MACHINES OR ENGINES IN GENERAL; ENGINE PLANTS IN GENERAL; STEAM ENGINES
    • F01CROTARY-PISTON OR OSCILLATING-PISTON MACHINES OR ENGINES
    • F01C21/00Component parts, details or accessories not provided for in groups F01C1/00 - F01C20/00
    • F01C21/08Rotary pistons
    • F01C21/0809Construction of vanes or vane holders
    • F01C21/0818Vane tracking; control therefor
    • F01C21/0854Vane tracking; control therefor by fluid means
    • F01C21/0863Vane tracking; control therefor by fluid means the fluid being the working fluid
    • FMECHANICAL ENGINEERING; LIGHTING; HEATING; WEAPONS; BLASTING
    • F04POSITIVE - DISPLACEMENT MACHINES FOR LIQUIDS; PUMPS FOR LIQUIDS OR ELASTIC FLUIDS
    • F04CROTARY-PISTON, OR OSCILLATING-PISTON, POSITIVE-DISPLACEMENT MACHINES FOR LIQUIDS; ROTARY-PISTON, OR OSCILLATING-PISTON, POSITIVE-DISPLACEMENT PUMPS
    • F04C23/00Combinations of two or more pumps, each being of rotary-piston or oscillating-piston type, specially adapted for elastic fluids; Pumping installations specially adapted for elastic fluids; Multi-stage pumps specially adapted for elastic fluids
    • F04C23/001Combinations of two or more pumps, each being of rotary-piston or oscillating-piston type, specially adapted for elastic fluids; Pumping installations specially adapted for elastic fluids; Multi-stage pumps specially adapted for elastic fluids of similar working principle
    • FMECHANICAL ENGINEERING; LIGHTING; HEATING; WEAPONS; BLASTING
    • F04POSITIVE - DISPLACEMENT MACHINES FOR LIQUIDS; PUMPS FOR LIQUIDS OR ELASTIC FLUIDS
    • F04CROTARY-PISTON, OR OSCILLATING-PISTON, POSITIVE-DISPLACEMENT MACHINES FOR LIQUIDS; ROTARY-PISTON, OR OSCILLATING-PISTON, POSITIVE-DISPLACEMENT PUMPS
    • F04C23/00Combinations of two or more pumps, each being of rotary-piston or oscillating-piston type, specially adapted for elastic fluids; Pumping installations specially adapted for elastic fluids; Multi-stage pumps specially adapted for elastic fluids
    • F04C23/008Hermetic pumps
    • FMECHANICAL ENGINEERING; LIGHTING; HEATING; WEAPONS; BLASTING
    • F04POSITIVE - DISPLACEMENT MACHINES FOR LIQUIDS; PUMPS FOR LIQUIDS OR ELASTIC FLUIDS
    • F04CROTARY-PISTON, OR OSCILLATING-PISTON, POSITIVE-DISPLACEMENT MACHINES FOR LIQUIDS; ROTARY-PISTON, OR OSCILLATING-PISTON, POSITIVE-DISPLACEMENT PUMPS
    • F04C28/00Control of, monitoring of, or safety arrangements for, pumps or pumping installations specially adapted for elastic fluids
    • F04C28/06Control of, monitoring of, or safety arrangements for, pumps or pumping installations specially adapted for elastic fluids specially adapted for stopping, starting, idling or no-load operation
    • FMECHANICAL ENGINEERING; LIGHTING; HEATING; WEAPONS; BLASTING
    • F25REFRIGERATION OR COOLING; COMBINED HEATING AND REFRIGERATION SYSTEMS; HEAT PUMP SYSTEMS; MANUFACTURE OR STORAGE OF ICE; LIQUEFACTION SOLIDIFICATION OF GASES
    • F25BREFRIGERATION MACHINES, PLANTS OR SYSTEMS; COMBINED HEATING AND REFRIGERATION SYSTEMS; HEAT PUMP SYSTEMS
    • F25B49/00Arrangement or mounting of control or safety devices
    • FMECHANICAL ENGINEERING; LIGHTING; HEATING; WEAPONS; BLASTING
    • F04POSITIVE - DISPLACEMENT MACHINES FOR LIQUIDS; PUMPS FOR LIQUIDS OR ELASTIC FLUIDS
    • F04CROTARY-PISTON, OR OSCILLATING-PISTON, POSITIVE-DISPLACEMENT MACHINES FOR LIQUIDS; ROTARY-PISTON, OR OSCILLATING-PISTON, POSITIVE-DISPLACEMENT PUMPS
    • F04C2270/00Control; Monitoring or safety arrangements
    • F04C2270/56Number of pump/machine units in operation

Landscapes

  • Engineering & Computer Science (AREA)
  • Mechanical Engineering (AREA)
  • General Engineering & Computer Science (AREA)
  • Physics & Mathematics (AREA)
  • Thermal Sciences (AREA)
  • Applications Or Details Of Rotary Compressors (AREA)

Abstract

【課題】騒音の発生、ブレードの損傷がなく、非圧縮運転の継続が可能な冷凍サイクル装置を提供する。
【解決手段】本冷凍サイクル装置は、2シリンダ形ロータリ圧縮機を有し、第1および第2圧縮部の内の一方の圧縮部は、ブレードの背面側を低圧または高圧に切換える切換部材を備えた、能力調整機構部を有し、負荷が大きいときには一方の圧縮部のブレードの背面側を高圧に切換えて通常運転を行い、負荷が小さいときには一方の圧縮部のブレードの背面側を低圧に切換えるブレードをローラから離間させて非圧縮運転を行うようにし、能力調整機構部を有する一方の圧縮部は、ブレードの背面側に背圧室を備え、通常運転時に前記背圧室に密閉ケース内空間の潤滑油を導くようにする。
【選択図】 図1

Description

本発明は2シリンダ形ロータリ圧縮機を備えた冷凍サイクル装置に係わり、低負荷時に一方の圧縮部を非圧縮運転させて低能力運転を行う冷凍サイクル装置に関する。
従来、2シリンダ形ロータリ圧縮機において、低負荷時に一方の圧縮機構部を非圧縮運転させて低能力運転を行うことにより、運転効率を向上させることが知られている。
例えば、特許文献1には、非圧縮運転させるときに、シリンダ室内を高圧にするとともに、ブレード背面の背圧室を中間圧にすることにより、高圧と中間圧との圧力差によりブレードをローラから離間させて非圧縮運転を行うようにしたものが記載されている。
また、特許文献2には、ブレードの一側面に吐出圧力室を設け、非圧縮運転させるときに、ブレード背面の背圧室を低圧にすることにより、吐出圧力室の高圧によりブレードを反吐出圧力室側に押付けるとともに、背圧室の低圧とシリンダ室内の圧縮中の圧力との圧力差によりブレードをローラから離間させて非圧縮運転を行うようにしたものが記載されている。
しかしながら、特許文献2に記載のものは、非圧縮運転時に吐出圧力室の高圧が徐々に背圧室に漏れるとともに、シリンダ室内の圧力も次第に低圧になり、ブレードを後退状態で確実に保持できなくなり、非圧縮運転を継続することができない不具合があった。
特開平1−247786号公報 特開平6−58280号公報(段落[0025]、[0028]、図3)
本発明は上述した事情を考慮してなされたもので、非圧縮運転の継続が可能な冷凍サイクル装置を提供することを目的とする。
本目的を達成するため、本発明の1つの態様によれば、密閉ケースと、前記密閉ケース内に設けられた電動機部と、前記密閉ケース内に設けられこの電動機部と連結される圧縮機構部、とを収容したロータリ圧縮機を備えた冷凍サイクル装置であって、前記圧縮機構部は、第1および第2圧縮部を備え、前記第1および第2圧縮部は、それぞれローラが偏心回転自在に収容されるシリンダ室を備えた第1シリンダおよび第2シリンダと、これら第1シリンダ及び第2シリンダに設けられ、先端縁が前記ローラの曲面に当接し、ローラの回転方向に沿ってシリンダ室を二分するブレードとを具備し、前記第1および第2圧縮部の内の一方の圧縮部は、ブレードの背面側を低圧または高圧に切換える切換部材を備えた、能力調整機構部を有し、負荷が大きいときには一方の圧縮部のブレードの背面側を高圧に切換えて通常運転を行い、負荷が小さいときには一方の圧縮部のブレードの背面側を低圧に切換えブレードをローラから離間させて非圧縮運転を行うようにし、前記能力調整機構部を有する一方の圧縮部は、ブレードの背面側に背圧室を備え、通常運転時に前記背圧室に密閉ケース内空間の潤滑油を導くようにしたことを特徴とする冷凍サイクル装置を提供する事により達成される。
本発明に係る冷凍サイクル装置によれば、非圧縮運転の継続が可能な冷凍サイクル装置を提供することができる。
本発明に係る冷凍サイクル装置の概念図。 本発明に係る冷凍サイクル装置の圧縮機後部に用いられる2シリンダロータコンプレッサの縦断面図。 本発明に係る冷凍サイクル装置の圧縮機後部に用いられる能力調整機構の背圧室部位(全能力運転時)を示す断面図。 本発明に係る冷凍サイクル装置に用いられる能力調整機構の背圧室部位(能力調整運転時)を示す断面図。 本発明に係る冷凍サイクル装置に用いられる電源回路図。 本発明に係る冷凍サイクル装置の電源回路図に用いられる単相誘導電動機の効率と負荷とコンデンサの容量の相関図。 本発明に係る冷凍サイクル装置の能力調整状態を示す説明図。 本発明に係る冷凍サイクル装置の他の実施形態の能力調整状態を示す説明図。 本発明に係る冷凍サイクル装置に用いられる他の電源回路図。
以下、本発明に係る冷凍サイクル装置の一実施形態について添付図面を参照して説明する。
図1は本発明に係る冷凍サイクル装置の概念図、図2はこれに用いられる2シリンダロータコンプレッサの縦断面図である。
図1及び図2に示すように、本発明に係る冷凍サイクル装置1は、縦型2シリンダロータコンプレッサ2と、冷暖切替用四方弁3、室内熱交換器4、膨張装置としてのキャピラリチューブ5、室外熱交換器6、アキュムレータ7を順次接続して構成されている。
コンプレッサ2は、高圧の密閉ケース11と、この密閉ケース11内に収容され第1圧縮部12と第2圧縮部13からなる圧縮機構部14と、クランク軸15を介して圧縮機構部14を作動させる電動機部(モータ機構部)16を有している。
圧縮機構部14は、第1圧縮部12を構成する第1シリンダ12cと、第2圧縮部13を構成する第2シリンダ13cが立設されたクランク軸15の軸方向に沿って上下2段に配置され、上段の第1シリンダ12cと下段の第2シリンダ13cの各シリンダ室は中間仕切板17によって仕切られている。
第1シリンダ12c及び第2シリンダ13cの各シリンダ室は、その高さ、内径寸法が同一で同一容量に設定してあり、クランク軸15は、主軸受18と副軸受19とによって回転自在に軸支されて、第1シリンダ12c及び第2シリンダ13cに対応する部分には、互いに180°位相をずらした偏心部15x、15yが設けられている。
第1シリンダ12cのシリンダ室にはクランク軸15の偏心部15xに嵌合された第1ローラ12rが収容され、第2シリンダ13cのシリンダ室には偏心部15yに嵌合された第2ローラ13rが回転可能に収容され、かつ第1シリンダ12c、第2シリンダ13cの各シリンダ室は第1ブレード12b、第2ブレード13bによって低圧室と高圧室に仕切られ、さらに、第1ローラ12r、第2ローラ13rの外周壁の一部は、偏心回転にともなって各シリンダ室周壁に油膜シールを介して当接するようになっている。
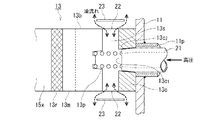
また、第1圧縮部12、第2圧縮部13のうち、第2圧縮部13の第2シリンダ13cにのみに、第2ローラ13rを空転させる能力調整機構20が設けられている。
図3及び図4に示すように、能力調整機構20は、第2シリンダ13cに形成されたブレード溝13mのブレード13bの背面側に形成される背圧室13sに収納され第2ブレード13bの背面を押圧するスプリング13pと、密閉ケース11を貫通し背圧室13sに設けられた圧力導入口13c1に一端が連通する圧力導入管21と、第2シリンダ13cに設けられ背圧室13sと高圧の密閉ケース11内空間を適宜連通する一対の連通口22と、この連通口22を適宜開閉する弁体23と、圧力導入管21の他端が連通する圧力調整用四方弁24を有している。
上記圧力導入管21の圧力導入口13c1への取り付けは、鉄鋼製の密閉ケース11に銅パイプ製ガイドパイプ11pを組立て、ガイドパイプ11pとシリンダ13cに形成されたテーパ口13c2に圧入されたテーパ付き圧力導入管21間をロー付けすることで行われる。
なお、弁体23はこの両圧力作用面に密閉ケース11内の高圧と背圧室13sの高圧がかかる場合、常開になるように設定されており、また、弁体23はリード弁、フリー弁、もしくはその他の弁であってもよい。
図1及び図2に示すように、圧力調整用四方弁24はスライドタイプで、密閉ケース11内空間を含む冷凍サイクルの高圧側に、高圧側連通管25を介して連通される高圧ポート24H、冷凍サイクルの低圧側すなわちアキュムレータ7に低圧側連通管26を介して連通される低圧ポート24L、第2シリンダ13cの背圧室13sに圧力導入管21を介して連通される第1の案内ポート24a及び第2シリンダ13cのシリンダ室に吸込管27を介して連通される第2の案内ポート24bを有している。
そして、通常運転時は高圧ポート24Hと第1の案内ポート24aを連通させて圧力導入管21、高圧側連通管25を介して背圧室13sと冷凍サイクルの高圧側とを連通させるとともに低圧ポート24Lと第2の案内ポート24bを連通させて吸込管27、低圧側連通管26を介して第2シリンダ13cのシリンダ室とアキュムレータ7を連通させる。
また、非圧縮(能力調整)運転時はスライダ24sを作動させることで、高圧ポート24Hと第2の案内ポート24bを連通させて吸込管27、高圧側連通管25を介して第2シリンダ13cのシリンダ室と冷凍サイクルの高圧側とを連通させるとともに、第1の案内ポート24aと低圧ポート24Lを連通させて背圧室13sとアキュムレータ7を連通させるようになっている。
なお、背圧室に高圧を導く構造は、上記のように圧力調整用四方弁を設け圧力導入管から積極的に導いてもよいが、圧力調整用四方弁を設けずに、低圧圧力導入管のみを設け、非圧縮運転から通常運転への切換時に、低圧圧力導入管を閉じて、弁体23と連通口22の弁座間の隙間、ブレード溝とブレードの隙間から高圧冷媒を背圧室に流入させ、徐々に高圧にするようにしてもよい。
上記電動機部16は、商用電源周波数で駆動される単相誘導電動機であり、通常運転時と非圧縮運転時とで運転コンデンサの容量を切換えるようになっている。
例えば、図5に示すように、商用電源Pに接続された主巻線16aに並列に補助巻線16bが接続され、この補助巻線16bに直列にコンデンサR1が接続され、さらに、このコンデンサR1と並列に、直列に接続されたコンデンサR2とコンデンサスイッチSW1が接続されている。SW1が閉じたときのコンデンサ容量はR1+R2になり、SW1が開いたときのコンデンサ容量はR1になる。
なお、図9に示すように、コンデンサR1とコンデンサR2を直列に接続し、さらに、コンデンサR2と並列にコンデンサスイッチSW1を接続するようにしてもよく、SW1が閉じたときのコンデンサ容量はR1・R2/(R1+R2)になる。
また、コンデンサスイッチSW1はスイッチ用コイル16cにより開閉され、このスイッチ用コイル16cは、図2に示すスライダ24sを作動させる四方弁切換コイル24cと並列で、かつ圧力調整用四方弁切替スイッチSW2を介して商用電源Pに接続されている。
単相誘導電動機において、負荷に対する最大効率点は1点であり、その特性は接続されるコンデンサの容量によって変化する。
従って、全能力運転時には図5のコンデンサスイッチSW1を閉状態にしてコンデンサR1とコンデンサR2を並列状態にし、その容量を増加させ、能力調整運転時には、コンデンサスイッチSW1を開放状態にしてコンデンサR1の容量のみとし、図6に示すように、全能力運転時と能力調整運転時でともに、最大効率点で電動機部16を運転する。これにより、冷凍サイクル装置1は高効率で運転が可能になる。
次に本実施形態の冷凍サイクル装置の動作を説明する。
全能力運転時(両圧縮部運転時)には、能力調整機構が設けられていない第1圧縮部12は通常の圧縮運転を行い、能力調整機構20が設けられた第2圧縮部13も通常の圧縮運転を行う。
すなわち、図3に示すように、第2圧縮部13の通常圧縮運転は、図2の圧力調整用四方弁24を介して背圧室13sと冷凍サイクルの高圧側を連通して第2ブレード13bの背圧室13sに高圧を導入するとともに第2シリンダ13cのシリンダ室とアキュムレータ7を連通し、第2ブレード13bをスプリング13p及び高圧で押圧し、第2ブレード13bと第2ローラ13rにより第2シリンダ13cのシリンダ室を仕切る。また、このとき、弁体23は開放され連通口22を介して高圧の密閉ケース11内空間と背圧室13sは連通される。
また、この通常運転時には第2ブレード13bが第2ローラ13rに追従しアキュムレータ7から第2シリンダ13cのシリンダ室内に低圧冷媒を吸込んで圧縮仕事を行うが、第2ブレード13bの背圧室13sの潤滑油は、第2ブレード13bの動きに伴い、背圧室13sの内外を行き来する。
上記のようにブレード溝13mのブローチ加工用縦穴を兼ねた連通口22の近傍に弁体23を設け、弁体23と連通口22とは任意な距離を持って組み込まれているため、潤滑油の流入、流出が阻害されない。このため潤滑油に対する圧縮仕事がなく、全能力運転での省エネルギを達成できる。
これに対して、能力調整運転時(単圧縮部運転時)には、図1及び図4に示すように、圧力調整用四方弁24を介して背圧室13sとアキュムレータ7を連通し、第2ブレード13bの背面に吸込圧を導入するとともに第2シリンダ13cのシリンダ室と冷凍サイクルの高圧側を連通する。このとき、低圧の背圧室13sと高圧の密閉ケース11内空間との圧力差により弁体23が連通口22を閉塞し、高圧の密閉ケース11内空間と背圧室13sを完全に遮断する。
この状態で背圧室13sは低圧になり第2ブレード13bの背面には吸込圧が作用するとともに第2ブレード13bの先端側には第2シリンダ13cのシリンダ室内の高圧が作用する。この結果、スプリング13pが設けられているにもかかわらず、第2ブレード13bは先端側と背面との大きな圧力差により背圧室13s側に確実に後退し、偏心回転する第2ローラ13rに当接することなく、第2シリンダ13cのシリンダ室内は低圧室と高圧室に仕切られず、第2ローラ13rは空転し、第2圧縮部13では圧縮運転が行われず、図7に示すように、コンプレッサ2は全圧縮能力の50%の圧縮運転を行う。
非圧縮運転時に第2ブレード13bを大きな圧力差により第2ローラ13rから離間させるために、第2ブレード13bを第2ローラ13rに押付けるスプリング13pのバネ定数を小さくする必要がなく、通常運転時において、背圧室13sの第2ブレード13bをスプリング13p及び高圧で押圧するので、第2ブレード13bがジャンピングして、騒音を発生したり、損傷することがない。
また、非圧縮運転時において、第2ブレード13bは第2ブレード溝13m内に確実に後退、保持されるので、第2ブレード13bがジャンピングすることがない。
なお、第2シリンダ13cと第1シリンダ12cの容積比を変えることにより、圧縮能力調整することができ、例えばその比を7:3にすれば、図8に示すように、能力調整運転時の能力は30%になる。
上記のように本実施形態の冷凍サイクル装置によれば、インバータ等の複雑な電子回路を使わなくても、能力調整機構を設け、この能力調整機構を圧力調整用四方弁のスライダを作動させることで、コンプレッサの能力を可変とすることができる。
また、このような安価で故障が少ない能力可変機構を設けることによる性能低下もない。
さらに、通常運転時には、ブレードをスプリング及び高圧で押圧するので、ジャンピングして、騒音を発生したり、損傷することがなく、また、能力調整運転時には、確実にブレードをシリンダブレード溝内に保持できるために、始動時直ぐに50〜60rpsで運転される商用コンプレッサにおいても、ブレードジャンピングなどの異常音の発生を防止できる。
さらにまた、運転中にも能力調整機構を作動させることが可能となり、快適性や省エネルギ性が確保できる。
また、弁体により、密閉ケース内と背圧室の遮断ができ、密閉ケース内の高圧冷媒が吸込側にリークすることがないので能力調整機構部で漏れ損失をゼロとすることができる。
本発明では、2シリンダ形ロータリ圧縮機構の一方に、低負荷時に非圧縮運転させて低能力運転を行うようにした能力調整機構をもうけたので、騒音の発生が抑えられ、ブレードの損傷もなく、非圧縮運転の継続が可能となる。従って、そのような圧縮機構を備えた冷凍サイクル装置の提供は産業上利用可能性大なるものである。
1…冷凍サイクル装置、2…シリンダロータコンプレッサ、3…冷暖切替用四方弁、4…室内熱交換器、6…室外熱交換器、7…アキュムレータ、11…密閉ケース、12…第1の圧縮部、13…第2の圧縮部、13b…第2のブレード、13c…第2のシリンダ、13m…第2のブレード溝、13r…第2のローラ、13s…背圧室、13p…スプリング、14…圧縮機部、16…電動機部、20…能力調整機構、21…圧力導入管、22…連通口、23…弁体、24…圧力調整用四方弁、26…低圧側連通管。

Claims (1)

  1. 密閉ケースと、前記密閉ケース内に設けられた電動機部と、前記密閉ケース内に設けられこの電動機部と連結される圧縮機構部、とを収容したロータリ圧縮機を備えた冷凍サイクル装置であって、
    前記圧縮機構部は、第1および第2圧縮部を備え、
    前記第1および第2圧縮部は、それぞれローラが偏心回転自在に収容されるシリンダ室を備えた第1シリンダおよび第2シリンダと、これら第1シリンダ及び第2シリンダに設けられ、先端縁が前記ローラの曲面に当接し、ローラの回転方向に沿ってシリンダ室を二分するブレードとを具備し、
    前記第1および第2圧縮部の内の一方の圧縮部は、ブレードの背面側を低圧または高圧に切換える切換部材を備えた、能力調整機構部を有し、
    負荷が大きいときには一方の圧縮部のブレードの背面側を高圧に切換えて通常運転を行い、負荷が小さいときには一方の圧縮部のブレードの背面側を低圧に切換えブレードをローラから離間させて非圧縮運転を行うようにし、
    前記能力調整機構部を有する一方の圧縮部は、ブレードの背面側に背圧室を備え、通常運転時に前記背圧室に密閉ケース内空間の潤滑油を導くようにしたことを特徴とする冷凍サイクル装置。
JP2009283216A 2003-12-03 2009-12-14 冷凍サイクル装置 Expired - Lifetime JP5063673B2 (ja)

Priority Applications (1)

Application Number Priority Date Filing Date Title
JP2009283216A JP5063673B2 (ja) 2003-12-03 2009-12-14 冷凍サイクル装置

Applications Claiming Priority (3)

Application Number Priority Date Filing Date Title
JP2003405056 2003-12-03
JP2003405056 2003-12-03
JP2009283216A JP5063673B2 (ja) 2003-12-03 2009-12-14 冷凍サイクル装置

Related Parent Applications (1)

Application Number Title Priority Date Filing Date
JP2005516457A Division JP4523548B2 (ja) 2003-12-03 2004-12-02 冷凍サイクル装置

Publications (2)

Publication Number Publication Date
JP2010059977A true JP2010059977A (ja) 2010-03-18
JP5063673B2 JP5063673B2 (ja) 2012-10-31

Family

ID=34708665

Family Applications (2)

Application Number Title Priority Date Filing Date
JP2005516457A Expired - Fee Related JP4523548B2 (ja) 2003-12-03 2004-12-02 冷凍サイクル装置
JP2009283216A Expired - Lifetime JP5063673B2 (ja) 2003-12-03 2009-12-14 冷凍サイクル装置

Family Applications Before (1)

Application Number Title Priority Date Filing Date
JP2005516457A Expired - Fee Related JP4523548B2 (ja) 2003-12-03 2004-12-02 冷凍サイクル装置

Country Status (7)

Country Link
US (1) US8206128B2 (ja)
JP (2) JP4523548B2 (ja)
KR (1) KR100786438B1 (ja)
CN (2) CN100545457C (ja)
BR (1) BRPI0417173B1 (ja)
ES (1) ES2319598B1 (ja)
WO (1) WO2005061901A1 (ja)

Cited By (2)

* Cited by examiner, † Cited by third party
Publication number Priority date Publication date Assignee Title
JP2013100790A (ja) * 2011-11-09 2013-05-23 Toshiba Carrier Corp 多気筒回転式圧縮機及び冷凍サイクル装置
JP2013122184A (ja) * 2011-12-09 2013-06-20 Toshiba Carrier Corp 多気筒回転式圧縮機及び冷凍サイクル装置

Families Citing this family (22)

* Cited by examiner, † Cited by third party
Publication number Priority date Publication date Assignee Title
TW200530509A (en) 2004-03-15 2005-09-16 Sanyo Electric Co Multicylinder rotary compressor and compressing system and refrigerating unit with the same
TWI363137B (en) * 2004-07-08 2012-05-01 Sanyo Electric Co Compression system, multicylinder rotary compressor, and refrigeration apparatus using the same
KR100565338B1 (ko) * 2004-08-12 2006-03-30 엘지전자 주식회사 용량가변형 복식 로터리 압축기 및 그 운전 방법 및 이를 구비한 에어콘 및 그 운전 방법
JP2006300048A (ja) * 2005-03-24 2006-11-02 Matsushita Electric Ind Co Ltd 密閉型圧縮機
KR100726454B1 (ko) * 2006-08-30 2007-06-11 삼성전자주식회사 로터리 압축기
EP1923571B1 (en) 2006-11-20 2015-10-14 LG Electronics Inc. Capacity-variable rotary compressor
CN101012833A (zh) * 2007-02-04 2007-08-08 美的集团有限公司 旋转压缩机的控制方法
KR101442545B1 (ko) * 2008-07-22 2014-09-22 엘지전자 주식회사 용량 가변형 로터리 압축기
KR101442549B1 (ko) * 2008-08-05 2014-09-22 엘지전자 주식회사 로터리 압축기
ES2627045T3 (es) * 2008-08-05 2017-07-26 Lg Electronics Inc. Compresor rotativo
CN102132046B (zh) * 2008-08-29 2014-08-06 东芝开利株式会社 密闭型压缩机、双汽缸旋转式压缩机和制冷循环装置
JP5360709B2 (ja) * 2008-08-29 2013-12-04 東芝キヤリア株式会社 密閉型圧縮機と冷凍サイクル装置
WO2010024409A1 (ja) * 2008-08-29 2010-03-04 東芝キヤリア株式会社 密閉型圧縮機、2気筒回転式圧縮機及び冷凍サイクル装置
JP5286010B2 (ja) * 2008-09-22 2013-09-11 東芝キヤリア株式会社 2気筒回転式圧縮機と冷凍サイクル装置
JP2010163927A (ja) * 2009-01-14 2010-07-29 Toshiba Carrier Corp 多気筒回転式圧縮機および冷凍サイクル装置
CN102032187A (zh) * 2009-09-30 2011-04-27 广东美芝制冷设备有限公司 冷量可变式旋转压缩机的控制方法及其应用
EP2623790A1 (en) * 2010-09-30 2013-08-07 Panasonic Corporation Positive displacement compressor
CN103189653B (zh) * 2010-12-24 2015-09-23 东芝开利株式会社 多汽缸旋转式压缩机及制冷循环装置
WO2015131313A1 (zh) * 2014-03-03 2015-09-11 广东美芝制冷设备有限公司 双级旋转式压缩机及具有其的制冷循环装置
CN105444474B (zh) * 2014-07-30 2018-02-09 珠海格力节能环保制冷技术研究中心有限公司 制冷循环装置
CN109356854B (zh) * 2018-10-19 2019-12-27 珠海格力电器股份有限公司 变容压缩机运行模式判断方法、设备、变容压缩机及空调
WO2020202544A1 (ja) * 2019-04-05 2020-10-08 日立ジョンソンコントロールズ空調株式会社 密閉型ロータリ圧縮機

Citations (4)

* Cited by examiner, † Cited by third party
Publication number Priority date Publication date Assignee Title
JPS4719941Y1 (ja) * 1970-08-07 1972-07-06
JPH0291494A (ja) * 1988-09-28 1990-03-30 Mitsubishi Electric Corp 多気筒回転式圧縮機
JPH05256286A (ja) * 1992-03-13 1993-10-05 Toshiba Corp 多気筒型回転圧縮機
JP2006291799A (ja) * 2005-04-08 2006-10-26 Matsushita Electric Ind Co Ltd 密閉型ロータリ圧縮機

Family Cites Families (23)

* Cited by examiner, † Cited by third party
Publication number Priority date Publication date Assignee Title
JPS5746522Y2 (ja) * 1976-11-22 1982-10-13
US4344297A (en) * 1980-03-20 1982-08-17 Daikin Kogyo Co., Ltd. Refrigeration system
JPS6023923Y2 (ja) * 1980-05-20 1985-07-17 松下電器産業株式会社 電子部品
JPS5877183A (ja) 1981-10-31 1983-05-10 Mitsubishi Electric Corp 並列圧縮式冷凍装置
JPS5888486A (ja) * 1981-11-20 1983-05-26 Fujitsu General Ltd ロ−タリ式圧縮機
JPS5877183U (ja) * 1981-11-20 1983-05-25 株式会社富士通ゼネラル 空気調和装置
AU574089B2 (en) * 1983-08-03 1988-06-30 Matsushita Electric Industrial Co., Ltd. Rotary compressor with capacity modulation
JPS6270686A (ja) * 1985-09-20 1987-04-01 Sanyo Electric Co Ltd 多気筒回転圧縮機
KR900003716B1 (ko) * 1986-09-30 1990-05-30 미츠비시 덴키 가부시키가이샤 다기통 회전식 압축기
US4872968A (en) 1987-08-20 1989-10-10 Mobil Oil Corporation Catalytic dewaxing process using binder-free catalyst
JPH01193089A (ja) * 1988-01-29 1989-08-03 Toshiba Corp ロータリコンプレッサー
JPH01247786A (ja) * 1988-03-29 1989-10-03 Toshiba Corp 2シリンダ型ロータリ式圧縮機
JP2555464B2 (ja) * 1990-04-24 1996-11-20 株式会社東芝 冷凍サイクル装置
JP3335656B2 (ja) * 1992-02-18 2002-10-21 株式会社日立製作所 横置形圧縮機
JPH1047285A (ja) * 1996-07-26 1998-02-17 Matsushita Electric Ind Co Ltd 2気筒型回転式圧縮機
US6206652B1 (en) * 1998-08-25 2001-03-27 Copeland Corporation Compressor capacity modulation
JPH11166490A (ja) * 1997-12-03 1999-06-22 Mitsubishi Electric Corp 容量制御スクロール圧縮機
BE1012944A3 (nl) * 1999-10-26 2001-06-05 Atlas Copco Airpower Nv Meertraps-compressoreenheid en werkwijze voor het regelen van een der gelijke meertraps-compressoreenheid.
KR100357112B1 (ko) * 2000-04-18 2002-10-19 엘지전자 주식회사 히트 펌프및 그 운전 제어 방법
US7128540B2 (en) * 2001-09-27 2006-10-31 Sanyo Electric Co., Ltd. Refrigeration system having a rotary compressor
JP3963740B2 (ja) * 2002-03-04 2007-08-22 三洋電機株式会社 ロータリコンプレッサ
KR100466620B1 (ko) * 2002-07-09 2005-01-15 삼성전자주식회사 용량가변형 회전압축기
KR100500985B1 (ko) * 2003-03-06 2005-07-14 삼성전자주식회사 능력가변 회전압축기

Patent Citations (4)

* Cited by examiner, † Cited by third party
Publication number Priority date Publication date Assignee Title
JPS4719941Y1 (ja) * 1970-08-07 1972-07-06
JPH0291494A (ja) * 1988-09-28 1990-03-30 Mitsubishi Electric Corp 多気筒回転式圧縮機
JPH05256286A (ja) * 1992-03-13 1993-10-05 Toshiba Corp 多気筒型回転圧縮機
JP2006291799A (ja) * 2005-04-08 2006-10-26 Matsushita Electric Ind Co Ltd 密閉型ロータリ圧縮機

Cited By (2)

* Cited by examiner, † Cited by third party
Publication number Priority date Publication date Assignee Title
JP2013100790A (ja) * 2011-11-09 2013-05-23 Toshiba Carrier Corp 多気筒回転式圧縮機及び冷凍サイクル装置
JP2013122184A (ja) * 2011-12-09 2013-06-20 Toshiba Carrier Corp 多気筒回転式圧縮機及び冷凍サイクル装置

Also Published As

Publication number Publication date
KR100786438B1 (ko) 2007-12-17
US8206128B2 (en) 2012-06-26
JP5063673B2 (ja) 2012-10-31
CN101634500A (zh) 2010-01-27
JPWO2005061901A1 (ja) 2007-07-12
ES2319598A1 (es) 2009-05-08
BRPI0417173B1 (pt) 2017-05-02
JP4523548B2 (ja) 2010-08-11
CN101634500B (zh) 2011-04-13
KR20060120184A (ko) 2006-11-24
CN1890468A (zh) 2007-01-03
US20070154329A1 (en) 2007-07-05
CN100545457C (zh) 2009-09-30
WO2005061901A1 (ja) 2005-07-07
BRPI0417173A (pt) 2007-03-06
ES2319598B1 (es) 2010-01-26

Similar Documents

Publication Publication Date Title
JP5063673B2 (ja) 冷凍サイクル装置
JP4447859B2 (ja) ロータリ式密閉形圧縮機および冷凍サイクル装置
JP4343627B2 (ja) ロータリ式密閉形圧縮機および冷凍サイクル装置
KR100299590B1 (ko) 로터리식밀폐형압축기및냉동사이클장치
JP5005579B2 (ja) 密閉型圧縮機および冷凍サイクル装置
AU2008222268C1 (en) Refrigeration system
JP2008520901A (ja) 容量可変型ロータリ圧縮機及びこれを備える冷却システム
CN102080655B (zh) 涡旋压缩机
JP4815286B2 (ja) 2元冷凍サイクル装置
CN100396935C (zh) 密闭型旋转式压缩机
JP2006207559A (ja) 冷凍サイクル装置およびロータリ式圧縮機
JP4398321B2 (ja) 冷凍サイクル装置
JP2008057395A (ja) 密閉型回転式圧縮機及び冷凍サイクル装置
JPH0681786A (ja) 2段圧縮形回転式圧縮機
JP2007146747A (ja) 冷凍サイクル装置
JP2009074445A (ja) 2気筒回転式圧縮機および冷凍サイクル装置
JP4806552B2 (ja) 密閉型圧縮機および冷凍サイクル装置
JP4634191B2 (ja) 密閉形圧縮機および冷凍サイクル装置
JP4523902B2 (ja) 2シリンダ形ロータリ圧縮機および冷凍サイクル装置
JP2007146663A (ja) 密閉型圧縮機および冷凍サイクル装置
JP2008157101A (ja) ロータリ式圧縮機及び冷凍サイクル装置
KR100677527B1 (ko) 로터리 압축기
JP2007154680A (ja) 冷凍サイクル装置
MXPA06006333A (en) Freezing cycle device
JP2006097624A (ja) 回転式膨張機及び流体機械

Legal Events

Date Code Title Description
A621 Written request for application examination

Free format text: JAPANESE INTERMEDIATE CODE: A621

Effective date: 20091214

A977 Report on retrieval

Free format text: JAPANESE INTERMEDIATE CODE: A971007

Effective date: 20110729

A131 Notification of reasons for refusal

Free format text: JAPANESE INTERMEDIATE CODE: A131

Effective date: 20120117

A521 Request for written amendment filed

Free format text: JAPANESE INTERMEDIATE CODE: A523

Effective date: 20120315

TRDD Decision of grant or rejection written
A01 Written decision to grant a patent or to grant a registration (utility model)

Free format text: JAPANESE INTERMEDIATE CODE: A01

Effective date: 20120807

A01 Written decision to grant a patent or to grant a registration (utility model)

Free format text: JAPANESE INTERMEDIATE CODE: A01

A61 First payment of annual fees (during grant procedure)

Free format text: JAPANESE INTERMEDIATE CODE: A61

Effective date: 20120807

R150 Certificate of patent or registration of utility model

Ref document number: 5063673

Country of ref document: JP

Free format text: JAPANESE INTERMEDIATE CODE: R150

Free format text: JAPANESE INTERMEDIATE CODE: R150

FPAY Renewal fee payment (event date is renewal date of database)

Free format text: PAYMENT UNTIL: 20150817

Year of fee payment: 3

R250 Receipt of annual fees

Free format text: JAPANESE INTERMEDIATE CODE: R250

R250 Receipt of annual fees

Free format text: JAPANESE INTERMEDIATE CODE: R250

R250 Receipt of annual fees

Free format text: JAPANESE INTERMEDIATE CODE: R250

R250 Receipt of annual fees

Free format text: JAPANESE INTERMEDIATE CODE: R250

R250 Receipt of annual fees

Free format text: JAPANESE INTERMEDIATE CODE: R250

R250 Receipt of annual fees

Free format text: JAPANESE INTERMEDIATE CODE: R250

EXPY Cancellation because of completion of term