JP2010043281A - 硬化性パーフルオロポリエーテル組成物及びその硬化物を用いたゲル製品 - Google Patents
硬化性パーフルオロポリエーテル組成物及びその硬化物を用いたゲル製品 Download PDFInfo
- Publication number
- JP2010043281A JP2010043281A JP2009244611A JP2009244611A JP2010043281A JP 2010043281 A JP2010043281 A JP 2010043281A JP 2009244611 A JP2009244611 A JP 2009244611A JP 2009244611 A JP2009244611 A JP 2009244611A JP 2010043281 A JP2010043281 A JP 2010043281A
- Authority
- JP
- Japan
- Prior art keywords
- group
- perfluoropolyether
- represented
- formula
- integer
- Prior art date
- Legal status (The legal status is an assumption and is not a legal conclusion. Google has not performed a legal analysis and makes no representation as to the accuracy of the status listed.)
- Granted
Links
Images
Classifications
-
- C—CHEMISTRY; METALLURGY
- C08—ORGANIC MACROMOLECULAR COMPOUNDS; THEIR PREPARATION OR CHEMICAL WORKING-UP; COMPOSITIONS BASED THEREON
- C08K—Use of inorganic or non-macromolecular organic substances as compounding ingredients
- C08K5/00—Use of organic ingredients
- C08K5/54—Silicon-containing compounds
- C08K5/5406—Silicon-containing compounds containing elements other than oxygen or nitrogen
-
- C—CHEMISTRY; METALLURGY
- C08—ORGANIC MACROMOLECULAR COMPOUNDS; THEIR PREPARATION OR CHEMICAL WORKING-UP; COMPOSITIONS BASED THEREON
- C08L—COMPOSITIONS OF MACROMOLECULAR COMPOUNDS
- C08L71/00—Compositions of polyethers obtained by reactions forming an ether link in the main chain; Compositions of derivatives of such polymers
- C08L71/02—Polyalkylene oxides
-
- C—CHEMISTRY; METALLURGY
- C08—ORGANIC MACROMOLECULAR COMPOUNDS; THEIR PREPARATION OR CHEMICAL WORKING-UP; COMPOSITIONS BASED THEREON
- C08K—Use of inorganic or non-macromolecular organic substances as compounding ingredients
- C08K3/00—Use of inorganic substances as compounding ingredients
- C08K3/34—Silicon-containing compounds
- C08K3/36—Silica
Landscapes
- Chemical & Material Sciences (AREA)
- Health & Medical Sciences (AREA)
- Chemical Kinetics & Catalysis (AREA)
- Medicinal Chemistry (AREA)
- Polymers & Plastics (AREA)
- Organic Chemistry (AREA)
- Compositions Of Macromolecular Compounds (AREA)
Abstract
【解決手段】 (A)1分子中に少なくとも2個のアルケニル基を有し、かつ主鎖中に−CaF2aO−の繰り返し単位を含むパーフルオロポリエーテル構造を有する、重量平均分子量1万〜10万である直鎖状フルオロポリエーテル化合物、
(B)1分子中にケイ素原子に結合した水素原子を少なくとも2個有する有機ケイ素化合物、
(C)補強性フィラー、
(D)ヒドロシリル化反応触媒、
(E)1分子中に1個のアルケニル基を有し、かつ主鎖中にパーフルオロポリエーテル構造を有する、ポリフルオロモノアルケニル化合物
を含有する硬化性パーフルオロポリエーテル組成物。
【選択図】 なし
Description
(A)1分子中に少なくとも2個のアルケニル基を有し、かつ主鎖中に−CaF2aO−(aは1〜6の整数である。)の繰り返し単位を含むパーフルオロポリエーテル構造を有する、重量平均分子量1万〜10万である直鎖状パーフルオロポリエーテル化合物、
(B)1分子中にケイ素原子に結合した水素原子を少なくとも2個有する下記(B−1)及び(B−2)から選ばれる有機ケイ素化合物、
(B−1)1分子中に少なくとも1個のパーフルオロアルキル基又はパーフルオロポリエーテル置換基を有する環状のオルガノハイドロジェンポリシロキサン
(B−2)1分子中に少なくとも1個のパーフルオロアルキル基又はパーフルオロポリエーテル置換基を有し、ケイ素原子に結合した水素原子が全てH−Si(CH2)gSi−(gは1〜3の整数である。)構造を構成する有機ケイ素化合物
(D)ヒドロシリル化反応触媒、
(E)1分子中に1個のアルケニル基を有し、かつ主鎖中にパーフルオロポリエーテル構造を有する、ポリフルオロモノアルケニル化合物
を含有し、ゲル状硬化物を与える硬化性パーフルオロポリエーテル組成物及びその硬化物を含むゲル製品を提供する。
[(A)成分]
本発明の(A)成分は、1分子中に少なくとも2個のアルケニル基を有し、かつ主鎖中にパーフルオロポリエーテル構造、好ましくは二価のパーフルオロアルキルエーテル構造を有する、ゲルパーミエーションクロマトグラフィー(GPC)によるポリスチレン換算重量平均分子量が1万〜10万のものである。
(CaF2aO)q (7)
(式中、qは50〜600、好ましくは50〜400、より好ましくは50〜200の整数である。)
−CF2CF2O−
−CF2CF2CF2O−
−CF(CF3)CF2O−
−CF2CF2CF2CF2O−
−CF2CF2CF2CF2CF2CF2O−
−C(CF3)2O−
これらの中では、特に下記単位が好適である。
−CF2O−
−CF2CF2O−
−CF2CF2CF2O−
−CF(CF3)CF2O−
であり、Rは水素原子、メチル基、フェニル基又はアリル基である。]等を介して結合していてもよい。アルケニル基は1分子中に少なくとも2個有する。
CH2=CH−(X)p−Rf1−(X’)p−CH=CH2 (8)
CH2=CH−(X)p−Q−Rf1−Q−(X’)p−CH=CH2 (9)
[式中、Xは独立に−CH2−、−CH2O−、−CH2OCH2−又は−Y−NR1−CO−(但し、Yは−CH2−又は下記構造式(Z)で示される基であり、R1は水素原子、メチル基、フェニル基又はアリル基である。)であり、X’は−CH2−、−OCH2−、−CH2OCH2−又は−CO−NR2−Y’−(但し、Y’は−CH2−又は下記構造式(Z’)で示される基であり、R2は水素原子、メチル基、フェニル基又はアリル基であり、
Rf1は二価のパーフルオロポリエーテル構造であり、上記式(7)、即ち(CaF2aO)qで示されるものが好ましい。Qは炭素数1〜15の二価の炭化水素基であり、エーテル結合を含んでいてもよく、具体的にはアルキレン基、エーテル結合を含んでいてもよいアルキレン基である。)、pは独立に0又は1である。]
(B)成分は、(A)成分の架橋剤、鎖長延長剤として作用するものである。この(B)成分は1分子中にケイ素原子に結合した水素原子を少なくとも2個有する有機ケイ素化合物である。但し、(A)成分又は後述する(E),(F)成分との相溶性、分散性、硬化後の均一性等の観点から、1分子中に1個以上の一価のパーフルオロアルキル基、一価のパーフルオロオキシアルキル基、二価のパーフルオロアルキレン基又は二価のパーフルオロオキシアルキレン基を有しているものを使用することができる。
一価のパーフルオロアルキル基:
CbF2b+1−
(但し、bは1〜20、好ましくは2〜10の整数である。)
−CH2CH2−
−CH2CH2CH2−
−CH2CH2CH2OCH2−
−CH2CH2CH2−NH−CO−
−CH2CH2CH2−N(Ph)−CO−
(但し、Phはフェニル基である。)
−CH2CH2CH2−N(CH3)−CO−
−CH2CH2CH2−O−CO−
−CcF2c−
(但し、cは1〜20、好ましくは2〜10の整数である。)
(但し、m,nはそれぞれ1〜50の整数である。)
本発明の(C)成分である補強性フィラーは、硬化性パーフルオロポリエーテルゴム組成物において、機械的強度、熱安定性、耐候性、耐薬品性あるいは難燃性を向上させたり、硬化時における熱収縮の減少、硬化して得られる弾性体の熱膨張率を低下させたり、ガス透過率を低下させる目的で添加されるが、主な目的は、機械的強度の向上である。
本発明の(D)成分は、ヒドロシリル化反応触媒である。ヒドロシリル化反応触媒は、(A)成分及び(E)成分中のアルケニル基と、(B)成分中のヒドロシリル基との付加反応を促進する触媒である。このヒドロシリル化反応触媒は、一般に貴金属の化合物であり、高価格であることから、比較的入手し易い白金又は白金化合物がよく用いられる。
(E)成分は、1分子中に1個のアルケニル基を有し、かつ主鎖中にパーフルオロポリエーテル構造を有する、ポリフルオロモノアルケニル化合物である。特に、下記式(2)のポリフルオロモノアルケニル化合物が好ましい。
Rf2−(X’)p−CH=CH2 (2)
[式中、X’及びpは上記と同じであり、Rf2は、下記一般式で示される。
F−[CF(CF3)CF2O]w−CF(CF3)−
(式中、wは1〜500の整数で表される。)]
本発明のパーフルオロポリエーテル系ゴム及びゲル組成物が、(F)成分として−CaF2aO−の繰り返し(aは上記と同様)単位を含むパーフルオロポリエーテル構造を有する、アルケニル基を含有しない無官能フッ素ポリマーを更に含有することができる。この無官能フッ素ポリマーは、特に直鎖状のものが好ましい。
A−O−(CF2CF2CF2O)d−A (3)
(式中、Aは式:CeF2e+1−(eは1〜3)で表される基であり、dは1〜500の整数である。)
A−O−(CF2O)f(CF2CF2O)h−A (4)
(式中、Aは上記と同じであり、f及びhはそれぞれ1〜300の整数である。)
CF3O−(CF2CF2CF2O)n−CF2CF3
CF3−[(OCF2CF2)n(OCF2)m]−O−CF3
(m+n=1〜200、m=1〜200、n=1〜200)
本組成物においては、上記の(A)〜(F)成分以外にも、各種配合剤を添加することは任意である。ヒドロシリル化反応触媒の制御剤として、例えば1−エチニル−1−ヒドロキシシクロヘキサン、3−メチル−1−ブチン−3−オール、3,5−ジメチル−1−ヘキシン−3−オール、3−メチル−1−ペンテン−3−オール、フェニルブチノールなどのアセチレンアルコールや、3−メチル−3−ペンテン−1−イン、3,5−ジメチル−3−ヘキセン−1−イン等、あるいはポリメチルビニルシロキサン環式化合物、有機リン化合物等が挙げられ、その添加により硬化反応性と保存安定性を適度に保つことができる。
本発明のパーフルオロポリエーテルゲル組成物は、上記した組成物を硬化させることにより、耐熱性、耐薬品性、耐溶剤性、撥水性、撥油性、耐候性等に優れている上、特に耐酸性が良好な硬化物を形成させることができ、各種の用途に使用することができる。
式(12)で示されるポリマー65質量部と下記式(15)で示されるポリマー(粘度650cSt)10質量部に、式(16)で示されるポリマー25質量部、エチニルシクロヘキサノールの50%トルエン溶液0.15質量部、塩化白金酸のビニルシロキサン錯体のエタノール溶液(白金金属濃度3.0質量%)0.015質量部、下記式(17)で示される化合物14.2質量部を加え、混合して組成物を調製した。
式(10)で示されるポリマー45質量部と下記式(18)で示されるポリマー(粘度1000cSt)22質量部に、式(19)で示されるポリマー33質量部、エチニルシクロヘキサノールの50%トルエン溶液0.15質量部、塩化白金酸のビニルシロキサン錯体のエタノール溶液(白金金属濃度3.0質量%)0.015質量部、下記式(20)で示される化合物8.5質量部を加え、混合して組成物を調製した。
式(14)で示されるポリマー35質量部と式(15)で示されるポリマー(粘度1000cSt)40質量部に、式(16)で示されるポリマー25質量部、エチニルシクロヘキサノールの50%トルエン溶液0.15質量部、塩化白金酸のビニルシロキサン錯体のエタノール溶液(白金金属濃度3.0質量%)0.015質量部、下記式(21)で示される化合物13.5質量部を加え、混合して組成物を調製した。
式(10)で示されるポリマー40質量部と式(15)で示されるポリマー(粘度1000cSt)35質量部に、式(16)で示されるポリマー25質量部、エチニルシクロヘキサノールの50%トルエン溶液0.15質量部、塩化白金酸のビニルシロキサン錯体のエタノール溶液(白金金属濃度3.0質量%)0.015質量部、下記式(22)で示される化合物8.1質量部を加え、混合して組成物を調製した。
30φ×15mmtのガラス容器に実施例及び比較例の組成物を秤取し、硬化させたサンプルを、ガソリン中に浸漬して飽和膨潤時の重量変化率を測定した。
8φ×90mmの試験管内に実施例及び比較例の組成物を、試験管の底面から30mmの高さになるまで挿入した後硬化してサンプルを作製し、所定の濃度の酸性溶液に23℃にて3日間浸漬し、浸漬前と後の重量変化率を測定した。試験結果を表2に示す。
8φ×90mmの試験管内に実施例及び比較例の組成物を、試験管の底面から30mmの高さになるまで挿入した後硬化してサンプルを作製し、所定の濃硫酸溶液に23℃にて3日間浸漬し、浸漬前後の針入度の変化を測定した。試験結果を表2に示す。
上記の耐酸試験において、濃硫酸溶液に23℃にて3日間浸漬した後のサンプル外観を下記の基準で評価した。
○ 変化無し
△ 変化小(微濁)
× 変化大(白濁)
×× 溶解
ゲルF:KE1052(信越化学工業(株)製、商品名)ジメチルシリコーンをベースとしたシリコーンゲル
耐酸試験(実機)
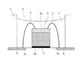
実施例1,2及び比較例1,2で得られたゲルA〜Dを用いて、下記図1及び2に示される各種の実施形態で電子部品を封止、保護し、耐酸試験に供した。ここで、図1,2において、1はハウジング、2は櫛型電極、3はキャビティ、4はインサートピン(リード)、5は台座、5aは接着剤、6はボンディングワイヤ、7は保護材料(ゲルA〜D)である。ゲルA〜Dにて保護された電子部品を濃度50%の硫酸水溶液及び硝酸水溶液に60℃にて500時間開放浸漬した。500時間後、外観観察による部品の腐食確認を行ったところ、表2の結果が得られた。
2 櫛型電極
3 キャビティ
4 インサートピン(リード)
5 台座
5a 接着剤
6 ボンディングワイヤ
7 保護材料(ゲルA〜D)
Claims (12)
- (A)1分子中に少なくとも2個のアルケニル基を有し、かつ主鎖中に−CaF2aO−(aは1〜6の整数である。)の繰り返し単位を含むパーフルオロポリエーテル構造を有する、重量平均分子量1万〜10万である直鎖状パーフルオロポリエーテル化合物、
(B)1分子中にケイ素原子に結合した水素原子を少なくとも2個有する下記(B−1)及び(B−2)から選ばれる有機ケイ素化合物、
(B−1)1分子中に少なくとも1個のパーフルオロアルキル基又はパーフルオロポリエーテル置換基を有する環状のオルガノハイドロジェンポリシロキサン
(B−2)1分子中に少なくとも1個のパーフルオロアルキル基又はパーフルオロポリエーテル置換基を有し、ケイ素原子に結合した水素原子が全てH−Si(CH2)gSi−(gは1〜3の整数である。)構造を構成する有機ケイ素化合物
(D)ヒドロシリル化反応触媒、
(E)1分子中に1個のアルケニル基を有し、かつ主鎖中にパーフルオロポリエーテル構造を有する、ポリフルオロモノアルケニル化合物
を含有し、ゲル状硬化物を与えることを特徴とする硬化性パーフルオロポリエーテル組成物。 - (A)成分の−CaF2aO−の繰り返し単位を含むパーフルオロポリエーテル構造が、(CaF2aO)qで表され、qが50〜600の整数である請求項1又は2記載の硬化性パーフルオロポリエーテル組成物。
- (A)成分が下記一般式(1)
[式中、Xは−CH2−、−CH2O−、−CH2OCH2−又は−Y−NR1−CO−(但し、Yは−CH2−又は下記構造式(Z)で示される基であり、R1は水素原子、メチル基、フェニル基又はアリル基である。)である。X’は−CH2−、−OCH2−、−CH2OCH2−又は−CO−NR2−Y−(但し、Yは−CH2−又は下記構造式(Z’)で示される基であり、R2は水素原子、メチル基、フェニル基又はアリル基である。)である。pは独立に0又は1、rは2〜6の整数、m,nはそれぞれ0〜600の整数であり、更にmとnの和が50〜600である。]
(式中、o,m又はp位で示されるジメチルフェニルシリレン基である。)
(o,m又はp位で示されるジメチルフェニルシリレン基)
で表される直鎖状パーフルオロポリエーテル化合物である請求項1乃至3のいずれか1項記載の硬化性パーフルオロポリエーテル組成物。 - 前記パーフルオロポリエーテル組成物が、(F)成分として更に、下記一般式(3)
A−O−(CF2CF2CF2O)d−A (3)
[式中、Aは式:CeF2e+1−(eは1〜3)で表される基であり、dは1〜500の整数である。]、及び、下記一般式(4)
A−O−(CF2O)f(CF2CF2O)h−A (4)
(式中、Aは上記と同じであり、f及びhはそれぞれ1〜300の整数である。)
で表される化合物からなる群から選ばれる少なくとも1種の直鎖状ポリフルオロ化合物を含有することを特徴とする請求項1乃至4のいずれか1項記載のパーフルオロポリエーテル組成物。 - パーフルオロポリエーテル組成物のフッ素含有率が60%以上である、請求項1乃至5のいずれか1項記載のパーフルオロポリエーテル組成物。
- H−Si(CH2)gSi−(gは1〜3の整数である。)構造を構成する(B−2)成分の有機ケイ素化合物が、下記一般式(6)
[式中、i及びjは0又は1であるが、iとjは同時に0とはならない。i,jのいずれか一方が0、他方が1の場合、Zは水素原子、−Q−M又は−Q−Rf3であり(但し、Mは下記式(i)で表される基であり、
Qは炭素数1〜15の二価の炭化水素基であり、エーテル結合を含んでいてもよい。Rf3は上記したと同様の一価のパーフルオロアルキル基又はパーフルオロオキシアルキル基である。R6は同一又は異種の炭素数1〜20の一価炭化水素基である。gは1〜3の整数である。)、
i,jの双方が1の場合、Zは−Q−、−Rf’−又は−Q−Rf’−Q−である。(但し、Mは下記式(ii)及び/又は(iii)で表される基であり、
かつ1分子中に式(ii)の基が少なくとも2個存在する。Rf4は一価のパーフルオロアルキル基又はパーフルオロポリエーテル基であり、Q,g,R6は前記と同様である。Rf’は二価のパーフルオロアルキレン基又はパーフルオロオキシアルキレン基である。)
R5は同一又は異種の炭素数1〜20の一価炭化水素基である。tは1,2又は3、uは0,1,2又は3である。]
で示される請求項1乃至6のいずれか1項記載のパーフルオロポリエーテル組成物。 - 上記したパーフルオロポリエーテル組成物の硬化物が、23℃におけるガソリンに対する飽和重量増加率が6%以下であることを特徴とする、請求項1乃至8のいずれか1項記載のパーフルオロポリエーテル組成物。
- 上記したパーフルオロポリエーテル組成物の硬化物が、23℃における濃硫酸(98%)に対する浸漬重量増加率が8%以下であることを特徴とする、請求項1乃至9のいずれか1項記載のパーフルオロポリエーテル組成物。
- 請求項1乃至10のいずれか1項記載の硬化性パーフルオロポリエーテル組成物の硬化物を含むことを特徴とするゲル製品。
- 請求項1乃至10のいずれか1項記載の硬化性パーフルオロポリエーテル組成物の硬化物を含むことを特徴とする、自動車用、化学プラント用、インクジェットプリンタ用、半導体製造ライン用、分析・理化学機器用、医療機器用、航空機用又は燃料電池用材料であるゲル製品。
Priority Applications (1)
| Application Number | Priority Date | Filing Date | Title |
|---|---|---|---|
| JP2009244611A JP5233952B2 (ja) | 2004-06-11 | 2009-10-23 | 硬化性パーフルオロポリエーテル組成物及びその硬化物を用いたゲル製品 |
Applications Claiming Priority (3)
| Application Number | Priority Date | Filing Date | Title |
|---|---|---|---|
| JP2004174777 | 2004-06-11 | ||
| JP2004174777 | 2004-06-11 | ||
| JP2009244611A JP5233952B2 (ja) | 2004-06-11 | 2009-10-23 | 硬化性パーフルオロポリエーテル組成物及びその硬化物を用いたゲル製品 |
Related Parent Applications (1)
| Application Number | Title | Priority Date | Filing Date |
|---|---|---|---|
| JP2005167709A Division JP2006022319A (ja) | 2004-06-11 | 2005-06-08 | 硬化性パーフルオロポリエーテル組成物及びその硬化物を用いたゴム及びゲル製品 |
Publications (2)
| Publication Number | Publication Date |
|---|---|
| JP2010043281A true JP2010043281A (ja) | 2010-02-25 |
| JP5233952B2 JP5233952B2 (ja) | 2013-07-10 |
Family
ID=34941645
Family Applications (1)
| Application Number | Title | Priority Date | Filing Date |
|---|---|---|---|
| JP2009244611A Expired - Fee Related JP5233952B2 (ja) | 2004-06-11 | 2009-10-23 | 硬化性パーフルオロポリエーテル組成物及びその硬化物を用いたゲル製品 |
Country Status (4)
| Country | Link |
|---|---|
| US (2) | US20050277731A1 (ja) |
| EP (1) | EP1605018B1 (ja) |
| JP (1) | JP5233952B2 (ja) |
| DE (1) | DE602005008818D1 (ja) |
Cited By (2)
| Publication number | Priority date | Publication date | Assignee | Title |
|---|---|---|---|---|
| JP2014084325A (ja) * | 2012-10-19 | 2014-05-12 | Shin Etsu Chem Co Ltd | 硬化性フルオロポリエーテル系ゲル組成物及びその硬化物を用いたゲル製品 |
| WO2020071330A1 (ja) * | 2018-10-05 | 2020-04-09 | Agc株式会社 | 含フッ素エーテル組成物、コーティング液、物品およびその製造方法 |
Families Citing this family (24)
| Publication number | Priority date | Publication date | Assignee | Title |
|---|---|---|---|---|
| JP2006219668A (ja) * | 2005-01-14 | 2006-08-24 | Shin Etsu Chem Co Ltd | 熱硬化性フルオロポリエーテル系組成物 |
| JP4784743B2 (ja) * | 2005-02-14 | 2011-10-05 | 信越化学工業株式会社 | 硬化性パーフルオロポリエーテル組成物、その硬化物を用いたゴム及びゲル製品 |
| US7553894B2 (en) * | 2005-07-28 | 2009-06-30 | 3M Innovative Properties Company | Cold-shrink article and method of making cold-shrink article |
| EP1818367B1 (en) * | 2006-02-13 | 2009-07-15 | Shin-Etsu Chemical Co., Ltd. | Curable fluoropolyether compositions and integral molded resin/rubber articles |
| JP4687898B2 (ja) * | 2006-03-14 | 2011-05-25 | 信越化学工業株式会社 | 含フッ素ケイ素化合物、シリコーン樹脂、それを用いたレジスト組成物、及びパターン形成方法 |
| US7642460B2 (en) * | 2007-04-06 | 2010-01-05 | 3M Innovative Properties Company | Cold shrinkable article including a fluoroelastomer composition |
| US7705085B2 (en) | 2007-04-06 | 2010-04-27 | 3M Innovative Properties Company | Fluoroelastomer composition for cold shrink articles |
| US20080280080A1 (en) * | 2007-05-07 | 2008-11-13 | Bandyopadhyay Pradip K | Cold shrinkable article including an epichlorohydrin composition |
| US8188178B2 (en) * | 2007-05-07 | 2012-05-29 | 3M Innovative Properties Company | Cold shrinkable article including an epichlorohydrin composition |
| US7635813B2 (en) * | 2007-09-10 | 2009-12-22 | 3M Innovative Properties Company | Article and method for sealing fluid-containing cables |
| US7973241B2 (en) | 2007-09-10 | 2011-07-05 | 3M Innovative Properties Company | Pressure restraining enclosure for cables |
| JP5035555B2 (ja) * | 2008-04-09 | 2012-09-26 | 信越化学工業株式会社 | 室温硬化性フルオロポリエーテルゴム組成物及びその硬化物 |
| JP5459232B2 (ja) * | 2010-01-19 | 2014-04-02 | 信越化学工業株式会社 | 付加硬化型フルオロポリエーテル系接着剤組成物 |
| JP5511872B2 (ja) * | 2012-03-19 | 2014-06-04 | 日本バルカー工業株式会社 | 熱伝導性樹脂組成物及びこれを用いた熱伝導性シート |
| JP5859421B2 (ja) * | 2012-06-05 | 2016-02-10 | 信越化学工業株式会社 | 光半導体封止用硬化性組成物及びこれを用いた光半導体装置 |
| JP6204916B2 (ja) * | 2012-08-27 | 2017-09-27 | 日本バルカー工業株式会社 | ブリードが抑制された成形体およびその製造方法 |
| US9909027B2 (en) | 2012-11-13 | 2018-03-06 | Daikin Industries, Ltd. | Surface treatment composition |
| JP6160540B2 (ja) | 2014-03-31 | 2017-07-12 | 信越化学工業株式会社 | 硬化性パーフルオロポリエーテル系ゲル組成物及びその硬化物を用いたゲル製品 |
| JP6565723B2 (ja) * | 2015-02-04 | 2019-08-28 | 信越化学工業株式会社 | 光硬化性フルオロポリエーテル系ゴム組成物及びその硬化物、並びにその硬化方法 |
| CN106832294B (zh) * | 2017-01-21 | 2019-10-29 | 苏州逸微光电科技有限公司 | 一种新型氟硅聚合物以及表面处理剂 |
| WO2018221665A1 (ja) * | 2017-05-31 | 2018-12-06 | 国立大学法人大阪大学 | 積層体及びその製造方法 |
| WO2019163282A1 (ja) * | 2017-12-27 | 2019-08-29 | Agc株式会社 | 含フッ素エーテル化合物、含フッ素エーテル組成物、コーティング液、物品及びその製造方法 |
| JP7070705B2 (ja) * | 2018-11-28 | 2022-05-18 | 信越化学工業株式会社 | パーフルオロポリエーテル系ゴム組成物とその硬化物及びそれを含む製品 |
| CN110772020A (zh) * | 2019-11-25 | 2020-02-11 | 西安和光明宸科技有限公司 | 一种防摔水杯 |
Citations (9)
| Publication number | Priority date | Publication date | Assignee | Title |
|---|---|---|---|---|
| JPH11116685A (ja) * | 1997-10-09 | 1999-04-27 | Shin Etsu Chem Co Ltd | 硬化性組成物 |
| JP2002012769A (ja) * | 2000-06-29 | 2002-01-15 | Shin Etsu Chem Co Ltd | 硬化性フルオロポリエーテルゴム組成物 |
| JP2002322362A (ja) * | 2001-02-20 | 2002-11-08 | Shin Etsu Chem Co Ltd | 含フッ素硬化性組成物 |
| JP2003183493A (ja) * | 2001-08-29 | 2003-07-03 | Shin Etsu Chem Co Ltd | 航空機用ゴム部品 |
| JP2003183384A (ja) * | 2001-12-21 | 2003-07-03 | Shin Etsu Chem Co Ltd | チキソ性含フッ素硬化性組成物及びこれを用いた封止物 |
| JP2003206400A (ja) * | 2002-01-10 | 2003-07-22 | Shin Etsu Chem Co Ltd | 低ブリード性ゲル状硬化物を与える硬化性組成物 |
| JP2003327820A (ja) * | 2002-05-14 | 2003-11-19 | Shin Etsu Chem Co Ltd | 硬化性フルオロポリエーテルゴム組成物及びゴム製品 |
| JP2004043590A (ja) * | 2002-07-10 | 2004-02-12 | Shin Etsu Chem Co Ltd | 硬化性組成物及び電気・電子部品 |
| JP2004045142A (ja) * | 2002-07-10 | 2004-02-12 | Shin Etsu Chem Co Ltd | 半導体圧力センサ装置 |
Family Cites Families (6)
| Publication number | Priority date | Publication date | Assignee | Title |
|---|---|---|---|---|
| JP2990646B2 (ja) | 1995-01-23 | 1999-12-13 | 信越化学工業株式会社 | 硬化性組成物 |
| JP3646775B2 (ja) | 1999-03-02 | 2005-05-11 | 信越化学工業株式会社 | 硬化性フルオロポリエーテル系ゴム組成物 |
| JP3858966B2 (ja) | 2000-11-30 | 2006-12-20 | 信越化学工業株式会社 | 硬化性フルオロポリエーテル系ゴム組成物 |
| JP3944684B2 (ja) | 2000-12-21 | 2007-07-11 | 信越化学工業株式会社 | フッ素ゴム組成物及びその製造方法 |
| US6815492B2 (en) * | 2001-08-29 | 2004-11-09 | Shin-Etsu Chemical Co., Ltd. | Rubber parts for aircraft |
| JP2003198084A (ja) | 2001-12-28 | 2003-07-11 | Nikko Materials Co Ltd | プリント配線基板用複合箔及びその製造方法 |
-
2005
- 2005-06-09 US US11/148,360 patent/US20050277731A1/en not_active Abandoned
- 2005-06-10 EP EP05253598A patent/EP1605018B1/en not_active Ceased
- 2005-06-10 DE DE602005008818T patent/DE602005008818D1/de not_active Expired - Lifetime
-
2009
- 2009-05-19 US US12/468,721 patent/US8119760B2/en active Active
- 2009-10-23 JP JP2009244611A patent/JP5233952B2/ja not_active Expired - Fee Related
Patent Citations (9)
| Publication number | Priority date | Publication date | Assignee | Title |
|---|---|---|---|---|
| JPH11116685A (ja) * | 1997-10-09 | 1999-04-27 | Shin Etsu Chem Co Ltd | 硬化性組成物 |
| JP2002012769A (ja) * | 2000-06-29 | 2002-01-15 | Shin Etsu Chem Co Ltd | 硬化性フルオロポリエーテルゴム組成物 |
| JP2002322362A (ja) * | 2001-02-20 | 2002-11-08 | Shin Etsu Chem Co Ltd | 含フッ素硬化性組成物 |
| JP2003183493A (ja) * | 2001-08-29 | 2003-07-03 | Shin Etsu Chem Co Ltd | 航空機用ゴム部品 |
| JP2003183384A (ja) * | 2001-12-21 | 2003-07-03 | Shin Etsu Chem Co Ltd | チキソ性含フッ素硬化性組成物及びこれを用いた封止物 |
| JP2003206400A (ja) * | 2002-01-10 | 2003-07-22 | Shin Etsu Chem Co Ltd | 低ブリード性ゲル状硬化物を与える硬化性組成物 |
| JP2003327820A (ja) * | 2002-05-14 | 2003-11-19 | Shin Etsu Chem Co Ltd | 硬化性フルオロポリエーテルゴム組成物及びゴム製品 |
| JP2004043590A (ja) * | 2002-07-10 | 2004-02-12 | Shin Etsu Chem Co Ltd | 硬化性組成物及び電気・電子部品 |
| JP2004045142A (ja) * | 2002-07-10 | 2004-02-12 | Shin Etsu Chem Co Ltd | 半導体圧力センサ装置 |
Cited By (3)
| Publication number | Priority date | Publication date | Assignee | Title |
|---|---|---|---|---|
| JP2014084325A (ja) * | 2012-10-19 | 2014-05-12 | Shin Etsu Chem Co Ltd | 硬化性フルオロポリエーテル系ゲル組成物及びその硬化物を用いたゲル製品 |
| WO2020071330A1 (ja) * | 2018-10-05 | 2020-04-09 | Agc株式会社 | 含フッ素エーテル組成物、コーティング液、物品およびその製造方法 |
| JPWO2020071330A1 (ja) * | 2018-10-05 | 2021-09-16 | Agc株式会社 | 含フッ素エーテル組成物、コーティング液、物品およびその製造方法 |
Also Published As
| Publication number | Publication date |
|---|---|
| US8119760B2 (en) | 2012-02-21 |
| EP1605018B1 (en) | 2008-08-13 |
| EP1605018A1 (en) | 2005-12-14 |
| DE602005008818D1 (de) | 2008-09-25 |
| JP5233952B2 (ja) | 2013-07-10 |
| US20090292096A1 (en) | 2009-11-26 |
| US20050277731A1 (en) | 2005-12-15 |
Similar Documents
| Publication | Publication Date | Title |
|---|---|---|
| JP5233952B2 (ja) | 硬化性パーフルオロポリエーテル組成物及びその硬化物を用いたゲル製品 | |
| JP4753289B2 (ja) | フッ素系エラストマー又はフッ素系ゲル用プライマー組成物 | |
| JP5664424B2 (ja) | 硬化性パーフルオロポリエーテル組成物、その硬化物を用いたゲル製品 | |
| JP5447343B2 (ja) | パーフルオロポリエーテルゲル硬化物の耐酸性を向上する方法 | |
| JP2006022319A (ja) | 硬化性パーフルオロポリエーテル組成物及びその硬化物を用いたゴム及びゲル製品 | |
| JP6160540B2 (ja) | 硬化性パーフルオロポリエーテル系ゲル組成物及びその硬化物を用いたゲル製品 | |
| JP2005200481A (ja) | 射出成型用フルオロポリエーテルゴム組成物 | |
| JP2007126496A (ja) | 接着剤組成物 | |
| JP5303864B2 (ja) | 硬化性フルオロポリエーテル組成物及びそれを用いたゴム硬化物と有機樹脂との一体成型品 | |
| JP2006022223A (ja) | 硬化性フルオロポリエーテル組成物 | |
| JP5110280B2 (ja) | 硬化性フルオロポリエーテル系ゴム組成物 | |
| EP1321480A2 (en) | Thixotropic fluorinated curable compositions and articles sealed therewith | |
| JP4269127B2 (ja) | 硬化性組成物 | |
| JP5246212B2 (ja) | 硬化性パーフルオロポリエーテル系ゲル組成物及びその硬化物を用いたゲル製品 | |
| JP2009120733A (ja) | ポリアミド樹脂とフッ素エラストマーとの接着方法 | |
| JP3815778B2 (ja) | 低ブリード性ゲル状硬化物を与える硬化性組成物 | |
| JP3858970B2 (ja) | 硬化性フルオロポリエーテル系ゴム組成物 | |
| JP2007238928A (ja) | 硬化性フルオロポリエーテル組成物及びそれを用いたゴム硬化物と有機樹脂との一体成型品 | |
| JP4446183B2 (ja) | 硬化性フルオロポリエーテル系ゴム組成物及びゴム製品 | |
| JP2003292761A (ja) | 硬化性フルオロポリエーテル系ゴム組成物及びゴム製品 | |
| JP2005281482A (ja) | 硬化性フルオロポリエーテル系ゴム組成物及びゴム製品 | |
| JP2005330429A (ja) | 硬化性組成物及びゴム加工品 | |
| JP2007002228A (ja) | 含フッ素材料 | |
| JP7794300B2 (ja) | 熱硬化性パーフルオロポリエーテルゴム組成物 | |
| JP2006036973A (ja) | フルオロポリエーテルゴム組成物及びその硬化物からなるゴム製品 |
Legal Events
| Date | Code | Title | Description |
|---|---|---|---|
| A131 | Notification of reasons for refusal |
Free format text: JAPANESE INTERMEDIATE CODE: A131 Effective date: 20121024 |
|
| A521 | Request for written amendment filed |
Free format text: JAPANESE INTERMEDIATE CODE: A523 Effective date: 20121218 |
|
| TRDD | Decision of grant or rejection written | ||
| A01 | Written decision to grant a patent or to grant a registration (utility model) |
Free format text: JAPANESE INTERMEDIATE CODE: A01 Effective date: 20130226 |
|
| A61 | First payment of annual fees (during grant procedure) |
Free format text: JAPANESE INTERMEDIATE CODE: A61 Effective date: 20130311 |
|
| R150 | Certificate of patent or registration of utility model |
Ref document number: 5233952 Country of ref document: JP Free format text: JAPANESE INTERMEDIATE CODE: R150 Free format text: JAPANESE INTERMEDIATE CODE: R150 |
|
| FPAY | Renewal fee payment (event date is renewal date of database) |
Free format text: PAYMENT UNTIL: 20160405 Year of fee payment: 3 |
|
| LAPS | Cancellation because of no payment of annual fees |
