JP2010034376A - 段積みトレイの供給装置及び供給方法、並びに部品実装装置及び方法 - Google Patents

段積みトレイの供給装置及び供給方法、並びに部品実装装置及び方法 Download PDF

Info

Publication number
JP2010034376A
JP2010034376A JP2008196043A JP2008196043A JP2010034376A JP 2010034376 A JP2010034376 A JP 2010034376A JP 2008196043 A JP2008196043 A JP 2008196043A JP 2008196043 A JP2008196043 A JP 2008196043A JP 2010034376 A JP2010034376 A JP 2010034376A
Authority
JP
Japan
Prior art keywords
tray
supply
component
stage
components
Prior art date
Legal status (The legal status is an assumption and is not a legal conclusion. Google has not performed a legal analysis and makes no representation as to the accuracy of the status listed.)
Granted
Application number
JP2008196043A
Other languages
English (en)
Other versions
JP4864051B2 (ja
Inventor
Ryoichiro Katano
良一郎 片野
Shinjiro Tsuji
慎治郎 辻
Current Assignee (The listed assignees may be inaccurate. Google has not performed a legal analysis and makes no representation or warranty as to the accuracy of the list.)
Panasonic Corp
Original Assignee
Panasonic Corp
Priority date (The priority date is an assumption and is not a legal conclusion. Google has not performed a legal analysis and makes no representation as to the accuracy of the date listed.)
Filing date
Publication date
Application filed by Panasonic Corp filed Critical Panasonic Corp
Priority to JP2008196043A priority Critical patent/JP4864051B2/ja
Publication of JP2010034376A publication Critical patent/JP2010034376A/ja
Application granted granted Critical
Publication of JP4864051B2 publication Critical patent/JP4864051B2/ja
Active legal-status Critical Current
Anticipated expiration legal-status Critical

Links

Images

Landscapes

  • Supply And Installment Of Electrical Components (AREA)

Abstract

【課題】段積みトレイの供給において、トレイ内に収納されている部品が空状態となることに起因する部品供給のタクトロスを低減させながら、生産性を向上させるとともに、一度供給された部品が基板に実装されない場合に、この部品をトレイに再利用可能に回収する。
【解決手段】同心円上に第1、第2、第3のトレイステージを回転移動可能に備え、第1のトレイステージに載置されたトレイが部品切れ(空状態)となった場合であっても、それぞれのトレイステージを回転移動させることで、第2のトレイステージのトレイを第1のトレイステージに載置されたトレイと容易かつ迅速に入れ替える。さらに、第3のトレイステージを供給用トレイ配置位置に位置させることで、第1または第2ステージのトレイから供給された部品でありかつ基板に実装されない部品を、第3のトレイステージのトレイに回収させる。
【選択図】図1

Description

本発明は、基板に実装される部品が整列された状態にて収納されたトレイを複数枚段積み状態にして収納する段積みトレイの供給装置及び供給方法、並びにこのような段積みトレイから供給される部品を基板に実装する部品実装装置及び方法に関する。
ICチップや異形なコネクタなど各種部品は、基板に実装する(あるいは仮装着する)部品実装装置などにおいて、自動的に高速に取り扱われる。このような部品実装装置において、部品を取り扱う1つの荷姿として、複数の部品をトレイに整列配置させるように収容させて一括に取り扱えるようにすることが従来から行われている(例えば、特許文献1参照)。
このような部品実装装置では、複数の部品を収納したトレイや部品の供給を終えた空状態のトレイを段積み状態にして収容し、多数枚のトレイをコンパクトに効率よく取り扱われるようにしている。具体的には、複数枚のトレイを段積み状態にして収納し、収納されたトレイが部品供給のために順次取り出し可能とされる供給側トレイ収納部と、上記供給側トレイ収納部より供給されて部品供給が行われた後の空のトレイを順次回収して段積み状態にて収納する回収側トレイ収納部と、それぞれのトレイ収納部との間でトレイの受け渡しが行われ、受け取ったトレイを載置した状態にて部品供給位置へ移動させるトレイ載置装置とを備える段積みトレイの供給装置が用いられている。
また、このような段積みトレイの供給装置は、部品実装装置に組み込まれて使用されている。ここで、段積みトレイの供給装置により、トレイ内に収納されている部品の供給が行われる手順について説明する。
まず、段積みトレイの供給装置において、供給側トレイ収納部より一枚のトレイが取り出されてトレイ載置装置へと受け渡され、トレイ載置装置によりこのトレイが部品供給位置に位置される。その後、部品供給位置に位置されたトレイの上方に、反転ヘッドが移動され、反転ヘッドによりトレイ内の1つの部品が吸着保持されて取り出される。反転ヘッドは吸着保持した部品を上下方向に反転させた後、部品実装ヘッドにこの部品を受け渡す。その後、部品実装ヘッドによりこの部品が基板上に実装される。このような動作が繰り返して行われることにより、基板上への部品実装が順次行われる。
やがて、トレイ内に収納されている部品が無くなると、トレイ載置装置により空トレイが移動されて回収側トレイ収納部に受け渡されて、空トレイが回収される。その後、再び供給側トレイ収納部より新たな別の一枚のトレイが供給側トレイ収納部より取り出されてトレイ載置装置へと受け渡される。この新たな別のトレイは、トレイ載置装置により部品供給位置に位置されて、反転ヘッドへの部品の供給が再開して行われる。
特開2000−299595号公報 特開2000−114783号公報 特開2000−124671号公報 特開2004−179598号公報
このような従来の段積みトレイの供給装置による部品の供給方法では、部品供給位置に位置されたトレイ内に収納されている部品が無くなり、トレイが空状態となると、反転ヘッドへの部品供給を中断させて、トレイ載置装置により空トレイを回収側トレイ収納部へ回収させた後、供給側トレイ収納部より新たなトレイを供給して、部品供給位置に位置させて、部品供給が再開される。そのため、トレイの回収及び供給動作が行われている間は部品供給が中断してしまうという問題がある。
このような部品供給の中断時間を無くすため、例えば、部品実装装置に同種の部品を収納するトレイの供給を行う2台の段積みトレイの供給装置を備えさせて、2箇所の部品供給位置に2枚のトレイを配置して、交互に各々のトレイからの部品供給を行う(すなわちオルタネート方式による供給を行う)ことで、部品供給が中断する時間を少なくするような装置が用いられている(例えば、特許文献2、及び、特許文献3参照)。
しかしながら、このような方式では、同種の部品を収納するトレイを供給するための段積みトレイの供給装置を2台備えさせる必要があるため、装置コストの上昇や装置スペースの拡大などの問題が生じ、部品実装における生産性を阻害する要因となる場合がある。
また、このような従来の段積みトレイの供給装置による部品の供給方法が用いられている部品実装においては、実装ヘッドなどに供給された部品の画像を撮像して、その画像データに基づいて基準マークなどの認識処理を行って、基板上の所定の位置に部品の実装が行われている。一方、撮像された画像データにより基準マークを認識できないような場合には、その部品を認識不良部品として、実装動作を行うことなく、廃棄ボックス等に認識不良部品を廃棄する処理が行われている。
近年、このようなトレイにより供給される部品の多種化、多機能化が進み、比較的高価なIC部品などが用いられるような場合が多くなっている。そのため、基準マークが認識できないという理由で認識不良部品と判断して廃棄することは、IC部品のコストの観点からは望ましくない場合もある。そのため、このようなIC部品を回収して再利用しようとする提案がなされている(例えば、特許文献4参照)。
従って、本発明の目的は、上記問題を解決することにあって、基板に実装される部品が整列された状態にて収納されたトレイを複数枚段積み状態にして収納する段積みトレイの供給において、トレイ内に収納されている部品が空状態となることに起因する部品供給のタクトロスを低減させながら、生産性を向上させるとともに、一度供給された部品が基板に実装されない場合に、この部品をトレイに回収して再利用を図り、生産性をさらに向上させることができる段積みトレイの供給装置及び方法、並びに部品実装装置及び方法を提供することにある。
上記目的を達成するために、本発明は以下のように構成する。
本発明の第1態様によれば、基板に実装される部品を収納したトレイを複数枚段積み状態にして収納し、部品供給のためにトレイの供給及び回収を行う段積みトレイの供給装置において、
その下方側よりトレイが順次取り出されてトレイ供給位置に配置可能に、複数のトレイを段積み状態にて支持して収納する供給側トレイ収納部と、
トレイ回収位置に位置されたトレイをその下方側より順次回収して、段積み状態にて支持して収納する回収側トレイ収納部と、
トレイが個別に載置される第1、第2および第3のトレイステージと、
第1、第2および第3のトレイステージを同心円上に配置させて支持するとともに、部品供給が行われるトレイが位置される供給用トレイ配置位置と、供給用トレイ配置位置とともに同心円上に位置された2つの待機トレイ配置位置とのそれぞれの配置位置に、第1、第2および第3のトレイステージを選択的に配置可能に、第1、第2および第3のトレイステージを同心円上において回転移動させる回転移動装置と、
待機トレイ配置位置に位置されている第1または第2のトレイステージを、トレイ供給位置およびトレイ回収位置に位置させるように移動させるステージ移動装置とを備え、
回転移動装置により、トレイステージの回転移動を行うことにより、供給用トレイ配置位置に位置されている第1のトレイステージを、待機トレイ配置位置に位置されている第2のトレイステージと入れ替えて、第1のトレイステージのトレイからの部品供給に継続して、第2のトレイステージのトレイからの部品供給を実施可能とさせるとともに、トレイステージの回転移動を行うことにより、待機トレイ配置位置に位置されている第3のトレイステージを供給用トレイ配置位置に位置させて、第1または第2のトレイステージのトレイから供給された部品でありかつ基板に実装されない部品を、第3のトレイステージのトレイに回収可能とさせる、段積みトレイの供給装置を提供する。
本発明の第2態様によれば、ステージ移動装置は、それぞれのトレイステージとともに、回転移動装置を一体的に移動させる、第1態様に記載の段積みトレイの供給装置を提供する。
本発明の第3態様によれば、第1態様に記載の段積みトレイの供給装置と、
基板を保持する基板保持装置と、
供給用トレイ配置位置に位置された状態の第1または第2のトレイステージ上のトレイから部品を保持して取り出し、保持した部品を基板保持装置に保持された基板に実装する実装ヘッド装置と、
供給用トレイ配置位置と基板保持装置により保持された基板の上方との間において、実装ヘッド装置を移動させるヘッド移動装置と、
基板に実装される部品の画像を撮像して、部品画像情報を取得する部品撮像装置と、
部品撮像装置により取得された部品画像情報の認識処理を行う認識手段を有し、認識手段により認識処理の結果、認識不良と判断された部品に対して、実装ヘッド装置を供給用トレイ配置位置の上方へと移動させて、供給用トレイ配置位置に位置された第3のトレイステージ上のトレイに認識不良の部品を回収させるように、実装ヘッド装置、ヘッド移動装置および回転移動装置の動作制御を行う制御装置とを備える、部品実装装置を提供する。
本発明の第4態様によれば、互いに異なる種別の部品が収容されたトレイの供給を行う第1態様に記載の第1および第2の段積みトレイの供給装置と、
基板を保持する基板保持装置と、
第1および第2の段積みトレイの供給装置において共通して使用される共有の部品供給位置に位置された状態のトレイから部品を取り出して、基板保持装置に保持された基板にそれぞれの種別の部品を実装する実装ヘッド装置と、
共有の部品供給位置と基板保持装置により保持された基板の上方との間において、実装ヘッド装置を移動させるヘッド移動装置と、
基板に実装される部品の画像を撮像して、部品画像情報を取得する部品撮像装置と、
第1の段積みトレイの供給装置の供給用トレイ配置位置に位置されたトレイステージと、第2の段積みトレイの供給装置の供給用トレイ配置位置に位置されたトレイステージが、対応するステージ移動装置により移動されて選択的に共有の部品供給位置に位置されるように、それぞれのステージ移動装置の制御を行うとともに、部品撮像装置により取得された部品画像情報の認識処理を行う認識手段を有し、認識手段により認識処理の結果、認識不良と判断された部品に対して、対応する種別の段積みトレイ供給装置における供給用トレイ配置位置に位置された第3のトレイステージを、共有の部品供給位置に位置させるとともに、実装ヘッド装置を共有の部品供給位置の上方へと移動させて、第3のトレイステージ上のトレイに認識不良の部品を回収させるように、実装ヘッド、移動装置および回転移動装置の動作制御を行う制御装置とを備える、部品実装装置を提供する。
本発明の第5態様によれば、基板に実装される部品を収納したトレイを複数枚段積み状態にして収納する供給側トレイ収納部から、トレイを受け渡してトレイステージに載置し、トレイステージより部品供給可能な状態とさせ、その後、部品供給が行われたトレイが載置されているトレイステージを移動させて、回収側トレイ収納部へトレイを受け入れて段積み状態にて回収する段積みトレイの供給方法において、
供給側トレイ収納部から供給されたトレイが載置された第1のトレイステージを、部品供給が行われるトレイが位置される供給用トレイ配置位置に位置させるとともに、供給側トレイ収納部から供給された別のトレイが載置された第2のトレイステージを待機トレイ配置位置に位置させ、それととともに、供給用トレイ配置位置および待機トレイ配置位置とともに同心円上に位置される別の待機トレイ配置位置に、部品回収用トレイが載置された第3のトレイステージを位置させて、
供給用トレイ配置位置に位置されている第1のトレイステージに載置されたトレイより部品供給を行い、
その後、同心円上において、それぞれのトレイステージを回転移動させることにより、第2のトレイステージを供給用トレイ配置位置に位置させて、第2のトレイステージに載置された別のトレイより部品供給を続けて行い、
第1または第2のトレイステージのトレイから供給された部品であって、基板に実装されない部品が存在する場合に、同心円上において、それぞれのトレイステージを回転移動させることにより、第3のトレイステージを供給用トレイ配置位置に位置させて、第3のトレイステージに載置された部品回収用トレイに部品を配置させて回収する、段積みトレイの供給方法を提供する。
本発明の第6態様によれば、それぞれのトレイステージを回転移動させて、第1または第2のトレイステージを待機トレイ配置位置に位置させ、
待機トレイ配置位置に位置された第1または第2のトレイステージと、供給側トレイ収納部および回収側トレイ収納部との間で、トレイの受け渡しが行われる、第5態様に記載の段積みトレイの供給方法を提供する。
本発明の第7態様によれば、第5態様または第6態様に記載の段積みトレイの供給方法により、供給用トレイ配置位置に位置された第1または第2のトレイステージ上のトレイに収納した部品を、実装ヘッド装置により保持して取り出して、部品の供給を行い、
供給された部品を、実装ヘッド装置により基板上に実装し、
実装ヘッド装置へ部品の供給を行う際、あるいは、部品の供給を行った後かつ部品の実装を行う前に、部品撮像装置により部品の画像を撮像して、部品画像情報を取得し、その後、取得された部品画像情報の認識処理を行い、
認識処理の結果、認識不良と判断された部品を基板に実装されない部品として、部品を保持した実装ヘッド装置を供給用トレイ配置位置の上方へと移動させるとともに、供給用トレイ配置位置に第3のトレイステージを位置させて、実装ヘッド装置から第3のトレイステージ上のトレイに認識不良の部品を回収させる、部品実装方法を提供する。
本発明の第8態様によれば、第5態様または第6態様に記載の段積みトレイの供給方法を2つの供給系統にて行って、それぞれの供給系統より互いに異なる種別の部品を、実装ヘッド装置によりトレイ内から保持して取り出して、部品の供給を行い、
供給された部品を、実装ヘッド装置により基板上に実装し、
一方の供給系統において、供給用トレイ配置位置に位置されたトレイステージを、他方の供給系統におけるそれぞれのトレイステージとの干渉が防止された位置であり、かつそれぞれの供給系統にて共通して使用される位置である共有の部品供給位置へ移動させて、実装ヘッド装置への部品供給を実施しながら、他方の供給系統にて、待機トレイ配置位置に位置されたトレイステージと、供給側トレイ収納部および回収側トレイ収納部との間で、トレイの受け渡しが行われ、
実装ヘッド装置へ部品の供給を行う際、あるいは、部品の供給を行った後かつ部品の実装を行う前に、部品撮像装置により部品の画像を撮像して、部品画像情報を取得し、その後、取得された部品画像情報の認識処理を行い、
認識処理の結果、認識不良と判断された部品を基板に実装されない部品として、部品を保持した実装ヘッド装置を供給用トレイ配置位置の上方へと移動させるとともに、認識不良の部品に対応する種別の供給系統における第3のトレイステージを供給用トレイ配置位置に位置させ、かつ共有の部品供給位置に位置させて、実装ヘッド装置から第3のトレイステージ上のトレイに認識不良の部品を回収させる、部品実装方法を提供する。
本発明の第9態様によれば、第3のトレイステージ上のトレイに複数の認識不良部品が回収された後、第3のトレイステージを供給用トレイ配置位置に位置させて、第3のトレイステージ上のトレイから実装ヘッド装置へ複数の認識不良部品の供給を連続的に行う、第7態様または第8態様に記載された部品実装方法を提供する。
なお、上記それぞれの態様において、上記基板として例えば液晶パネル基板のソース側及びゲート側のそれぞれの端子部に対して、トレイの形態にて収納された状態で供給されるICチップや各種コネクタ等の部品を実装(あるいは仮付け)する装置又は方法に適用することができる。
また、液晶パネル基板の例えばソース側端子部に実装される部品を上記第1の段積みトレイ供給装置によって供給し、ゲート側端子部に実装される部品を上記第2の段積みトレイ供給装置によって供給するような構成を採用することができる。
また、上記トレイとは異なる部品供給形態により供給される異なる種別の部品として、TCP供給装置により供給されるTCP部品を適用することもできる。すなわち、トレイにより部品の供給を行う部品供給装置と、TCPの供給を行う部品供給装置とを、共に部品実装装置に備えさせることもできる。
本発明によれば、同心円上に配置され、回転移動により互いの配置を入替可能とされた第1および第2のトレイステージが備えられていることにより、一方のトレイステージに載置されたトレイが部品切れ(空状態)となった場合であっても、第1及び第2のトレイステージを回転移動させることで、一方のトレイステージのトレイを他方のトレイステージに載置されたトレイと容易かつ迅速に入れ替えることができ、部品供給の中断時間を極めて短時間にすることができる。すなわち、トレイが空状態となることに起因する部品供給のタクトロスを低減させることができる。
さらに、第1および第2のトレイステージと同心円上に第3のトレイステージが備えられ、トレイステージの回転移動を行うことにより、待機トレイ配置位置に位置されている第3のトレイステージを供給用トレイ配置位置に位置させて、第1または第2ステージのトレイから供給された部品でありかつ基板に実装されない部品を、第3のトレイステージのトレイに回収させることができる。
したがって、第1および第2のトレイステージを用いて、効率的かつ実質的に継続的な部品供給を比較的簡単な構成にて実現するとともに、第1または第2のトレイステージのトレイから供給された部品の中に、例えば不良部品のように基板に実装されない部品が存在するような場合でもあっても、この部品を第3のトレイステージのトレイに配置させて回収することができ、部品実装における部品の利用効率を向上させることができる。
本発明の記述を続けるにあたって、添付図面において同じ部品については同じ参照符号を付している。
以下に、本発明にかかる実施の形態を図面に基づいて詳細に説明する。
(第1実施形態)
本発明の第1の実施形態にかかる段積みトレイの供給装置の一例である2台の段積みトレイ供給装置を備える部品実装装置100の概略構成を示す模式構成図を図1に示す。図1に示す部品実装装置100は、例えば基板として液晶パネル基板のソース側及びゲート側のそれぞれの端子部に対して、トレイの形態にて収納された状態で供給されるICチップあるいは各種コネクタ等の部品を実装(仮付け)する装置である。
図1に示すように、部品実装装置100は、液晶パネル基板1が解除可能に保持されて、保持されたパネル基板1の図示X軸方向及びY軸方向の移動、並びにXY平面内における回転移動(θ回転移動)を行う機能を有するパネル載置ステージ2(基板保持装置の一例である)と、このパネル載置ステージ2において保持された状態のパネル基板1のそれぞれの端子部に対して部品の実装(部品の仮付け)を行うロータリー方式のヘッド装置である仮付けヘッド部3とを備えている。仮付けヘッド部3は、同心円上に配置された例えば4本の吸着ノズル51と、それぞれの吸着ノズル51を同心円上において回転移動させる回転駆動装置52とを備えている。
また、部品実装装置100には、装置外部よりパネル移載ステージ2上へパネル基板1を搬送して供給するパネル基板搬入装置5と、部品の仮付けが行われたパネル基板1をパネル移載ステージ2上から取り出して、装置外部へと搬送して排出するパネル基板搬出装置6とが備えられている。さらに、部品実装装置100には、段積みトレイ供給装置より供給され後述する部品供給位置に位置された状態のトレイ7に収納されている部品を吸着保持して取り出し、上下方向に反転させた後、吸着保持している部品を仮付けヘッド部3へ受け渡す反転ヘッド部8と、この反転ヘッド部8を支持するとともに、そのX軸方向及びY軸方向への移動を行う反転ヘッド移動装置9とが備えられている。なお、図1において、X軸方向とY軸方向とは、水平面内において互いに直交する方向であって、Z軸方向はこれらの方向に直交する方向である。また、本第1実施形態では、それぞれの吸着ノズル51および回転駆動装置52を備える仮付けヘッド部3、反転ヘッド部8、および反転ヘッド移動装置9により、実装ヘッド装置の一例が構成されている。
また、図1に示すように、部品実装装置100には互いの異なる種別の部品が収納されたトレイの供給を行う2台の段積みトレイ供給装置101及び102が備えられており、図示X軸方向手前側に第1の段積みトレイ供給装置101、奥側に第2の段積みトレイ供給装置102が備えられている。それぞれのトレイ供給装置101、102は同じ構成を有しているため、以下の説明においては、第1の段積みトレイ供給装置101の構成を主として説明する。
図1に示すように、第1の段積みトレイ供給装置101は、複数の部品が収納されたトレイを複数枚段積み状態にて収納する段積みカセット11(収容体の一例)が装備された供給側ストッカ部12(供給側トレイ収納部の一例)と、部品の供給が行われた空の状態のトレイが複数枚段積み状態にて回収される段積みカセット13(収容体の一例)が装備された回収側ストッカ部14(回収側トレイ収納部の一例)と、供給側ストッカ部12から供給されるトレイを受け取って後述する部品供給位置等の所定の位置にまで移動させるとともに、部品供給位置にて部品供給が行われて空状態となったトレイを移動させて、回収側ストッカ部14に回収させるトレイ移載装置15とを備えている。
ここで、部品実装装置100の模式平面図を図2に示し、模式側面図を図3に示す。図1、図2、及び図3に示すように、供給側ストッカ部12には、複数枚のトレイ7が重ね合わせるようにして段積みカセット11内に収納されており、段積みカセット11の下方側に設けられた開口部からトレイ移載装置15によって、1枚ずつトレイ7が取り出されるように構成されている。同様に、回収側ストッカ部14には、部品供給済みの空のトレイ7が重ね合わせるようにして段積みカセット13内に収納されており、段積みカセット13の下方側に設けられた開口部を通してトレイ移載装置15から、1枚ずつ空のトレイ7が回収されるように構成されている。また、それぞれのストッカ部12、14においては、段積みカセット11、13が脱着可能とされており、段積みカセット11、13を脱着することで、新たなトレイ7の補充や空のトレイ7の回収(取り出し)を行うことが可能となっている。
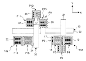
また、トレイ移載装置15は、トレイ7が載置されて保持される3つのトレイステージ16、17、および18(第1、第2、および第3のトレイステージ)と、各々のトレイステージ16、17、および18を個別に昇降させるステージ昇降装置16a、17a、および18aと、それぞれのトレイステージ16、17、および18とステージ昇降装置16a、17a、および18aとを一体的に回転移動させて互いの配置を入れ替える回転移動装置20と、それぞれのトレイステージ16〜18とステージ昇降装置16a〜18aと回転移動装置20とを一体的に図示Y軸方向に移動させるY軸方向ステージ移動装置21と図示X軸方向に移動させるX軸方向ステージ移動装置22とを備えている。なお、図2に示されるように、それぞれのトレイステージ16〜18は、同心円上に例えば90度間隔で配置されており、同心円上において、第1のトレイステージ16と第2のトレイステージ17とが互いに対向する位置に配置されており、第1および第2のトレイステージ16および17の間に第3のトレイステージ18が配置されている。
トレイ移載装置15に備えられる3つのトレイステージ16〜18は、部品供給が行われるトレイ7が位置される供給用トレイ配置位置P3と、この供給用トレイ配置位置P3とともに同心円上に位置された2つの待機トレイ配置位置P1およびP2のいずれかの位置に位置されており、回転移動装置20は、それぞれのトレイステージ16〜18を同心円上にて回転移動させて、供給用トレイ配置位置P3に位置されているトレイステージと2つの待機トレイ配置位置P1またはP2に位置されているトレイステージを入れ替える動作を行う。
X軸方向ステージ移動装置22及びY軸方向ステージ移動装置21は、供給用トレイ配置位置P3に位置されたいずれかのトレイステージ16〜18を、反転ヘッド部8の移動範囲の下方に位置される部品供給位置P0に位置させるように、それぞれのトレイステージ16〜18を一体的にX軸方向及びY軸方向に移動させることが可能となっている。また、X軸方向ステージ移動装置22及びY軸方向ステージ移動装置21は、待機トレイ配置位置P1またはP2に位置されたいずれかのトレイステージ16〜18を、供給側ストッカ部12の下方の位置であるトレイ供給位置P4と、回収側ストッカ部14の下方の位置であるトレイ回収位置P5とのそれぞれの位置に選択的に位置させるように、それぞれのトレイステージ16〜18を一体的にX軸方向及びY軸法に移動させることが可能となっている。なお、図2に示すように、第1の段積トレイ供給装置101において、供給用トレイ配置位置P3は、同心円上においてX軸方向図示上向きの位置であり、2つの待機トレイ配置位置P1およびP2は、供給用トレイ配置位置P3に位置されたトレイステージ以外のトレイステージが位置される位置となっており、供給用トレイ配置位置P3に位置されるトレイステージによって、2つの待機トレイ配置位置P1およびP2は定まる。また、トレイ供給位置P4とトレイ回収位置P5は、X軸方向沿いに隣接して配置されており、トレイ回収位置P5が、X軸方向において装置中央側に配置されている。なお、このようなX軸方向ステージ移動装置22及びY軸方向ステージ移動装置21は、例えばボールネジ機構及び/又はリニアモータ機構等を用いて構成される。
それぞれのステージ昇降装置16a〜18aは、X軸方向ステージ移動装置22及びY軸方向ステージ移動装置21によるトレイステージ16〜18の移動が行われる際に、トレイステージ16〜18がそれぞれのストッカ部12、14と接触することが防止された高さ位置であるステージ移動高さ位置と、それぞれのストッカ部12、14との間で、トレイ7の受け渡し(供給又は回収)が行われる高さ位置であるトレイ受け渡し高さ位置との間で、トレイステージ16〜18を昇降させる。なお、3つのトレイステージ16〜18のうちの第1のトレイステージ16および第2のトレイステージ18およびそれぞれの段積みカセット11、13には、トレイ受け渡し高さ位置に第1および第2のトレイステージ16、17が上昇されることで、収容されている1枚のトレイ7をステージ16、17に受け渡す、あるいは、トレイステージ16、17に保持されている1枚のトレイ7を段積みカセット13に受け渡す図示しない受け渡し手段(機構)が設けられている。
また、第2の段積みトレイ供給装置102は、上述のような構成を有する第1の段積みトレイ供給装置101と同様な構成を有しており、図1及び図2に示すように、Y軸を基準とした線対称の配置構成を有している。具体的には、供給側ストッカ部32、回収側ストッカ部34、及びトレイ移載装置35が備えられている。トレイ移載装置35は、同心円上に配置された3つのトレイステージ36、37、および38(第1、第2、および第3のトレイステージ)を回転移動させる回転移動装置40と、XY移動を行うX軸方向ステージ移動装置42及びY軸方向ステージ移動装置41を備えている。また、図2に示すように、第1の段積みトレイ供給装置101と同様に、2つの待機トレイ配置位置P11およびP12、供給用トレイ配置位置P11、トレイ供給位置P14、及びトレイ回収位置P18が配置されている。なお、部品供給位置P0は、第1の段積みトレイ供給装置101と第2の段積みトレイ供給装置102とで共通して使用される位置、すなわち共有の部品供給位置となっている。すなわち、それぞれの段積みトレイ供給装置101、102における供給用トレイ配置位置P3、P13のいずれか一方に位置された1つのトレイステージ16〜18、36〜38を、選択的に部品供給位置P0に位置させることが可能となっている。なお、第1の段積みトレイ供給装置101においては、例えば、液晶パネル基板1のソース側端子部に実装される部品を供給するためのトレイ7が収容されており、第2段積みトレイ供給装置102においては、ゲート側端子部に実装される部品を供給するためのトレイ7が収容されている。
なお、第1の段積みトレイ供給装置101および第2の段積みトレイ供給装置102において、第3のトレイステージ18および38は、基板上に実装されない部品の回収のためのトレイ7が載置されるトレイステージであり、後述する認識不良部品の再利用のための供給を行うような場合を除いて、原則的に、第1および第2のトレイステージ16、17、36、および37上に載置されたトレイ7から部品供給が行われる。したがって、第3のトレイステージ18および38は、部品回収用トレイステージとして機能する。なお、第3のトレイステージ18および38上に載置されたトレイ7への部品の回収動作については後述する。
また、部品実装装置100には、仮付けヘッド部3の吸着ノズル51により保持された部品の下面(基板への実装側表面)に形成された基準マークの画像を撮像して、撮像された画像に基づいて部品の位置(基準位置)を認識する部品認識カメラ60(部品撮像装置の一例)が備えられている(図3参照)。また、仮付けヘッド部3には、液晶パネル基板1における部品の実装位置を認識するための基板認識カメラ(図示せず)が備えられている。この部品認識カメラ60および基板認識カメラのそれぞれの認識結果に基づいて基板への部品の実装が行われる。
また、部品実装装置100においては、第1の段積みトレイ供給装置101及び第2の段積みトレイ供給装置102によるトレイ7の供給動作及び回収動作を、互いの動作を関連付けながら制御するとともに、供給されたトレイ7より取り出された部品を基板1上に仮付けする動作の制御を行う制御装置10が備えられている。また、部品認識カメラ60および基板認識カメラにより撮像された画像の認識処理は、制御装置10にて行われる。すなわち、制御装置10は、このような認識処理を行う認識手段を備えている。
次に、このような構成を有する部品実装装置100において、それぞれの段積みトレイ供給装置101、102から供給されるトレイ内に収納された部品が、液晶パネル基板1上に実装(仮付け)される動作について説明する。この説明にあたって、図4に部品実装動作の手順のフローチャートを示す。
まず、部品実装装置100において、パネル基板搬入装置5により液晶パネル基板1が搬入され、パネル基板1のソース側端子部に対して部品実装動作が行われるように位置決めされてパネル載置ステージ2に載置される(図4のフローチャートにおけるステップS1及びS2)。それとともに、第1の段積みトレイ供給装置101において、供給用トレイ配置位置P3に位置されたトレイステージ16(あるいは17)を部品供給位置P0に移動させて、部品供給位置P0にトレイ7を配置する(ステップS3)。
次に、部品供給位置P0に配置されたトレイ7から反転ヘッド部8により、1個の部品が吸着取り出しされ、上下方向に反転された後、仮付けヘッド部3の部品受け取り位置(図2の図示左方位置)に位置されている吸着ノズル51に部品が受け渡される(ステップS4)。その後、仮付けヘッド部3において、回転駆動装置52により吸着ノズル51の回転移動が行われ、部品を保持した吸着ノズル51が、部品受け取り位置から基板1の上方の位置である部品実装位置(図2の図示右方位置)に位置される。そして、仮付けヘッド部3の吸着ノズル51に吸着保持された部品と、パネル載置ステージ2に載置された液晶パネル基板1のソース側端子部における部品の実装位置との位置合わせが行われて、吸着ノズル51により部品が実装(仮付け)される(ステップS5)。ソース側端子部への全ての部品の実装が終了するまで、反転ヘッド部8と仮付けヘッド部3との間の部品の受け渡し動作および仮付けヘッド部3におけるそれぞれの吸着ノズル51の回転移動とが順次繰り返される(ステップS6)。
仮付けヘッド部3の吸着ノズル51に保持された部品は、回転移動されることにより部品認識カメラ60の上方を通過する際に、部品認識カメラ60により部品が有する基準マークの画像が撮像されて、制御装置10にてこの画像の認識処理(部品認識処理)が行われる。さらに、仮付けヘッド部3に備えられている基板認識カメラにより基板1の部品の実装位置の画像が撮像されて、制御装置10にてこの画像の認識処理(基板認識処理)が行われる。部品および基板についてそれぞれの画像の認識処理結果に基づいて、部品の実装が行われる。
ソース側端子部への部品の実装が完了すると、パネル載置ステージ2により液晶パネル基板1がXY平面内において90度回転されて、ゲート側端子部に対して部品実装動作が行われるように位置決めされる(ステップS7)。それとともに、部品供給位置P0に配置されるトレイ7が、第2の段積みトレイ供給装置102から供給されるトレイ7に切り替えられて配置される(ステップS8)。その後、部品供給位置P0に位置されているトレイ7から供給された部品が、反転ヘッド部8を介して仮付けヘッド部3の吸着ノズル51に吸着保持され、液晶パネル基板1におけるゲート側端子部へ実装される(ステップS9、S10、S11)。
その後、ゲート側端子部への部品実装が完了したことが確認、すなわち液晶パネル基板1に対する部品の実装(仮付け)が完了したことが確認される(ステップS11)と、パネル載置ステージ2からパネル基板搬出装置6へと液晶パネル基板1が受け渡され、部品実装装置100から搬出される(ステップS12)。なお、この搬出の後、次の液晶パネル基板1に対する生産、すなわち実装が行われるかどうかが判断されて(ステップS13)、実装が行われる場合には、次のパネル基板1が搬入される(ステップS1)。
次に、第1の段積みトレイ供給装置101及び第2の段積みトレイ供給装置102各々が、少なくとも2台のトレイステージ16、17、36、37をそれぞれ備えていることを積極的に利用して、一方のトレイステージにおいて部品切れが生じた場合に他方のトレイステージに切り替えることで、部品供給を実質的に継続させて行う動作について説明する。この説明にあたって、動作手順のフローチャートを図5に示すとともに、その動作手順の模式説明図を図6Aから図6Eに示す。なお、図6Aから図6Eの模式説明図は、第1及び第2の段積みトレイ供給装置101及び102におけるそれぞれのトレイステージの位置関係を示すことを主目的とした図面であり、それぞれのトレイステージ16〜18、および36〜38と、ストッカ部12、14、32、及び34と、トレイ移載装置15、35のみを示している。
まず、部品実装装置100に搬入された液晶パネル基板1に対して部品実装が行われる場合には、図6Aに示すように、第1の段積みトレイ供給装置101において、トレイ7が載置された状態のそれぞれのトレイステージ16〜18を、X軸方向及びY軸方向ステージ移動装置22、21により移動させて、供給用トレイ配置位置P3に位置されているトレイステージ16(あるいは「17」以降同様)を部品供給位置P0に位置させる(図5のフローチャートにおけるステップS21)。その後、この部品供給位置P0に位置されたトレイステージ16に載置されているトレイ7から反転ヘッド部8による部品取り出しが行われて、パネル基板1のソース側端子部への部品実装が開始される(ステップS22)。
このような部品実装の継続的な実施中において、部品供給位置P0に配置されているトレイ7内の部品が無くなり、空状態、すなわち部品切れ状態となった場合(ステップS23)には、図6Bに示すように、回転移動装置20によりそれぞれのトレイステージ16〜18の回転移動が行われて、供給用トレイ配置位置P3に位置されているトレイステージ16と、待機トレイ配置位置P1に位置されているトレイステージ17(あるいは「16」以降同様)とが入れ替えられる(ステップS24)。すなわち、空状態となったトレイ7と部品が収納された状態のトレイ7とが回転移動により入れ替えられて、部品供給位置P0に部品が収納されたトレイ7が配置されて、部品供給が可能な状態とされる。その後、ソース側端子部への部品実装が再開される(ステップS25)。なお、第1の段積みトレイ供給装置101において、このようなトレイステージ16〜18の回転移動が行われても、第2の段積みトレイ供給装置102におけるそれぞれのトレイステージ36〜38とは干渉することがないように、部品供給位置P0やそれぞれの配置位置P1〜P5、およびP11〜P15が設定されている。なお、第1の段積みトレイ供給装置101においては、トレイステージ18は待機トレイ配置位置P2に位置された状態とされている。
その後、ソース側端子部への部品実装が終了したことが確認されると(ステップS26)、図6Cに示すように、第1の段積みトレイ供給装置101において、X軸方向及びY軸方向ステージ移動装置22、21により、それぞれのトレイステージ16〜18の移動が行われて、部品供給位置P0よりトレイステージ17が退避移動される(ステップS27)。その後、図6Dに示すように、第2の段積みトレイ供給装置102において、トレイ7が載置された状態のそれぞれのトレイステージ36〜38を、X軸方向及びY軸方向ステージ移動装置42、41により移動させて、供給用トレイ配置位置P13に位置されているトレイステージ36(あるいは「37」以降同様)を部品供給位置P0に位置させる(ステップS28)。その後、この部品供給位置P0に位置されたトレイステージ36に載置されているトレイ7から反転ヘッド部8による部品取り出しが行われて、パネル基板1のゲート側端子部への部品実装が開始される(ステップS29)。
第2の段積みトレイ供給装置102による部品供給が行われて、ゲート側端子部への部品実装が継続して行われている間に、第1の段積みトレイ供給装置101においては、空トレイ7の回収動作及び新たなトレイ7の供給動作が行われる(ステップS36)。具体的には、図6Dに示すように、第1の段積みトレイ供給装置101において、X軸方向及びY軸方向ステージ移動装置22、21によりそれぞれのトレイステージ16〜18のXY移動が行われて、空トレイ7が載置されている待機トレイ配置位置P1に位置されているトレイステージ16が、回収側ストッカ部14の下方位置であるトレイ回収位置P5に位置される。この状態において、ステージ昇降装置16aにより空トレイ7が所定の高さ位置にまで上昇されて、空トレイ7が段積みカセット13内へ受け渡される。なお、このとき、図6Dに示すように、供給用トレイ配置位置P3に位置されているトレイステージ17は、第1の段積みトレイ供給装置101と第2の段積みトレイ供給装置102との間に位置されることとなるが、この部分に第2の段積みトレイ供給装置102との干渉が防止された空間が確保されているため、部材干渉が生じることなく、トレイ7の回収動作を行うことができる。その後、空トレイ7を受け渡したトレイステージ16が、供給側ストッカ部12の下方位置であるトレイ供給位置P4に移動されて、段積みカセット11から新たなトレイ7が供給されて載置される。なお、供給用トレイ配置位置P3に位置されているトレイステージ16に載置されているトレイ7の回収を行う場合には、回転移動装置20により回転移動させて、トレイステージ17を待機トレイ配置位置P1に位置させた後、上述と同様の手順にてトイレ7の回収動作及び新たなトレイ7の供給動作を行うことができる。また、供給用トレイ配置位置P3にトレイステージ17を位置させた状態のまま、トレイステージ17に載置されているトレイ7の回収が行われるような場合であってもよい。このようにトレイ7の回収動作や供給動作を行うトレイステージを待機トレイ配置位置P1に回転移動させた状態にてそれぞれの動作を行うような構成が採用されていることにより、X軸方向ステージ移動装置22及びY軸方向ステージ移動装置21によりそれぞれのトレイステージ16〜18が移動されるような場合であっても、トレイステージ16〜18が装置端部より大幅に飛び出して移動することが防止されている。
一方、第2の段積みトレイ供給装置102において、部品供給位置P0に配置されたトレイ7が部品切れとなった場合には、第1の段積みトレイ供給装置101における手順と同様に、回転移動装置40によりそれぞれのトレイステージ36〜38を同心円上にて回転移動させて、待機トレイ配置位置P11に位置されていたトレイステージ37が、供給用トレイ配置位置P13、すなわち部品供給位置P0に位置されることで、トレイ7の入替動作が行われる(ステップS31)。その後、入替られたトレイ7よりの部品供給が開始されて、ゲート側端子部への部品実装が再開される(ステップS32)。
その後、ゲート側端子部への部品実装が終了すると(ステップS33)、部品供給位置P0に位置されているトレイステージ37が、部品供給位置P0より退避移動される(ステップS34)。この退避移動の後、第2の段積みトレイ供給装置102において、空トレイ7の回収、及び新たなトレイ7の供給動作が、上述した第1の段積みトレイ供給装置101の場合と同様な手順にて行われる(ステップS37)。また、部品実装装置100においては、生産を終了するかどうか、すなわち次の液晶パネル基板1に対する部品実装を行うかどうかが判断されて(ステップS35)、部品実装を行うと判断された場合には、ステップS21以降の動作手順が順次実施され、一方、生産終了と判断された場合には、部品実装が終了される。
なお、第1の段積みトレイ供給装置101のトレイステージ16または17が部品供給位置P0に位置されている状態において、トレイステージ16と17とを入れ替えるための回転移動の軌跡と、第2の段積みトレイ供給装置102のトレイステージ36と37とを入れ替えるための回転移動の軌跡とが互いに干渉することが無いように、制御装置10によりそれぞれのトレイステージの移動位置が制御されている。同様に、第2の段積みトレイ供給装置102のトレイステージ36または37が部品供給位置P0に位置されている状態において、トレイステージ36と37とを入れ替えるための回転移動の軌跡と、第1の段積みトレイ供給装置101のトレイステージ16と17とを入れ替えるための回転移動の軌跡とが互いに干渉することが無いように、制御装置10によりそれぞれのトレイステージの移動位置が制御されている。従って、このような一方の段積みトレイ供給装置におけるトレイ7の回収動作及び新たなトレイ7の供給動作は、他方の段積みトレイ供給装置における部品供給動作とは無関係に行うことができる。
なお、部品実装装置100において、次の液晶パネル基板1に対する部品実装が行われるような場合にあっては、ステップS37の第2の段積みトレイ供給装置102におけるトレイの回収・供給動作を、ステップS21〜S27と並行して実施することができる。
また、部品供給位置P0に配置されたトレイ7が空状態であることの検出(ステップS23、S30)は、例えば、制御装置10において、反転ヘッド部8によりトレイ7内より取り出される部品の数をカウントして、予めトレイ7内に収容されている部品の数と比較することにより判断することができる。また、部品を吸着取り出しする際の吸着エラーが生じた後、次の部品を吸着取り出しする動作でも吸着エラーが連続して所定回数続いた場合などにも、トレイ7が空状態であると判断することができる。なお、本第1実施形態においては、制御装置10が空トレイ検出部の一例となっている。
上述の説明では、共通して使用される共有の部品供給位置P0に配置されたトレイ7より部品供給が行われるような場合について説明したが、このような場合に代えて、共通して使用される位置を用いることなく、それぞれの段積みトレイ供給装置101、102において、供給用トレイ配置位置P3、P13のそれぞれに配置されたトレイ7から部品供給が行われるようにすることもできる。ただし、2つの段積みトレイ供給装置101及び102にて、共通して使用される1つの共有の部品供給位置P0を用いることにより、反転ヘッド部8の移動範囲を小さくすることができ、部品実装装置の小型化を図ることができる。
また、トレイ7やトレイ7内に収納されている部品の配置に向きがあるような場合には、例えば、図6Bに示すように、それぞれのトレイステージが回転移動されて供給用トレイ配置位置P3やP13に位置された状態で、常にトレイ7の姿勢や向きが同じとなるように、それぞれのトレイ7がトレイステージに載置されることが好ましい。このような観点から、図6Bにおいては、トレイステージ16および17に載置される同種のトレイ7を、回転中心を基準として点対称の姿勢となるように配置させている。
また、それぞれのストッカ部12、14等に収納されるトレイ7の姿勢や向きは、どの配置位置P1、P3等に位置されたトレイステージ16、17によりトレイ7の回収や供給動作が行われるかを考慮して決定する必要がある。例えば、上記説明のように、待機トレイ配置位置P1に位置させたトレイステージ16、17と、それぞれのストッカ部12、14との間にて、トレイ7の受け渡しが行われる場合にあっては、待機トレイ配置位置P1に位置されたトレイステージへの載置姿勢に合致するように、それぞれのストッカ部12、14内に収納されるトレイ7の収納姿勢が決定されている。なお、それぞれのストッカ部12、14との間にてトレイ7の受け渡しが行われるトレイステージ16、17の配置位置は、その他様々な形態を採用することができ、例えば、装置スペースのコンパクト化や、交換時間の短縮化など重視する観点に基づいて最適な形態を選択することができる。
また、図7の模式説明図に示すように、それぞれのトレイステージ16、17(トレイステージ18については図示省略)に個別にステージ昇降装置16a、17aが備えられており、それぞれのトレイステージ16〜18がそれぞれのステージ昇降装置16a〜18aとともに、回転移動装置20により一体的に回転移動されるような構成が採用されるような場合について説明したが、このような構成以外の構成を採用することもできる。例えば、図8に示すように、ステージ昇降装置71を1台のみ備えさせて、回転移動装置70によりトレイステージ76、77等を回転移動させて、ステージ昇降装置71の上方に選択的に位置させるような構成を採用することもできる。このような構成においては、昇降装置の装備台数を少なくすることができ、揺動による断線やエアー配管などの破損の対策を不要とできるという利点を得ることができる。
また、部品供給位置P0に配置されたトレイ7からの反転ヘッド部8による部品の取り出しは、反転ヘッド移動装置9により反転ヘッド部8がX軸方向およびY軸方向に移動されることにより行われる場合について説明したが、このような場合についてのみ限定されるものではない。このような場合に代えて、例えば、反転ヘッド移動装置9をX軸方向またはY軸方向のいずれか一方の方向にのみ反転ヘッド部8を移動させる構成とし、反転ヘッド部8に対する相対的なトレイ7の他方の方向への移動を、X軸方向ステージ移動装置22またはY軸方向ステージ移動装置21によるトレイステージの移動として行うこともできる。ただし、例えば、部品認識カメラ60によるトレイ7上の部品の位置が認識(あるいは撮像)された後の部品の位置ずれ発生の可能性の観点からは、トレイ7を固定した状態にて、部品の位置補正、取り出しのための反転ヘッド部8のXY移動を行うような構成を採用することが好ましい。
このようなトレイの供給を行う本第1実施形態の部品実装装置100によれば、同心円上に配置され、回転移動により互いの配置を入替可能とされた2つのトレイステージを備える段積みトレイ供給装置が備えられている。そのため、一方のトレイステージに載置されたトレイが部品切れとなった場合であっても、回転移動させることで他方のトレイステージに載置されたトレイと容易かつ迅速に入れ替えることができる。よって、部品供給の中断時間を極めて短時間にすることができる。すなわち、トレイが空状態となることに起因する部品供給のタクトロスを低減させることができ、効率的かつ実質的に継続的な部品供給を比較的簡単な構成にて実現することができる。
また、部品実装装置100においては、このような構成を有する2台の段積みトレイ供給装置101、102を備えさせ、さらに、一方の段積みトレイ供給装置にて、部品供給位置に位置されたトレイステージを入れ替えるための回転移動と、他方の段積みトレイ供給装置にて、それぞれのトレイステージを入れ替えるための回転移動とが互いに干渉することがないように同時に行うことが可能とされている。これにより、一方のトレイ供給装置にて部品実装のための部品供給を継続して行っている間に、他方のトレイ供給装置にて空トレイの回収動作や新たなトレイの供給動作を行うことができる。従って、部品供給をさらに効率的に行うことができる。
次に、第1の段積みトレイ供給装置101または第2の段積みトレイ供給装置102から供給された部品が、例えば、部品認識処理の結果に基づいて、認識不良部品と判断されて、基板に実装されることなく、再び、第1または第2の段積みトレイ供給装置101、102に回収させる部品回収動作について説明する。この説明にあたって、部品回収動作の手順のフローチャートを図9に示し、部品回収動作の模式説明図を図10Aおよび図10Bに示す。なお、この部品回収動作は、第1の段積みトレイ供給装置101と第2の段積みトレイ供給装置102とで共通する動作であるため、両者より代表して第1の段積みトレイ供給装置101における部品回収動作について説明する。なお、図10Aおよび図10Bの模式説明図においては、第1の段積みトレイ供給装置101におけるそれぞれのトレイステージの位置関係を示すことを主目的とした図面であり、それぞれのトレイステージ16〜18と、ストッカ部12、14と、トレイ移載装置15のみを示している。
まず、部品実装装置100に搬入された液晶パネル基板1に対して部品実装が行われる場合には、図10Aに示すように、第1の段積みトレイ供給装置101において、トレイ7が載置された状態のそれぞれのトレイステージ16〜18を、X軸方向およびY軸方向ステージ移動装置22、21により移動させて、供給用トレイ配置位置P3に位置されている第1のトレイステージ16を部品供給位置P0に位置させる。その後、この部品供給位置P0に位置された第1のトレイステージ16上に載置されているトレイ7から反転ヘッド部8による部品取り出しが行われて、反転動作が行われた後、反転ヘッド部8から仮付けヘッド部3の吸着ノズル51に部品が受け渡される(図9のステップS51)。
反転ヘッド部8では、回転駆動装置52によりそれぞれの吸着ノズル51の回転移動が行われ、部品を保持した吸着ノズル51が基板1の上方に向けて移動される。この移動の過程において、部品を保持した吸着ノズル51が、部品認識カメラ60の上方を通過する際に、部品の下面に形成されている基準マークの画像が撮像され、撮像された画像に基づいて部品認識処理が行われる(ステップS52)。
ここで部品認識処理の具体的な内容について図11Aおよび図11Bならびに図12Aに示す模式説明図を用いて説明する。
図11Aは、ICチップ等の部品55の基板1への実装側の表面を示す模式図である。図11Aに示すように、部品55の実装側表面には、複数のバンプ56と、部品55の基準となる位置を識別するための基準マーク56とが形成されている。このような部品55に対して、図11Bに示すように、その実装側表面より部品認識カメラ60にてそれぞれの基準マーク56の画像を撮像する。撮像された画像(部品画像情報)は制御装置10へと送信され、制御装置10にて撮像された画像の認識処理が行われる。具体的には、図12Aに示すように、略十字形状を有する基準マーク57における境界(エッジ)部分(すなわち、基準マークの部分と基準マーク以外の部分との境界部分)を、複数の認識ウインドウWを用いて認識することにより、例えば、十字形状のエッジの交差部分Vの位置を検出する。この検出された交差部分Vの位置を部品55の基準位置として、例えば制御装置10の記憶部に記憶して、部品認識処理を完了させる。
一方、図12Bの模式説明図に示されるように、基準マーク57において、認識ウインドウWにより認識される境界部分Eが、汚れ、欠け、不明瞭などにより明瞭に認識できないような場合には、十字形状のエッジの交差部分Vの位置を検出することが困難となる。このような場合には、制御装置10により認識処理が正常に行われなかったものと判断され、この部品55は、認識不良部品として記憶される。
このような部品認識処理が行われた後、制御装置10において、吸着ノズル51により保持されている部品の認識処理が正常に行われたかどうかが判断される(ステップS53)。認識処理が正常に行われたと判断された場合には、吸着ノズル51により部品が基板1の端子部に実装される(ステップS54)。
一方、認識処理が正常に行われなかったものと判断された場合には、図10Bに示すように、回転移動装置20によりそれぞれのトレイステージ16〜18の回転移動が行われて、供給用トレイ配置位置P3に位置されている第1のトレイステージ16と、待機トレイ配置位置P2に位置されている第3のトレイステージ18とが入れ替えられる。その結果、部品供給位置P0に第3のトレイステージ18が配置される(ステップS55)。それとともに、認識不良部品を保持している吸着ノズル51が、基板1に対する実装動作を行うことなく、回転駆動装置52により回転移動されて、保持されている認識不良部品が反転ヘッド部8に受け渡される。その後、反転ヘッド部8により部品が反転されて、部品供給位置P0に位置されている第3のトレイステージ18上に載置されているトレイ7に認識不良部品が収納されて回収される(ステップS56)。この第3のトレイステージ18上に載置されているトレイ7は、このような回収動作が行われる前は空状態とされており、このトレイ7を認識不良部品回収用トレイとして、基板1に実装されない部品が収納されて回収される。
その後、基板1への実装のための部品取り出しが継続されるかどうかが判断され、継続される場合には、回転移動装置20によりそれぞれのトレイステージ16〜18の回転移動が行われて、第1のトレイステージ16(あるいは第2のトレイステージ17)が部品供給位置P0に位置される(ステップS58)。そして、再び、第1のトレイステージ16(あるいは第2のトレイステージ17)上に載置されているトレイ7から反転ヘッド部8による部品の取り出しが行われ(ステップS51)、以降順次、ステップS52〜S57の手順が行われる。ステップS57にて、部品取り出しを継続しないと判断された場合には、部品取り出し動作を完了する。
このように部品取り出しによる部品供給を行った後、部品認識処理にて認識不良と判断された部品を、基板に実装することもなく、さらに廃棄ボックス等に廃棄することもなく、それぞれのトレイステージ16〜18の回転移動を行うことで、第3のトレイステージ18上に載置されている認識不良部品回収用トレイ7に認識不良部品を回収することが可能となる。特に、トレイ7からの部品供給が行われる位置と、トレイ7への認識不良部品の回収が行われる位置とが、同じ位置(部品供給位置P0)とされていることにより、部品供給および部品回収のための反転ヘッド部8の移動範囲を狭くすることができ、効率的な回収動作を行うことができる。また、このような認識不良部品の回収動作を行った後も、それぞれのトレイステージ16〜18の回転移動を行うことにより、部品供給を継続することができ、部品の供給と部品の回収とを効率的に両立して実現できる。
次に、図9のフローチャートの手順により認識不良部品回収用トレイ7内に回収された複数の部品(認識不良部品)を再度供給して、基板に実装する動作について説明する。この説明にあたって、その動作手順のフローチャートを図13に示す。なお、以降の説明においては、第1および第2の段積みトレイ供給装置101、102を代表して、第1の段積みトレイ供給装置101の動作について説明する。
まず、第1の段積みトレイ供給装置101において、それぞれのトレイステージ16〜18を、X軸方向およびY軸方向ステージ移動装置22、21により移動させるとともに、回転移動装置20により回転移動させて、複数の認識不良部品が回収されて収納されているトレイ7が載置された第3のトレイステージ18を、供給用トレイ配置位置P3に位置させるとともに、部品供給位置P0に位置させる(図13のステップS61)。
その後、第3のトレイステージ18上のトレイ7から、反転ヘッド部8により認識不良部品を保持して取り出し、部品を反転させた後、仮付けヘッド部3の吸着ノズル51に部品を受け渡す(ステップS62)。回転駆動装置52によるそれぞれの吸着ノズル51が回転移動されることにより、吸着ノズル51に保持された部品が部品認識カメラ60の上方に位置され、基準マークの画像が撮像され、撮像された画像に基づいて、部品認識処理が行われる(ステップS63)。
部品認識処理の結果、部品認識が正常に行われたかどうかが判断され(ステップS64)、正常に行われたと判断された場合には、吸着ノズル51により保持された部品が基板1の端子部に実装される(ステップS66)。一方、部品認識が正常に行われなかったと判断された場合には、オペレータに手動操作(ティーチング)による部品認識処理を実施する(ステップS65)。具体的には、オペレータが、制御装置10にて、撮像された画像を参照しながら操作を行い、図12Cに示すように基準マーク57における十字形状のエッジの交差部分Vの位置を指示することで、交差部分Vの位置決めが行われて、手動による部品認識処理が行われる。その後。この手動による部品認識処理の結果に基づいて、基板1の端子部に部品が実装される(ステップS66)。
その後、第3のトレイステージ18上に載置されているトレイ7内から認識不良部品の取り出しが完了したかどうかが判断され(ステップS67)、取り出しが完了していない場合には、ステップS62〜S66までのそれぞれの動作が行われて、認識不良部品が基板に実装される。一方、トレイ7からの認識不良部品の取り出しが完了したと判断された場合には、その他のトレイ7からの部品の取り出しを継続して行うかどうかが判断され、継続する場合には、第1または第2のトレイステージ16、17を部品供給位置P0に配置させて(ステップS69)、第1または第2のトレイステージ16、17上に載置されたトレイ7から、反転ヘッド部8による部品の取り出しが行われる(ステップS70)。一方、ステップS68にて部品の取り出しを継続しないと判断された場合には、部品取り出しを完了させる。
このように第3のトレイステージ18上に載置されたトレイ7内に回収された認識不良部品を、第3のトレイステージ18を部品供給位置P0に位置させて再度反転ヘッド部8による取り出しを行うことで、認識不良部品の再利用を図ることができる。また、仮付けヘッド部3の吸着ノズル51にこの部品が受け渡された後、部品認識カメラ60により部品の画像を撮像して、部品認識処理を行って、再度認識不良と判断された場合には、オペレータの手動操作により認識処理を完了させるようにしている。特に、認識不良と判断されるものの多くは、基準マーク57のエッジ部分などに汚れなどが付着して、基準マーク57の境界が不鮮明であることから、認識不良と判断されている。このような認識不良に対しては、撮像された画像を目視にて確認しながら、オペレータの手動操作により交差部分Vなどの基準となる位置を教示してやることで、認識処理を完了させることができる。したがって、認識不良部品に対する認識処理を確実に実施することができる。さらに、認識不良部品の供給を連続的に行うことにより、オペレータは制御装置10の傍らに待機して、順次手動認識処理の操作を行うことができる。したがって、オペレータにとっても、効率的に手動認識処理の操作を行うことが可能となる。また、このように認識不良部品の再利用のための部品供給を行った後も、それぞれのトレイステージ16〜18の位置を入れ替えることにより、引き続き部品供給を継続することができるため、効率的な部品供給を実現できる。
上述の説明では、それぞれのトレイステージ16〜18および36〜38が、供給側ストッカ部12、32よりトレイ7の供給を受けて、回収側ストッカ部14、34にトレイ7が回収されるような場合について説明したが、本実施形態はこのような場合についてのみ限定されるものではない。このような場合に代えて、例えば、図14の模式図に示すように、第1および第2の段積みトレイ供給装置101、102に、供給側ストッカ部12、32、および回収側ストッカ部14、34に加えて、認識不良部品が回収されたトレイ7を回収するための認識不良部品用回収側ストッカ部80が備えたれるような場合であってもよい。このように認識不良部品用回収ストッカ部80をさらに備えさせることで、第3のトレイステージ18上に載置されたトレイ7に回収された認識不良部品をストッカ部80に回収させることができ、再利用方法の選択肢を増やすことができる。
また、上述の説明では、部品実装装置100において反転ヘッド部8が1台のみ装備されているような構成を例として説明したが、本実施形態はこのような構成についてのみ限定されるものではない。このような場合に代えて、例えば、2台の反転ヘッド部が装備されるような構成を採用することもできる。
具体的には、本第1実施形態の変形例にかかる部品実装装置200の部分的な構成を図15に示す。図15に示すように、部品実装装置200は、反転ヘッド部208は、2本の部品保持ノズル209と、それぞれの部品保持ノズル209の反転動作を行う反転部207とを備えている。反転部207は、2本の部品保持ノズル209を同時に反転させることができるとともに、いずれか一方の部品保持ノズル209のみを反転させることができる。
このような反転ヘッド部208を用いることで、例えば、2本の部品保持ノズル209のうちの一方を、トレイ7からの部品取り出しのためのノズルとして使用しながら、他方を、認識不良部品をトレイ7に回収するためのノズルとして使用することができる。したがって、部品の供給動作の一部と認識不良部品の回収動作の一部とを同時に行うことができる(オーバーラップさせて行うことができる)ため、認識不良部品の回収動作によるトレイ7からの部品供給動作への影響を少なくすることができ、効率的な部品供給を行うことができる。
また、上述の説明では、仮付けヘッド部3としてロータリー方式の構成が採用されているような場合について説明したが、本実施形態はこのような構成についてのみ限定されるものではない。このような場合に代えて、例えば、1台の仮付けヘッド部をX軸方向およびY軸方向に移動させるような構成を採用することもできる。
また、トレイ7において、部品の実装側表面が上向きに配置された状態で収納され、反転ヘッド部8により部品の実装側表面が吸着保持されて上下方向に反転された後、仮付けヘッド部3の吸着ノズル51により実装側表面とは反対側の表面を吸着保持されて部品の保持が行われた状態にて、吸着ノズル51よりも下方に配置された部品認識カメラ60により部品の実装側表面の画像が撮像されるような場合について説明したが、その他、様々な形態を採用することもできる。例えば、部品の実装側表面を下向きとして部品がトレイ7内に収納されているような場合にあっては、反転ヘッド部8あるいは仮付けヘッド部3により部品を吸着保持した状態にて、部品の実装側表面の画像を撮像することができる。このような場合にあっては、反転ヘッド部8あるいは仮付けヘッド部3の動作範囲内の上方側あるいは下方側に部品認識カメラが設置されることになる。なお、部品の実装側表面を下向きとして部品がトレイ7内に収納されているような場合では、実装ヘッド装置は、反転ヘッド部8を設けずに仮付けヘッド部3を水平面上に移動させ、トレイ7より仮付けヘッド部3により直接部品吸着保持させても良い。
また、反転ヘッド部に部品認識カメラを装備させて、反転ヘッド部によりトレイからの部品取り出しが行われる前に、部品認識カメラにより部品の画像を撮像して、部品認識処理が行われるような場合であってもよい。このような場合にあっては、部品認識処理の結果、認識不良と判断される場合には、トレイから部品の取り出しを行わないという選択肢も採用することができる。あるいは、認識不良と判断される部品を反転ヘッド部によりトレイから取り出した後、仮付けヘッド部へ受け渡すことなく、第3のトレイステージを部品供給位置P0に位置させて、第3のトレイステージ上に載置されたトレイに認識不良部品を回収させるような動作を行うこともできる。
上述の説明では、部品実装装置100において、第1の段積みトレイ供給装置101と第2の段積みトレイ供給装置102との2つの系統の段積みトレイ供給装置が備えられるような場合を例として説明したが、その他様々な形態を採用することができる。例えば、部品実装装置において、段積みトレイ供給装置を1系統のみ備えるようにすることもできる。また、段積みトレイ供給装置と、段積みトレイ供給装置とは異なる部品の供給形態を有する部品供給装置、例えば、部品としてTCP(Tape Carrier Package)部品の供給を行うTCP供給装置とを並列させて備えさせるようにすることもできる。
(第2実施形態)
次に、本発明の第2の実施形態にかかる部品実装装置300の模式平面図を図16に示す。図16に示すように、本第2実施形態の部品実装装置300は、第1実施形態の部品実装装置100に比して、それぞれのトレイステージのX軸方向およびY軸方向への移動動作を制限して装置全体のコンパクト化を図りながら、効率的な部品供給を実現するものである。
具体的には図16に示すように、部品実装装置300は、Y軸方向に沿って1つのステージ昇降装置319を進退移動させるステージ移載装置を有する2台の段積みトレイ供給装置を備える構成を有している。第1の段積みトレイ供給装置301は、Y軸方向に沿って配置された3つの位置の間、すなわち、供給側ストッカ部312の下方位置であるトレイ供給位置P24と、回収側ストッカ部314の下方位置であるトレイ回収位置P25と、トレイ受け渡し位置P21との間で、ステージ昇降装置319を進退移動させるステージ移載装置320を備えている。また、ステージ移載装置320の図示Y軸方向右端には、90度間隔で同心円上に配置された3つのトレイステージ316、317および318を回転移動させる回転移動装置360が備えられている。これらのトレイステージ316〜318が配置される同心円上の1つの位置がトレイ受け渡し位置P21となっており、X軸方向において同心円の中心に対して対向する位置に部品供給位置P20が配置されている。さらに、Y軸方向において同心円の中心に対して互いに対向する位置に、待機トレイ配置位置P22、P23が配置されている。すなわち、同心円上には、90度間隔にて、4つの位置P20〜P23が配置されており、回転移動装置360によりそれぞれのトレイステージ316〜318を回転移動させることで、これら4つの位置P20〜P23のうちのいずれか3つの位置に、トレイステージ316〜318を選択的に配置させることが可能となっている。なお、部品供給位置P20に位置されたトレイステージ上のトレイ7からは、図示しない反転ヘッド部により部品の取り出し(部品供給)を行うことが可能となっている。また、ステージ昇降装置319は、その上面に載置されたトレイ7を昇降させることで、供給側ストッカ部312および回収側ストッカ部314との間でトレイ7の受け渡しを行うことが可能となっているとともに、トレイ受け渡し位置P21に位置された状態のトレイステージ316〜318との間で、トレイ7の受け渡しを行うことが可能となっている。
また、図16に示すように、第2の段積みトレイ供給装置302は、第1の段積みトレイ供給装置301と同じ構成を有しており、トレイ受け渡し位置P21に位置された状態のトレイステージ316〜318と、トレイ供給位置P24およびトレイ回収位置P25との間でトレイ7を受け渡し可能に、ステージ昇降装置319をY軸方向に進退移動させるステージ移載装置321を備えている。
さらに、図16に示すように、第1および第2の段積みトレイ供給装置301、302との間で、部品供給位置P20は互いに共有された位置となっている。例えば、図16に示すように、第1の段積みトレイ供給装置301において、トレイステージ317が部品供給位置P20に位置された状態では、第2の段積みトレイ供給装置302においては、部品供給位置P20を除く3つの位置であるトレイ受け渡し位置P21、待機トレイ配置位置P22、P23に3つのトレイステージ316〜318が位置されることになる。すなわち、部品供給位置P20は共有された位置であるため、第1および第2の段積みトレイ供給装置301、302のいずれか一方のトレイステージが部品供給位置P20に位置された場合には、いずれか他方のトレイステージは部品供給位置P20に位置されないようにされており、それぞれのトレイステージ316〜318が互いに干渉しないようにされている。また、それぞれのトレイステージ316〜318は、トレイ受け渡し位置P21に位置された状態にて、ステージ昇降装置319との間での受け渡しが円滑に行われるように、その切り欠き形状が決定されており、例えば、図示Y軸方向左向きに開口されたU字形状の切り欠き部が形成されている。なお、本第2実施形態では、部品供給位置P20が、供給用トレイ配置位置を兼用しており、さらに、トレイ受け渡し位置P21も待機トレイ配置位置を兼用している。
部品実装装置300にて、このような構成が採用されていることにより、まず、第1の段積みトレイ供給装置301にて、部品供給位置P20に位置されたトレイステージ317上のトレイ7より部品の供給を行い、回転移動装置360によりそれぞれのトレイステージ316〜318の回転移動を行うことにより、例えばトレイ受け渡し位置P21に位置されているトレイステージ316を部品供給位置P20に位置されているトレイステージ317と入れ替えて部品供給を継続することができる。
さらに、第1の段積みトレイ供給装置301にて、それぞれのトレイステージ316〜318を回転移動させて、トレイ受け渡し位置P21および待機トレイ配置位置P22、P23に位置させた状態(すなわち、部品供給位置P20以外の3つの位置に位置させた状態)として、第2の段積みトレイ供給装置302にて、それぞれのトレイステージ316〜318を回転移動装置360により回転移動させることで、第2の段積みトレイ供給装置302のトレイステージ316あるいは317を部品供給位置P20に位置させることができる。これにより、1つの部品供給位置P20に、第1の段積みトレイ供給装置301または第2の段積みトレイ供給装置302のいずれかのトレイステージ316、317を選択的に位置させて部品の供給を行うことができる。したがって、例えば、第1および第2の段積みトレイ供給装置301、302より互いに異なる種別の部品を供給することができるとともに、その部品供給を効率的に行うことができる。
また、トレイ7より供給された部品が認識不良部品であると判断された場合には、回転移動装置360によりそれぞれのトレイステージ316〜318を回転移動させて、トレイステージ318(第3のトレイステージに相当)を部品供給位置P20に位置させることで、認識不良部品をトレイステージ318上に載置されたトレイ7に収納して回収することができる。また、トレイステージ318を部品供給位置P20に選択的に位置させることが可能とされていることにより、回収された認識不良部品の供給を行い、上記第1実施形態にて説明したような手動による部品認識処理を行うことで、部品を基板に実装することができる。
さらに、本第2実施形態の部品実装装置300では、第1および第2の段積みトレイ供給装置301、302において、それぞれのトレイステージ316〜318はX軸方向およびY軸方向に平行移動されることなく、回転移動装置360により回転移動のみが行われるような構成が採用されている。また、トレイ受け渡し位置P21と、トレイ供給音P24およびトレイ回収位置P25との間で、トレイ7の受け渡しのためにステージ昇降装置319がY軸方向沿いに進退移動される構成が採用されている。したがって、上記第1実施形態の部品実装装置100と比して、それぞれのトレイステージ316〜318の移動可能な範囲を制限して、X軸方向における装置幅をコンパクトにすることができ、空間の有効利用の点においても利点がある。
なお、上記説明においては、同種の部品を収納する複数枚のトレイが段積み状態で収納されたストッカ部よりそれぞれのトレイが供給されるような形態について説明したが、このような場合に代えて、異なる種類の部品が収納された複数枚のトレイをマガジン内に混載させて収納して、多品種の部品供給に対応するような部品供給形態にも適用することもできる。
なお、上記様々な実施形態のうちの任意の実施形態を適宜組み合わせることにより、それぞれの有する効果を奏するようにすることができる。
本発明は、添付図面を参照しながら好ましい実施形態に関連して充分に記載されているが、この技術の熟練した人々にとっては種々の変形や修正は明白である。そのような変形や修正は、添付した請求の範囲による本発明の範囲から外れない限りにおいて、その中に含まれると理解されるべきである。
本発明の第1実施形態の部品実装装置の模式構成図 図1の部品実装装置の模式平面図 図1の部品実装装置の模式側面図 第1実施形態の部品実装装置における部品実装動作のフローチャート 第1実施形態の部品実装装置におけるトレイ供給動作のフローチャート 図5のトレイ供給動作の模式説明図であって、ソース側端子部実装用の部品が供給されている状態の図 図6Aに続くトレイ供給動作の模式説明図であって、部品切れとなったトレイが回転移動により入替られた状態の図 図6Bに続くトレイ供給動作の模式説明図であって、ソース側端子部実装用の部品の供給が終了した状態の図 図6Cに続くトレイ供給動作の模式説明図であって、ゲート側端子部実装用の部品が供給されている状態の図 図6Dに続くトレイ供給動作の模式説明図であって、第1の段積みトレイ供給装置において、空トレイの回収動作が行われている状態の図 第1実施形態のトレイステージ及び回転移動装置の構成を示す模式図 第1実施形態の変形例にかかるトレイステージ及び回転移動装置の構成を示す模式図 第1実施形態の部品実装装置における認識不良部品の回収動作のフローチャート 図9の認識不良部品の回収動作の模式説明図であって、第1のトレイステージが部品供給位置に位置されて部品供給を行っている状態の図 図10Aに続く認識不良部品の回収動作の模式説明図であって、第3のトレイステージが部品供給位置に位置されて、認識不良部品の回収が行われている状態の図 部品の実装側表面の模式平面図 部品の認識処理を行っている状態の模式説明図 部品の基準マークの認識処理の模式説明図(正常認識) 部品の基準マークの認識処理の模式説明図(認識不良) 部品の基準マークの認識処理の模式説明図(手動認識) 第1実施形態の部品実装装置における認識不良部品の再利用動作のフローチャート 第1実施形態の変形例にかかるストッカ部の構成を示す模式図 第1実施形態の変形例にかかる反転ノズル部の構成を示す模式図 本発明の第2実施形態の部品実装装置の模式構成図
符号の説明
1 液晶パネル基板
2 パネル載置ステージ
3 仮付けヘッド部
4 仮付けヘッド移動装置
5 パネル基板搬入装置
6 パネル基板搬出装置
7 トレイ
8 反転ヘッド部
9 反転ヘッド移動装置
10 制御装置
11、13 段積みカセット
12、32 供給側ストッカ部
14、34 回収側ストッカ部
15、35 トレイ移載装置
16、36 (第1の)トレイステージ
17、37 (第2の)トレイステージ
18、38 (第3の)トレイステージ
16a〜18a ステージ昇降装置
20、40 回転移動装置
21、41 Y軸方向ステージ移動装置
22、42 X軸方向ステージ移動装置
51 吸着ノズル
52 回転駆動装置
100 部品実装装置
101 第1の段積みトレイ供給装置
102 第2の段積みトレイ供給装置
P0 部品供給位置
P1、P2、P11、P12 待機トレイ配置位置
P3、P13 供給用トレイ配置位置
P4、P14 トレイ供給位置
P5、P15 トレイ回収位置

Claims (9)

  1. 基板に実装される部品を収納したトレイを複数枚段積み状態にして収納し、部品供給のためにトレイの供給及び回収を行う段積みトレイの供給装置において、
    その下方側よりトレイが順次取り出されてトレイ供給位置に配置可能に、複数のトレイを段積み状態にて支持して収納する供給側トレイ収納部と、
    トレイ回収位置に位置されたトレイをその下方側より順次回収して、段積み状態にて支持して収納する回収側トレイ収納部と、
    トレイが個別に載置される第1、第2および第3のトレイステージと、
    第1、第2および第3のトレイステージを同心円上に配置させて支持するとともに、部品供給が行われるトレイが位置される供給用トレイ配置位置と、供給用トレイ配置位置とともに同心円上に位置された2つの待機トレイ配置位置とのそれぞれの配置位置に、第1、第2および第3のトレイステージを選択的に配置可能に、第1、第2および第3のトレイステージを同心円上において回転移動させる回転移動装置と、
    待機トレイ配置位置に位置されている第1または第2のトレイステージを、トレイ供給位置およびトレイ回収位置に位置させるように移動させるステージ移動装置とを備え、
    回転移動装置により、トレイステージの回転移動を行うことにより、供給用トレイ配置位置に位置されている第1のトレイステージを、待機トレイ配置位置に位置されている第2のトレイステージと入れ替えて、第1のトレイステージのトレイからの部品供給に継続して、第2のトレイステージのトレイからの部品供給を実施可能とさせるとともに、トレイステージの回転移動を行うことにより、待機トレイ配置位置に位置されている第3のトレイステージを供給用トレイ配置位置に位置させて、第1または第2のトレイステージのトレイから供給された部品でありかつ基板に実装されない部品を、第3のトレイステージのトレイに回収可能とさせる、段積みトレイの供給装置。
  2. ステージ移動装置は、それぞれのトレイステージとともに、回転移動装置を一体的に移動させる、請求項1に記載の段積みトレイの供給装置。
  3. 請求項1に記載の段積みトレイの供給装置と、
    基板を保持する基板保持装置と、
    供給用トレイ配置位置に位置された状態の第1または第2のトレイステージ上のトレイから部品を保持して取り出し、保持した部品を基板保持装置に保持された基板に実装する実装ヘッド装置と、
    供給用トレイ配置位置と基板保持装置により保持された基板の上方との間において、実装ヘッド装置を移動させるヘッド移動装置と、
    基板に実装される部品の画像を撮像して、部品画像情報を取得する部品撮像装置と、
    部品撮像装置により取得された部品画像情報の認識処理を行う認識手段を有し、認識手段により認識処理の結果、認識不良と判断された部品に対して、実装ヘッド装置を供給用トレイ配置位置の上方へと移動させて、供給用トレイ配置位置に位置された第3のトレイステージ上のトレイに認識不良の部品を回収させるように、実装ヘッド装置、ヘッド移動装置および回転移動装置の動作制御を行う制御装置とを備える、部品実装装置。
  4. 互いに異なる種別の部品が収容されたトレイの供給を行う請求項1に記載の第1および第2の段積みトレイの供給装置と、
    基板を保持する基板保持装置と、
    第1および第2の段積みトレイの供給装置において共通して使用される共有の部品供給位置に位置された状態のトレイから部品を取り出して、基板保持装置に保持された基板にそれぞれの種別の部品を実装する実装ヘッド装置と、
    共有の部品供給位置と基板保持装置により保持された基板の上方との間において、実装ヘッド装置を移動させるヘッド移動装置と、
    基板に実装される部品の画像を撮像して、部品画像情報を取得する部品撮像装置と、
    第1の段積みトレイの供給装置の供給用トレイ配置位置に位置されたトレイステージと、第2の段積みトレイの供給装置の供給用トレイ配置位置に位置されたトレイステージが、対応するステージ移動装置により移動されて選択的に共有の部品供給位置に位置されるように、それぞれのステージ移動装置の制御を行うとともに、部品撮像装置により取得された部品画像情報の認識処理を行う認識手段を有し、認識手段により認識処理の結果、認識不良と判断された部品に対して、対応する種別の段積みトレイ供給装置における供給用トレイ配置位置に位置された第3のトレイステージを、共有の部品供給位置に位置させるとともに、実装ヘッド装置を共有の部品供給位置の上方へと移動させて、第3のトレイステージ上のトレイに認識不良の部品を回収させるように、実装ヘッド、移動装置および回転移動装置の動作制御を行う制御装置とを備える、部品実装装置。
  5. 基板に実装される部品を収納したトレイを複数枚段積み状態にして収納する供給側トレイ収納部から、トレイを受け渡してトレイステージに載置し、トレイステージより部品供給可能な状態とさせ、その後、部品供給が行われたトレイが載置されているトレイステージを移動させて、回収側トレイ収納部へトレイを受け入れて段積み状態にて回収する段積みトレイの供給方法において、
    供給側トレイ収納部から供給されたトレイが載置された第1のトレイステージを、部品供給が行われるトレイが位置される供給用トレイ配置位置に位置させるとともに、供給側トレイ収納部から供給された別のトレイが載置された第2のトレイステージを待機トレイ配置位置に位置させ、それととともに、供給用トレイ配置位置および待機トレイ配置位置とともに同心円上に位置される別の待機トレイ配置位置に、部品回収用トレイが載置された第3のトレイステージを位置させて、
    供給用トレイ配置位置に位置されている第1のトレイステージに載置されたトレイより部品供給を行い、
    その後、同心円上において、それぞれのトレイステージを回転移動させることにより、第2のトレイステージを供給用トレイ配置位置に位置させて、第2のトレイステージに載置された別のトレイより部品供給を続けて行い、
    第1または第2のトレイステージのトレイから供給された部品であって、基板に実装されない部品が存在する場合に、同心円上において、それぞれのトレイステージを回転移動させることにより、第3のトレイステージを供給用トレイ配置位置に位置させて、第3のトレイステージに載置された部品回収用トレイに部品を配置させて回収する、段積みトレイの供給方法。
  6. それぞれのトレイステージを回転移動させて、第1または第2のトレイステージを待機トレイ配置位置に位置させ、
    待機トレイ配置位置に位置された第1または第2のトレイステージと、供給側トレイ収納部および回収側トレイ収納部との間で、トレイの受け渡しが行われる、請求項5に記載の段積みトレイの供給方法。
  7. 請求項5または6に記載の段積みトレイの供給方法により、供給用トレイ配置位置に位置された第1または第2のトレイステージ上のトレイに収納した部品を、実装ヘッド装置により保持して取り出して、部品の供給を行い、
    供給された部品を、実装ヘッド装置により基板上に実装し、
    実装ヘッド装置へ部品の供給を行う際、あるいは、部品の供給を行った後かつ部品の実装を行う前に、部品撮像装置により部品の画像を撮像して、部品画像情報を取得し、その後、取得された部品画像情報の認識処理を行い、
    認識処理の結果、認識不良と判断された部品を基板に実装されない部品として、部品を保持した実装ヘッド装置を供給用トレイ配置位置の上方へと移動させるとともに、供給用トレイ配置位置に第3のトレイステージを位置させて、実装ヘッド装置から第3のトレイステージ上のトレイに認識不良の部品を回収させる、部品実装方法。
  8. 請求項5または6に記載の段積みトレイの供給方法を2つの供給系統にて行って、それぞれの供給系統より互いに異なる種別の部品を、実装ヘッド装置によりトレイ内から保持して取り出して、部品の供給を行い、
    供給された部品を、実装ヘッド装置により基板上に実装し、
    一方の供給系統において、供給用トレイ配置位置に位置されたトレイステージを、他方の供給系統におけるそれぞれのトレイステージとの干渉が防止された位置であり、かつそれぞれの供給系統にて共通して使用される位置である共有の部品供給位置へ移動させて、実装ヘッド装置への部品供給を実施しながら、他方の供給系統にて、待機トレイ配置位置に位置されたトレイステージと、供給側トレイ収納部および回収側トレイ収納部との間で、トレイの受け渡しが行われ、
    実装ヘッド装置へ部品の供給を行う際、あるいは、部品の供給を行った後かつ部品の実装を行う前に、部品撮像装置により部品の画像を撮像して、部品画像情報を取得し、その後、取得された部品画像情報の認識処理を行い、
    認識処理の結果、認識不良と判断された部品を基板に実装されない部品として、部品を保持した実装ヘッド装置を供給用トレイ配置位置の上方へと移動させるとともに、認識不良の部品に対応する種別の供給系統における第3のトレイステージを供給用トレイ配置位置に位置させ、かつ共有の部品供給位置に位置させて、実装ヘッド装置から第3のトレイステージ上のトレイに認識不良の部品を回収させる、部品実装方法。
  9. 第3のトレイステージ上のトレイに複数の認識不良部品が回収された後、第3のトレイステージを供給用トレイ配置位置に位置させて、第3のトレイステージ上のトレイから実装ヘッド装置へ複数の認識不良部品の供給を連続的に行う、請求項7または8に記載された部品実装方法。
JP2008196043A 2008-07-30 2008-07-30 段積みトレイの供給装置及び供給方法、並びに部品実装装置及び方法 Active JP4864051B2 (ja)

Priority Applications (1)

Application Number Priority Date Filing Date Title
JP2008196043A JP4864051B2 (ja) 2008-07-30 2008-07-30 段積みトレイの供給装置及び供給方法、並びに部品実装装置及び方法

Applications Claiming Priority (1)

Application Number Priority Date Filing Date Title
JP2008196043A JP4864051B2 (ja) 2008-07-30 2008-07-30 段積みトレイの供給装置及び供給方法、並びに部品実装装置及び方法

Publications (2)

Publication Number Publication Date
JP2010034376A true JP2010034376A (ja) 2010-02-12
JP4864051B2 JP4864051B2 (ja) 2012-01-25

Family

ID=41738498

Family Applications (1)

Application Number Title Priority Date Filing Date
JP2008196043A Active JP4864051B2 (ja) 2008-07-30 2008-07-30 段積みトレイの供給装置及び供給方法、並びに部品実装装置及び方法

Country Status (1)

Country Link
JP (1) JP4864051B2 (ja)

Cited By (10)

* Cited by examiner, † Cited by third party
Publication number Priority date Publication date Assignee Title
JP2011123474A (ja) * 2009-11-16 2011-06-23 Seiko Epson Corp 偏光素子及びプロジェクター
JP2011170136A (ja) * 2010-02-19 2011-09-01 Seiko Epson Corp 偏光素子及びプロジェクター
JP2012119548A (ja) * 2010-12-02 2012-06-21 Yamaha Motor Co Ltd 実装機
JP2012156426A (ja) * 2011-01-28 2012-08-16 Panasonic Corp トレイ供給装置及び部品実装装置
JP2012156425A (ja) * 2011-01-28 2012-08-16 Panasonic Corp トレイ供給装置及び部品実装装置
JP2015005589A (ja) * 2013-06-20 2015-01-08 パナソニック株式会社 トレイ交換方法及び部品実装装置
JPWO2016035135A1 (ja) * 2014-09-02 2017-06-15 富士機械製造株式会社 部品実装装置
JP2019009246A (ja) * 2017-06-23 2019-01-17 ヤマハ発動機株式会社 トレイ供給装置
JP2020136291A (ja) * 2019-02-12 2020-08-31 芝浦メカトロニクス株式会社 トレイ搬送装置及び実装装置
WO2021085463A1 (ja) * 2019-10-29 2021-05-06 上野精機株式会社 電子部品の搬送装置

Citations (3)

* Cited by examiner, † Cited by third party
Publication number Priority date Publication date Assignee Title
JPH08162797A (ja) * 1994-12-08 1996-06-21 Matsushita Electric Ind Co Ltd 電子部品実装装置
JP2006120928A (ja) * 2004-10-22 2006-05-11 Shibaura Mechatronics Corp 電子部品の実装装置及び実装方法
JP2008124054A (ja) * 2006-11-08 2008-05-29 Matsushita Electric Ind Co Ltd 段積みトレイの供給装置及び供給方法、並びに部品実装装置及び方法

Patent Citations (3)

* Cited by examiner, † Cited by third party
Publication number Priority date Publication date Assignee Title
JPH08162797A (ja) * 1994-12-08 1996-06-21 Matsushita Electric Ind Co Ltd 電子部品実装装置
JP2006120928A (ja) * 2004-10-22 2006-05-11 Shibaura Mechatronics Corp 電子部品の実装装置及び実装方法
JP2008124054A (ja) * 2006-11-08 2008-05-29 Matsushita Electric Ind Co Ltd 段積みトレイの供給装置及び供給方法、並びに部品実装装置及び方法

Cited By (13)

* Cited by examiner, † Cited by third party
Publication number Priority date Publication date Assignee Title
JP2011123474A (ja) * 2009-11-16 2011-06-23 Seiko Epson Corp 偏光素子及びプロジェクター
JP2011170136A (ja) * 2010-02-19 2011-09-01 Seiko Epson Corp 偏光素子及びプロジェクター
JP2012119548A (ja) * 2010-12-02 2012-06-21 Yamaha Motor Co Ltd 実装機
CN102548385A (zh) * 2010-12-02 2012-07-04 雅马哈发动机株式会社 安装机
JP2012156426A (ja) * 2011-01-28 2012-08-16 Panasonic Corp トレイ供給装置及び部品実装装置
JP2012156425A (ja) * 2011-01-28 2012-08-16 Panasonic Corp トレイ供給装置及び部品実装装置
JP2015005589A (ja) * 2013-06-20 2015-01-08 パナソニック株式会社 トレイ交換方法及び部品実装装置
JPWO2016035135A1 (ja) * 2014-09-02 2017-06-15 富士機械製造株式会社 部品実装装置
JP2019009246A (ja) * 2017-06-23 2019-01-17 ヤマハ発動機株式会社 トレイ供給装置
JP2020136291A (ja) * 2019-02-12 2020-08-31 芝浦メカトロニクス株式会社 トレイ搬送装置及び実装装置
JP7233237B2 (ja) 2019-02-12 2023-03-06 芝浦メカトロニクス株式会社 トレイ搬送装置及び実装装置
WO2021085463A1 (ja) * 2019-10-29 2021-05-06 上野精機株式会社 電子部品の搬送装置
JP2021072314A (ja) * 2019-10-29 2021-05-06 上野精機株式会社 電子部品の搬送装置

Also Published As

Publication number Publication date
JP4864051B2 (ja) 2012-01-25

Similar Documents

Publication Publication Date Title
JP4864051B2 (ja) 段積みトレイの供給装置及び供給方法、並びに部品実装装置及び方法
JP4243646B2 (ja) 段積みトレイの供給装置及び供給方法、並びに部品実装装置及び方法
JP6279716B2 (ja) 部品実装機
JP5230272B2 (ja) 矯正装置、搬送ユニットおよび電子部品収納システム
JP2001135995A (ja) 部品実装装置及び方法
JP6513805B2 (ja) ロータリーヘッド型部品実装機
JP7312903B2 (ja) 部品装着機
WO2016135909A1 (ja) 部品供給装置、および装着機
WO2014192168A1 (ja) 電子回路部品実装システム
JP2019110347A (ja) ロータリーヘッド型部品実装機
JP6154130B2 (ja) 電子部品装着装置及び電子部品装着方法
JP4530504B2 (ja) 整列部品の取扱装置
CN105009704B (zh) 电子电路元件安装方法及安装系统
WO2001017005A1 (en) Method and apparatus for handling arranged part
US20120246927A1 (en) Suction nozzle, mounting apparatus, method for mounting electronic components, and method for manufacturing component-mounted substrates
WO2017051446A1 (ja) 部品供給システム
JP2008072066A (ja) 電子回路部品装着システム
JP4584740B2 (ja) 部品実装方法及び部品実装装置
JP2004356376A (ja) 部品実装装置及び部品実装方法
JP6001441B2 (ja) 電子部品実装装置及び電子部品実装方法
JP2011211247A (ja) 電子回路部品装着システム
JP4047608B2 (ja) 実装機
JP4245792B2 (ja) 部品反転装置及び方法
JP2002223100A (ja) 電子部品実装方法及び電子部品実装装置並びに電子部品実装システム
JP2003332793A (ja) 部品保持具使用可否判定方法

Legal Events

Date Code Title Description
A621 Written request for application examination

Free format text: JAPANESE INTERMEDIATE CODE: A621

Effective date: 20100917

TRDD Decision of grant or rejection written
A01 Written decision to grant a patent or to grant a registration (utility model)

Free format text: JAPANESE INTERMEDIATE CODE: A01

Effective date: 20111011

A01 Written decision to grant a patent or to grant a registration (utility model)

Free format text: JAPANESE INTERMEDIATE CODE: A01

A61 First payment of annual fees (during grant procedure)

Free format text: JAPANESE INTERMEDIATE CODE: A61

Effective date: 20111108

FPAY Renewal fee payment (event date is renewal date of database)

Free format text: PAYMENT UNTIL: 20141118

Year of fee payment: 3

R150 Certificate of patent or registration of utility model

Ref document number: 4864051

Country of ref document: JP

Free format text: JAPANESE INTERMEDIATE CODE: R150

Free format text: JAPANESE INTERMEDIATE CODE: R150