JP2010034118A - 基板処理装置 - Google Patents

基板処理装置 Download PDF

Info

Publication number
JP2010034118A
JP2010034118A JP2008191882A JP2008191882A JP2010034118A JP 2010034118 A JP2010034118 A JP 2010034118A JP 2008191882 A JP2008191882 A JP 2008191882A JP 2008191882 A JP2008191882 A JP 2008191882A JP 2010034118 A JP2010034118 A JP 2010034118A
Authority
JP
Japan
Prior art keywords
substrate
polishing
wafer
unit
image
Prior art date
Legal status (The legal status is an assumption and is not a legal conclusion. Google has not performed a legal analysis and makes no representation as to the accuracy of the status listed.)
Granted
Application number
JP2008191882A
Other languages
English (en)
Other versions
JP5160993B2 (ja
JP2010034118A5 (ja
Inventor
Toshifumi Kaneuma
利文 金馬
Hiroaki Kusa
宏明 草
Current Assignee (The listed assignees may be inaccurate. Google has not performed a legal analysis and makes no representation or warranty as to the accuracy of the list.)
Ebara Corp
Original Assignee
Ebara Corp
Priority date (The priority date is an assumption and is not a legal conclusion. Google has not performed a legal analysis and makes no representation as to the accuracy of the date listed.)
Filing date
Publication date
Application filed by Ebara Corp filed Critical Ebara Corp
Priority to JP2008191882A priority Critical patent/JP5160993B2/ja
Priority to US12/458,814 priority patent/US8414355B2/en
Publication of JP2010034118A publication Critical patent/JP2010034118A/ja
Publication of JP2010034118A5 publication Critical patent/JP2010034118A5/ja
Application granted granted Critical
Publication of JP5160993B2 publication Critical patent/JP5160993B2/ja
Active legal-status Critical Current
Anticipated expiration legal-status Critical

Links

Images

Classifications

    • BPERFORMING OPERATIONS; TRANSPORTING
    • B24GRINDING; POLISHING
    • B24BMACHINES, DEVICES, OR PROCESSES FOR GRINDING OR POLISHING; DRESSING OR CONDITIONING OF ABRADING SURFACES; FEEDING OF GRINDING, POLISHING, OR LAPPING AGENTS
    • B24B9/00Machines or devices designed for grinding edges or bevels on work or for removing burrs; Accessories therefor
    • B24B9/02Machines or devices designed for grinding edges or bevels on work or for removing burrs; Accessories therefor characterised by a special design with respect to properties of materials specific to articles to be ground
    • B24B9/06Machines or devices designed for grinding edges or bevels on work or for removing burrs; Accessories therefor characterised by a special design with respect to properties of materials specific to articles to be ground of non-metallic inorganic material, e.g. stone, ceramics, porcelain
    • B24B9/065Machines or devices designed for grinding edges or bevels on work or for removing burrs; Accessories therefor characterised by a special design with respect to properties of materials specific to articles to be ground of non-metallic inorganic material, e.g. stone, ceramics, porcelain of thin, brittle parts, e.g. semiconductors, wafers
    • BPERFORMING OPERATIONS; TRANSPORTING
    • B24GRINDING; POLISHING
    • B24BMACHINES, DEVICES, OR PROCESSES FOR GRINDING OR POLISHING; DRESSING OR CONDITIONING OF ABRADING SURFACES; FEEDING OF GRINDING, POLISHING, OR LAPPING AGENTS
    • B24B21/00Machines or devices using grinding or polishing belts; Accessories therefor
    • B24B21/004Machines or devices using grinding or polishing belts; Accessories therefor using abrasive rolled strips
    • BPERFORMING OPERATIONS; TRANSPORTING
    • B24GRINDING; POLISHING
    • B24BMACHINES, DEVICES, OR PROCESSES FOR GRINDING OR POLISHING; DRESSING OR CONDITIONING OF ABRADING SURFACES; FEEDING OF GRINDING, POLISHING, OR LAPPING AGENTS
    • B24B37/00Lapping machines or devices; Accessories
    • B24B37/005Control means for lapping machines or devices
    • B24B37/013Devices or means for detecting lapping completion
    • BPERFORMING OPERATIONS; TRANSPORTING
    • B24GRINDING; POLISHING
    • B24BMACHINES, DEVICES, OR PROCESSES FOR GRINDING OR POLISHING; DRESSING OR CONDITIONING OF ABRADING SURFACES; FEEDING OF GRINDING, POLISHING, OR LAPPING AGENTS
    • B24B49/00Measuring or gauging equipment for controlling the feed movement of the grinding tool or work; Arrangements of indicating or measuring equipment, e.g. for indicating the start of the grinding operation
    • B24B49/12Measuring or gauging equipment for controlling the feed movement of the grinding tool or work; Arrangements of indicating or measuring equipment, e.g. for indicating the start of the grinding operation involving optical means

Landscapes

  • Engineering & Computer Science (AREA)
  • Mechanical Engineering (AREA)
  • Chemical & Material Sciences (AREA)
  • Ceramic Engineering (AREA)
  • Inorganic Chemistry (AREA)
  • Mechanical Treatment Of Semiconductor (AREA)
  • Constituent Portions Of Griding Lathes, Driving, Sensing And Control (AREA)
  • Testing Or Measuring Of Semiconductors Or The Like (AREA)

Abstract

【課題】高スループットの研磨ユニットとの組み合わせに適した、低コストの研磨状態検査ユニットを有する基板処理装置を提供する。
【解決手段】本発明の基板処理装は、置基板Wの周縁部を研磨する研磨ユニット70A,70Bと、研磨ユニット70A,70Bにより研磨された基板Wの周縁部を撮像する撮像モジュール131と、撮像モジュール131により撮像された画像から基板の研磨状態を検査する画像処理部132とを備え、撮像モジュール131は、研磨ユニット研磨ユニット70A,70Bが基板Wの周縁部を研磨していないときに基板の周縁部を撮像する。
【選択図】図9

Description

本発明は、基板の周縁部を研磨する研磨ユニットを有する基板処理装置に関し、特に研磨された表面状態を検査する機構を備えた基板処理装置に関する。
半導体デバイス製造工程においては、高スループットの要請がますます高まっている。このような要請の下、最近では、複数の研磨モジュールで基板を取り囲むように配置した研磨装置が開発されている。このタイプの研磨装置は、回転する基板の周縁部を複数の研磨モジュールで同時に研磨することで、高スループットを実現する。一般に、研磨装置には、基板の研磨終点を検知するためのモジュールが設けられる。このような研磨終点検知モジュールとして、研磨装置の中に組み込まれた、いわゆるIn-Situ型の研磨終点検知モジュールがある。
In-Situ型の研磨終点検知モジュールは、研磨モジュールが基板の周縁部を研磨している間、基板の周縁部上の膜を監視し、膜が除去されたときに研磨終点に達したと判断する。したがって、研磨終点検知モジュールは研磨モジュールに隣接して配置することが必要とされる。しかしながら、研磨中は複数の研磨モジュールが基板にアクセスしているので、研磨終点検知モジュールが基板にアクセスするためのスペースがないという問題がある。また、高スループットの研磨装置は、ウエハ1枚当たり数秒で研磨するため、研磨中に研磨終点を検知する意義が乏しくなっている。
さらに、研磨中に基板に供給される研磨液(通常は純水)は、研磨終点検知モジュールの終点検知動作を阻害するおそれがある。In-Situ型の研磨終点検知モジュールの中には、このような研磨液の影響を避けるために、透明のテープを介して基板の周縁部を監視するものがある。このタイプのモジュールでは、透明のテープを繰り出しながらテープを基板の周縁部に接触させ、テープの裏側から基板の周縁部の研磨状態を監視する。しかしながら、透明度の高いテープが必要となり、コストの増大を招いてしまう。
特表2007−524231号公報 特開2004−241434号公報 特開2003−209075号公報 特許2999712号公報 特開平11−351850号公報
本発明は、上述した従来の問題点に鑑みてなされたもので、高スループットの研磨ユニットとの組み合わせに適した低コストの研磨状態検査ユニットを有する基板処理装置を提供することを目的とする。
上述した目的を達成するために、本発明の一態様は、基板の周縁部を研磨する研磨ユニットと、前記研磨ユニットにより研磨された基板の周縁部を撮像する撮像モジュールと、前記撮像モジュールにより撮像された画像から基板の研磨状態を検査する画像処理部とを備え、前記撮像モジュールは、前記研磨ユニットが基板の周縁部を研磨していないときに前記基板の周縁部を撮像することを特徴とする基板処理装置である。
本発明の好ましい態様は、前記基板処理装置は、前記研磨ユニットの研磨条件を決定する研磨条件決定部をさらに備え、前記画像処理部の検査結果は前記研磨条件決定部に送られ、前記研磨条件決定部は前記検査結果に基づいて前記研磨ユニットでの研磨条件を決定することを特徴とする。
本発明の好ましい態様は、前記撮像モジュールは、基板の周縁部を多方向から撮像することを特徴とする。
本発明の好ましい態様は、前記撮像モジュールは、基板の周縁部に近接して配置されたプリズムと、前記プリズムを通じて基板の周縁部を撮像する撮像カメラとを備えていることを特徴とする。
本発明の好ましい態様は、前記撮像モジュールは、複数の撮像カメラを有していることを特徴とする。
本発明の好ましい態様は、前記画像処理部は、前記撮像モジュールによって取得された画像の色に基づいて基板の周縁部の研磨状態を検査することを特徴とする。
本発明の好ましい態様は、前記画像処理部は、前記撮像モジュールにより取得された画像の色を数値に表し、前記数値が予め設定された閾値を上回ったとき、または下回ったときに、除去すべき対象物が前記周縁部から除去されたと判断することを特徴とする。
本発明の好ましい態様は、前記基板処理装置は、基板をその中心軸回りに回転させる基板保持回転機構をさらに備え、前記撮像モジュールは、前記基板回転機構によって保持された基板の周縁部に近接して配置されており、前記基板保持回転機構によって基板を断続的または連続的に回転させながら、前記撮像モジュールは基板の周縁部を撮像することを特徴とする。
本発明の好ましい態様は、前記撮像モジュールは、基板の周縁部の静止画像を取得することを特徴とする。
本発明の好ましい態様は、前記撮像モジュールは、基板の周縁部の積算画像を取得することを特徴とする。
本発明の好ましい態様は、前記撮像モジュールは、ラインスキャンカメラを有していることを特徴とする。
本発明の好ましい態様は、前記撮像モジュールは、視野の異なる複数のカメラを有していることを特徴とする。
本発明の好ましい態様は、前記基板処理装置は、前記研磨ユニットによって研磨された基板の所定の物理量を測定する測定ユニットをさらに備えており、前記撮像モジュールは、前記測定ユニットに組み込まれていることを特徴とする。
本発明の好ましい態様は、前記測定ユニットは、基板をその中心軸回りに回転させる基板保持回転機構を有しており、前記撮像モジュールは、前記基板保持回転機構によって保持された基板の周縁部に近接して配置されていることを特徴とする。
本発明の好ましい態様は、前記基板処理装置は、前記研磨ユニットによって研磨された基板を後処理する少なくとも1つの後処理ユニットをさらに備えており、前記撮像モジュールは、前記少なくとも1つの後処理ユニットに組み込まれていることを特徴とする。
本発明の好ましい態様は、前記少なくとも1つの後処理ユニットは、基板をその中心軸回りに回転させる基板保持回転機構を有しており、前記撮像モジュールは、前記基板保持回転機構によって保持された基板の周縁部に近接して配置されていることを特徴とする。
本発明の好ましい態様は、前記基板処理装置は、前記画像処理部の検査結果を保存する記憶装置をさらに備えることを特徴とする。
本発明の好ましい態様は、前記基板処理装置は、前記撮像モジュールによって取得された画像を保存する記憶装置と、前記記憶装置に保存された画像を表示する画像表示部とをさらに備えることを特徴とする。
本発明の好ましい態様は、前記記憶装置は、前記画像が取得された位置を示す情報を該画像と共に保存し、前記画像表示部は、要求された位置の画像を表示するように構成されることを特徴とする。
本発明によれば、研磨処理の後に、または研磨処理を中断して、研磨処理とは独立して研磨状態を検査することができる、いわゆるIn-Line型の研磨状態検査ユニットが提供される。したがって、研磨液(純水など)の影響を受けることがなく、また透明テープを不要とすることができる。このIn-Line型の研磨状態検査ユニットは研磨ユニットの外部に設置することも可能である。この場合は、研磨ユニットの構成を変更することを要しないので、スループットの高い研磨ユニットの構成をそのまま使うことができる。
以下、本発明の実施形態について、図面を参照して詳細に説明する。
図1(a)および図1(b)は、半導体ウエハ等の基板(以下「ウエハ」と称す。)の周縁部を示す部分拡大断面図である。より詳しくは、図1(a)は、周縁部の断面が複数の直線部で構成されたいわゆるストレート型のウエハWの断面図であり、図1(b)は、周縁部の断面が曲線部で構成されたいわゆるラウンド型のウエハWの断面図である。
ベベル部とは、図1(a)のウエハWにおいては、ウエハWの外周面に位置する上側傾斜部(上側ベベル部)P、下側傾斜部(下側ベベル部)Q、及び側部(アペックス)RからなるB部分を指し、また図1(b)のウエハWにおいては、ウエハWの外周面に位置する、断面が曲率を有するB部分を指す。またニアエッジ部とは、ウエハWのベベル部Bよりも径方向内側に位置する領域であって、かつデバイスが形成される領域Dよりも径方向外側に位置する平坦部E1,E2を指す。以下、ウエハの周縁部というときは上記のベベル部B及びニアエッジ部E1,E2を含むものとする。また、以下の説明では、上側のニアエッジ部E1をトップニアエッジ部、下側のニアエッジ部E2をバックニアエッジ部という。
図2は、本発明の一実施形態に係る基板処理装置の全体構成を示す概略平面図である。図2に示す基板処理装置1は、ウエハ供給回収装置11A,11Bを設置したロードアンロードポート10と、ウエハの直径を測定する測定ユニット30と、主にロードアンロードポート10と測定ユニット30及び下記の2次洗浄・乾燥ユニット110の間でウエハを搬送する第1搬送ロボット20Aと、ウエハ周縁部の研磨を行う第1研磨ユニット70A及び第2研磨ユニット70Bと、研磨後のウエハの1次洗浄を行う1次洗浄ユニット100と、1次洗浄されたウエハの2次洗浄及び乾燥を行う2次洗浄・乾燥ユニット110と、主に第1及び第2研磨ユニット70A,70Bと1次洗浄ユニット100と2次洗浄・乾燥ユニット110の各ユニット間でウエハを搬送する第2搬送ロボット20Bを備えて構成されている。
また、基板処理装置1は、測定ユニット30によるウエハの測定結果に基づいて、第1、第2研磨ユニット70A,70Bにおける研磨条件を決定する研磨条件決定部120をさらに備えている。研磨条件決定部120は、具体的にはコントローラの一部であり、ウエハ周縁部の測定結果に基づいてその研磨条件を算出する計算手段である。
基板処理装置1の各ユニットは、クリーンルーム2に設置されたハウジング3内に収納配置されており、クリーンルーム2の内部空間と基板処理装置1の内部空間がハウジング3によって区画されている。そして、ハウジング3の上部に設けた図示しないフィルタからハウジング3内部に清浄な空気が導入されると共に、ハウジング3の下部に設けた図示しない排気部から空気が外部へ排出されるようになっており、ハウジング3内に清浄空気のダウンフローが形成されるようになっている。これにより基板処理装置1内の気流が基板処理に最適な状態に調節されている。さらにハウジング3内に設置された各ユニットもそれぞれ筐体内に収納配置されており、各ユニットの筐体内の気流も基板処理に最適な状態に調節されている。
ロードアンロードポート10は、第1搬送ロボット20Aに隣接する側壁3aの外側に設置されている。このロードアンロードポート10には、処理対象のウエハを基板処理装置へ供給及び回収するFOUP(Front Opening Unified Pod)と称されるウエハ供給回収装置11A,11Bが2台並列に設置されている。そして複数のウエハを収容したウエハカセット(ウエハキャリア)12A又は12Bが、ウエハ供給回収装置11A,11Bのいずれかに搭載されると、ウエハカセット12A又は12Bの蓋が自動的に開くと共に側壁3aに設けた開閉窓(図示せず)が開くことで、ウエハカセット12A又は12Bに収容されているウエハを第1搬送ロボット20Aで取り出して基板処理装置1内へ搬入することができる状態になる。
図3(a)は、以下で説明する測定ユニット30が備える基板保持回転機構を示す概略斜視図であり、図3(b)は基板保持回転機構の概略平面図である。基板保持回転機構61は、測定ユニット30における測定時にウエハWを保持し回転させる機構で、ウエハWの外周部を把持する複数の爪部62aを備えた上段チャック(上段スピンチャック)62と,同じく複数の爪部63aを備えた下段チャック(下段スピンチャック)63を2段に設けている。上段チャック62と下段チャック63は同軸状に設置され、いずれも回転軸64周りに回転するようになっている。
上段、下段チャック62,63の爪部62a,63aはいずれも所定間隔で3本または4本ずつ設けられており、図3(b)に示すように、下段チャック63は、図示しない昇降機構により上下方向に移動可能となっている。さらに基板保持回転機構は、後述するように、上段チャック62及び下段チャック63を回転させる回転駆動機構としてのステップモータと、ウエハWの回転位置や回転角度などを検出する回転位置検出機構としてのロータリーエンコーダとを有している。
図4(a)及び図4(b)を用いて基板保持回転機構61の動作を説明する。通常は、図4(a)に示すように、上段チャック62がウエハWを保持し回転することでウエハWの測定を行う。上段チャック62の回転により爪部62aがウエハWの周縁部の測定位置に重なる場合、その手前で、図4(b)に示すように下段チャック63が上昇してウエハWを保持し、上段チャック62からウエハWが離れる。その状態で上段チャック62が所定の角度回転することで、上段チャック62の爪部62aが測定位置に重なることを回避することができる。そして上段チャック62の爪部62aが測定位置を通過した後、下段チャック63が下降することで再度上段チャック62によってウエハWを保持することができる。このように動作することで、上段チャック62の爪部62aが測定位置に重なることを防ぎ、ウエハW周縁部の全周に亘って直径の測定を行うことを可能としている。
図5は測定ユニット30を示す概略斜視図である。図6(a)は、測定ユニット30の概略平面図であり、図6(b)は、図6(a)のVI方向矢視図である。なお、図5及び図6では基板保持回転機構61の図示を省略している。
この測定ユニット30は、ウエハWの外径寸法(直径)を計測する直径計測機構を備えたもので、計測したウエハの直径からウエハ側面の研磨量を計測するものである。この測定ユニット30は、基板保持回転機構61と、該基板保持回転機構61で保持されたウエハWの周縁部の所定位置の上下に設置した一対の投光装置32及び受光装置33からなるセンサ機構(レーザーセンサ)31を具備している。投光装置32はレーザー光を投光する装置である。
本実施形態では2組のセンサ機構31,31が設置されており、各組のセンサ機構31,31は基板保持回転機構61に保持されたウエハWの中心線上の対角位置にそれぞれ設置されている。各センサ機構31,31には、受光装置33,33で受光したレーザー光の光量を数値化して処理するデータ処理装置(図示せず)が接続されている。なお、受光装置33,33をウエハWの上側に設置し、投光装置32,32をウエハWの下側に設置してもよい。
センサ機構31,31は、図6(b)に示すように、投光装置32,32からウエハW周縁部に向けて下向きに所定の幅寸法を持つ線状(面状)のレーザー光34,34を投光する。そしてこのレーザー光34が、ウエハW周縁部をウエハWの半径方向に横断しその一部がウエハW周縁部の上面で遮断される。従って、レーザー光34,34のうちウエハWによって遮断されずに外側を通過するものだけが受光装置33,33で受光される。この受光量をデータ処理装置で数値化することで、ウエハWの外周部を通過したレーザー光34,34の幅寸法、即ち図6(b)に示すD1,D2の寸法が計測される。測定対象ウエハの直径を求めるには、予め直径が分かっている基準ウエハ(図示せず)を用意しこれを計測することで、その場合のD1,D2の寸法を計測しておき、この基準ウエハにおけるD1,D2の寸法と測定対象ウエハにおけるD1,D2の寸法の差と、基準ウエハの直径とから測定対象ウエハの直径Dwを算出する。
さらに、基板保持回転機構61の上チャック62及び下チャック63によりウエハWの回転方向の位置を変えることで、ウエハW周縁部の複数箇所で直径を測定することができる。これにより、ウエハW全周での研磨量のばらつきなど、1点のみの計測では得られない情報を得ることができる。また、基板保持回転機構61を回転させた状態で連続的にウエハの直径を計測することもできる。この方法によれば、直径の計測データを連続データとして得ることができるので、ウエハの真円度を算出することができる。
次に、第1研磨ユニット70A及び第2研磨ユニット70Bの構成を説明する。第1、第2研磨ユニット70A,70Bは互いに共通の構成を有するため、以下では第1研磨ユニット70Aについて説明する。図7は第1研磨ユニットの概略側断面図である。図7に示すように第1研磨ユニット70Aは、各構成部が筐体71内に収納配置されており、ウエハWの裏面を真空吸着して保持する基板保持回転部72と、ウエハWのセンタリング及び受渡しを行う基板受渡機構80と、ウエハWのベベル部の研磨を行なうベベル研磨部83と、ウエハWのノッチ部の研磨を行うノッチ研磨部90とを備えている。
基板保持回転部72は、図7に示すようにウエハWを真空吸着する真空吸着用の溝部73aを上面に備えた基板保持テーブル73と、基板保持テーブル73を支持する支持軸74とを備えている。支持軸74には回転駆動装置(ステージ回転機構)75が取付けられており、該回転駆動装置75により基板保持テーブル73及び支持軸74が一体に回転するようになっている。基板保持テーブル73の溝部73aは、基板保持テーブル73に形成された連通路73bに連通し、この連通路73bは支持軸74に形成された連通路74aに連通している。そして連通路74aには真空ライン76及び圧縮空気供給ライン77が接続されている。また基板保持テーブル73および支持軸74には、図示しない昇降機構が取付けられている。昇降機構によって基板保持テーブル73を上下方向に移動することができる。
また、基板保持テーブル73の溝部73aを覆うように基板保持テーブル73の上面にウレタン系の弾性部材からなる吸着パッド78が貼付されている。この吸着パッド78には、基板保持テーブル73の溝部73aに連通する多数の小径の貫通孔(図示せず)が形成されている。したがって、真空ライン76を連通路74aに連通させることにより、吸着パッド78の貫通孔に真空が形成され、基板保持テーブル73上に載置されたウエハWが吸着パッド78の上面に真空吸着される。なお、この吸着パッド78はウエハWと基板保持テーブル73の間に真空を形成する作用と、ウエハWを基板保持テーブル73上に載置する際の衝撃緩和作用とを有している。
基板保持回転部72の上方には基板受渡機構80が配置されている。基板受渡機構80は一対のアーム81,81を備え、各アーム81,81にはウエハWのベベル部に対応した凹状の面を有した複数のコマ82が固定されている。アーム81,81は開閉可能で閉鎖位置と開放位置とを取ることができ、閉鎖位置でコマ82によってウエハWを狭持し、開放位置でウエハWを放す。アーム81,81がウエハWを狭持することでセンタリングが行われる。基板保持テーブル73は昇降機構により上昇して、基板受渡機構80からウエハWを受け取り、ウエハWを真空吸着して研磨位置まで下降する。
ベベル研磨部83は、研磨テープ84をウエハWのベベル部に押圧接触させるベベル研磨ヘッド85と、研磨テープ送り機構88とを備えて構成されている。研磨テープ送り機構88は、ベベル研磨ヘッド85に研磨テープ84を送る供給リール88aと、ベベル研磨ヘッド85から研磨テープ84を回収する回収リール88bを具備している。ベベル研磨ヘッド85は、基板保持テーブル73に面した位置に研磨テープ84を掛ける一対の送りローラ86,86を備え、該一対の送りローラ86,86の間に研磨テープ84を張り渡して該研磨テープ84の研磨面84aをウエハWのベベル部に接触させるようになっている。また、送りローラ86,86間に掛け渡された研磨テープ84の背面側には基部87が設置されている。該基部87の研磨テープ84に当接する面には、図示は省略するが弾性部材を取付けることもできる。またベベル研磨ヘッド85は、図示しない移動機構によりウエハWの径方向に移動可能となっており、基部87が研磨テープ84を背面から押す作用と、研磨テープ84自体の張力とによって、研磨テープ84の研磨面84aがウエハWのベベル部に押圧される。
研磨テープ84は、一定幅の帯状部材で長さが数十メートル程であり、円筒状の芯材89に巻き付けられている。芯材89が供給リール88aに取付けられて、研磨テープ84が研磨面84aを外側に向けた状態でベベル研磨ヘッド85の一対の送りローラ86,86間に掛け渡されて、その先で回収リール88bに取り付けられている。回収リール88bには図示しないモータ等の回転駆動機構が取付けられており、研磨テープ84に所定の引張力を付与しながら巻き取り回収することができる。ベベル部の研磨時には、供給リール88aから研磨テープ84が順次送られることで、ベベル研磨ヘッド85には常に新しい研磨面84aが供給されるようになっている。
研磨テープ84は、砥粒を分散させた樹脂材料をテープ基材のいずれかの面に塗布して固化させることで研磨面84aを形成したものであり、砥粒には、例えばダイヤモンドやSiC等が用いられる。砥粒の種類及び粒度は、研磨するウエハの種類や要求される研磨の程度に応じて選択されるが、例えば、粒度♯4000〜♯20000のダイヤモンドや、粒度♯4000〜♯10000のSiCを用いることができる。また、研磨テープ84に代えて表面に粒状物を付着させていない帯状の研磨布等を用いてもよい。異なるタイプの研磨テープを第1研磨ユニット70A及び第2研磨ユニット70Bにそれぞれ装着して異なる研磨を行うこともできる。
図8(a)乃至図8(c)はベベル研磨時のベベル研磨ヘッド85の動きを説明するための図である。ベベル研磨部83は、ベベル研磨ヘッド85をウエハWのベベル部の研磨箇所を中心に上下方向に揺動させる揺動機構を備えており、ウエハ面に対して上下方向に所定角度傾斜した状態でベベル部に研磨テープ84の研磨面84aを接触させることができる。したがって、図8(a)に示すように、ベベル研磨ヘッド85をウエハ面に対して上方に所定角度傾けた状態で研磨することで、ベベル部の上側傾斜面及びトップニアエッジ部を研磨でき、図8(b)に示すように、ベベル研磨ヘッド85を水平方向に向けることでベベル部の側面を研磨でき、図8(c)に示すように、ベベル研磨ヘッド85をウエハ面に対して下方に所定角度傾けた状態で研磨することで、ベベル部の下側傾斜面及びバックニアエッジ部を研磨することができる。また、ベベル研磨ヘッド85の傾斜角度を微調整することにより、ベベル部の上下傾斜面や側面、及びそれらの境界部を所望の角度及び形状に研磨することができる。
ノッチ研磨部90は、研磨テープ91をウエハWのノッチ部に押圧接触させるノッチ研磨ヘッド92と、研磨テープ送り機構94とを備えて構成されている。ノッチ研磨ヘッド92は、図示しない移動機構によりウエハWの径方向に移動可能となっている。研磨テープ送り機構94は、ノッチ研磨ヘッド92に研磨テープ91を送る供給リール94a及びノッチ研磨ヘッド92から研磨テープ91を回収する回収リール94bを具備している。ノッチ研磨ヘッド92は、研磨テープ91を掛ける一対の送りローラ93,93を備え、該一対の送りローラ93,93の間に研磨テープ91を張り渡してその研磨面91aをウエハWのノッチ部に接触させるようになっている。
ノッチ研磨部90に用いる研磨テープ91は、ベベル研磨部83に用いる研磨テープ84と同材質の研磨テープで、ウエハWのノッチ部の形状に合わせた幅寸法に形成されたものである。このノッチ研磨用の研磨テープ91は、ベベル研磨用の研磨テープ84より幅寸法が小さく形成されている。なお図示及び詳細な構成の説明は省略するが、ベベル研磨部83と同様にノッチ研磨部90も、ノッチ研磨ヘッド92をウエハWのノッチ部の研磨箇所を中心に上下方向に揺動させる揺動機構を備えており、研磨時にウエハ面に対して所定角度傾斜した位置から研磨テープ91の研磨面91aを接触させることができる。従って、ウエハWのノッチ部の表面形状に沿った研磨をすることができると共に、ノッチ部を所望の角度及び形状に研磨することができる。更にノッチ研磨部90には、図示は省略するが、ウエハWのノッチ部を検知するノッチ検知機構が設けられている。
第1研磨ユニット70Aは、図7に示すようにウエハW上面及び下面それぞれの研磨箇所付近に超純水等の水(研磨水)を供給する研磨水供給ノズル95,96を備えている。また、基板保持テーブル73の上方に、ウエハW上面の中央部付近に研磨水を供給する研磨水供給ノズル97を備えている。ベベル部及びノッチ部の研磨中に研磨水供給ノズル95,96から研磨水を供給することで、研磨によって発生する粒子状の研摩屑がウエハW上面や下面へ付着することを防止できる。
研磨水供給ノズル97から供給される研磨水は、ウエハW中心部に向かって供給され、ウエハWの回転によって、ウエハWの中心部から外周部に向かって流れてゆく。このため研磨屑をウエハWの外周部の方へ押し流す作用がある。一方、下面側の研磨水供給ノズル96はウエハW裏面の基板保持テーブル73より外周側に露出した部分に研磨水を供給するようになっている。ウエハWの露出した部分に研磨水を供給することにより、研磨水がウエハWの回転により外周部に向かって流れてゆき、研磨屑を外周部の方へ押し流すことができる。
研磨水供給ノズル95,96から供給される研磨水は、研磨屑によるウエハW上下面の汚染を防止するほか、研磨時の摩擦によって発生する熱を奪う冷却作用も有している。したがって供給する研磨水の温度を調節することにより、ウエハWの研磨部位の熱を除去することができ、安定した状態で研磨を行なうことができる。
上記構成の研磨ユニット70Aにおける研磨工程を説明する。研磨対象のウエハWが筐体71内に搬入されて、基板受渡機構80に受け渡されると、アーム81,81が閉じてウエハWを狭持しセンタリングを行う。その後、基板保持テーブル73が基板受渡機構80の位置まで上昇して、アームの81,81に保持されたウエハWを真空吸着する。この真空吸着と同時にアーム81,81が開いてウエハWを放すことにより、ウエハWは基板保持テーブル73の上面に保持される。その後、ウエハWを保持した基板保持テーブル73は、図7に示す研磨位置まで下降する。そして回転駆動装置75が駆動して基板保持テーブル73と共にウエハWを回転させる。
その状態で、ベベル研磨部83の供給リール88aから研磨テープ84を供給して未使用の研磨面84aをベベル研磨ヘッド85の送りローラ86,86間に配置する。そして、移動機構によりベベル研磨ヘッド85をウエハWに向けて移動させ、研磨テープ84の研磨面84aをウエハWのベベル部に接触させて、ベベル部を研磨する。このとき、ベベル研磨部83に設けた揺動機構を駆動し、ベベル研磨ヘッド85を上下方向に揺動させながら研磨する。これによりウエハWのベベル部のみならずニアエッジ部も研磨することができる。
ウエハWのノッチ研磨を行なうには、まず、ノッチ検出機構によりウエハWのノッチ部を検出し、ウエハWを回転させることで該ノッチ部をノッチ研磨ヘッド92に位置合わせする。位置合わせが終わったら、ノッチ研磨部90の供給リール94aから研磨テープ91を供給して未使用の研磨面91aをノッチ研磨ヘッド92の送りローラ93,93間に配置する。そして、移動機構によりノッチ研磨ヘッド92をウエハWに向けて移動させ、研磨テープ91の研磨面91aをウエハWのノッチ部に接触させて、ノッチ部を研磨する。このとき、ノッチ研磨部90に設けた揺動機構を駆動し、ノッチ研磨ヘッド92を上下方向に揺動させて研磨する。さらに、研磨テープ送り機構94により研磨テープ91を小刻みに前後させてウエハWのノッチ部に摺接させて研磨してもよい。
第1研磨ユニット70Aおよび/または第2研磨ユニット70Bによって研磨されたウエハWは、次に1次洗浄ユニット100に搬送され、ここでウエハWが洗浄される。1次洗浄ユニット100は、ウエハWを回転させながら、回転する一対のロール型の洗浄部材(ロールスポンジ)をウエハWの表面および裏面に接触させてウエハWをスクラブ洗浄する。ウエハWをスクラブ洗浄する間、ウエハWには洗浄液(例えば純水)が供給されるようになっている。スクラブ洗浄後、ウエハWの上面、下面にエッチング液を供給し、ウエハWの上下面のエッチング(化学的洗浄)を行い、残留する金属イオンを除去する。
1次洗浄ユニット100により洗浄されたウエハWは、次に2次洗浄・乾燥ユニット110に送られる。この2次洗浄・乾燥ユニット110は洗浄機能付きスピン乾燥ユニットである。より具体的には、2次洗浄・乾燥ユニット110は、ウエハWを低速で回転させながら、ウエハWの上面に洗浄液(例えば純水)を供給する。この状態で、回転するペンシル型の洗浄部材をウエハWの上面に接触させてスクラブ洗浄する。スクラブ洗浄後は、ウエハWを高速で回転させてウエハWのスピン乾燥を行う。
乾燥されたウエハWは、次に測定ユニット30に送られ、ここで、ウエハWの直径が測定される。測定ユニット30は、直径計測機構に加え、ウエハWの周縁部を撮像する撮像モジュールを備えている。この撮像モジュールは、研磨されたウエハの表面状態を検査するための研磨状態検査ユニットの一部である。以下、研磨状態検査ユニットについて詳細に説明する。
図9は、研磨状態検査ユニットを示す模式図である。この研磨状態検査ユニットは、除去対象物である膜が研磨によってウエハの周縁部から除去されたか否かを画像から判断する。図9に示すように、研磨状態検査ユニットは、上記撮像モジュール131と、撮像モジュール131によって取得された画像を分析する画像処理部132とを備えている。撮像モジュール131は、ウエハWの周縁部を囲むように配置されたプリズム135と、プリズム135を通じてウエハWの周縁部を撮像する撮像カメラ136と、プリズム135と撮像カメラ136との間に配置されたフォーカスレンズユニット137とを備えている。撮像カメラ136としては、CCDなどのイメージセンサを備えたデジタルスチールカメラが使用される。撮像カメラ136と画像処理部132とは接続されており、撮像カメラ136によって取得された画像は画像処理部132に送られるようになっている。
ウエハWは、上述した基板保持回転機構61に保持される。この基板保持回転機構61は、上段チャック62及び下段チャック63を介してウエハWをその軸心回りに回転させるステップモータ150と、ウエハWの回転位置や回転角度などを検出するロータリーエンコーダ(位置検出器)151とを備えている。この実施形態では、ウエハWの絶対位置を検出するアブソリュートタイプのロータリーエンコーダ151が用いられている。撮像モジュール131は、図示しない駆動機構により、基板保持回転機構61に保持されたウエハWに近接および離間する方向に移動可能となっている。
フォーカスレンズユニット137は、光軸に配置されたレンズ140と、このレンズ140を光軸に沿って動かすフォーカス用のアクチュエータ(例えばリニアモータ)141を備えている。画像処理部132とアクチュエータ141とは電気的に接続されており、画像処理部132からの指示により、アクチュエータ141は、画像が撮像カメラ136のイメージセンサ上で結像するようにレンズ140を移動させる。画像処理部132としては、汎用のパーソナルコンピュータを使用することができる。
プリズム135とレンズ140との間にはハーフミラー142が配置されている。このハーフミラー142には光源(例えば白色LED)144からの光が照射されるようになっている。光源144とハーフミラー142との間にはレンズ145が配置されている。このレンズ145は、光源144からの光をウエハWの周縁部に導くためのものである。光源144の光は、レンズ145を通過してハーフミラー142で反射し、ウエハWの周縁部に到達する。これによりウエハWの周縁部は明るく照らされる。プリズム135は、ウエハWの周縁部の上部および下部に対向するように配置されている。このプリズム135は、光路長を補正する(光路長を変える)性質を有しており、これにより、ウエハWの周縁部の上部、中央部、および下部の各画像をイメージセンサ上に同時に結像させることができる。このような性質を有するプリズム135としては、株式会社クロビットジャパンから販売されている商品「クロビット」が好適に用いられる。
以下、プリズム135の機能について詳細に説明する。図10は、画像の光路を説明するための模式図である。図10において、面Aは撮像カメラ136のイメージセンサの表面を表し、面Bはレンズ140の中心を通る平面を表し、面CはウエハWのベベル部の側部(アペックス)を表し、面Dはベベル部の上側傾斜部および下側傾斜部を表している。面A,B,Cは互いに平行である。面Aと面Cは、レンズ140によって共役関係である。つまり、面C上の画像は面A上に像を結ぶ。面D上の画像は、プリズム135の中で一度反射され、レンズ140に向かう。面Cから面Aまでの光路長d1と、プリズム135を通した面Dから面Aまでの光路長d2,d3とは、光学的に互いに等しい。これは、プリズム135によって光路長d2,d3が補正(短縮)されているからである。言い換えれば、本実施形態では、光路長d1と光路長d2,d3とが互いに等しくなるようなプリズム135が採用される。光路長d1と光路長d2,d3とが互いに等しいので、C面の画像およびD面の画像は、レンズ140によって面A(すなわちイメージセンサの表面)上に結像する。
面Dの角度はウエハのベベル部の角度のことであり、ウエハの種類または研磨状態によって変わりうる。このため、面A上に像を結んだときに面Dと面Aとが必ずしも平行であるとは限らず、面D全体が面A上で合焦しないことがある。この場合は、面Dと面Aとの間に配置される光学系の焦点深度を深くすれば、面Dの像を面A上で結ぶことができる。この焦点深度を変化させる手段の一例は、レンズ140に隣接して絞りを設置することである。具体的には、図10において、レンズ140の左側に絞りが配置される。この絞りの孔を小さくすることにより、焦点深度を深くすることができる。
ウエハWの周縁部の上部、中央部、および下部の各画像は、平面上に展開した画像として取得される。ウエハWの周縁部の上部および下部の画像は、プリズム135を通じて撮像カメラ136によって取得される。一方、ウエハWの周縁部の中央部の画像は、プリズム135を通さずに撮像カメラ136によって取得される。上述したように、プリズム135を通過することによって、周縁部の上部および下部と撮像カメラ136との間の光路長と、周縁部の中央部と撮像カメラ136との間の光路長とは、互いに等しくなる。したがって、撮像カメラ136によって、ウエハWの周縁部を多方向から同時に撮像することができる。ここで、より良好な画像を取得するために、撮像カメラ136のイメージセンサのほぼ全面に画像が結像するような倍率のレンズ140を使用することが好ましい。
次に、上述した撮像モジュール131を用いてウエハWの周縁部を撮像する方法について説明する。画像の撮像方法の例としては、ウエハWを断続的に回転させながら周縁部の静止画像を取得するステップ・アンド・リピート方式と、ウエハWを連続的に回転させながら周縁部の積算画像を取得するスキャン方式とが挙げられる。以下、それぞれの方式について説明する。
図11はステップ・アンド・リピート方式でのウエハの撮像位置の例を示す図であり、図12はステップ・アンド・リピート方式の動作シーケンスを示すフローチャートである。
図11に示すように、この方式では、ウエハWの周縁部上での複数の撮像位置が予め設定されている。
画像処理部132はステップモータ150に指令信号を送り、ウエハWを回転させる(ステップ1)。ウエハWの回転位置はロータリーエンコーダ151により計測される(ステップ2)。回転するウエハWが所定の撮像位置に達すると、ウエハWの回転を停止させる。そして、撮像カメラ136によりウエハWの周縁部を撮像する(ステップ3)。取得された画像は、画像処理部132に送られ、画像処理部132のメモリー(記憶装置)に保存される(ステップ4)。画像処理部132は、後に説明する画像処理方法に従って画像を処理し、残膜の有無を検査する(ステップ5)。検査結果は画像処理部132のメモリーに保存される(ステップ6)。各撮影位置は、ウエハWの回転位置または回転角度に関連づけられて画像処理部132に登録される。画像が取得された位置を示す情報はロータリーエンコーダ151から画像処理部132に送られ、その位置情報が画像と共にメモリーに保存される。したがって、撮像された画像から、残膜の位置や大きさ(面積)などの情報が得られる。残膜の有無や残膜の位置などの情報は検査結果としてメモリーに保存される。
上述したウエハWの回転(ステップ1)から検査結果の保存(ステップ6)までの工程は、全ての撮像位置での検査が完了するまで繰り返えされる。このようにしてウエハWの回転の回転と停止とを繰り返しながら、ウエハWの周縁部の静止画像が取得される。撮像位置はウエハWの周縁部の一部のみでもよく、またはウエハWの全周に亘って散発的に設定してもよい。ただし、検査結果の信頼性の観点から、ウエハWの全周に亘って撮像位置を設定することが好ましい。
図13はスキャン方式でのウエハの撮像位置を示す図であり、図14はスキャン方式の動作シーケンスを示すフローチャートである。
この方式では、ウエハWの周縁部がその全周に亘って撮像される。画像処理部132はステップモータ150に指令信号を送り、ウエハWを回転させる(ステップ1)。ウエハWの回転位置はロータリーエンコーダ151により計測される(ステップ2)。
ウエハWの回転と同時に撮像カメラ136によりウエハWの周縁部を撮像する(ステップ3)。ウエハWが回転している間、撮像カメラ136のイメージセンサは露光され続ける。上段チャック62の爪部62aがプリズム135に近接すると、撮像モジュール131は撮像を停止し、一時的にウエハWから退避する。上段チャック62の爪部62aがプリズム135を通過すると、撮像モジュール131がウエハWに近づき、再びウエハWの周縁部の撮像を開始する。このような撮像モジュール131の撮像および退避動作は、ウエハWが一周するまで継続される。取得された画像は画像処理部132に送られ、画像処理部132のメモリーに保存される。図13(a)に示す例では、上段チャック62は4つの爪部62aを有しているので、撮像カメラ136は4回撮像を繰り返して、4つの領域F1、F2,F3,F4の画像を取得する。
撮像が終わった後、ウエハWの回転が停止され、撮像モジュール131は一旦退避する。その後、下段チャック63が上昇し、ウエハWが上段チャック62から下段チャック63に持ち替えられる。この状態で、上段チャック62が45度回転し、その後、下段チャック63が下降する。これにより、ウエハWは異なる位置で上段チャック62により把持される(ステップ4)。そして、撮像モジュール131がウエハWに近づき、ウエハWが回転すると同時に撮像が開始される。撮像モジュール131は、上述と同じように、撮像と退避動作をウエハWが一周するまで繰り返す(ステップ5)。すなわち、図13(b)に示すように、撮像カメラ136は4回撮像を繰り返して、上記領域F1〜F4に重複する4つの領域F5、F6,F7,F8の画像を取得する。このようにして、ウエハWの周縁部全体が撮像される。取得された画像は画像処理部132に送られ、画像処理部132のメモリーに保存される。
このスキャン方式では、ウエハWを回転させながらイメージセンサを露光させているので、ウエハWの周縁部の積算画像が取得される。画像処理部132は、後に説明する画像処理方法に従って画像を処理し、残膜の有無を検査する(ステップ6)。検査結果は画像処理部132のメモリーに保存される(ステップ7)。
ここで、撮像カメラ136としてラインスキャンカメラを用いることができる。ラインスキャンカメラとは、ライン状の画像を連続的に撮像し、その画像を順次並べていくことで横長の画像を得るカメラである。この場合も、画像が取得された位置を示す情報がロータリーエンコーダ151から画像処理部132に送られ、その位置情報が画像と共にメモリーに保存される。このようなラインスキャンカメラを用いることで、残膜の正確な位置や大きさを特定することが可能となる。
ステップ・アンド・リピート方式とスキャン方式とは組み合わせてもよい。例えば、スキャン方式により高速で検査を行い、次いでステップ・アンド・リピート方式によって、より正確な検査を行うことができる。残膜の位置や大きさを観察するためには、ウエハの静止画像を取得することが必要とされる。したがって、この場合は、上述したステップ・アンド・リピート方式を用いるか、またはスキャン方式とインラインスキャンカメラとの組み合わせが用いられる。
また、ステップ・アンド・リピート方式によって比較的少ない撮像位置で高速に検査を行い、次に残膜のある位置や大きさなどを正確に検査するために比較的多くの撮像位置で再検査してもよい。同様に、スキャン方式によって高速な検査と正確な検査を含む多段階検査を行うこともできる。
画像処理部132は画像表示部を備えており、メモリーに保存されている画像を表示することができるようになっている。なお、画像表示部は、画像処理部132から独立して設けてもよい。画像は、上述したように、画像の位置を示すウエハWの回転位置または回転角度に関連付けられてメモリーに保存されている。したがって、所望の位置の画像を画像表示部に表示することが可能である。さらに、ある位置で膜が残存していると判定された場合に、その位置の画像を撮像モジュール131によって再度取得し、その画像を画像表示部に表示させることも可能である。
次に、画像処理部132による画像処理および研磨状態検査の方法について説明する。以下に説明する例では、上述した研磨ユニットを用いて、図15に示すように、ウエハWのベベル部を5つのエリアA1,A2,A3,A4,A5に分けて5段階研磨が行われる。すなわち、ベベル研磨ヘッド85を図8(a)乃至図8(c)に示すように傾けて、各エリアA1〜A5を順次研磨する。なお、この例では、ベベル部を研磨しているが、さらにニアエッジ部も同様に研磨することができる。研磨されたウエハWは、1次洗浄ユニット100により洗浄され、さらに2次洗浄・乾燥ユニット110により洗浄され、乾燥される。乾燥されたウエハWは測定ユニット30に送られ、ここで、上述したようにウエハWの周縁部の画像が撮像モジュール131によって取得される。
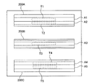
図16は、撮像モジュールによって撮像されたウエハの周縁部の画像を示す模式図である。符号200Aは上側のプリズム135を通して取得されたウエハの周縁部の画像であり、符号200Bはプリズム135を介さないで取得されたウエハの周縁部の画像であり、符号200Cは下側のプリズム135を通して取得されたウエハの周縁部の画像である。
図16に示すように、ベベル部の上部に位置するエリアA1,A2の画像は上側のプリズム135を通して撮像カメラ136により取得され、ベベル部の中央部に位置するエリアA3の画像はプリズム135を介さないで撮像カメラ136により取得され、ベベル部の下部に位置するエリアA4,A5の画像は下側のプリズム135を通して撮像カメラ136により取得される。撮像カメラ136は、3つの画像200A,200B,200Cを1つの視野内で同時に撮像することが可能であり、かつフォーカス調整も同時に行える。
各エリアA1〜A5には、画像処理部132が監視すべき特定の領域(以下、ターゲット領域T1,T2,T3,T4,T5という)がそれぞれ設定されている。画像処理部132は、これらターゲット領域T1〜T5の色を監視し、色の変化に基づいて膜が除去されているか否かを検知する。なお、ターゲット領域T1〜T5としては、各エリアA1〜A5の研磨状態を最もよく表す部分が選択される。1つのエリアにおいて複数のターゲット領域を設定することもできる。
次に、画像処理部132が画像を処理して膜が除去されているか否かを判定する方法について説明する。
上述したように、画像処理部132は、ターゲット領域の色の変化に基づいて膜除去を判断する。画像処理部132には、予めターゲット色が登録されており、画像処理部132は、ターゲット領域の色が、登録されている所定のターゲット色に一致するときには、ウエハWから膜が除去されたと判定する。より詳しくは、画像処理部132は、ターゲット領域におけるターゲット色の画素の数が増加して所定の閾値を上回ったとき、またはターゲット領域におけるターゲット色の画素の数が減少して所定の閾値を下回ったとき、ウエハWから膜が除去されたと判定する。
通常、ターゲット色は、研磨によって表出する色(例えばシリコンの色)、または除去対象物の色(例えばSiO,SiNの色)のいずれかから選択することが多い。また、色の選択は1つに限らず、複数の色を選択することもできる。図17は、ターゲット色の設定に用いられるカラーチャートおよび明度チャートを示す図である。図17に示すように、カラーチャートは、色相の分布を示す横軸と、彩度を示す縦軸とを有している。明度チャートは、明るさの度合いを示す縦軸を有している。ターゲット色は、カラーチャートおよび明度チャートの中に置かれたスコープS1,S2によって指定された色情報(色相、彩度、明度)によって決定することができる。
ここで、図18を参照して、ターゲット色としてシリコンの色を選択した場合の膜除去判定プロセスを説明する。
まず、画像処理部132にターゲット色としてシリコンの色(通常は白)を登録する(ステップ1)。上述したように、色の選択は1つに限らず、複数の色を選択することができる。次に、ターゲット領域を指定する(ステップ2)。そして、ターゲット領域内におけるターゲット色の画素の数Nが所定の閾値Pを上回っている場合は、画像処理部132は研磨によって膜が除去されたと判断する。これは、研磨によって膜が除去されると、下地層のシリコンの色が表出するからである。一方、ターゲット領域内におけるターゲット色の画素の数Nが所定の閾値P以下である場合は、画像処理部132は膜がウエハW上に残存していると判断する(ステップ3)。
図19は、ターゲット色として除去すべき膜の色を選択した場合の膜除去判定プロセスを示すダイヤグラムである。
図19に示すように、まず、画像処理部132にターゲット色として除去対象膜の色を登録する(ステップ1)。この場合も、色の選択は1つに限らず、複数の色を選択することもできる。次に、ターゲット領域を指定する(ステップ2)。そして、ターゲット領域内におけるターゲット色の画素の数Nが所定の閾値Pを下回っている場合は、画像処理部132は研磨によって膜が除去されたと判断する。これは、研磨によって膜が除去されると、膜の色が消えるからである。一方、ターゲット領域内におけるターゲット色の画素の数Nが所定の閾値P以上である場合は、画像処理部132は膜がウエハW上に残存していると判断する(ステップ3)。
画像処理部132の検査結果は研磨条件決定部に送られ、研磨条件の決定に提供される。例えば、画像処理部132がウエハに膜が残存していると判定した場合は、次に研磨されるウエハの研磨条件(例えば、研磨時間や研磨テープを押し当てる力など)に反映させる。検査結果は5つのエリアA1,A2,A3,A4,A5ごとに得られるので、検査結果に応じてこれら5つのエリアごとに研磨条件を変えることができる。また、膜が残存しているウエハは再度研磨ユニット70Aまたは70Aに送られ、再研磨されることが好ましい。この場合の研磨時間は1回目の研磨時間よりも短く設定することができる。
以上説明した例は、取得された画像の色の変化から研磨状態を検査する方法であるが、取得された画像からウエハの周縁部の表面粗さを検出することもできる。以下、ウエハの周縁部の表面粗さを検出する方法について説明する。
表面粗さを検出するためには、ウエハの静止画像を取得することが好ましい。したがって、表面粗さ検出方法では、上述したステップ・アンド・リピート方式を用いるか、またはスキャン方式とインラインスキャンカメラとの組み合わせを用いることが好ましい。
撮像カメラ136で取得された画像は画像処理部132に送られ、ここで画像処理が行われる。具体的には、取得された画像からターゲット領域(T1〜T5)の画像を切り出し、この切り出されたカラー画像を白黒画像に変換する。次に、表面粗さを強調させるために、微分フィルタにより画像を微分処理する。そして、得られた画像をヒストグラム上に表示する。ヒストグラムは、輝度を表す横軸と、画素の数を表す縦軸とを有する。
図20(a)はウエハの周縁部の表面が粗いときの画像であって、微分処理した画像を示す模式図であり、図20(b)は図20(a)に示す画像を数値化したヒストグラムである。図20(a)に示すように、ウエハWの被研磨面が粗い場合は、表面の凹凸を示す白い部分が画像に現れる。この表面粗さは数値としてヒストグラム上に表すことができる。すなわち、被研磨面が粗い場合は、画像に白い部分が多く現れ、その結果、ヒストグラム上では輝度の高い画素の数が多くなる。
一方、図21(a)はウエハの周縁部の表面が滑らかなときの画像であって、微分処理した画像を示す模式図であり、図21(b)は図21(a)に示す画像を数値化したヒストグラムである。図21(a)に示すように、ウエハWの被研磨面が滑らかな場合は、表面の凹凸を示す白い部分がほとんど画像に現れない。その結果、ヒストグラム上では輝度の低い画素の数が多くなる。したがって、画像処理部132は、所定の輝度の画素の数が予め設定された値を上回ったとき(例えば輝度0〜64の画素の数が1000を超えたとき)、または下回ったときに(例えば輝度64以上の画素の数が10を下回ったとき)、ウエハWの周縁部の表面が滑らかになったと判断することができる。
次に、撮像モジュール131の変形例について図22を参照して説明する。図22に示すように、この変形例では、プリズム135を用いずに、複数の撮像カメラによりウエハWの周縁部を多方向から撮像する。図22に示すように、この撮像モジュール131は、複数の末端撮像部(例えば対物レンズ)160A,160B,160Cと、これらの末端撮像部160A,160B,160Cに光ファイバーを介してそれぞれ連結される撮像カメラ136A,136B,136Cとを有している。
末端撮像部160AはウエハWの上方に配置され、末端撮像部160BはウエハWの側方に配置され、末端撮像部160CはウエハWの下方に配置されている。末端撮像部160A〜160Cに隣接して照明部163A,163B,163C,163Dが配置されている。末端撮像部160A〜160Cおよび照明部163A〜163Dは支持部材165に固定されている。図22には図示されていないが、各撮像カメラ136A〜136Cは画像処理部132に接続されている。
これら末端撮像部160A〜160Cおよび照明部163A〜163DはいずれもウエハWの周縁部を向いている。より詳しくは、末端撮像部160Aは周縁部の上部を向き、末端撮像部160Bは周縁部の中央部を向き、末端撮像部160Cは周縁部の下部を向いている。このような構成により、ウエハWの周縁部の上部、中央部、および下部の画像が各末端撮像部160A〜160Cを介して撮像カメラ136A〜136Cにより取得される。取得された画像は画像処理部132に送られ、上述した方法に従って処理される。
図23(a)は、撮像モジュールの更なる変形例を示す模式図である。この例では、図9に示す撮像モジュール131に加え、ウエハWの裏面を撮像する第2の撮像モジュール170が設けられている。この第2の撮像モジュール170は、上述したプリズム135に代えて、ミラー171を有している。第2の撮像モジュール170は、第1の撮像モジュール131よりも広い視野(撮像領域)を有している。その他の構成は、第1の撮像モジュール131と同一である。ミラー171は第2の撮像モジュール170の撮像カメラ(図9参照)と一体に移動可能となっている。ウエハWの裏面の画像はミラーで反射して方向を変え、第2の撮像モジュール170によって撮像される。なお、図示されていないが、ウエハWは基板保持回転機構61によって保持されている。
図23(b)は、第2の撮像モジュール170によって撮像される領域を示す模式図である。第2の撮像モジュール170によって撮像される領域は、ベベル部よりも径方向内側に位置する平坦面(バックニアエッジ部を含む面)である。この領域の幅は、約6mmである。第2の撮像モジュール170は第1の撮像モジュール131と連動して動き、同様のタイミングで撮像する。第2の撮像モジュール170によって取得された画像は画像処理部132に送られ、上述した方法に従って処理される。
上述した実施形態では、撮像モジュール131は測定ユニット30に組み込まれているが、本発明はこの配置に限定されない。例えば、上記撮像モジュール131と上記基板保持回転機構61とを他のユニットから独立した1つのユニットとして設けてもよい。基板保持回転機構は、チャックで把持するタイプ以外にも、ウエハの裏面を吸着するタイプを用いることもできる。
基板処理装置に組み込まれる測定ユニットの他の例としては、ウエハの形状や温度などの他の物理量を計測する測定ユニットが挙げられる。このようなドライな状況でウエハの所定の物理量を計測する測定ユニットにも上記撮像モジュール131を設けることができる。また、乾燥処理などの後処理ユニットに上記撮像モジュール131を設けることができる。例えば、2次洗浄・乾燥ユニット110に撮像モジュール131を組み込み、ウエハWを乾燥した後に研磨状態を検査するようにしてもよい。さらに、複数の撮像カメラおよび末端撮像部を設ける場合は、複数のユニット(例えば、測定ユニット30と2次洗浄・乾燥ユニット110)に分けて撮像カメラおよび末端撮像部を設けることもできる。
撮像モジュール131は、洗浄および乾燥した後のウエハWを検査することが好ましいが、本発明はこれに限定されない。例えば、撮像モジュール131を第1研磨ユニット70Aおよび/または第2研磨ユニット70Bの内部に設けてもよい。この場合は、ベベル研磨ヘッド85がウエハWを研磨しているときは、撮像モジュール131はウエハWから離れた位置で待機し、ベベル研磨ヘッド85がウエハWから離間したときに、撮像モジュール131がウエハWに近づいてウエハWの周縁部を撮像する。このような構成によれば、複数のベベル研磨ヘッド85をウエハWの周りに配置しても、ベベル研磨ヘッド85と撮像モジュール131とが接触することはなく、それぞれの処理が阻害されることはない。
In-Line型の撮像モジュール131は、研磨処理が行われていないときにウエハWの画像を取得する。例えば、ウエハWの研磨が終わった後に、研磨ユニットの内部または外部に配置された撮像モジュール131によってウエハWの周縁部が撮像される。または、ウエハWの研磨を一旦中断して、研磨ユニット内に配置された撮像モジュール131によりウエハWの周縁部を撮像し、撮像終了後に再びウエハWを研磨してもよい。
上述した実施形態は、本発明が属する技術分野における通常の知識を有する者が本発明を実施できることを目的として記載されたものである。上記実施形態の種々の変形例は、当業者であれば当然になしうることであり、本発明の技術的思想は他の実施形態にも適用しうることである。したがって、本発明は、記載された実施形態に限定されることはなく、特許請求の範囲によって定義される技術的思想に従った最も広い範囲とすべきである。
図1(a)および図1(b)は、半導体ウエハ等の基板の周縁部を示す部分拡大断面図である。 本発明の一実施形態に係る基板処理装置の全体構成を示す概略平面図である。 図3(a)は測定ユニットが備える基板保持回転機構を示す概略斜視図であり、図3(b)は基板保持回転機構の概略平面図である。 図4(a)及び図4(b)は基板保持回転機構の動作を説明するための図である。 測定ユニットを示す概略斜視図である。 図6(a)は、測定ユニットの概略平面図であり、図6(b)は、図6(a)のVI方向矢視図である。 第1研磨ユニットの概略側断面図である。 ベベル研磨時のベベル研磨ヘッドの動きを説明するための図である。 研磨状態検査ユニットを示す模式図である。 画像の光路を説明するための模式図である。 ステップ・アンド・リピート方式でのウエハの撮像位置を示す図である。 ステップ・アンド・リピート方式の動作シーケンスを示すフローチャートである。 スキャン方式でのウエハの撮像位置を示す図である。 スキャン方式の動作シーケンスを示すフローチャートである。 ウエハのベベル部を5つの領域に区分けした図である。 撮像モジュールによって撮像されたウエハの周縁部の画像を示す模式図である。 ターゲット色の設定に用いられるカラーチャートおよび明度チャートを示す図である。 ターゲット色としてシリコンの色を選択した場合の膜除去判定プロセスを説明するダイヤグラムである。 ターゲット色として除去すべき膜の色を選択した場合の膜除去判定プロセスを示すダイヤグラムである。 図20(a)はウエハの周縁部の表面が粗いときの画像であって、微分処理した画像を示す模式図であり、図20(b)は図20(a)に示す画像を数値化したヒストグラムである。 図21(a)はウエハの周縁部の表面が滑らかなときの画像であって、微分処理した画像を示す模式図であり、図21(b)は図21(a)に示す画像を数値化したヒストグラムである。 撮像モジュールの変形例を示す図である。 図23(a)は撮像モジュールの更なる変形例を示す図であり、図23(b)は、第2の撮像モジュールによって撮像される領域を示す模式図である。
符号の説明
1 基板処理装置
2 クリーンルーム
3a ハウジング
3 側壁
10 ロードアンロードポート
11A,11B ウエハ供給回収装置
12A,12B ウエハカセット
20A 第1搬送ロボット
20B 第2搬送ロボット
30 測定ユニット
31 センサ機構
32 投光装置
33 受光装置
34 レーザー光
61 基板保持回転機構
62 上段チャック
62a 爪部
63 下段チャック
63a 爪部
64 回転軸
70A 第1研磨ユニット
70B 第2研磨ユニット
71 筐体
72 基板保持回転部
73 基板保持テーブル
73a 溝部
73b 連通路
74 支持軸
74a 連通路
75 回転駆動装置
76 真空ライン
77 圧縮空気供給ライン
78 吸着パッド
80 基板受渡機構
81 アーム
82 コマ
83 ベベル研磨部
84 研磨テープ
84a 研磨面
85 ベベル研磨ヘッド
86,86 送りローラ
87 基部
88 研磨テープ送り機構
88a 供給リール
88b 回収リール
89 芯材
90 ノッチ研磨部
91 研磨テープ
91a 研磨面
92 ノッチ研磨ヘッド
93,93 送りローラ
94 研磨テープ送り機構
94a 供給リール
94b 回収リール
95,96 研磨水供給ノズル
97 研磨水供給ノズル
100 1次洗浄ユニット
110 2次洗浄・乾燥ユニット
131 撮像モジュール
132 画像処理部
135 プリズム
136 撮像カメラ
137 フォーカスレンズユニット
140 レンズ
141 アクチュエータ
142 ハーフミラー
144 光源
145 レンズ
150 ステップモータ
151 ロータリーエンコーダ
160A〜160C 末端撮像部
163A〜163D 照明部
165 支持部材
171 ミラー

Claims (19)

  1. 基板の周縁部を研磨する研磨ユニットと、
    前記研磨ユニットにより研磨された基板の周縁部を撮像する撮像モジュールと、
    前記撮像モジュールにより撮像された画像から基板の研磨状態を検査する画像処理部とを備え、
    前記撮像モジュールは、前記研磨ユニットが基板の周縁部を研磨していないときに前記基板の周縁部を撮像することを特徴とする基板処理装置。
  2. 前記基板処理装置は、前記研磨ユニットの研磨条件を決定する研磨条件決定部をさらに備え、
    前記画像処理部の検査結果は前記研磨条件決定部に送られ、
    前記研磨条件決定部は前記検査結果に基づいて前記研磨ユニットでの研磨条件を決定することを特徴とする請求項1に記載の基板処理装置。
  3. 前記撮像モジュールは、基板の周縁部を多方向から撮像することを特徴とする請求項1に記載の基板処理装置。
  4. 前記撮像モジュールは、基板の周縁部に近接して配置されたプリズムと、前記プリズムを通じて基板の周縁部を撮像する撮像カメラとを備えていることを特徴とする請求項3に記載の基板処理装置。
  5. 前記撮像モジュールは、複数の撮像カメラを有していることを特徴とする請求項3に記載の基板処理装置。
  6. 前記画像処理部は、前記撮像モジュールによって取得された画像の色に基づいて基板の周縁部の研磨状態を検査することを特徴とする請求項1に記載の基板処理装置。
  7. 前記画像処理部は、
    前記撮像モジュールにより取得された画像の色を数値に表し、
    前記数値が予め設定された閾値を上回ったとき、または下回ったときに、除去すべき対象物が前記周縁部から除去されたと判断することを特徴とする請求項6に記載の基板処理装置。
  8. 前記基板処理装置は、基板をその中心軸回りに回転させる基板保持回転機構をさらに備え、
    前記撮像モジュールは、前記基板回転機構によって保持された基板の周縁部に近接して配置されており、
    前記基板保持回転機構によって基板を断続的または連続的に回転させながら、前記撮像モジュールは基板の周縁部を撮像することを特徴とする請求項1に記載の基板処理装置。
  9. 前記撮像モジュールは、基板の周縁部の静止画像を取得することを特徴とする請求項8に記載の基板処理装置。
  10. 前記撮像モジュールは、基板の周縁部の積算画像を取得することを特徴とする請求項8に記載の基板処理装置。
  11. 前記撮像モジュールは、ラインスキャンカメラを有していることを特徴とする請求項8に記載の基板処理装置。
  12. 前記撮像モジュールは、視野の異なる複数のカメラを有していることを特徴とする請求項1に記載の基板処理装置。
  13. 前記基板処理装置は、前記研磨ユニットによって研磨された基板の所定の物理量を測定する測定ユニットをさらに備えており、
    前記撮像モジュールは、前記測定ユニットに組み込まれていることを特徴とする請求項1に記載の基板処理装置。
  14. 前記測定ユニットは、基板をその中心軸回りに回転させる基板保持回転機構を有しており、
    前記撮像モジュールは、前記基板保持回転機構によって保持された基板の周縁部に近接して配置されていることを特徴とする請求項13に記載の基板処理装置。
  15. 前記基板処理装置は、前記研磨ユニットによって研磨された基板を後処理する少なくとも1つの後処理ユニットをさらに備えており、
    前記撮像モジュールは、前記少なくとも1つの後処理ユニットに組み込まれていることを特徴とする請求項1に記載の基板処理装置。
  16. 前記少なくとも1つの後処理ユニットは、基板をその中心軸回りに回転させる基板保持回転機構を有しており、
    前記撮像モジュールは、前記基板保持回転機構によって保持された基板の周縁部に近接して配置されていることを特徴とする請求項15に記載の基板処理装置。
  17. 前記基板処理装置は、前記画像処理部の検査結果を保存する記憶装置をさらに備えることを特徴とする請求項1に記載の基板処理装置。
  18. 前記基板処理装置は、
    前記撮像モジュールによって取得された画像を保存する記憶装置と、
    前記記憶装置に保存された画像を表示する画像表示部とをさらに備えることを特徴とする請求項1に記載の基板処理装置。
  19. 前記記憶装置は、前記画像が取得された位置を示す情報を該画像と共に保存し、
    前記画像表示部は、要求された位置の画像を表示するように構成されることを特徴とする請求項18に記載の基板処理装置。
JP2008191882A 2008-07-25 2008-07-25 基板処理装置 Active JP5160993B2 (ja)

Priority Applications (2)

Application Number Priority Date Filing Date Title
JP2008191882A JP5160993B2 (ja) 2008-07-25 2008-07-25 基板処理装置
US12/458,814 US8414355B2 (en) 2008-07-25 2009-07-23 Substrate processing apparatus

Applications Claiming Priority (1)

Application Number Priority Date Filing Date Title
JP2008191882A JP5160993B2 (ja) 2008-07-25 2008-07-25 基板処理装置

Publications (3)

Publication Number Publication Date
JP2010034118A true JP2010034118A (ja) 2010-02-12
JP2010034118A5 JP2010034118A5 (ja) 2010-12-16
JP5160993B2 JP5160993B2 (ja) 2013-03-13

Family

ID=41569066

Family Applications (1)

Application Number Title Priority Date Filing Date
JP2008191882A Active JP5160993B2 (ja) 2008-07-25 2008-07-25 基板処理装置

Country Status (2)

Country Link
US (1) US8414355B2 (ja)
JP (1) JP5160993B2 (ja)

Cited By (6)

* Cited by examiner, † Cited by third party
Publication number Priority date Publication date Assignee Title
KR101868786B1 (ko) * 2017-08-08 2018-06-19 김인수 휴대기기 글라스 성형용 금형의 제조장치
JP2019062011A (ja) * 2017-09-25 2019-04-18 東京エレクトロン株式会社 基板処理装置
JP2021015873A (ja) * 2019-07-11 2021-02-12 株式会社荏原製作所 研磨装置および研磨方法
JP2021133497A (ja) * 2020-02-26 2021-09-13 上海東競自動化系統有限公司 表面傷を修復する方法及び装置
WO2024224992A1 (ja) * 2023-04-28 2024-10-31 株式会社Screenホールディングス 撮像装置、基板観察装置、基板処理装置および撮像方法
TWI898454B (zh) * 2024-02-29 2025-09-21 東台精機股份有限公司 晶圓研磨裝置及晶圓研磨方法

Families Citing this family (16)

* Cited by examiner, † Cited by third party
Publication number Priority date Publication date Assignee Title
JP5254575B2 (ja) * 2007-07-11 2013-08-07 株式会社東芝 研磨装置および研磨方法
KR101236472B1 (ko) * 2007-10-15 2013-02-22 삼성전자주식회사 웨이퍼 베벨 영역 폴리싱 장치 및 그 장치에서의 연마종말점 검출 방법
JP5393039B2 (ja) 2008-03-06 2014-01-22 株式会社荏原製作所 研磨装置
US20100105290A1 (en) * 2008-10-24 2010-04-29 Applied Materials, Inc. Methods and apparatus for indicating a polishing tape end
FR2975940A1 (fr) * 2011-05-31 2012-12-07 Forest Line Capdenac Procede de controle du jeu entre bandes deposees par une tete de drapage et sous-ensemble de tete de drapage a dispositif de controle embarque.
JP5976331B2 (ja) * 2012-02-03 2016-08-23 株式会社ディスコ 研削装置
JP6140439B2 (ja) * 2012-12-27 2017-05-31 株式会社荏原製作所 研磨装置、及び研磨方法
JP6100002B2 (ja) * 2013-02-01 2017-03-22 株式会社荏原製作所 基板裏面の研磨方法および基板処理装置
JP6071611B2 (ja) * 2013-02-13 2017-02-01 Mipox株式会社 オリエンテーションフラット等切り欠き部を有する、結晶材料から成るウエハの周縁を、研磨テープを使用して研磨することにより円形ウエハを製造する方法
JP2014200888A (ja) * 2013-04-05 2014-10-27 ローム株式会社 吸引保持装置およびウエハ研磨装置
JP6327329B1 (ja) * 2016-12-20 2018-05-23 株式会社Sumco シリコンウェーハの研磨方法およびシリコンウェーハの製造方法
JP6920849B2 (ja) * 2017-03-27 2021-08-18 株式会社荏原製作所 基板処理方法および装置
JP6713015B2 (ja) * 2018-04-13 2020-06-24 株式会社大気社 自動研磨システム
CN109604116B (zh) * 2018-11-29 2021-04-09 安徽荣泽科技有限公司 一种全自动特种胶带涂布机
JP7282461B2 (ja) * 2019-04-16 2023-05-29 株式会社ディスコ 検査装置、及び加工装置
JP2025083039A (ja) * 2023-11-20 2025-05-30 株式会社荏原製作所 基板処理装置および基板処理方法

Citations (8)

* Cited by examiner, † Cited by third party
Publication number Priority date Publication date Assignee Title
JP2000114329A (ja) * 1998-09-29 2000-04-21 Yuhi Denshi Kk 基板端部の研削面の検査方法とその装置
JP2002208572A (ja) * 2001-01-09 2002-07-26 Ebara Corp 研磨装置
JP2005191179A (ja) * 2003-12-25 2005-07-14 Trecenti Technologies Inc 半導体装置の製造方法および研磨装置
JP2005217139A (ja) * 2004-01-29 2005-08-11 Dainippon Screen Mfg Co Ltd 画像取得装置および画像取得方法
JP2006220540A (ja) * 2005-02-10 2006-08-24 Central Glass Co Ltd ガラス板の端面の欠陥検出装置および検出方法
WO2006112530A1 (en) * 2005-04-19 2006-10-26 Ebara Corporation Substrate processing apparatus
JP2007155448A (ja) * 2005-12-02 2007-06-21 Olympus Corp 端面検査装置
JP2009111079A (ja) * 2007-10-29 2009-05-21 Toshiba Corp 基板の周縁部の処理方法および装置

Family Cites Families (23)

* Cited by examiner, † Cited by third party
Publication number Priority date Publication date Assignee Title
US4319270A (en) * 1979-01-12 1982-03-09 Kobe Steel, Ltd. Surface inspection system for hot radiant material
IT1262263B (it) * 1993-12-30 1996-06-19 Delle Vedove Levigatrici Spa Procedimento di levigatura per profili curvi e sagomati e macchina levigatrice che realizza tale procedimento
JPH07276229A (ja) 1994-04-01 1995-10-24 Nippon Steel Corp 半導体ウエハエッジ部研磨装置
JPH08243891A (ja) * 1995-03-07 1996-09-24 Kao Corp 基板のチャンファ加工装置
US5604583A (en) * 1995-03-20 1997-02-18 Bausch & Lomb Incorporated Computer vision inspection station
JP3580600B2 (ja) * 1995-06-09 2004-10-27 株式会社ルネサステクノロジ 半導体装置の製造方法およびそれに使用される半導体ウエハ並びにその製造方法
JP2999712B2 (ja) 1996-03-29 2000-01-17 住友金属工業株式会社 端部欠陥検査方法とその装置
JP2000512564A (ja) * 1996-06-15 2000-09-26 ウノバ・ユー・ケイ・リミテッド プラットホームに柔軟に取付けられた研削マシンスピンドル
DE19727226A1 (de) * 1997-04-10 1998-10-22 Fraunhofer Ges Forschung Meßanordnung und Verfahren zum berührungslosen Erfassen der 3-dimensionalen Raumform einer Brillenfassungsnut
DE19804542C5 (de) * 1998-02-05 2009-04-30 Wernicke & Co Gmbh Verfahren und Vorrichtung zum Bearbeiten von Brillengläsern
JP3425590B2 (ja) 1998-06-04 2003-07-14 三菱住友シリコン株式会社 端部傷検査方法およびその装置
CA2243090A1 (en) * 1998-07-10 2000-01-10 Timothy M. Richardson Inverted darkfield contrast microscope and method
GB2351684B (en) * 1999-07-03 2001-07-11 Unova Uk Ltd Improvement in and relating to edge grinding
DE10119662C2 (de) * 2001-04-20 2003-04-10 Loh Optikmaschinen Ag Verfahren zur Randbearbeitung von optischen Linsen
JP3949941B2 (ja) 2001-11-26 2007-07-25 株式会社東芝 半導体装置の製造方法および研磨装置
JP2003209075A (ja) 2002-01-15 2003-07-25 Speedfam Co Ltd ウェハエッジ研磨システム及びウェハエッジ研磨制御方法
JP3629244B2 (ja) 2002-02-19 2005-03-16 本多エレクトロン株式会社 ウエーハ用検査装置
KR100798322B1 (ko) * 2002-03-21 2008-01-28 엘지.필립스 엘시디 주식회사 액정 패널의 연마량 보정 장치 및 방법
FR2838364B1 (fr) * 2002-04-12 2005-01-07 Essilor Int Procede de chanfreinage d'une lentille ophtalmique comporatnt une etape de releve sans contact
KR100832297B1 (ko) * 2002-12-17 2008-05-26 엘지디스플레이 주식회사 액정 표시패널의 연마량 측정장치 및 측정방법
JP4125148B2 (ja) 2003-02-03 2008-07-30 株式会社荏原製作所 基板処理装置
CN100429752C (zh) 2004-02-25 2008-10-29 株式会社荏原制作所 抛光装置和衬底处理装置
TWI352645B (en) 2004-05-28 2011-11-21 Ebara Corp Apparatus for inspecting and polishing substrate r

Patent Citations (9)

* Cited by examiner, † Cited by third party
Publication number Priority date Publication date Assignee Title
JP2000114329A (ja) * 1998-09-29 2000-04-21 Yuhi Denshi Kk 基板端部の研削面の検査方法とその装置
JP2002208572A (ja) * 2001-01-09 2002-07-26 Ebara Corp 研磨装置
JP2005191179A (ja) * 2003-12-25 2005-07-14 Trecenti Technologies Inc 半導体装置の製造方法および研磨装置
JP2005217139A (ja) * 2004-01-29 2005-08-11 Dainippon Screen Mfg Co Ltd 画像取得装置および画像取得方法
JP2006220540A (ja) * 2005-02-10 2006-08-24 Central Glass Co Ltd ガラス板の端面の欠陥検出装置および検出方法
WO2006112530A1 (en) * 2005-04-19 2006-10-26 Ebara Corporation Substrate processing apparatus
JP2008537316A (ja) * 2005-04-19 2008-09-11 株式会社荏原製作所 基板処理装置
JP2007155448A (ja) * 2005-12-02 2007-06-21 Olympus Corp 端面検査装置
JP2009111079A (ja) * 2007-10-29 2009-05-21 Toshiba Corp 基板の周縁部の処理方法および装置

Cited By (10)

* Cited by examiner, † Cited by third party
Publication number Priority date Publication date Assignee Title
KR101868786B1 (ko) * 2017-08-08 2018-06-19 김인수 휴대기기 글라스 성형용 금형의 제조장치
WO2019031765A1 (ko) * 2017-08-08 2019-02-14 김인수 휴대기기 글라스 성형용 금형의 제조장치
JP2019062011A (ja) * 2017-09-25 2019-04-18 東京エレクトロン株式会社 基板処理装置
JP7029914B2 (ja) 2017-09-25 2022-03-04 東京エレクトロン株式会社 基板処理装置
JP2021015873A (ja) * 2019-07-11 2021-02-12 株式会社荏原製作所 研磨装置および研磨方法
JP7350544B2 (ja) 2019-07-11 2023-09-26 株式会社荏原製作所 研磨装置および研磨方法
JP2021133497A (ja) * 2020-02-26 2021-09-13 上海東競自動化系統有限公司 表面傷を修復する方法及び装置
JP7248991B2 (ja) 2020-02-26 2023-03-30 上海東競自動化系統有限公司 表面傷を修復する方法及び装置
WO2024224992A1 (ja) * 2023-04-28 2024-10-31 株式会社Screenホールディングス 撮像装置、基板観察装置、基板処理装置および撮像方法
TWI898454B (zh) * 2024-02-29 2025-09-21 東台精機股份有限公司 晶圓研磨裝置及晶圓研磨方法

Also Published As

Publication number Publication date
US20100022166A1 (en) 2010-01-28
JP5160993B2 (ja) 2013-03-13
US8414355B2 (en) 2013-04-09

Similar Documents

Publication Publication Date Title
JP5160993B2 (ja) 基板処理装置
JP4916890B2 (ja) 基板処理装置及び基板処理方法
US7682225B2 (en) Polishing apparatus and substrate processing apparatus
JP4125148B2 (ja) 基板処理装置
KR101214507B1 (ko) 기판 처리 장치, 기판 폴리싱 방법 및 기판 처리 방법
US20130044316A1 (en) Device and method for inspecting moving semicondutor wafers
TW200303807A (en) Polishing apparatus and method for detecting foreign matter on polishing surface
US20150017745A1 (en) Polishing method and polishing apparatus
KR101236472B1 (ko) 웨이퍼 베벨 영역 폴리싱 장치 및 그 장치에서의 연마종말점 검출 방법
JP2001519021A (ja) 光学検査モジュール、及び統合プロセス工具内で基板上の粒子及び欠陥を検出するための方法
JP2007331106A (ja) 測定ステーション、研磨機械、ウェハを研磨するための方法、および、ウェハの光学的測定方法
JP4660494B2 (ja) 研磨カートリッジ
US8771038B2 (en) Polishing apparatus
TWI691715B (zh) 檢測矽晶圓缺陷的自動光學檢測機構及方法
KR102873657B1 (ko) 기판 세정 시스템에서 두께를 모니터링하기 위한 이미징
JP2008091951A (ja) 基板処理装置
KR20070002257A (ko) 웨이퍼 후면 결함 검출 장치
JP2020136498A (ja) ウェハ加工異常検出装置と方法及び平面加工システム
JP2024155058A (ja) 膜厚測定装置、膜厚測定方法及び基板研磨装置
US7155963B2 (en) Cleaning evaluation method for a substrate
JP2005259967A (ja) 化学機械研磨装置及び化学機械研磨方法
JP2006035353A (ja) Cmp装置、cmp研磨方法、及び、半導体装置の製造方法

Legal Events

Date Code Title Description
A521 Request for written amendment filed

Free format text: JAPANESE INTERMEDIATE CODE: A523

Effective date: 20101101

A621 Written request for application examination

Free format text: JAPANESE INTERMEDIATE CODE: A621

Effective date: 20101101

A131 Notification of reasons for refusal

Free format text: JAPANESE INTERMEDIATE CODE: A131

Effective date: 20120911

A977 Report on retrieval

Free format text: JAPANESE INTERMEDIATE CODE: A971007

Effective date: 20120912

A521 Request for written amendment filed

Free format text: JAPANESE INTERMEDIATE CODE: A523

Effective date: 20121109

TRDD Decision of grant or rejection written
A01 Written decision to grant a patent or to grant a registration (utility model)

Free format text: JAPANESE INTERMEDIATE CODE: A01

Effective date: 20121204

A61 First payment of annual fees (during grant procedure)

Free format text: JAPANESE INTERMEDIATE CODE: A61

Effective date: 20121213

R150 Certificate of patent or registration of utility model

Ref document number: 5160993

Country of ref document: JP

Free format text: JAPANESE INTERMEDIATE CODE: R150

Free format text: JAPANESE INTERMEDIATE CODE: R150

FPAY Renewal fee payment (event date is renewal date of database)

Free format text: PAYMENT UNTIL: 20151221

Year of fee payment: 3

R250 Receipt of annual fees

Free format text: JAPANESE INTERMEDIATE CODE: R250

R250 Receipt of annual fees

Free format text: JAPANESE INTERMEDIATE CODE: R250

R250 Receipt of annual fees

Free format text: JAPANESE INTERMEDIATE CODE: R250

R250 Receipt of annual fees

Free format text: JAPANESE INTERMEDIATE CODE: R250

R250 Receipt of annual fees

Free format text: JAPANESE INTERMEDIATE CODE: R250

R250 Receipt of annual fees

Free format text: JAPANESE INTERMEDIATE CODE: R250

R250 Receipt of annual fees

Free format text: JAPANESE INTERMEDIATE CODE: R250

R250 Receipt of annual fees

Free format text: JAPANESE INTERMEDIATE CODE: R250

R250 Receipt of annual fees

Free format text: JAPANESE INTERMEDIATE CODE: R250

R250 Receipt of annual fees

Free format text: JAPANESE INTERMEDIATE CODE: R250