JP2010027392A - コネクタ - Google Patents

コネクタ Download PDF

Info

Publication number
JP2010027392A
JP2010027392A JP2008187455A JP2008187455A JP2010027392A JP 2010027392 A JP2010027392 A JP 2010027392A JP 2008187455 A JP2008187455 A JP 2008187455A JP 2008187455 A JP2008187455 A JP 2008187455A JP 2010027392 A JP2010027392 A JP 2010027392A
Authority
JP
Japan
Prior art keywords
dummy connector
main body
male
housing
connector main
Prior art date
Legal status (The legal status is an assumption and is not a legal conclusion. Google has not performed a legal analysis and makes no representation as to the accuracy of the status listed.)
Granted
Application number
JP2008187455A
Other languages
English (en)
Other versions
JP5211906B2 (ja
Inventor
Yuuka Kobayashi
祐佳 小林
Current Assignee (The listed assignees may be inaccurate. Google has not performed a legal analysis and makes no representation or warranty as to the accuracy of the list.)
Sumitomo Wiring Systems Ltd
Original Assignee
Sumitomo Wiring Systems Ltd
Priority date (The priority date is an assumption and is not a legal conclusion. Google has not performed a legal analysis and makes no representation as to the accuracy of the date listed.)
Filing date
Publication date
Application filed by Sumitomo Wiring Systems Ltd filed Critical Sumitomo Wiring Systems Ltd
Priority to JP2008187455A priority Critical patent/JP5211906B2/ja
Priority to DE102009030307.3A priority patent/DE102009030307B4/de
Priority to CN200910151764XA priority patent/CN101662096B/zh
Priority to US12/501,664 priority patent/US7850469B2/en
Publication of JP2010027392A publication Critical patent/JP2010027392A/ja
Application granted granted Critical
Publication of JP5211906B2 publication Critical patent/JP5211906B2/ja
Expired - Fee Related legal-status Critical Current
Anticipated expiration legal-status Critical

Links

Images

Classifications

    • HELECTRICITY
    • H01ELECTRIC ELEMENTS
    • H01RELECTRICALLY-CONDUCTIVE CONNECTIONS; STRUCTURAL ASSOCIATIONS OF A PLURALITY OF MUTUALLY-INSULATED ELECTRICAL CONNECTING ELEMENTS; COUPLING DEVICES; CURRENT COLLECTORS
    • H01R13/00Details of coupling devices of the kinds covered by groups H01R12/70 or H01R24/00 - H01R33/00
    • H01R13/44Means for preventing access to live contacts
    • H01R13/443Dummy plugs
    • HELECTRICITY
    • H01ELECTRIC ELEMENTS
    • H01RELECTRICALLY-CONDUCTIVE CONNECTIONS; STRUCTURAL ASSOCIATIONS OF A PLURALITY OF MUTUALLY-INSULATED ELECTRICAL CONNECTING ELEMENTS; COUPLING DEVICES; CURRENT COLLECTORS
    • H01R13/00Details of coupling devices of the kinds covered by groups H01R12/70 or H01R24/00 - H01R33/00
    • H01R13/46Bases; Cases
    • H01R13/52Dustproof, splashproof, drip-proof, waterproof, or flameproof cases
    • H01R13/5213Covers
    • HELECTRICITY
    • H01ELECTRIC ELEMENTS
    • H01RELECTRICALLY-CONDUCTIVE CONNECTIONS; STRUCTURAL ASSOCIATIONS OF A PLURALITY OF MUTUALLY-INSULATED ELECTRICAL CONNECTING ELEMENTS; COUPLING DEVICES; CURRENT COLLECTORS
    • H01R13/00Details of coupling devices of the kinds covered by groups H01R12/70 or H01R24/00 - H01R33/00
    • H01R13/62Means for facilitating engagement or disengagement of coupling parts or for holding them in engagement
    • H01R13/629Additional means for facilitating engagement or disengagement of coupling parts, e.g. aligning or guiding means, levers, gas pressure electrical locking indicators, manufacturing tolerances
    • H01R13/62933Comprising exclusively pivoting lever
    • H01R13/62938Pivoting lever comprising own camming means

Landscapes

  • Details Of Connecting Devices For Male And Female Coupling (AREA)
  • Connector Housings Or Holding Contact Members (AREA)

Abstract

【課題】ダミーコネクタの誤挿入と挿入のし忘れを防止する
【解決手段】雌雄の両コネクタ10、50は、電線が引き出されない雌雄の両ダミーコネクタ本体30、70と、両ダミーコネクタ本体30、70を収容可能な第2収容部25及び第4収容部61を有する雌雄の両ハウジング11、51とを備え、第2収容部25及び第4収容部61の後端開口がそれぞれ両ダミーコネクタ本体30、70を挿入可能な挿入口とされている。両ダミーコネクタ本体30、70には、この両ダミーコネクタ本体30、70が正逆反転した姿勢をとっている場合に挿入口の口縁と干渉して第2収容部25及び第4収容部61への挿入を規制する一方、両ダミーコネクタ本体30、70が正規の姿勢をとっている場合に第2収容部25及び第4収容部61への挿入を許容し、かつ自身は挿入口より外側に突出して配置される突部37、78が設けられている。
【選択図】図1

Description

本発明は、コネクタに関する。
従来より、ケースの収容部内に回路構成に関与しないダミーコネクタが挿入されるコネクタが知られている。例えば、特許文献1に記載のものは、収容部内にダミーコネクタ本体が挿入されることにより、収容部の内部空間がダミーコネクタ本体によって塞がれ、もって所定の防水性が確保されるようになっている。
特開2001−267005公報
しかし、このようなダミーコネクタ本体からは電線が引き出されないため、前後方向(収容部への挿抜方向)の方向性を識別し難いという事情があり、収容部に対してダミーコネクタ本体が正逆(前後)反転した姿勢の状態で挿入されることがある。その場合、ダミーコネクタ本体は収容部の途中まで挿入されてしまうため、作業者が挿入作業を完了したと勘違いするおそれがある。
また、こうした電線が引き出されないダミーコネクタ本体ではそもそも収容部への挿入を忘れてしまっていてもそれに気付かないおそれがある。
本発明は上記のような事情に基づいて完成されたものであって、ダミーコネクタの誤挿入と挿入のし忘れを防止することを目的とする。
上記の目的を達成するための手段として、請求項1の発明は、電線が引き出されないダミーコネクタ本体と、このダミーコネクタ本体を収容可能な収容部を有するケースとを備え、前記収容部の一端開口が前記ダミーコネクタ本体を挿入可能な挿入口とされているコネクタであって、前記ダミーコネクタ本体には、このダミーコネクタ本体が正逆反転した姿勢をとっている場合に前記挿入口の口縁と干渉して前記ダミーコネクタ本体の前記収容部への挿入を規制する一方、前記ダミーコネクタ本体が正規の姿勢をとっている場合に前記ダミーコネクタ本体の前記収容部への挿入を許容し、かつ自身は前記挿入口より外側に突出して配置される突部が設けられている構成としたところに特徴を有する。
請求項2の発明は、請求項1に記載のものにおいて、前記ケースには、端子金具を収容可能であって前記端子金具に接続された電線が引き出されるハウジング領域が前記収容部と並んで設けられており、前記挿入口は、前記ハウジング領域における前記電線の引き出し面と同じ側に配置されているところに特徴を有する。
請求項3の発明は、請求項1又は2に記載のものにおいて、前記突部の一端が指押し可能な平坦領域をもった平面部とされているところに特徴を有する。
請求項4の発明は、請求項1ないし3のいずれか1項に記載のものにおいて、前記ダミーコネクタ本体の外面には、このダミーコネクタ本体の前記収容部への挿入を案内する案内突部が設けられており、前記突部が前記案内突部の一端から延長して形成されているところに特徴を有する。
<請求項1の発明>
ダミーコネクタ本体が正規の姿勢をとっていない場合には、突部が収容部の挿入口の口縁と干渉してダミーコネクタ本体の収容部への挿入が規制されるから、ダミーコネクタ本体(ダミーコネクタ)の誤挿入が防止される。また、ダミーコネクタ本体が正規の姿勢をとっている場合には、突部が挿入口より外側に突出して配置されるから、その状態を視認又は触認することにより、ダミーコネクタ本体が収容部に正規挿入されていることがわかり、ダミーコネクタ本体(ダミーコネクタ)の挿入のし忘れが防止される。
<請求項2の発明>
収容部の挿入口がハウジング領域における電線の引き出し面と同じ側に配置されているため、挿入口の口縁から突出する突部と並んで電線が位置することとなり、電線の並び方向のデッドスペースが有効に活用される。また、電線によって突部の突出状態のみが際立つことはなく、突部が他の部品と干渉する等といった不具合も起こり難い。
<請求項3の発明>
突部の一端が指押し可能な平坦領域をもった平面部とされているため、平面部に指を宛がいながらダミーコネクタ本体を収容部に挿入することができ、作業性が良好になる。また、突部以外の部位に指押し用の平面部を設けるよりも構成が簡素化される。
<請求項4の発明>
案内突部によって突部が補強されるから、異物との干渉等に起因して突部が折損される事態が回避される。
<実施形態1>
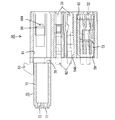
本発明の実施形態1を図1ないし図17によって説明する。本発明のコネクタは、互いに嵌合可能な雌雄一対のコネクタ10、50からなる。雄側コネクタ10は、雄側ハウジング11、雄型端子金具12、雄側ダミーコネクタ本体30、雄側ハウジング部13、レバー14及びムービングプレート15を備えている。雌側コネクタ50は、雌側ハウジング51、雌型端子金具52、雌側ダミーコネクタ本体70及び雌側ハウジング部53を備えている。なお、以下の説明において前後方向については両コネクタ10、50の互いの嵌合面側を前方とする。
雄側ハウジング11は合成樹脂製であって、図1に示すように、雄型端子金具12を収容可能な角ブロック状の端子収容部16と、端子収容部16の前端周縁から前方へ突出する角筒状のフード部17とを備えている。雄側ハウジング11の下面には図示しない外部ブラケットに取り付けるための取付片18が後方へ突出して設けられている。雄側ハウジング11には外側から門型のレバー14が跨嵌して装着されている。レバー14は幅方向に延びる操作部14Aと操作部14Aの両端から平行に突出する一対のアーム部14Bとからなり、図3に示すように、両アーム部14Bには軸受孔14Cが設けられている。雄側ハウジング11には、フード部17における端子収容部16寄りの両側面に、両アーム部14Bの軸受孔14Cに挿着される支軸19が突設されている。レバー14は支軸19を中心として初期位置と嵌合位置とに回動可能とされている。操作部14Aには撓み可能なロック部20が設けられており、レバー14が嵌合位置に達すると、ロック部20が相手の雌側ハウジング51に設けられたロック受部55(後述する)を弾性的に係止して、両ハウジング11、51が嵌合状態にロックされるようになっている。
両アーム部14Bの内面には、所定形状に延びて入り口が両アーム部14Bの周縁に開口するカム溝14Eが凹設されている。初期位置では、カム溝14Eの入り口が前方を向いて開放される。フード部17の両側壁には、図2に示すように、前後方向に延びてフード部17の前端に開口する導入溝21が初期位置においてカム溝14Eの入り口と連通するように形成されている。また、両アーム部14Bには、弾性係止片14Fが切り欠いて形成されている。フード部17の両側壁には弾性係止片14Fを受ける係止受溝22が導入溝21と平行に延びてフード部17の前端に開口して形成されており、初期位置では、弾性係止片14Fが係止受溝22の溝縁に弾性的に掛け止められて、レバー14の嵌合位置への回動操作が規制されるようになっている。
フード部17内には、ムービングプレート15が嵌合して装着されている。ムービングプレート15は端子収容部16の前面と平行して同前面を覆うように配置されるプレート本体15Aを有している。プレート本体15Aには雄型端子金具12のタブ12Aを位置決め状態で受ける位置決め孔15Bが貫通して形成されている。かかるムービングプレート15は、プレート本体15Aが端子収容部16の前面から離れて位置して、タブ12Aの先端部が位置決め孔15Bを貫通する前進位置と、プレート本体15Aが端子収容部16の前面の近くに位置して、タブ12Aの根元部が位置決め孔15Bを貫通する後退位置とに移動可能とされている。前進位置では、タブ12Aの先端部が位置決め孔15Bを貫通することにより、タブ12Aが保護状態に置かれるようになっている。
端子収容部16にはキャビティ16Aが前後に貫通して形成されている。キャビティ16Aは端子収容部16の高さ方向の中段において上下2段に分かれて配置され、ここに後方から大型の雄型端子金具12が挿入可能とされている。このうち、上段の雄型端子金具12は、下段の雄型端子金具12よりも大型とされ、相互の挿入姿勢を軸周りに略90度ずらしつつキャビティ16A内に挿入されている。キャビティ16Aの内壁には、雄型端子金具12のキャビティ16Aからの抜け止めをなすランス16Bが撓み可能に設けられている。
端子収容部16の高さ方向の下段には第1収容部23が前後に貫通して形成されている。第1収容部23には扁平な角ブロック状の雄側ハウジング部13が収容されており、第1収容部23の後端開口が雄側ハウジング部13を挿入可能な挿入口とされている。雄側ハウジング部13にはキャビティ13Aが前後に貫通して形成されている。キャビティ13Aは上下2段に分かれて配置され、ここに後方から小型の雄型端子金具12が挿入可能とされている。キャビティ13Aの内壁には、ランス13Bが撓み可能に設けられている。また、雄側ハウジング部13の前端部にはフロントホルダ13Dが装着され、雄側ハウジング部13の中間部にはリテーナ13Eが装着されている。雄側ハウジング11の後端面は、図3に示すように、概ね略垂直に切り立って配置され、その中段から下段にかけて大型及び小型の各雄型端子金具12に接続された複数の電線W1が引き出される電線引き出し面24とされている。
端子収容部16の高さ方向の上段には、第1収容部23とほぼ同形状の第2収容部25が前後に貫通して形成されている。第2収容部25には、第1収容部23と同様、雄側ハウジング部13が収容可能とされているが、本実施形態ではここが空きの部分とされていて、回路構成に関与しない雄側ダミーコネクタ本体30が収容されている。第2収容部25の後端開口は雄側ダミーコネクタ本体30を挿入可能な挿入口とされている。
雄側ダミーコネクタ本体30は合成樹脂製であって、全体としてキャップ状をなし、幅方向に延出して第2収容部25の前端開口を覆う前壁31と、前壁31の周縁から全周に亘って後方へ延出する扁平角筒状の周壁32とを有している。図6に示すように、前壁31の前面は閉止面とされており、前壁31の中央部は一段前方へ突き出る形態の膨出部33とされている。膨出部33は後退位置におけるムービングプレート15のプレート本体15Aに凹み形成された嵌合部15G内に嵌合可能とされている。また、雄側ダミーコネクタ本体30の内部には、図4に示すように、周壁32の上下の内面同士をつなげる縦壁34が幅方向に間隔をあけて複数架設されている。
周壁32の両側外面には、図8に示すように、雄側ダミーコネクタ本体30の第2収容部25への挿入動作を案内するための案内突部35が前後方向に延出して形成されている。案内突部35は、前後方向に細長いリブ状をなし、上下で対をなしつつ互いに平行に配置されている。両案内突部35の前端側における相対向する内面には、上下一対の係止部36が突設されており、両係止部36間に隙間が保有されている。一方、第2収容部25の内壁の両側面には、図5に示すように、幅方向に撓み可能な係止受部26が突設されており、雄側ダミーコネクタ本体30が収容部内に正規深さで挿入されると、係止受部26に係止部36が弾性的に係止されて、雄側ダミーコネクタ本体30の第2収容部25からの抜け止めがなされるようになっている。係止受部26の高さ方向の中央部には規制突起26Aが形成されており、規制突起26Aが両係止部36間の隙間に進入することで、両係止部36の高さ方向の遊動が規制されて、両者の係止状態の安定性が確保されるようになっている。また、第2収容部25内における係止受部26を挟んだ両側は、案内突部35が摺動可能な上下一対の案内溝27とされている。なお、これら係止受部26及び案内溝27の構造は、第1収容部23にも同様に形成されている。また、ムービングプレート15のプレート本体15Aには、図2に示すように、係止受部26と対向する位置に窓孔15Eが開設されており、窓孔15Eを通して係止受部26による係止状態を解除可能とされている。
また、周壁32の両側外面の後端部には、図6ないし図8に示すように、板状をなす一対の突部37が側方及び後方に張り出して設けられている。突部37は、下側の案内突部35の後端に一体に連なりながら雄側ダミーコネクタ本体30の後端より後方へいったん突出したあと案内突部35をその延び方向と直交する下向きに延長させた形態をなしている。詳細には突部37は、その側方への突出端が案内突部35の突出端と一致するとともに、その下端が周壁32の下側外面に一致し、かつ下端と突出端との間が斜め方向に角落ちされたテーパ縁によってつながる形態をなしている。突部37の後端面は、前端面とともに略垂直に切り立って配置され、指押しされるに適当な大きさの平面状をなす平面部37Aとされている。
ここで、雄側ダミーコネクタ本体30が正逆(前後)反転した姿勢をとって第2収容部25に挿入されようとすると、突部37が第2収容部25の挿入口の口縁と干渉して、雄側ダミーコネクタ本体30の挿入動作が規制される。一方、雄側ダミーコネクタ本体30が正規の姿勢をとって第2収容部25に挿入されると、雄側ダミーコネクタ本体30のうちの突部37を除く部分が第2収容部25に正規深さで挿入されるとともに、突部37が第2収容部25に挿入されることなく挿入口より外側に露出して配置されるようになっている。
続いて雌側ハウジング51について説明すると、雌側ハウジング51は同じく合成樹脂製であって、図9に示すように、角ブロック状をなすハウジング本体54を備えて構成されている。ハウジング本体54の上面の後端には後方へ向けて突出するロック受部55が設けられている。両ハウジング11、51が正規嵌合されると、ハウジング本体54はロック受部55を除いてフード部17内に嵌合され、さらにロック受部55は嵌合位置に達したレバー14のロック部20に弾性係止されるようになっている。
ハウジング本体54の両側面には、図11に示すように、高さ方向の中段に、高さ方向の上段及び下段に比べて幅寸法を狭めた形態の括れ部56が設けられている。括れ部56の底面には一対のカムフォロア57が側方に突出して形成されている。カムフォロア57は、両ハウジング11、51の嵌合過程で導入溝21を介してカム溝14Eの入り口に進入し、レバー14の回動に伴ってカム溝14E内を移動してカム作用を発揮し、両ハウジング11、51を低操作力で嵌合する役割をはたす。なお、カムフォロア57はムービングプレート15とも係合可能とされ、レバー14の回動操作に追従してムービングプレート15が後退位置と前進位置とに移動可能とされている。
ハウジング本体54の両側面には、高さ方向の下段に、両ハウジング11、51の嵌合過程でレバー14の弾性係止片14Fと干渉して弾性係止片14Fと係止受溝22との係止状態を解除する解除部58が突設されている。解除部58は、図10に示すように、前後方向に細長く延びるリブ状の形態をなしている。
ハウジング本体54の高さ方向の中段にはキャビティ54Aが前後に貫通して形成されている。キャビティ54Aには後方から大型の雌型端子金具52が挿入可能とされている。
また、ハウジング本体54の高さ方向の下段には第3収容部59が前後に貫通して形成されている。第3収容部59には雌側ハウジング部53が収容可能とされており、第3収容部59の後端開口が雌側ハウジング部53を挿入可能な挿入口とされている。雌側ハウジング部53には上下2段のキャビティ53Aが前後に貫通して形成され、各キャビティ53Aに後方から小型の雌型端子金具52が挿入可能とされている。ハウジング本体54の後端面は、概ね略垂直に切り立って配置され、その中段から下段にかけて大型及び小型の雌型端子金具52に接続された複数の電線W2が引き出される電線引き出し面60とされている。
ハウジング本体54の高さ方向の上段には、第3収容部59とほぼ同形状の第4収容部61が前後に貫通して形成されている。本実施形態においては、第4収容部61に雌側ダミーコネクタ本体70が収容可能とされ、第4収容部61の後端開口が雌側ダミーコネクタ本体70を挿入可能な挿入口とされている。第4収容部61の内壁及び第3収容部59の内壁には、それぞれ雌側ダミーコネクタ本体70及び雌側ハウジング部53の前止まりをなす段部62が設けられている。段部62内には、正規挿入された雌側ダミーコネクタ本体70の膨出部74が嵌合可能とされている。その他、ハウジング本体54の構造は端子収容部16の構造と実質的に同じであり、雌側ハウジング部53の構造も雄側ハウジング部13の構造と実質的に同じである。特に、第3収容部59及び第4収容部61には、図14に示すように、上記第1収容部23及び第2収容部25における係止受部26及び規制突起26Aと同形状をなす係止突部66及び規制突起66Aが形成されている。
雌側ダミーコネクタ本体70は、雄側ダミーコネクタ本体30と同様、合成樹脂製であって全体としてキャップ状をなし、幅方向に延出して第4収容部61の前端開口を覆う前壁71と、前壁71の周縁から全周に亘って後方へ延出する周壁72とを有している。前壁71には、図15に示すように、タブ挿入口73が開口して形成されており、仮に、第2収容部25に雄側ハウジング部13が収容された場合に、雄型端子金具12のタブ12Aがタブ挿入口73に挿入されて逃されるようになっている。その他、雌側ダミーコネクタ本体70の構造は、雄側ダミーコネクタ本体30の構造と実質的に同じであり、雄側ダミーコネクタ本体30と同形状をなす、膨出部74、縦壁75、案内突部76、係止部77、突部78、及び突部78の後端面を構成する平面部78Aを有している。
もっとも、雌側ダミーコネクタ本体70には案内突部76とは別に案内リブ79が設けられ、第4収容部61には案内リブ79を受ける案内リブ受部68が設けられており、この点は雄側ダミーコネクタ本体30及び第2収容部25とは異なっている。案内リブ79は周壁72の下側外面において幅方向に対をなしつつ前後方向に延出して形成され、案内リブ受部68は第4収容部61の内壁の下面において同じく幅方向に対をなしつつ前後方向に延出して形成されている。
次に本実施形態の作用を説明する。
両ハウジング11、51の嵌合に先立ち、まず雄側ハウジング11のキャビティ16Aに大型の雄型端子金具12を挿入するとともに、雄側ハウジング11の第1収容部23に小型の雄型端子金具12を収容させた雄側ハウジング部13を挿入し、かつ雄側ハウジング11の第2収容部25に雄側ダミーコネクタ本体30を挿入する。また、雌側ハウジング51のキャビティ54Aに大型の雌型端子金具52を挿入するとともに、雌側ハウジング51の第3収容部59に小型の雌型端子金具52を収容させた雌側ハウジング部53を挿入し、かつ雌側ハウジング51の第4収容部61に雌側ダミーコネクタ本体70を挿入する。
雄側ダミーコネクタ本体30の第2収容部25への挿入にあたり、雄側ダミーコネクタ本体30が正規の挿入姿勢をとっていれば、雄側ダミーコネクタ本体30は、膨出部33を先頭にして挿入口から第2収容部25内に進入し、案内突部35が案内溝27内を摺動することによって案内されつつ正規の挿入位置へと円滑に至る。正規の挿入位置では、係止部36が係止受部26を弾性係止することによって雄側ダミーコネクタ本体30の後方への抜け止めがなされる。このとき、雄側ハウジング11の電線引き出し面24には、図1及び図4に示すように、雄型端子金具12に接続された電線W1とともに雄側ダミーコネクタ本体30の突部37が挿入口より外側に突出状態で配置されることとなる。したがって、この状態を視認または触認することにより、雄側ダミーコネクタ本体30が正規の挿入位置に至ったことを知ることができる。また、突部37が第2収容部25の挿入口の口縁に突き当たることにより、雄側ダミーコネクタ本体30の前止まりにもなる。なお、雌側ダミーコネクタ本体70の第4収容部61への挿入動作及び装着態様も雄側ダミーコネクタ本体30の場合とほぼ同様である。また、雌雄の両ダミーコネクタ本体30、70の挿入動作は、平面部37A、78Aに指を宛がいながら突部37、78を前方へ押し込むことによって円滑に行うことができる。
続いて、レバー14を初期位置にセットした状態で両ハウジング11、51を浅く嵌合させる。すると、カムフォロア57がカム溝14Eの入り口に進入し、解除部58によって弾性係止片14Fによる係止状態が解除されて、レバー14の嵌合位置への回動操作が許容される。そこでレバー14を嵌合位置側へ向けて図示反時計周りに回動させると、カムフォロア57がカム溝14Eに沿って移動するとともに、ムービングプレート15が後退位置へ向けて移動し、かつ雄型端子金具12のタブ12Aが雌型端子金具52内に進入する。両ハウジング11、51が正規嵌合されると、レバー14のロック部20がロック受部55を弾性係止してレバー14の回動操作が規制されるとともに両ハウジング11、51が離脱規制状態に保持され、かつ雌雄の両端子金具12、52が導通可能に接続される。このとき、雌雄の両ダミーコネクタ本体30、70はムービングプレート15のプレート本体15Aを介して互いに対面位置することとなる。
ところで、雄側ダミーコネクタ本体30の第2収容部25への挿入にあたり、雄側ダミーコネクタ本体30が正逆(前後)反転した挿入姿勢をとっていると、図5に示すように、突部37が挿入口の口縁における下側2角に突き当たり、雄側ダミーコネクタ本体30は第2収容部25に全く挿入されることはない。雌側ダミーコネクタ本体70についても同様であり、雌側ダミーコネクタ本体70が正逆(前後)反転した挿入姿勢をとっていると、図14に示すように、突部78が第4収容部61の挿入口の口縁における下側2角に突き当たり、雌側ダミーコネクタ本体70は第4収容部61に全く挿入されることはない。
以上説明したように本実施形態によれば、ダミーコネクタ本体30、70が正規の挿入姿勢をとっていない場合に、突部37、78が収容部(第2収容部25又は第4収容部61)の挿入口の口縁と干渉してその挿入動作が規制されるから、ダミーコネクタ本体30、70(ダミーコネクタ)の誤挿入が防止される。この場合、収容部(第2収容部25又は第4収容部61)内に突部37、78が進入しないため、収容部(第2収容部25又は第4収容部61)に突部37、78の逃がし構造を設ける必要がなく、構成の簡素化を図れるとともに、収容部(第2収容部25又は第4収容部61)の大型化が回避される。また、ダミーコネクタ本体30、70が正規の姿勢をとっている場合には、突部37、78が挿入口より外側に突出して配置されるから、その状態を視認又は触認することにより、ダミーコネクタ本体30、70が収容部(第2収容部25又は第4収容部61)に正規挿入されていることがわかり、ダミーコネクタ本体30、70(ダミーコネクタ)の挿入のし忘れが防止される。
また、収容部(第2収容部25又は第4収容部61)の挿入口が雌雄の両ハウジング11、51における電線引き出し面24、60と同じ側に配置されているため、挿入口の口縁から突出する突部37、78と並んで電線W1、W2が位置することとなり、電線W1、W2の並び方向のデッドスペースが有効に活用される。また、電線W1、W2によって突部37、78の突出状態のみが際立つことはなく、突部37、78が他の部品と干渉する等といった不具合も起こり難い。
さらに、突部37、78の後端面が指押し可能な平坦領域をもった平面部37A、78Aとされているため、平面部37A、78Aに指を宛がいながらダミーコネクタ本体30、70を収容部(第2収容部25又は第4収容部61)に挿入することができ、作業性が良好になる。また、突部37、78以外の部位に指押し用の平面部37A、78Aを設けるよりも構成が簡素化される。
さらにまた、突部37、78が案内突部35、76の後端に一体に連なり、案内突部35、76によって突部37、78が補強されるから、異物との干渉等に起因して突部37、78が折損される事態が回避される。
<他の実施形態>
本発明は上記記述及び図面によって説明した実施形態に限定されるものではなく、例えば次のような実施形態も本発明の技術的範囲に含まれる。
(1)ダミーコネクタ本体を収容可能な収容部は、端子金具を収容しない単なるケースに形成されていてもよい。
(2)第1収容部又は第3収容部に、ハウジング部に代わってダミーコネクタ本体が挿入されてもよい。
(3)案内突部と突部とは互いに切り離されていてもよい。
本発明の実施形態1において、雄側コネクタの側断面図である。 雄側コネクタの正面図である。 雄側コネクタの側面図である。 雄側ダミーコネクタ本体が第2収容部に正規挿入された状態を示す要部拡大背面図である。 雄側ダミーコネクタ本体が正逆反転した姿勢をとって第2収容部への挿入動作が規制される状態を示す要部拡大背面図である。 雄側ダミーコネクタ本体の正面図である。 雄側ダミーコネクタ本体の底面図である。 雄側ダミーコネクタ本体の側面図である。 雌側コネクタの側断面図である。 雌側コネクタの側面図である。 雌側コネクタの正面図である。 雌側コネクタの背面図である。 雌側ダミーコネクタ本体が正逆反転した姿勢をとって第4収容部への挿入動作が規制される状態を示す背面図である。 雌側ダミーコネクタ本体が正逆反転した姿勢をとって第4収容部への挿入動作が規制される状態を示す側断面図である。 雌側ダミーコネクタ本体の正面図である。 雌側ダミーコネクタ本体の底面図である。 雌側ダミーコネクタ本体の側面図である。
符号の説明
10…雄側コネクタ
11…雄側ハウジング(ケース)
12…雌型端子金具
25…第2収容部(収容部)
30…雄側ダミーコネクタ本体(ダミーコネクタ本体、ダミーコネクタ)
35、76…案内突部
37、78…突部
37A、78A…平面図
50…雌側コネクタ
51…雄側ハウジング(ケース)
52…雄型端子金具
61…第4収容部(収容部)
70…雌側ダミーコネクタ本体(ダミーコネクタ本体、ダミーコネクタ)
W1、W2…電線

Claims (4)

  1. 電線が引き出されないダミーコネクタ本体と、このダミーコネクタ本体を収容可能な収容部を有するケースとを備え、前記収容部の一端開口が前記ダミーコネクタ本体を挿入可能な挿入口とされているコネクタであって、
    前記ダミーコネクタ本体には、このダミーコネクタ本体が正逆反転した姿勢をとっている場合に前記挿入口の口縁と干渉して前記ダミーコネクタ本体の前記収容部への挿入を規制する一方、前記ダミーコネクタ本体が正規の姿勢をとっている場合に前記ダミーコネクタ本体の前記収容部への挿入を許容し、かつ自身は前記挿入口より外側に突出して配置される突部が設けられていることを特徴とするコネクタ。
  2. 前記ケースには、端子金具を収容可能であって前記端子金具に接続された電線が引き出されるハウジング領域が前記収容部と並んで設けられており、前記挿入口は、前記ハウジング領域における前記電線の引き出し面と同じ側に配置されている請求項1記載のコネクタ。
  3. 前記突部の一端が指押し可能な平坦領域をもった平面部とされている請求項1又は2記載のコネクタ。
  4. 前記ダミーコネクタ本体の外面には、このダミーコネクタ本体の前記収容部への挿入を案内する案内突部が設けられており、前記突部が前記案内突部の一端から延長して形成されている請求項1ないし3のいずれか1項記載のコネクタ。
JP2008187455A 2008-07-18 2008-07-18 コネクタ Expired - Fee Related JP5211906B2 (ja)

Priority Applications (4)

Application Number Priority Date Filing Date Title
JP2008187455A JP5211906B2 (ja) 2008-07-18 2008-07-18 コネクタ
DE102009030307.3A DE102009030307B4 (de) 2008-07-18 2009-06-24 Verbinder und Zusammenbauverfahren hierfür
CN200910151764XA CN101662096B (zh) 2008-07-18 2009-07-13 连接器及其组装方法
US12/501,664 US7850469B2 (en) 2008-07-18 2009-07-13 Connector assembly with a case and a dummy connector having a guide projection with a transverse protrusion

Applications Claiming Priority (1)

Application Number Priority Date Filing Date Title
JP2008187455A JP5211906B2 (ja) 2008-07-18 2008-07-18 コネクタ

Publications (2)

Publication Number Publication Date
JP2010027392A true JP2010027392A (ja) 2010-02-04
JP5211906B2 JP5211906B2 (ja) 2013-06-12

Family

ID=41427463

Family Applications (1)

Application Number Title Priority Date Filing Date
JP2008187455A Expired - Fee Related JP5211906B2 (ja) 2008-07-18 2008-07-18 コネクタ

Country Status (4)

Country Link
US (1) US7850469B2 (ja)
JP (1) JP5211906B2 (ja)
CN (1) CN101662096B (ja)
DE (1) DE102009030307B4 (ja)

Cited By (2)

* Cited by examiner, † Cited by third party
Publication number Priority date Publication date Assignee Title
JP2013157148A (ja) * 2012-01-27 2013-08-15 Sumitomo Wiring Syst Ltd コネクタ
CN106486839A (zh) * 2015-08-28 2017-03-08 住友电装株式会社 连接器

Families Citing this family (3)

* Cited by examiner, † Cited by third party
Publication number Priority date Publication date Assignee Title
CA2829408C (en) 2012-10-08 2016-02-16 Thomas & Betts International, Inc. Electrical service disconnect
GB2537005B (en) * 2015-01-26 2019-08-21 Cirrus Logic Int Semiconductor Ltd MEMS devices and processes
DE102015205363B4 (de) * 2015-03-24 2022-05-05 Itt Manufacturing Enterprises Llc Haltevorrichtung zum Halten einer Anzahl von Steckverbindern

Citations (3)

* Cited by examiner, † Cited by third party
Publication number Priority date Publication date Assignee Title
JP2001267005A (ja) * 2000-03-21 2001-09-28 Yazaki Corp 防水ダミーコネクタ
JP2003324824A (ja) * 2002-04-26 2003-11-14 Auto Network Gijutsu Kenkyusho:Kk Ecu集中収容箱とワイヤハーネス側コネクタの接続構造
JP2004241205A (ja) * 2003-02-04 2004-08-26 Furukawa Electric Co Ltd:The 積層ジョイントコネクタ

Family Cites Families (10)

* Cited by examiner, † Cited by third party
Publication number Priority date Publication date Assignee Title
JP2725758B2 (ja) * 1993-10-27 1998-03-11 矢崎総業株式会社 防水コネクタ用ダミー栓および防水コネクタ
JP3009122B2 (ja) * 1994-03-03 2000-02-14 矢崎総業株式会社 防水コネクタの防水栓
US5653602A (en) * 1995-02-22 1997-08-05 Yazaki Corporation Erroneous connection preventing stopping plug
JP3111170B2 (ja) * 1996-12-06 2000-11-20 株式会社ハーネス総合技術研究所 コネクタ用端子の挿入・離脱方法
JP2000133368A (ja) * 1998-10-20 2000-05-12 Yazaki Corp 防水コネクタとダミー栓の係止構造
JP2002198127A (ja) * 2000-12-25 2002-07-12 Sumitomo Wiring Syst Ltd コネクタ
US20020142654A1 (en) * 2001-03-27 2002-10-03 Bobay Dennis P. Connector plug gap sealer
US6527567B1 (en) * 2002-06-21 2003-03-04 Guadalupe Aguirre, Jr. Locking jack cover system
CN100517876C (zh) * 2006-07-28 2009-07-22 佛山市顺德区顺达电脑厂有限公司 Rj11/rj45插孔的遮盖结构
JP5160815B2 (ja) * 2007-06-07 2013-03-13 タイコエレクトロニクスジャパン合同会社 ダミープラグ

Patent Citations (3)

* Cited by examiner, † Cited by third party
Publication number Priority date Publication date Assignee Title
JP2001267005A (ja) * 2000-03-21 2001-09-28 Yazaki Corp 防水ダミーコネクタ
JP2003324824A (ja) * 2002-04-26 2003-11-14 Auto Network Gijutsu Kenkyusho:Kk Ecu集中収容箱とワイヤハーネス側コネクタの接続構造
JP2004241205A (ja) * 2003-02-04 2004-08-26 Furukawa Electric Co Ltd:The 積層ジョイントコネクタ

Cited By (2)

* Cited by examiner, † Cited by third party
Publication number Priority date Publication date Assignee Title
JP2013157148A (ja) * 2012-01-27 2013-08-15 Sumitomo Wiring Syst Ltd コネクタ
CN106486839A (zh) * 2015-08-28 2017-03-08 住友电装株式会社 连接器

Also Published As

Publication number Publication date
US20100015827A1 (en) 2010-01-21
DE102009030307A1 (de) 2010-01-21
CN101662096B (zh) 2012-06-20
CN101662096A (zh) 2010-03-03
DE102009030307B4 (de) 2021-01-14
JP5211906B2 (ja) 2013-06-12
US7850469B2 (en) 2010-12-14

Similar Documents

Publication Publication Date Title
EP1928061B1 (en) A connector
JP5883366B2 (ja) 電気コネクタ組立体
JP5811429B2 (ja) レバー式コネクタ
EP2495826A1 (en) Connector
JP5347936B2 (ja) レバー式コネクタ
US20140127928A1 (en) Connector
JP2009110669A (ja) コネクタ
JP4398388B2 (ja) コネクタ
JP5211906B2 (ja) コネクタ
JP4497038B2 (ja) レバー式コネクタ
JP4575423B2 (ja) コネクタ
JP2008270152A (ja) コネクタ
JP2021111536A (ja) コネクタ
WO2021145171A1 (ja) コネクタ
JP5329339B2 (ja) コネクタ
JP5594008B2 (ja) コネクタ
JP2014149954A (ja) レバー式コネクタ
JP5440462B2 (ja) コネクタ
JP2015064957A (ja) レバー嵌合式コネクタ
JP2005166575A (ja) コネクタ
JP2009110672A (ja) コネクタ
JP4158686B2 (ja) ロック構造
JP2018032574A (ja) 平型導体用電気コネクタ
JP2010020935A (ja) シールドコネクタ
JP2005209471A (ja) コネクタ

Legal Events

Date Code Title Description
A621 Written request for application examination

Free format text: JAPANESE INTERMEDIATE CODE: A621

Effective date: 20110228

A977 Report on retrieval

Free format text: JAPANESE INTERMEDIATE CODE: A971007

Effective date: 20120625

A131 Notification of reasons for refusal

Free format text: JAPANESE INTERMEDIATE CODE: A131

Effective date: 20120703

A521 Request for written amendment filed

Free format text: JAPANESE INTERMEDIATE CODE: A523

Effective date: 20120808

TRDD Decision of grant or rejection written
A01 Written decision to grant a patent or to grant a registration (utility model)

Free format text: JAPANESE INTERMEDIATE CODE: A01

Effective date: 20130129

A61 First payment of annual fees (during grant procedure)

Free format text: JAPANESE INTERMEDIATE CODE: A61

Effective date: 20130211

R150 Certificate of patent or registration of utility model

Ref document number: 5211906

Country of ref document: JP

Free format text: JAPANESE INTERMEDIATE CODE: R150

Free format text: JAPANESE INTERMEDIATE CODE: R150

FPAY Renewal fee payment (event date is renewal date of database)

Free format text: PAYMENT UNTIL: 20160308

Year of fee payment: 3

LAPS Cancellation because of no payment of annual fees