JP2010021431A - プラズマ処理装置システムの制御装置、プラズマ処理システムの制御方法および制御プログラムを記憶した記憶媒体 - Google Patents

プラズマ処理装置システムの制御装置、プラズマ処理システムの制御方法および制御プログラムを記憶した記憶媒体 Download PDF

Info

Publication number
JP2010021431A
JP2010021431A JP2008181700A JP2008181700A JP2010021431A JP 2010021431 A JP2010021431 A JP 2010021431A JP 2008181700 A JP2008181700 A JP 2008181700A JP 2008181700 A JP2008181700 A JP 2008181700A JP 2010021431 A JP2010021431 A JP 2010021431A
Authority
JP
Japan
Prior art keywords
plasma processing
plasma
reference recipe
adjustment
processing apparatus
Prior art date
Legal status (The legal status is an assumption and is not a legal conclusion. Google has not performed a legal analysis and makes no representation as to the accuracy of the status listed.)
Granted
Application number
JP2008181700A
Other languages
English (en)
Other versions
JP5089513B2 (ja
Inventor
Kiyohito Iijima
清仁 飯島
Hiroo Mochizuki
宏朗 望月
Current Assignee (The listed assignees may be inaccurate. Google has not performed a legal analysis and makes no representation or warranty as to the accuracy of the list.)
Tokyo Electron Ltd
Original Assignee
Tokyo Electron Ltd
Priority date (The priority date is an assumption and is not a legal conclusion. Google has not performed a legal analysis and makes no representation as to the accuracy of the date listed.)
Filing date
Publication date
Application filed by Tokyo Electron Ltd filed Critical Tokyo Electron Ltd
Priority to JP2008181700A priority Critical patent/JP5089513B2/ja
Priority to US12/496,137 priority patent/US8055368B2/en
Publication of JP2010021431A publication Critical patent/JP2010021431A/ja
Application granted granted Critical
Publication of JP5089513B2 publication Critical patent/JP5089513B2/ja
Expired - Fee Related legal-status Critical Current
Anticipated expiration legal-status Critical

Links

Images

Classifications

    • GPHYSICS
    • G05CONTROLLING; REGULATING
    • G05BCONTROL OR REGULATING SYSTEMS IN GENERAL; FUNCTIONAL ELEMENTS OF SUCH SYSTEMS; MONITORING OR TESTING ARRANGEMENTS FOR SUCH SYSTEMS OR ELEMENTS
    • G05B19/00Programme-control systems
    • G05B19/02Programme-control systems electric
    • G05B19/418Total factory control, i.e. centrally controlling a plurality of machines, e.g. direct or distributed numerical control [DNC], flexible manufacturing systems [FMS], integrated manufacturing systems [IMS] or computer integrated manufacturing [CIM]
    • G05B19/41865Total factory control, i.e. centrally controlling a plurality of machines, e.g. direct or distributed numerical control [DNC], flexible manufacturing systems [FMS], integrated manufacturing systems [IMS] or computer integrated manufacturing [CIM] characterised by job scheduling, process planning, material flow
    • GPHYSICS
    • G05CONTROLLING; REGULATING
    • G05BCONTROL OR REGULATING SYSTEMS IN GENERAL; FUNCTIONAL ELEMENTS OF SUCH SYSTEMS; MONITORING OR TESTING ARRANGEMENTS FOR SUCH SYSTEMS OR ELEMENTS
    • G05B2219/00Program-control systems
    • G05B2219/30Nc systems
    • G05B2219/31From computer integrated manufacturing till monitoring
    • G05B2219/31443Keep track of nc program, recipe program
    • GPHYSICS
    • G05CONTROLLING; REGULATING
    • G05BCONTROL OR REGULATING SYSTEMS IN GENERAL; FUNCTIONAL ELEMENTS OF SUCH SYSTEMS; MONITORING OR TESTING ARRANGEMENTS FOR SUCH SYSTEMS OR ELEMENTS
    • G05B2219/00Program-control systems
    • G05B2219/30Nc systems
    • G05B2219/32Operator till task planning
    • G05B2219/32097Recipe programming for flexible batch
    • YGENERAL TAGGING OF NEW TECHNOLOGICAL DEVELOPMENTS; GENERAL TAGGING OF CROSS-SECTIONAL TECHNOLOGIES SPANNING OVER SEVERAL SECTIONS OF THE IPC; TECHNICAL SUBJECTS COVERED BY FORMER USPC CROSS-REFERENCE ART COLLECTIONS [XRACs] AND DIGESTS
    • Y02TECHNOLOGIES OR APPLICATIONS FOR MITIGATION OR ADAPTATION AGAINST CLIMATE CHANGE
    • Y02PCLIMATE CHANGE MITIGATION TECHNOLOGIES IN THE PRODUCTION OR PROCESSING OF GOODS
    • Y02P90/00Enabling technologies with a potential contribution to greenhouse gas [GHG] emissions mitigation
    • Y02P90/02Total factory control, e.g. smart factories, flexible manufacturing systems [FMS] or integrated manufacturing systems [IMS]

Landscapes

  • Engineering & Computer Science (AREA)
  • General Engineering & Computer Science (AREA)
  • Manufacturing & Machinery (AREA)
  • Quality & Reliability (AREA)
  • Physics & Mathematics (AREA)
  • General Physics & Mathematics (AREA)
  • Automation & Control Theory (AREA)
  • Drying Of Semiconductors (AREA)
  • Chemical Vapour Deposition (AREA)

Abstract

【課題】レシピの管理を簡略化する。
【解決手段】装置コントローラECは、プラズマ処理の手順を示した基準レシピ300を記憶する記憶部250と、少なくとも複数ロットの処理間隔を置いて所定のタイミングに複数のプロセスモジュールPM内の状態の変動値を演算する演算部260と、演算部260により演算されたプロセスモジュールPM内の状態の変動値から基準レシピ300を調整するための調整テーブル310a,310bをプロセスモジュールPM毎に生成するテーブル生成部265と、テーブル生成部265により生成されたプロセスモジュールPM毎の調整テーブル310a,310bを用いて基準レシピ300を調整し、調整された基準レシピ300の手順に従いプロセスモジュールPMにてウエハをプラズマ処理する処理実行制御部270と、を備える。
【選択図】図4

Description

本発明は、被処理体に所定の処理を施すプラズマ処理システムの制御装置、プラズマ処理システムの制御方法および制御プログラムを記憶した記憶媒体に関し、より詳細にはレシピの調整に関する。
半導体製造工場では、複数のプラズマ処理装置を配設し、並行して被処理体に所望のプラズマ処理を施すことにより、工場全体の処理の効率を高め、生産性を向上させている。複数のプラズマ処理装置は、制御装置により管理されている。制御装置は、複数のプラズマ処理装置に対応した複数のレシピを管理していて、レシピに示された手順に基づき、処理室にて被処理体例えば製品ウエハ(以下、ウエハとも称呼する)にプラズマ処理を施す(たとえば、特許文献1参照)。
プラズマ処理装置では、各種ガスが使用されるが、エッチング処理装置の場合、たとえばフルオロカーボン系の処理ガスが使用されると、エッチング処理中、エッチングマスクとして使用するレジストや消耗しやすいフォーカスリング等のパーツが削れ、副生産物が生成される。副生産物の一部は排気されず、有機物となって処理室の内壁に付着し、徐々に堆積する。これに従い処理室内の状態が徐々に変動する。
処理室内の状態が変動すると、レシピの手順に従ってエッチング処理を実行しても、前回と同じ結果が得られず、処理後のウエハに所望の特性が得られなくなり、好ましくない。そこで、ウエハの連続処理の合間に定期的にエッチング特性を測定するためのテストウエハを挿入して処理室内の変動を測定したり、ウエハのエッチング結果からレシピを変更し、処理後のウエハのエッチング特定のバラツキを所定の範囲内に調節することも提案されている。
特開平9−129529号公報
しかしながら、処理室内の状態に合わせてレシピを変更すると、複数のプラズマ処理装置にて同一処理を行っているにもかかわらず、各プラズマ処理装置に対して別々のレシピを管理しなければならず煩雑となる。
これに加えて、各プラズマ処理装置では、必ずしも常に同一処理が行われているわけではなく、同一処理室内で複数種類の処理が行われる場合もある。その場合、各プラズマ処理装置に対して行われる処理の種類数だけレシピが必要になる。たとえば、各プラズマ処理装置に対して10種類の処理が可能であり、かつ、工場内に10台のプラズマ処理装置が設置されている構成を考えた場合、各装置の処理室内の状態に合わせてレシピを変更すると、100(=10種類×10台)個のレシピを管理しなければならないことがわかる。このようなレシピの管理は、工場が巨大化して工場内に配設されるプラズマ処理装置の数が増大している近年においては特に煩雑さを増し、管理が困難になる。
そこで、本発明は、レシピの管理を簡略化するプラズマ処理システムの制御装置、プラズマ処理システムの制御方法および制御プログラムを記憶した記憶媒体を提供する。
すなわち、上記課題を解決するために、本発明のある観点によれば、複数のプラズマ処理装置の処理室内にて被処理体にプラズマ処理を施すプラズマ処理システムの制御装置であって、プラズマ処理の手順を示した基準レシピを記憶する記憶部と、少なくとも複数ロットの処理間隔を置いて所定のタイミングに前記複数のプラズマ処理装置内の状態を示す変動値を算出する演算部と、前記演算部により演算された前記プラズマ処理装置内の状態の変動値から前記基準レシピを調整するための調整テーブルを前記プラズマ処理装置毎に生成するテーブル生成部と、前記テーブル生成部により生成された調整テーブルのいずれかを用いて前記基準レシピを調整し、調整された基準レシピの手順に従い前記プラズマ処理装置にて被処理体をプラズマ処理する処理実行制御部と、を備えるプラズマ処理システムの制御装置が提供される。
これによれば、少なくとも複数ロットの処理間隔を置いて所定のタイミングにプラズマ処理装置内の状態を示す変動値が演算され、その演算結果に基づき調整テーブルが生成される。調整テーブルは、基準レシピの調整に使われ、調整された基準レシピの手順に基づき被処理体がプラズマ処理される。これにより、各プラズマ処理装置の処理室の状態の変動値は調整テーブルで調整すればよく、基準レシピは一切変更しなくて良いため、制御装置は、同一処理につき一つの基準レシピを管理すればよい。この結果、制御装置の処理の負荷が軽減され、レシピの管理やメンテナンスが容易になる。
前記演算部は、クリーニング又はシーズニングの少なくともいずれかの後であって被処理体を処理する前の各プラズマ処理装置内の状態の変動値を演算してもよい。
前記テーブル生成部は、被処理体の製品種類に基づきグループ化した複数の調整テーブルを生成し、前記処理実行制御部は、前記グループ化した複数の調整テーブルのうち、次に処理する被処理体の製品が属する調整テーブルを用いて前記基準レシピを調整し、調整された基準レシピの手順に従い前記プラズマ処理装置にて被処理体をプラズマ処理してもよい。
これによれば、被処理体の製品種類に基づきグループ化された複数の調整テーブルが生成される。被処理体の製品種類によってグループ化された調整テーブルは、プラズマ処理装置毎の処理室の状態の経時変化に対して同種の影響を受けるグループをより適正に調整するテーブルである。よって、次の被処理体の製品が属する調整テーブルを用いて基準レシピを調整することにより、処理室の状態の経時変化に対してより変動しにくいプラズマ処理をウエハに施すことができる。
前記テーブル生成部は、前記基準レシピに定められた各プロセス条件値を増減する比率をプロセス条件毎に調整テーブルに設定してもよい。
前記テーブル生成部は、前記基準レシピに定められた各プロセス条件値を増減する比率をプロセス条件のステップ毎に調整テーブルに設定してもよい。
前記テーブル生成部は、
各プラズマ処理装置の次のクリーニング又はシーズニングまでは前記調整テーブルを更新しなくてもよい。前記プラズマ処理は、プラズマエッチング処理であってもよい。
前記演算部は、クリーニング又はシーズニングの少なくともいずれかの後のプラズマ処理装置にてテスト用の被処理体をプラズマエッチング処理した結果、前記テスト用の被処理体のエッチング状態から前記プラズマ処理装置の状態を示した変動値を演算してもよい。
上記課題を解決するために、本発明の別の観点によれば、複数のプラズマ処理装置の処理室内にて被処理体にプラズマ処理を施すプラズマ処理システムの制御方法であって、プラズマ処理の手順を示した基準レシピを記憶部に記憶し、少なくとも複数ロットの処理間隔を置いて所定のタイミングに前記複数のプラズマ処理装置内の状態を示した変動値を演算し、前記演算された前記プラズマ処理装置内の状態の変動値から前記基準レシピを調整するための調整テーブルを前記プラズマ処理装置毎に生成し、前記生成された前記プラズマ処理装置毎の調整テーブルのいずれかを用いて前記基準レシピを調整し、調整された基準レシピの手順に従い前記プラズマ処理装置にて被処理体をプラズマ処理するプラズマ処理システムの制御方法が提供される。
上記課題を解決するために、本発明の別の観点によれば、複数のプラズマ処理装置の処理室内にて被処理体にプラズマ処理を施すプラズマ処理システムの制御をコンピュータに実行させる制御プログラムを記憶した記憶媒体であって、プラズマ処理の手順を示した基準レシピを記憶部に記憶する処理と、少なくとも複数ロットの処理間隔を置いて所定のタイミングに前記複数のプラズマ処理装置内の状態を示した変動値を演算する処理と、前記演算された前記プラズマ処理装置内の状態の変動値から前記基準レシピを調整するための調整テーブルを前記プラズマ処理装置毎に生成する処理と、前記生成された前記プラズマ処理装置毎の調整テーブルのいずれかを用いて前記基準レシピを調整し、調整された基準レシピの手順に従い前記プラズマ処理装置にて被処理体をプラズマ処理する処理と、を含む制御プログラムを記憶した記憶媒体が提供される。
これらによれば、調整テーブルを用いてプラズマ処理装置の処理室内の状態の変動分だけ基準レシピを調整することができる。これにより、制御装置は、装置内の状態の変動を考慮したレシピ管理が不要になり、処理負荷の軽減及びレシピ管理の簡略化を図ることができる。
以上説明したように、本発明によれば、プラズマ処理装置を制御する制御装置のレシピ管理を容易にすることができる。
以下に添付図面を参照しながら、本発明の好適な実施形態について詳細に説明する。なお、以下の説明及び添付図面において、同一の構成及び機能を有する構成要素については、同一符号を付することにより、重複説明を省略する。
(第1実施形態)
まず、本発明の第1実施形態に係るプラズマ処理システム10について、図1を参照しながら説明する。本実施形態に係るプラズマ処理システム10では、シリコンウエハ(以下、ウエハWとも称呼する。)をエッチング処理し、その間にクリーニング処理を実行する。クリーニングの替わりに、又はクリーニングに加えてシーズニング処理を実行してもよい。エッチング処理は、レシピの手順に従い実行される。なお、クリーニング処理とは、プラズマ処理によって発生した処理室(チャンバ)内の堆積物をOプラズマ等で除去し、処理室内をクリーンな状態で安定させる処理をいう。また、シーズニング処理とは、ある特定のプラズマ処理を行うことによって処理室内の温度や堆積物の状態を安定させるための処理をいう。
(プラズマ処理システム)
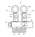
プラズマ処理システム10は、ホストコンピュータ100、管理サーバ105、装置コントローラEC(Equipment Controller)、3つのマシーンコントローラMC(Machine Controller)1〜MC3、2つのプロセスモジュールPM(Process Module)1,PM2,2つのロードロックモジュールLLM(Load Lock Module)1、LLM2及び1つのローダーモジュールLM(Loader Module)を有している。
装置コントローラECは、顧客側LAN(Local Area Network)110a、110bを介してホストコンピュータ100、管理サーバ105にそれぞれ接続されている。管理サーバ105は、PC(Personal Computer)115に接続されている。ホストコンピュータ100は、データ管理などシステム全体を管理する。管理サーバ105は、オペレータの操作によりPC115から送信されたデータに基づいて各装置の動作条件などを設定する。
装置コントローラEC、マシーンコントローラMC1〜MC3、プロセスモジュールPM1,PM2、ロードロックモジュールLLM1,LLM2は、工場内Erに設けられている。装置コントローラECは、ウエハWをエッチング処理するために使用するレシピを保持し、レシピにしたがってマシーンコントローラMCを統括して制御し、マシーンコントローラMC1〜MC3は、装置コントローラECの指令に基づき各プロセスモジュールPM及びロードロックモジュールLLM、ローダーモジュールLMを制御する。
(プラズマ処理システムの内部構成)
つぎに、プラズマ処理システム10の内部構成について、図2を参照しながら説明する。プラズマ処理システム10は、第1のプロセスシップPS1、第2のプロセスシップPS2、ローダーモジュールLM、位置合わせ機構ORT(Orientor)およびロードポートLP1、LP2、LP3を有している。
第1のプロセスシップPS1は、プロセスモジュールPM1およびロードロックモジュールLLM1を有している。第2のプロセスシップPS2は、プロセスモジュールPM2およびロードロックモジュールLLM2を有している。
ロードロックモジュールLLM1、LLM2は、内部を所定の減圧状態に保持した状態にて大気側から真空側若しくは真空側から大気側へウエハWを搬送する。すなわち、ロードロックモジュールLLM1、LLM2は、その両端に設けられたゲートバルブVの開閉により内部圧力を調整しながら、各搬送アームArma、Armbに把持されたウエハWを各プロセスモジュールPM及びローダーモジュールLM間で搬送する。
プロセスモジュールPM1、PM2は、内部を所定の真空状態に保持した状態にてロードロックモジュールLLM1、LLM2から搬送されたウエハにエッチング処理などの所定のプラズマ処理を施す。なお、プロセスモジュールPM1,PM2は、ウエハWにプラズマ処理を施すプラズマ処理装置である。
ローダーモジュールLMの側部には、ロードポートLP1〜LP3が設けられている。ローダーモジュールLMには搬送アームArmcが設けられていて、搬送アームArmcを用いてロードロックモジュールLLM1、LLM2内の搬送アームArma,Armbと連動しながらロードポートLP1〜LP3内に収容された所望のウエハWを搬送する。ローダーモジュールLMの一端には、ウエハWの位置決めを行う位置合わせ機構ORTが設けられていて、ウエハWを載置した状態で回転台を回転させながら、光学センサによりウエハ周縁部の状態を検知することにより、ウエハWの位置を合わせるようになっている。
かかる構成により、各ロードポートLPに載置されたウエハWは、ローダーモジュールLMを介して位置合わせ機構ORTにて位置あわせ後、プロセスシップPS1,PS2に交互に一枚ずつ搬送され、プロセスモジュールPM1,PM2にてプラズマ処理され、その後、再びロードポートLPに収容される。
(ECのハードウエア構成)
つぎに、装置コントローラECのハードウエア構成について、図3を参照しながら説明する。装置コントローラECは、プラズマ処理システム10の制御装置の一例である。なお、マシーンコントローラMCのハードウエア構成は装置コントローラECと同様であるためここでは説明を省略する。
図3に示したように、装置コントローラECは、ROM205、RAM210、HDD215、CPU220、バス225、内部インタフェース(内部I/F)230および外部インタフェース(外部I/F)235を有している。ROM205およびRAM210には、プラズマ処理システム10の制御をコンピュータに実行させる制御プログラム、異常発生時に起動するプログラム、各種レシピおよび各種データが蓄積されている。なお、ROM205およびRAM210は、記憶装置の一例であり、EEPROM、光ディスク、光磁気ディスクなどの記憶装置であってもよい。
HDD215には、プラズマ処理システム10にて生じるログ情報等が蓄積される。CPU220は、レシピの調整やレシピに基づくウエハの処理や搬送を制御する。バス225は、ROM205、RAM210、HDD215、CPU220、内部インタフェース230および外部インタフェース235の各デバイス間でデータをやりとりする経路である。内部インタフェース230は、データを入力し、必要なデータをディスプレイ130等に出力する。外部インタフェース235は、ホストコンピュータ100、管理サーバ105およびマシーンコントローラMCとの間でデータを送受信する。
(ECの機能構成)
つぎに、装置コントローラECの機能構成について、各機能をブロックにて示した図4を参照しながら説明する。装置コントローラECは、記憶部250、通信部255、演算部260、テーブル生成部265および処理実行制御部270の各ブロックにより示された機能を有している。
記憶部250は、エッチング処理の基準となる手順を示した基準レシピ300と基準レシピ300を調整するための調整テーブル310とを記憶している。調整テーブル310には、プロセスモジュールPM1用調整テーブル310a及びプロセスモジュールPM2用調整テーブル310bが記憶されている。
演算部260は、少なくとも複数ロットの処理間隔を置いて所定のタイミングに各プロセスモジュールPM1,PM2の状態の変動値を演算する。所定のタイミングにいずれかのプロセスモジュールPMの状態の変動値を演算する一例としては、たとえば、演算部260は、クリーニング又はシーズニングの少なくともいずれかの後にプロセスモジュールPMにてテストウエハをプラズマエッチング処理し、処理後のテストウエハのエッチング状態(たとえば、エッチング量やエッチングレート)からプロセスモジュールPMの状態の変動値を演算する。
テーブル生成部265は、演算部260により演算されたプロセスモジュールPM内の状態の変動値から基準レシピ300を調整するための調整テーブルを生成する。プロセスモジュールPM内の状態の変動は、エッチング処理中、レジストや消耗パーツが削れて副生産物が生成され、その一部が処理室の内壁に付着し、徐々に堆積することにより生じる。そのようなプロセスモジュールPMの状態を示す変動値を図5の調整テーブル310に示したようにパーセント(%)値によって表す。
調整テーブル310には、基準レシピ300に定められた各プロセスの条件値を増減する比率、たとえば、パーセント(%)値がプロセス条件単位で設定されている。たとえば、高周波電力RFの調整値は+10%、圧力の調整値は+20%、エッチング時間は−5%・・・と、各プロセス条件に対して一律に設定されている。クリーニング処理後の装置がプロセスモジュールPM1の場合、テーブル生成部265は、プロセスモジュールPM1に対応したPM1用調整テーブル310aを作成する。
処理実行制御部270は、テーブル生成部265により生成された各プロセスモジュールPM用の調整テーブル310を用いて基準レシピ300を調整する。たとえば、装置がプロセスモジュールPM1の場合、処理実行制御部270は、PM1用調整テーブル310aを用いて基準レシピ300の各プロセス条件値を調整する。これにより、図5に示した基準レシピ300の高周波電力RFは、調整テーブル310の高周波電力RFの調整値「+10%」により基準レシピ300のSTEP1及びSTEP2にて1100wを出力するように調整される。また、圧力は、基準レシピ300のSTEP1及びSTEP2にて150mTorrを出力するように調整される。
処理実行制御部270は、調整された基準レシピ300の手順に従いウエハをプラズマ処理するための指示信号をマシーンコントローラMCに送出する。図5の例で説明すると、AOパラメータテーブル320には、プロセスモジュールPMに配置した各ハードウエアのパラメータ(出力)の分解能が設定されている。たとえば、高周波電源の高周波電力RF(w)では、0〜80000の分解能(0〜5Vの電圧)が設定されている。よって、処理実行制御部270は、高周波電力RFの調整値「1100w」をAOパラメータテーブル320に設定された分解能で出力するようにマシーンコントローラMCに指示信号を送る。このようにして、プロセスモジュールPM毎の処理室内の状態の変動は、基準レシピ300を変更することなく、基準レシピ300を調整テーブルで調整することにより吸収され、各プロセスモジュールPMの状態の変動に応じてプラズマ処理を実行することができる。
通信部255は、ホストコンピュータ100、管理サーバ105及びマシーンコントローラMCと情報を送受信する。たとえば、通信部255は、エッチング処理の指令をマシーンコントローラMCに送信する。また、通信部255は、調整テーブル310の調整値(%値)をホストコンピュータ100でも管理できるようにECV(Equipment Constant Value)にてホストコンピュータ100に送信する。
なお、以上に説明した装置コントローラECの各部の機能は、実際には、図3のCPU220がこれらの機能を実現する処理手順を記述した制御プログラムを記憶したROM205、RAM210又はHDD215から制御プログラムを読み出し、そのプログラムを解釈して実行することにより達成される。たとえば、本実施形態では、演算部260、テーブル生成部265および処理実行制御部270の各機能は、実際には、CPU220がこれらの機能を実現する処理手順を記述した制御プログラムを実行することにより達成される。
(装置コントローラECの動作)
つぎに、装置コントローラECにより実行される本実施形態に係る調整処理について図6に示したフローチャートを参照しながら説明する。図6の調整処理は、予め定められた所定時間経過毎に起動される。なお、本調整処理では、プロセスモジュールPMのクリーニング処理後にシーズニング処理は行わない。
(調整処理)
本処理は、図6のステップS600から開始され、演算部260は、ステップS605にてプロセスモジュールPM1、PM2のいずれかがクリーニング後であってウエハ処理前であるかを判定する。たとえば、図7に示したプロセスモジュールPMの処理の遷移によれば、タイミングAでは、プロセスモジュールPMにてウエハを処理しているので直ちにステップS695に進んで本処理を終了する。一方、図7のタイミングBでは、プロセスモジュールPMがクリーニング後であってウエハ処理前なので、ステップS610に進み、演算部260はテストウエハが処理済みであるかを判定する。タイミングBでは、テストウエハが処理済みなので、ステップS615に進み、演算部260は、図示しない測定装置により測定されたテストウエハの断面形状に基づきエッチング量、エッチングレートなどのエッチング状態を演算する。
つぎに、ステップS620に進み、テーブル生成部265は、テストウエハのエッチング状態の演算結果に基づいて調整テーブル310を生成する。ついで、ステップS625に進んで、処理実行制御部270は、ウエハを処理するプロセスモジュールPMがPM1かPM2かを判定する。たとえば、図7のタイミングBでウエハを処理するプロセスモジュールPMがプロセスモジュールPM1の場合、ステップS630に進み、処理実行制御部270は、PM1用調整テーブル310aを用いて基準レシピ300の調整し、調整された基準レシピ300の手順に従いプロセスモジュールPM1にてウエハを処理し、ステップS695にて本処理を終了する。
一方、ウエハを処理するプロセスモジュールPMがプロセスモジュールPM2の場合、ステップS635に進み、処理実行制御部270は、PM2用調整テーブル310bを用いて基準レシピ300を調整し、調整された基準レシピ300の手順に従いプロセスモジュールPM2にてウエハを処理し、ステップS695にて本処理を終了する。
これによれば、図7に示した処理室内の雰囲気は、処理室内の初期状態を0としたとき、前述したように、パーツの消耗や堆積物の状態によってウエハ処理及びクリーニング処理時に初期状態からずれる。これに対して、基準レシピはプロセスモジュールPMの初期状態に合わせてプロセス条件毎に値が定められている。このため、図7の調整処理に示した手順にて基準レシピの処理室内の初期状態からのずれを調整テーブル310により調整して基準状態に合わせながらウエハを処理する。これにより、基準レシピ300を変更させることなく、基準レシピ300を補正しながらウエハ処理を行うことができる。これにより、処理室内の状態の変動に合わせて複数のレシピを管理する煩雑さを回避することができる。
また、図7の下方に示したように、調整テーブル310により基準レシピを調整しない場合(エッチングレート:調整なし)、処理室内の状態の変動が、処理されたウエハのエッチング特性に影響を及ぼし、FB/FF(フィードバック/フィードフォワード)制御にて微調整しても、処理室内の状態の変動という比較的大きな変動分を吸収するまでウエハのエッチング特性が揺らいで、良好なプラズマ処理結果が得られない場合がある。しかしながら、調整テーブル310により基準レシピ300を調整した場合(エッチングレート:調整あり)、処理室内の状態の変動に併せて基準レシピ300のデータを調整しているので、処理室内の状態の変動がウエハWのエッチング特性に与える影響が小さくなり、FB/FF制御もより良好になり、精度良く所望のエッチング特性を得ることができる。
調整テーブル310では、たとえば、クリーニング毎の処理室内の状態の変動という比較的大きな変動を調整し、FB/FF制御ではウエハ毎又はロット毎の処理室の状態の変動を微調整する。よって、テーブル生成部265は、各プロセスモジュールPMの次のクリーニング(又はシーズニング)までは調整テーブル310を更新しない。一方、FB/FF制御は、ウエハ毎又はロット毎に実行される。
(モニタ出力)
ホストコンピュータ100や工場内のディスプレイにモニタ出力する際、処理実行制御部270は、基準レシピ300を調整して出力した出力データ(図5参照)を、図8に示したようにデータ入力し(モニタリング)、調整テーブル310及びAIパラメータテーブル330の分解能を用いて元の基準レシピ300の設定値に戻し、モニタ出力する。たとえば、高周波電力RFの場合、ウエハ処理時には基準レシピ300の設定値「1000(w)」が10%増えるように調整され、「1100(w)」の高周波電力が高周波電源から出力される。しかしながら、モニタリングでは、「1100(w)」のデータを入力し、「1100(w)」が10%減るように調整され、「1000(w)」としてモニタ出力される。これにより、管理者は、プロセスモジュールPMの変動値を意識することなく、基準レシピ300に基づきエッチング処理が予定通り遂行されていることを確認することができる。
(第2実施形態)
つぎに、本発明の第2実施形態に係るプラズマ処理システム10について、図9を参照しながら説明する。本実施形態に係るプラズマ処理システム10では、ウエハWの製品種類に基づきグループ化された複数の調整テーブルをプロセスモジュールPM毎に生成する点で製品種類を考慮せず調整テーブルをプロセスモジュールPM毎に生成する第1実施形態に係るプラズマ処理システム10と異なる。よって、この相違点を中心に本実施形態に係るプラズマ処理システム10について説明する。
第2実施形態では、テーブル生成部265は、ウエハWの製品種類に基づきグループ化された複数の調整テーブルをプロセスモジュールPM毎に生成する。たとえば、記憶部250は、プロセスモジュールPM1用に製品A群用調整テーブル310a1、製品B群用調整テーブル310a2・・・、プロセスモジュールPM2用に製品A群用調整テーブル310b1、製品B群用調整テーブル310b2・・・と製品群に分けて調整テーブルを記憶する。
(装置コントローラECの動作)
第2実施形態に係る調整処理について図10に示したフローチャートを参照しながら説明する。図10の調整処理は、予め定められた所定時間経過毎に起動される。なお、本調整処理においても、プロセスモジュールPMのクリーニング処理後にシーズニング処理は行わない。
(調整処理)
本処理は、ステップS1000から開始され、演算部260は、ステップS605にてプロセスモジュールPM1、PM2のいずれかがクリーニング後であってウエハ処理前であるかを判定し、ステップS610にてテストウエハが処理済みであるかを判定する。いずれもYESの場合、ステップS615にて、演算部260は、図示しない測定装置により測定されたテストウエハの断面形状に基づきエッチング量、エッチングレートなどのエッチング状態を演算する。
つぎに、ステップS1005に進み、テーブル生成部265は、テストウエハのエッチング状態の演算結果に基づいて、ウエハWの製品種類によってグループ化された調整テーブル310を生成する。ついで、ステップS1010に進んで、処理実行制御部270は、ウエハWの属する製品群用の調整テーブル310を選択する。例えば、図11に示した例では、ウエハWのプラズマ処理後の製品が製品A群の場合、PM1用の製品A群用調整テーブル310a1、製品B群用調整テーブル310a2、・・・・、製品X群用調整テーブル310axから製品A群用調整テーブル310a1を選択する。
次に、ステップS625にて、ウエハWを処理するプロセスモジュールPMがプロセスモジュールPM1、PM2のいずれかを判定し、プロセスモジュールPM1の場合、ステップS1015に進み、処理実行制御部270は、PM1用の製品A群用調整テーブル310a1を用いて基準レシピ300を調整しながらプロセスモジュールPM1にてウエハを処理し、ステップS1095にて本処理を終了する。
一方、ウエハWを処理するプロセスモジュールPMがプロセスモジュールPM2の場合、ステップS1020に進み、処理実行制御部270は、PM2用のいずれかの製品群用の調整テーブル310bを用いて基準レシピ300を調整しながらプロセスモジュールPM2にてウエハを処理し、ステップS1095にて本処理を終了する。
これによれば、ウエハWの製品種類に基づきグループ化された複数の調整テーブル310が生成される。ウエハWの製品種類によってグループ化された調整テーブル310は、プロセスモジュールPM毎の処理室の状態の経時変化に対して同種の影響を受けるグループをより適正に調整するテーブルである。よって、次のウエハWの製品が属する調整テーブル310を用いて基準レシピ300を調整することにより、処理室の状態の経時変化に対してより変動しにくいプラズマ処理をウエハWに施すことができる。
なお、第1及び第2実施形態では、テーブル生成部265は、基準レシピ300に定められた各プロセス条件値を増減する比率をパーセント値にてプロセス条件毎に調整テーブル310に設定した。しかしながら、たとえば、図12に示すように、基準レシピ300に定められた各プロセス条件値を増減する比率をプロセス条件のステップ毎(STEP1、STEP2等毎)に調整テーブル310に設定してもよい。これによれば、次に処理するウエハWの製品が属する調整テーブル310のステップ毎に対応した調整値を用いて基準レシピ300を調整することができる。この結果、処理室の状態の経時変化に対してさらに変動しにくいプラズマ処理をウエハWに施すことができる。
以上に説明した各実施形態において、各部の動作はお互いに関連しており、互いの関連を考慮しながら、一連の動作として置き換えることができ、これにより、プラズマ処理システムの制御装置の実施形態を、プラズマ処理システムの制御方法の実施形態とすることができる。また、上記各部の動作を、各部の処理と置き換えることにより、プラズマ処理システムの制御方法の実施形態を、プラズマ処理システムの制御をコンピュータに実行させる制御プログラムを記憶した記憶媒体の実施形態とすることができる。
以上、添付図面を参照しながら本発明の好適な実施形態について説明したが、本発明は係る例に限定されないことは言うまでもない。当業者であれば、特許請求の範囲に記載された範疇内において、各種の変更例または修正例に想到し得ることは明らかであり、それらについても当然に本発明の技術的範囲に属するものと了解される。
たとえば、本発明にかかる制御装置は、装置コントローラECのみで具現化されてもよいし、装置コントローラECとマシーンコントローラMCとから具現化されていてもよい。また、装置コントローラECは、一台であってもよいし、複数台から構成されていてもよい。
被処理体にプラズマ処理を施すプラズマ処理装置の一例としては、プラズマエッチング装置、プラズマCVD装置、アッシング装置、スパッタリング装置などが挙げられる。また、被処理体には、シリコンウエハや基板が含まれる。
本発明の第1及び第2実施形態にかかるプラズマ処理システム図である。 同実施形態にかかるベプラズマ処理システムの内部構成図である。 同実施形態にかかる装置コントローラECのハードウエア構成図である。 第1実施形態にかかる装置コントローラECの機能構成図である。 同実施形態にかかる調整テーブルによるレシピの調整を説明するための図である。 同実施形態にて実行される調整処理ルーチンを示したフローチャートである。 同実施形態のプロセスモジュールにて実行される処理と状態遷移を示した図である。 同実施形態にて実行されるモニタ出力を説明するための図である。 第2実施形態にかかる装置コントローラECの機能構成図である。 同実施形態にて実行される調整処理ルーチンを示したフローチャートである。 同実施形態にかかる調整テーブルによるレシピの調整を説明するための図である。 調整テーブルの他の例である。
符号の説明
10 プラズマ処理システム
100 ホストコンピュータ
105 管理サーバ
250 記憶部
255 通信部
260 演算部
265 テーブル生成部
270 処理実行制御部
300 基準レシピ
310 調整テーブル
310a PM1用調整テーブル
310b PM2用調整テーブル
320 AOパラメータテーブル
330 AIパラメータテーブル
EC 装置コントローラ
MC マシーンコントローラ
PM、PM1,PM2 プロセスモジュール

Claims (10)

  1. 複数のプラズマ処理装置の処理室内にて被処理体にプラズマ処理を施すプラズマ処理システムの制御装置であって、
    プラズマ処理の手順を示した基準レシピを記憶する記憶部と、
    少なくとも複数ロットの処理間隔を置いて所定のタイミングに前記複数のプラズマ処理装置内の状態を示す変動値を算出する演算部と、
    前記演算部により演算された前記プラズマ処理装置内の状態の変動値から前記基準レシピを調整するための調整テーブルを前記プラズマ処理装置毎に生成するテーブル生成部と、
    前記テーブル生成部により生成された前記プラズマ処理装置毎の調整テーブルのいずれかを用いて前記基準レシピを調整し、調整された基準レシピの手順に従い前記プラズマ処理装置にて被処理体をプラズマ処理する処理実行制御部と、を備えるプラズマ処理システムの制御装置。
  2. 前記演算部は、クリーニング又はシーズニングの少なくともいずれかの後であって被処理体を処理する前の各プラズマ処理装置内の状態の変動値を演算する請求項1に記載されたプラズマ処理システムの制御装置。
  3. 前記テーブル生成部は、被処理体の製品種類に基づきグループ化した複数の調整テーブルを生成し、
    前記処理実行制御部は、前記グループ化した複数の調整テーブルのうち、次に処理する被処理体の製品が属する調整テーブルを用いて前記基準レシピを調整し、調整された基準レシピの手順に従い前記プラズマ処理装置にて被処理体をプラズマ処理する請求項1又は2のいずれかに記載されたプラズマ処理システムの制御装置。
  4. 前記テーブル生成部は、
    前記基準レシピに定められた各プロセス条件値を増減する比率をプロセス条件毎に調整テーブルに設定する請求項1〜3のいずれかに記載されたプラズマ処理システムの制御装置。
  5. 前記テーブル生成部は、
    前記基準レシピに定められた各プロセス条件値を増減する比率をプロセス条件のステップ毎に調整テーブルに設定する請求項1〜3のいずれかに記載されたプラズマ処理システムの制御装置。
  6. 前記テーブル生成部は、
    各プラズマ処理装置の次のクリーニング又はシーズニングまでは前記調整テーブルを更新しない請求項1〜5のいずれかに記載されたプラズマ処理システムの制御装置。
  7. 前記プラズマ処理は、プラズマエッチング処理である請求項1〜6のいずれかに記載されたプラズマ処理装置システムの制御装置。
  8. 前記演算部は、
    クリーニング又はシーズニングの少なくともいずれかの後のプラズマ処理装置にてテスト用の被処理体をプラズマエッチング処理した結果、前記テスト用の被処理体のエッチング状態から前記プラズマ処理装置の状態を示した変動値を演算する請求項7に記載されたプラズマ処理システムの制御装置。
  9. 複数のプラズマ処理装置の処理室内にて被処理体にプラズマ処理を施すプラズマ処理システムの制御方法であって、
    プラズマ処理の手順を示した基準レシピを記憶部に記憶し、
    少なくとも複数ロットの処理間隔を置いて所定のタイミングに前記複数のプラズマ処理装置内の状態を示す変動値を演算し、
    前記演算された前記プラズマ処理装置内の状態の変動値から前記基準レシピを調整するための調整テーブルを前記プラズマ処理装置毎に生成し、
    前記生成された前記プラズマ処理装置毎の調整テーブルのいずれかを用いて前記基準レシピを調整し、調整された基準レシピの手順に従い前記プラズマ処理装置にて被処理体をプラズマ処理するプラズマ処理システムの制御方法。
  10. 複数のプラズマ処理装置の処理室内にて被処理体にプラズマ処理を施すプラズマ処理システムの制御をコンピュータに実行させる制御プログラムを記憶した記憶媒体であって、
    プラズマ処理の手順を示した基準レシピを記憶部に記憶する処理と、
    少なくとも複数ロットの処理間隔を置いて所定のタイミングに前記複数のプラズマ処理装置内の状態を示す変動値を演算する処理と、
    前記演算された前記プラズマ処理装置内の状態の変動値から前記基準レシピを調整するための調整テーブルを前記プラズマ処理装置毎に生成する処理と、
    前記生成された前記プラズマ処理装置毎の調整テーブルのいずれかを用いて前記基準レシピを調整し、調整された基準レシピの手順に従い前記プラズマ処理装置にて被処理体をプラズマ処理する処理と、を含む制御プログラムを記憶した記憶媒体。
JP2008181700A 2008-07-11 2008-07-11 プラズマ処理装置システムの制御装置、プラズマ処理システムの制御方法および制御プログラムを記憶した記憶媒体 Expired - Fee Related JP5089513B2 (ja)

Priority Applications (2)

Application Number Priority Date Filing Date Title
JP2008181700A JP5089513B2 (ja) 2008-07-11 2008-07-11 プラズマ処理装置システムの制御装置、プラズマ処理システムの制御方法および制御プログラムを記憶した記憶媒体
US12/496,137 US8055368B2 (en) 2008-07-11 2009-07-01 Control device and control method of plasma processing system, and storage medium storing control program

Applications Claiming Priority (1)

Application Number Priority Date Filing Date Title
JP2008181700A JP5089513B2 (ja) 2008-07-11 2008-07-11 プラズマ処理装置システムの制御装置、プラズマ処理システムの制御方法および制御プログラムを記憶した記憶媒体

Publications (2)

Publication Number Publication Date
JP2010021431A true JP2010021431A (ja) 2010-01-28
JP5089513B2 JP5089513B2 (ja) 2012-12-05

Family

ID=41505884

Family Applications (1)

Application Number Title Priority Date Filing Date
JP2008181700A Expired - Fee Related JP5089513B2 (ja) 2008-07-11 2008-07-11 プラズマ処理装置システムの制御装置、プラズマ処理システムの制御方法および制御プログラムを記憶した記憶媒体

Country Status (2)

Country Link
US (1) US8055368B2 (ja)
JP (1) JP5089513B2 (ja)

Cited By (2)

* Cited by examiner, † Cited by third party
Publication number Priority date Publication date Assignee Title
JP2015029093A (ja) * 2013-07-26 2015-02-12 ラム リサーチ コーポレーションLam Research Corporation チャンバ内整合及びチャンバ間整合のための、複数パラメータを使用したエッチング速度モデル化及びその使用
JP2017532788A (ja) * 2014-10-17 2017-11-02 ラム リサーチ コーポレーションLam Research Corporation 調整可能ガスフロー制御のためのガス分離器を含むガス供給配送配置

Families Citing this family (5)

* Cited by examiner, † Cited by third party
Publication number Priority date Publication date Assignee Title
TWI356178B (en) * 2008-04-17 2012-01-11 Ralink Technology Corp Power-saving and state retention method for an ele
CN102456537B (zh) * 2010-10-27 2013-11-06 沈阳中科博微自动化技术有限公司 面向集束半导体设备的反应腔和传片腔功能调用方法
CN103451629B (zh) * 2013-09-10 2016-07-06 冠铨(山东)光电科技有限公司 Mocvd自动控制器
US11928705B2 (en) 2016-10-25 2024-03-12 Uplight, Inc. Instant rebates for demand response enrollment and clawbacks
CN114388403B (zh) * 2021-11-17 2025-08-26 深圳市傲科光电子有限公司 批量晶圆的处理方法、蚀刻系统及存储介质

Citations (4)

* Cited by examiner, † Cited by third party
Publication number Priority date Publication date Assignee Title
JPH08246169A (ja) * 1995-03-13 1996-09-24 Hitachi Ltd プラズマ処理装置
JPH11186204A (ja) * 1997-12-22 1999-07-09 Nec Corp 半導体製造装置のレシピ修正方法
JP2006040930A (ja) * 2004-07-22 2006-02-09 Toshiba Corp 自動レシピ作成装置及び作成方法
WO2007125887A1 (ja) * 2006-04-28 2007-11-08 Tokyo Electron Limited プロセス情報管理装置、およびプログラム

Family Cites Families (9)

* Cited by examiner, † Cited by third party
Publication number Priority date Publication date Assignee Title
JP2986146B2 (ja) 1995-11-02 1999-12-06 東京エレクトロン株式会社 半導体製造装置のレシピ運用システム
US5812403A (en) * 1996-11-13 1998-09-22 Applied Materials, Inc. Methods and apparatus for cleaning surfaces in a substrate processing system
US6258610B1 (en) * 1999-07-02 2001-07-10 Agere Systems Guardian Corp. Method analyzing a semiconductor surface using line width metrology with auto-correlation operation
US6350697B1 (en) * 1999-12-22 2002-02-26 Lam Research Corporation Method of cleaning and conditioning plasma reaction chamber
US6616759B2 (en) * 2001-09-06 2003-09-09 Hitachi, Ltd. Method of monitoring and/or controlling a semiconductor manufacturing apparatus and a system therefor
US20040173311A1 (en) * 2003-03-04 2004-09-09 Tomoyoshi Ichimaru Plasma processing apparatus and method
US7292906B2 (en) * 2004-07-14 2007-11-06 Tokyo Electron Limited Formula-based run-to-run control
US20070215180A1 (en) * 2006-03-15 2007-09-20 Tokyo Electron Limited Cleaning method of substrate processing equipment, substrate processing equipment, and recording medium for recording program thereof
US7425510B2 (en) * 2006-08-17 2008-09-16 Samsung Electronics Co., Ltd. Methods of cleaning processing chamber in semiconductor device fabrication equipment

Patent Citations (4)

* Cited by examiner, † Cited by third party
Publication number Priority date Publication date Assignee Title
JPH08246169A (ja) * 1995-03-13 1996-09-24 Hitachi Ltd プラズマ処理装置
JPH11186204A (ja) * 1997-12-22 1999-07-09 Nec Corp 半導体製造装置のレシピ修正方法
JP2006040930A (ja) * 2004-07-22 2006-02-09 Toshiba Corp 自動レシピ作成装置及び作成方法
WO2007125887A1 (ja) * 2006-04-28 2007-11-08 Tokyo Electron Limited プロセス情報管理装置、およびプログラム

Cited By (2)

* Cited by examiner, † Cited by third party
Publication number Priority date Publication date Assignee Title
JP2015029093A (ja) * 2013-07-26 2015-02-12 ラム リサーチ コーポレーションLam Research Corporation チャンバ内整合及びチャンバ間整合のための、複数パラメータを使用したエッチング速度モデル化及びその使用
JP2017532788A (ja) * 2014-10-17 2017-11-02 ラム リサーチ コーポレーションLam Research Corporation 調整可能ガスフロー制御のためのガス分離器を含むガス供給配送配置

Also Published As

Publication number Publication date
US8055368B2 (en) 2011-11-08
US20100010658A1 (en) 2010-01-14
JP5089513B2 (ja) 2012-12-05

Similar Documents

Publication Publication Date Title
JP5089513B2 (ja) プラズマ処理装置システムの制御装置、プラズマ処理システムの制御方法および制御プログラムを記憶した記憶媒体
JP5779482B2 (ja) プラズマ処理装置およびプラズマ処理方法
US8055378B2 (en) Device for controlling processing system, method for controlling processing system and computer-readable storage medium stored processing program
Butler et al. Supervisory run-to-run control of polysilicon gate etch using in situ ellipsometry
TWI772325B (zh) 電漿處理狀態的控制方法與系統
JP4377224B2 (ja) ウェハを処理加工する方法、システム及びそのためのコンピュータプログラム
KR101113203B1 (ko) 상태 추정 결과에 기초한 샘플링 레이트 조정
US8571703B2 (en) System, method and storage medium for controlling a processing system
KR20120112202A (ko) 플라즈마 처리 장치, 플라즈마 처리 방법 및 기억 매체
JP5165878B2 (ja) 基板処理装置の制御装置、制御方法および制御プログラムを記憶した記憶媒体
KR102490646B1 (ko) 기판 처리 장치의 제어 장치 및 기판 처리 표시 방법
JP2020123675A (ja) 半導体製造装置の管理システム及びその方法
CN101438217B (zh) 用于评估与处理过程关联的状态的方法与系统
US6665623B1 (en) Method and apparatus for optimizing downstream uniformity
JP2024020572A (ja) ヒータアレイにおける故障の特定および補償
JP2023546905A (ja) リアルタイムで製品基板を検出し補正するための、改良されたプロセスおよびハードウェアアーキテクチャ
JP2008135517A (ja) 基板処理装置の制御装置、制御方法および制御プログラムを記憶した記憶媒体
JP4828831B2 (ja) 半導体装置の製造方法
JP5571122B2 (ja) 基板処理装置および基板処理装置の制御方法
JP5242906B2 (ja) 基板処理装置の制御装置、制御方法および制御プログラムを記憶した記憶媒体
US7103439B1 (en) Method and apparatus for initializing tool controllers based on tool event data
TWI803364B (zh) 蝕刻機台的控制方法
JP2006513561A (ja) パラレル欠陥検出
TWI912732B (zh) 徑向蝕刻均勻度的主動控制之方法及系統
JP2019053356A (ja) 制御システム、異常検知方法、および異常検知プログラム

Legal Events

Date Code Title Description
A621 Written request for application examination

Free format text: JAPANESE INTERMEDIATE CODE: A621

Effective date: 20110622

A521 Written amendment

Free format text: JAPANESE INTERMEDIATE CODE: A523

Effective date: 20110701

A977 Report on retrieval

Free format text: JAPANESE INTERMEDIATE CODE: A971007

Effective date: 20120419

A131 Notification of reasons for refusal

Free format text: JAPANESE INTERMEDIATE CODE: A131

Effective date: 20120424

TRDD Decision of grant or rejection written
A01 Written decision to grant a patent or to grant a registration (utility model)

Free format text: JAPANESE INTERMEDIATE CODE: A01

Effective date: 20120821

A01 Written decision to grant a patent or to grant a registration (utility model)

Free format text: JAPANESE INTERMEDIATE CODE: A01

A61 First payment of annual fees (during grant procedure)

Free format text: JAPANESE INTERMEDIATE CODE: A61

Effective date: 20120911

FPAY Renewal fee payment (event date is renewal date of database)

Free format text: PAYMENT UNTIL: 20150921

Year of fee payment: 3

R150 Certificate of patent or registration of utility model

Free format text: JAPANESE INTERMEDIATE CODE: R150

R250 Receipt of annual fees

Free format text: JAPANESE INTERMEDIATE CODE: R250

LAPS Cancellation because of no payment of annual fees