JP2010020929A - シガープラグの固定構造 - Google Patents

シガープラグの固定構造 Download PDF

Info

Publication number
JP2010020929A
JP2010020929A JP2008178066A JP2008178066A JP2010020929A JP 2010020929 A JP2010020929 A JP 2010020929A JP 2008178066 A JP2008178066 A JP 2008178066A JP 2008178066 A JP2008178066 A JP 2008178066A JP 2010020929 A JP2010020929 A JP 2010020929A
Authority
JP
Japan
Prior art keywords
plug
cigar
pressing
fixing member
spring material
Prior art date
Legal status (The legal status is an assumption and is not a legal conclusion. Google has not performed a legal analysis and makes no representation as to the accuracy of the status listed.)
Granted
Application number
JP2008178066A
Other languages
English (en)
Other versions
JP5268457B2 (ja
Inventor
Shuji Fujita
修司 藤田
Current Assignee (The listed assignees may be inaccurate. Google has not performed a legal analysis and makes no representation or warranty as to the accuracy of the list.)
YAC Co Ltd
Original Assignee
YAC Co Ltd
Priority date (The priority date is an assumption and is not a legal conclusion. Google has not performed a legal analysis and makes no representation as to the accuracy of the date listed.)
Filing date
Publication date
Application filed by YAC Co Ltd filed Critical YAC Co Ltd
Priority to JP2008178066A priority Critical patent/JP5268457B2/ja
Publication of JP2010020929A publication Critical patent/JP2010020929A/ja
Application granted granted Critical
Publication of JP5268457B2 publication Critical patent/JP5268457B2/ja
Active legal-status Critical Current
Anticipated expiration legal-status Critical

Links

Images

Landscapes

  • Details Of Connecting Devices For Male And Female Coupling (AREA)
  • Coupling Device And Connection With Printed Circuit (AREA)

Abstract

【課題】シガーソケットへのシガープラグの挿脱作業が簡単で、しかも、使用時においてシガーソケットからシガープラグが脱落することのないシガープラグおよびシガーソケットを提供する。
【解決手段】シガープラグ10のプラグ本体12の側壁に等角度間隔で形成された複数の開口34のそれぞれにその径方向に移動可能に設けられている押圧固定部材58と、押圧固定部材58の広がり幅Xがシガーソケットに設けられているプラグ受容筒体の内径Rよりも大きくなるように押圧固定部材58を拡径方向に弾発付勢するバネ材56と、プラグ本体12の後端部にその軸方向に移動可能に設けられ、プラグ本体12の先端側へ移動させたときに押圧固定部材58の広がり幅Xがプラグ受容筒体の内径Rよりも小さくなるようにバネ材56を撓ませ、外力を除荷したときにバネ材56の弾発力によって反対側へ移動してバネ材56を拡径させる切替部材20とを備える。
【選択図】図2

Description

本発明は、自動車用シガープラグの固定構造の改良に関する。
近年では、車室内をより便利で快適に過ごすために様々な後付けの電気機器(例えば、車内脱臭装置、コンパクトディスクプレーヤー、テレビ、無線機、家庭用ゲーム機、カーナビゲーションシステム、パーソナルコンピュータ或いは小型の冷蔵・保温ボックスなど)が使用されるようになっている。
これら電気機器の電源には主として自動車のバッテリーが使用され、バッテリーと電気的に接続されているシガーソケットに、電気機器の電源コードの先端に備えられたシガープラグとほぼ同一径の後付けプラグを差し込むことで電力の供給を受けている。
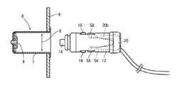
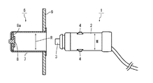
ここで、一般的なシガープラグならびにシガーソケットの構造について簡単に説明しておくと、シガープラグ1は、図11に示すように、棒状のプラグ本体2と、プラグ本体2の先端に突設された第1接触子3と、プラグ本体2の側壁から両側に突設された第2接触子4,4とを有する。第2接触子4,4は、内部に設けられたバネによって常時外方に押圧付勢されている。
一方、シガーソケット6は、円筒状の金属製プラグ受容筒体7と、絶縁材8aを介してプラグ受容筒体7の筒底に設けられた端子板8と、これらを収容するケーシング9とを有する。
シガーソケット6のプラグ受容筒体7にシガープラグ1を挿入すると、第1接触子3の先端が端子板8と当接し、両第2接触子4,4の外面がプラグ受容筒体7の内壁と当接する。第2接触子4,4は、上述したように内部に設けられたバネによって常時外方に押圧付勢されており、プラグ受容筒体7に対するプラグ本体2の寸法が適切であることと相俟ってこの押圧付勢力によってシガープラグ1がシガーソケット6にしっかりと保持される。
ところで、シガープラグやシガーソケットの大きさについては統一された規格がなく、製造メーカーによってサイズが微妙に異なっているのが実情である。そのため、同一車種の備え付け純正品同士では、プラグ受容筒体7に対するプラグ本体2の寸法が適切であることから第2接触子4,4による上記押圧付勢力が適正に働いてプラグ保持力に問題がないとしても、シガープラグ1またはシガーソケット6のどちらか一方(或いは両方)が純正品でない場合には、プラグ受容筒体7に対するプラグ本体2の寸法が不適切となり、第2接触子4,4による押圧付勢力が適正に働かずプラグ保持力に支障が生じる場合がある。
すなわち、備え付けのシガーソケットを使用して形状的に該シガーソケットに装着できるようなシガープラグが設けられている後付け電気機器(後付けシガーソケットも含む。)を使用することがあるが、この場合、(1)備え付け純正シガーソケットに前述のような後付け電気機器のシガープラグ状の後付けプラグを挿入する場合、(2)後付け電気機器の後付けソケットに純正プラグを挿入する場合、(3)後付け電気機器の後付けソケットに他社後付けプラグを挿入する場合(以下、純正,後付けを含めて単にシガーソケット、シガープラグと言う。)があるが、この場合、プラグ本体2に対するプラグ受容筒体7の寸法が微妙に大きいとグラグラして第2接子4,4による上記押圧付勢力を十分に確保することができずに接触不良が起こり、甚だしい場合には、運転中の振動によってシガープラグ1がシガーソケット6から不所望に脱け落ちてしまうというような問題があった。
そこで、従来は、例えば特許文献1に示すように、筒状のプラグ固定部材をシガープラグに取り付け、プラグの先端側がプラグの摘み部側に向かうにつれて外径が漸増するようにして該プラグ固定部材が装着されたシガープラグをシガーソケットに挿入することによってシガーソケットに対するシガープラグの保持力を高め、上述した問題に対処していた。
特開平9−283231号公報
従来技術において、シガーソケットに対するシガープラグの保持力を高めるためには、プラグ固定部材が装着されたシガープラグをシガーソケットにしっかりと押し込む必要があるが、この押し込み力が強過ぎると、シガープラグをシガーソケットから引き抜こうとした場合に簡単に引き抜くことができなくなるという問題があった。
本発明は、かかる従来の問題点に鑑みてなされたものであり、シガーソケットへのシガープラグの挿脱作業が簡単で、しかも、使用時においてシガーソケットからシガープラグが脱落することのないシガープラグの固定構造を提供することにある。
請求項1に記載した発明は、「自動車のシガーソケットに挿入されたシガープラグを固定するシガープラグの固定構造であって、シガープラグ10のプラグ本体12の側壁に等角度間隔で形成された複数の開口34のそれぞれにその径方向に移動可能に設けられている押圧固定部材58と、押圧固定部材58の広がり幅Xがシガーソケットに設けられているプラグ受容筒体の内径Rよりも大きくなるように押圧固定部材58を拡径方向に弾発付勢するバネ材56と、プラグ本体12の後端部にその軸方向に移動可能に設けられ、プラグ本体12の先端側へ移動させたときに押圧固定部材58の広がり幅Xがプラグ受容筒体の内径Rよりも小さくなるようにバネ材56を撓ませ、外力を除荷したときにバネ材56の弾発力によって反対側へ移動してバネ材56を拡径させる切替部材20とを備える」ことを特徴とするシガープラグの固定構造である。
この発明において、シガープラグ10をシガーソケットに挿入する際には、切替部材20を操作してバネ材56を撓ませる。バネ材56を撓ませると、押圧固定部材58の広がり幅Xが狭まり、プラグ受容筒体の内径Rよりも小さくなる。したがって、シガープラグ10をシガーソケットに挿入する際、押圧固定部材58がその挿入作業の妨げとなることはない。
一方、シガーソケットにシガープラグ10を挿入した後は、切替部材20に加えていた外力を除荷すればよく、たとえば、切替部材20を指で押していた場合には、切替部材20から指を離せばよい。すると、バネ材56がその弾発力によって拡径するとともに押圧固定部材58を拡径方向に移動させる。
ここで、バネ材56は押圧固定部材58の広がり幅Xがプラグ受容筒体の内径Rよりも大きくなるように押圧固定部材58を拡径方向に弾発付勢する。換言すれば、たとえシガープラグに対する寸法が不適切であっても、シガーソケットはこの押圧固定部材58によって内側から外方へ向けてしっかりと押圧されることとなり、これにより、シガーソケットに対するシガープラグ10の保持力が高められる。
請求項2に記載した発明は、「バネ材56は、プラグ後端側からプラグ先端側に向かうにしたがってプラグの中心からその間隔が広がるように外方に延びた複数の羽根56bを有し、切替部材20のプラグ先端側端部には、凹所20dが形成されており、羽根56bの外面が凹所20dの開口縁部と接触するように羽根56bのプラグ後端側端部が凹所20dに挿入されている」ことを特徴とする。
本発明は、請求項1の切替部材20の構造を具体的にしたもので、切替部材20を指で押圧してプラグ本体12の先端側に移動させると、バネ材56を構成している羽根56bの外面が凹所20dの開口縁部に押されて凹所20d内に挿入されつつ撓み、これにより押圧固定部材58の広がり幅Xが狭められる。反対に切替部材20から指を離すと、バネ材56がその弾発力によって切替部材20を押し出しつつ拡径して押圧固定部材58の広がり幅Xを広げるとともに前記押し出し作用にて切替部材20が羽根56bの外面に沿ってプラグ後方に移動して元の位置へと戻る。これにより、シガープラグ10をシガーソケットに装着する場合、或はシガープラグ10をシガーソケットに装着した状態から取り外す場合、切替部材20を指操作するだけで簡単に挿脱することが出来るようになる。
請求項3に記載した発明は、「自動車のシガーソケットに挿入されたシガープラグを固定するシガープラグの固定構造であって、シガーソケット60のプラグ受容筒体64の側面両側、プラグ挿入開口側或いはこれとは反対側にてプラグ受容筒体64に挿入されているシガープラグを挟むように互いに対向する位置に設けられている一対の押圧固定部材92と、可撓性を有し、一対の押圧固定部材92同士を互いに近接離間可能に支持するバネ材90と、プラグ受容筒体64の近傍にてその軸方向にスライド可能に設けられ、軸方向一方側へスライドさせたときには押圧固定部材92の広がり幅Yがプラグ本体12の外径Mよりも小さくなるようにバネ材90を撓ませ、反対側へスライドさせたときには押圧固定部材92の広がり幅Yがプラグ本体12の外径Mよりも大きくなるようにバネ材90を拡径させる切替部材70とを備えている」ことを特徴とするものである。
この発明では、切替部材70をプラグ受容筒体64の軸方向にスライドさせることによって、押圧固定部材92の広がり幅Yを変化させることができる。
すなわち、切替部材70を軸方向一方側へスライドさせると、バネ材90が撓んで押圧固定部材92の広がり幅Yが狭まり、シガーソケット60に挿入されているシガープラグの側壁をその両側から挟持することができるので、これにより、シガーソケット60に対するシガープラグの保持力が高められる。
一方、切替部材70を反対側へスライドさせると、バネ材90が拡径して押圧固定部材92の広がり幅Yがプラグ本体12の外径Mよりも大きくなるので、シガーソケット60へのシガープラグの挿脱作業を何等の支障なく簡単に行うことができる。
請求項4に記載した発明は、「バネ材90は、断面略U字状に屈曲形成された細長で可撓性を有する板材であり、切替部材70は、一端側に狭幅部71aが形成され、反対側に広幅部71bが形成され、狭幅部71aから広幅部71bに向かう内側面71cが次第に広幅となるようにテーパ状に形成された長孔71を有する板状の部材であり、バネ材90の先端部90aが長孔71に嵌め込まれている」ことを特徴とするものである。
本発明は、請求項3の切替部材70を具体的にしたもので、バネ材90の先端部90aが長孔71の狭幅部71aに位置するように切替部材70をスライドさせることにより、バネ材90の間隔が狭められて押圧固定部材92が縮径状態となる。反対に、先端部90aが長孔71の広幅部71bに位置するように切替部材70をスライドさせることにより、バネ材90の間隔が広げられて押圧固定部材92が拡径状態となる。この場合も切替部材70のスライドだけでシガーソケット60へのシガープラグの挿脱作業を何等の支障なく簡単に行うことができる。
請求項1〜4に記載の発明によれば、後付けと正規部品との組み合わせ或いは後付け部品同士の組み合わせにおいて、シガープラグとシガーソケットとの間で寸法に若干の誤差があったとしてもシガープラグのシガーソケットへの挿脱作業が簡単で、しかも、使用時においてシガーソケットからシガープラグが脱落することのないシガープラグおよびシガーソケットを提供できた。
[第1実施例]
以下、本発明の第1実施例を図面に従って説明する。第1実施例は、「シガープラグの固定構造」がシガープラグ側に設けられている例である。図1は、本発明の第1実施例のシガープラグ10を示す正面図であり、図2は、シガープラグ10の平面図であり、図3は、シガープラグ10の右側面図であり、図4は、図1におけるA−A断面図である。
図1〜図4に示すように、シガープラグ10は、プラグ本体12、第1接触子14、第2接触子16、バネ材56、押圧固定部材58および切替部材20により大略構成されている。
プラグ本体12は、後述する第1接触子14、第2接触子16、バネ材56、押圧固定部材58および切替部材20を収容するものであり、ケーシング12aと前側固定部材12bと後側固定部材12cとで構成されている。
ケーシング12aは、円筒状の部材であり、その軸方向一方端部(挿入先端部)には、雄ネジ32が形成されている。ケーシング12aの側壁には、2つの開口34が互いに対向する位置に形成されている(つまり、プラグ本体12を構成しているケーシング12aの側壁に2つの開口34が180度間隔で形成されている)。また、ケーシング12aの後端部外面には、周方向に延びる突条36が形成されている。なお、本実施例において、ケーシング12aは下側ケーシング12a1と上側ケーシング12a2とに上下2分割されている。
ケーシング12aの内部には、挿入先端側(図4における左側)から後端側にかけて第1接触子収容部22、第2接触子取付部24、コード孔26、バネ材取付部28、スライド溝30がそれぞれ形成されている(図4参照)。
前側固定部材12bは筒状の部材であり、その内側面の挿入先端側開口部には、係止爪46が突設されている。前側固定部材12bの内側面の後端部側には、雌ネジ44が刻設されており、この雌ネジ44をプラグ本体12の雄ネジ32に螺合することによって上下に2分割されたプラグ本体12がその前側において保持されている(図1および図4参照)。
後側固定部材12cはリング状の部材であり、この後側固定部材12cをケーシング12aの後端部に嵌合することによって上下に2分割されたプラグ本体12がその後側において保持されている。なお、後側固定部材12cの厚みは、その外面がケーシング12aの突条36の外面と略面一となるように設定されている。
第1接触子14は、つるまきばね48とヒューズ50とキャップ端子52とで構成されており、つるまきばね48とヒューズ50の後端部とが第1接触子収容部22に収容されている(図4参照)。
つるまきばね48は、その一端側が大径で他端側に向かうにつれて次第に縮径するように形成されており、その大径側端部が第1接触子収容部22の内面に突設された係止片22aと当接している。なお、シガープラグ10の使用時には、図4の点線で示すように、つるまきばね48の大径側端部に導電線Sが接続される。
つるまきばね48の小径側の外径は、後述するヒューズ50の外径よりも小さめに設定されており、この小径側端部と接するようにヒューズ50が配置されている。
ヒューズ50は、シガープラグ10に過大な電流が流れたときにこれに接続されている電気機器を保護するものであり、周知構造のものがそのまま適用される。ヒューズ50の前端部には、キャップ端子52が取り付けられている。
キャップ端子52は、その後端部側が開口しており、挿入先端部側が閉塞されているキャップ状の部材であり、その閉塞端部が前側固定部材12bの先端から外方に突出している。キャップ端子52の開口端部には、係止鍔52aがその全周に亘って形成されており、この係止鍔52aが前側固定部材12bの係止爪46に弾発状にて係止されている。
なお、プラグ本体12内に第1接触子14を収容した状態では、つるまきばね48が自然長よりも縮んだ状態となっている。したがって、ヒューズ50およびキャップ端子52は、つるまきばね48の弾発力を受けて挿入先端側に常時押圧付勢されることになる。
第2接触子16は、銅などの導電性金属材料からなる細長の板材を曲折形成したものであり、その中央部分がU字に屈曲形成されている(本実施例では、このU字状に曲げられた屈曲部16aが第2接触子取付部24に取り付けられている)。
第2接触子16の屈曲部16aよりも先端側は、外方に膨出しており、この膨出部16bがケーシング12aの左右両側の開口34からそれぞれ外方に突出している。第2接触子16の先端部16cは、ケーシング12aの内壁に係止されている。
バネ材56は、細長の金属板材をその中央部分で二つ折りにして略く字状に屈曲形成したもので、その屈曲部分56aをバネ材取付部28に引っ掛けるようにしてバネ材56がケーシング12aに取り付けられている。
バネ材56の屈曲部分56aから繋がる2枚の羽根56bは、それぞれプラグの中心からその間隔が広がるよう外方に向かって延びている。各羽根56bの先端は、互いに平行となるように内側へ若干屈曲されており、その先端屈曲部分の外面には係止爪56cが切り起こし突設されており、この係止爪56cに押圧固定部材58が取り付けられている。
押圧固定部材58は、ゴムなどの弾性材料からなるブロック状のもので、この押圧固定部材58の凹凸状に形成された外面がケーシング12aの開口34から外方に突出している。
なお、一方の押圧固定部材58の外面から他方の押圧固定部材58の外面までの距離が押圧固定部材58の広がり幅Xであり(図2参照)、拡径状態における広がり幅Xがシガーソケットのプラグ受容筒体の内径Rよりも大きくなり、縮径状態における広がり幅Xがシガーソケットのプラグ受容筒体の内径Rよりも小さくなるようにバネ材56ならびに押圧固定部材58の形状が適宜設定されている。
切替部材20は、押圧固定部材58を拡径状態から縮径状態(或いはその逆)となるようにするためのもので、円盤状のプッシュスイッチ20aと、プッシュスイッチ20aの挿入先端側端面から突設された二股のガイド部材20bとを有する(図4参照)。
プッシュスイッチ20aの外面には、鍔20cがその全周に亘って形成されており、この鍔20cがケーシング12aの後端内周全周にて前記鍔20cの幅より広い幅で凹設されたスライド溝30に嵌り込んでいる。これにより、切替部材20がスライド溝30内をその前後方向に移動できるようになっている。
二股に分かれたガイド部材20bの間に形成された凹所20dには、上述したバネ材56の屈曲部分56aが嵌り込んでおり、各ガイド部材20bの先端(凹所20dの開口縁部)がバネ材56の羽根56bの外面とそれぞれ接触している。
以上のように構成されたシガープラグ10の使用方法について述べる。シガープラグ10を使用する際には、シガープラグ10の後端部を掴んで、その後端部に設けられている切替部材20(プッシュスイッチ20a)を指で押す。すると、プッシュスイッチ20aは、2本のガイド部材20bがバネ材56の外面に沿ってバネ材56を撓めつつ前進し、押圧固定部材58の広がり幅Xを次第に狭める。
そして、切替部材20(プッシュスイッチ20a)を一番奥まで押し込むと押圧固定部材58の広がり幅Xが最小となり、このときの広がり幅Xはシガーソケットのプラグ受容筒体の内径Rよりも小さくなる。したがって、シガープラグ10をシガーソケットに挿入する際に、押圧固定部材58がシガープラグ10の挿入作業の妨げになるようなことはなく、その挿入作業を簡単に行うことができる(図5〜図6参照)。
シガープラグ10のシガーソケットへの挿入作業が完了すれば、切替部材20(プッシュスイッチ20a)から指を離す。すると、バネ材56には元の形状に戻ろうとする弾発力が働いてバネ材56が拡径する。バネ材56が拡径すると、押圧固定部材58の広がり幅Xも広がり、ゴム製で表面に凹凸が設けられている押圧固定部材58がソケットのプラグ受容筒体の内側面を内側から外側に向けて押圧する。これにより、シガーソケットに対するシガープラグ10の保持力が大いに高められ、たとえ少なくともいずれか一方が後付け部品であって両者間に僅かな寸法誤差があったとしても、運転中の振動等によるシガープラグ10のシガーソケットからの脱落を確実に防止することができる。この時、第1接触子14の先端はシガーソケットの端子板8と当接し、両第2接触子4,4の外面がプラグ受容筒体7の内壁に当接して給電可能状態となっている。
このように、本実施例では、バネ材56と押圧固定部材58との協働作業によって両者間の微小な寸法誤差が埋められ、確実な「シガープラグの固定構造」が構成されることになる。
一方、シガープラグ10をシガーソケットから取り外すときは、シガープラグ10をシガーソケットに挿入するときと同様、切替部材20のプッシュスイッチ20aを押してバネ材56の広がり幅Xを狭めて縮径状態にすればよく、これにより、シガープラグ10のシガーソケットからの抜き取り作業を簡単に行なうことができる。
なお、上述実施例では、プラグ本体12の側壁に押圧固定部材58を2個設けた例を示したが、押圧固定部材58を3個以上設けるようにしてもよい。この場合、プラグ本体12の側壁に設ける開口34やバネ材56の羽根56bならびに切替部材20のガイド部材20bの数も押圧固定部材58の数に応じて適宜設定されることになる。全ての押圧固定部材58の外面を通る円の直径(最大外径)が、押圧固定部材58の広がり幅Xとなる。
押圧固定部材58による均一な保持力を得るためには、押圧固定部材58をプラグ本体12の側壁に等角度間隔(押圧固定部材58を3個配置する場合は120度間隔)で配置するのが望ましい。
[実施例2]
次に本発明の第2実施例を図7〜図10に基づいて説明する。第2実施例は、「シガープラグの固定構造」がシガーソケット側に設けられている例である。なお、図7は、本発明の第2実施例にかかるシガーソケット60を示す斜視図であり、図8は、図7におけるB−B断面図であり、図9は、後述するケーシング62の構成を示す部分拡大斜視図(一部省略)であり、図10は、後述するバネ材90と切替部材70との関係を示す部分拡大斜視図(一部省略)である。
これらの図から分かるように、シガーソケット60は、ケーシング62、プラグ受容筒体64、端子板66、バネ材90、押圧固定部材92および切替部材70により大略構成されている。
ケーシング62は、後述するプラグ受容筒体64、端子板66、バネ材90、押圧固定部材92および切替部材70を収容する箱状のものであり、下側ケーシング62aと上側ケーシング62bとで構成されている。
下側ケーシング62aは、その上面と前面とが開口した箱状の部材であり、その内部には、端子板係止溝72、ソケット係止溝74、ソケット保持部76、バネ材取付部78および図示しないコード孔が形成されている(図8参照)。
上側ケーシング62bは、下側ケーシング62aの上面と前面とを覆う断面略逆M字状の部材で、その天井面には、端子板係止溝(図示省略)、ソケット係止溝94、ソケット保持部(図示省略)およびバネ材挿入孔86cが形成されている。
上側ケーシング62bの前面には、円形状に形成された2個のプラグ挿脱用通孔82が左右に並んで形成されており、上側ケーシング62bの上面には、切替部材取付部84が一体的に膨出状にて形成されている。
切替部材取付部84は、取付部本体86と閉塞板88とで構成されている。前記取付部本体86は、矩形ブロック状の部材であり、その上面外縁に沿って閉塞板88が嵌り込むように段状外畝部86aが凸設されており、更に段状外畝部86aの内側において該上面の左右両側には、前後方向に延び前端が切り欠かれている切替部材70の前後方向スライド用の2つのスライド溝86bが並んで凹設されている(図9参照)。各スライド溝86bの溝底には、上述したバネ材挿入孔86cが開口している。前記段状外畝部86aにおけるスライド溝86b近傍に設けた切り欠き部分が切欠部86dである。
閉塞板88は、前記段状外畝部86aに嵌り込んで取付部本体86の上面を覆う板状のもので、その後端部には、矩形状のツマミ用矩形孔88aがスライド溝86bと対応する位置に形成され、その前端部には、前記切欠部86dに嵌まり込むストッパー88bが形成されている。ストッパー88bの前端には下方に向けて係止突起88b1が突設されている。
プラグ受容筒体64は、導電性を有する金属からなる筒状の部材であり、そのプラグ挿入側が僅かに拡径しており、その開口端に外鍔64bが形成されている。プラグ受容筒体64の反対側の上下両端部には、上下に向けて2つの係止爪64aが折曲にて形成されており、この両係止爪64aが下側ケーシング62aのソケット係止溝74および上側ケーシング62bのソケット係止溝94にそれぞれ係止されている。
端子板66は、導電性を有する金属からなる板状の部材であり、その下端端縁が端子板係止溝72に係止されている。なお、シガーソケット60の使用時には、端子板66と上記プラグ受容筒体64にバッテリーから導出された電力供給コード(図示省略)が接続される。
バネ材90は、細長の金属帯材を略U字状に屈曲形成したものであり、その底面が下側ケーシング62aのバネ材取付部78にネジ止めされている。バネ材90の先端部分は内側に屈曲しており、その先端部90aが後述する切替部材70の長孔71内に嵌り込んでいる。そして前記先端部90aは、長孔71内を円滑にスライドするように外向き円弧状に形成されている。バネ材90の左右両側の羽根90bの内側面には、ゴムなどの弾性材料からなる押圧固定部材92が粘着テープにより貼り付けられている。なお、一方の押圧固定部材92の外面から他方の押圧固定部材92の外面までの距離が押圧固定部材92の広がり幅Yである(図8および図10参照)。
切替部材70は、樹脂製の板状部材であり、取付部本体86のスライド溝86bにその前後方向(プラグ受容筒体64の軸方向)にスライド可能に取り付けられている。切替部材70の中央には、その前後方向に延びる長孔71が形成されており、この長孔71に上述したバネ材90の先端部90aが嵌め込まれている。ここで、長孔71は、その前側(プラグ挿入側)が小幅に形成され、この部分が狭幅部71aであり、反対側に向かうにしたがって次第に広幅となるようにその内側面がテーパ状に形成されており、広幅部分に繋がっている。前記広幅部分が広幅部71b、テーパ部分がテーパ部71cである。そして広幅部71bにバネ材90の先端部90aが嵌り込んだ状態では、バネ材90の間隔が広がって押圧固定部材92の広がり幅Yが最大となり、狭幅部71aに嵌り込んだ状態では、バネ材90の間隔が狭まってプラグ本体の外径Mより狭い状態で押圧固定部材92の広がり幅Yが最小となる。
なお、押圧固定部材92の広がり幅Yが最大のとき、その広がり幅Yはプラグ受容筒体64の内径R(少なくとも、プラグ本体の外径M)よりも大きくなり、押圧固定部材92の広がり幅Yが最小のとき、その広がり幅Yは、プラグ受容筒体64に挿入されたシガープラグをその両側から狭持できるようにプラグ受容筒体64の内径R(より具体的には、プラグ本体の外径M)よりも小さくなるようにバネ材90の形状が適宜設定され、プラグ本体の外面に弾接できるようになっている。
切替部材70の上面であってその挿入側端部端縁には、閉塞板88のストッパー88bの係止突起88b1が嵌り込む嵌合凹部70aが形成されている。また、切替部材70の上面後端部には、ツマミ70bが突設されている。
ソケット保持部76は、プラグ受容筒体64を上下から保持できるようにプラグ受容筒体64との接触面は円弧状に形成されている。
以上のように構成されているシガーソケット60を使用する際には、切替部材70のツマミ70bを摘んで切替部材取付部84から引き出す。この時、ストッパー88bの係止突起88b1が切替部材70の嵌合凹部70aに軽く係合しているが、ストッパー88b或は係止突起88b1の撓みによって係合部分を乗り越えて係合が解除されることになり、係合解除によりバネ材90の先端部90aを長孔71の広幅部71bに移動させることができる。このような移動によりバネ材90の間隔がその弾発力により広がって押圧固定部材92の広がり幅Yが最大となる。
上述したように、押圧固定部材92が拡径状態にあるとき、その広がり幅Yはプラグ本体の外径Mよりも大きくなるように設定されているので、シガープラグをシガーソケット60に挿入する際に押圧固定部材92に引っ掛らず、円滑に挿入できる。
シガーソケット60へのシガープラグの挿入作業が完了すると、今度は、切替部材70をスライド溝86bの奥まで押し込み、バネ材90の先端部90aを長孔71の狭幅部71aに移動させる。すると、バネ材90の間隔が狭まり、押圧固定部材92の広がり幅Yが最小となる。上述したように、押圧固定部材92が縮径状態にあるとき、押圧固定部材92の広がり幅Yはプラグ受容筒体64に挿入されたシガープラグをその両側から狭持する。これにより、シガーソケット60に対するシガープラグの保持力が大いに高められ、運転中の振動等によるシガープラグのシガーソケット60からの脱落を確実に防止することができる。
切替部材70をスライド溝86bの奥まで押し込むと、ストッパー88bの係止突起88b1が嵌合凹部70aに嵌り込んでロック状態となり、押圧固定部材92が縮径状態にて保持される。
一方、シガープラグをシガーソケット60から取り外すときは、シガープラグをシガーソケット60に挿入するときと同様、切替部材取付部84から切替部材70を引き出せばよく、これにより押圧固定部材92が拡径状態となり、シガーソケット60からのシガープラグの引き抜き作業を簡単に行なうことができる。
なお、上述実施例では、バネ材90と押圧固定部材92とがプラグ受容筒体64のプラグ挿入側に設けられていたが、プラグ受容筒体64のプラグ挿入側とは反対側に設けるようにしてもよい。また、プラグ受容筒体64の側面両側に図示しない開口部を形成し、この開口部を通してシガープラグを挟持できるようバネ材90と押圧固定部材92とを配置してもよい。
そして、いずれの場合にも上述実施例と同様の作用効果を得ることができる。
また、切替部材70に設けた長孔71の向きは、前側が大径で、後側に向かうにつれてその間隔が狭まるテーパ状に形成してもよい。ただし、この場合は、切替部材70を手前に引き出したときに押圧固定部材92が縮径状態となり、切替部材70を押し込んだときに押圧固定部材92が拡径状態となる。
本発明の一実施例のシガープラグを示す正面図である。 図1の実施例にかかるシガープラグの平面図である。 図1の実施例にかかるシガープラグの右側面図である。 図1の実施例におけるA―A断面図である。 図1の直角方向から見た正面図である。 シガープラグの使用状態を示す図である。 この発明の他の実施例であるシガーソケットを示す斜視図である。 図7の実施例におけるB−B断面図である。 ケーシングの構成を示す部分拡大斜視図(一部省略)である。 バネ材と切替部材との関係を示す部分拡大斜視図(一部省略)である。 従来のシガープラグとシガーソケットを示す図である。
符号の説明
10…シガープラグ
12…ケーシング
14…第1接触子
16…第2接触子
20…切替部材
56…バネ材
58…押圧固定部材
60…シガーソケット
62…ケーシング
64…プラグ受容筒体
66…端子板
70…切替部材
90…バネ材
92…押圧固定部材
M…プラグ本体の外径
R…プラグ受容筒体の内径
X,Y…広がり幅

Claims (4)

  1. 自動車のシガーソケットに挿入されたシガープラグを固定するシガープラグの固定構造であって、
    シガープラグのプラグ本体の側壁に等角度間隔で形成された複数の開口のそれぞれにその径方向に移動可能に設けられている押圧固定部材と、
    前記押圧固定部材の広がり幅がシガーソケットに設けられているプラグ受容筒体の内径よりも大きくなるように前記押圧固定部材を拡径方向に弾発付勢するバネ材と、
    前記プラグ本体の後端部にその軸方向に移動可能に設けられ、プラグ本体の先端側へ移動させたときに前記押圧固定部材の広がり幅が前記プラグ受容筒体の内径よりも小さくなるように前記バネ材を撓ませ、外力を除荷したときに前記バネ材の弾発力によって反対側へ移動して前記バネ材を拡径させる切替部材とを備えることを特徴とするシガープラグの固定構造。
  2. 前記バネ材は、プラグ後端側からプラグ先端側に向かうにしたがってプラグの中心からその間隔が広がるように外方へ延びた複数の羽根を有し、
    前記切替部材のプラグ先端側端部には、凹所が形成されており、
    前記羽根の外面が前記凹所の開口縁部と接触するように前記羽根のプラグ後端側端部が前記凹所に挿入されていることを特徴とする請求項1に記載のシガープラグの固定構造。
  3. 自動車のシガーソケットに挿入されたシガープラグを固定するシガープラグの固定構造であって、
    シガーソケットのプラグ受容筒体の側面両側、プラグ挿入開口側或いはこれとは反対側にて前記プラグ受容筒体に挿入されているシガープラグを挟むように互いに対向する位置に設けられている一対の押圧固定部材と、
    可撓性を有し、前記一対の押圧固定部材同士を互いに近接離間可能に支持するバネ材と、
    前記プラグ受容筒体の近傍にてその軸方向にスライド可能に設けられ、軸方向一方側へスライドさせたときには前記押圧固定部材の広がり幅がシガープラグのプラグ本体の外径よりも小さくなるように前記バネ材を撓ませ、反対側へスライドさせたときには前記押圧固定部材の広がり幅が前記プラグ本体の外径よりも大きくなるように前記バネ材を拡径させる切替部材とを備えていることを特徴とするシガープラグの固定構造。
  4. 前記バネ材は、断面略U字状に屈曲形成された細長で可撓性を有する板材であり、
    前記切替部材は、一端側に狭幅部が形成され、反対側に広幅部が形成され、前記狭幅部から前記広幅部に向かう内側面が次第に広幅となるようにテーパ状に形成された長孔を有する板状の部材であり、
    前記バネ材の先端が前記長孔に嵌め込まれていることを特徴とする請求項3に記載のシガープラグの固定構造。


JP2008178066A 2008-07-08 2008-07-08 シガープラグの固定構造 Active JP5268457B2 (ja)

Priority Applications (1)

Application Number Priority Date Filing Date Title
JP2008178066A JP5268457B2 (ja) 2008-07-08 2008-07-08 シガープラグの固定構造

Applications Claiming Priority (1)

Application Number Priority Date Filing Date Title
JP2008178066A JP5268457B2 (ja) 2008-07-08 2008-07-08 シガープラグの固定構造

Publications (2)

Publication Number Publication Date
JP2010020929A true JP2010020929A (ja) 2010-01-28
JP5268457B2 JP5268457B2 (ja) 2013-08-21

Family

ID=41705625

Family Applications (1)

Application Number Title Priority Date Filing Date
JP2008178066A Active JP5268457B2 (ja) 2008-07-08 2008-07-08 シガープラグの固定構造

Country Status (1)

Country Link
JP (1) JP5268457B2 (ja)

Cited By (21)

* Cited by examiner, † Cited by third party
Publication number Priority date Publication date Assignee Title
JP2011172326A (ja) * 2010-02-16 2011-09-01 Nihon Rocki Kogyo Kk 分配装置
JP2015076194A (ja) * 2013-10-07 2015-04-20 住友ゴム工業株式会社 電源プラグおよび前記電源プラグを備えたタイヤパンク応急修理キット用コンプレッサー
USD825102S1 (en) 2016-07-28 2018-08-07 Juul Labs, Inc. Vaporizer device with cartridge
US10045567B2 (en) 2013-12-23 2018-08-14 Juul Labs, Inc. Vaporization device systems and methods
US10045568B2 (en) 2013-12-23 2018-08-14 Juul Labs, Inc. Vaporization device systems and methods
US10058130B2 (en) 2013-12-23 2018-08-28 Juul Labs, Inc. Cartridge for use with a vaporizer device
US10076139B2 (en) 2013-12-23 2018-09-18 Juul Labs, Inc. Vaporizer apparatus
US10104915B2 (en) 2013-12-23 2018-10-23 Juul Labs, Inc. Securely attaching cartridges for vaporizer devices
US10111470B2 (en) 2013-12-23 2018-10-30 Juul Labs, Inc. Vaporizer apparatus
USD836541S1 (en) 2016-06-23 2018-12-25 Pax Labs, Inc. Charging device
USD842536S1 (en) 2016-07-28 2019-03-05 Juul Labs, Inc. Vaporizer cartridge
US10244793B2 (en) 2005-07-19 2019-04-02 Juul Labs, Inc. Devices for vaporization of a substance
US10279934B2 (en) 2013-03-15 2019-05-07 Juul Labs, Inc. Fillable vaporizer cartridge and method of filling
USD848057S1 (en) 2016-06-23 2019-05-07 Pax Labs, Inc. Lid for a vaporizer
USD849996S1 (en) 2016-06-16 2019-05-28 Pax Labs, Inc. Vaporizer cartridge
CN109861033A (zh) * 2019-02-20 2019-06-07 周丰 一种汽车后座用磁极控制式汽车电子充电装置
USD851830S1 (en) 2016-06-23 2019-06-18 Pax Labs, Inc. Combined vaporizer tamp and pick tool
US10405582B2 (en) 2016-03-10 2019-09-10 Pax Labs, Inc. Vaporization device with lip sensing
US10512282B2 (en) 2014-12-05 2019-12-24 Juul Labs, Inc. Calibrated dose control
USD887632S1 (en) 2017-09-14 2020-06-16 Pax Labs, Inc. Vaporizer cartridge
JP2021531773A (ja) * 2018-08-01 2021-11-25 フィリップ・モーリス・プロダクツ・ソシエテ・アノニム エアロゾル発生装置のための抜き取り具

Citations (2)

* Cited by examiner, † Cited by third party
Publication number Priority date Publication date Assignee Title
JPH0579882U (ja) * 1992-03-26 1993-10-29 ホシデン株式会社 自動車用シガーライター用電源取出プラグ
JP2000030814A (ja) * 1998-07-13 2000-01-28 Matsushita Electric Ind Co Ltd プラグ及びシガーライタープラグ

Patent Citations (2)

* Cited by examiner, † Cited by third party
Publication number Priority date Publication date Assignee Title
JPH0579882U (ja) * 1992-03-26 1993-10-29 ホシデン株式会社 自動車用シガーライター用電源取出プラグ
JP2000030814A (ja) * 1998-07-13 2000-01-28 Matsushita Electric Ind Co Ltd プラグ及びシガーライタープラグ

Cited By (38)

* Cited by examiner, † Cited by third party
Publication number Priority date Publication date Assignee Title
US10244793B2 (en) 2005-07-19 2019-04-02 Juul Labs, Inc. Devices for vaporization of a substance
JP2011172326A (ja) * 2010-02-16 2011-09-01 Nihon Rocki Kogyo Kk 分配装置
US10638792B2 (en) 2013-03-15 2020-05-05 Juul Labs, Inc. Securely attaching cartridges for vaporizer devices
US10279934B2 (en) 2013-03-15 2019-05-07 Juul Labs, Inc. Fillable vaporizer cartridge and method of filling
JP2015076194A (ja) * 2013-10-07 2015-04-20 住友ゴム工業株式会社 電源プラグおよび前記電源プラグを備えたタイヤパンク応急修理キット用コンプレッサー
US10111470B2 (en) 2013-12-23 2018-10-30 Juul Labs, Inc. Vaporizer apparatus
US10045568B2 (en) 2013-12-23 2018-08-14 Juul Labs, Inc. Vaporization device systems and methods
US10058124B2 (en) 2013-12-23 2018-08-28 Juul Labs, Inc. Vaporization device systems and methods
US10070669B2 (en) 2013-12-23 2018-09-11 Juul Labs, Inc. Cartridge for use with a vaporizer device
US10076139B2 (en) 2013-12-23 2018-09-18 Juul Labs, Inc. Vaporizer apparatus
US10104915B2 (en) 2013-12-23 2018-10-23 Juul Labs, Inc. Securely attaching cartridges for vaporizer devices
US11752283B2 (en) 2013-12-23 2023-09-12 Juul Labs, Inc. Vaporization device systems and methods
US10117466B2 (en) 2013-12-23 2018-11-06 Juul Labs, Inc. Vaporization device systems and methods
US10117465B2 (en) 2013-12-23 2018-11-06 Juul Labs, Inc. Vaporization device systems and methods
US10159282B2 (en) 2013-12-23 2018-12-25 Juul Labs, Inc. Cartridge for use with a vaporizer device
US10912331B2 (en) 2013-12-23 2021-02-09 Juul Labs, Inc. Vaporization device systems and methods
US10201190B2 (en) 2013-12-23 2019-02-12 Juul Labs, Inc. Cartridge for use with a vaporizer device
US10667560B2 (en) 2013-12-23 2020-06-02 Juul Labs, Inc. Vaporizer apparatus
US10264823B2 (en) 2013-12-23 2019-04-23 Juul Labs, Inc. Vaporization device systems and methods
US10045567B2 (en) 2013-12-23 2018-08-14 Juul Labs, Inc. Vaporization device systems and methods
US10701975B2 (en) 2013-12-23 2020-07-07 Juul Labs, Inc. Vaporization device systems and methods
US10058129B2 (en) 2013-12-23 2018-08-28 Juul Labs, Inc. Vaporization device systems and methods
US10058130B2 (en) 2013-12-23 2018-08-28 Juul Labs, Inc. Cartridge for use with a vaporizer device
US10512282B2 (en) 2014-12-05 2019-12-24 Juul Labs, Inc. Calibrated dose control
US10405582B2 (en) 2016-03-10 2019-09-10 Pax Labs, Inc. Vaporization device with lip sensing
USD913583S1 (en) 2016-06-16 2021-03-16 Pax Labs, Inc. Vaporizer device
USD849996S1 (en) 2016-06-16 2019-05-28 Pax Labs, Inc. Vaporizer cartridge
USD929036S1 (en) 2016-06-16 2021-08-24 Pax Labs, Inc. Vaporizer cartridge and device assembly
USD851830S1 (en) 2016-06-23 2019-06-18 Pax Labs, Inc. Combined vaporizer tamp and pick tool
USD848057S1 (en) 2016-06-23 2019-05-07 Pax Labs, Inc. Lid for a vaporizer
USD836541S1 (en) 2016-06-23 2018-12-25 Pax Labs, Inc. Charging device
USD842536S1 (en) 2016-07-28 2019-03-05 Juul Labs, Inc. Vaporizer cartridge
USD825102S1 (en) 2016-07-28 2018-08-07 Juul Labs, Inc. Vaporizer device with cartridge
USD887632S1 (en) 2017-09-14 2020-06-16 Pax Labs, Inc. Vaporizer cartridge
JP2021531773A (ja) * 2018-08-01 2021-11-25 フィリップ・モーリス・プロダクツ・ソシエテ・アノニム エアロゾル発生装置のための抜き取り具
US12089635B2 (en) 2018-08-01 2024-09-17 Philip Morris Products S.A. Extractor for an aerosol-generating device
JP7551593B2 (ja) 2018-08-01 2024-09-17 フィリップ・モーリス・プロダクツ・ソシエテ・アノニム エアロゾル発生装置のための抜き取り具
CN109861033A (zh) * 2019-02-20 2019-06-07 周丰 一种汽车后座用磁极控制式汽车电子充电装置

Also Published As

Publication number Publication date
JP5268457B2 (ja) 2013-08-21

Similar Documents

Publication Publication Date Title
JP5268457B2 (ja) シガープラグの固定構造
KR102071000B1 (ko) 포크-인 와이어 컨택트를 갖는 전기 커넥터
CN110663139B (zh) 连接装置
US9601862B2 (en) Charge connector
JP7178956B2 (ja) 接続方法、接続構造および接続端子組立体
US8796574B2 (en) Switch
CN102725911B (zh) 速接端子装置
TW201728016A (zh) 導體連接端子以及導體連接端子及致動工具的集合
WO2012025818A1 (en) Wiring device
WO2010101050A1 (ja) ロック解除装置、コネクタ装置及びコネクタ
JP2008034217A (ja) 接続装置
JP2009206077A (ja) コネクタ及び治具
JP5584572B2 (ja) コンセント
JP2008103223A (ja) レバーコネクタ
US20140017946A1 (en) Terminal and connector using same
WO2013168335A1 (ja) 端子装置
KR20100022841A (ko) 커넥터
JP5617062B1 (ja) 端子台
JP4665491B2 (ja) ランプソケット
JP2002198125A (ja) コネクタプラグ
WO2015129149A1 (ja) スイッチモジュール及び壁スイッチ
JP2011049030A (ja) リレー用ソケット
JP4679373B2 (ja) ヒューズ装着構造
JP2016207251A (ja) 雌端子構造
JP2018185888A (ja) コネクタ

Legal Events

Date Code Title Description
A621 Written request for application examination

Free format text: JAPANESE INTERMEDIATE CODE: A621

Effective date: 20110413

A977 Report on retrieval

Free format text: JAPANESE INTERMEDIATE CODE: A971007

Effective date: 20121228

A131 Notification of reasons for refusal

Free format text: JAPANESE INTERMEDIATE CODE: A131

Effective date: 20130108

A521 Request for written amendment filed

Free format text: JAPANESE INTERMEDIATE CODE: A523

Effective date: 20130311

TRDD Decision of grant or rejection written
A01 Written decision to grant a patent or to grant a registration (utility model)

Free format text: JAPANESE INTERMEDIATE CODE: A01

Effective date: 20130409

A61 First payment of annual fees (during grant procedure)

Free format text: JAPANESE INTERMEDIATE CODE: A61

Effective date: 20130507

R150 Certificate of patent or registration of utility model

Free format text: JAPANESE INTERMEDIATE CODE: R150

Ref document number: 5268457

Country of ref document: JP

Free format text: JAPANESE INTERMEDIATE CODE: R150

R250 Receipt of annual fees

Free format text: JAPANESE INTERMEDIATE CODE: R250

R250 Receipt of annual fees

Free format text: JAPANESE INTERMEDIATE CODE: R250

R250 Receipt of annual fees

Free format text: JAPANESE INTERMEDIATE CODE: R250

R250 Receipt of annual fees

Free format text: JAPANESE INTERMEDIATE CODE: R250

R250 Receipt of annual fees

Free format text: JAPANESE INTERMEDIATE CODE: R250

R250 Receipt of annual fees

Free format text: JAPANESE INTERMEDIATE CODE: R250

R250 Receipt of annual fees

Free format text: JAPANESE INTERMEDIATE CODE: R250

R250 Receipt of annual fees

Free format text: JAPANESE INTERMEDIATE CODE: R250

R250 Receipt of annual fees

Free format text: JAPANESE INTERMEDIATE CODE: R250

R250 Receipt of annual fees

Free format text: JAPANESE INTERMEDIATE CODE: R250