JP2010019766A - 検出方法、検出装置、検出用試料セルおよび検出用キット - Google Patents

検出方法、検出装置、検出用試料セルおよび検出用キット Download PDF

Info

Publication number
JP2010019766A
JP2010019766A JP2008182226A JP2008182226A JP2010019766A JP 2010019766 A JP2010019766 A JP 2010019766A JP 2008182226 A JP2008182226 A JP 2008182226A JP 2008182226 A JP2008182226 A JP 2008182226A JP 2010019766 A JP2010019766 A JP 2010019766A
Authority
JP
Japan
Prior art keywords
substance
fluorescent
detected
fluorescent label
excitation
Prior art date
Legal status (The legal status is an assumption and is not a legal conclusion. Google has not performed a legal analysis and makes no representation as to the accuracy of the status listed.)
Granted
Application number
JP2008182226A
Other languages
English (en)
Other versions
JP2010019766A5 (ja
JP5160985B2 (ja
Inventor
Takashi Otsuka
尚 大塚
Kazuyoshi Horii
和由 堀井
Current Assignee (The listed assignees may be inaccurate. Google has not performed a legal analysis and makes no representation or warranty as to the accuracy of the list.)
Fujifilm Corp
Original Assignee
Fujifilm Corp
Priority date (The priority date is an assumption and is not a legal conclusion. Google has not performed a legal analysis and makes no representation as to the accuracy of the date listed.)
Filing date
Publication date
Application filed by Fujifilm Corp filed Critical Fujifilm Corp
Priority to JP2008182226A priority Critical patent/JP5160985B2/ja
Priority to US12/501,906 priority patent/US20100006774A1/en
Publication of JP2010019766A publication Critical patent/JP2010019766A/ja
Publication of JP2010019766A5 publication Critical patent/JP2010019766A5/ja
Application granted granted Critical
Publication of JP5160985B2 publication Critical patent/JP5160985B2/ja
Active legal-status Critical Current
Anticipated expiration legal-status Critical

Links

Images

Classifications

    • GPHYSICS
    • G01MEASURING; TESTING
    • G01NINVESTIGATING OR ANALYSING MATERIALS BY DETERMINING THEIR CHEMICAL OR PHYSICAL PROPERTIES
    • G01N21/00Investigating or analysing materials by the use of optical means, i.e. using sub-millimetre waves, infrared, visible or ultraviolet light
    • G01N21/62Systems in which the material investigated is excited whereby it emits light or causes a change in wavelength of the incident light
    • G01N21/63Systems in which the material investigated is excited whereby it emits light or causes a change in wavelength of the incident light optically excited
    • G01N21/64Fluorescence; Phosphorescence
    • G01N21/645Specially adapted constructive features of fluorimeters
    • G01N21/648Specially adapted constructive features of fluorimeters using evanescent coupling or surface plasmon coupling for the excitation of fluorescence
    • GPHYSICS
    • G01MEASURING; TESTING
    • G01NINVESTIGATING OR ANALYSING MATERIALS BY DETERMINING THEIR CHEMICAL OR PHYSICAL PROPERTIES
    • G01N21/00Investigating or analysing materials by the use of optical means, i.e. using sub-millimetre waves, infrared, visible or ultraviolet light
    • G01N21/62Systems in which the material investigated is excited whereby it emits light or causes a change in wavelength of the incident light
    • G01N21/63Systems in which the material investigated is excited whereby it emits light or causes a change in wavelength of the incident light optically excited
    • G01N21/64Fluorescence; Phosphorescence
    • G01N21/6428Measuring fluorescence of fluorescent products of reactions or of fluorochrome labelled reactive substances, e.g. measuring quenching effects, using measuring "optrodes"
    • G01N2021/6439Measuring fluorescence of fluorescent products of reactions or of fluorochrome labelled reactive substances, e.g. measuring quenching effects, using measuring "optrodes" with indicators, stains, dyes, tags, labels, marks

Landscapes

  • Health & Medical Sciences (AREA)
  • Nuclear Medicine, Radiotherapy & Molecular Imaging (AREA)
  • Physics & Mathematics (AREA)
  • Life Sciences & Earth Sciences (AREA)
  • Chemical & Material Sciences (AREA)
  • Analytical Chemistry (AREA)
  • Biochemistry (AREA)
  • General Health & Medical Sciences (AREA)
  • General Physics & Mathematics (AREA)
  • Immunology (AREA)
  • Pathology (AREA)
  • Investigating, Analyzing Materials By Fluorescence Or Luminescence (AREA)
  • Optical Measuring Cells (AREA)

Abstract

【課題】被検出物質を極めて高感度に検出可能な検出方法および装置を得る。
【解決手段】センサ14部上に、液体試料中の被検出物質Aの量に応じた量の蛍光標識結合物質BFを結合させ、この蛍光標識結合物質BFの蛍光標識Fの励起に起因して生じる光の量に基づいて、被検出物質の量を検出する検出方法において、蛍光標識Fとして、複数の蛍光色素分子fを、該蛍光色素分子fからの蛍光を透過する材料16により包含してなる、帯電した蛍光物質Fを用い、センサ部14に蛍光標識結合物質BFを結合させた状態で、液体試料に対して電圧を印加することにより、帯電した蛍光物質Fを該センサ部14に引き寄せ、該蛍光物質Fを引き寄せた状態で被検出物質Aの量を検出する。
【選択図】図1

Description

本発明は、試料中の被検出物質を検出する検出方法、検出用試料セルおよび検出用キットに関するものである。
従来、バイオ測定等において、高感度かつ容易な測定法として蛍光検出法が広く用いられている。この蛍光検出法は、特定波長の光により励起されて蛍光を発する被検出物質を含むと考えられる試料に上記特定波長の励起光を照射し、そのとき蛍光を検出することによって被検出物質の存在を確認する方法である。また、被検出物質が蛍光体ではない場合、蛍光色素で標識されて被検出物質と特異的に結合する物質を試料に接触させ、その後上記と同様にして蛍光を検出することにより、この結合すなわち被検出物質の存在を確認することも広くなされている。
バイオ測定においては、例えば、試料に含まれる被検出物質である抗原を検出するため、基板上に被検出物質と特異的に結合する1次抗体を固定しておき、基板上に試料を供給することにより、1次抗体に被検出物質を特異的に結合させ、次いで、被検出物質と特異的に結合する、蛍光標識が付与された2次抗体を添加し、被検出物質と結合させることにより、1次抗体―被検出物質―2次抗体の、所謂サンドイッチを形成し、2次抗体に付与されている蛍光標識からの蛍光を検出するサンドイッチ法や、被検出物質と競合して1次抗体と特異的に結合する、蛍光標識された競合2次抗体を被検出物質と競合的に1次抗体と結合させ、1次抗体と結合した競合2次抗体からの蛍光を検出する競合法などのアッセイがなされる。
この際、基板上に固定された1次抗体と被検出物質を介して結合した2次抗体、あるいは直接結合した競合2次抗体のみからの蛍光を検出するために、エバネッセント光により蛍光を励起するエバネッセント蛍光法が提案されている。エバネッセント蛍光法は、基板表面で全反射する励起光を基板裏面から入射し、基板表面に染み出すエバネッセント波により蛍光を励起してその蛍光を検出するものである。
特許文献1には、基板上に1次抗体を固定することなく、液相中にて、1次反応体―被検出物質―2次反応体結合物を形成させ、これを、エバネッセント波が染み出す領域に局在化させて蛍光を検出するエバネッセント蛍光法が提案されている。具体的には、1次抗体および磁性体からなる第1反応体と、蛍光物質および2次抗体からなる第2反応体とを被検出物質と結合させ、その結合物を、第1反応体の磁性体を磁石で引き寄せることにより局在化する方法が開示されている。
一方、エバネッセント蛍光法において、感度を向上させるため、プラズモン共鳴による電場増強の効果を利用する方法が特許文献2、非特許文献1などに提案されている。表面プラズモン増強蛍光法は、プラズモン共鳴を生じさせるため、基板上に金属層を設け、基板と金属層との界面に対して基板裏面から、全反射角以上の角度で励起光を入射し、この励起光の照射により金属層に表面プラズモンを生じさせ、その電場増強作用によって、蛍光信号を増大させてS/Nを向上させるものである。
同様に、エバネッセント蛍光法において、センサ部の電場を増強する効果を有するものとして、導波モードによる電場増強効果を利用する方法が非特許文献2に提案されている。この光導波モード増強蛍光分光法(OWF:Optical waveguide mode enhanced fluorescence spectroscopy)は、基板上に金属層と、誘電体などからなる光導波層とを順次形成し、基板裏面から全反射角以上の角度で励起光を入射し、この励起光の照射により光導波層に光導波モードを生じさせ、その電場増強効果によって、蛍光信号を増強させるものである。
また、特許文献3および非特許文献3には、表面プラズモンによる増強された電場において励起された蛍光標識からの蛍光を検出するのではなく、その蛍光が金属層に新たに表面プラズモンを誘起して生じる放射光(SPCE: Surface Plasmon-Coupled Emission)をプリズム側から取り出す方法が提案されている。
このように、バイオ測定等においては、被測定物質を検出するための方法として、励起光の照射により、プラズモン共鳴や光導波モードを生じさせ、これらによって増強された電場で蛍光標識を励起させ、その蛍光を直接、あるいは間接的に検出する種々の方法が提案されている。
また、表面プラズモン共鳴測定装置においては、センサ部上のエバネッセント波滲み出し領域における被検出物質の濃度を高めるために、試料に対して電圧を印加させて、被検出物質をセンサ部に引き寄せて測定を行う方法が特許文献4や5などに提案されている。このような方法においては、緩衝液のpHを調整することにより、蛋白質や核酸などの被検出物質の荷電状態を調整し、被検出物質を正もしくは負に帯電させた状態で、電圧を印加することにより、センサ部に引き寄せている。
特開2005−77338号公報 特開平10−307141号公報 米国特許出願公開第2005/0053974号明細書 特開平9−257702号公報 特開2007−85770号公報 W.Knoll他、Analytical Chemistry 77(2005), p.2426-2431 2007年春季 応用物理学会 予稿集 No.3,P.1378 Thorsten Liebermann Wolfgang Knoll, "Surface-plasmon field-enhanced fluorescence spectroscopy" Colloids and Surfaces A 171(2000)115-130
電圧印加による被検出物質の局在化方法は、ある程度の効果を得ることができる。表面プラズモン共鳴測定装置においては、エバネッセント波の滲み出し領域となる100nm程度まで引き寄せれば信号のばらつきが小さくなると特許文献4には述べられている。
しかしながら、被検出物質の大きさおよび荷電はいずれも小さいことから、電圧印加による引き寄せ効果が、被検出物質のブラウン運動に負けてしまい、被検出物質を効率的にセンサ部表面に引き寄せることは困難である。
また、表面プラズモン共鳴や光導波モードによる電場増強の効果は、金属層や光導波層表面から離れるに従って急激に減衰するため、表面から蛍光標識までの距離が僅かに変化するだけで、信号に差が生じ、信号のばらつきが生じてしまうため、表面から50nm程度以下に蛍光標識を引き寄せる必要がある。
例えば、表面プラズモン共鳴による電場増強効果による蛍光を検出する装置のセンサ部近傍の模式図を図17に示す。プリズム(基板)101の表面に金膜102が設けられており、この金膜102上に1次抗体Bが固定されている。サンドイッチアッセイを行う場合、1次抗体Bに対して抗原Aを介して結合する、蛍光標識(ここでは、蛍光色素分子f)が付与された標識2次抗体Bの蛍光標識からの蛍光を検出する。プリズム101と金膜102との界面に全反射角度以上の角度で励起光を入射することにより、金膜表面に表面プラズモンを励起して金膜表面の電場を増強する。蛍光標識fは増強された電場において励起され、蛍光を発する。図17中のグラフは、電場強度のセンサ部表面(金膜表面)からの距離依存性を示している。グラフに示すように、電場強度は表面から離れるにつれ急激に減少する。
このとき、センサ部表面から標識2次抗体の蛍光標識fまでの距離は最大で50nm程度も離れており、センサ部表面から50nm程度離れると、蛍光強度は30%以上減衰してしまう。また、1次抗体Bは常にセンサ部表面に直立に固定されるものではなく、液の流れや立体障害等により表面に沿って倒れる場合もあり、これに応じて蛍光標識fの表面からの距離にばらつきが生じ、このばらつきが信号強度のばらつきに繋がる。
本発明は上記の事情に鑑みてなされたものであり、信号強度のばらつきを抑え、かつ増強された電場を効率よく利用することができる、蛍光を直接、あるいは間接的に検出する検出方法および装置を提供することを目的とする。
また、本発明は検出方法に用いられる試料セルおよび検出用キットを提供することを目的とする。
本発明の検出方法は、誘電体プレートと、該誘電体プレートの一面に少なくとも金属層が設けられてなるセンサ部とからなるセンサチップを用意し、
前記センサ部に液体試料を接触させることにより、該センサ部上に、該液体試料中の被検出物質の量に応じた量の蛍光標識結合物質を結合させ、
前記センサ部に励起光を照射することにより、該センサ部上に増強した光電場を生じさせ、該増強した光電場内において前記蛍光標識結合物質の蛍光標識を励起し、該蛍光標識の励起に起因して生じる光の量に基づいて、前記被検出物質の量を検出する検出方法において、
前記蛍光標識として、複数の蛍光色素分子を、該蛍光色素分子からの蛍光を透過する材料により包含してなる、帯電した蛍光物質を用い、
前記センサ部に前記蛍光標識結合物質を結合させた状態で、該液体試料に対して電圧を印加することにより、前記帯電させた蛍光物質を該センサ部に引き寄せ、該蛍光物質を引き寄せた状態で前記被検出物質の量を検出することを特徴とする。
たとえば、前記蛍光物質として、少なくとも液体試料中で極性を示す官能基が表面修飾された蛍光物質を用いることにより、該蛍光物質を液体試料中で帯電させた状態とすることができる。
前記蛍光物質の粒径は、30nm以上、さらには70nm以上であることが好ましい。
本明細書において、蛍光物質の粒径は、略球状の粒子の場合にはその直径であり、球状でない粒子の場合にはその最大幅と最小幅との平均の長さで定義するものとする。
なお、ここで「蛍光標識結合物質」は被検出物質の量に応じた量だけセンサ部上に結合する蛍光標識された結合物質であり、例えば、サンドイッチ法によるアッセイを行う場合には、被検出物質と特異的に結合する結合物質と蛍光標識とから構成され、競合法によるアッセイを行う場合には、被検出物質と競合する結合物質と蛍光標識とから構成される。
「被検出物質の量を検出する」とは被検出物質の存在の有無を含み、定量的な量のみならず、定性的な量を含むものとする。
前記液体試料に接触する位置に対向電極を配置し、該対向電極と、前記誘電体プレート上の前記金属層との間に電圧を印加することにより、前記液体試料に対して前記電圧を印加することが好ましい。
また、前記センサ部に、前記蛍光標識結合物質を結合させる際に、前記液体試料に対して、前記帯電した蛍光物質を前記センサ部に引き寄せる第1の電圧を印加し、前記蛍光標識結合物質を結合させた後、前記第1の電圧の印加を停止し、該第1の電圧とは逆向きの電場を生じさせる第2の電圧を印加し、前記液体試料中の、前記センサ部に結合していない蛍光標識結合物質を該センサ部上から除去し、その後、前記被検出物質の量を検出することが好ましい。
ここで「光電場」とは、励起光の照射により生じるエバネッセント光もしくは近接場光に起因する電場をいうものとする。
また、「増強した光電場を生じさせる」とは、光電場を増強させることによって、増強した光電場を形成することを意味するものであり、光電場を増強させる方法は、プラズモン共鳴によるものであってもよいし、光導波モードの励起によるものであってもよい。
また、「前記蛍光標識結合物質の蛍光標識の励起に起因して生じる光の量に基づいて、前記被検出物質の量を検出する」方法としては、蛍光標識からの蛍光を直接検出するものであってもよいし、間接的に検出するものであってもよい。
具体的には、以下の態様(1)〜(4)が挙げられる。
(1)前記励起光の照射により前記金属層にプラズモンを励起し、該プラズモンにより前記増強した光電場を生じさせ、前記蛍光標識の励起に起因して生じる前記光として、該励起によって該蛍光標識から生じる蛍光を検出することにより前記被検出物質の量を検出する。
(2)前記励起光の照射により前記金属層にプラズモンを励起し、該プラズモンにより前記増強した光電場を生じさせ、前記蛍光標識の励起に起因して生じる前記光として、該励起によって該蛍光標識から生じる蛍光が前記金属層に新たにプラズモンを誘起することにより、前記誘電体プレートの前記他面から放射される放射光を検出することにより前記被検出物質の量を検出する。
(3)前記センサチップとして、前記金属層上に光導波層を備えたものを用い、前記励起光の照射により前記光導波層に光導波モードを励起し、該光導波モードにより前記増強した光電場を生じさせ、前記蛍光標識の励起に起因して生じる前記光として、該励起によって該蛍光標識から生じる蛍光を検出することにより前記被検出物質の量を検出する。
(4)前記センサチップとして、前記金属層上に光導波層を備えたものを用い、前記励起光の照射により前記光導波層に光導波モードを励起し、該光導波モードにより前記増強した光電場を生じさせ、前記蛍光標識の励起に起因して生じる前記光として、該励起によって該蛍光標識から生じる蛍光が前記金属層に新たにプラズモンを誘起することにより、前記誘電体プレートの前記他面から放射される放射光を検出することにより前記被検出物質の量を検出する。
(1)および(2)においては、前記金属層を金属膜とし、金属膜と基板との界面に基板裏面から全反射角度以上の角度で励起光を入射させ、金属膜表面に表面プラズモンを励起するものであってもよいし、前記金属層を、励起光の波長よりも小さい周期の凹凸を表面に有する金属微細構造体あるいは、励起光の波長よりも小さいサイズの複数の金属ナノロッドにより構成し、励起光の照射により、金属微細構造体あるいは金属ナノロッドに局在プラズモンを励起するものであってもよい。
本発明の検出装置は、上述の本発明の検出方法に用いられる検出装置であって、
前記センサチップを収容する収容部と、
前記センサ部に前記励起光を照射する励起光照射光学系と、
該励起光の照射により該センサ部上に生じた前記増強した光電場における、前記蛍光標識の励起に起因して生じる光を検出する光検出手段と、
前記収容部に前記センサチップを収容した際に、前記液体試料に対して電圧を印加する電圧印加手段とを備えたことを特徴とするものである。
本発明の検出用試料セルは、上述の本発明の検出方法に使用される試料セルであって、
液体試料が流下される流路を有する基台と、
前記流路の上流側に設けられた該流路に前記液体試料を注入するための注入口と、
前記流路の下流側に設けられた、前記注入口から注入された前記液体試料を該下流側に流すための空気孔と、
前記流路の、前記注入口と前記空気孔との間に設けられたセンサチップ部であって、前記流路の内壁面の少なくとも一部として設けられた誘電体プレートと、該プレートの試料接触面に設けられた少なくとも金属層を含むセンサ部とからなるセンサチップ部とを備えてなることを特徴とするものである。
検出用試料セルにおいては、前記センサ部に、前記蛍光標識結合物質と結合する固定層を備えていることが望ましい。
さらに、複数の蛍光色素分子を、該蛍光色素分子からの蛍光を透過する材料により包含してなる、帯電した蛍光物質を、前記蛍光標識として含む前記蛍光標識結合物質が、前記流路内の、前記センサ部より上流側に固定されていることが望ましい。
本発明の試料セルは、前記固定層が、前記被検出物質と特異的に結合する第1の結合物質が固定されてなる層であり、前記蛍光標識結合物質が、前記被検出物質と特異的に結合する第2の結合物質を含み、前記被検出物質を介して前記第1の結合物質と結合するものであれば、サンドイッチ法によるアッセイを行うのに好適なものとなる。
また、本発明の試料セルは、前記固定層が、前記被検出物質と特異的に結合する第1の結合物質が固定されてなる層であり、前記蛍光標識結合物質は、前記第1の結合物質と特異的に結合する第3の結合物質を含み、前記被検出物質と競合して前記第1の結合物質と結合するものであれば、競合法によるアッセイを行うのに好適なものとなる。
さらに、前記センサ部において、前記金属層上に光導波層が備えられていてもよい。
本発明の検出用キットは、上述の本発明の検出方法に使用される検出用キットであって、
液体試料が流下される流路を有する基台と、前記流路の上流側に設けられた該流路に前記液体試料を注入するための注入口と、前記流路の下流側に設けられた、前記注入口から注入された前記液体試料を該下流側に流すための空気孔と、前記流路の、前記注入口と前記空気孔との間に設けられたセンサチップ部であって、前記流路の内壁面の少なくとも一部として設けられた誘電体プレートと、該プレートの試料接触面に設けられた少なくとも金属層を含むセンサ部とからなるセンサチップ部と、該センサ部上に固定された、前記蛍光標識結合物質と結合する固定層とを備えた試料セル、および
前記液体試料と同時もしくは前記液体試料の流下後に、前記流路内に流下される、複数の蛍光色素分子を、該蛍光色素分子からの蛍光を透過する材料により包含してなる帯電した蛍光物質を、前記蛍光標識として含む前記蛍光標識結合物質を含んだ標識用溶液を備えてなることを特徴とするものである。
さらに、前記試料セルは、前記センサ部において、前記金属層上に光導波層が備えられていでもよい。
本発明の検出用キットは、前記試料セルの前記固定層が、前記被検出物質と特異的に結合する第1の結合物質が固定されてなる層であり、前記標識用溶液が、前記蛍光標識結合物質として、前記被検出物質と特異的に結合する第2の結合物質を含む、前記被検出物質を介して前記第1の結合物質と結合するものを備えている場合には、サンドイッチ法によるアッセイを行うのに好適なものとなる。また、前記試料セルの前記固定層が、前記被検出物質と特異的に結合する第1の結合物質が固定されてなる層であり、前記標識用溶液が、前記蛍光標識結合物質として、前記第1の結合物質と特異的に結合する第3の結合物質を含む、前記被検出物質と競合して前記第1の結合物質と結合するものを備えている場合には、競合法によるアッセイを行うのに好適なものとなる。
なお、前記金属層の材料としては、Au、Ag、Cu、Al、Pt、Ni、Ti、およびこれらの合金からなる群より選択される少なくとも1種の金属を主成分とすることが望ましい。なおここで、「主成分」は、含量90質量%以上の成分と定義する。
本発明の検出方法および装置によれば、センサ部上に、試料に含有される被検出物質の量に応じて結合される蛍光標識結合物質の蛍光標識として、複数の蛍光色素分子を、該蛍光色素分子からの蛍光を透過する材料により包含してなる、帯電した蛍光物質を用い、試料に電圧を印加することにより、光電場増強効果の高いセンサ部表面に蛍光物質を引き寄せた状態で、その蛍光標識結合物質の蛍光標識の励起に起因して生じる光の量を検出するので、センサ部表面の増強度の大きい光電場を効率よく利用することができ、かつ蛍光標識の表面からの距離を一様にすることができるため、信号強度のばらつきを抑制することができる。すなわち、S/Nのよい安定した信号を検出することができ、被検出物質の有無および/または量を精度よく検出することができる。
本発明の検出用試料セルあるいは検出用キットを用いれば、本発明の検出方法を容易に実施することができ、増強された光電場を有効に利用し、かつ信号強度のばらつきを抑制し、被検出物質の有無および/または量を精度よく検出することができる。
以下、図面を参照して本発明の実施形態について説明する。なお、各図において説明の便宜上、各部の寸法は実際のものとは異ならせている。
「検出方法および装置」
本発明の検出方法は、例えば図1に示すように、誘電体プレート11と、該プレート11の一面に設けられた少なくとも金属層12を含むセンサ部14とからなるセンサチップ10を用い、センサ部14に試料を接触させることにより、該センサ部14上に、該試料に含有される被検出物質Aの量に応じた量の蛍光標識結合物質Bを結合させ、センサ部14に励起光Lを照射することにより、センサ部14上に増強した光電場Dを生じさせ、該増強した光電場D内において、蛍光標識結合物質Bの蛍光標識Fの励起し、該蛍光標識の励起に起因して生じる光の量に基づいて、被検出物質Aの量を検出する検出方法であって、蛍光標識として、複数の蛍光色素分子fを、該蛍光色素分子fからの蛍光を透過する材料により包含してなる、帯電した蛍光物質Fを用い、センサ部14に蛍光標識結合物質を結合させた状態で、液体試料に対して電圧を印加することにより、帯電した蛍光物質Fをセンサ部14に引き寄せ、該蛍光物質Fを引き寄せた状態で被検出物質Aの量を検出することを特徴とする。
なお、センサ部14に、蛍光標識結合物質を結合させる際に、液体試料に対して、帯電した蛍光物質をセンサ部に引き寄せる第1の電圧を印加し、蛍光標識結合物質を結合させた後、第1の電圧の印加を停止し、該第1の電圧とは逆向きの電場を生じさせる第2の電圧を印加し、液体試料中の、センサ部に結合していない蛍光標識結合物質を該センサ部上から除去し、その後、被検出物質の量を検出することが望ましい。センサ部に蛍光標識結合物質を結合させる際に、センサ部に蛍光標識結合物質を引き寄せることにより、センサ部における蛍光標識結合物質の濃度を高めてセンサ部への結合を促進させることができ、その後第2の電圧を印加することにより、センサ部に結合せず、滞留あるいは非特異吸着している蛍光標識結合物質を電荷反発により効率的に取り除くことができる。なお、ここで、センサ部に結合するとは、センサ部に対して特異的に結合することを意味し、具体的には、蛍光標識結合物質が特異的に結合する物質が固定層としてセンサ部に設けられており、この固定層に結合する形態が挙げられる。
本発明の検出装置は、上記検出方法を実施するためのものであって、センサチップ10を収容する収容部19と、センサ部14に励起光Lを照射する励起光照射光学系20と、励起光Lの照射により生じる、被検出物質Aに応じた量の光を検出する光検出手段30と、収容部19にセンサチップ10が収容された際に、液体試料に対して電圧印加する電圧印加手段35とを備えている。
蛍光標識は、図1の一部に拡大して示すように、複数の蛍光色素分子fを、該複数の蛍光色素分子fから生じる蛍光を透過する材料16により包含してなる蛍光物質を用いることが好ましい。複数の蛍光色素分子fを含む蛍光物質Fを用いれば、蛍光量を増加させることができるからである。また、蛍光Lfを透過する材料16により蛍光色素分子fが内包されていることにより、金属層と所定以上の距離を保つことができ、蛍光色素分子fが金属層12に近接した場合に生じる金属消光を防止することができる。
蛍光色素分子が金属層に接近しすぎた場合に生じる消光は、金属へのエネルギー移動に伴うものであり、このエネルギー移動の程度は、金属が半無限の厚さを持つ平面なら距離の3乗に反比例して、金属が無限に薄い平板なら距離の4乗に反比例して、また、金属が微粒子なら距離の6乗に反比例して小さくなる。従って、金属層12と蛍光色素分子fとの間の距離は少なくとも数nm以上、より好ましくは10nm以上確保しておくことが望ましい。
従来金属消光を防止する方法としては、金属層12上に自己組織化膜(SAM)を形成し、さらにカルボキシメチルデキストラン(CMD)膜を作製して金属膜と蛍光色素分子との距離を離す方法が知られている。しかしながら、金属膜上にこれらの金属消光を防止するための膜を設けるのは、センサチップ作製工程を複雑なものとし、非常に手間がかかる。一方、蛍光物質Fを用いれば、上述のような金属消光防止のための膜を設けることなく、非常に簡便な方法で効果的に金属消光を防止することができる。
材料16としては、具体的には、ポリスチレンやSiO2などが挙げられるが、蛍光色素分子fを内包でき、かつ、該蛍光色素分子fからの蛍光を透過させて外部に放出できるものであれば特に制限されない。
なお、蛍光物質は、試料に対して電圧が印加された場合に、液体試料中においてブラウン運動よりも電極への引き寄せ効果が大きくなる程度の電荷が帯電されていることが望ましい。被検出物質となりうるタンパク、生体分子のうちでサイズが大きいものとしては、抗体(〜15nm)、アルブミン(〜20nm)などがあるが、被検出物質を帯電させるだけでは不十分である。従って、蛍光物質としては、粒径が30nm程度以上の大きさあることが好ましい。粒径が30nm未満であると、物質のブラウン運動により、十分な引き寄せ効果が得られない場合が生じる恐れがある。なお、蛍光物質の粒径が70nm以上、さらには、100nm以上であれば、より効果的な引き寄せが期待できる。
また、拡散時間の点から粒径が5300nm以下のものが好ましい。また、蛍光量およびセンサ部上への最密充填密度の観点および、表面プラズモンの擾乱の観点から70nm〜900nmのものがさらに好ましく、130nm〜500nmのものが特に好ましい。
蛍光物質Fは、例えば、以下のようにして作製することができる。
まず、ポリスチレン粒子(Estapor社、φ500nm、10%solid、カルボキシル基、製品番号K1―050)を調液して0.1%solid in phosphate(ポリスチレン溶液:pH7.0)を作製する。
次に、蛍光色素分子(林原生物化学研究所 NK−2014(励起 〜780nm))0.3mgの酢酸エチル溶液(1mL)を作製する。
上記ポリスチレン溶液と蛍光色素溶液を混合し、エバポレートしながら含浸を行った後、遠心分離(15000rpm、4℃、20分を2回)を行い、上清を除去する。以上の工程により、ポリスチレンにより蛍光色素を内包してなる蛍光物質Fを得ることができる。このような手順で、ポリスチレン粒子に蛍光色素を含浸させて作製された蛍光物質Fの粒径はポリスチレン粒子の粒径と同一(上記例ではφ500nm)となる。なお、上記において用いるポリスチレン粒子は表面にpHに応じて荷電状態が変化する官能基であるカルボキシル基が修飾されていることから、蛍光物質Fは表面にカルボキシル基が修飾されたものとなっており、液体試料中において、カルボキシル基がイオン化することにより、負に帯電される。
蛍光標識結合物質Bは、被検出物質Aの量に応じた量だけセンサ部14上に結合する蛍光標識された結合物質であり、図1で示すように、サンドイッチ法によるアッセイを行う場合には、被検出物質と特異的に結合する結合物質と上述の蛍光物質Fとから構成されるものであり、後記する競合法によるアッセイを行う場合には、被検出物質と競合する結合物質と蛍光物質Fとから構成されるものである。より具体的には、センサチップ10として、センサ部14に被検出物質Aと特異的に結合する第1の結合物質Bが固定層として固定されたものを用いた場合、サンドイッチ法では、蛍光標識結合物質Bとして、被検出物質Aと特異的に結合する第2の結合物質Bと、この結合物質Bが修飾された蛍光物質Fとからなるものを用い、競合法では、蛍光標識結合物質として、被検出物質Aと競合して第1の結合物質と特異的に結合する第3の結合物質と、この結合物質が修飾された蛍光物質Fとからなるものを用いる。被検出物質Aが抗原である場合、第1の結合物質Bとして所謂1次抗体を用い、蛍光標識結合物質として所謂標識2次抗体を用いればよい。
蛍光物質Fを帯電させる方法としては、蛍光物質Fの表面に少なくとも液体試料中で極性を有する官能基を修飾しておく方法が好ましい。液体試料中においてイオン化し正電荷もしくは負電荷を有する官能基としては、カルボキシル基、スルホン酸基、リン酸基、アミノ基、4級アンモニウム基、イミダゾール基、及びグアニジニウム基などを用いることができる。例えば、カルボキシル基(−COOH)は、血清、血漿などの液体試料中、もしくはリン酸緩衝生理食塩水(Phosphate buffered saline, PBS)中などにおいて、COOにイオン化した状態となり、蛍光物質Fを負に帯電させることができる。また、アミノ基(−NH2)は、血清、血漿などの液体試料中、もしくはPBS中などにおいて、NH3 にイオン化した状態となり、蛍光物質Fを正に帯電させることができる。
蛍光物質が負に帯電している場合、金属膜側を正極として電圧を印加することにより、蛍光物質を金属膜に引き寄せることができ、蛍光物質が正に帯電している場合、金属膜側を負極として電圧を印加することにより、蛍光物質を金属膜に引き寄せることができる。
既述の図17の例では、蛍光標識が十分に金属層上に引き寄せられず、また、結合体の直立、横臥により蛍光標識のセンサ面からの距離にばらつきが生じていたが、蛍光標識として用いる蛍光物質を帯電させることにより、該蛍光物質を効率的に、かつ一様にセンサ部表面に引き寄せることができる。これにより、S/Nよく安定した信号を検出することが可能となる。
本発明は、励起光の照射によりセンサ部上に増強した光電場を生じさせ、その増強した光電場において蛍光標識が励起されることによって生じる光を検出するものであるが、光電場を増強させる方法は、表面プラズモン共鳴あるいは局在プラズモン共鳴によるものであってもよいし、光導波モードの励起によるものであってもよい。また、蛍光標識から生じる蛍光を直接検出してもよいし、間接的に検出してもよい。具体的な態様については、以下の各実施形態で説明する。
<第1の実施形態>
第1実施形態の検出方法および装置について図1を参照して説明する。図1は第1の実施形態の検出装置の概略構成を示す全体図である。本実施形態の検出方法および装置は、表面プラズモン共鳴により光電場を増強させ、増強された光電場において励起された蛍光を検出する蛍光検出方法および装置である。
本実施形態の本蛍光検出方法では、誘電体プレート11およびその一面の所定領域に少なくとも金属層12として金属膜が設けられてなるセンサ部14を備えたセンサチップ10を用い、このセンサチップ10上に液体試料Sを保持する試料保持部13が備えられ、センサチップ10と液体試料を保持可能な試料保持部13による箱状の試料セルを用いている。なお、試料保持部13の上板には、金属層12との間に充填される液体試料に電圧を印加するための対向電極36が設けられている。
金属膜12は、所定領域に開口を有するマスクをプレート11の一表面に形成し、既知の蒸着法で成膜形成することができる。金属膜12の厚みは、金属膜12の材料と、励起光の波長により表面プラズモンが強く励起されるように適宜定めることが望ましい。例えば、励起光として780nmに中心波長を有するレーザ光を用い、金属膜として金(Au)膜を用いる場合、金属膜の厚みは50nm±20nmが好適である。さらに好ましくは、47nm±10nmである。なお、金属膜は、Au、Ag、Cu、Al、Pt、Ni、Ti、およびこれらの合金からなる群より選択される少なくとも1種の金属を主成分とするものが好ましい。
本蛍光検出装置1は、センサチップ10を収容する収容部19と、収容部19に収容されたセンサチップ10の誘電体プレート11と金属膜12との界面に励起光Loを全反射角以上の入射角度で、センサチップ10の金属膜形成面とは反対の他面側から入射させる励起光照射光学系20と、励起光の照射により生じる蛍光Lfを検出する光検出器30とを備えている。またさらに、該収容部19にセンサチップが収容された際に液体試料に対して電圧を印加するための電圧印加手段35を備えている。
励起光照射光学系20は、励起光Loを出力する半導体レーザ(LD)等からなる光源21と、誘電体プレート11に一面が接触するように配置されたプリズム22とを備えている。プリズム22は、誘電体プレート11と金属膜12との界面で励起光Loが全反射するように誘電体プレート11内に励起光Loを導光するものである。なお、プリズム22と誘電体プレート11とは、屈折率マッチングオイルを介して接触されている。光源21は、プリズム22の他の一面からセンサチップ10の試料接触面10aで励起光Loが全反射角以上で、かつ金属膜で表面プラズモン共鳴する特定の角度で入射するように配置されている。さらに、光源21とプリズム22との間に必要に応じて導光部材を配置してもよい。なお、励起光Loは、表面プラズモンを誘起するようにp偏光で界面に対して入射させる。
光検出器30としては、CCD、PD(フォトダイオード)、フォトマルチプライア、c−MOS等を適宜用いることができる。
収容部19は、センサチップ10を収容する際に、センサチップのセンサ部14がプリズム22上に配置され、光検出器30で蛍光が検出できるよう構成されている。収容部19に対しセル(センサチップ10)を、図中矢印X方向に出し入れすることができる。
電圧印加手段35は、直流電源31と、電圧のオン/オフを行うためのスイッチ32から構成されている。本実施形態においては、金属膜を正極として第1の電圧を印加するための第1の電源31aと、金属膜を負極として第2の電圧を印加するための第2の電源31bとが備えられており、スイッチ32により適宜切り替え可能とされており、誘電体プレート11上に設けられた金属膜12を電極として用い、該金属膜12とセルの上板に設けられた対向電極36との間に電圧を印加するよう構成されている。なお、セルの上板に設けられた対向電極36は、透明電極で構成されている。なお、対向電極36としては、蛍光を検出するための開口を有する形状の金属電極を設けてもよい。
なお、ここでは、金属層を電極として用いる構成について説明したが、金属層とは別にセンサ部近傍に電極を設けてもよい。金属層を電極として用いない場合は、測定部の近傍に蒸着もしくはメッキにより金属電極を設ければよい。さらに、プレート11を、ポリアニリン、ポリピロールのような透明かつ導電性の高い樹脂にて作製することもできる。この場合、ポリアニリン等を単独で成形することも可能であるし、ポリスチレンのような別樹脂に混ぜて導電性を持たせることも可能である。また、試料保持部の上板に対向電極が設けられている構成に限らず、液体試料中に抜き差し可能な導電体を対向電極として用いてもよい。
蛍光検出装置1を用いた本実施形態の蛍光検出方法について説明する。
ここでは、一例として、試料Sに含まれる被測定物質として抗原Aを検出する場合について説明する。
センサチップ10として、センサチップ10の金属膜12上に、抗原Aと特異的に結合する第1の結合物質として1次抗体Bが固定層として修飾されているものを用意する。
まず、試料保持部13中に検査対象である液体試料Sを流し、センサチップ10の金属膜12上に試料Sを接触させる。次いで同様に抗原Aと特異的に結合する第2の結合物質である2次抗体Bと蛍光標識Fとからなる蛍光標識結合物質(標識2次抗体)Bを含む溶液を流す。この場合、金属膜12に表面修飾される1次抗体Bと蛍光標識結合物質Bの2次抗体Bとして、被検出物質である抗原Aに対して互いに別の部位に結合するものを用いる。なお、ここでは、蛍光標識として、蛍光色素分子fを内包する、カルボキシル基(−COOH)が表面に修飾されてなる蛍光物質Fを用いている。カルボキシル基は液体試料中においてCOOにイオン化し、蛍光物質Fは負に帯電したものとなる。
試料S中に抗原Aが存在すれば、1次抗体Bに抗原Aが特異的に結合し、さらに抗原Aに蛍光標識結合物質Bの2次抗体Bが結合して、1次抗体B−抗原A−2次抗体B結合体(以下、サンドイッチ結合体という。)が形成される。このとき、電圧印加手段35のスイッチ32を第1の電源31aに接続して金属膜12側を正極として電極間に第1の電圧を印加しておくことにより、負に帯電した蛍光物質Fを含む蛍光標識結合物質Bが金属膜12に引き寄せられ、金属膜上における蛍光標識結合物質の濃度を高めることができ、抗原―抗体反応を促進し、反応時間を短縮させることができる。
その後、サンドイッチ結合体と、未反応の蛍光標識結合物質Bを分離するため、緩衝液を流し、未反応の蛍光標識結合物質を排除する。このとき、電圧印加手段35のスイッチ32を切り替えて第2の電源31bに接続して金属膜12側を負極として第2の電圧を印加しておくことにより、負に帯電した蛍光物質Fに電荷反発が働き、未反応の蛍光標識蛍光物質を効率よく排除することができる。
被検出物質(抗原A)への標識のタイミングは特に制限されず、被検出物質(抗原A)を第1の結合物質(1次抗体B)に結合させる前に、予め試料に蛍光標識を添加しておいてもよい。
その後、センサチップ10を収容部19にセットした状態で、電圧印加手段35のスイッチを第1の電源に接続して金属膜12側を正極として電極間に電圧を印加することにより、センサ部上に結合している蛍光標識結合物質Bの、負に帯電した蛍光物質Fをセンサ部14に引き寄せる。このように、蛍光物質Fをセンサ部14に引き寄せた状態で、センサチップ10の誘電体プレート11の所定領域に向けて励起光照射光学系20により励起光Loを照射する。励起光照射光学系20により励起光Loが誘電体プレート11と金属膜12との界面に対して全反射角以上の特定の入射角度で入射されることにより、金属膜上12の試料S中にエバネッセント波が滲み出し、このエバネッセント波によって金属膜12中に表面プラズモンが励起される。励起光の入射により金属層上に生じている光電場(エバネッセント波に起因する電場)が、この表面プラズモンにより増強され、金属層上に光電場増強領域Dが形成される。電場増強領域の金属膜表面には、電圧印加手段35による電圧印加により、帯電した蛍光物質Fが引き寄せられており、蛍光物質Fが励起されて(実質的にはその蛍光物質中の蛍光色素分子fが励起されて)蛍光Lfが発生する。表面プラズモンによる光電場増強の効果により蛍光は増強されたものとなる。光検出器30によりこの蛍光Lfを検出することにより、蛍光標識結合物質と結合した被検出物質の有無および/または量を検出することができる。
また、センサ部上にサンドイッチ結合物を形成させ、サンドイッチ結合物と、未反応の蛍光標識結合物質Bとを分離する工程は、必ずしも電圧を印加して行う必要はなく、電圧を印加して行わない場合には、この工程は、センサチップ10を検出装置1の収容部19にセットする前に行ってもよいし、セット後に行ってもよい。またこの場合、電圧印加手段には、直流電源として、金属膜を負極として電圧を印加するための電源のみを備えればよい。
このように、電極間に電圧を印加して試料中に電場を生じさせて、帯電した蛍光物質をセンサ部に引き寄せた状態で蛍光を検出することにより、安定したS/Nよい信号を得ることができ、検査の信頼性を向上させることができる。
<第1の実施形態の設計変更例>
上述の各実施形態においては励起光Loとして、界面に所定の角度θで入射する平行光を入射するものとしたが、励起光としては、図2に模式的に示すような、角度θを中心に角度幅Δθを持つファンビーム(集束光)を用いてもよい。ファンビームの場合、プリズム122とプリズム上の金属膜112との界面に対して、角度θ―Δθ/2〜θ+Δθ/2の範囲の入射角度で入射することになり、この角度範囲内に共鳴角があれば、金属膜112に表面プラズモンを励起することができる。金属膜上への試料供給の前後において、金属膜上の媒質の屈折率が変化し、そのために表面プラズモンが生じる共鳴角が変化する。上述の実施形態のように平行光を励起光として用いる場合、共鳴角が変化するたびに平行光の入射角度を調整する必要がある。しかし、図2に示すような、界面に入射する入射角度に幅を持たせたファンビームを用いることにより、入射角度の調整をすることなく、共鳴角の変化に対応することができる。なお、ファンビームは入射角度による強度変化が少ないフラットな分布を持つものであることがより好ましい。
<第2の実施形態>
第2の実施形態である検出方法および装置について図3を参照して説明する。図3は第2の実施形態の検出装置の概略構成を示す全体図である。本実施形態の検出方法および装置は、局在プラズモン共鳴により光電場を増強させ、増強された光電場において励起された蛍光を検出する蛍光検出方法および装置である。なお、以下においては、第1実施形態と同じ構成要素には同じ参照符号を付してある。
図3に示す蛍光検出装置2は、用いられるセンサチップ10’と、励起光照射光学系20’とが上述の第1の実施形態の蛍光検出装置1とは異なる。
センサチップ10’は誘電体プレート11上に設けられる金属層12’として、励起光の照射を受けて、所謂局在プラズモンを生じる、表面に励起光Loの波長よりも小さい凹凸構造を有する金属微細構造体、あるいは、励起光の波長よりも小さいサイズの複数の金属ナノロッドを備えている。このような局在プラズモンを生じさせる金属層12’を備えた場合には、励起光を金属層12’と誘電体プレート11との界面に全反射するように入射させる必要はなく、ここでは、励起光照射光学系20’は、誘電体プレート上方から励起光Loを照射するよう構成されている。
励起光照射光学系20’は、励起光Loを出力する半導体レーザ(LD)等からなる光源21と、励起光Loを反射してセンサチップ10’へ導光するハーフミラー23とを備えている。ハーフミラー23は、励起光Loを反射し、蛍光Lfを透過するものである。
センサチップ10’の具体例を図4(A)〜(C)に斜視図で示し説明する。
図4(A)に示すセンサチップ10Aは、誘電体プレート11と、該プレート11の所定領域上にアレイ状に固着された複数の金属粒子73aからなる金属微細構造体73で構成されている。金属粒子73aの配列パターンは適宜設計できるが、略規則的であることが好ましい。かかる構成では、金属粒子73aの平均的な径及びピッチが励起光Loの波長よりも小さく設計される。
図4(B)に示すセンサチップ10Bは、誘電体プレート11と、該プレートの上の所定領域に設けられた、金属細線74aが格子状にパターン形成された金属パターン層からなる金属微細構造体74で構成されている。金属パターン層のパターンは適宜設計でき、略規則的であることが好ましい。かかる構成では、金属細線74aの平均的な線幅及びピッチが励起光Loの波長よりも小さく設計される。
図4(C)に示すセンサチップ10Cは特開2007−171003号公報に記載のような、Alなどの金属76の陽極酸化の過程で形成される金属酸化物体77の複数の微細孔77a内に成長させた複数のマッシュルーム状の金属75aからなる金属微細構造体75により構成されている。ここでは金属酸化物体77が誘電体プレートに相当する。この金属微細構造体75は、金属体(Al等)の一部を陽極酸化して金属酸化物体(Al等)とし、陽極酸化の過程で形成される金属酸化物体77の複数の微細孔77a内に各々金属75aをメッキ等により成長させて得ることができる。
図4(C)に示す例では、マッシュルーム状の金属75aの頭部が粒子状であり、サンプルプレート表面から見れば、金属微粒子が配列されたような構造になっている。かかる構成では、マッシュルーム状の金属75aの頭部が凸部であり、その平均的な径およびピッチが測定光Lの波長よりも小さく設計される。
なお、励起光の照射を受けて局在プラズモンを生じる金属層12’としては、その他、特開2006−322067号公報、特開2006-250924号公報などに記載の金属体を陽極酸化して得られる微細構造体を利用した種々の形態の金属微細構造体を用いることができる。
さらには、局在プラズモンを生じさせる金属層は、表面が粗面化された金属膜により構成されていてもよい。粗面化方法としては、酸化還元等を利用した電気化学的な方法等が挙げられる。また、金属層を、サンプルプレート上に配置された複数の金属ナノロッドにより構成してもよい。金属ナノロッドのサイズは、短軸長さが3nm〜50nm程度、長軸長さが25nm〜1000nm程度であり、長軸長さを励起光の波長よりも小さいサイズとする。金属ナノロッドについては、例えば特開2007-139612号公報に記載されている。
なお、金属層12’として用いられる、金属微細構造体あるいは金属ナノロッドとしては、Au、Ag、Cu、Al、Pt、Ni、Ti、およびこれらの合金からなる群より選択される少なくとも1種の金属を主成分とするものが好ましい。
蛍光検出装置2を用いた本実施形態の蛍光検出方法について説明する。
センサチップを用意し、抗原―抗体反応をさせる工程は、第1の実施形態と同様であるため、説明を省略する。以下の実施形態において同様とする。
センサチップ10’を収容部19にセットした状態で、電圧印加手段35のスイッチを第1の電源に接続して金属膜12側を正極として電極間に電圧を印加することにより、センサ部上に結合している蛍光標識結合物質Bの、負に帯電した蛍光物質Fをセンサ部14に引き寄せる。このように、蛍光物質Fをセンサ部14に引き寄せた状態で、センサチップ10の誘電体プレート11の所定領域に向けて励起光照射光学系20’により励起光Loを照射する。光源21から出射された励起光Loはハーフミラー23により反射されてセンサチップ10’の試料接触面上に入射される。この励起光Loの照射により、金属層12’の表面で局在プラズモンが励起される。励起光の入射により金属層上に生じている光電場(近接場光に起因する電場)が、この局在プラズモンにより増強され、金属層上に光電場増強領域Dが形成される。光電場増強領域の金属膜表面には、電圧印加手段35による電圧印加により、帯電した蛍光物質Fが引き寄せられており、蛍光物質Fが励起されて(実質的にはその蛍光物質中の蛍光色素分子fが励起されて)蛍光Lfが発生する。局在プラズモンによる光電場増強の効果により蛍光は増強されたものとなる。この蛍光Lfを光検出器30により検出することにより、蛍光標識結合物質と結合した被検出物質の有無および/または量を検出することができる。
本実施形態においても、蛍光標識結合物質が、帯電した蛍光物質を含み、蛍光物質をセンサ部に引き寄せた状態で蛍光を検出するので、第1の実施形態と同様の効果を得ることができる。
<第3の実施形態>
第3の実施形態の検出方法および装置について図5を参照して説明する。図5は第3の実施形態の検出装置の概略構成を示す全体図である。本実施形態の検出方法および装置は、表面プラズモン共鳴により電場を増強させ、増強された電場において励起された蛍光が金属層に新たにプラズモンを誘起することにより、誘電体プレートの金属層形成面と反対の面側から放射される、新たに誘起されたプラズモンからの放射光を検出する放射光検出方法および装置である。
図5に示す放射光検出装置3は、第1の実施形態の蛍光検出装置と光検出器の配置が異なる。本放射光検出装置3においては、光検出器30が、蛍光が金属層に新たに表面プラズモンを誘起することによって誘電体プレートの金属層形成面と反対の面側から放射される、新たに誘起されたプラズモンからの放射光Lpを検出するように配置されている。
放射光検出装置3を用いた本実施形態の放射光検出方法について説明する。
センサチップ10を収容部19にセットした状態で、電圧印加手段35のスイッチを第1の電源に接続して金属膜12側を正極として電極間に電圧を印加することにより、センサ部上に結合している蛍光標識結合物質Bの、負に帯電した蛍光物質Fをセンサ部14に引き寄せる。このように、蛍光物質Fをセンサ部14に引き寄せた状態で、第1の実施形態と同様に、励起光照射光学系20により励起光Loを照射する。励起光照射光学系20により励起光Loが誘電体プレート11と金属膜12との界面に対して全反射角以上の特定の入射角度で入射されることにより、金属膜上12の試料S中にエバネッセント波が滲み出し、このエバネッセント波によって金属膜12中に表面プラズモンが励起される。励起光の入射により金属層上に生じている光電場(エバネッセント波に起因する電場)が、この表面プラズモンにより増強され、金属層上に光電場増強領域Dが形成される。光電場増強領域の金属膜表面には、電圧印加手段35による電圧印加により、帯電した蛍光物質Fが引き寄せられており、蛍光物質Fが励起されて(実質的にはその蛍光物質中の蛍光色素分子fが励起されて)蛍光Lfが発生する。このとき、表面プラズモンによる光電場増強の効果により蛍光は増強されたものとなる。金属膜12上で生じたこの蛍光Lfが、金属膜12に表面プラズモンを新たに誘起し、この表面プラズモンによりセンサチップ10の金属膜形成面と反対側から特定の角度で放射光Lpが射出される。光検出器30によって、この放射光Lpを検出することにより、蛍光標識結合物質と結合した被検出物質の有無および/または量を検出することができる。
放射光Lpは蛍光が金属膜の特定の波数の表面プラズモンと結合する際に生じるものであり、蛍光の波長に応じてその結合する波数は定まり、その波数に応じて放射光の出射角度が定まる。通常励起光Loの波長と蛍光の波長とは異なることから、蛍光により励起される表面プラズモンは、励起光Loにより生じた表面プラズモンとは異なる波数のものとなり、励起光Loの入射角度とは異なる角度で放射光Lpは放射される。
本実施形態においても、蛍光標識結合物質が、帯電した蛍光物質を含み、蛍光物質をセンサ部に引き寄せた状態で蛍光を生じさせ、この増強された蛍光に起因する放射光を検出するので、第1の実施形態と同様の効果を得ることができる。
さらに、本実施形態では、センサ表面で生じる蛍光に起因する光をセンサ裏面側から検出するので、蛍光Lfが光吸収の大きい溶媒を通過する距離を数十nm程度と削減することができる。したがって、例えば血液における光吸収をほぼ無視することができ、血液を遠心分離し赤血球などの着色成分を除去したり、血球フィルタを通して血清あるいは血漿状態にしたりするという前処理を行うことなく測定が可能となる。
<第4の実施形態>
第4の実施形態の検出方法および装置について図6を参照して説明する。図6は第4の実施形態の検出装置の概略構成を示す全体図である。本実施形態の検出方法および装置は、金属層上に光導波層を備えたセンサチップを用い、励起光の照射により光導波層に光導波モードを励起し、光導波モードにより光電場を増強させ、増強された光電場において励起された蛍光を検出する蛍光検出方法および装置である。
図6に示す蛍光検出装置4の構成は、第1の実施形態の蛍光検出装置の構成と同じであるが、用いられるセンサチップが異なり、このセンサチップの違いにより、光電場増強のメカニズムが異なる。
センサチップ10”は金属層12a上に光導波層12bを備えている。光導波層12bの層厚は、特に制限されることはなく、光導波モードが誘起されるように、励起光Loの波長、入射角度および光導波層12bの屈折率等を考慮して定めることができる。例えば、上記と同様に励起光Loとして780nmに中心波長を有するレーザ光を用い、光導波層12bとして1層のシリコン酸化膜からなるものを用いる場合には、500〜600nm程度が好ましい。なお、光導波層12bは、1層以上の誘電体等の光導波材料からなる内部光導波層を含む積層構造であってもよく、この積層構造は、金属層側から順に内部光導波層および内部金属層の交互積層構造であることが好ましい。
蛍光検出装置4を用いた本実施形態の蛍光検出方法について説明する。
センサチップ10”を収容部19にセットした状態で、電圧印加手段35のスイッチを第1の電源に接続して金属膜12側を正極として電極間に電圧を印加することにより、センサ部上に結合している蛍光標識結合物質Bの、負に帯電した蛍光物質Fをセンサ部14に引き寄せる。このように、蛍光物質Fをセンサ部14に引き寄せた状態で、第1の実施形態と同様に、励起光照射光学系20により励起光Loを照射する。励起光照射光学系20により励起光Loが誘電体プレート11と金属層12aとの界面に対して全反射角以上の特定の入射角度で入射されることにより、金属層12a上にエバネッセント波が滲み出し、このエバネッセント波が光導波層12bの光導波モードと結合し、光導波モードが励起される。励起光の入射により光導波層上に生じている光電場(エバネッセント波に起因する電場)が、この光導波モードにより増強され、光導波層上に光電場増強領域Dが形成される。光電場増強領域の金属膜表面には、電圧印加手段35による電圧印加により、帯電した蛍光物質Fが引き寄せられており、蛍光物質Fが励起されて(実質的にはその蛍光物質中の蛍光色素分子fが励起されて)蛍光Lfが発生する。このとき、光導波モードによる光電場増強の効果により蛍光は増強されたものとなる。光検出器30によって、この蛍光Lfを検出することにより、蛍光標識結合物質と結合した被検出物質の有無および/または量を検出することができる。
本実施形態においても、蛍光標識結合物質が、帯電した蛍光物質を含み、蛍光物質をセンサ部に引き寄せた状態で蛍光を生じさせ、この増強された蛍光に起因する放射光を検出するので、第1の実施形態と同様の効果を得ることができる。
さらに、光導波モードの励起により生じる光増強電場分布は、表面プラズモンにより生じる光増強電場分布と比較して表面からの距離に伴う電場減衰の程度が緩やかであることから、蛍光標識として、複数の蛍光色素分子を内包する径の大きな蛍光物質を用いた場合、表面プラズモンによる光電場増強を用いるよりも大きな蛍光量増加効果を得ることができる。
<第5の実施形態>
第5の実施形態の検出方法および装置について図7を参照して説明する。図7は第5の実施形態の検出装置の概略構成示す全体図である。本実施形態の検出方法および装置は、金属層上に光導波層を備えたセンサチップを用い、励起光の照射により光導波層に光導波モードを励起し、光導波モードにより光電場を増強させ、増強された光電場において励起された蛍光が金属層に新たにプラズモンを誘起することにより、誘電体プレートの金属層形成面と反対の面側から放射される、新たに誘起されたプラズモンからの放射光を検出する放射光検出方法および装置である。
図7に示す本実施形態の放射光検出装置5は、第3の実施形態の放射光検出装置と同様の構成であり、本実施形態の検出方法において用いられるセンサチップは第4の実施形態の蛍光検出方法で用いられるセンサチップと同様である。
放射光検出装置5を用いた本実施形態の蛍光検出方法について説明する。
センサチップ10”を収容部19にセットした状態で、電圧印加手段35のスイッチを第1の電源に接続して金属膜12側を正極として電極間に電圧を印加することにより、センサ部上に結合している蛍光標識結合物質Bの、負に帯電した蛍光物質Fをセンサ部14に引き寄せる。このように、蛍光物質Fをセンサ部14に引き寄せた状態で、第1の実施形態と同様に、励起光照射光学系20により励起光Loを照射する。励起光照射光学系20により励起光Loが誘電体プレート11と金属層12aとの界面に対して全反射角以上の特定の入射角度で入射されることにより、金属層12a上にエバネッセント波が滲み出し、このエバネッセント波が光導波層12bの光導波モードと結合し、光導波モードが励起される。励起光の入射により光導波層上に生じている光電場(エバネッセント波に起因する電場)が、この光導波モードにより増強され、光導波層上に光電場増強領域Dが形成される。光電場増強領域の金属膜表面には、電圧印加手段35による電圧印加により、帯電した蛍光物質Fが引き寄せられており、蛍光物質Fが励起されて(実質的にはその蛍光物質中の蛍光色素分子fが励起されて)蛍光Lfが発生する。このとき、このとき、光導波モードによる光電場増強の効果により蛍光は増強されたものとなる。光導波層12b上で生じたこの蛍光Lfが、金属層12aに表面プラズモンを新たに誘起し、この表面プラズモンによりセンサチップ10の金属膜形成面と反対側から特定の角度で放射光Lpが射出される。光検出器30によって、この放射光Lpを検出することにより、蛍光標識Fが標識された被検出物質の有無および/または量を検出することができる。
本実施形態においても、蛍光標識結合物質が、帯電した蛍光物質を含み、蛍光物質をセンサ部に引き寄せた状態で蛍光を生じさせ、この増強された蛍光に起因する放射光を検出するので、第1の実施形態と同様の効果を得ることができる。
また、本実施形態では、センサ表面で生じる蛍光に起因する光をセンサ裏面側から検出するので、蛍光Lfが光吸収の大きい溶媒を通過する距離を数十nm程度と削減することができ、第2の実施形態と同様の効果を得ることができる。
さらに、光導波モードの励起による電場増強を用いていることから、第4の実施形態と同様に蛍光量増加効果を得ることができる。
なお、蛍光標識として、図8に示すように、さらに、材料16の表面に蛍光を透過する厚みの金属皮膜19が設けられたものを用いてもよい。金属被膜19は、材料16の全表面を覆うものであってもよいし、全表面を覆うものでなく、一部表面が露出するように設けられたものであってもよい。金属被膜19の材料としては、上述の金属層と同様の金属材料を用いることができる。
蛍光物質の表面に金属被膜19を備えた場合、センサチップ10、10’の金属層12、12’に発生した表面プラズモンあるいは局在プラズモンが蛍光物質Fの金属被膜19のウィスパリング・ギャラリー・モードにカップリングし、蛍光物質F内の蛍光色素分子fをさらに高効率に励起できる。なお、ウィスパリング・ギャラリー・モードとは、ここで用いられるφ5300nm以下程度の蛍光物質のような微小球の球表面に局在し、周回する電磁波モードである。
蛍光物質への金属被膜方法の一例を挙げる。
まず、前述手順により蛍光物質を作製し、その表面にポリエチレンイミン(PEI)(エポミン、日本触媒社)を修飾する。
次に、粒子表面のPEIに粒径15nmのPdナノ粒子(平均粒径19nm、徳力本社)を吸着させる。
Pdナノ粒子が吸着したポリスチレン粒子を無電解金メッキ液(HAuCl、小島化学薬品社)に浸漬させることで、Pdナノ粒子を触媒とする無電界メッキを利用して、ポリスチレン粒子表面に金膜を作製する。
「検出用試料セル」
本発明の検出方法のセンサチップとして使用される検出用試料セルについて説明する。
<第1の実施形態の試料セル>
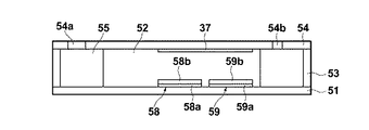
図9(A)は、第1の実施形態の試料セル50の構成を示す平面図、同図(B)は試料セル50の側断面図である。
検出用試料セル50は、誘電体プレートからなる基台51と、該基台51上に液体試料Sを保持し、液体試料Sの流路52を形成するスペーサ53と、試料Sを注入する注入口54aおよび流路52を流下した試料を排出する排出口となる空気孔54bを備えたガラス板からなる上板54とから構成され、流路52の注入口54aと空気孔54bとの間の試料接触面となる基台51の所定領域上に設けられた金属層58a、59aからなるセンサ部58、59が備えられている。また、注入口54aから流路52に至る箇所にはメンブレンフィルター55が備えられ、流路52下流の空気孔54bに接続する部分には廃液だめ56が形成されている。さらに、上板54の試料と接触する面の、センサ部58、59に対向する部分には対向電極として透明電極37が設けられている。
本実施形態においては、基台51が誘電体プレートから構成され、センサ部の誘電体プレートを兼ねているが、基台としては、センサ部が構成される部分のみ誘電体プレートで構成されたものを用いてもよい。
試料セル50は、上述した第1〜第5のいずれの実施形態の検出装置および方法におけるセンサチップとして、同様に使用することができる。なお、試料への電圧印加は、透明電極37とセンサ部に設けられた金属層を電圧印加手段35に接続して、透明電極と金属層との間に電圧を印加することにより行う。
本検出用試料セル50は、被検出物質に応じて、該被検出物質と特異的に結合する第1の結合物質をセンサ部に適宜固定して使用することができる。
さらに、流路内の、センサ部より上流側に、被検出物質と特異的に結合する第2の結合物質および被検出物質と競合して第1の結合物質と特異的に結合する第3の結合物質のうちのいずれか一方の結合物質とその結合物質および、液体試料中で極性を示す官能基が表面に修飾された蛍光物質とからなる蛍光標識結合物質を適宜固定して使用することができる。
<第2実施形態の試料セル>
図10は、サンドイッチ法によるアッセイに適した第2の実施形態の試料セルの側断面を示すものである。本実施形態の試料セル50Aにおいては、基台51上に流路52上流側から、被検出物質である抗原と特異的に結合する2次抗体(第2の結合物質)Bと該2次抗体Bおよび液体試料中で極性を示す官能基(例えば、−COOHや−NH2等、図示せず。)が表面修飾された蛍光物質Fとからなる蛍光標識結合物質B(以下、「標識2次抗体B」という。)が物理吸着させてある標識2次抗体吸着エリア57、被検出物質である抗原と特異的に結合する1次抗体(第1の結合物質)Bが固定された第1の測定エリア58、被検出物質である抗原Aとは結合せず2次抗体Bと特異的に結合する1次抗体Bが固定された第2の測定エリア59が順に設けられている。この第1および第2の測定エリア58,59がセンサ部に相当する。本例では、センサ部に2つの測定エリアを設けた例を挙げているが、測定エリアは1つのみであってもよい。
基台51上の第1の測定エリア58および第2の測定エリア59にはそれぞれ金属層として、金(Au)膜58aおよび59aが形成されている。第1の測定エリア58のAu膜58a上にはさらに1次抗体Bが固定され、第2の測定エリア59のAu膜59a上にはさらに1次抗体Bとは異なる1次抗体Bが固定されている。互いに異なる1次抗体が設けられている点以外は第1の測定エリア58と第2の測定エリア59は同一の構成である。第2の測定エリア59に固定されている1次抗体Bは抗原Aとは結合せず、2次抗体Bと直接結合するものである。これにより、流路を流れた標識2次抗体Bの量、活性など反応に関する変動要因と励起光照射光学系20、金(Au)膜58aおよび59a、液体試料Sなど光電場増強度に関する変動要因を検出し、較正に利用することができる。なお、第2の測定エリアには1次抗体Bではなく、既知量の標識物質が予め固定されていてもよい。標識物質は標識2次抗体Bの蛍光物質Fと同種のものであってもよいし、波長、サイズの異なる蛍光物質であってもよい。さらには金属微粒子などであってもよい。この場合、励起光照射光学系20、金膜58a、59a、液体試料Sなど光電場増強度に関する変動要因のみを検出し、較正に利用することができる。第2の測定エリア59に標識2次抗体B、あるいは標識2次抗体Bとは異なる既知量の標識物質のどちらを固定するかは、較正目的および方法によって適宜定めればよい。
試料セル50Aは、上述した第1〜第5のいずれの実施形態の検出装置および方法においてもセンサチップに代えて同様に使用することができる。試料セル50は、収容部19において、励起光照射光学系20および検出器30に相対的にX方向に移動可能とされており、第1の測定エリア58からの蛍光もしくは放射光の検出測定の後、第2の測定エリア59を検出位置に移動させて第2の測定エリア59からの蛍光もしくは放射光の検出を行うように構成されている。
本発明の検出方法において、本実施形態の検出用試料セル50Aを用い、血液(全血)中に被検出物質である抗原を含むか否について、サンドイッチ法によるアッセイを行う手順について図11を参照して説明する。
step1:注入口54aから検査対象である血液(全血)Soを注入する。ここでは、この血液So中に被検出物質である抗原が含まれている場合について説明する。図11中において全血Soは網掛け領域で示している。
step2:全血Soはメンブレンフィルター55により濾過され、赤血球、白血球などの大きな分子が残渣となる。
step3:メンブレンフィルター55で血球分離された血液(血漿)Sが毛細管現象で流路52に染み出す。または反応を早め、検出時間を短縮するために、空気孔54bにポンプを接続し、メンブレンフィルター55で血球分離された血液をポンプの吸引、押し出し操作によって流下させてもよい。図11中において血漿Sは斜線領域で示している。
step4:流路52に染み出した血漿Sと標識2次抗体Bとが混ぜ合わされ、血漿中の抗原Aが標識2次抗体Bの2次抗体Bと結合する。
step5:血漿Sは流路52に沿って空気孔54b側へと徐々に流れ、2次抗体B2と結合した抗原Aが、第1の測定エリア58上に固定されている1次抗体Bと結合し、抗原Aが1次抗体Bと2次抗体B(標識2次抗体B)で挟み込まれたいわゆるサンドイッチが形成される。
step6:抗原Aと結合しなかった標識2次抗体Bの一部は第2の測定エリア59上に固定されている1次抗体Bと結合する。さらに抗原Aまたは1次抗体Bと結合しなかった標識2次抗体Bが測定エリア上に残っている場合があっても、後続の血漿が洗浄の役割を担い、プレート上に浮遊および非特異吸着していた標識2次抗体を洗い流す。
このように、血液を注入口から注入し、測定エリア58上に抗原Aが1次抗体Bと標識2次抗体BFで挟まれたサンドイッチが形成されるまでのstep1からStep6の後、検出装置において、電圧印加手段により電圧を印加して、センサ部上に蛍光物質Fを引き寄せ、第1の測定エリア58からの蛍光もしくは放射光強度(以下、「信号」という。)を検出する。その後、第2の測定エリア59からの信号を検出できるように試料セル50をX方向に移動させ、第2の測定エリア59からの信号を検出する。標識2次抗体Bと結合する1次抗体Bを固定している第2の測定エリア59からの信号は標識2次抗体の流下した量、活性などの反応条件を反映した信号であると考えられ、この信号をリファレンスとして、第1の測定エリアからの信号を補正することにより、より精度の高い検出結果(抗原の有無および/またはその濃度)を得ることができる。また、既述の通り、第2の測定エリア59に既知量の標識物質(蛍光物質、金属微粒子)をあらかじめ固定した場合であっても、同様に、第2の測定エリア59からの信号をリファレンスとして第1の測定エリアからの信号を補正することができる。
<第3実施形態の試料セル>
図12は、競合法によるアッセイに適した第3の実施形態の試料セルの側断面を示すものである。本実施形態の試料セル50Bにおいては、基台51上には流路52上流側から、被検出物質である抗原Aとは結合せず、後述の1次抗体と特異的に結合する2次抗体C(第3の結合物質)と該2次抗体Cおよび液体試料中で極性を示す官能基(例えば、−COOHや−NH2等、図示せず。)が表面修飾された蛍光物質Fとからなる蛍光標識結合物質C(以下、「標識2次抗体C」という。)を物理吸着させてある標識2次抗体吸着エリア57’、被検出物質である抗原Aおよび2次抗体Cと特異的に結合する1次抗体C(第1の結合物質)が固定された第1の測定エリア58’、被検出物質である抗原Aとは結合せず標識2次抗体Cの2次抗体Cと特異的に結合する1次抗体Cが固定された第2の測定エリア59’が順に設けられている。
基台51上の第1の測定エリア58および第2の測定エリア59にはそれぞれ金属層として、金(Au)膜58aおよび59aが形成されている。第1の測定エリア58’のAu膜58a上にさらに1次抗体Cが固定され、第2の測定エリア59’のAu膜59a上にさらに1次抗体Cとは異なる1次抗体Cが固定されている。互いに異なる1次抗体が設けられている点以外は第1の測定エリア58’と第2の測定エリア59’は同一の構成である。抗原Aと2次抗体Cとは、第1の測定エリア58’に固定されている1次抗体Cに競合的に結合するものである。第2の測定エリア59’に固定されている1次抗体Cは抗原Aとは結合せず、2次抗体Cと直接結合するものである。これにより、流路を流れた標識2次抗体の量、活性など反応に関する変動要因と励起光照射光学20、金(Au)膜58aおよび59a、液体試料Sなど光電場増強度に関する変動要因を検出し、較正に利用することができる。なお、第2の測定エリアには1次抗体Cではなく、既知量の標識物質が予め固定されていてもよい。標識物質は標識2次抗体Cの蛍光物質Fと同種のものであってもよいし、波長、サイズの異なる蛍光物質であってもよい。さらには金属微粒子などであってもよい。この場合、励起光照射光学系20、金(Au)膜58aおよび59a、液体試料Sなど光電場増強度に関する変動要因のみを検出し、較正に利用することができる。第2の測定エリア59に標識2次抗体CF、あるいは標識2次抗体Cとは異なる既知量の標識物質のどちらを固定するかは較正目的および方法によって適宜定めればよい。
試料セル50Bは、既述の試料セル50Aと同様に、上述した第1〜第5のいずれの実施形態の検出装置および方法においてセンサチップに代えて同様に使用することができる。
本発明の検出方法において、本実施形態の検出用試料セル50Bを用い、血液(全血)中に被検出物質である抗原を含むか否について、サンドイッチ法によるアッセイを行う手順について図13を参照して説明する。
step1:注入口54aから検査対象である血液(全血)Soを注入する。ここでは、この血液So中に被検出物質である抗原が含まれている場合について説明する。図13中において全血Soは網掛け領域で示している。
step2:全血Soはメンブレンフィルター55により濾過され、赤血球、白血球などの大きな分子が残渣となる。
step3:メンブレンフィルター55で血球分離された血液(血漿)Sが毛細管現象で流路52に染み出す。または反応を早め、検出時間を短縮するために、空気孔54bにポンプを接続し、メンブレンフィルター55で血球分離された血液をポンプの吸引、押し出し操作によって流下させてもよい。図13中において血漿Sは斜線領域で示している。
step4:流路52に染み出した血漿Sと標識2次抗体Cとが混ぜ合わされる。
step5:血漿Sは流路52に沿って空気孔54b側へと徐々に流れ、抗原Aと標識2次抗体Cの2次抗体C3とが競合して、第1の測定エリア58’上に固定されている1次抗体Cと結合する。
step6:第1の測定エリア58’上の1次抗体Cと結合しなかった標識2次抗体Cの一部は、第2の測定エリア59’上に固定されている1次抗体Cと結合する。さらに1次抗体CまたはCと結合していない標識2次抗体Cが測定エリア上に残っている場合があっても、後続の血漿が洗浄の役割を担い、プレート上に浮遊および非特異吸着していた標識2次抗体Cを洗い流す。
このように、血液を注入口から注入し、測定エリア58’上の1次抗体Cに抗原Aおよび2次抗体Cが競合結合するまでのstep1からStep6の後、検出装置において、電圧印加手段により電圧を印加して、センサ部上に蛍光物質Fを引き寄せ第1の測定エリア58’および第2の測定エリア59’からの蛍光もしくは放射光強度などの信号を検出する。その後、第2の測定エリア59からの信号を検出できるように試料セル50をX方向に移動させ、第2の測定エリア59からの信号を検出し、この信号をリファレンスとして、第1の測定エリアからの信号を補正することにより、より精度の高い検出結果(抗原の有無および/またはその濃度)を得ることができる。
競合法においては、被検出物質Aの濃度が高ければ、第1の結合物質Cと結合する第3の結合物質Cの量が少なく、すなわち金属層上の蛍光物質Fの数が少なくなるため蛍光強度が小さくなり、一方、被検出物質Aの濃度が低ければ、第1の結合物質Cと結合する第3の結合物質Cの量が多く、すなわち金属膜上の蛍光物質Fの数が多くなるため蛍光強度が大きくなる。競合法は被検出物質にエピトープが一つあれば測定が可能であることから、低分子量の物質の検出に適している。
(試料セルの設計変更例)
光導波モードによる光電場増強を利用する検出方法および装置に用いる試料セルの断面図を図14に示す。図9に示した第1の実施形態の試料セルの構成と略同一であるが、センサ部の金属層58a、59a上にさらに光導波層58b、59bを備えている。
この試料セルも適宜、センサ部に第1の結合物質を、センサ部上流側に蛍光標識結合物質を固定し使用することができる。
「検出用キット」
本発明の検出方法に使用される検出用キットについて説明する。
図15は蛍光検出用キット60の構成を示す模式図である。
検出用キット60は、試料セル61と、蛍光検出測定を行うにあたり、液体試料と同時もしくは液体試料の流下後に、試料セル61の流路内に流下される、抗原Aと特異的に結合する2次抗体(第2の結合物質)Bと、該2次抗体Bおよび液体試料中で極性を示す官能基(例えば、−COOHや−NH2等、図示せず。)が表面修飾された蛍光物質Fとからなる蛍光標識結合物質B(以下、「標識2次抗体B」という。)を含む標識用溶液63とを備えている。標識用溶液内において、官能基はイオン化しており、それにより蛍光物質は帯電したものとなっている。
試料セル61は、試料セル内に、蛍光標識結合物質Bを物理吸着した物理吸着エリアを備えていない点でのみ上述の第2の実施形態の試料セル50Aと異なり、その他は試料セル50Aと略同一の構成である。
本発明の検出方法において、本実施形態の検出用キット60を用い、血液(全血)中に被検出物質である抗原を含むか否について、サンドイッチ法によるアッセイを行う手順について図16を参照して説明する。
step1:注入口54aから検査対象である血液(全血)Soを注入する。ここでは、この血液So中に被検出物質である抗原が含まれている場合について説明する。図16中において全血Soは網掛け領域で示している。
step2:全血Soはメンブレンフィルター55により濾過され、赤血球、白血球などの大きな分子が残渣となる。引き続き、メンブレンフィルター55で血球分離された血液(血漿)Sが毛細管現象で流路52に染み出す。または反応を早め、検出時間を短縮するために、空気孔にポンプを接続し、メンブレンフィルター55で血球分離された血液をポンプの吸引、押し出し操作によって流下させてもよい。図16中において血漿Sは斜線領域で示している。
step3:血漿Sは流路52に沿って空気孔54b側へと徐々に流れ、血漿S中の抗原Aが、第1の測定エリア58上に固定されている1次抗体Bと結合する。
step4:帯電した標識2次抗体Bを含む標識用溶液63を供給口54aから注入する。
step5:標識2次抗体Bが毛細管現象により流路52に染み出す。または反応を早め、検出時間を短縮するために、空気孔にポンプを接続し、メンブレンフィルター55で血球分離された血液をポンプの吸引、押し出し操作によって流下させてもよい。
step6:標識2次抗体Bは徐々に下流側に流れ、該標識2次抗体Bの2次抗体Bが抗原Aと結合し、抗原Aが1次抗体Bと2次抗体Bで挟み込まれたいわゆるサンドイッチが形成される。抗原Aと結合しなかった2次抗体Bの一部は第2の測定エリア59上に固定されている1次抗体Bと結合する。さらに抗原Aまたは1次抗体Bと結合しなかった標識2次抗体Bが測定エリア上に残っている場合があっても、後続の血漿が洗浄の役割を担い、プレート上に浮遊および非特異吸着していた標識2次抗体Bを洗い流す。
このように、血液を注入口から注入し、抗原が1次抗体および2次抗体と結合するまでのstep1からStep6の後、検出装置において、電圧印加手段により電圧を印加して、センサ部上に蛍光物質Fを引き寄せ、第1の測定エリア58からの信号を検出する。その後、第2の測定エリア59からの信号を検出できるように試料セル61をX方向に移動させ、同様に、センサ部上に蛍光標識結合物質を引き寄せ、第2の測定エリア59からの信号を検出する。標識2次抗体Bの2次抗体Bと結合する1次抗体Bを固定している第2の測定エリア59からの信号は標識2次抗体の流下した量、活性などの反応条件を反映した信号であると考えられ、この信号をリファレンスとして、第1の測定エリアからの信号を補正することにより、より精度の高い検出結果(抗原の有無および/またはその濃度)を得ることができる。また、第2の測定エリア59に既知量の標識物質(蛍光物質、金属微粒子)をあらかじめ固定しておき、第2の測定エリア59からの蛍光信号をリファレンスとして第1の測定エリアからの信号を補正してもよい。
蛍光物質への2次抗体修飾方法および標識用溶液の作製方法の一例を説明する。
前述の手順で作製した蛍光物質溶液(蛍光物質の直径500nm、励起波長780nm)に50mM MESバッファーおよび、5.0mg/mLの抗hCGモノクローナル抗体(Anti−hCG 5008 SP−5、Medix Biochemica社)溶液を加えて撹拌する。これにより蛍光物質への抗体の修飾がなされる。
次に、400mg/mLのWSC(品番01−62−0011、和光純薬)水溶液を加え室温で攪拌する。
さらに、2mol/L Glycine水溶液を添加し撹拌した後、遠心分離にて、粒子を沈降させる。
最後に、上清を取り除き、PBS(pH7.4)を加え、超音波洗浄機により、表面修飾された蛍光物質を再分散させる。さらに遠心分離を行い、上清を除いた後、1%BSAのPBS(pH7.4)溶液500μL加え、表面修飾された蛍光物質を再分散させて標識用溶液とする。
(検査用キットの設計変更例)
光導波モードによる光電場増強を利用する検出方法および装置に用いる試料セルとしては、図15に示す、センサ部の金属層58a、59a上にさらに光導波層58b、59bを備え試料セルの光導波層58b、59b上に、それぞれ1次抗体B、1次抗体Bとは異なる1次抗体Bを固定したものを用いればよい。
また、さらに、競合法によるアッセイを行う場合には、試料セルとして、1次抗体B、1次抗体Bに代えて、被検出物質である抗原Aおよび2次抗体Cと特異的に結合する1次抗体C(第1の結合物質)、被検出物質である抗原Aとは結合せず2次抗体Cと特異的に結合する1次抗体Cをセンサ部上に固定したものを用い、標識用溶液として、被検出物質である抗原Aとは結合せず、後述の1次抗体と特異的に結合する2次抗体C(第3の結合物質)と該2次抗体Cおよび液体試料中で極性を示す官能基が表面修飾された蛍光物質とからなる蛍光標識結合物質Cを含むものを用いればよい。
本発明の第1実施形態による蛍光検出装置を示す概略構成図 励起光照射光学系の設計変更例を示す図 本発明の第2実施形態による蛍光検出装置を示す概略構成図 本発明の第2実施形態による蛍光検出装置に用いられるセンサチップのセンサ部を示す概略構成図 本発明の第3実施形態による検出装置を示す概略構成図 本発明の第4実施形態による検出装置を示す概略構成図 本発明の第5実施形態による検出装置を示す概略構成図 金属被膜を有する蛍光物質を示す模式図 本発明の第1の実施形態の試料セルを示す(A)平面図および(B)側断面図 本発明の第2の実施形態の試料セルを示す側断面図 第2の実施形態の試料セルを用いたサンドイッチ法によるアッセイ手順を示す図 本発明の第3の実施形態の試料セルを示す側断面図 第3の実施形態の試料セルを用いた競合法によるアッセイ手順を示す図 試料セルの設計変更例を示す側断面図 本発明の1実施形態の蛍光検出用キットの構成を示す模式図 蛍光検出用キットを用いたサンドイッチ法によるアッセイ手順を示す図 従来例を示す図
符号の説明
1、2、3、4、5 検出装置
10、10’、10” センサチップ
11 誘電体プレート
12 金属層(金属膜)
12’ 金属層(金属微細構造体)
14 センサ部
16 材料
19 金属被膜
20、20’ 励起光照射光学系
21 光源
22 プリズム
30 光検出器
35 電圧印加手段
36、37 対向電極
50、50A、50B、61 試料セル
51 誘電体プレート
52 流路
53 スペーサ
54 上板
57 標識2次抗体吸着エリア
58、59 検出エリア
60 検出用キット
63 検出用標識溶液
A 抗原(被検出物質)
、C 1次抗体(第1の結合物質)
2次抗体(第2の結合物質)
、C 標識2次抗体(蛍光標識結合物質)
2次抗体(第3の結合物質)
F 蛍光物質
f 蛍光色素分子
Lo 励起光
Lf 蛍光
Lp 放射光

Claims (16)

  1. 誘電体プレートと、該誘電体プレートの一面に少なくとも金属層が設けられてなるセンサ部とからなるセンサチップを用意し、
    前記センサ部に液体試料を接触させることにより、該センサ部上に、該液体試料中の被検出物質の量に応じた量の蛍光標識結合物質を結合させ、
    前記センサ部に励起光を照射することにより、該センサ部上に増強した光電場を生じさせ、該増強した光電場内において前記蛍光標識結合物質の蛍光標識を励起し、該蛍光標識の励起に起因して生じる光の量に基づいて、前記被検出物質の量を検出する検出方法において、
    前記蛍光標識として、複数の蛍光色素分子を、該蛍光色素分子からの蛍光を透過する材料により包含してなる、帯電した蛍光物質を用い、
    前記センサ部に前記蛍光標識結合物質を結合させた状態で、前記液体試料に対して電圧を印加することにより、前記帯電した蛍光物質を該センサ部に引き寄せ、該蛍光物質を引き寄せた状態で前記被検出物質の量を検出することを特徴とする検出方法。
  2. 前記蛍光物質として、少なくとも液体試料中で極性を示す官能基が表面修飾された蛍光物質を用いることを特徴とする請求項1記載の検出方法。
  3. 前記蛍光物質の粒径が30μm以上であることを特徴とする請求項1または2記載の検出方法。
  4. 前記液体試料に接触する位置に対向電極を配置し、該対向電極と、前記誘電体プレート上の前記金属層との間に電圧を印加することにより、前記液体試料に対して前記電圧を印加することを特徴とする請求項1から3いずれか1項記載の検出方法。
  5. 前記センサ部に、前記蛍光標識結合物質を結合させる際に、前記液体試料に対して、前記帯電した蛍光物質を前記センサ部に引き寄せる第1の電圧を印加し、
    前記蛍光標識結合物質を結合させた後、前記第1の電圧の印加を停止し、該第1の電圧とは逆向きの電場を生じさせる第2の電圧を印加し、前記液体試料中の、前記センサ部に結合していない蛍光標識結合物質を該センサ部上から除去し、
    その後、前記被検出物質の量を検出することを特徴とする請求項1から4いずれか1項記載の検出方法。
  6. 前記励起光の照射により前記金属層にプラズモンを励起し、該プラズモンにより前記増強した光電場を生じさせ、
    前記蛍光標識の励起に起因して生じる前記光として、該励起によって該蛍光標識から生じる蛍光を検出することにより前記被検出物質の量を検出することを特徴とする請求項1から5いずれか1項記載の検出方法。
  7. 前記励起光の照射により前記金属層にプラズモンを励起し、該プラズモンにより前記増強した光電場を生じさせ、
    前記蛍光標識の励起に起因して生じる前記光として、該励起によって該蛍光標識から生じる蛍光が前記金属層に新たにプラズモンを誘起することにより、前記誘電体プレートの前記他面から放射される放射光を検出することにより前記被検出物質の量を検出することを特徴とする請求項1から5いずれか1項記載の検出方法。
  8. 前記センサチップとして、前記金属層上に光導波層を備えたものを用い、
    前記励起光の照射により前記光導波層に光導波モードを励起し、該光導波モードにより前記増強した光電場を生じさせ、
    前記蛍光標識の励起に起因して生じる前記光として、該励起によって該蛍光標識から生じる蛍光を検出することにより前記被検出物質の量を検出することを特徴とする請求項1から5いずれか1項記載の検出方法。
  9. 前記センサチップとして、前記金属層上に光導波層を備えたものを用い、
    前記励起光の照射により前記光導波層に光導波モードを励起し、該光導波モードにより前記増強した光電場を生じさせ、
    前記蛍光標識の励起に起因して生じる前記光として、該励起によって該蛍光標識から生じる蛍光が前記金属層に新たにプラズモンを誘起することにより、前記誘電体プレートの前記他面から放射される放射光を検出することにより前記被検出物質の量を検出することを特徴とする請求項1から5いずれか1項記載の検出方法。
  10. 請求項1から9いずれか1項に記載の検出方法に用いられる検出装置であって、
    前記センサチップを収容する収容部と、
    前記センサ部に前記励起光を照射する励起光照射光学系と、
    該励起光の照射により該センサ部上に生じた前記増強した光電場における、前記蛍光標識の励起に起因して生じる光を検出する光検出手段と、
    前記収容部に前記センサチップを収容した際に、前記液体試料に対して電圧を印加する電圧印加手段とを備えたことを特徴とする検出装置。
  11. 請求項1から9いずれか1項に記載の検出方法において使用される検出用試料セルであって、
    液体試料が流下される流路を有する基台と、
    前記流路の上流側に設けられた該流路に前記液体試料を注入するための注入口と、
    前記流路の下流側に設けられた、前記注入口から注入された前記液体試料を該下流側に流すための空気孔と、
    前記流路の、前記注入口と前記空気孔との間に設けられたセンサチップ部であって、前記流路の内壁面の少なくとも一部として設けられた誘電体プレートと、該プレートの試料接触面に設けられた少なくとも金属層を含むセンサ部とからなるセンサチップ部とを備えてなることを特徴とする検出用試料セル。
  12. 前記センサ部に、前記蛍光標識結合物質と結合する固定層を備えていることを特徴とする請求項11記載の検出用試料セル。
  13. 複数の蛍光色素分子を、該蛍光色素分子からの蛍光を透過する材料により包含してなる、帯電した蛍光物質を、前記蛍光標識として含む前記蛍光標識結合物質が、前記流路内の、前記センサ部より上流側に固定されていることを特徴とする請求項12記載の検出用試料セル。
  14. 前記センサ部において、前記金属層上に光導波層が備えられていることを特徴とする請求項11から13いずれか1項記載の検出用試料セル。
  15. 請求項1から9のいずれか1項に記載の検出方法に使用される検出用キットであって、
    液体試料が流下される流路を有する基台と、前記流路の上流側に設けられた該流路に前記液体試料を注入するための注入口と、前記流路の下流側に設けられた、前記注入口から注入された前記液体試料を該下流側に流すための空気孔と、前記流路の、前記注入口と前記空気孔との間に設けられたセンサチップ部であって、前記流路の内壁面の少なくとも一部として設けられた誘電体プレートと、該プレートの試料接触面に設けられた少なくとも金属層を含むセンサ部とからなるセンサチップ部と、該センサ部上に固定された、前記蛍光標識結合物質と結合する固定層とを備えた試料セル、および
    前記液体試料と同時もしくは前記液体試料の流下後に、前記流路内に流下される、複数の蛍光色素分子を、該蛍光色素分子からの蛍光を透過する材料により包含してなる帯電した蛍光物質を、前記蛍光標識として含む前記蛍光標識結合物質を含んだ標識用溶液を備えてなることを特徴とする検出用キット。
  16. 前記センサ部において、前記金属層上に光導波層が備えられていることを特徴とする請求項12記載の検出用キット。
JP2008182226A 2008-07-14 2008-07-14 検出方法、検出装置、検出用試料セルおよび検出用キット Active JP5160985B2 (ja)

Priority Applications (2)

Application Number Priority Date Filing Date Title
JP2008182226A JP5160985B2 (ja) 2008-07-14 2008-07-14 検出方法、検出装置、検出用試料セルおよび検出用キット
US12/501,906 US20100006774A1 (en) 2008-07-14 2009-07-13 Detection method, detection apparatus, and sample cell and kit for detection

Applications Claiming Priority (1)

Application Number Priority Date Filing Date Title
JP2008182226A JP5160985B2 (ja) 2008-07-14 2008-07-14 検出方法、検出装置、検出用試料セルおよび検出用キット

Publications (3)

Publication Number Publication Date
JP2010019766A true JP2010019766A (ja) 2010-01-28
JP2010019766A5 JP2010019766A5 (ja) 2011-03-17
JP5160985B2 JP5160985B2 (ja) 2013-03-13

Family

ID=41504294

Family Applications (1)

Application Number Title Priority Date Filing Date
JP2008182226A Active JP5160985B2 (ja) 2008-07-14 2008-07-14 検出方法、検出装置、検出用試料セルおよび検出用キット

Country Status (2)

Country Link
US (1) US20100006774A1 (ja)
JP (1) JP5160985B2 (ja)

Cited By (10)

* Cited by examiner, † Cited by third party
Publication number Priority date Publication date Assignee Title
JP2010048756A (ja) * 2008-08-25 2010-03-04 Fujifilm Corp 検出方法、検出装置、検出用試料セルおよび検出用キット
WO2012120874A1 (ja) * 2011-03-10 2012-09-13 富士フイルム株式会社 検出方法および検出装置
JP2013113620A (ja) * 2011-11-25 2013-06-10 Gunma Univ ラマン分光測定用反応容器及びこれを用いたラマン分光測定方法
JP2014009955A (ja) * 2012-06-27 2014-01-20 Kyocera Corp バイオセンサ、検出方法、検出システム及び検出装置
WO2014083766A1 (ja) * 2012-11-30 2014-06-05 パナソニック株式会社 試料保持担体およびそれを用いた蛍光検出装置
JP5633510B2 (ja) * 2009-04-21 2014-12-03 パナソニック株式会社 プラズモンセンサとその製造方法、およびプラズモンセンサに試料を挿入する方法
JP2015222273A (ja) * 2009-10-30 2015-12-10 メドテック ディテクト、エル・エル・シー インプリントポリマー及びフォトクロミックスイッチ分子を用いて分析物を比色検出するための組成物、装置及び方法
JP2018194550A (ja) * 2017-05-12 2018-12-06 公立大学法人大阪府立大学 被検出物質の検出キットおよびそれを備えた検出システム、ならびに、被検出物質の検出キットの製造方法
WO2019163925A1 (ja) * 2018-02-26 2019-08-29 富士フイルム株式会社 流路デバイス
JP2020122728A (ja) * 2019-01-31 2020-08-13 国立研究開発法人産業技術総合研究所 標的物質検出装置及び荷電処理粒子

Families Citing this family (6)

* Cited by examiner, † Cited by third party
Publication number Priority date Publication date Assignee Title
JP2010043934A (ja) * 2008-08-12 2010-02-25 Fujifilm Corp 検出方法、検出用試料セル、検出用キット及び検出装置
EP2261639B1 (en) * 2009-04-14 2012-02-15 Panasonic Corporation Method and apparatus for measuring concentration of biological component
US8809810B2 (en) * 2010-05-20 2014-08-19 Honeywell International Inc. Microarray reader based on evanescent wave detection
CN102087745B (zh) * 2010-06-03 2012-06-13 无锡安则通科技有限公司 Dsp系统中视频图像序列柔性目标比对和特征提取算法
EP2622333B1 (en) * 2010-09-30 2020-06-17 3M Innovative Properties Company Sensor element, method of making the same, and sensor device including the same
WO2021131331A1 (ja) * 2019-12-23 2021-07-01 国立研究開発法人物質・材料研究機構 蛍光検出用生体分子検査チップ

Citations (7)

* Cited by examiner, † Cited by third party
Publication number Priority date Publication date Assignee Title
JP2001021565A (ja) * 1999-07-07 2001-01-26 Japan Science & Technology Corp 蛍光免疫分析方法及び装置
JP2005077338A (ja) * 2003-09-02 2005-03-24 Sysmex Corp 光学的定量方法及び光学的定量装置
JP2007240361A (ja) * 2006-03-09 2007-09-20 Sekisui Chem Co Ltd 局在プラズモン増強センサ
JP2008145369A (ja) * 2006-12-13 2008-06-26 Fujifilm Corp センシング方法、該方法用のセンサ、及びセンシング装置
JP2009258034A (ja) * 2008-04-21 2009-11-05 Fujifilm Corp 表面プラズモン放射光検出方法および装置、表面プラズモン放射光検出用試料セルおよびキット
JP2010008247A (ja) * 2008-06-27 2010-01-14 Fujifilm Corp 検出方法、検出装置、検出用試料セルおよび検出用キット
JP2010190880A (ja) * 2008-04-18 2010-09-02 Fujifilm Corp 光信号検出方法、光信号検出装置、光信号検出用試料セルおよび光信号検出用キット

Family Cites Families (9)

* Cited by examiner, † Cited by third party
Publication number Priority date Publication date Assignee Title
US5512492A (en) * 1993-05-18 1996-04-30 University Of Utah Research Foundation Waveguide immunosensor with coating chemistry providing enhanced sensitivity
DE19715483A1 (de) * 1997-04-14 1998-10-15 Boehringer Mannheim Gmbh Methode zur gleichzeitigen Bestimmung von biomolekularen Wechselwirkungen mittels Plasmonenresonanz undFluoreszenzdetektion
US20050153382A1 (en) * 2002-06-06 2005-07-14 Chengdu Kuachang Science And Technology Co., Ltd. Biochip kit comprising biochip based on antigen-antibody reactions, and its usage
US20050053974A1 (en) * 2003-05-20 2005-03-10 University Of Maryland Apparatus and methods for surface plasmon-coupled directional emission
EP1715085B1 (en) * 2005-04-18 2013-04-03 FUJIFILM Corporation Method for producing anodized structure
EP1896832A4 (en) * 2005-06-17 2011-12-14 Univ Maryland Biotech Inst METAL-REINFORCED MEASURING METHODS AT FLUORESCENT BASIS
JP2007139612A (ja) * 2005-11-18 2007-06-07 Fujifilm Corp 微細構造体、微細構造体の作製方法、ラマン分光法、及び装置
JP2007171003A (ja) * 2005-12-22 2007-07-05 Fujifilm Corp 質量分析用基板並びに分析方法および装置
US7946563B2 (en) * 2007-01-31 2011-05-24 Nisca Corporation Sheet post-processing apparatus and image forming system comprising the same

Patent Citations (7)

* Cited by examiner, † Cited by third party
Publication number Priority date Publication date Assignee Title
JP2001021565A (ja) * 1999-07-07 2001-01-26 Japan Science & Technology Corp 蛍光免疫分析方法及び装置
JP2005077338A (ja) * 2003-09-02 2005-03-24 Sysmex Corp 光学的定量方法及び光学的定量装置
JP2007240361A (ja) * 2006-03-09 2007-09-20 Sekisui Chem Co Ltd 局在プラズモン増強センサ
JP2008145369A (ja) * 2006-12-13 2008-06-26 Fujifilm Corp センシング方法、該方法用のセンサ、及びセンシング装置
JP2010190880A (ja) * 2008-04-18 2010-09-02 Fujifilm Corp 光信号検出方法、光信号検出装置、光信号検出用試料セルおよび光信号検出用キット
JP2009258034A (ja) * 2008-04-21 2009-11-05 Fujifilm Corp 表面プラズモン放射光検出方法および装置、表面プラズモン放射光検出用試料セルおよびキット
JP2010008247A (ja) * 2008-06-27 2010-01-14 Fujifilm Corp 検出方法、検出装置、検出用試料セルおよび検出用キット

Cited By (17)

* Cited by examiner, † Cited by third party
Publication number Priority date Publication date Assignee Title
JP2010048756A (ja) * 2008-08-25 2010-03-04 Fujifilm Corp 検出方法、検出装置、検出用試料セルおよび検出用キット
US9442067B2 (en) 2009-04-21 2016-09-13 Panasonic Intellectual Property Management Co., Ltd. Plasmon sensor and manufacturing method therefor, and method for inserting sample into plasmon sensor
JP5633510B2 (ja) * 2009-04-21 2014-12-03 パナソニック株式会社 プラズモンセンサとその製造方法、およびプラズモンセンサに試料を挿入する方法
JP2015222273A (ja) * 2009-10-30 2015-12-10 メドテック ディテクト、エル・エル・シー インプリントポリマー及びフォトクロミックスイッチ分子を用いて分析物を比色検出するための組成物、装置及び方法
WO2012120874A1 (ja) * 2011-03-10 2012-09-13 富士フイルム株式会社 検出方法および検出装置
JP2012189429A (ja) * 2011-03-10 2012-10-04 Fujifilm Corp 検出方法および検出装置
JP2013113620A (ja) * 2011-11-25 2013-06-10 Gunma Univ ラマン分光測定用反応容器及びこれを用いたラマン分光測定方法
JP2014009955A (ja) * 2012-06-27 2014-01-20 Kyocera Corp バイオセンサ、検出方法、検出システム及び検出装置
WO2014083766A1 (ja) * 2012-11-30 2014-06-05 パナソニック株式会社 試料保持担体およびそれを用いた蛍光検出装置
JPWO2014083766A1 (ja) * 2012-11-30 2017-01-05 パナソニックIpマネジメント株式会社 試料保持担体およびそれを用いた蛍光検出装置
JP2018194550A (ja) * 2017-05-12 2018-12-06 公立大学法人大阪府立大学 被検出物質の検出キットおよびそれを備えた検出システム、ならびに、被検出物質の検出キットの製造方法
JP7072847B2 (ja) 2017-05-12 2022-05-23 公立大学法人大阪 被検出物質の検出キットおよびそれを備えた検出システム、ならびに、被検出物質の検出キットの製造方法
WO2019163925A1 (ja) * 2018-02-26 2019-08-29 富士フイルム株式会社 流路デバイス
JPWO2019163925A1 (ja) * 2018-02-26 2021-02-12 富士フイルム株式会社 流路デバイス
US12134760B2 (en) 2018-02-26 2024-11-05 Fujifilm Corporation Channel device
JP2020122728A (ja) * 2019-01-31 2020-08-13 国立研究開発法人産業技術総合研究所 標的物質検出装置及び荷電処理粒子
JP7217516B2 (ja) 2019-01-31 2023-02-03 国立研究開発法人産業技術総合研究所 標的物質検出装置及び荷電処理粒子

Also Published As

Publication number Publication date
US20100006774A1 (en) 2010-01-14
JP5160985B2 (ja) 2013-03-13

Similar Documents

Publication Publication Date Title
JP5160985B2 (ja) 検出方法、検出装置、検出用試料セルおよび検出用キット
JP5301894B2 (ja) 検出方法
JP5190945B2 (ja) 検出方法、検出装置、検出用試料セルおよび検出用キット
JP5152917B2 (ja) 検出方法、検出用試料セルおよび検出用キット
JP5143668B2 (ja) 検出方法、検出用試料セルおよび検出用キット
JP2010190880A (ja) 光信号検出方法、光信号検出装置、光信号検出用試料セルおよび光信号検出用キット
JP6379149B2 (ja) 被覆ナノ粒子を使用した高感度免疫学的検定
JP2010008263A (ja) 検出方法、検出用試料セルおよび検出用キット
US8106368B2 (en) Fluorescence detecting method
JP5450993B2 (ja) 検出方法、検出用試料セルおよび検出用キット
JP2010043934A (ja) 検出方法、検出用試料セル、検出用キット及び検出装置
CN111295580A (zh) 使用光致发光颗粒的超灵敏检测方法
JP2010145272A (ja) プラズモン励起センサを用いたアッセイ法
JP5315381B2 (ja) 蛍光検出装置、蛍光検出用の試料セルおよび蛍光検出方法
JP2009258034A (ja) 表面プラズモン放射光検出方法および装置、表面プラズモン放射光検出用試料セルおよびキット
JP2009080011A (ja) 蛍光検出方法
JP5563789B2 (ja) 検出方法
JP2009128136A (ja) 蛍光検出方法
US20110195516A1 (en) Wire grid substrate structure and method for manufacturing such a substrate
JP5655125B2 (ja) 蛍光検出方法
JP2012233860A (ja) 生体試料中の分析対象物のアッセイ方法及びそれに用いたpoct装置
JP2011169609A (ja) プラズモン励起センサを用いたアッセイ法
JP2010223802A (ja) 光信号検出方法

Legal Events

Date Code Title Description
A521 Request for written amendment filed

Free format text: JAPANESE INTERMEDIATE CODE: A523

Effective date: 20110128

A621 Written request for application examination

Free format text: JAPANESE INTERMEDIATE CODE: A621

Effective date: 20110128

A977 Report on retrieval

Free format text: JAPANESE INTERMEDIATE CODE: A971007

Effective date: 20120806

A131 Notification of reasons for refusal

Free format text: JAPANESE INTERMEDIATE CODE: A131

Effective date: 20120821

A521 Request for written amendment filed

Free format text: JAPANESE INTERMEDIATE CODE: A523

Effective date: 20121018

TRDD Decision of grant or rejection written
A01 Written decision to grant a patent or to grant a registration (utility model)

Free format text: JAPANESE INTERMEDIATE CODE: A01

Effective date: 20121120

A61 First payment of annual fees (during grant procedure)

Free format text: JAPANESE INTERMEDIATE CODE: A61

Effective date: 20121213

R150 Certificate of patent or registration of utility model

Ref document number: 5160985

Country of ref document: JP

Free format text: JAPANESE INTERMEDIATE CODE: R150

Free format text: JAPANESE INTERMEDIATE CODE: R150

FPAY Renewal fee payment (event date is renewal date of database)

Free format text: PAYMENT UNTIL: 20151221

Year of fee payment: 3

R250 Receipt of annual fees

Free format text: JAPANESE INTERMEDIATE CODE: R250

R250 Receipt of annual fees

Free format text: JAPANESE INTERMEDIATE CODE: R250

R250 Receipt of annual fees

Free format text: JAPANESE INTERMEDIATE CODE: R250

R250 Receipt of annual fees

Free format text: JAPANESE INTERMEDIATE CODE: R250

R250 Receipt of annual fees

Free format text: JAPANESE INTERMEDIATE CODE: R250

R250 Receipt of annual fees

Free format text: JAPANESE INTERMEDIATE CODE: R250

R250 Receipt of annual fees

Free format text: JAPANESE INTERMEDIATE CODE: R250

R250 Receipt of annual fees

Free format text: JAPANESE INTERMEDIATE CODE: R250

R250 Receipt of annual fees

Free format text: JAPANESE INTERMEDIATE CODE: R250

R250 Receipt of annual fees

Free format text: JAPANESE INTERMEDIATE CODE: R250