JP2010014729A - 集積電流センサ - Google Patents

集積電流センサ Download PDF

Info

Publication number
JP2010014729A
JP2010014729A JP2009231364A JP2009231364A JP2010014729A JP 2010014729 A JP2010014729 A JP 2010014729A JP 2009231364 A JP2009231364 A JP 2009231364A JP 2009231364 A JP2009231364 A JP 2009231364A JP 2010014729 A JP2010014729 A JP 2010014729A
Authority
JP
Japan
Prior art keywords
current sensor
conductor
magnetic field
notch
hall effect
Prior art date
Legal status (The legal status is an assumption and is not a legal conclusion. Google has not performed a legal analysis and makes no representation as to the accuracy of the status listed.)
Granted
Application number
JP2009231364A
Other languages
English (en)
Other versions
JP5253349B2 (ja
Inventor
Jason Stauth
スタウス,ジェイソン
Richard Dickinson
ディッキンソン,リチャード
John Sauber
サウバー,ジョン
Ray Engel
エンゲル,レイ
Sandra Pinelle
パイネル,サンドラ
Current Assignee (The listed assignees may be inaccurate. Google has not performed a legal analysis and makes no representation or warranty as to the accuracy of the list.)
Allegro Microsystems LLC
Original Assignee
Allegro Microsystems LLC
Priority date (The priority date is an assumption and is not a legal conclusion. Google has not performed a legal analysis and makes no representation as to the accuracy of the date listed.)
Filing date
Publication date
Application filed by Allegro Microsystems LLC filed Critical Allegro Microsystems LLC
Publication of JP2010014729A publication Critical patent/JP2010014729A/ja
Application granted granted Critical
Publication of JP5253349B2 publication Critical patent/JP5253349B2/ja
Anticipated expiration legal-status Critical
Expired - Lifetime legal-status Critical Current

Links

Images

Classifications

    • GPHYSICS
    • G01MEASURING; TESTING
    • G01RMEASURING ELECTRIC VARIABLES; MEASURING MAGNETIC VARIABLES
    • G01R15/00Details of measuring arrangements of the types provided for in groups G01R17/00 - G01R29/00, G01R33/00 - G01R33/26 or G01R35/00
    • G01R15/14Adaptations providing voltage or current isolation, e.g. for high-voltage or high-current networks
    • G01R15/20Adaptations providing voltage or current isolation, e.g. for high-voltage or high-current networks using galvano-magnetic devices, e.g. Hall-effect devices, i.e. measuring a magnetic field via the interaction between a current and a magnetic field, e.g. magneto resistive or Hall effect devices
    • G01R15/202Adaptations providing voltage or current isolation, e.g. for high-voltage or high-current networks using galvano-magnetic devices, e.g. Hall-effect devices, i.e. measuring a magnetic field via the interaction between a current and a magnetic field, e.g. magneto resistive or Hall effect devices using Hall-effect devices

Landscapes

  • Physics & Mathematics (AREA)
  • General Physics & Mathematics (AREA)
  • Measuring Instrument Details And Bridges, And Automatic Balancing Devices (AREA)
  • Investigating Or Analyzing Materials By The Use Of Electric Means (AREA)
  • Measuring Fluid Pressure (AREA)
  • Measurement Of Current Or Voltage (AREA)
  • Hall/Mr Elements (AREA)
  • Semiconductor Integrated Circuits (AREA)
  • Measuring Magnetic Variables (AREA)

Abstract

【課題】ホール効果素子の使用における課題として、デバイス性能に対して漂遊磁界及び外部磁界ノイズの影響を低減することにある。
【解決手段】集積電流センサ(10)は、ホール効果センサのような磁界変換器(12)、磁気コア(24)及び電導体(16)を含む。導体は、ホール効果センサの部分及びコアを受け入れる切欠部を含み、素子は、素子の間の相対運動がほとんどないか、全くないような寸法である。
【選択図】図1

Description

本発明は、一般に電流センサに関し、さらに詳細には、集積導体を有する最小限の電流センサに関する。
この技術分野で知られるように、従来の電流センサの1つのタイプの電流センサは、電流搬送導体の近傍にホール効果電界変換器を使用している。ホール効果素子は、導体を通る電流によって誘導された磁界に比例した大きさを有する出力信号を発生する。このタイプの典型的な電流センサは、ギャップを有するトロイド(環状、ドーナツ状)磁束集中器を含み、ホール効果素子は、トロイドギャップ内に配置されている。ホール効果素子及びトロイドは、プリント回路基板の上に取り付けることのできるハウジング内に組み立てられる。使用に際し、ワイヤのような分離した電流搬送導体が、トロイドの中心を通過し、ワイヤの露出端をメッキされた貫通孔にハンダ付けすることによってプリント回路基板に溶接される。このようなデバイスは、高さや回路基板の双方について、大型化するという望ましくない傾向がある。
特開平9−211034号公報 特開平6−130087号公報
感度及び線形性を含む種々のパラメータによって、電流検出用途のホール効果デバイスの性能が特徴づけられる感度は、導体を通る1アンペアの変化に対応するホール効果素子の出力信号の変化であり、線形性は、導体を通る電流に正比例して出力信号が変化する度合いである。ホール効果素子の使用における重要課題として、デバイス性能に対して漂遊磁界及び外部磁界ノイズの影響があることが含まれる。
本発明によれば、集積電流センサは、第2の切欠部(ノッチ)に実質的に整列した第1の切欠部を有する導体と、第1の切欠部内に配置された少なくとも一部を有する磁界変換器と、磁気コアとを有する導体を備えている。磁気コアは、実質的にC形状であり、中央部分と、当該中央部分から延在する実質的に一対の平行な脚部を備えている。磁気コアの中央領域の少なくとも一部は、各脚部が磁界変換器の各面の少なくとも一部を覆うように第2の切欠部内に配置されている。この実施形態において、磁界変換器は、ホール効果素子を含むホール効果センサである。
この構成によれば、ホール効果センサ、導体及び磁気コアは、基本的には第1と第2の切欠部によって及び素子の寸法的な特徴によって互いに対して所定の位置に固定される。素子の正確な機械的な位置決めの結果、電流センサの感度は、高度に反復可能であり、従って、厳密に制御される。磁気コアは、通常より、高い感度を提供し、実質的に均一であるホール効果素子の磁界を提供する。
1つの実施形態において、磁気コアの脚部の各々は、ホール効果センサの実質的に全面を覆う。この構成は、C形状の磁気コアとの組み合わせにおいて、漂遊磁界と外部磁界ノイズを起こす可能性を低減し、感度を増大し、ホール効果素子の磁界の均一性を改良する。
ホール効果センサ、導体及び磁気コアの少なくとも一部は、絶縁材料によって包囲される。導体は、貫通孔のようにプリント回路基板に電流センサを取り付けるための機構を備えており、この貫通孔は、プリント回路基板貫通孔に挿入するために又はパッドへの表面取り付け溶接のために、ハードウエア、リード線、タブを受け入れるようになっている。その結果、集積化された電流センサは、従来のギャップを有するトロイド構成に対して非常に小さい単一の部品を提供する。
さらなる集積化を達成するために、ホール効果センサは、1つ又は複数の信号増幅器を含むホール効果素子の出力信号を処理するための回路を含む。好ましくは、回路は、感度及び静止(クイセント)オフセット電圧のような性能パラメータを調整するために制御することができるデジタルアナログ変換器及びカウンタのような追加された素子を含む。
本発明の前述した特徴ならびに本発明自体は、図面の次の詳細な説明からさらに完全に説明される。
本発明による電流センサの等角分解図である。 図1の組み立てられた電流センサの等角図である。 図1Aのホール効果センサのセンサダイの平面図である。 本発明による他の電流センサの等角分解図である。 図2の組み立てられた電流センサの等角図である。 ホール効果素子平面のx軸で測定された図1及び図2の電流センサ内に含まれるホール効果素子の磁界のグラフである。 ホール効果素子平面のy軸で測定されたような図1及び図2の電流センサに含まれるホール効果素子の磁界のグラフである。 磁気コアを有するか、有しない図2のホール効果センサによって検出された磁界を示すグラフである。 図2の電流センサの精度を示すグラフである。 図1の電流センサのブロック図である。 コアと図1の導体を含むが、図面に示すような他のホール効果センサを含む図1の電流センサと同じ形態に設けることができる1つの例示的なデジタルヒューズ回路のブロック図である。 本発明による電流センサの他の構成を示す平面図である。 本発明による電流センサの他の変形例を示す平面図である。
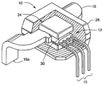
図1を参照すると、最小化された集積電流センサ10は、ホール効果センサ12と、電流伝送導体16及び磁気コア24の形態の磁界変換器を含む。導体16は、素子が互いに対して固定位置で維持されるようにホール効果センサ12及び磁気コア24の部分を受け入れるための機能を含む。図示した実施形態において、導体16は、第1の切欠部18a及び当該第1の切欠部と実質的に整列した第2の切欠部18bを有する。組み立てにおいて、ホール効果センサ12の少なくとも一部は、第1の切欠部18a内に配置される。磁気コア24は、実質的にC形状であり、中央領域24a及び当該中央領域から延在する実質的に平行な一対の脚部24b、24cを有する。組み立てにおいて、中央領域24aの少なくとも一部が各脚部24b、24cが、ホール効果センサ12の各表面の少なくとも一部を覆うように導体の第2の切欠部18b内に配置されている。
ホール効果センサ12は、絶縁材料で囲まれるセンサダイ14を含む集積回路の形態で提供される。集積ホール効果センサ12は、1.6mm台の厚さを有するライン(SIP)の「K」シングルのような異なるパッケージタイプで提供することができる。有効なエアギャップは、パッケージの厚さに等しく、センサダイは、エアギャップの実質的に中央に載置している。
ホール効果センサは、印刷回路基板(図示せず)に取り付けるようになっている導線15を有する。図6と関連して説明された導線15は、さらに、電源、即ち、Vcc、接続線、接地接続、及び導体16を通って電流に比例して出力信号を伝送するようになっている出力接続部を含む。出力信号は、電流又は電圧であるとよい。
センサダイ14は、ホール効果素子14a(図1B及び図6)及びホール効果素子の出力信号を処理するためのホール回路14b(図1B及び図6)を含む。図示した実施形態において、ホール回路14bは、増幅器、フィルタ、出力駆動部及びオフセット相殺回路を含む。ホール回路14b内には図示するように、及び図6に関連して以下に示すように感度及び静止作動電圧を調整するためのトリム(調製)制御回路が設けられている。このようなホール効果センサ12は、部品ナンバーA3525としてAllegroMicrosystems,Inc.(マサチューセッツ州、Worcester)から市販されている。他の回路も、集積ホール効果センサ12内に設けられていることは当業者によって理解されるであろう。ホール効果センサ12の使用は、プリント基板に取り付けられている別々の部品によって別々に設けられている回路部品を組み込むことによって電流センサ10の集積化を向上させる。
ホール効果センサ12は、図1の電流センサ10で使用されるが、代替案として異方性(非等方性)磁気抵抗(AMR)素子又は巨大磁気抵抗(GMR)素子を使用することができる。
導体16は、銅のような種々の導電材料から構成され、測定電流を導体16に提供するプリント回路基板に取り付けるようになっている。この目的のために、回路基板バイアスに溶接するために適している屈曲導線即ちタブ16a、16b(16bは図示せず)が、導体の端部に設けられている。ネジ端子及び関連するハードウエア又は平坦なリード線又は図2及び図2Aのタブ52a、52bなど屈曲タブ16a、16b以外の機構を用いて電流センサ10を回路基板に取り付けてもよい。別の実施形態において、電流センサ10を回路基板以外に取り付けることを可能にするために使用することができる。例えば、電流センサ10をワイヤで直列に接続することができるワイヤ結合(図示せず)を有することができる。
好ましくは、屈曲タブ16a、16bを除く導体16は、プリント回路基板の電流センサ10の高さを増大するz軸21内に延在する特徴部分を除いて、図示したように実質的に平坦である。使用において、導体16の平面は、プリント回路基板の平面に接近して配置され、小さい輪郭の電流センサを提供する。
導体16の第1の切欠部18aは、幅w1を有するホール効果センサ12の少なくとも一部を受け入れるために選択された幅w2を有する。好ましくは、幅w1及び幅w2は、組み立てにおいてx軸内での導体16に対するホール効果センサ12の可能な移動が無視できるように実質的に同じである。さらに詳細には、公称幅w1は、公称幅w2よりわずかに、例えば0.28mmだけ小さく、最も低い公差において、最も大きな幅w1は、最も小さい幅w2より0.4mm小さい。図示した実施形態において、公称幅w1は、5.18mmであり、公称幅w2は、5.46mmである。従って、幅w1及びw2は、等しくなるという特徴がある。
導体の第2の切欠部18bは、磁気コア24の少なくとも一部を受け入れるために選択された幅w3を有する。好ましくは、磁気コアの中央領域24aの幅w3及び幅w4は、組み立てにおいて、x軸内での導体16に対する磁気コア24の可能な移動が無視できるように十分に似ている。さらに詳細には、公称幅w4は、公称幅w3よりわずかに、例えば0.2mmだけ小さく、最もよくない公差でも、最も低い幅w4は、最も大きい幅w3より0.34mm小さく、最も大きな幅w4は、最も小さい幅w3より0.08mm大きい。図示した実施形態において、公称幅w3は、5.46mmであり、公称幅w4は、5.25mmである。従って、幅w3及びw4は、実質的に等しいという特徴がある。
磁気コア脚部24b、24cの間の間隔h3、導体16の厚さ即ち高さh2及びホール効果センサ12の厚さ即ち高さh1は、z軸21において互いに対する部品の可能な運動が制限されるようにすべて実質的に同様である。さらに詳細には、導体の公称高さh2及びセンサの高さh1は、公称高さh3よりわずかに、例えば0.1mmだけ小さく、最も低い公差の場合、最も低い高さh1及び高さh2は、最も高い高さh3より0.22mm低く、最も高い高さh1及び高さh2は、最も低い高さh3より0.01mm低い。図示した実施形態において、公称高さh1は、1.55mmであり、公称高さh2は、1.50mmであり、公称高さh3は、1.64mmである。
しかしながら、他の実施形態において、間隔h3は、他の要因によって選択される。例えば、1つの他の実施形態において、間隔h3は、リラクタンスを増大するために、従って、電流センサ10を飽和させる搬送導体16を通る電流を増大するためにホール効果センサ12の高さh1より実質的に大きい。従って、この別の実施形態は、大きな電流搬送容量を有する。
磁気コア24は、センサダイ14の磁界を調整し、これは、あるいは磁界集中器と称される。磁気コア24は、フェライト、鋼、鉄成分及びパーマロイを含むが、それには制限されない種々の材料からなる。磁気コア24の材料は、C形状の磁気コア24によって提供された最大測定電流及び所望量の磁気シールドのような要因に基づいて選択される。他の要因は、温度及びヒステリシス(残留磁気、リマネンス)上の相対的な透磁性の安定性を含む。例えば、低いヒステリシスは、導体16を通る小さい電流の場合、大きな精度を保証する。磁気コア24の材料及び寸法は、導体16を通る所望の最大規模の電流によって選択され、この場合、大きな飽和磁束密度(Bsat)を有する磁気コア材料は、導体16を通って流れる所望の電流の場合、小さいコアを使用できることを可能にする。図4を参照して明らかになるように、磁気コア24の使用は、磁界をそらすために電流センサ10の磁化率(感受性)を著しく低減する。
磁気コア24は、脚部24b、24cの各々が、センサダイ14の各全面を実質的に覆うように深さd1を有する。この構成によって、センサダイ14に設けられたホール効果素子14a(図1B)に実質的に均一の磁界が提供され、それによって、装置の感度を増大し、磁界をそらす磁化率を低減する。
従って、導体の切欠部18aは、導体から半径方向外側に延在しているタブ16d、16eによって形成される。切欠部18bは、導体から延在するタブ16f、16gとの組み合わせにおいて導体の狭い領域16cによって形成される。第1の切欠部18aと第2の切欠部18bとの間の狭い領域16cの幅w5は、導電体16の最大電流搬送能力に基づいて選択される。ここで幅w5は、1.7mm台であり、導体16の電流搬送能力は、100アンペア台である。切欠部18a、18bは、狭い導体領域16cを提供することなく、半径タブ16d、16e及び16f、16gによって形成することができ、狭い領域16cの使用は、y軸20に沿って電流センサ10の全体寸法を最小限にする。また、狭い領域は、ホール効果センサ12にさらに接近させて導体16を通して電流を提供する。他の実施形態において、切欠部18a、18bは、タブ16d〜16gを使用することなく形成され、狭い領域16cによってのみ提供される。
図1Aを参照すると、同じ部品には同じ参照符号が付されている。組み立てられた一例としての電流センサ10が示されている。明らかなように、ホール効果センサ12の一部は、同様の寸法の導体切欠部18a(図1)に配置されており、磁気コア24の中央領域24aは、同様の寸法の導体切欠部18b(図1)に配置されている。導線15は、プリント回路基板に電流センサ10の取り付けを容易にするために曲げられている。有利なことに、電流センサ10は、小さい輪郭の組立体であり、電流センサの高さは、成型本体28の厚さだけプリント回路基板から離れている。
絶縁材料を含む成型本体28は、図示されている導体16の一部、ホール効果センサ12及び磁気コア24上に配置されている。さらに成型本体28は、x軸19、y軸20、z軸21の方向にさらに移動することを防止することによって、互いに対して素子の運動を低減する。
この構成によって、磁気コア24、導体16及びホール効果センサ12は、互いに対して所定の位置で固定される。この機械的な「相互固定」の結果は、高度に反復可能であり、電流センサの性能を厳密に制御する。
同じ部品に、図1及び図1Aの参照符号と同様の符号が付された図1Bを参照すると、センサダイ14は、x軸19に沿った幅w7、y軸20に沿った幅w8及び中央標示部14cを有するホール効果センサ14aを含むように示されている。また、センサダイ14は、回路14bを含み、ホール効果素子14aに接続された代表的なブロックとして示されている。ホール効果素子14a及び回路14bは、図6にさらに詳細に示されている。
ホール効果素子14a及び回路14bは、単一のダイの上に形成され、この単一のダイは、単一の集積回路ホール効果センサ12の形態で提供される。他の実施形態において、ホール効果素子14a及び14bは、ワイヤボンド等によって接続された分離した集積回路として形成することができる。ホール回路14bは、ホール効果センサ12の導線15(図1、図1A)に電気的に接続されている。
図2及び図2Aを参照すると、図1及び図1Aの同様の素子は、同様の参照符号が付されている。別の例示的な回路センサ50は、ホール効果センサ12、導体52及び磁気コア54を含む。図1及び図1Aの導体16と同様の導体52は、第1の切欠部60a及び第1の切欠部と整列した第2の切欠部60bを有する。第1の切欠部60aは、幅w2を有し、これは、x軸19の素子の相対運動を制限するように、ホール効果センサ12の幅w1と非常に似ており、第2の切欠部60bは幅w3を有し、これは、x軸の部品の相対運動を制限するために磁気コア54の幅w4と非常に類似している。
磁気コア54は、幅w4の中央領域54aと、中央領域から延在しており高さh3により分離されている実質的に平行な一対の脚部54b、54cを有する。磁気コア54の深さd2は、脚部54b、54cの各々がセンサダイ14の各表面全体を実質的に覆うように選択される。
ホール効果センサ12の高さh1、導体52の高さh2及び平行な脚部54b、54cの分離h3は、十分に類似しており、その結果、組み立てにおいて、脚部54b、54cは、z軸21に沿って部品の相対運動を阻止する。幅w1、w2、w3、w4及び高さh1、h2及びh3は、図1の電流センサ10で同様の寸法と実質的に同一である。
組み立てにおいて、図2Aに示すように、ホール効果センサ12の一部は、第1の切欠部60a内に配置され、磁気コア54の一部は、図示したように第2の切欠部60b内に配置される。この構成によって、磁気コア54、導体52及びホール効果センサ12は、x軸19及びz軸21に沿って互いに対して移動することが防止される。成型本体28が、磁気コア54、導体52及びホール効果センサ12の上に設けられ、x軸19、y軸20及びz軸21に沿って互いに対して部品の運動をさらに減少させる。
電流センサ50は、導体52及び磁気コア54の特徴部分で一般的に図1及び図1Aの電流センサ10と異なる。特に、導体52は、回路基板(図示せず)に導体52を取り付けるための取り付け機構として作用する平坦なリード即ちタブ52a、52bを有する。使用において、プリント回路基板に孔又は凹部(窪み)が設けられる。成型本体28は、従来の表面取り付け技術によってタブ52a、52bがハンダ付けされるめっきパッド上でプリント回路基板の表面上にタブ52a、52bが平坦に載置するように孔又は凹部内に配置される。
導電体52は、第1の切欠部60a、60bを分離する狭い範囲52cを有する。ここで、切欠部60aは、導体から半径方向外側に延在するタブ52d、52eによって形成され、切欠部60bは、半径方向タブ52f、52g及び領域52cの組み合わせによって形成される。狭い領域52cは、幅w6を有し、この幅w6は、狭い領域16cの幅w5より大きい(図1及び図1A)。従って、切欠部60bは、切欠部18bより深くはない(図1及び図1A)。従って、狭い領域52cの電気抵抗は、図1の狭い領域16cの抵抗以下である。従って、狭い領域52cを通って流れるアンペア毎に、より小さい電力が消散される。狭い領域52cの幅w6は、センサ50の最大電流搬送機能に関連するので、導体52は図1の導体16より大きい電流を伝達するようになっている。図示した実施形態において、幅w6は、3mmであり、導体52の最大電流搬送性能は、200アンペアである。他の実施形態において、切欠部60a、60bは、タブ52d〜52gを用いないで形成され、狭い領域52cによってのみ提供される。
磁気コア54は、中央領域54aが平行な脚部54b、54cに対して湾曲しているという点で、図1及び図1Aの磁気コア24と異なる。磁気コア54の形状、ここでC形状は、磁気コア54の材料を含むが、それには制限されない種々の要因に従って選択される。コア54の材料を選択するために使用される要因は、図1の磁気コア24について上述した内容と同じである。1つの例示的な実施形態において、コア54は、フェライトより大きい飽和磁束密度を有するシリコン鋼合金からなる。また、深さd2は、図1の例示的な実施形態の深さd1より深く、図1の実施形態の深さw5より深いw6について適用される。
図3を参照すると、グラフ80は、図2及び図2Aの例示的な電流センサの導体52を100Aが流れるとき、センサダイ14のx軸19に沿った磁束密度を示す。センサダイ14(図1B)内のホール効果素子14aの中心14cは、横座標84のゼロミリメートルに対応する。
磁束曲線86は、基本的に平坦な中央部分88と、傾斜端部分90a、90bとを有することを特徴としている。曲線86を考えることによって、磁束が中央部分88で一定であり、磁束が4mm台の間隔で、ホール効果素子14aの素子の中心14cの周りに中心があることが分かる。x軸19に沿ってホール効果の中心14cから2mm以上の距離に配置されたホール効果素子14aの部分は、磁束密度が減少されている。図示したホール効果センサ素子14aは、典型的には、1.6mmと3mmの寸法を有するセンサダイ14の中心に0.2mm台のx軸の幅w7を有し、従って、ホール効果素子14a全体は、中心部分88内にある。中央部分88の幅は、ホール効果素子14aの幅w7(図1B)より実質的大きく、ホール効果素子14aは、ホール効果素子14aが磁界の最も大きな量内にあることを保証するために中央部分88内に中心がある。
ホール効果素子14aに対する磁気コア54の寸法は、x軸19のホール効果素子14aの磁束密度の均一性に大きな影響を与えることは当業者には理解できるであろう。特に、ホール効果素子14aの幅w7に対して磁気コア54が広ければ広いほど(幅w4が広ければ広いほど)、曲線86の中央部分88は長くなり、磁気コアは狭くなり、中央部分88は短くなる。
曲線86は、磁気コア54及びホール効果素子14aが、整列した導体の切欠部60a、60bに対する固定された位置によって保証されるようにx軸19内で互いに対して中央になると仮定する。x軸19に沿った磁気コア54に対するホール効果素子14aの運動は、曲線86が横座標84に沿って移動し、ホール効果素子14aの領域において、2mm以上その中心14cに接近し、十分な磁束密度を生じる。この効果は、ホール効果センサ12と磁気コア54との相対運動を制限することが望ましいことを強調している。さらに、ホール効果センサ12内でのセンサダイ14の場所及び関連するホール効果素子14a(図1B)に関連する公差があるので、磁気コア54に対するホール効果センサ12の位置を固定することは重要である。
また、図3Aを参照すると、グラフ100は、図2及び図2Aの例示的な電流センサ50の導体を100Aが流れるとき、センサダイ14のy軸20に沿った磁束密度を示している。ホール効果素子14aの中心14cは、横座標84の0ミリメートルに対応している。
磁束曲線106は、基本的には平坦な中央部分108と、傾斜端部分110a、110bとを有することを特徴としている。曲線106を考えると、磁束は、中央部分108が実質的に一定であり、2.5mm台の幅を有し、ホール効果素子14aの中心14cの周りに中心があることがわかる。y軸20に沿ってホール効果素子の中心14cから1.25mm以上離れたホール効果素子14aの部分は、磁束密度が減少している。図示したホール効果素子14aの部分は、典型的には1.6mmと3mmの寸法を有するセンサダイ14の上に中心がある0.2mm台のy軸の幅w8を有し、従って、ホール効果素子14a全体は、中心部分108内にある。中心部分108の幅は、ホール効果素子14aの幅w8(図1B)よりかなり大きく、ホール効果素子14aは、ホール効果素子14aが大きな量の磁界内にあることを保証するために中央部分108内の十分な中心にある。
ホール効果素子14aに対する磁気コア54の寸法が、y軸20のホール効果素子14aの磁束密度の均一性に大きな影響を与えることは当業者には理解できるであろう。特に、ホール効果素子14aの幅w8に対する磁気コア54が深くなれば深くなるほど(即ち、図2における深さd2が大きくなればなるほど)、曲線106の中央部分108は長くなる。それに対し、磁気コアが浅くなればなるほど、中央部分108は短くなる。
曲線106は、磁気コア54及びホール効果素子14aが整列された導体の切欠部60a、60bに対する固定位置によって保証されると同様に、y軸20で互いに対して中央にあることを仮定している。y軸20に沿った磁気コア54に対するホール効果素子14aの動きは、曲線106が横軸104に沿って移動することを示し、従って、ホール効果素子14aの領域において、1.25mmよりさらにその中央14cに接近し、十分低減された磁束密度を示す。この効果は、ホール効果センサ12と磁気コア54との相対運動を制限することが望ましいことを強調する。
図4を参照すると、グラフ120は、ストレイ即ち外部磁界の効果を低減する際に磁気コア24(図1、図1A)の重要性を示すものである。横座標124は、導体16を通過する電流によって発生する磁界に対して図1Aの電流センサ10へz軸21(図1)に沿って加えられる外部磁界を表し、縦座標122は、電流センサ10によって検出された磁界を表している。曲線128は、図1及び図1Aに示すタイプであり、C形状の磁気コア24のないタイプの電流センサに対応するが、曲線130は、磁気コア24を有する電流センサ10に対応する。曲線128は、ホール効果センサ12によって検出された磁界が、外部磁界と実質的に同じであり、それに対し、曲線130は、磁気コア24によって、電流センサ10によって検出された磁界が外部磁界より著しく小さいことを示している。
図5を参照すると、グラフ140は、図1及び図1Aの電流センサ10の正確な性能を示す。その精度は、その理想的な値から実際のセンサ出力の最大変動を示している。導体16を通る電流は、横軸144に示されており、電流センサ出力信号の電圧は、縦軸142に示されている。
導体と出力電圧との間の理想的な関係は、曲線150、ここでは直線によって示されている。曲線146a及び146bは、一定の温度範囲の電流を検出する精度境界を表す。さらに詳細には、曲線146a及び146bは、−40℃から+85℃の温度範囲を通る電流を検出する精度境界を表す。曲線148a及び148bは、25℃の固定温度で電流を検出する精度境界を表す。
図6を参照すると、図1、図1A及び図1Bの例示的なホール効果センサ10の概略図は、回路基板取り付け機構16a、16bを有するライン、トロイド(環状体)162によって表される磁気コア24によって表される導体16を含む。図示したホール効果センサ12は、センサダイ14、及び符号15a、15b、及び15cで表される導線15を含む。導線15aは、ホール効果センサ12への電力接続を提供し、導線15bは、電流センサ出力信号への接続を示し、導線15cは、電流センサへの基準、又は設置接続を提供する。
ホール効果素子14aは、導体16内の電流によって誘導される磁界164を検出し、磁界164に比例する電圧を生成する。ホール効果素子14aは、動的オフセット相殺回路170に接続されており、これは、ホール効果素子14aに関連するDC電圧エラー用のDCオフセット調整を行う。導体16を通る電流がゼロの場合、動的オフセット相殺回路170の出力は、ゼロに調整される。
動的オフセット相殺回路170は、オフセット調整されたホール出力信号を増幅する増幅器172に接続される。増幅器172は、ローパスフィルタ、ハイパスフィルタ、バンドパスフィルタ及び/又は切欠部フィルタであり得るフィルタ174に接続されている。このフィルタは、所望の応答時間、ホール効果素子14aに関連するノイズの周波数スペクトル、動的オフセット相殺回路170及び増幅器172を含むが、それには制限されない種々の要因に関連して選択される。1つの特定の実施形態において、フィルタ174は、ローパスフィルタである。フィルタ174は、他の電子素子(図示せず)への送信用の向上された電力出力を提供する出力駆動部176に接続されている。
作動中、電力が提供される導線15aにトリム制御回路184が接続されている。また、導線15aは、典型的に製造中、種々の電流センサパラメータを調整することができる。この目的のために、トリム制御回路184は、導線15aに加えられる適当な信号によって可能になる1つ又は複数のカウンタを含む。
トリム制御回路184は、静止出力電圧(Qvo)回路182に接続される。静止出力電圧は、導体16を通る電流がゼロになるとき、出力導線15bでの電圧である。公称的には、ユニポーラ供給電圧Qvoの場合、Qvoは、Vcc/2に等しい。Qvoは、トリム制御回路184内の第1のトリム制御回路カウンタに導線15aを通して適当なトリム制御回路184を送ることによって調整することができ、調整制御回路は、Qvo回路182内のデジタルアナログ回路を制御する。
トリム制御回路184は、さらに、感度温度補償回路178に接続されている。感度調整回路178は、電流センサ10の感度を調整するために増幅器172の利得を調整することができる。感度は、トリム制御回路184内の第2のトリム制御回路カウンタに導線15aを通して適当なトリム信号を加えることによって調整することができ、トリム調整回路184は、感度調整回路178内のDAC(デジタルアナログ変換器)を制御する。
トリム制御回路184は、さらに感度温度補償回路180に接続される。感度温度補償回路180は、温度による利得の変化を補償するために増幅器172の利得の調整を可能にする。感度温度補償は、トリム制御回路184内の第3のトリム制御回路カウンタに導線15aを通して適当なトリム信号を加えることによって調整することができ、トリム調整回路184は、感度調整回路180内のDACを制御する。
図6に示す回路は、図1のホール効果センサ10と同様に、ホール効果センサに関連し集積化された例示的な回路のみであることは当業者には理解できるであろう。他の実施形態において、追加の回路は、電流センサを「デジタルヒューズ」に変換するために提供され、この「デジタルヒューズ」は、導体16を通る電流によって誘導された磁界164が所定の閾値水準以上又は以下であるかどうかに依存して高出力信号又は低出力信号を提供する。この他の実施形態のための追加の回路は、コンパレータ及び/又はラッチ及び/又はリレイを含むことができる。デジタルヒューズの例示的な実施形態が図7に示されている。
さらに、導体接続16a、16bは、電流センサ導線15a、15b及び15cから絶縁されており、電流センサ10は、光絶縁器、変圧器のような他の絶縁技術を使用することなく電気的な絶縁を必要とするアプリケーションにおいて使用することができる。
図6の同様な部品は、同じ符号を有する図7を参照すると、例示的なデジタルヒューズ回路200は、導体16、コア162、センサダイ14’を含むホール効果センサ12’を含む。ダイ14’は、フィルタ174に接続されたシュミットトリガー202を含む。シュミットトリガーは、磁界164が第1の閾値の下にあるとき、第1のデジタル状態の出力信号を提供し、磁界164が第2の閾値の上にあるとき、第2のデジタル状態を提供する。第1のデジタル状態は、導体16を通る低い電流に対応する。第2のデジタル状態は、導体16を通る高い電流に対応する。シュミットトリガー出力信号は、制御信号をトランジスタ206に提供する制御回路204に提供される。制御信号は、シュミットトリガー出力信号が2つのデジタル状態の一方にあるときトランジスタ206を導通し、シュミットトリガー出力信号が2つのデジタル状態の他の一方にあるとき、トランジスタ206をオフにする。電流制限回路210と組み合わされた抵抗器208は、トランジスタ206を通る電流を制限する。
出力導線15b(図1)は、負荷212に接続することができ、デジタルヒューズ回路200の部分ではなく、従って、付加212は、トランジスタ206の条件のオンオフに対応して電源Vccからの電流を受け入れる。例えば、1つの実施形態において、負荷212は、磁界164が第1の閾値以下になるとき、導体16を通る低い電流に対応して全電流を受け、磁界164が第2の閾値以上にあるとき、導体を通る高い電流に対応してゼロ電流を受け入れる。トランジスタ206の状態をオン又はオフ条件のいずれかにラッチすることができるようにフリップフロップ又はラッチを含むことができることは当業者には理解できるであろう。
図8を参照すると、集積電流センサ250が、ここでは、ホール効果センサ252、電流搬送導体254、及び磁気コア256の形態の磁界変換器を含む。磁気コア256は、図1に示す磁気コア24のタイプであり、ホール効果センサ252は、図1に示すセンサ12のタイプである。この実施形態において、電流搬送導体254は、1つの切欠部258のみを有する。切欠部258は、図1の切欠部18bに比較することができ、同じ性能と利点を提供する。従って、切欠部258は、同様の寸法の磁気コア256の一部を受け、図1に関連して説明した方法と基本的には同様な方法で磁気コアに整列するようになっている。
図1Aの成型本体28と同様の成型本体(図示せず)は、互いに関する部品の移動を低減するために提供される。導体254は、z軸方向中に延在する特徴部を有することなく、実質的に平坦である。使用において、導体は、プリント回路基板の表面に接近して配置され、従って、プリント回路基板の高さをさらに加えることを回避する。
磁気コア256に関して1つの切欠部258を有する電流センサ250を示しているが、他の実施形態において、図1の切欠部18aと比較可能な別の電流センサは、切欠部(ノッチ)を1つだけ有し、同様の寸法のホール効果センサ(例えば、ホール効果センサ152)を受け入れるようになっている。
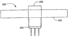
図8と同じ部品には同じ参照符号を有する図8Aを参照すると、集積電流センサ300は、ここでは、ホール効果センサ252、電流搬送導体302、及び磁気コア256の形態の磁界変換器を含む。この実施形態において、電流搬送導体302は、センサ254及び/又はコア256の一部を受け入れるために図1の切欠部18a、18bに比較できる切欠部はない。むしろホール効果センサ252は、図示するように導体302の縁部に対して並置され、磁気コアは、コアの脚部の各々がホール効果センサの各表面の実質的な部分を覆うように、導体302の反対の縁部を跨ぐように配置される。導体302は、実質的に平坦である。
図1Aの成型本体28と同様の成型本体(図示せず)は、互いに対して素子の動きを低減するために提供することができる。従って、この特定の実施形態は、この部品を実質的に固定された相対位置に保持するために成型本体に依存することができる。
本発明の好ましい実施形態を説明したが、それらの概念を組み込んだ他の実施形態を使用することができることは当業者においては明らかになる。従って、これらの実施形態は開示された実施形態に制限されるべきではなく、特許請求の範囲の精神及び観点によってのみ制限されなければならない。ここの引用した文献は全体を参照することによってここに組み込まれている。

Claims (20)

  1. 第1の切欠部及び当該第1の切欠部と実質的に整列する第2の切欠部を有する導体と、
    少なくとも前記第1の切欠部に配置される一部を有する磁界変換器と、
    中央領域を有するとともに当該中央領域から延在する実質的に平行な一対の脚部を有する磁気コアであって、前記中央領域の少なくとも一部は、前記第2の切欠部に配置され、各脚部の少なくとも一部は、前記磁界変換器の各面の少なくとも一部を覆う、磁気コアとを有する、電流センサ。
  2. 前記磁界変換器は、ホール効果素子及び磁気抵抗素子から選択された1つを含む、請求項1に記載の電流センサ。
  3. 前記磁界変換器は、巨大磁気抵抗(GMR)素子及び異方性の磁気抵抗(AMR)素子から選択された1つを含む、請求項2に記載の電流センサ。
  4. 前記第1の切欠部に配置された前記磁界変換器の前記一部の幅は、前記磁界変換器が前記導体に対して実質的に固定された位置になるように、前記第1の切欠部の幅に実質的に等しい、請求項1に記載の電流センサ。
  5. 前記第2の切欠部に配置された前記磁気コアの前記中央領域の幅は、前記磁気コアが前記導体に対して実質的に固定された位置になるように、前記第2の切欠部の幅に実質的に等しい、請求項1に記載の電流センサ。
  6. 前記磁気コアの前記脚部の各々は、前記磁界変換器の実質的に全面を覆う、請求項1に記載の電流センサ。
  7. 前記第1の切欠部及び前記第2の切欠部は、前記導体の中央領域に配置され、前記導体は、当該導体の端部領域に取り付け機構を含む、請求項1に記載の電流センサ。
  8. 前記取り付け機構は、基板取り付けハードウエアを受け入れるようになっている貫通孔を含む、請求項7に記載の電流センサ。
  9. 前記取り付け機構は、プリント回路基板の貫通孔に挿入されるようになっている屈曲リードを含む、請求項7に記載の電流センサ。
  10. 前記取り付け機構は、プリント回路基板のパッドにハンダ付けするための平坦なリードを含む、請求項7に記載の電流センサ。
  11. 前記取り付け機構は、ワイヤ取り付け機構を含む、請求項7に記載の電流センサ。
  12. 前記導体は、第1の軸線に沿って延長され、前期磁界変換器は、前記第1の軸線と実質的に直角な第2の軸線に沿って延在する少なくとも1つの電気的リードを有する、請求項1に記載の電流センサ。
  13. 前記磁界変換器は、少なくとも1つの増幅器を含む、請求項1に記載の電流センサ。
  14. 前記少なくとも1つの増幅器は、調整されるようになっている利得を有する、請求項13に記載の電流センサ。
  15. 前記磁気コアは、フェライト、鋼、鉄成分及びパーマロイを含む群から選択される材料から構成される、請求項1に記載の電流センサ。
  16. 前記磁界変換器と前記導体と前記磁気コアとの少なくとも一部を包囲する成型本体を含む、請求項1に記載の電流センサ。
  17. 前記実質的に平行な一対の脚部は、前記磁界変換器の厚さに実質的に等しい距離、間隔を置いている、請求項1に記載の電流センサ。
  18. 前記実質的に平行な一対の脚部は、前記磁界変換器の厚さより大きい距離、間隔を置いている、請求項1に記載の電流センサ。
  19. 実質的に平坦な導体と、
    前記導体の縁部に対して並置された磁界変換器と、
    中央領域及び当該中央領域から延在する実質的に平行な一対の脚部を有する磁気コアであって、前記中央領域は、前記導体の対向する縁部に対して並置され、前記一対の脚部は、前記導体を跨ぎ、各脚部が前記磁界変換器の各面の少なくとも一部を覆う、磁気コアとを有する、電流センサ。
  20. 前記導体は切欠部を有し、前記磁界変換器及び磁気コアの一方の少なくとも一部が、前記切欠部に配置されている、請求項19に記載の電流センサ。
JP2009231364A 2002-09-20 2009-10-05 集積電流センサ Expired - Lifetime JP5253349B2 (ja)

Applications Claiming Priority (2)

Application Number Priority Date Filing Date Title
US10/251,007 2002-09-20
US10/251,007 US6781359B2 (en) 2002-09-20 2002-09-20 Integrated current sensor

Related Parent Applications (1)

Application Number Title Priority Date Filing Date
JP2004537636A Division JP4518947B2 (ja) 2002-09-20 2003-07-31 集積電流センサ

Publications (2)

Publication Number Publication Date
JP2010014729A true JP2010014729A (ja) 2010-01-21
JP5253349B2 JP5253349B2 (ja) 2013-07-31

Family

ID=31992626

Family Applications (2)

Application Number Title Priority Date Filing Date
JP2004537636A Expired - Lifetime JP4518947B2 (ja) 2002-09-20 2003-07-31 集積電流センサ
JP2009231364A Expired - Lifetime JP5253349B2 (ja) 2002-09-20 2009-10-05 集積電流センサ

Family Applications Before (1)

Application Number Title Priority Date Filing Date
JP2004537636A Expired - Lifetime JP4518947B2 (ja) 2002-09-20 2003-07-31 集積電流センサ

Country Status (7)

Country Link
US (2) US6781359B2 (ja)
EP (2) EP1546741B1 (ja)
JP (2) JP4518947B2 (ja)
AT (1) ATE507480T1 (ja)
AU (1) AU2003263839A1 (ja)
DE (1) DE60336917D1 (ja)
WO (1) WO2004027436A1 (ja)

Cited By (3)

* Cited by examiner, † Cited by third party
Publication number Priority date Publication date Assignee Title
JP2013539038A (ja) * 2010-09-28 2013-10-17 レム・インテレクチュアル・プロパティ・エスエイ バッテリー電流センサー
US9069016B2 (en) 2012-01-20 2015-06-30 Aisin Seiki Kabushiki Kaisha Current sensor
JP2016206195A (ja) * 2015-04-21 2016-12-08 レム・インテレクチュアル・プロパティ・エスエイLem Intellectual Property Sa 一体化した一次導体棒を備えた電流変換器

Families Citing this family (182)

* Cited by examiner, † Cited by third party
Publication number Priority date Publication date Assignee Title
JP3655295B2 (ja) * 2002-07-22 2005-06-02 富士通株式会社 インバータの電流検出方法、その電流検出回路、その異常検出方法、その異常検出回路、表示装置及び情報処理装置
US6781359B2 (en) * 2002-09-20 2004-08-24 Allegro Microsystems, Inc. Integrated current sensor
JP3896590B2 (ja) * 2002-10-28 2007-03-22 サンケン電気株式会社 電流検出装置
US7259545B2 (en) * 2003-02-11 2007-08-21 Allegro Microsystems, Inc. Integrated sensor
US6995315B2 (en) * 2003-08-26 2006-02-07 Allegro Microsystems, Inc. Current sensor
US20060219436A1 (en) * 2003-08-26 2006-10-05 Taylor William P Current sensor
US7709754B2 (en) * 2003-08-26 2010-05-04 Allegro Microsystems, Inc. Current sensor
US7476816B2 (en) * 2003-08-26 2009-01-13 Allegro Microsystems, Inc. Current sensor
US7166807B2 (en) 2003-08-26 2007-01-23 Allegro Microsystems, Inc. Current sensor
US7075287B1 (en) 2003-08-26 2006-07-11 Allegro Microsystems, Inc. Current sensor
US7239123B2 (en) * 2003-10-09 2007-07-03 Hewlett-Packard Development Company, L.P. Multiplexed dual-purpose magnetoresistive sensor and method of measuring current and temperature
US7164263B2 (en) * 2004-01-16 2007-01-16 Fieldmetrics, Inc. Current sensor
JP2005218219A (ja) * 2004-01-29 2005-08-11 Mitsubishi Electric Corp 車載用電力変換装置のホールic型電流センサー
DE102004062474A1 (de) * 2004-03-23 2005-10-13 Siemens Ag Vorrichtung zur potenzialfreien Strommessung
US7777607B2 (en) * 2004-10-12 2010-08-17 Allegro Microsystems, Inc. Resistor having a predetermined temperature coefficient
US7180255B2 (en) * 2005-01-26 2007-02-20 Delphi Technologies, Inc. Controlling the release of a brush motor which has applied a load
DE602005003777T2 (de) * 2005-02-15 2008-12-04 C.R.F. Società Consortile per Azioni, Orbassano Oberflächenmontierter integrierter Stromsensor
CA2600862A1 (en) * 2005-02-18 2007-09-07 Airpax Corporation Apparatus comprising circuit breaker with adjunct sensor unit
US7298132B2 (en) * 2005-04-13 2007-11-20 Crane Co. Current sensor
CA2608167C (en) * 2005-05-12 2012-05-01 Corporation Nuvolt Inc. Current sensor
US7327133B2 (en) * 2005-09-21 2008-02-05 Universal Enterprises, Inc. Current measuring device using hall sensors
JP4224483B2 (ja) * 2005-10-14 2009-02-12 Tdk株式会社 電流センサ
US7679162B2 (en) * 2005-12-19 2010-03-16 Silicon Laboratories Inc. Integrated current sensor package
US7397234B2 (en) * 2005-12-19 2008-07-08 Silicon Laboratories Inc. Current sensor with reset circuit
US7362086B2 (en) * 2005-12-19 2008-04-22 Silicon Laboratories Inc. Integrated current sensor
US7768083B2 (en) 2006-01-20 2010-08-03 Allegro Microsystems, Inc. Arrangements for an integrated sensor
US7687882B2 (en) * 2006-04-14 2010-03-30 Allegro Microsystems, Inc. Methods and apparatus for integrated circuit having multiple dies with at least one on chip capacitor
US7573112B2 (en) * 2006-04-14 2009-08-11 Allegro Microsystems, Inc. Methods and apparatus for sensor having capacitor on chip
US20070279053A1 (en) * 2006-05-12 2007-12-06 Taylor William P Integrated current sensor
US20070279175A1 (en) * 2006-06-01 2007-12-06 Tai-Shan Lin Current sensor
US7990132B2 (en) * 2006-06-30 2011-08-02 Silicon Laboratories Inc. Current sensor including an integrated circuit die including a first and second coil
US20080013298A1 (en) * 2006-07-14 2008-01-17 Nirmal Sharma Methods and apparatus for passive attachment of components for integrated circuits
EP1882953A1 (de) * 2006-07-26 2008-01-30 Siemens Aktiengesellschaft Stromerfassungsvorrichtung
RS20060511A (sr) * 2006-09-06 2008-11-28 Ametes Ag., Merni senzor i postupak za merenje struje sa korektorom skin efekta u strujnoj šini
US7615989B2 (en) * 2006-10-06 2009-11-10 Honeywell International Inc. Method and apparatus for DC integrated current sensor
US7622910B2 (en) * 2006-10-06 2009-11-24 Honeywell International Inc. Method and apparatus for AC integrated current sensor
US7821251B2 (en) * 2006-12-12 2010-10-26 Silicon Laboratories Inc. Current sensor
JP2008151530A (ja) * 2006-12-14 2008-07-03 Denso Corp 磁界検出用半導体集積回路
JP4861155B2 (ja) * 2006-12-20 2012-01-25 矢崎総業株式会社 電流センサ及びその成形方法
US7816772B2 (en) 2007-03-29 2010-10-19 Allegro Microsystems, Inc. Methods and apparatus for multi-stage molding of integrated circuit package
US20080308886A1 (en) * 2007-06-15 2008-12-18 Infineon Technologies Ag Semiconductor Sensor
US8094034B2 (en) 2007-09-18 2012-01-10 Georgia Tech Research Corporation Detecting actuation of electrical devices using electrical noise over a power line
US7795862B2 (en) 2007-10-22 2010-09-14 Allegro Microsystems, Inc. Matching of GMR sensors in a bridge
US9823090B2 (en) 2014-10-31 2017-11-21 Allegro Microsystems, Llc Magnetic field sensor for sensing a movement of a target object
WO2009108920A2 (en) * 2008-02-28 2009-09-03 Bunn-O-Matic Corporation Alternating current overload protection apparatus and method
US7728578B2 (en) * 2008-05-15 2010-06-01 Silicon Laboratories Inc. Method and apparatus for high current measurement
US7816905B2 (en) * 2008-06-02 2010-10-19 Allegro Microsystems, Inc. Arrangements for a current sensing circuit and integrated current sensor
US7728614B2 (en) * 2008-06-06 2010-06-01 Globalfoundries Inc. Operating characteristic measurement device and methods thereof
US7936164B2 (en) * 2008-07-03 2011-05-03 Allegro Microsystems, Inc. Folding current sensor
US8093670B2 (en) 2008-07-24 2012-01-10 Allegro Microsystems, Inc. Methods and apparatus for integrated circuit having on chip capacitor with eddy current reductions
US20100052424A1 (en) * 2008-08-26 2010-03-04 Taylor William P Methods and apparatus for integrated circuit having integrated energy storage device
FR2936062B1 (fr) * 2008-09-12 2010-10-01 Electricfil Automotive Capteur de courant en boucle ouverte a large gamme
JP5058925B2 (ja) * 2008-09-18 2012-10-24 矢崎総業株式会社 電流センサ
US8486755B2 (en) 2008-12-05 2013-07-16 Allegro Microsystems, Llc Magnetic field sensors and methods for fabricating the magnetic field sensors
US20100188078A1 (en) * 2009-01-28 2010-07-29 Andrea Foletto Magnetic sensor with concentrator for increased sensing range
US8203328B2 (en) * 2009-03-12 2012-06-19 Consolidated Edison Company Of New York, Inc. Current measuring device
JP5680287B2 (ja) * 2009-05-27 2015-03-04 新科實業有限公司SAE Magnetics(H.K.)Ltd. 電流センサ
US8963535B1 (en) * 2009-06-30 2015-02-24 Cirrus Logic, Inc. Switch controlled current sensing using a hall effect sensor
US20110254557A1 (en) * 2009-07-20 2011-10-20 Consolidated Edison Company Of New York, Inc. Electromechanical relays including embedded sensors
US9823274B2 (en) 2009-07-31 2017-11-21 Pulse Electronics, Inc. Current sensing inductive devices
US8930152B2 (en) * 2009-09-25 2015-01-06 University Of Washington Whole structure contactless power consumption sensing
US9766277B2 (en) 2009-09-25 2017-09-19 Belkin International, Inc. Self-calibrating contactless power consumption sensing
JP5625316B2 (ja) * 2009-10-22 2014-11-19 株式会社オートネットワーク技術研究所 電気接続箱
DE102009047179B8 (de) * 2009-11-26 2016-08-18 Carl Zeiss Smt Gmbh Projektionsobjektiv
US9297864B2 (en) 2010-05-19 2016-03-29 Power Distribution, Inc. Current metering and abnormal event monitoring system
US9291694B2 (en) 2010-07-02 2016-03-22 Belkin International, Inc. System and method for monitoring electrical power usage in an electrical power infrastructure of a building
WO2012003492A2 (en) 2010-07-02 2012-01-05 Belkin International, Inc. Systems and methods for measuring electrical power usage in a structure and systems and methods of calibrating the same
US8981763B2 (en) * 2010-09-22 2015-03-17 Infineon Technologies Ag Di/dt current sensing
US8339134B2 (en) 2010-10-08 2012-12-25 Allegro Microsystems, Inc. Apparatus and method for reducing a transient signal in a magnetic field sensor
US8350563B2 (en) 2010-10-12 2013-01-08 Allegro Microsystems, Inc. Magnetic field sensor and method used in a magnetic field sensor that adjusts a sensitivity and/or an offset over temperature
US20120146165A1 (en) * 2010-12-09 2012-06-14 Udo Ausserlechner Magnetic field current sensors
FR2977323B1 (fr) * 2011-06-28 2013-11-29 Schneider Electric Ind Sas Dispositif de mesure du courant electrique circulant dans un appareillage electrique, ledit dispositif permettant la mesure d'energie, ainsi qu'un appareillage electrique le comportant
US8604777B2 (en) 2011-07-13 2013-12-10 Allegro Microsystems, Llc Current sensor with calibration for a current divider configuration
US8907437B2 (en) 2011-07-22 2014-12-09 Allegro Microsystems, Llc Reinforced isolation for current sensor with magnetic field transducer
US8952686B2 (en) * 2011-10-25 2015-02-10 Honeywell International Inc. High current range magnetoresistive-based current sensor
US9395391B2 (en) 2013-03-15 2016-07-19 Allegro Microsystems, Llc Magnetic field sensor and associated method that can store a measured threshold value in a memory device during a time when the magnetic field sensor is powered off
US10845434B2 (en) 2012-01-06 2020-11-24 Allegro Microsystems, Llc Magnetic field sensor having a temperature compensated threshold on power up
US8736260B2 (en) 2012-01-06 2014-05-27 Allegro Microsystems, Llc Magnetic field sensor and associated method that can establish a measured threshold value and that can store the measured threshold value in a memory device
US8629539B2 (en) 2012-01-16 2014-01-14 Allegro Microsystems, Llc Methods and apparatus for magnetic sensor having non-conductive die paddle
US9494660B2 (en) 2012-03-20 2016-11-15 Allegro Microsystems, Llc Integrated circuit package having a split lead frame
US9812588B2 (en) 2012-03-20 2017-11-07 Allegro Microsystems, Llc Magnetic field sensor integrated circuit with integral ferromagnetic material
US9666788B2 (en) 2012-03-20 2017-05-30 Allegro Microsystems, Llc Integrated circuit package having a split lead frame
US10234513B2 (en) 2012-03-20 2019-03-19 Allegro Microsystems, Llc Magnetic field sensor integrated circuit with integral ferromagnetic material
JP6256819B2 (ja) * 2012-03-29 2018-01-10 マレクシス テクノロジーズ エヌヴィー 電流センサ及び電流測定装置
US10215550B2 (en) 2012-05-01 2019-02-26 Allegro Microsystems, Llc Methods and apparatus for magnetic sensors having highly uniform magnetic fields
US9817078B2 (en) 2012-05-10 2017-11-14 Allegro Microsystems Llc Methods and apparatus for magnetic sensor having integrated coil
US9304149B2 (en) * 2012-05-31 2016-04-05 Pulse Electronics, Inc. Current sensing devices and methods
WO2014072760A1 (en) 2012-11-06 2014-05-15 Freescale Semiconductor, Inc. High bandwidth current sensor and method therefor
USD688143S1 (en) * 2012-11-06 2013-08-20 Mitsumi Electric Co., Ltd Current sensor
TWI451095B (zh) 2012-12-10 2014-09-01 Ind Tech Res Inst 電流偵測電路及其方法
US9383425B2 (en) 2012-12-28 2016-07-05 Allegro Microsystems, Llc Methods and apparatus for a current sensor having fault detection and self test functionality
US9410990B2 (en) * 2013-03-08 2016-08-09 Deere & Company Method and sensor for sensing current in a conductor
US9190606B2 (en) 2013-03-15 2015-11-17 Allegro Micosystems, LLC Packaging for an electronic device
US10725100B2 (en) 2013-03-15 2020-07-28 Allegro Microsystems, Llc Methods and apparatus for magnetic sensor having an externally accessible coil
US10345343B2 (en) 2013-03-15 2019-07-09 Allegro Microsystems, Llc Current sensor isolation
US9171667B2 (en) 2013-03-27 2015-10-27 General Electric Company Magnetic device having integrated current sensing element and methods of assembling same
US9411025B2 (en) 2013-04-26 2016-08-09 Allegro Microsystems, Llc Integrated circuit package having a split lead frame and a magnet
US9401575B2 (en) 2013-05-29 2016-07-26 Sonion Nederland Bv Method of assembling a transducer assembly
US10145908B2 (en) 2013-07-19 2018-12-04 Allegro Microsystems, Llc Method and apparatus for magnetic sensor producing a changing magnetic field
US9810519B2 (en) 2013-07-19 2017-11-07 Allegro Microsystems, Llc Arrangements for magnetic field sensors that act as tooth detectors
US10495699B2 (en) 2013-07-19 2019-12-03 Allegro Microsystems, Llc Methods and apparatus for magnetic sensor having an integrated coil or magnet to detect a non-ferromagnetic target
KR102261944B1 (ko) 2013-12-26 2021-06-07 알레그로 마이크로시스템스, 엘엘씨 센서 진단 방법 및 장치
US9529060B2 (en) 2014-01-09 2016-12-27 Allegro Microsystems, Llc Magnetoresistance element with improved response to magnetic fields
US9488676B2 (en) * 2014-04-10 2016-11-08 Ford Global Technologies, Llc Sensor shield for an electric vehicle
EP2942631B1 (en) * 2014-04-28 2024-03-06 TYCO ELECTRONICS AMP KOREA Co., Ltd. Hybrid current sensor assembly
US9739846B2 (en) 2014-10-03 2017-08-22 Allegro Microsystems, Llc Magnetic field sensors with self test
US9720054B2 (en) 2014-10-31 2017-08-01 Allegro Microsystems, Llc Magnetic field sensor and electronic circuit that pass amplifier current through a magnetoresistance element
US10712403B2 (en) 2014-10-31 2020-07-14 Allegro Microsystems, Llc Magnetic field sensor and electronic circuit that pass amplifier current through a magnetoresistance element
US9719806B2 (en) 2014-10-31 2017-08-01 Allegro Microsystems, Llc Magnetic field sensor for sensing a movement of a ferromagnetic target object
US9823092B2 (en) 2014-10-31 2017-11-21 Allegro Microsystems, Llc Magnetic field sensor providing a movement detector
EP3093672B1 (en) * 2015-05-09 2020-08-12 LEM International SA Current transducer with integrated primary conductor bar
JP6763887B2 (ja) 2015-06-05 2020-09-30 アレグロ・マイクロシステムズ・エルエルシー 磁界に対する応答が改善されたスピンバルブ磁気抵抗効果素子
US10411498B2 (en) 2015-10-21 2019-09-10 Allegro Microsystems, Llc Apparatus and methods for extending sensor integrated circuit operation through a power disturbance
EP3159705A1 (en) * 2015-10-23 2017-04-26 LEM Intellectual Property SA Current transducer with integrated primary conductor
US11039789B2 (en) 2015-11-23 2021-06-22 Verily Life Sciences Llc In-vivo magnetic detection of magnetic nanoparticles using microneedles
US9810721B2 (en) 2015-12-23 2017-11-07 Melexis Technologies Sa Method of making a current sensor and current sensor
US10260905B2 (en) 2016-06-08 2019-04-16 Allegro Microsystems, Llc Arrangements for magnetic field sensors to cancel offset variations
US10012518B2 (en) 2016-06-08 2018-07-03 Allegro Microsystems, Llc Magnetic field sensor for sensing a proximity of an object
US10041810B2 (en) 2016-06-08 2018-08-07 Allegro Microsystems, Llc Arrangements for magnetic field sensors that act as movement detectors
JP2018004269A (ja) * 2016-06-27 2018-01-11 アイシン精機株式会社 電流センサ
US10114044B2 (en) 2016-08-08 2018-10-30 Allegro Microsystems, Llc Current sensor
US10247758B2 (en) 2016-08-08 2019-04-02 Allegro Microsystems, Llc Current sensor
EP3306325B1 (en) * 2016-10-05 2021-07-21 Fico Triad, S.A. A current measuring device
US11022661B2 (en) 2017-05-19 2021-06-01 Allegro Microsystems, Llc Magnetoresistance element with increased operational range
US10620279B2 (en) 2017-05-19 2020-04-14 Allegro Microsystems, Llc Magnetoresistance element with increased operational range
US11428755B2 (en) 2017-05-26 2022-08-30 Allegro Microsystems, Llc Coil actuated sensor with sensitivity detection
US10837943B2 (en) 2017-05-26 2020-11-17 Allegro Microsystems, Llc Magnetic field sensor with error calculation
US10996289B2 (en) 2017-05-26 2021-05-04 Allegro Microsystems, Llc Coil actuated position sensor with reflected magnetic field
US10641842B2 (en) 2017-05-26 2020-05-05 Allegro Microsystems, Llc Targets for coil actuated position sensors
US10324141B2 (en) 2017-05-26 2019-06-18 Allegro Microsystems, Llc Packages for coil actuated position sensors
US10310028B2 (en) 2017-05-26 2019-06-04 Allegro Microsystems, Llc Coil actuated pressure sensor
US10839920B2 (en) 2017-09-29 2020-11-17 Allegro Microsystems, Llc Circuit having a low power charge pump for storing information in non-volatile memory during a loss of power event
US10430296B2 (en) 2017-09-29 2019-10-01 Allegro Microsystems, Llc Circuit and method for storing information in non-volatile memory during a loss of power event
EP3508863B1 (en) * 2018-01-05 2023-06-07 Melexis Technologies SA Offset current sensor structure
US10866117B2 (en) 2018-03-01 2020-12-15 Allegro Microsystems, Llc Magnetic field influence during rotation movement of magnetic target
US10978897B2 (en) 2018-04-02 2021-04-13 Allegro Microsystems, Llc Systems and methods for suppressing undesirable voltage supply artifacts
DE102018111216B3 (de) * 2018-05-09 2019-10-17 Semikron Elektronik Gmbh & Co. Kg Schaltungsanordnung zur Strommessung in einer Leistungshalbleitergruppe und Leistungshalbleiterbaugruppe hiermit
US10921391B2 (en) 2018-08-06 2021-02-16 Allegro Microsystems, Llc Magnetic field sensor with spacer
US11255700B2 (en) 2018-08-06 2022-02-22 Allegro Microsystems, Llc Magnetic field sensor
US10935612B2 (en) 2018-08-20 2021-03-02 Allegro Microsystems, Llc Current sensor having multiple sensitivity ranges
US10823586B2 (en) 2018-12-26 2020-11-03 Allegro Microsystems, Llc Magnetic field sensor having unequally spaced magnetic field sensing elements
US11061084B2 (en) 2019-03-07 2021-07-13 Allegro Microsystems, Llc Coil actuated pressure sensor and deflectable substrate
EP3715871A1 (en) * 2019-03-28 2020-09-30 LEM International SA Current transducer with magnetic core on primary conductor
US11099217B2 (en) 2019-04-16 2021-08-24 Allegro Microsystems, Llc Current sensor having a flux concentrator for redirecting a magnetic field through two magnetic field sensing elements
US10955306B2 (en) 2019-04-22 2021-03-23 Allegro Microsystems, Llc Coil actuated pressure sensor and deformable substrate
US10948555B2 (en) 2019-05-23 2021-03-16 Allegro Microsystems, Llc Magnetic field sensor and magnetoresistance element structure having at least two magnetoresistance elements disposed in a proximate arrangement
US10991644B2 (en) 2019-08-22 2021-04-27 Allegro Microsystems, Llc Integrated circuit package having a low profile
US11280637B2 (en) 2019-11-14 2022-03-22 Allegro Microsystems, Llc High performance magnetic angle sensor
US11237020B2 (en) 2019-11-14 2022-02-01 Allegro Microsystems, Llc Magnetic field sensor having two rows of magnetic field sensing elements for measuring an angle of rotation of a magnet
US11150273B2 (en) 2020-01-17 2021-10-19 Allegro Microsystems, Llc Current sensor integrated circuits
US11194004B2 (en) 2020-02-12 2021-12-07 Allegro Microsystems, Llc Diagnostic circuits and methods for sensor test circuits
US11187764B2 (en) 2020-03-20 2021-11-30 Allegro Microsystems, Llc Layout of magnetoresistance element
US11262422B2 (en) 2020-05-08 2022-03-01 Allegro Microsystems, Llc Stray-field-immune coil-activated position sensor
US11800813B2 (en) 2020-05-29 2023-10-24 Allegro Microsystems, Llc High isolation current sensor
US11515246B2 (en) 2020-10-09 2022-11-29 Allegro Microsystems, Llc Dual circuit digital isolator
US11493361B2 (en) 2021-02-26 2022-11-08 Allegro Microsystems, Llc Stray field immune coil-activated sensor
US11567108B2 (en) 2021-03-31 2023-01-31 Allegro Microsystems, Llc Multi-gain channels for multi-range sensor
DE102021114943A1 (de) 2021-06-10 2022-12-15 Infineon Technologies Ag Sensorvorrichtungen mit Weichmagneten und zugehörige Herstellungsverfahren
EP4130772B1 (en) 2021-08-05 2025-07-23 Allegro MicroSystems, LLC Magnetoresistive element having compensated temperature coefficient of tmr
US11768229B2 (en) 2021-08-23 2023-09-26 Allegro Microsystems, Llc Packaged current sensor integrated circuit
US11519946B1 (en) 2021-08-23 2022-12-06 Allegro Microsystems, Llc Packaged current sensor integrated circuit
US12487254B2 (en) 2021-08-23 2025-12-02 Allegro Microsystems, Llc Packaged current sensor integrated circuit
US12163983B2 (en) 2021-08-23 2024-12-10 Allegro Microsystems, Llc Packaged current sensor integrated circuit
US11578997B1 (en) 2021-08-24 2023-02-14 Allegro Microsystems, Llc Angle sensor using eddy currents
US11644485B2 (en) 2021-10-07 2023-05-09 Allegro Microsystems, Llc Current sensor integrated circuits
US11892476B2 (en) 2022-02-15 2024-02-06 Allegro Microsystems, Llc Current sensor package
US12112865B2 (en) 2022-03-15 2024-10-08 Allegro Microsystems, Llc Multiple branch bus bar for coreless current sensing application
US11768230B1 (en) 2022-03-30 2023-09-26 Allegro Microsystems, Llc Current sensor integrated circuit with a dual gauge lead frame
US11994541B2 (en) 2022-04-15 2024-05-28 Allegro Microsystems, Llc Current sensor assemblies for low currents
US11719771B1 (en) 2022-06-02 2023-08-08 Allegro Microsystems, Llc Magnetoresistive sensor having seed layer hysteresis suppression
US12320870B2 (en) 2022-07-19 2025-06-03 Allegro Microsystems, Llc Controlling out-of-plane anisotropy in an MR sensor with free layer dusting
EP4591074A1 (en) * 2022-09-21 2025-07-30 Basis NZ Holdings Limited Current detection device and related devices, systems and methods thereof
CN115799081A (zh) * 2022-10-28 2023-03-14 江苏兴宙微电子有限公司 芯片封装方法及芯片封装结构
US12181538B2 (en) 2022-11-29 2024-12-31 Allegro Microsystems, Llc Magnetoresistance bridge circuits with stray field immunity
US12359904B2 (en) 2023-01-26 2025-07-15 Allegro Microsystems, Llc Method of manufacturing angle sensors including magnetoresistance elements including different types of antiferromagnetic materials
US12352832B2 (en) 2023-01-30 2025-07-08 Allegro Microsystems, Llc Reducing angle error in angle sensor due to orthogonality drift over magnetic-field
DE102023200901A1 (de) * 2023-02-03 2024-08-08 Infineon Technologies Ag Stromsensorvorrichtung mit einem elektrischen leiter und einem magnetsensor, der von dem elektrischen leiter räumlich getrennt ist
US12248039B2 (en) 2023-08-08 2025-03-11 Allegro Microsystems, Llc Interleaving sub-arrays of magnetoresistance elements based on reference directions to compensate for bridge offset
US12510611B2 (en) 2023-11-07 2025-12-30 Allegro Microsystems, Llc TMR sensor having magnetic field generation for pillar stimulation
US12493057B2 (en) 2023-11-17 2025-12-09 Allegro Microsystems, Llc Current sensor integrated circuit
US12455301B2 (en) 2023-12-11 2025-10-28 Allegro Microsystems, Llc Hall plate current sensor having stress compensation
US12523717B2 (en) 2024-02-15 2026-01-13 Allegro Microsystems, Llc Closed loop magnetic field sensor with current control

Citations (4)

* Cited by examiner, † Cited by third party
Publication number Priority date Publication date Assignee Title
JPH052033A (ja) * 1990-11-15 1993-01-08 Fujitsu Ltd 電流センサ及びその検出電流範囲の設定方法
JPH05223849A (ja) * 1992-02-18 1993-09-03 Toshiba Corp 電流検出器
JPH09211034A (ja) * 1996-02-02 1997-08-15 Sanken Electric Co Ltd 電流検出装置
JPH10267965A (ja) * 1997-03-24 1998-10-09 Nana Electron Kk 電流センサ

Family Cites Families (36)

* Cited by examiner, † Cited by third party
Publication number Priority date Publication date Assignee Title
DE1143586B (de) * 1961-02-02 1963-02-14 Siemens Ag Gleichstrommesseinrichtung mit Hallsonden
JPS6171649A (ja) 1984-09-17 1986-04-12 Seiko Instr & Electronics Ltd Icパツケ−ジ
CH669852A5 (ja) * 1986-12-12 1989-04-14 Lem Liaisons Electron Mec
JP2526070B2 (ja) 1987-09-08 1996-08-21 本田技研工業株式会社 電流検出装置
JPH0166563U (ja) 1987-10-23 1989-04-27
JPH01240867A (ja) 1988-03-22 1989-09-26 Tokin Corp 電流検出器
US4893073A (en) * 1989-01-30 1990-01-09 General Motors Corporation Electric circuit board current sensor
JPH04364472A (ja) 1991-06-12 1992-12-16 Fuji Electric Co Ltd 磁電変換装置
JPH06130087A (ja) 1992-10-21 1994-05-13 Tokin Corp 電流検出器
JP2593030B2 (ja) 1992-12-04 1997-03-19 本州製紙株式会社 紙製パレット及びその製造方法
JPH07280845A (ja) * 1994-04-14 1995-10-27 Yazaki Corp 電流検出装置
JP3329947B2 (ja) 1994-06-28 2002-09-30 エヌイーシートーキン株式会社 電流検出器
US5587651A (en) * 1994-11-21 1996-12-24 General Electric Company Alternating current sensor based on parallel-plate geometry and having a conductor for providing separate self-powering
JPH08178965A (ja) 1994-12-21 1996-07-12 Matsushita Electric Ind Co Ltd 電流検出回路モジュール
JP2954500B2 (ja) 1995-03-02 1999-09-27 大崎電気工業株式会社 電流変成器
JP3007553B2 (ja) * 1995-03-24 2000-02-07 日本レム株式会社 電流センサ
JP3010422B2 (ja) * 1995-09-20 2000-02-21 矢崎総業株式会社 電気接続箱のバスバー構造
ES2260847T3 (es) * 1997-08-28 2006-11-01 General Electric Company Detector de corriente autoalimentado.
JPH11265649A (ja) * 1998-03-18 1999-09-28 Mitsubishi Electric Corp 電流検出器及び電流検出器を備えた電力開閉器
US6548998B1 (en) * 1998-06-05 2003-04-15 Liaisons Electroniques-Mecaniques Lem S.A. Electric current sensor with wide passband
JP2000174357A (ja) 1998-10-02 2000-06-23 Sanken Electric Co Ltd ホ―ル効果素子を有する半導体装置
US6424018B1 (en) * 1998-10-02 2002-07-23 Sanken Electric Co., Ltd. Semiconductor device having a hall-effect element
JP3681584B2 (ja) * 1999-08-27 2005-08-10 矢崎総業株式会社 電流センサ及びこれを用いた電気回路
US6819095B1 (en) * 1999-09-16 2004-11-16 International Rectifier Corporation Power semiconductor device assembly with integrated current sensing and control
US6426617B1 (en) * 1999-09-28 2002-07-30 Rockwell Automation Technologies, Inc. Hall effect current sensor system packaging
JP3852554B2 (ja) 1999-12-09 2006-11-29 サンケン電気株式会社 ホール素子を備えた電流検出装置
JP2001165963A (ja) 1999-12-09 2001-06-22 Sanken Electric Co Ltd ホール素子を備えた電流検出装置
JP4164615B2 (ja) 1999-12-20 2008-10-15 サンケン電気株式会社 ホ−ル素子を備えた電流検出装置
JP3230580B2 (ja) 2000-02-04 2001-11-19 サンケン電気株式会社 ホ−ル素子を備えた電流検出装置
DE10022316A1 (de) 2000-05-09 2001-11-22 Siemens Metering Ag Zug Magnetkreisanordnung zur Bestimmung eines elektrischen Stroms
JP2002026419A (ja) 2000-07-07 2002-01-25 Sanken Electric Co Ltd 磁電変換装置
JP4164629B2 (ja) 2000-10-23 2008-10-15 サンケン電気株式会社 ホール素子を備えた電流検出装置
JP2002202327A (ja) 2000-10-23 2002-07-19 Sanken Electric Co Ltd ホール素子を備えた電流検出装置
US6686730B2 (en) * 2002-06-11 2004-02-03 Rockwell Automation Technologies, Inc. Snap fit Hall effect circuit mount apparatus and method
US6759840B2 (en) * 2002-06-11 2004-07-06 Rockwell Automation Technologies, Inc. Hall effect conductor/core method and apparatus
US6781359B2 (en) * 2002-09-20 2004-08-24 Allegro Microsystems, Inc. Integrated current sensor

Patent Citations (4)

* Cited by examiner, † Cited by third party
Publication number Priority date Publication date Assignee Title
JPH052033A (ja) * 1990-11-15 1993-01-08 Fujitsu Ltd 電流センサ及びその検出電流範囲の設定方法
JPH05223849A (ja) * 1992-02-18 1993-09-03 Toshiba Corp 電流検出器
JPH09211034A (ja) * 1996-02-02 1997-08-15 Sanken Electric Co Ltd 電流検出装置
JPH10267965A (ja) * 1997-03-24 1998-10-09 Nana Electron Kk 電流センサ

Cited By (3)

* Cited by examiner, † Cited by third party
Publication number Priority date Publication date Assignee Title
JP2013539038A (ja) * 2010-09-28 2013-10-17 レム・インテレクチュアル・プロパティ・エスエイ バッテリー電流センサー
US9069016B2 (en) 2012-01-20 2015-06-30 Aisin Seiki Kabushiki Kaisha Current sensor
JP2016206195A (ja) * 2015-04-21 2016-12-08 レム・インテレクチュアル・プロパティ・エスエイLem Intellectual Property Sa 一体化した一次導体棒を備えた電流変換器

Also Published As

Publication number Publication date
EP1546741B1 (en) 2011-04-27
US6781359B2 (en) 2004-08-24
JP2006500561A (ja) 2006-01-05
JP4518947B2 (ja) 2010-08-04
JP5253349B2 (ja) 2013-07-31
AU2003263839A1 (en) 2004-04-08
EP2264471A3 (en) 2014-09-24
US7265531B2 (en) 2007-09-04
WO2004027436A1 (en) 2004-04-01
US20040196024A1 (en) 2004-10-07
DE60336917D1 (de) 2011-06-09
EP2264471A2 (en) 2010-12-22
EP2264471B1 (en) 2018-12-26
US20040056647A1 (en) 2004-03-25
EP1546741A1 (en) 2005-06-29
ATE507480T1 (de) 2011-05-15

Similar Documents

Publication Publication Date Title
JP5253349B2 (ja) 集積電流センサ
US8080994B2 (en) Integrated current sensor
EP2609442B1 (en) Apparatus and method for reducing a transient signal in a magnetic field sensor
US7622909B2 (en) Magnetic field sensor and electrical current sensor therewith
EP1965217B1 (en) High bandwidth open-loop current sensor
US7106046B2 (en) Current measuring method and current measuring device
JPS6318273A (ja) 電流検出器

Legal Events

Date Code Title Description
A521 Request for written amendment filed

Free format text: JAPANESE INTERMEDIATE CODE: A523

Effective date: 20091013

A621 Written request for application examination

Free format text: JAPANESE INTERMEDIATE CODE: A621

Effective date: 20091013

A131 Notification of reasons for refusal

Free format text: JAPANESE INTERMEDIATE CODE: A131

Effective date: 20120622

A521 Request for written amendment filed

Free format text: JAPANESE INTERMEDIATE CODE: A523

Effective date: 20120912

TRDD Decision of grant or rejection written
A01 Written decision to grant a patent or to grant a registration (utility model)

Free format text: JAPANESE INTERMEDIATE CODE: A01

Effective date: 20130318

A61 First payment of annual fees (during grant procedure)

Free format text: JAPANESE INTERMEDIATE CODE: A61

Effective date: 20130416

R150 Certificate of patent or registration of utility model

Ref document number: 5253349

Country of ref document: JP

Free format text: JAPANESE INTERMEDIATE CODE: R150

Free format text: JAPANESE INTERMEDIATE CODE: R150

FPAY Renewal fee payment (event date is renewal date of database)

Free format text: PAYMENT UNTIL: 20160426

Year of fee payment: 3

S533 Written request for registration of change of name

Free format text: JAPANESE INTERMEDIATE CODE: R313533

R350 Written notification of registration of transfer

Free format text: JAPANESE INTERMEDIATE CODE: R350

R250 Receipt of annual fees

Free format text: JAPANESE INTERMEDIATE CODE: R250

R250 Receipt of annual fees

Free format text: JAPANESE INTERMEDIATE CODE: R250

R250 Receipt of annual fees

Free format text: JAPANESE INTERMEDIATE CODE: R250

S531 Written request for registration of change of domicile

Free format text: JAPANESE INTERMEDIATE CODE: R313531

R350 Written notification of registration of transfer

Free format text: JAPANESE INTERMEDIATE CODE: R350

R250 Receipt of annual fees

Free format text: JAPANESE INTERMEDIATE CODE: R250

R250 Receipt of annual fees

Free format text: JAPANESE INTERMEDIATE CODE: R250

R250 Receipt of annual fees

Free format text: JAPANESE INTERMEDIATE CODE: R250

R250 Receipt of annual fees

Free format text: JAPANESE INTERMEDIATE CODE: R250

R250 Receipt of annual fees

Free format text: JAPANESE INTERMEDIATE CODE: R250

EXPY Cancellation because of completion of term