JP2010014723A - 時間分解非侵入性判断システム - Google Patents

時間分解非侵入性判断システム Download PDF

Info

Publication number
JP2010014723A
JP2010014723A JP2009202797A JP2009202797A JP2010014723A JP 2010014723 A JP2010014723 A JP 2010014723A JP 2009202797 A JP2009202797 A JP 2009202797A JP 2009202797 A JP2009202797 A JP 2009202797A JP 2010014723 A JP2010014723 A JP 2010014723A
Authority
JP
Japan
Prior art keywords
chip
light
dut
optical member
cooling
Prior art date
Legal status (The legal status is an assumption and is not a legal conclusion. Google has not performed a legal analysis and makes no representation as to the accuracy of the status listed.)
Granted
Application number
JP2009202797A
Other languages
English (en)
Other versions
JP5140049B2 (ja
Inventor
Daniel Murdoch Cotton
マードック コットン ダニエル
Nader Pakdaman
パクダマン ネイダー
James Squire Vickers
スクイア ヴィッカーズ ジェームズ
Thomas Wong
ウォン トーマス
Current Assignee (The listed assignees may be inaccurate. Google has not performed a legal analysis and makes no representation or warranty as to the accuracy of the list.)
FEI EFA Inc
Original Assignee
DCG Systems Inc
Priority date (The priority date is an assumption and is not a legal conclusion. Google has not performed a legal analysis and makes no representation as to the accuracy of the date listed.)
Filing date
Publication date
Family has litigation
First worldwide family litigation filed litigation Critical https://patents.darts-ip.com/?family=25541938&utm_source=google_patent&utm_medium=platform_link&utm_campaign=public_patent_search&patent=JP2010014723(A) "Global patent litigation dataset” by Darts-ip is licensed under a Creative Commons Attribution 4.0 International License.
Application filed by DCG Systems Inc filed Critical DCG Systems Inc
Publication of JP2010014723A publication Critical patent/JP2010014723A/ja
Application granted granted Critical
Publication of JP5140049B2 publication Critical patent/JP5140049B2/ja
Anticipated expiration legal-status Critical
Expired - Fee Related legal-status Critical Current

Links

Images

Classifications

    • GPHYSICS
    • G01MEASURING; TESTING
    • G01NINVESTIGATING OR ANALYSING MATERIALS BY DETERMINING THEIR CHEMICAL OR PHYSICAL PROPERTIES
    • G01N21/00Investigating or analysing materials by the use of optical means, i.e. using sub-millimetre waves, infrared, visible or ultraviolet light
    • G01N21/84Systems specially adapted for particular applications
    • GPHYSICS
    • G01MEASURING; TESTING
    • G01RMEASURING ELECTRIC VARIABLES; MEASURING MAGNETIC VARIABLES
    • G01R31/00Arrangements for testing electric properties; Arrangements for locating electric faults; Arrangements for electrical testing characterised by what is being tested not provided for elsewhere
    • G01R31/28Testing of electronic circuits, e.g. by signal tracer
    • G01R31/302Contactless testing
    • G01R31/308Contactless testing using non-ionising electromagnetic radiation, e.g. optical radiation
    • G01R31/311Contactless testing using non-ionising electromagnetic radiation, e.g. optical radiation of integrated circuits

Landscapes

  • Engineering & Computer Science (AREA)
  • Physics & Mathematics (AREA)
  • Health & Medical Sciences (AREA)
  • General Physics & Mathematics (AREA)
  • Computer Hardware Design (AREA)
  • Microelectronics & Electronic Packaging (AREA)
  • Computer Vision & Pattern Recognition (AREA)
  • Electromagnetism (AREA)
  • Toxicology (AREA)
  • General Engineering & Computer Science (AREA)
  • Life Sciences & Earth Sciences (AREA)
  • Chemical & Material Sciences (AREA)
  • Analytical Chemistry (AREA)
  • Biochemistry (AREA)
  • General Health & Medical Sciences (AREA)
  • Immunology (AREA)
  • Pathology (AREA)
  • Tests Of Electronic Circuits (AREA)
  • Testing Or Measuring Of Semiconductors Or The Like (AREA)
  • Investigating, Analyzing Materials By Fluorescence Or Luminescence (AREA)
  • Photometry And Measurement Of Optical Pulse Characteristics (AREA)

Abstract

【課題】高い空間分解能のイメージングおよび高い時間分解能の検出をもたらす、ホット・エレクトロン光放出の時間分解測定によるICデバイス・デバッグ用の商業的に実現可能な一体型システムを提供する。
【解決手段】照明源130、集光光学部材120、結像光学系145、及びフォトン・センサ150を含む。ナビゲーション・モードでは、光源を作動させ、結像光学系を用いてチップ上のターゲット領域を確認するとともに集光光学部材を適切に位置付ける。いったん集光光学部材が適切に位置付けられたら、光源の動作を停止し、チップから放出されるフォトンをフォトン・センサを用いて検出する。
【選択図】図1B

Description

本発明は、電気的に活性な半導体集積回路のトランジスタの切り替え事象の切り替え事象(論理遷移)に直接関係する回路タイミング情報を、その場でトランジスタ・レベルで測定するためのシステムに関する。
従来技術において、半導体デバイスにおける種々のメカニズムが発光の原因となり得ることが知られている。半導体デバイスを検査するために、このような発光の検出が用いられている。たとえば絶縁体中のアバランシェ降伏によって発光が生じ、このような発光を検出することによって、デバイス中の故障箇所を示すことができる。同様の検出を、デバイスにおける帯電の特定に用いることができる。電気的に刺激された(活性な)トランジスタの場合、デバイス中に電流が流れると、加速されたキャリア(電子および正孔)、別名ホット・キャリアによって発光が生じる。流れる電流が予想レベルを超えるデバイス上の場所を検出するために、種々のエミッション顕微鏡が用いられており、半導体デバイス中の故障箇所を見つけることが可能であった。これらのホット・キャリアのエミッション顕微鏡のうちのいくつかは、従来技術で開示されている。このようなエミッション顕微鏡の例は、たとえば特許文献1、特許文献2、および特許文献3に記載されている。
トランジスタ(すなわち相補型金属酸化膜半導体(CMOS))デバイスの場合、電流「パルス」は、デバイスの状態(論理)変化の原因となる電圧遷移と(時間および特性において)直接一致する。本発明にとって特に関心があるのは、電気的に活性な半導体トランジスタ・デバイスからのホット・エレクトロン発光を時間的に分解して、電流に対するデバイスの挙動および応答と、電流パルスの時間的な相互関係とを研究することである。これらの時間的な特性は、遷移(パルス)自体の検出とともに、集積回路(IC)デバイスの設計およびデバッグにおいて、決定的に重要である。主題に関するこれまでの研究および関連する研究は、非特許文献1〜5によって刊行され発表されている。
特にクフラーナらによって、フォトルミネセンス・ホット・キャリア発光は、時間および特性において、電流パルスとしたがってトランジスタの電圧切り替えと一致することが明らかにされており、したがってこの現象を、故障解析(デバイスにその設計以上の電流が流れ得る「ホット・スポット」の位置決定)だけでなく、回路タイミング情報(切り替え)を得るためにも利用できることが、したがってICデバッグおよび回路設計のために利用できることが教示されている。特許文献4も参照されたい。この文献では、このような検査に対するシステムが開示されている。
前述した研究から理解できるように、半導体デバイスにおける光放出は非常に弱い。そのため種々の光学および検出方式が、より効率的に放出光を集光してノイズを減らすために、すなわち集光忠実度、帯域幅、ならびに集光および検出システムの速度を高めるために、提案されている。たとえば、市販の低ノイズ・マイクロチャネル光電子増倍管(MCP)を用いて、集光光を何桁も増幅することが行なわれている。また高速の光電気回路(すなわち時間電圧変換器(TAC))と結合されたアバランシェ・フォトダイオード(APD)を用いて、弱発光現象の高時間分解能を得ることも行われている。
微細なサンプルからの光のフォーカシング/イメージングおよび集光を光学システム全体で増加させるために、集光光学部材の観点から、個々の応用例において種々の試みがなされている。特に顕微鏡対物レンズの開口数(NA=n*sinθ;nは媒体の屈折率、θはフォーカシング・ビームの円錐角の半分)を増加させることである。開口数(NA)の増加を実現することは、円錐角を増加させることによってだけではなく、屈折率nを増加させてサンプルのそれと整合させ、空気(n=1)およびサンプル界面での屈折率不整合を回避することによっても可能であることが、長い間知られている。「n」を増加させるための歴史上の1つの方法は、適切に収差補正された対物レンズとサンプルとの間のエア・ギャップに、物体の屈折率と整合する屈折率整合オイルを充填することである。屈折率整合を実現するために利用できる適切な整合流体がない場合には、物体と対物レンズとの間に配置された固体液浸レンズ(サンプルの材料と整合する)を使用するなどの他の方法を用いることができる。当然のことながら、両方の技術を用いても良く、すなわち液浸レンズおよび屈折率整合流体を用いても良い。前述した技術を用いることは、たとえば特許文献5、特許文献6、および特許文献7に開示されている。液浸レンズについてのより最近の説明は、特許文献8、特許文献9、特許文献10、特許文献11、および非特許文献6で見つけることができる。固体液浸レンズの場合、従来技術のレンズは、平凸レンズ(すなわち半球)である。言い換えれば、底面、すなわち物体に面する表面が平坦である一方で、上面、すなわち対物レンズに面する表面は凸である。
本発明にとって特に関心のある半導体デバイスは、フリップ・チップ形式でパッケージされた半導体デバイスである。フリップ・チップ・パッケージされたデバイスでは、ICデバイスとパッケージ・キャリアとの間が直接張り付けられていることで、IC「チップ」のキャリアにワイヤ・ボンディングを用いることが軽減されている。加えて、トランジスタは、基板を通して容易にアクセスできるため、金属相互接続の多層膜によって「マスク」されることはない。フリップ・チップ・パッケージ・デバイスの構築、実装、および構造は良く知られているため、ここでは詳細には説明しない。フリップ・チップに関する情報は、たとえば、http://www.flipohip.com、およびhttp://world.std.com/〜hycomp/flippage.html.で見つけることができる。
特に関心があるのは、このようなデバイスの検査を背面から、すなわち基板側から行なうための当該技術分野における最近の試みである。基板側では、ICトランジスタの活性層に容易にアクセスできる。フリップ・チップ・パッケージ・デバイスを、従来の動的な(タイミング)診断方法、たとえば電子ビーム(電圧コントラスト)プロービング、を用いてプローブ検査する際の問題の1つは、タイミング情報および故障分離が重要となる重要ノードが、アクセスが容易でなく、多重レベルの金属相互接続によってマスクされることである。そのため金属線を電子ビーム・プローバに露出させるために、収束イオン・ビーム(FIB)を用いて基板に「孔を開けて」重要ノードの冶金を露出させるか、またはテストおよびプローブ構造のための開口部を予め設計する必要がある。前者は、時間のかかる破壊的な方法である。後者では、高価な「土地」が無駄になるだけでなく、多くの場合、回路設計者が関心を抱く特性は示されない。こうしたことから、光学技術を用いて、デバイスを基板(背面)を通してプローブ検査することが行なわれている。どんなICでも、フリップ/直接張り付け用に再パッケージできることに注意されたい。またタイミング測定およびデバッグを何度も行なう必要がある最先端のサブ0.18ミクロンおよび(それ未満の)デバイスは、フリップ・チップ・パッケージ形式であり、そのため背面での光学プロービングおよび検出を行なっている。読者は、非特許文献7に刊行された非特許文献8〜10を参照されたい。
他の興味ある論文は、非特許文献11である。フリップ・チップを背面からシリコン基板を通してイメージングするためのシステムが、特許文献10、特許文献12、および特許文献4に記載されている。
米国特許第4,680,635号明細書 米国特許第4,811,090号明細書 米国特許第5,475,316号明細書 米国特許第5,940,545号明細書(カシュ(Kash)ら) 米国特許第3,524,694号明細書 米国特許第3,711,186号明細書 米国特許第3,912,378号明細書 米国特許第4,634,234号明細書 米国特許第5,004,307号明細書 米国特許第5,208,648号明細書 米国特許第5,282,088号明細書 米国特許第5,220,403号明細書
「II−VI族半導体のピコセカンド時間分解フォトルミネセンス測定用の全固体型顕微鏡ベース・システム(All−Solid−State Microscope−Based System for Picosecond Time−Resolved Photoluminescence Measurements onII−VI semiconductors)」、G.S.ビューラ(G.S.Buller)ら、レビュー・オブ・サイエンティフィック・インスツルメンツ(Review of Scientific Instruments)p.2994、63、(5)、(1992年) 「ゲルマニウム・シングル・フォトン・アバランシェ・フォトダイオードを用いた1.3−m波長におけるInGaAs/InP多重量子井戸構造での時間分解フォトルミネセンス測定(Time−Resolved Photoluminescence Measurements in InGaAs/InP Multiple−Quantum−Well Structures at 1.3−m Wavelengths by Use of Germanium Single−Photon Avalanche Photodiodes)」、G.S.ビューラ(G.S.Buller)ら、アプライド・オプティクス(Applied Optics)、第35巻、第6号、(1996年) 「ゲート制御されたエミッション顕微鏡による製品ホット・エレクトロン問題の解析(Analysis of Product Hot Electron Problems by Gated Emission Microscope)」、クフラーナ(Khurana)ら、IEEE/IRPS(1986年) 「超高速マイクロチャネル・プレート光電子増倍管(Ultrafast Mcrochannel Plate Photomultiplier)」、H.クメ(H.Kume)ら、アプライド・オプティクス、第27巻、第6号、15(1988年) 「抵抗性アノード光電子増倍管を用いた100−ps分解能の2次元時間分解イメージング(Two−Dimensional Time−Resolved Imaging with 100−ps Resolution Using a Resistive Anode Photomultiplier Tube)」、S.キャルボネアウ(S.Charboneau)ら、レビュー・オブ・サイエンティフィック・インスツルメンツ、63、(11),(1992年) 「固体液浸顕微鏡(Solid Immersion Microscopy)」、S.M.マンスフィールド(S.M.Mansfield)、G.L.リポート(G.L.Report)、第4949号、スタンフォード大学(1992年) 1998年国際テスト会議のプロシーディング(Proceedings of 1998 International Test Conference)(ITC’98)(12月18〜22日、ワシントンDC、IEEEカタログ番号RS00191) 「フリップ・チップ・パッケージ・マイクロプロセッサ用の新しい光学プロービング技術(Novel Optical Probing Technique for Flip Chip Packaged Microprocessors)」、マリオ・パニッシア(Mario Paniccia)、トラビス・アイルス(Travis Eiles)、V.R.M.ラオ(V.R.M.Rao)、およびワイ・ムン.ウィ(Wai Mun Yee) 「時間依存性光放出によるタイミング関連欠陥の診断およびキャラクタリゼーション(Diagnosis and Characterization of Timing−Related Defects by Time−Dependent Light Emission)」、デイブ・バレット(Dave Vallett)、リーンダート・フイスマン(Leendert Huisman)、およびフィル・ナイ(Phil Nigh) 「コンタクトレス・ギガヘルツ・テスティング(Contactless Gigahertz Testing)」、W.マーチン(W.Mertin)、A.レイク(A.Leyk)、U.ベーンケ(U.Behnke)、およびV.ウィットポール(V.Wittpahl) 「フリップ・チップ搭載シリコン集積回路における内部電気信号のピコセカンド非侵入性光学的検出(Another article of interest is Picosecond Noninvasive Optical Detection of Internal Electrical Signals in Flip−Chip− Mounted Silicon Integrated Circuits)」、H.K.ハインリッヒ(H.KHeinrich)、IBMジャーナル・オブ・リサーチ・アンド・ディベロップメント(IBM Journal of. Research and Development)第34巻、第2/3号、1990年
しかしこの分野における研究量にも拘わらず、ホット・エレクトロン発光の時間分解測定によるデバイス・デバッグ用システムとして、商業的に実現可能なものは依然として存在しない。産業界が直面する多くの問題点には以下のものがある。
・検出信号の忠実度(すなわち帯域幅および分解能)が損なわれない高速かつ信頼性の高い捕捉スピード。
・低(またはゼロ)容量デバイス(すなわち通常のシリコン基板の代わりにシリコン・オン・インシュレータ(SOI)を用いるもの)について測定できること。
・サブ0.2ミクロン・デバイスにおける対象ノードの位置決定を可能とする高い空間分解能のイメージングおよびナビゲーション。
テスト中(電気的に刺激されている)のデバイス、およびデバイスにアクセスできるようにヒート・シンクなしで動作中のデバイスの冷却および電力負荷管理。
本発明者らは、高い空間分解能のイメージングおよび高い時間分解能の検出をもたらす、ホット・エレクトロン光放出の時間分解測定によるICデバイス・デバッグ用の商業的に実現可能な一体型システムを提供する。また本システムでは、テスト用デバイス(DUT)の冷却および温度制御が可能である。さらに本システムでは、ICコンピュータ支援設計(CAD)レイアウトを用いたナビゲーションおよびイメージング(結像)が可能である。本発明のシステムは、動作電流が内部を流れる機能的な半導体集積回路のテストおよびデバッグに対して、特に有用である。
本発明の一態様においては、集積回路チップ・テスト用の一体型システムが提供される。テスト用チップは、自動テスト機器(ATE)に結合される。自動テスト機器は、デバイスに電力を供給し、プログラムされた論理ベクトルおよび信号を用いてそれを刺激して、チップの動作(機能的およびテスト)条件をシミュレートする。本発明のシステムは、ATEから同期信号を受け取るコントローラと、チップの選択されたデバイスを選択的にイメージングするための光学イメージング・システムと、チップからの光放出を集光して、光放出を示す時間分解信号を生成するための集光システムと、選択されたデバイスに対して光学イメージング・システムおよび集光システムを配向するための光学機械式ナビゲーション・システムと、コントローラによって指定された温度までチップを冷却するための熱管理システムと、を備える。
本発明の他の態様においては、本発明のシステムはX−Y−Zステージを備える。X−Y−Zステージを用いて、テスト用デバイス上の対象とする場所まで光学部材を移動させ、対象とするデバイスをフォーカスおよびイメージングする。ナビゲーションは、ICのCADレイアウトに関連して行なわれる。機械化されたシャッタを用いて、光学部材の視野内でイメージング領域を可変に規定する。ナビゲーションおよびターゲット捕捉の間、デバイスを照明して、イメージ増強管を用いてイメージングする。こうすることで、高い分解能が得られる。テストすべきデバイスが捕捉されたら、すなわちイメージング領域内に配置されたら、照明源をターン・オフし、デバイスをテスト信号によって刺激する。刺激している間、ホット・エレクトロン光放出が、光学部材によって集光され、光ファイバ上にイメージングされる。
時間分解能をもたらすために、発光検出をテスト信号、すなわち自動テスト機器(ATE)と同期させる。光ファイバによって集光した光を、アバランシェ・フォトダイオード(APD)によって検出する。アバランシェ・フォトダイオード(APD)は、アバランシェ・クエンチング(Avalanche Quenching)回路、時間電圧変換器(TAC)、およびマルチチャネル・アナライザに結合される。任意に、ATEからの同期信号に従って光放出が予想される直前にのみ検出条件が生じるように、APDをゲート制御する。こうすることで、ノイズが低減されて、APDの寿命が延びる。
本発明のシステムの有利な特徴の1つは、DUTのアクティブ温度制御である。ICをデバッグする際、関心点の1つは、種々の動作温度における種々のデバイスの挙動である。このような研究によって、動作温度の変化が原因で生じる性能および信頼性の問題点を示すことができ、また温度依存性の高い重要なデバイス接合の動作条件をデバイス設計者にもたらすことができる。本発明のシステムによって、制御された種々の温度でDUTのテストを行なうことができる。温度制御が、チャンバの内部およびDUTに対して別個に実現され、また光学イメージング/検出システムと一体化されている。一実施形態によれば、冷却流体が内部を循環する冷却ブロックを用いて、DUTの冷却が行なわれる。他の実施形態によれば、液体マイクロ・スプレイ冷却技術を用いて、DUTが冷却される。
本発明の特定の特徴によれば、液浸レンズを用いて、光集光効率およびイメージング分解能を増加させる。本発明の一実施形態においては、屈折率整合液浸レンズは、両凸であるとともに、DUTとの直接的な(エア・ギャップのない)接触を保証するために、発光検出の間DUT上に押し付けられる。
システムの安定性を高めるために、オートフォーカスを設けても良い。一実施形態によれば、オートフォーカスは受動的なシステムであり、すなわち照明源をまったく含んでいないが、むしろフィードバック・ループを用いて光放出光の集光レートを最適化している。本発明を、図面に例示される特定の実施形態を参照して説明する。しかし図面に示す種々の実施形態は典型にすぎず、添付の特許請求の範囲に規定される本発明を限定し得るものではないことを理解されたい。
本発明の一実施形態によるテストおよびデバッグ・システムの主なコンポーネントを示す概略図である。 本発明の一実施形態によるテストおよびデバッグ・システムの主なコンポーネントを示す概略図である。 本発明のテストおよびデバッグ・システムの他の実施形態の主なコンポーネントを示す概略図である。 冷却板の一実施形態を示す平面図である。 図2Aの線A−Aに沿っての断面図である。 本発明の液浸レンズの一実施形態を示す図である。 イメージング用にレーザ走査顕微鏡を用いる本発明のシステムの他の実施形態を示す図。 液浸レンズを適切なターゲット位置に配置するための「ピック・アンド・プレース」システムの一実施形態を例示する図である。 本発明の実施形態の種々のセットアップを例示する図である。 本発明の実施形態の種々のセットアップを例示する図である。 本発明の実施形態の種々のセットアップを例示する図である。 本発明の顕微鏡対物レンズ/DUTクラッシュ保護システムを示す図である。 本発明のマイクロ・スプレイ冷却の一実施形態を示す図である。 本発明の別の実施形態を示す図である。 位置合わせされたデュアル・レンズを有する本発明のマイクロ・スプレイ冷却の一実施形態を示す図である。
本発明によって、マイクロチップの立ち上がり時間、タイミング、論理故障の位置決定、および他のテスト、特に背面から基板を通してのテスト(たとえばフリップ・チップ・パッケージ・デバイス)に、特に適したテスト・システムが提供される。したがって説明は、フリップ・チップを用いた例で続ける。しかし本発明はフリップ・チップのテストに限定されないことを理解されたい。たとえば、トップ・サイド・パッケージ・デバイスを用いてそれらをチップ・スケール・パッケージ(CSP)内でフリップすること、または放出光がトップ・サイドを確実に通過するように適切な開口部をデザインすることができる。必要なのは、チップ内の対象デバイスからの放出光を回収できることである。
図1Aおよび1Bは、本発明の典型的な実施形態によるテストおよびデバッグ・システムの主なコンポーネントを示す概略図である。本システムは、市販の自動テスト機器105(ATE))とともに動作する。ATEは一般に、事前にプログラムされたコンピュータ181などのコントローラと、テスト・ヘッド124とを備える。テスト・ヘッド124は、コントローラ181から発生した信号をDUT110(図1B)に、当該技術分野において良く知られた方法で送出するのに用いるアダプタ125を備える。具体的には、ATEを用いて、DUTを刺激する信号を生成して、チップのチェックおよび/またはデバッグ用にチップ設計者がデザインしたように、種々のタスクを実行させる。コントローラ181から発生した種々の信号がDUTへ、アダプタ125を介して送出される。アダプタ125には、スペース・トランスフォーマ、DUT負荷ボード、およびDUTソケットが、当該技術分野において良く知られた方法で含まれていても良い。
図1Aおよび1Bに示した実施形態では、ATEテスト・ヘッドが、振動絶縁されたテスト・ベンチ115の上部に配置される一方で、光学部材全体と、イメージングおよびセンシング・システムと、X−Y−Zステージ175とを収納するチャンバ100が、下方に配置されている。こうすることで、すばらしい利点が得られる。と言うのは、本システムをどのタイプおよびサイズのATEとも使用することが、チャンバ100内のどの要素とも干渉することなく、またどの要素にも修正を加えることなく可能になるからである。正確に言えばATEを用いて、DUTを上方から配置する。その結果、開口部185を通してDUTが光学部材120から見えるようになる。ステージ175によって、集光光学部材を開口部185内の任意の場所に配置することができる。この例ではX−Y−Zステージを用いているが、他のステージを用いて光学部材を開口部185内の指示された場所に配置できることが明らかである。
図1Aおよび1Bのシステムの種々の要素を、それらの動作モードに言及して説明する。一般に、本システムは2つのモードで動作する。ナビゲーション・モードと検出モードである。本説明において「ナビゲーション・モード」に言及する場合には、ナビゲーション、ターゲット捕捉、およびイメージングを含むものと理解されなければならない。したがって本明細書では、これらの用語を区別しないで用いることができる。ナビゲーション・モードでは、照明源130を用いてDUTを照明する。照明源130からは赤外(IR)領域の光が、たとえばIRレーザ、またはフォトダイオード、またはタングステン・ハロゲン・ランプを用いて放出される。光は、顕微鏡対物レンズを通ってDUT上にフォーカスされた後、そこから反射されてビームスプリッタ160を通る。イメージャ145は、赤外領域でイメージング可能な任意の2次元検出器とすることができ、たとえば増強管ビジコンまたはInGaAsアレイなどである。IRビジコンは、たとえばハママツ(Hamamatsu)(http://usa.hamamatsu.com)から市販されている。この例では、対象とするデバイスはシリコン上に作製されている。良く知られているように、IRよりも短い波長はシリコンに吸収される。したがってこの例では、照明およびイメージングはIRにおいて行なわれる。当然のことながら、対象とするデバイスがSOIまたはGaAsなどの異なる基板上に製造されている場合には、異なる波長の照明およびイメージングを用いても良い。
ビーム・スプリッタ・ミラー165を用いて、集光光の一部をフォーカシング・システム140に偏向させる。任意に、全体のイメージング・システムをZアクチュエータ190に接続して、オートフォーカシングするようにしても良い。しかしオートフォーカシング用の典型的なシステムを、以下に、より十分に説明する。
切り替え可能なミラー135は、ナビゲーション・モードと検出モードとの間で光路を選択的に変えられなければならない。こうするために、ミラー135を機械的に移動または回転させても良い。またはミラー135を、選択したモードに従って反射率を変えられる能動的な要素で作製することによって、たとえば一方のモードでは完全に反射性であるが他方のモードでは完全に透過性となるようにしても良い。回転的に実装する場合には、基板を、その半分が透過性で他の半分が反射性となるように作製しても良い。このような基板に、回転メカニズムを設けることで、光路内に必要に応じて反射性または透過性部分を挿入することができる。
加えて、機械化されたアパーチャ170が、集光光学部材120の像面に、視野レンズ195とともに設けられている。特に本実施形態においては、集光光学部材120の入射瞳が、視野レンズ195によって、イメージャ145内の検出器のフォーカシング要素の入射平面上にイメージングされる。ある実装(ここでは示さず)においては、集光光学部材の入射瞳が、フォーカシング要素によって、集光されたフォトンをイメージャ145内の検出器内に結合するファイバ上にイメージングされる。本発明の一つの特徴は、照明経路が、機械化されたアパーチャ170(集光光学部材の像面に位置する)を通って形成されるために、その開口部によって、テスト用サンプルまたはデバイス上の視野が規定されることである。またアパーチャによって、イメージャ145上にイメージングされるサンプル部分も規定される。すなわち、行なうべき特定のテストに応じて、DUTの任意の特定部分を発光用に選択することができる。たとえばケイデンス(Cadence)などのCADソフトウェアに記憶されたチップ・デザインおよびレイアウトに関する情報を用いることで、およびナイツ・テクノロジ(Knights Technology)(www.electroglass.com)から販売されるメルリンズ・フレームワーク(Merlin’s Framework)などのナビゲーション・ソフトウェアを用いることで、特定のデバイスを発光テスト用に選択するとともに、他のデバイスのイメージングおよび放出光を集光光学部材の視野内で阻止しても良い。ユーザがデバイスまたは場所を選択すると、システムはステージ175を作動させて、選択したデバイスまたは場所の中心に集光光学部材がくるようにする。あるいは、対象領域が集光光学部材の視野内にある間、対象領域をアパーチャを用いて分離して、イメージングおよび検出を「選択的に」始めることができる。そしてアパーチャ170を調整して、必要に応じて、所望する特定のテスト用に視野を増加または減少させることができる。
適切な視野が設定されて像が得られたら、ミラー135を回転させて、IR敏感検出器150に向かう光路を設ける(開口する)。さらに光源130は、テスト中に遮断または閉鎖される。当然のことながら、チャンバ100によって、どんな外部光も、チャンバ内に収容された光学部材、イメージャ、およびセンサのどれにも到達しないことを理解されたい。
後述するように、ファイバを用いて光を検出器内に結合する他の実施形態においては、「プローブ領域」は、それが検出器から視野レンズおよび集光光学部材によってDUT上にイメージングされるときに、ファイバ・コアの領域によって設定される。この「プローブ領域」の直径は、ファイバのサイズによって規定され、倍率は、光学縦列、集光光学部材、視野レンズ、およびファイバにおける合焦光学部材の焦点距離と間隔とによって規定される。この構成では、ファイバをX−Yアクチュエータによって、集光光学部材によって規定される視野上で移動させることができる。このさらなる特徴によって、ユーザはプローブ領域を、機械化されたアパーチャによって規定される事前選択された領域内で、移動させることができる。
テスト中のフォトン検出は、検出器150によって行なう。検出器150は、たとえば赤外センサであり、例としては、光電子増倍管(PMT)、マルチチャンネル・プレート(MCP)に結合された光電陰極、アバランシェ・フォトダイオード(APD)などである。検出器150からの信号を、高速データ取得エレクトロニクス155によってサンプリングする。エレクトロニクス155を、以下に詳細に述べる。コントローラ180(専用のソフトウェアを実行する汎用コンピュータであっても良い)を用いて、アクチュエータおよびステージおよびサンプリング器などの本システムの種々の要素を制御する。コントローラ180は、ATE105から同期信号を受け取る。
本発明のシステムの特徴は、テスト・モード・フォーカスが、DUTから放出される光を用いて行なわれることである。より具体的には、コントローラ180によって、種々のZ位置で検出器150が集光するフォトンのフォトン・カウンティングが行なわれる。最も高いフォトン・カウントに対応するZ位置が、フォーカス位置であると決定される。
図1Cに、異なる配置の光学部材および検出器をチャンバ100内で用いることを除いて、図1Bの実施形態の一般的な構成を用いる本発明の一実施形態を示す。図1Cの実施形態によれば、ナビゲーション・モードでは、切り替え可能なミラー135’によって光源130’からの光がDUT110’に向けて送られる。DUTから反射された光は、1/4波長板162’を通過した後、偏光子ミラー160’によってイメージャに向けて反射される。当然のことながら、理解され得るように、1/4波長板162’および偏光子ミラー106’の代わりに、光源130’からの光には透明であるがDUT110’から来る光は反射するハーフ・ミラー配置としても良い。図1Bの実施形態の場合と同様に、視野レンズ195’を伴う機械されたアパーチャ170’が、像面に設けられており、後ろから照明されて、視野を規定する。また本実施形態においては、イメージャ145’によって得られた像は、フォーカス・アルゴリズム140’によって使用される。これは有利な配置である。と言うのは、こうすることによって、DUT110’から反射された光をすべて、像を形成するために、イメージャ145’に対して利用することができるからである。
検出モードの間、ミラー135’を回転させて、IR敏感検出器150’に対する光路が形成されるようにする。さらに光源130’をターン・オフすることが好ましい。理解され得るように、ナビゲーション・モードの間に、機械化されたアパーチャによっていったん視野が決定されたら、視野は検出モードにおいても同じ位置のままであるため、検出モードの間の視野も規定されることになる。
本発明のシステムの種々の要素をさらに、本発明のさらなる実施形態を参照して、より詳細に説明する。本発明の実施形態の1つの特有の特徴は、集積チップ冷却が行なわれることである。言い換えれば、チップの十分かつ正確なテストができるようにする一方で、最適な動作環境、すなわちフィールド条件、をシミュレートできるように、本発明の種々の実施形態において、チップの冷却および温度制御が行なわれる。良く知られているように、チップをコンピューティング機器内に設置する場合、ヒート・シンクおよび/またはファンなどの種々の要素が、チップから熱を除去するために設けられる。したがって本発明の実施形態においては、このような熱除去要素をシミュレートして十分かつ正確なテストが可能となるように、種々の対処がなされる。さらに本システムでは、DUTの温度のアクティブ制御を行なって、種々の動作温度についてDUTの性能をテストすることができる。
図2Aに、冷却板210の形態をなす熱除去システムの第1の実施形態を平面図で示し、一方で図2Bは、図2Aの線A−Aに沿っての断面図である。図2Bにおいて、DUT260は周辺デバイス265を備えるように示されているが、例示のためだけに過ぎない。本システムは、周辺デバイスをまったく有さないDUTの検査にも利用できることが理解される。冷却板210は、CVDなどの既知の方法を用いて人工ダイヤモンドから形成されることが好ましい。流体導管が、冷却板220の上面に設けられており、この流体導管は、冷却流体循環用の入口250と出口240とを有する(ポンプおよび他の流体循環要素は、当該技術分野において十分に知られているため図示していない)。
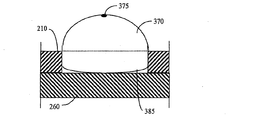
冷却板210は、DUT上のターゲット領域をイメージングするための窓を有している必要がある。ほとんどの状況下では単一の窓で十分であるが、図2Bに示すように、周辺要素265によって、ときにDUT上での冷却板210の配置および移動が制限されることがある。そのため、図示した実施形態においては、冷却板210は窓235のアレイを備えている。こうしてDUT上の各ターゲット領域に対して、適切な窓が選択されて、集光光学部材120(図2Bでは破線で示される)が、選択された窓の上方に、X−Yステージ175を用いて位置合わせされる。冷却板を、X−Yアクチュエータ280を用いてフリップ・チップ上を移動させることができるため、窓が、検査すべきチップのターゲット領域と位置合わせされる。テスト中のフォトン集光を最大限行なうために、好ましい実施形態においては、冷却板210の各窓235の内部に液浸レンズが配置されている。液浸レンズは、たとえば特許文献9、特許文献10、および特許文献11に開示されたもの、または好適な他の液浸レンズであっても良い。しかし図示した実施形態においては、新しい両凸レンズを用いる。図3にこのレンズを詳細に示す。図3は、図2Bの窓235の1つを拡大した領域である。
特に、従来技術の液浸レンズが平坦な底面を有するのとは異なり、図3の液浸レンズは凸状底面385を有する。凸状底面は、DUTとの間の真空状態が回避されるために冷却板の横および縦方向の移動が容易になるという点で有利である。加えて、対象とする場所の上方に焦点面を配置することが容易になり、すなわち光軸をアライメントすることが容易になる。さらに、過剰な屈折率整合流体を、これが使用された場合に、集光することを補佐できる間隙が設けられる。
両凸デザインの他の利点は、液浸レンズをDUT内に最小限の力で「押し込む」ことができるために、液浸レンズとDUTとの間でのエア・ギャップの形成が回避されることである。
従来の平坦な半球では、エア・ギャップを回避することができず、押し込むために必要な力がはるかに大きいため、DUTを破壊することがある。
図3に示される別の特徴は、液浸レンズ370の上面の中心に設けられたセンタ・マーキング375である。このようなマーキングは、使用する液浸レンズのタイプに拘わらず設けても良い。マーキングを行なうことで、集光光学部材120を液浸レンズ上方に速く正確に配置することができる。すなわち、集光光学部材120をある液浸レンズから他の液浸レンズへ移動させるときに、マーキングによって、集光光学部材の対物レンズをターゲットの液浸レンズに対して速く捕捉してアライメントすることが容易になる。
テストの前に、集光光学部材をDUTのターゲット領域の上方に配置する必要がある。コントローラ180又は181を用いて冷却板を移動させて、ターゲット領域およびその近傍が露出されるように、窓の1つを概ね配置する。本システムを標準的な顕微鏡モードで配置する。すなわち照明源130を作動させてミラー135を挿入し、集光光学部材120からイメージャ145およびフォーカス140までの光路を形成する。イメージャ145によるDUTのイメージングが、冷却板の適切な窓および集光光学部材を通して行なわれる。顕微鏡モードでの照明およびイメージングは、明視野モード、暗視野モード、または両方において行なうことができる。明視野および暗視野での照明およびイメージングの構成は、当該技術分野において知られているため、本明細書では説明しない。
捕捉した像を用いることで、ターゲット領域の正確な場所が確認され、コントローラ165によってX−Yステージが作動されて、集光光学部材が適切に配置される。また集光光学部材120の対物レンズがDUTのターゲット領域上にフォーカスされるように、オートフォーカス140を用いてZアクチュエータが制御される。加えて、視野内の対象領域が、アパーチャ170を用いて規定される。
[オートフォーカスの説明を付け加える必要性]
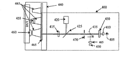
図4に、本発明の他の実施形態を示す。図4では、ナビゲーションおよびターゲット捕捉が、共焦点レーザ走査型顕微鏡(LSM)400を用いて行なわれる。走査型顕微鏡に関する一般的な情報は、「ヘテロダイン干渉分光計およびデジタル・フィルタリングによる共焦点顕微鏡の普及(Generalizing the Confocal Microscope via Heterodyne Interferometry and Digital Filtering)」:P.C.D.ホッブス(P.C.D.Hobbs)およびG.S.キノ(G.S.Kino)、ジャーナル・オブ・マイクロスコピィ(Journal of Microscopy)Vol.130、Pt.3、1990、pp245−264および米国特許第5,532,873号明細書で見つけることができる。キノの本を参照して、ホッブスは省いても良い。
LSM400の動作は、赤外レーザ・ダイオード405を光源として作動させて、ミラー435を、レーザ・ダイオード405からDUTまでの光路を完成させるように位置付けたときに(実線像で図示する)、行なわれる。レーザ405からの光ビームを、走査器430を用いて走査する。走査器430は、たとえば音響光学偏向器(AOD)または回転多面ミラーであっても良い。LSM400の動作を止めてフォトルミネセンスの検出ができるようにするために、レーザ・ダイオード405の動作を停止して、ミラー435を、DUTから検出器450までの経路を完成させるように位置付ける(破線像で図示する)。
レーザ・ダイオード405に加えて、LSM400は一般に、ダイオードからの光を集光して偏光子ミラー425および1/4波長板415上へ送るレンズ・システム410を備える。そして光は、対物レンズ・タレット465によって選択される対物レンズ445の1つに入る。本実施形態において例示するように、タレット465は、倍率が異なる3つの選択可能な対物レンズ445を保持している。しかし単一または他の複数の対物レンズの配置を設けても良い。そしてDUTから反射された光は集光されて、偏光子ミラー425によって検出器420(たとえばビジコンまたはInGaAs検出器)に向けて送られる。
2つの特有の特徴が、対物レンズ445とともに図示されている。収差補正リング455が、シリコンの厚み変化に対して補償するために設けられている。これは、チップの背面を通して観察する場合に、特に有利な特徴である。また固体液浸レンズ460が図示されている。前述の実施形態の場合と同様に、固体液浸レンズは両凸であっても良い。固体液浸レンズ460を用いて、最終的なターゲット・イメージングおよび効率的な放出光集光が可能になる。加えて、典型的な実施形態においては、「ピック・アンド・プレース」システムを設けることで、液浸レンズ460を適切なターゲット場所に位置付けて降ろす。
図5に、ピック・アンド・プレース・システムの一実施形態を例示する。具体的には、顕微鏡対物レンズ結合ハウジング505に、ハウジング505に対する気密な結合を可能にする調整可能なスリーブ510が設けられている。スリーブは液浸レンズ560上に配置されている。バルブ515がエア・ポンプに接続されて、液浸レンズ、スリーブ510、および対物レンズ・ハウジング505によって規定されるチャンバ520内の圧力制御ができるようになっている。圧力を下げれば、オペレータが真空力を用いてレンズ560をピックすることができる。レンズ560が適切なターゲット場所に配置されていれば、やはり圧力を制御することでフォーカシングを行なうことができる。さらに、結合対物レンズと液浸レンズとの間の距離を制御することで、デバイス上の層によって生じるデバイス厚みおよび収差の変動に対して補償することができる。またポンプを用いてチャンバ520内に高圧を形成することで、レンズとチップ表面との間の良好な表面接触を保証して、エア・ギャップを回避することができる。大気圧よりもわずかに高い圧力を両凸液浸レンズ上に形成すれば、薄くされたサンプル・ウェハがレンズに「巻きつく」ために、ウェハからの光の集光を増加できるとともに、高いNAおよび良好な結合を保証するSILとサンプルとの間の屈折率整合を低下させるギャップ(エア)(表面の不均一性が原因)を回避できることが、本発明者らによって見出されている。
図4に対物レンズ・システムと関連して例示される他の特徴は、活性デバイス冷却システム440の設置である。この特定の実施形態においては、マイクロ・スプレイ冷却システムが設けられている。マイクロ・スプレイ冷却システムは、図10を参照して、より詳細に後述する。
発光検出を行なう場合、レーザ405をスイッチ・オフして、ミラー435を切り替えて破線像で示す位置にする。この位置では、DUTから放出されて集光された光が視野レンズ465に向けて送られ、像面に配置された機械化されたアパーチャ470によって視野が規定される。そして視野レンズ465によって、像が検出器450上に投射される。ATEによって、所望のテスト・ベクトルがDUTに与えられると同時に、同期信号がシステム・コントローラと検出器エレクトロニクスとに与えられる。こうして発光(事象)が検出されたときに、同期信号に対する相対的な「到着」時間を記録することで、DUTの性能のタイミング解析を行なうことができる。
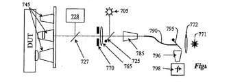
ノイズを低減することができる本発明の別の特徴は以下の通りである。図1の実施形態に関して述べたように、システム・コントローラはATEから同期信号を受け取る。そのため対象とする各デバイスに対して、システム・コントローラは、発光事象がいつ予想されるのかを「知っている」。したがってシステム・コントローラは、発光が予想される所定の時間まで、発光検出器をオフの状態に保つ。その時間になったら、発光検出器を、所定の時間の間ターン・オンする。検出器がフォトン放出誘導による事象を検出したときに、事象の到着時間を記録して記憶する。具体的には、一実施形態によれば、タイマをテストの開始時にスタートさせ、ATEからの同期信号に対するフォトンの到着時間を、タイマを用いて計る。他の実施形態によれば、検出器をターン・オンする時間を記録して、タイマをその時間にスタートさせる。こうしてフォトン到着時間を、検出器がターン・オンされた時間に対して観察する。図6〜図8に、本発明の実施形態の種々の動作モードを例示する。図6では、本システムが、光源705を用いたナビゲーション用にセットアップされている。光源705は点灯している状態が図示されている。他方で、光源771はターン・オフした状態が示されている。機械化されたミラー725が、光源705から対物レンズ745までの経路内に配置されている。視野レンズ765と機械化されたアパーチャ770とが、像面に配置されて、後ろ側から照射されている。したがって視野サイズを、アパーチャ770を用いて選択することができる。そしてDUTからの反射光が、ダイクロイック・ミラー727によってカメラ728へ送られる。いったん適切な像が捕捉されて、対象領域が視野内で分離されたら、本システムを、図7に示すセットアップに再構成する。
図7に示すように、光源805をターン・オフする一方で、光源871をターン・オンする。さらに、機械化されたミラー825および895を回転させて、光路の外へ出す。アパーチャ870によって視野が選択されているため、その視野内で光ファイバを適切に動かすことによって、視野内の一部をイメージングすることができる。このようにして光ファイバを、選択した視野内の小さな領域のみをイメージングするように配置することができる。像はカメラ828によって、高い空間分解能で記録される。そして本システムを、図8に示したセットアップに再び再構成する。
図8では、両方の光源がターン・オフされている。さらに、ミラー995を回転させて光路内に入れることで、入射光を集光光学部材996に向けて反射させる。この特定の実施形態においては、ミラー927を回転させて外に出すことで、カメラ928も光路の外に出されている。この位置においては、DUTを刺激してデバイス発光が起きたときに、放出光が液浸レンズおよび対物レンズによって集光されて、光ファイバ990を介して集光光学部材996上へ送られ、そこから検出器998上へ送られる。
図9に、前述したどの実施形態のどの対物レンズにおいても使用できる顕微鏡対物レンズのクラッシュ保護システムを例示する。図示したように、対物レンズ1200に絶縁リング1210が設けられており、絶縁リング1210の上には導電性カラー1220が取り付けられている。導電性カラーは、たとえば3ボルトに電気的にバイアスされている。フレキシブルな絶縁リング1230が導体リング1220の周りに設けられており、導電性シールド1240がフレキシブルなリング1230に取り付けられている。導電性シールド1240は接地されているため、電圧印加されたカラー1220によって生じる静電放電ESDからDUTをシールドしている。ブロック矢印が示すように、対物レンズがDUTに向かって移動するか、または横向きにDUT上のデバイスに向かって移動すると、破線の丸によって例示されるように、シールドが、電圧印加されたカラーを圧迫する。それが起きると、導電性カラーも接地されることになって、その電位が接地まで落ちる。これは電圧計1250によって検出されて、警報装置1260が作動する。
図10に、本発明の一実施形態によるマイクロ・スプレイ冷却を例示する。具体的には、DUT1115がテスト・アダプタ1100に、当該技術分野において良く知られた方法で取り付けられている。チャンバ1130がテスト・アダプタ1100に押し付けられて、Oリング1110を用いたシールが形成されている。対物レンズ1125にスプレイ・ハウジング1140が取り付けられており、対物レンズ1125はチャンバ1130内に、シールドされた状態で挿入されている。そしてポンプ1160を用いて、間隙1135内の圧力を低下させる。これを行なうのは、間隙1135内の沸点を下げるためであり、すなわち間隙1135内の圧力を変えることで、間隙1135内の沸点を可変に制御することができる。低下させる圧力レベルは、使用する冷却流体の特性および所望する沸点にもとづいて計算できることを理解されたい。
次にポンプ1165を用いて、冷媒を配管1145を通して汲み出して、DUT上に導入する。この実施形態は特に有利であることを理解されたい。まず、冷却は下から行なわれるので、過剰な流体はDUTから排出される傾向がある。さらに、SIL1120を用いているために、DUTのイメージング部分に到達する流体はまったくない。そのため、スプレイ冷却によって像の歪みが生じることはまったくない。またジェットが垂直である従来のスプレイ冷却とは反対に、典型的な実施形態においては、スプレイ冷却が、イメージング作業ができるように、ある角度をなしている。
冷却流体は、DUT1115上にスプレイされると、間隙1135内で蒸発する。そして蒸気はチャンバ1130の壁上で凝縮して、通路1170を通って流れて、ポンプ1165まで戻る。次に流体を、DUT上に再びスプレイする前に、熱交換器1150内に循環しても良い。この例では、スプレイ圧力がDUTの温度に基づいて可変制御されるため、DUTの所望温度が維持される。あるいは、適切な冷却レベルを維持するように、スプレイを脈動させて負荷サイクルを変えることができる。
対物レンズを交換するためには、スプレイを停止して、残っている液体を汲み出す。そして減圧状態を、たとえばバルブ1175を用いて破って、対物レンズを交換する。対物レンズが異なるとサイズおよび形状が異なる場合があるため、各対物レンズに独自のハウジング1140を取り付けても良いし、単一のハウジング1140に対するアダプタを用いても良いことを理解されたい。さらに、配管1145が単純にスプレイ出口として終端しても良いし、特別なスプレイ・ヘッドを配管1145の端に取り付けても良いことを理解されたい。
このシステムを用いることで、DUTの温度を変えて、その動作特性を種々の温度条件の下でテストすることができる。たとえばオペレータは、DUTをテストするために特定の動作温度を入力しても良い。DUTの実際の温度は、DUT近傍の適切な位置に配置されたデバイス(すなわち熱電対)によって検出されるか、またはDUT内に埋め込まれた適切なデバイスを通して取得され、そしてATEを通して当該技術分野において知られる方法で読み取られる。たとえば温度ダイオードをDUT内に埋め込んで、その信号をATEに送っても良い。これは従来、安全性の理由により、すなわちDUTが熱くなり過ぎたらシステムを停止させるために、行なわれている。しかし本発明のこの実施形態によれば、DUTの温度がATEからコントローラ180へ送られる。実際のDUT温度を用いることで、コントローラ180は、冷却レート(たとえば液体圧力、流量、キャビティ圧力など)を調整して、オペレータが選択した温度においてDUTが動作するようにする。冷却レートを制御するために、コントローラ180は、冷却流体スプレイのレートを調整しても良いし、またはチャンバ内圧力を変えて冷却液体の沸点を変えても良い。
最適な冷却を得るためには、異なるスプレイ・ヘッドからのスプレイが互いに交差するのを避けることが有利である。これは種々の方法で実現することができる。たとえば種々のスプレイ・ヘッドを同期させてパルス化することで、それらのスプレイが互いに交差しないようにできる。あるいは、バッフルまたはバリア(要素1111によって図示される)を設けることで、交差スプレイを防ぐことができる。
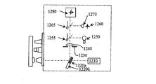
図11に、本発明のさらに他の実施形態を示す。図11の実施形態は、対象とするデバイスを示すことができる「レーザ・ポインタ」の特徴を備える。ナビゲーションの間は、光源1250を作動させ、ミラー1255を回転させて破線位置にし、ハーフ・ミラー1220aを例示した位置に配置することで、DUTを照明する。そしてDUTから反射された光をハーフ・ミラー1220aを通過させて、イメージャ1210によってイメージングする。DUT上の対象領域の像がいったん得られたら、ミラー1265を回転させて破線位置にし、ミラー1255を回転させて実線位置にする。そしてレーザ源1260を作動させて、レンズ1270を通るレーザ・ビームを形成して、DUTを照明する。DUTから反射されたレーザ光は、イメージャ1210によって、比較的小さい「レーザ・ポインタ」像としてイメージングされる。そして対象とするデバイスを「レーザ・ポインタ」が示すまで、ステージを駆動することができる。いったんそれが実現したら、レーザ源1260をターン・オフし、ミラー1265を回転させて実線位置にし、ソリッド・ミラー1220bを回転させて、ハーフ・ミラー1220aが以前占めていた光路に入れる。この位置においては、検出器1280の経路が、「レーザ・ポインタ」が以前照明した同じデバイス上に位置合わせされるため、それの発光テストを行なうことができる。
図12に、位置合わせされたデュアル・レンズ配置を有する本発明のマイクロ・スプレイ冷却の別の実施形態を示す。簡単にするために、2つのレンズ1324および1325だけを図示するが、より多くの対物レンズを用いても良い。図示するように、各対物レンズは、独自のマイクロ・スプレイ・チャンバを有する。各チャンバは、独自のポンピングおよび冷却機器を有していても良いが、各チャンバからの配管を共通のポンピングおよび冷却機器に、適切なバルブを用いて接続しても良い。各チャンバ内の対物レンズは互いに正確に位置合わせされている。そのためターゲット・デバイスが、ある対物レンズを用いて捕捉された場合、その位置合わせを用いたコントローラによってステージを移動させて、捕捉されたターゲット・デバイス上に別の対物レンズを位置付けることが、容易にできる。
本発明を、特定の実施形態を参照して説明してきたが、これらの実施形態に限定されるものではない。すなわち添付の特許請求の範囲によって規定される本発明の趣旨および範囲から逸脱することなく、当業者によって種々の変形および変更が行なわれても良い。さらに、前述した従来技術の参考文献はすべて、本明細書において参照により取り入れられている。
100、520、1130…チャンバ
105…自動テスト機器
110、260…DUT
115…テスト・ベンチ
120、685、996…集光光学部材
124…テスト・ヘッド
125…アダプタ
130、605…照明源
135、435、625、695、725、825、927、995、1255、1265…ミラー
140…フォーカシング・システム
145、1210…イメージャ
150、420、450、698、998、1280、1450…検出器
155…高速データ取得エレクトロニクス
160、160’…偏光子ミラー
162…波長板
165…ビーム・スプリッタ・ミラー
170、470、670、770、870…アパーチャ
175…ステージ
180、181…コントローラ
185…開口部
190…Zアクチュエータ
195、465、765…視野レンズ
210、220…冷却板
235…窓
240…出口
250…入口
265…周辺デバイス
280…Yアクチュエータ
370、460、560…液浸レンズ
375…センタ・マーキング
385…凸状底面
400…共焦点レーザ走査型顕微鏡
405…赤外レーザ・ダイオード
410…レンズ・システム
415…波長板
430…走査器
440…活性デバイス冷却システム
445、645、672、696、745、1125、1200…対物レンズ
455…収差補正リング
465…対物レンズ・タレット
505…対物レンズ・ハウジング
510…スリーブ
515、1175…バルブ
627、727…ダイクロイック・ミラー
628…カメラ
630…軸
665、1270、1324…レンズ
671、705、771、805、871、1250…光源
690、990…光ファイバ
697…マイクロ・クーラ
728、828、928…カメラ
1100…テスト・アダプタ
1110…Oリング
1115…DUT
1120…SIL
1135…間隙
1140…スプレイ・ハウジング
1145…配管
1150…熱交換器
1160、1165…ポンプ
1170…通路
1220…導体リング
1220a…ハーフ・ミラー
1220b…ソリッド・ミラー
1230…絶縁リング
1240…導電性シールド
1260…レーザ源
1400…ATE
1420…トリガリング回路
1430…遅延回路
1440…ゲート回路
1460…捕捉回路
1470…クエンチ
1500…ピコセカンド・タイミング・アナライザ
1510…時間デジタル変換器
1520…マルチチャネル・アナライザ

Claims (25)

  1. 論理ベクトルで刺激される集積回路チップをテストするための一体型システムであって、
    その上にチップを配置するためのテスト・ベンチと、
    前記チップへ論理ベクトルを加えるためのアダプタと、
    固体液浸レンズを備えた集光光学部材と、
    ナビゲーション・モードにおいて前記集光光学部材を通して前記チップを照明するための主照明源と、
    前記チップから反射されて前記固体液浸レンズによって集光された光を用いて前記チップをイメージングするためのイメージャと、
    チップから放出されたフォトンを検出して対応する電気信号を生成するように検出モードにおいて動作可能なフォトン・センサと、
    記電気信号を受け取って前記フォトンのタイミング情報を生成するシステム・コントローラと、を備え、
    前記光源は、前記検出モードの間、前記チップの照明を停止するインテグレーテッド・システム。
  2. 前記テスト・ベンチに下側から接続され且つ前記集光光学部材が取り付けられた可動ステージをさらに備える請求項1に記載のシステム。
  3. 前記チップの温度制御を可能にする冷却メカニズムをさらに備える請求項1に記載のシステム。
  4. 照明システムからの光を前記チップ上へまたはチップから放出されたフォトンを前記フォトン・センサ上へ選択的に送るように動作可能な光学素子をさらに備える請求項1に記載のシステム。
  5. 前記イメージャがビジコン・カメラを含む請求項1に記載のシステム。
  6. 前記光学素子が切り替え可能なミラーを含む請求項4に記載のシステム。
  7. 前記フォトン・センサが、アバランシェ・フォトダイオードを含む請求項1に記載のシステム。
  8. 前記集光光学部材の像面内に位置する機械化されたアパーチャをさらに備える請求項1に記載のシステム。
  9. 前記集光光学部材を通して前記チップを照明するための副照明源をさらに備える請求項1に記載のシステム。
  10. 前記集光光学部材と、前記フォトン・センサおよび副照明源の少なくとも一方との間の光路をもたらす光ファイバをさらに備える請求項9に記載のシステム。
  11. 前記冷却メカニズムがマイクロ・スプレイ冷却システムを含む請求項3に記載のシステム。
  12. 前記コントローラが、前記フォトン・センサをゲート制御するためのゲート・タイマをさらに備える請求項1に記載のシステム。
  13. 前記集光光学部材のフォーカシングをもたらすための前記集光光学部材を支持するZアクチュエータをさらに備える請求項1に記載のシステム。
  14. 前記Zアクチュエータを制御するオートフォーカスをさらに備える請求項13に記載のシステム。
  15. 前記フォトン検出器によって検出されるフォトンの周期的なカウントに基づいて、前記オートフォーカスがフォーカス条件を決定する請求項14に記載のシステム。
  16. 集積回路チップをテストするための一体型システムであって、
    前記チップは、前記チップに刺激信号を送って前記チップの動作条件をシミュレートするための自動テスト機器(ATE)に結合され、
    前記ATEから同期信号を受け取るコントローラと、
    前記チップの選択されたデバイスを選択的にイメージングするための光学イメージング・システムと、
    前記チップからの光放出を集光して、前記光放出を示す時間分解信号を生成するための集光システムと、
    前記光学イメージング・システムと前記集光システムとを、前記選択されたデバイスに対して配向するためのナビゲーション・システムと、
    前記コントローラによって指定された温度まで前記チップを冷却するための冷却システムと、を備えるシステム。
  17. 前記光学イメージング・システムが、前記光学イメージング・システムによって規定される視野内から対象領域を選択するように動作可能な機械式アパーチャを備える請求項16に記載のシステム。
  18. 前記冷却システムがマイクロ・スプレイ冷却システムを備える請求項17に記載のシステム。
  19. 前記集光システムが液浸レンズを備える請求項18に記載のシステム。
  20. 前記液浸レンズが両凸の液浸レンズである請求項19に記載のシステム。
  21. 前記チップからの光放出を集光するための前記集光システムがさらに、前記光放出の周期的な集光に基づいてフォーカシング信号を与える請求項16に記載のシステム。
  22. 前記集光システムが両凸の液浸レンズを備える請求項21に記載のシステム。
  23. 前記冷却システムがマイクロ・スプレイ冷却システムを備える請求項22に記載のシステム。
  24. 前記光学イメージング・システムが、前記チップ上の選択されたデバイスを照明するための光ファイバ・ケーブルに結合された照明源を備える請求項23に記載のシステム。
  25. 前記照明源が、赤外スペクトルの光を与える請求項24に記載のシステム。
JP2009202797A 2001-11-28 2009-09-02 時間分解非侵入性判断システム Expired - Fee Related JP5140049B2 (ja)

Applications Claiming Priority (2)

Application Number Priority Date Filing Date Title
US09/995,548 US6621275B2 (en) 2001-11-28 2001-11-28 Time resolved non-invasive diagnostics system
US09/995,548 2001-11-28

Related Parent Applications (1)

Application Number Title Priority Date Filing Date
JP2003547980A Division JP2005510737A (ja) 2001-11-28 2002-11-29 時間分解非侵入性診断システム

Related Child Applications (1)

Application Number Title Priority Date Filing Date
JP2012097735A Division JP5205531B2 (ja) 2001-11-28 2012-04-23 時間分解非侵入性判断システム

Publications (2)

Publication Number Publication Date
JP2010014723A true JP2010014723A (ja) 2010-01-21
JP5140049B2 JP5140049B2 (ja) 2013-02-06

Family

ID=25541938

Family Applications (3)

Application Number Title Priority Date Filing Date
JP2003547980A Withdrawn JP2005510737A (ja) 2001-11-28 2002-11-29 時間分解非侵入性診断システム
JP2009202797A Expired - Fee Related JP5140049B2 (ja) 2001-11-28 2009-09-02 時間分解非侵入性判断システム
JP2012097735A Expired - Fee Related JP5205531B2 (ja) 2001-11-28 2012-04-23 時間分解非侵入性判断システム

Family Applications Before (1)

Application Number Title Priority Date Filing Date
JP2003547980A Withdrawn JP2005510737A (ja) 2001-11-28 2002-11-29 時間分解非侵入性診断システム

Family Applications After (1)

Application Number Title Priority Date Filing Date
JP2012097735A Expired - Fee Related JP5205531B2 (ja) 2001-11-28 2012-04-23 時間分解非侵入性判断システム

Country Status (7)

Country Link
US (3) US6621275B2 (ja)
EP (1) EP1448999A1 (ja)
JP (3) JP2005510737A (ja)
KR (1) KR20040071686A (ja)
CN (1) CN100381832C (ja)
TW (1) TWI256097B (ja)
WO (1) WO2003046593A1 (ja)

Families Citing this family (99)

* Cited by examiner, † Cited by third party
Publication number Priority date Publication date Assignee Title
US6621275B2 (en) * 2001-11-28 2003-09-16 Optonics Inc. Time resolved non-invasive diagnostics system
US6594086B1 (en) * 2002-01-16 2003-07-15 Optonics, Inc. (A Credence Company) Bi-convex solid immersion lens
US6859031B2 (en) * 2002-02-01 2005-02-22 Credence Systems Corporation Apparatus and method for dynamic diagnostic testing of integrated circuits
AU2003228482A1 (en) * 2002-04-10 2003-10-27 Kendro Laboratoryb Products, Lp Automated protein crystallization imaging
US7123035B2 (en) * 2002-04-10 2006-10-17 Credence Systems Corporation Optics landing system and method therefor
US6828811B2 (en) * 2002-04-10 2004-12-07 Credence Systems Corporation Optics landing system and method therefor
US6836131B2 (en) * 2002-08-16 2004-12-28 Credence Systems Corp. Spray cooling and transparent cooling plate thermal management system
US7102374B2 (en) * 2002-08-16 2006-09-05 Credence Systems Corporation Spray cooling thermal management system and method for semiconductor probing, diagnostics, and failure analysis
US6943572B2 (en) * 2002-09-03 2005-09-13 Credence Systems Corporation Apparatus and method for detecting photon emissions from transistors
US6891363B2 (en) * 2002-09-03 2005-05-10 Credence Systems Corporation Apparatus and method for detecting photon emissions from transistors
EP1347280A1 (en) * 2002-11-13 2003-09-24 Agilent Technologies Inc. a Delaware Corporation Optical parameter measuring system with associated temperature data
US6976234B2 (en) 2003-01-13 2005-12-13 Credence Systems Corporation Apparatus and method for measuring characteristics of dynamic electrical signals in integrated circuits
WO2004083930A1 (ja) * 2003-03-20 2004-09-30 Hamamatsu Photonics K.K. 顕微鏡及び試料観察方法
TWI328691B (en) * 2003-03-20 2010-08-11 Hamamatsu Photonics Kk Solid immersion lens and microscope
EP1607784A4 (en) * 2003-03-20 2011-05-04 Hamamatsu Photonics Kk SOLID IMMERSION LENS, AND METHOD FOR OBSERVING A SAMPLE USING THE LENGTH
US20050002028A1 (en) * 2003-07-02 2005-01-06 Steven Kasapi Time resolved emission spectral analysis system
US7310230B2 (en) * 2003-08-21 2007-12-18 Delta Design, Inc. Temperature control system which sprays liquid coolant droplets against an IC-module at a sub-atmospheric pressure
US6995980B2 (en) * 2003-08-21 2006-02-07 Unisys Corporation Temperature control system which sprays liquid coolant droplets against an IC-module and directs radiation against the IC-module
US7256055B2 (en) * 2003-08-25 2007-08-14 Tau-Metrix, Inc. System and apparatus for using test structures inside of a chip during the fabrication of the chip
US7053642B2 (en) * 2003-10-01 2006-05-30 Russell Robert J Method and apparatus for enabling reliable testing of printed circuit assemblies using a standard flying prober system
JP4757636B2 (ja) * 2003-10-31 2011-08-24 浜松ホトニクス株式会社 試料観察方法及び顕微鏡、並びにこれに用いる固浸レンズ及び光学密着液
US20050094258A1 (en) * 2003-10-31 2005-05-05 Hamamatsu Photonics K.K. Solid immersion lens moving device and microscope using the same
US7576928B2 (en) * 2003-10-31 2009-08-18 Hamamatsu Photonics K.K. Solid immersion lens holder
US7227580B2 (en) * 2003-11-20 2007-06-05 Credence Systems Corporation Knife edge tracking system and method
US7012537B2 (en) * 2004-02-10 2006-03-14 Credence Systems Corporation Apparatus and method for determining voltage using optical observation
EP1566617B1 (fr) * 2004-02-20 2015-11-11 Carestream Health, Inc. Equipement et procédé de mesure de teinte dentaire
US7110172B2 (en) 2004-02-27 2006-09-19 Hamamatsu Photonics K.K. Microscope and sample observation method
US7312921B2 (en) * 2004-02-27 2007-12-25 Hamamatsu Photonics K.K. Microscope and sample observation method
JP4643994B2 (ja) * 2005-01-19 2011-03-02 浜松ホトニクス株式会社 固浸レンズホルダ
US20050220266A1 (en) * 2004-03-31 2005-10-06 Gregory Hirsch Methods for achieving high resolution microfluoroscopy
US7009173B2 (en) * 2004-06-22 2006-03-07 Credence Systems Corporation Lens mount integrated with a thermoelectrically cooled photodetector module
US7327452B2 (en) * 2004-08-09 2008-02-05 Credence Systems Corporation Light beam apparatus and method for orthogonal alignment of specimen
US7480051B2 (en) * 2005-02-10 2009-01-20 Dcg Systems, Inc. Apparatus and method for hard-docking a tester to a tiltable imager
US7259580B2 (en) * 2005-02-22 2007-08-21 International Business Machines Corporation Method and apparatus for temporary thermal coupling of an electronic device to a heat sink during test
US7202689B2 (en) * 2005-04-15 2007-04-10 International Business Machines Corporation Sensor differentiated fault isolation
US7314767B2 (en) * 2005-05-27 2008-01-01 Credence Systems Corporation Method for local wafer thinning and reinforcement
US7659981B2 (en) * 2005-08-26 2010-02-09 Dcg Systems, Inc. Apparatus and method for probing integrated circuits using polarization difference probing
US7450245B2 (en) 2005-06-29 2008-11-11 Dcg Systems, Inc. Method and apparatus for measuring high-bandwidth electrical signals using modulation in an optical probing system
US7616312B2 (en) 2005-06-29 2009-11-10 Dcg Systems, Inc. Apparatus and method for probing integrated circuits using laser illumination
US7733100B2 (en) 2005-08-26 2010-06-08 Dcg Systems, Inc. System and method for modulation mapping
JP4731262B2 (ja) * 2005-09-22 2011-07-20 ルネサスエレクトロニクス株式会社 不揮発性半導体記憶装置および、不揮発性半導体記憶装置の製造方法
FR2891626B1 (fr) * 2005-09-30 2008-02-01 Cnes Epic Dispositif d'analyse d'un circuit integre.
US7141963B1 (en) * 2005-10-21 2006-11-28 Ford Motor Company Handheld switch measurement system
US7351966B1 (en) * 2006-05-23 2008-04-01 International Business Machines Corporation High-resolution optical channel for non-destructive navigation and processing of integrated circuits
US20070291361A1 (en) * 2006-06-19 2007-12-20 Credence Systems Corporation Lens housing with integrated thermal management
US20070290702A1 (en) * 2006-06-19 2007-12-20 Credence Systems Corporation System and method for thermal management and gradient reduction
US7956625B1 (en) * 2006-10-31 2011-06-07 Dcg Systems, Inc. Undoped silicon heat spreader window
US7373844B1 (en) * 2006-12-01 2008-05-20 Ford Global Technologies, Llc Switch feel measurement apparatus
KR100826764B1 (ko) * 2006-12-08 2008-04-30 동부일렉트로닉스 주식회사 프로브 카드 내의 시모스 이미지 센서 테스트용 어뎁터
TWI357723B (en) * 2007-12-04 2012-02-01 Ind Tech Res Inst Time to digital converter apparatus
US20090147255A1 (en) * 2007-12-07 2009-06-11 Erington Kent B Method for testing a semiconductor device and a semiconductor device testing system
US8424594B2 (en) * 2007-12-10 2013-04-23 Presto Engineering, Inc. Apparatus for thermal control in the analysis of electronic devices
US8131056B2 (en) 2008-09-30 2012-03-06 International Business Machines Corporation Constructing variability maps by correlating off-state leakage emission images to layout information
US8553322B2 (en) 2008-11-04 2013-10-08 Dcg Systems, Inc. Variable magnification optics with spray cooling
US8248097B2 (en) * 2009-04-02 2012-08-21 International Business Machines Corporation Method and apparatus for probing a wafer
SG10201401887YA (en) 2009-05-01 2014-06-27 Dcg Systems Inc Systems and method for laser voltage imaging state mapping
US9075106B2 (en) * 2009-07-30 2015-07-07 International Business Machines Corporation Detecting chip alterations with light emission
JP2011108734A (ja) * 2009-11-13 2011-06-02 Toshiba Corp ウエハプローバ、および当該ウエハプローバを用いた故障解析方法
US8312413B2 (en) 2010-01-22 2012-11-13 International Business Machines Corporation Navigating analytical tools using layout software
JP5314634B2 (ja) * 2010-05-17 2013-10-16 株式会社アドバンテスト 試験装置、試験方法、およびデバイスインターフェイス
EP2428807A3 (en) * 2010-09-08 2014-10-29 DCG Systems, Inc. Laser assisted fault localization using two-photon absorption
US9201096B2 (en) 2010-09-08 2015-12-01 Dcg Systems, Inc. Laser-assisted device alteration using synchronized laser pulses
DE102010052701A1 (de) * 2010-11-26 2012-05-31 Universität Konstanz Vorrichtung zum Messen einer Ladungsträgerlebensdauer in einem Halbleitersubstrat
TWI448704B (zh) * 2011-10-12 2014-08-11 Advantest Corp 測試裝置、測試方法以及裝置介面
TWI456184B (zh) * 2011-12-19 2014-10-11 Ind Tech Res Inst 光譜檢測裝置及光譜檢測方法
US9714978B2 (en) * 2012-04-12 2017-07-25 Larry Ross At-speed integrated circuit testing using through silicon in-circuit logic analysis
JP5743958B2 (ja) * 2012-05-30 2015-07-01 キヤノン株式会社 計測方法、露光方法および装置
WO2014015128A2 (en) * 2012-07-18 2014-01-23 The Trustees Of Princeton University Multiscale spectral nanoscopy
US8749784B1 (en) 2012-10-18 2014-06-10 Checkpoint Technologies, Llc Probing circuit features in sub-32 nm semiconductor integrated circuit
US9404735B2 (en) * 2013-03-15 2016-08-02 United Technologies Corporation Multiple laser time of arrival probe
JP6535837B2 (ja) 2013-03-24 2019-07-03 ディーシージー システムズ、 インコーポレイテッドDcg Systems Inc. タイミングダイアグラム及びレーザ誘導性アップセットの同時取得のための同期パルスlada
US9030658B1 (en) 2013-05-07 2015-05-12 Checkpoint Technologies, Llc Multi-resolution optical probing system having reliable temperature control and mechanical isolation
US8873032B1 (en) 2013-05-07 2014-10-28 CheckPoint Technologies, LLC. Optical probing system having reliable temperature control
US9217855B1 (en) 2013-08-30 2015-12-22 Checkpoint Technologies, Llc Multi-magnification high sensitivity optical system for probing electronic devices
US9182580B1 (en) 2013-08-30 2015-11-10 Checkpoint Technologies, Llc Optical probe system having accurate positional and orientational adjustments for multiple optical objectives
US10345571B2 (en) 2014-01-30 2019-07-09 Karl Storz Endovision, Inc. Intelligent light source
KR102352024B1 (ko) * 2014-03-11 2022-01-14 디씨지 시스템스 인코포레이티드 Sil 팁을 플로팅하는 것을 자체 정정
SG10201501966TA (en) 2014-03-13 2015-10-29 Dcg Systems Inc System and method for fault isolation by emission spectra analysis
US9903824B2 (en) 2014-04-10 2018-02-27 Fei Efa, Inc. Spectral mapping of photo emission
CN104267272B (zh) * 2014-09-02 2017-06-16 机械工业仪器仪表综合技术经济研究所 一种基于故障插入平台的安全失效分数测试方法
US9417281B1 (en) 2014-09-30 2016-08-16 Checkpoint Technologies Llc Adjustable split-beam optical probing (ASOP)
GB201600812D0 (en) 2016-01-15 2016-03-02 Randox Lab Ltd Chemiluminescence detector
KR102278371B1 (ko) * 2016-03-09 2021-07-19 하마마츠 포토닉스 가부시키가이샤 측정 장치, 관찰 장치 및 측정 방법
US10132861B2 (en) 2016-09-16 2018-11-20 Qualcomm Incorporated Visible laser circuit fault isolation
US9964589B1 (en) * 2016-11-08 2018-05-08 Globalfoundries Singapore Pte. Ltd. System for detection of a photon emission generated by a device and methods for detecting the same
JP7042071B2 (ja) * 2016-12-20 2022-03-25 エフ・イ-・アイ・カンパニー eビーム操作用の局部的に排気された容積を用いる集積回路解析システムおよび方法
TWI627517B (zh) 2017-05-11 2018-06-21 National Taiwan Normal University 超快時間解析數位全像之方法及其裝置
JP6954775B2 (ja) * 2017-06-29 2021-10-27 浜松ホトニクス株式会社 デバイス解析装置及びデバイス解析方法
US11774283B2 (en) 2018-01-26 2023-10-03 Hamamatsu Photonics K.K. Photodetector device
CN109164773B (zh) * 2018-09-29 2020-03-27 厦门大学 一种基于LabVIEW的多功能光学测试系统及方法
JP6736651B2 (ja) * 2018-12-27 2020-08-05 浜松ホトニクス株式会社 冷却ユニット、対物レンズモジュール、半導体検査装置、半導体検査方法
CN109799421B (zh) * 2019-03-12 2021-03-23 北京卫星环境工程研究所 宇航光缆连接器的综合环境实验研究系统
JP7227193B2 (ja) * 2020-07-15 2023-02-21 浜松ホトニクス株式会社 冷却ユニット、対物レンズモジュール、半導体検査装置、半導体検査方法
US12184831B2 (en) 2021-11-10 2024-12-31 Motional Ad Llc Methods and apparatuses for testing imaging devices
CN116520113A (zh) * 2022-01-24 2023-08-01 宁波飞芯电子科技有限公司 一种测试系统中的光源装置
JP7760416B2 (ja) 2022-03-17 2025-10-27 浜松ホトニクス株式会社 冷却ユニット、対物レンズモジュール及び半導体検査装置
JP7760415B2 (ja) 2022-03-17 2025-10-27 浜松ホトニクス株式会社 冷却ユニット、対物レンズモジュール及び半導体検査装置
KR102551250B1 (ko) * 2023-05-03 2023-07-03 부경대학교 산학협력단 1d 및 2d 이미지 획득 장치를 갖춘 잉크젯 잉크액적 고속 모니터링 시스템 및 이를 이용한 고속 모니터링 방법
US12488448B2 (en) 2023-07-20 2025-12-02 Mitutoyo Corporation Machine vision system with objective lens and collision protection

Citations (3)

* Cited by examiner, † Cited by third party
Publication number Priority date Publication date Assignee Title
JPH06281700A (ja) * 1993-03-26 1994-10-07 Nippon Telegr & Teleph Corp <Ntt> 半導体装置の故障解析方法及びその故障解析装置
JPH10213634A (ja) * 1997-01-29 1998-08-11 Toshiba Corp 電磁波検出用カメラ装置
JPH113534A (ja) * 1997-04-14 1999-01-06 Toray Ind Inc 光記録装置および光記録媒体

Family Cites Families (65)

* Cited by examiner, † Cited by third party
Publication number Priority date Publication date Assignee Title
DE1472167A1 (de) 1965-11-26 1969-01-09 Leitz Ernst Gmbh Mikroskop-Immersionsobjektiv
GB1281611A (en) 1970-02-10 1972-07-12 Vickers Ltd Apochromatic microscope objectives
JPS5141355B2 (ja) 1973-02-08 1976-11-09
DE2848590A1 (de) 1978-11-09 1980-05-22 Leitz Ernst Gmbh Optische anordnung zur reflexionsmikroskopischen untersuchung biologischer gewebe und organoberflaechen
US4297032A (en) 1980-02-14 1981-10-27 The United States Of America As Represented By The Secretary Of The Navy Dark field surface inspection illumination technique
US4555767A (en) 1982-05-27 1985-11-26 International Business Machines Corporation Method and apparatus for measuring thickness of epitaxial layer by infrared reflectance
DD215640A1 (de) 1983-05-02 1984-11-14 Zeiss Jena Veb Carl Frontlinsengruppe fuer immersionsmikroskopobjektiv in hd-ausfuehrung mit hoher apertur
US4615620A (en) 1983-12-26 1986-10-07 Hitachi, Ltd. Apparatus for measuring the depth of fine engraved patterns
FR2564613B1 (fr) 1984-05-17 1987-04-30 Commissariat Energie Atomique Systeme de chronometrie electronique de haute resolution
GB2172166B (en) * 1985-03-07 1988-04-27 Marconi Company Bias lighting for telecine apparatus
US4625114A (en) 1985-07-15 1986-11-25 At&T Technologies, Inc. Method and apparatus for nondestructively determining the characteristics of a multilayer thin film structure
US4724322A (en) 1986-03-03 1988-02-09 Applied Materials, Inc. Method for non-contact xyz position sensing
US4758092A (en) 1986-03-04 1988-07-19 Stanford University Method and means for optical detection of charge density modulation in a semiconductor
US4680635A (en) 1986-04-01 1987-07-14 Intel Corporation Emission microscope
JPH065700B2 (ja) 1987-07-22 1994-01-19 株式会社日立製作所 電子回路デバイスの冷却装置
US4755874A (en) 1987-08-31 1988-07-05 Kla Instruments Corporation Emission microscopy system
US5087121A (en) 1987-12-01 1992-02-11 Canon Kabushiki Kaisha Depth/height measuring device
US4811090A (en) 1988-01-04 1989-03-07 Hypervision Image emission microscope with improved image processing capability
US4870355A (en) 1988-01-11 1989-09-26 Thermonics Incorporated Thermal fixture for testing integrated circuits
US4875006A (en) * 1988-09-01 1989-10-17 Photon Dynamics, Inc. Ultra-high-speed digital test system using electro-optic signal sampling
US5126569A (en) 1989-03-10 1992-06-30 Massachusetts Institute Of Technology Apparatus for measuring optical properties of materials
JPH0750129B2 (ja) * 1989-05-15 1995-05-31 日本電気株式会社 電位測定方法および装置
US5004307A (en) 1990-04-12 1991-04-02 The Board Of Trustees Of The Leland Stanford Junior University Near field and solid immersion optical microscope
US5057771A (en) 1990-06-18 1991-10-15 Tetronix, Inc. Phase-locked timebase for electro-optic sampling
US5270643A (en) 1990-11-28 1993-12-14 Schlumberger Technologies Pulsed laser photoemission electron-beam probe
JP3200894B2 (ja) * 1991-03-05 2001-08-20 株式会社日立製作所 露光方法及びその装置
US5208648A (en) 1991-03-11 1993-05-04 International Business Machines Corporation Apparatus and a method for high numerical aperture microscopic examination of materials
US5220403A (en) * 1991-03-11 1993-06-15 International Business Machines Corporation Apparatus and a method for high numerical aperture microscopic examination of materials
US5247392A (en) 1991-05-21 1993-09-21 Siemens Aktiengesellschaft Objective lens for producing a radiation focus in the inside of a specimen
US5220804A (en) 1991-12-09 1993-06-22 Isothermal Systems Research, Inc High heat flux evaporative spray cooling
US5282088A (en) 1992-10-19 1994-01-25 Mark Davidson Aplanatic microlens and method for making same
DE4244268A1 (de) 1992-12-28 1994-07-07 Max Planck Gesellschaft Hochauflösendes optisches System mit einer Tastspitze
US5515910A (en) 1993-05-03 1996-05-14 Micro Control System Apparatus for burn-in of high power semiconductor devices
JP3300479B2 (ja) * 1993-07-19 2002-07-08 浜松ホトニクス株式会社 半導体デバイス検査システム
US5314529A (en) 1993-09-13 1994-05-24 Tilton Donald E Entrained droplet separator
JP3478612B2 (ja) * 1993-11-16 2003-12-15 浜松ホトニクス株式会社 半導体デバイス検査システム
US5475316A (en) 1993-12-27 1995-12-12 Hypervision, Inc. Transportable image emission microscope
JPH09138243A (ja) 1995-10-25 1997-05-27 Hewlett Packard Co <Hp> 捕捉クロックの位相変調装置
US5729393A (en) 1996-04-03 1998-03-17 Digital Papyrus Corporation Optical flying head with solid immersion lens having raised central surface facing medium
US5719444A (en) 1996-04-26 1998-02-17 Tilton; Charles L. Packaging and cooling system for power semi-conductor
US6270696B1 (en) 1996-06-03 2001-08-07 Terastor Corporation Method of fabricating and integrating an optical assembly into a flying head
JPH1021166A (ja) * 1996-06-27 1998-01-23 Nec Corp 回覧電子メールの状況管理方式
US5940545A (en) * 1996-07-18 1999-08-17 International Business Machines Corporation Noninvasive optical method for measuring internal switching and other dynamic parameters of CMOS circuits
US5889593A (en) * 1997-02-26 1999-03-30 Kla Instruments Corporation Optical system and method for angle-dependent reflection or transmission measurement
US5905577A (en) * 1997-03-15 1999-05-18 Schlumberger Technologies, Inc. Dual-laser voltage probing of IC's
EP0977192A4 (en) 1997-04-14 2000-11-15 Toray Industries OPTICAL RECORDING DEVICE AND OPTICAL RECORDING MEDIUM
WO1999018466A1 (en) 1997-10-06 1999-04-15 Koninklijke Philips Electronics N.V. Spherical-aberration detection system and optical device using the same
US6172512B1 (en) 1998-02-19 2001-01-09 International Business Machines Corporation Image processing methods for the optical detection of dynamic errors in integrated circuits
US6650768B1 (en) 1998-02-19 2003-11-18 International Business Machines Corporation Using time resolved light emission from VLSI circuit devices for navigation on complex systems
US6028952A (en) 1998-02-19 2000-02-22 International Business Machines Corporation System and method for compressing and analyzing time-resolved optical data obtained from operating integrated circuits
US5880931A (en) 1998-03-20 1999-03-09 Tilton; Donald E. Spray cooled circuit card cage
JPH11273132A (ja) 1998-03-25 1999-10-08 Hitachi Ltd 光ヘッド
US6447270B1 (en) 1998-09-17 2002-09-10 Walbro Corporation Brushless coolant pump and cooling system
US6608494B1 (en) 1998-12-04 2003-08-19 Advanced Micro Devices, Inc. Single point high resolution time resolved photoemission microscopy system and method
US6140141A (en) 1998-12-23 2000-10-31 Sun Microsystems, Inc. Method for cooling backside optically probed integrated circuits
JP2003502705A (ja) 1999-06-21 2003-01-21 トラスティーズ オブ ボストン ユニバーシティ 高解像度表面下画像作成用数値絞り増加レンズ(nail)技術
US6657446B1 (en) 1999-09-30 2003-12-02 Advanced Micro Devices, Inc. Picosecond imaging circuit analysis probe and system
US6571569B1 (en) 2001-04-26 2003-06-03 Rini Technologies, Inc. Method and apparatus for high heat flux heat transfer
US6621275B2 (en) * 2001-11-28 2003-09-16 Optonics Inc. Time resolved non-invasive diagnostics system
US6819117B2 (en) 2002-01-30 2004-11-16 Credence Systems Corporation PICA system timing measurement & calibration
US6961672B2 (en) * 2002-03-05 2005-11-01 Credence Systems Coporation Universal diagnostic platform for specimen analysis
US6788093B2 (en) 2002-08-07 2004-09-07 International Business Machines Corporation Methodology and apparatus using real-time optical signal for wafer-level device dielectrical reliability studies
US6889509B1 (en) 2002-09-13 2005-05-10 Isothermal Systems Research Inc. Coolant recovery system
US6880350B2 (en) 2002-09-13 2005-04-19 Isothermal Systems Research, Inc. Dynamic spray system
US6857283B2 (en) 2002-09-13 2005-02-22 Isothermal Systems Research, Inc. Semiconductor burn-in thermal management system

Patent Citations (3)

* Cited by examiner, † Cited by third party
Publication number Priority date Publication date Assignee Title
JPH06281700A (ja) * 1993-03-26 1994-10-07 Nippon Telegr & Teleph Corp <Ntt> 半導体装置の故障解析方法及びその故障解析装置
JPH10213634A (ja) * 1997-01-29 1998-08-11 Toshiba Corp 電磁波検出用カメラ装置
JPH113534A (ja) * 1997-04-14 1999-01-06 Toray Ind Inc 光記録装置および光記録媒体

Also Published As

Publication number Publication date
CN100381832C (zh) 2008-04-16
KR20040071686A (ko) 2004-08-12
EP1448999A1 (en) 2004-08-25
US20030210057A1 (en) 2003-11-13
US7466852B2 (en) 2008-12-16
JP5140049B2 (ja) 2013-02-06
JP2005510737A (ja) 2005-04-21
US7224828B2 (en) 2007-05-29
TWI256097B (en) 2006-06-01
US20070206846A1 (en) 2007-09-06
US20030098692A1 (en) 2003-05-29
CN1592854A (zh) 2005-03-09
JP2012168191A (ja) 2012-09-06
WO2003046593A1 (en) 2003-06-05
US6621275B2 (en) 2003-09-16
JP5205531B2 (ja) 2013-06-05
TW200301528A (en) 2003-07-01

Similar Documents

Publication Publication Date Title
JP5140049B2 (ja) 時間分解非侵入性判断システム
US20050002028A1 (en) Time resolved emission spectral analysis system
US6483327B1 (en) Quadrant avalanche photodiode time-resolved detection
KR100734186B1 (ko) 집적 회로의 동적 진단 테스트를 위한 장치 및 방법
US7245133B2 (en) Integration of photon emission microscope and focused ion beam
US7123035B2 (en) Optics landing system and method therefor
JPH05308097A (ja) 放射光顕微鏡システムおよび半導体装置から発せられた光の出力画像を拡大しかつ表示するための装置
US12125669B2 (en) Thermal-aided inspection by advanced charge controller module in a charged particle system
US20050069090A1 (en) Optical alignment of X-ray microanalyzers
JP2010113355A (ja) スプレー冷却を伴う可変倍率光学系
KR102741657B1 (ko) 하전된 입자 빔을 이용한 후면 프로빙을 위한 집적 회로 준비 시스템 및 방법
US6828811B2 (en) Optics landing system and method therefor
TW202538799A (zh) 用於冷卻檢測系統之系統及方法
US11114274B2 (en) Method and system for testing an integrated circuit
JP2004020404A (ja) 半導体デバイスの計測または観察方法およびその装置
EP4621394A1 (en) Radiation beam scanning optical system and inspection apparatus
Bruce et al. Failure analysis turned upside down: A review of backside analysis techniques
CN120177491A (zh) 用于集成电路检测的短波红外光发射及荧光共焦显微系统
JP2648947B2 (ja) 半導体装置の検査装置
Pau Imaging Microscopes for Microelectronics
Yazawa et al. A Method for Failure Analysis for Devices With Simultaneous Imaging of Electron Emission and Near IR Thermoreflectance
TW201428265A (zh) 具有模擬光閘的電荷蓄積型光學偵測器

Legal Events

Date Code Title Description
A521 Request for written amendment filed

Free format text: JAPANESE INTERMEDIATE CODE: A523

Effective date: 20091016

A131 Notification of reasons for refusal

Free format text: JAPANESE INTERMEDIATE CODE: A131

Effective date: 20120131

A521 Request for written amendment filed

Free format text: JAPANESE INTERMEDIATE CODE: A523

Effective date: 20120423

TRDD Decision of grant or rejection written
A01 Written decision to grant a patent or to grant a registration (utility model)

Free format text: JAPANESE INTERMEDIATE CODE: A01

Effective date: 20121113

A01 Written decision to grant a patent or to grant a registration (utility model)

Free format text: JAPANESE INTERMEDIATE CODE: A01

A61 First payment of annual fees (during grant procedure)

Free format text: JAPANESE INTERMEDIATE CODE: A61

Effective date: 20121116

R150 Certificate of patent or registration of utility model

Free format text: JAPANESE INTERMEDIATE CODE: R150

FPAY Renewal fee payment (event date is renewal date of database)

Free format text: PAYMENT UNTIL: 20151122

Year of fee payment: 3

R250 Receipt of annual fees

Free format text: JAPANESE INTERMEDIATE CODE: R250

LAPS Cancellation because of no payment of annual fees