JP2010013059A - 車両用キャニスタの取付構造 - Google Patents

車両用キャニスタの取付構造 Download PDF

Info

Publication number
JP2010013059A
JP2010013059A JP2008177034A JP2008177034A JP2010013059A JP 2010013059 A JP2010013059 A JP 2010013059A JP 2008177034 A JP2008177034 A JP 2008177034A JP 2008177034 A JP2008177034 A JP 2008177034A JP 2010013059 A JP2010013059 A JP 2010013059A
Authority
JP
Japan
Prior art keywords
canister
guide pipe
bracket
vehicle
vehicle body
Prior art date
Legal status (The legal status is an assumption and is not a legal conclusion. Google has not performed a legal analysis and makes no representation as to the accuracy of the status listed.)
Granted
Application number
JP2008177034A
Other languages
English (en)
Other versions
JP4620760B2 (ja
Inventor
Shiro Yamamuro
史郎 山室
Current Assignee (The listed assignees may be inaccurate. Google has not performed a legal analysis and makes no representation or warranty as to the accuracy of the list.)
Honda Motor Co Ltd
Original Assignee
Honda Motor Co Ltd
Priority date (The priority date is an assumption and is not a legal conclusion. Google has not performed a legal analysis and makes no representation as to the accuracy of the date listed.)
Filing date
Publication date
Application filed by Honda Motor Co Ltd filed Critical Honda Motor Co Ltd
Priority to JP2008177034A priority Critical patent/JP4620760B2/ja
Priority to CN200910159107XA priority patent/CN101624009B/zh
Priority to DE602009000698T priority patent/DE602009000698D1/de
Priority to AT09164751T priority patent/ATE497452T1/de
Priority to EP09164751A priority patent/EP2143584B1/en
Priority to US12/498,524 priority patent/US8087486B2/en
Publication of JP2010013059A publication Critical patent/JP2010013059A/ja
Application granted granted Critical
Publication of JP4620760B2 publication Critical patent/JP4620760B2/ja
Expired - Fee Related legal-status Critical Current
Anticipated expiration legal-status Critical

Links

Images

Classifications

    • FMECHANICAL ENGINEERING; LIGHTING; HEATING; WEAPONS; BLASTING
    • F02COMBUSTION ENGINES; HOT-GAS OR COMBUSTION-PRODUCT ENGINE PLANTS
    • F02MSUPPLYING COMBUSTION ENGINES IN GENERAL WITH COMBUSTIBLE MIXTURES OR CONSTITUENTS THEREOF
    • F02M25/00Engine-pertinent apparatus for adding non-fuel substances or small quantities of secondary fuel to combustion-air, main fuel or fuel-air mixture
    • F02M25/08Engine-pertinent apparatus for adding non-fuel substances or small quantities of secondary fuel to combustion-air, main fuel or fuel-air mixture adding fuel vapours drawn from engine fuel reservoir
    • F02M25/089Layout of the fuel vapour installation
    • BPERFORMING OPERATIONS; TRANSPORTING
    • B60VEHICLES IN GENERAL
    • B60KARRANGEMENT OR MOUNTING OF PROPULSION UNITS OR OF TRANSMISSIONS IN VEHICLES; ARRANGEMENT OR MOUNTING OF PLURAL DIVERSE PRIME-MOVERS IN VEHICLES; AUXILIARY DRIVES FOR VEHICLES; INSTRUMENTATION OR DASHBOARDS FOR VEHICLES; ARRANGEMENTS IN CONNECTION WITH COOLING, AIR INTAKE, GAS EXHAUST OR FUEL SUPPLY OF PROPULSION UNITS IN VEHICLES
    • B60K15/00Arrangement in connection with fuel supply of combustion engines or other fuel consuming energy converters, e.g. fuel cells; Mounting or construction of fuel tanks
    • B60K15/03Fuel tanks
    • B60K15/035Fuel tanks characterised by venting means
    • B60K2015/03542Mounting of the venting means
    • B60K2015/03557Mounting of the venting means comprising elements of the venting device integrated in the fuel tank, e.g. vapor recovery means

Landscapes

  • Engineering & Computer Science (AREA)
  • Chemical & Material Sciences (AREA)
  • Combustion & Propulsion (AREA)
  • Mechanical Engineering (AREA)
  • General Engineering & Computer Science (AREA)
  • Supplying Secondary Fuel Or The Like To Fuel, Air Or Fuel-Air Mixtures (AREA)
  • Cooling, Air Intake And Gas Exhaust, And Fuel Tank Arrangements In Propulsion Units (AREA)
  • Vehicle Step Arrangements And Article Storage (AREA)

Abstract

【課題】キャニスタに衝突ストロークを確保して車両に後突が発生した場合にキャニスタをストロークさせることを可能にする。
【解決手段】リヤフレーム12,12に載置される車体フロア13と、この車体フロア13下に配置され、燃料タンク内で発生したガソリン蒸気を処理するキャニスタ27と、このキャニスタ27を保護するガイドパイプ28と、これらのガイドパイプ28及びキャニスタ27を車体側に支持する支持体29とを備えた車両用キャニスタの取付構造において、支持体29が、車体フロア13に溶接されガイドパイプ28を支持するガイドパイプブラケット41と、このガイドパイプブラケット41に溶接され、キャニスタ27を支持するキャニスタブラケット42とから構成され、キャニスタブラケット42の溶接強度を、ガイドパイプブラケット41の溶接強度よりも低く設定した。
【選択図】図9

Description

本発明は、燃料タンク内で発生したガソリン蒸気を処理する車両用キャニスタの取付構造に関するものである。
車両用キャニスタの取付構造として、車体フロア下に燃料タンクが配置され、車体フロア下部にある車体骨格メンバに車両用キャニスタを取付けたものが知られている。
この種の車両用キャニスタの取付構造は、燃料タンク内で発生したガソリン蒸気を処理する都合上、燃料タンクに近づけて配置することが一般的であった。
このような車両用キャニスタの取付構造として、燃料タンクの後方に車両用キャニスタを配置したものが知られている(例えば、特許文献1参照。)。
特開2006−160044公報
特許文献1の車両用キャニスタの取付構造は、車体フロア下に配置された燃料タンクと、この燃料タンクの後部に近接させて配置されるとともに、クロスメンバの下部に取付けた車両用キャニスタ(以下、「キャニスタ」と略記する)と、このキャニスタの下部に設けられたサブフレームと、キャニスタの後方に設けられた後部フレームとから構成されたものである。
しかし、車両用キャニスタの取付構造では、クロスメンバの下部にキャニスタが固定されているので、車両に後突が発生した場合に、キャニスタは車体前後方向に移動することはできない。
また、車両用キャニスタの取付構造では、燃料タンクの後部にキャニスタが近接させて配置されたので、車両に後突が発生した場合にキャニスタの逃げ場がないという課題があった。
本発明は、車体に所定の荷重が加わるまではキャニスタを十分に保護することができるとともに、車体に所定の荷重を超える荷重が作用する場合に、キャニスタを逃がすことができる車両用キャニスタの取付構造を提供することを課題とする。
請求項1に係る発明は、リヤフレームに載置される車体フロアと、この車体フロア下に配置され、燃料タンク内で発生したガソリン蒸気を処理するキャニスタと、このキャニスタを保護するガイドパイプと、これらのガイドパイプ及びキャニスタを車体側に支持する支持体とを備えた車両用キャニスタの取付構造において、支持体が、車体フロアに溶接されガイドパイプを支持するガイドパイプブラケットと、このガイドパイプブラケットに溶接され、キャニスタを支持するキャニスタブラケットとから構成され、キャニスタブラケットの溶接強度を、ガイドパイプブラケットの溶接強度よりも低く設定したことを特徴とする。
請求項2に係る発明は、ガイドパイプブラケットは、スポット溶接で車体フロアに溶接され、キャニスタブラケットはスポット溶接でガイドパイプブラケットに溶接され、キャニスタブラケットの溶接箇所を、ガイドパイプブラケットの溶接箇所より少なく設定した
ことを特徴とする。
請求項3に係る発明は、ガイドパイプが、キャニスタの下面を囲むように形成されたことを特徴とする。
請求項4に係る発明は、ガイドパイプは、ガイドパイプブラケットに取付けられる一端側取付部と、この一端側取付部から後方に延ばされ、キャニスタの一側部下面を囲む第1前後水平部と、この第1前後水平部からキャニスタ側に曲げられ、キャニスタ後下面を囲む後部水平部と、この後部水平部からキャニスタ側に曲げられ、キャニスタの他側後部下面を囲む第2前後水平部と、この第2前後水平部から上方に曲げられ、キャニスタの他側に垂直に延ばした垂直部と、この垂直部から前方に曲げられ、リヤフレームに取付けられる他端側取付部とから構成されたことを特徴とする。
請求項1に係る発明では、車両用キャニスタの取付構造が、リヤフレームに載置される車体フロアと、この車体フロア下に配置され、燃料タンク内で発生したガソリン蒸気を処理するキャニスタと、このキャニスタを保護するガイドパイプと、これらのガイドパイプ及びキャニスタを車体側に支持する支持体とから構成される。
支持体は、車体フロアに溶接されガイドパイプを支持するガイドパイプブラケットと、このガイドパイプブラケットに溶接され、キャニスタを支持するキャニスタブラケットとから構成される。
キャニスタブラケットの溶接強度が、ガイドパイプブラケットの溶接強度よりも低く設定してあるので、後突時には、キャニスタブラケットはガイドパイプブラケットから剥がれ、衝突ストロークを確保できる。この結果、キャニスタが潰れることを防止できる。また、通常の車両の使用時に、例えば、縁石などにぶつけた時には、ガイドパイプブラケットが強固に車体フロアに固定されるので十分な強度を有し、ガイドパイプブラケットに取付けたガイドパイプでキャニスタを保護することができる。
すなわち、車体に所定の荷重が加わるまではキャニスタを十分に保護することができるとともに、車体に所定の荷重を超える荷重が作用する場合に、キャニスタを逃がすことができる。
さらに、車体フロアへキャニスタとガイドパイプとを一括して取付けることができるので、キャニスタ及びガイドパイプの取付性の向上を図ることができる。
請求項2に係る発明では、キャニスタブラケットの溶接箇所を、ガイドパイプブラケットの溶接箇所より少なく設定したので、後突時には、キャニスタはガイドパイプブラケットから剥がれ、衝突ストロークを確保できる。この結果、キャニスタが潰れることを防止できる。
請求項3に係る発明では、ガイドパイプが、キャニスタの下面を囲むように形成されたので、キャニスタを縁石等から保護することができる。
請求項4に係る発明では、ガイドパイプが、ガイドパイプブラケットに取付けられる一端側取付部と、この一端側取付部から後方に延ばされ、キャニスタの一側部下面を囲む第1前後水平部と、この第1前後水平部からキャニスタ側に曲げられ、キャニスタ後下面を囲む後部水平部と、この後部水平部からキャニスタ側に曲げられ、キャニスタの他側後部下面を囲む第2前後水平部と、この第2前後水平部から上方に曲げられ、キャニスタの他側に垂直に延ばした垂直部と、この垂直部から前方に曲げられ、前記リヤフレームに取付けられる他端側取付部とから構成されたので、ガイドパイプに十分な強度を有し、キャニスタを側方及び後方の縁石から保護することができる。
本発明を実施するための最良の形態を添付図に基づいて以下に説明する。なお、図面は符号の向きに見るものとする。
図1は本発明に係る車両用キャニスタの取付構造を採用した車両の左側面図であり、図2は図1に示された車両用キャニスタの取付構造を採用した車両の底面図である。
車両10は、車体前後方向に延ばされた左右のリヤフレーム12,12と、これらのリヤフレーム12,12の間に設けられる車体フロア(フロアパネル)13と、この車体フロア13下に配置され、燃料タンク(不図示)内で発生したガソリン蒸気を処理する車両用キャニスタ27(以下、「キャニスタ27」と略記する)とを備える。
図3は図1に示された車両用キャニスタの取付構造の斜視図であり、図4は図1に示された車両用キャニスタの取付構造のキャニスタ支持体の斜視図である。
車両用キャニスタの取付構造は、燃料タンク内で発生したガソリン蒸気を処理するキャニスタ27と、キャニスタ27を保護するガイドパイプ28と、これらのキャニスタ27及びガイドパイプ28を車体側に支持する支持体29とから構成される。
支持体29は、車体フロア13に溶接されガイドパイプ28を支持するガイドパイプブラケット41と、このガイドパイプブラケット41に溶接され、キャニスタ27を支持するキャニスタブラケット42とからなる。
ガイドパイプブラケット41は、図4に示されたように、略L字のブラケットであり、車体フロア13に取付けられる車体側取付部44と、この車体側取付部44からL字に折り曲げ形成されたガイドパイプ取付部45とからなる。車体側取付部44は、7箇所にスポット溶接部(溶接箇所)51〜57が形成される。ガイドパイプ取付部45は、ガイドパイプ28を締結する溶接ナット59が設けられる。
キャニスタブラケット42は、略L字のブラケットであり、ガイドパイプブラケット41に取付けられるブラケット側取付部61と、このブラケット側取付部61からL字に折り曲げ形成されたキャニスタ取付部62とからなる。ブラケット側取付部61は、2箇所にスポット溶接部(溶接箇所)64,65が形成される。キャニスタ取付部62は、キャニスタ27を締結する溶接ナット67,67が設けられる。
キャニスタ27は、キャニスタブラケット42のキャニスタ取付部62にボルト68,68(図8参照、一方の68不図示)で締結される。
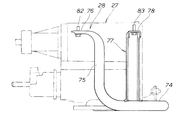
図5は図1に示された車両用キャニスタの取付構造のガイドパイプの側面図であり、図6は図1に示された車両用キャニスタの取付構造のガイドパイプの背面図であり、図7は図1に示された車両用キャニスタの取付構造のガイドパイプの底面図であり、図8は図1の8−8線断面図であり、図9は図1の9−9線断面図である。
ガイドパイプ28は、ガイドパイプブラケット41に取付けられる一端側取付部71と、この一端側取付部71から後方に延ばされ、キャニスタ27の一側部下面を囲む第1前後水平部72と、この第1前後水平部72からキャニスタ27側に曲げられ、キャニスタ27後下面を囲む後部水平部73と、この後部水平部73からキャニスタ27側に曲げられ、キャニスタ27の他側後部下面を囲む第2前後水平部74と、この第2前後水平部74から上方に曲げられ、キャニスタ27の他側に垂直に延ばした垂直部75と、この垂直部75から前方に曲げられ、左のリヤフレーム12に取付けられる他端側取付部76と、一端が第2前後水平部74の上部に溶接され、他端がリヤフレーム12に取付けられるステー部材77とからなる。
ステー部材77は、他端にリヤフレーム12に取り付けるステー側取付部78が形成される。
一端側取付部71は、ボルト81で車体フロア13に締結され、他端側取付部76は、ボルト82でリヤフレーム12に締結され、ステー側取付部78は、ボルト83でリヤフレーム12に締結される。
図1〜図4に示されたように、車両用キャニスタの取付構造は、リヤフレーム12に載置される車体フロア13と、この車体フロア13下に配置され、燃料タンク内で発生したガソリン蒸気を処理するキャニスタ27と、このキャニスタ27を保護するガイドパイプ28と、これらのガイドパイプ28及びキャニスタ27を車体側に支持する支持体29とから構成される。
支持体29は、車体フロア13に溶接されガイドパイプ28を支持するガイドパイプブラケット41と、このガイドパイプブラケット41に溶接され、キャニスタ27を支持するキャニスタブラケット42とから構成される。
キャニスタブラケット42の溶接強度が、ガイドパイプブラケット41の溶接強度よりも低く設定してあるので、後突時には、キャニスタブラケット42はガイドパイプブラケット41から剥がれ、衝突ストロークを確保できる。この結果、キャニスタ27が潰れることを防止できる。また、通常の車両の使用時に、例えば、縁石などにぶつけた時には、ガイドパイプブラケット41が強固に車体フロア13に固定されるので十分な強度を有し、ガイドパイプブラケット41に取付けたガイドパイプ28でキャニスタ27を保護することができる。
すなわち、車体に所定の荷重が加わるまではキャニスタ27を十分に保護することができるとともに、車体に所定の荷重を超える荷重が作用する場合に、キャニスタ27を逃がすことができる。
さらに、車体フロア13へキャニスタ27とガイドパイプ28とを一括して取付けることができるので、キャニスタ27及びガイドパイプ28の取付性の向上を図ることができる。
図4に示されたように、支持体29は、キャニスタブラケット42のスポット溶接部(溶接箇所)64,65を、ガイドパイプブラケット41のスポット溶接部(溶接箇所)51〜57より少なく設定したので、後突時には、キャニスタブラケット42はガイドパイプブラケット41から剥がれ、衝突ストロークを確保できる。この結果、キャニスタ27が潰れることを防止できる。
図5〜図9に示されたように、ガイドパイプ28は、キャニスタ27の下面27aを囲むように形成されたので、キャニスタ27を縁石等から保護することができる。
すなわち、ガイドパイプ28は、ガイドパイプブラケット41に取付けられる一端側取付部71と、この一端側取付部71から後方に延ばされ、キャニスタ27の一側部下面を囲む第1前後水平部72と、この第1前後水平部72からキャニスタ27側に曲げられ、キャニスタ27後下面を囲む後部水平部73と、この後部水平部73からキャニスタ27側に曲げられ、キャニスタ27の他側後部下面を囲む第2前後水平部74と、この第2前後水平部74から上方に曲げられ、キャニスタ27の他側に垂直に延ばした垂直部75と、この垂直部75から前方に曲げられ、リヤフレーム12に取付けられる他端側取付部76とから構成されたので、ガイドパイプ28に十分な強度を有し、キャニスタ27を側方及び後方の縁石から保護することができる。
また、ガイドパイプ28は、一端が第2前後水平部74の上部に溶接され、他端がリヤフレーム12に取付けられるステー部材77を備えたので、さらに、ガイドパイプ28の剛性を増すことができ、キャニスタ27を側方及び後方の縁石から保護することができる。
尚、本発明に係る車両用キャニスタの取付構造は、図4に示すように、ガイドパイプブラケット41のスポット溶接部(溶接箇所)51〜57は7箇所であり、キャニスタブラケット42のスポット溶接部(溶接箇所)64,65は2箇所であったが、、これに限定されるものではなく、キャニスタブラケットの溶接強度がガイドパイプブラケットの溶接強度よりも小さく設定されたものであればよい。
本発明に係る車両用キャニスタの取付構造は、セダンやワゴンなどの乗用車に採用するのに好適である。
本発明に係る車両用キャニスタの取付構造を採用した車両の左側面図である。 図1に示された車両用キャニスタの取付構造を採用した車両の底面図である。 図1に示された車両用キャニスタの取付構造の斜視図である。 図1に示された車両用キャニスタの取付構造のキャニスタ支持体の斜視図である。 図1に示された車両用キャニスタの取付構造のガイドパイプの側面図である。 図1に示された車両用キャニスタの取付構造のガイドパイプの背面図である。 図1に示された車両用キャニスタの取付構造のガイドパイプの底面図である。 図1の8−8線断面図である。 図1の9−9線断面図である。
符号の説明
12…リヤフレーム、13…車体フロア、27…キャニスタ、27a…下面、28…ガイドパイプ、29…支持体、28…ガイドパイプ、41…ガイドパイプブラケット、42…キャニスタブラケット、51〜57…溶接箇所(スポット溶接部)、64,65…溶接箇所(スポット溶接部)、71…一端側取付部、72…第1前後水平部、73…後部水平部、74…第2前後水平部、75…垂直部、76…他端側取付部。

Claims (4)

  1. リヤフレームに載置される車体フロアと、この車体フロア下に配置され、燃料タンク内で発生したガソリン蒸気を処理するキャニスタと、このキャニスタを保護するガイドパイプと、これらのガイドパイプ及びキャニスタを車体側に支持する支持体とを備えた車両用キャニスタの取付構造において、
    前記支持体は、前記車体フロアに溶接され前記ガイドパイプを支持するガイドパイプブラケットと、このガイドパイプブラケットに溶接され、前記キャニスタを支持するキャニスタブラケットとから構成され、
    前記キャニスタブラケットの溶接強度を、前記ガイドパイプブラケットの溶接強度よりも低く設定したことを特徴とする車両用キャニスタの取付構造。
  2. 前記ガイドパイプブラケットは、スポット溶接で前記車体フロアに溶接され、前記キャニスタブラケットはスポット溶接で前記ガイドパイプブラケットに溶接され、
    前記キャニスタブラケットの溶接箇所を、前記ガイドパイプブラケットの溶接箇所より少なく設定したことを特徴とする請求項1記載の車両用キャニスタの取付構造。
  3. 前記ガイドパイプは、前記キャニスタの下面を囲むように形成されたことを特徴とする請求項1又は請求項2記載の車両用キャニスタの取付構造。
  4. 前記ガイドパイプは、前記ガイドパイプブラケットに取付けられる一端側取付部と、この一端側取付部から後方に延ばされ、前記キャニスタの一側部下面を囲む第1前後水平部と、この第1前後水平部から前記キャニスタ側に曲げられ、前記キャニスタ後下面を囲む後部水平部と、この後部水平部から前記キャニスタ側に曲げられ、前記キャニスタの他側後部下面を囲む第2前後水平部と、この第2前後水平部から上方に曲げられ、前記キャニスタの他側に垂直に延ばした垂直部と、この垂直部から前方に曲げられ、前記リヤフレームに取付けられる他端側取付部とから構成されたことを特徴とする請求項1、請求項2又は請求項3記載の車両用キャニスタの取付構造。
JP2008177034A 2008-07-07 2008-07-07 車両用キャニスタの取付構造 Expired - Fee Related JP4620760B2 (ja)

Priority Applications (6)

Application Number Priority Date Filing Date Title
JP2008177034A JP4620760B2 (ja) 2008-07-07 2008-07-07 車両用キャニスタの取付構造
CN200910159107XA CN101624009B (zh) 2008-07-07 2009-07-06 车辆用碳罐的安装构造
DE602009000698T DE602009000698D1 (de) 2008-07-07 2009-07-07 Struktur zur Fahrzeugkanistermontage
AT09164751T ATE497452T1 (de) 2008-07-07 2009-07-07 Struktur zur fahrzeugkanistermontage
EP09164751A EP2143584B1 (en) 2008-07-07 2009-07-07 Vehicular Canister Mounting Structure
US12/498,524 US8087486B2 (en) 2008-07-07 2009-07-07 Vehicular canister mounting structure

Applications Claiming Priority (1)

Application Number Priority Date Filing Date Title
JP2008177034A JP4620760B2 (ja) 2008-07-07 2008-07-07 車両用キャニスタの取付構造

Publications (2)

Publication Number Publication Date
JP2010013059A true JP2010013059A (ja) 2010-01-21
JP4620760B2 JP4620760B2 (ja) 2011-01-26

Family

ID=40935764

Family Applications (1)

Application Number Title Priority Date Filing Date
JP2008177034A Expired - Fee Related JP4620760B2 (ja) 2008-07-07 2008-07-07 車両用キャニスタの取付構造

Country Status (6)

Country Link
US (1) US8087486B2 (ja)
EP (1) EP2143584B1 (ja)
JP (1) JP4620760B2 (ja)
CN (1) CN101624009B (ja)
AT (1) ATE497452T1 (ja)
DE (1) DE602009000698D1 (ja)

Cited By (1)

* Cited by examiner, † Cited by third party
Publication number Priority date Publication date Assignee Title
WO2016031048A1 (ja) * 2014-08-29 2016-03-03 本田技研工業株式会社 車体床下部構造

Families Citing this family (11)

* Cited by examiner, † Cited by third party
Publication number Priority date Publication date Assignee Title
DE102011009636A1 (de) * 2011-01-27 2012-08-02 GM Global Technology Operations LLC (n. d. Ges. d. Staates Delaware) Anordnung zur Befestigung eines Kraftstoffbehälters an einer Fahrzeugkarosserie
US20140188997A1 (en) * 2012-12-31 2014-07-03 Henry Will Schneiderman Creating and Sharing Inline Media Commentary Within a Network
US8814105B2 (en) * 2013-01-02 2014-08-26 Morris Azad Apparatus for hanging an article
US10466269B2 (en) * 2013-02-19 2019-11-05 Calamp Corp. Systems and methods for low latency 3-axis accelerometer calibration
CN104175868B (zh) * 2013-05-21 2016-12-28 重庆长安汽车股份有限公司 汽车碳罐安装结构
JP6145486B2 (ja) * 2015-09-29 2017-06-14 本田技研工業株式会社 鞍乗り型車両
EP3442527B1 (en) * 2016-04-14 2024-06-26 Chromadex Inc. Use of nicotinamide riboside in infant formula
CN107323253B (zh) * 2016-04-29 2020-07-28 长城汽车股份有限公司 车辆
US10767600B2 (en) 2016-12-22 2020-09-08 Polaris Industries Inc. Evaporative emissions control for a vehicle
US11512670B2 (en) 2019-07-03 2022-11-29 Polaris Industries Inc. Evaporative emissions control for a vehicle
FR3149582B1 (fr) * 2023-06-07 2025-11-21 Renault Sas Véhicule automobile comprenant un ensemble de protection du réservoir de carburant

Citations (3)

* Cited by examiner, † Cited by third party
Publication number Priority date Publication date Assignee Title
JPS63145125A (ja) * 1986-12-05 1988-06-17 Nissan Motor Co Ltd キヤニスタの配置構造
JPH10175568A (ja) * 1996-12-19 1998-06-30 Toyota Motor Corp 車両用ペダル支持構造
JP2007162539A (ja) * 2005-12-13 2007-06-28 Honda Motor Co Ltd キャニスタの車両への配置構造

Family Cites Families (8)

* Cited by examiner, † Cited by third party
Publication number Priority date Publication date Assignee Title
JPS56124515A (en) * 1980-03-07 1981-09-30 Nissan Motor Co Ltd Fixing structure of fuel tank
JP3357680B2 (ja) * 1992-01-18 2002-12-16 マツダ株式会社 自動車の下部車体構造
JP3241552B2 (ja) * 1994-11-21 2001-12-25 トヨタ自動車株式会社 キャニスタの取付構造
US6105708A (en) * 1997-08-08 2000-08-22 Suzuki Motor Corporation Piping device in atmospheric side of canister for vehicle
JP4691971B2 (ja) 2004-12-06 2011-06-01 日産自動車株式会社 車両のキャニスタ配設構造
JP4542516B2 (ja) * 2006-03-02 2010-09-15 本田技研工業株式会社 キャニスタのドレンパイプ
DE102007058197B4 (de) * 2007-12-04 2017-12-28 Dr. Ing. H.C. F. Porsche Aktiengesellschaft Hybridfahrzeug
JP4500867B2 (ja) * 2008-07-07 2010-07-14 本田技研工業株式会社 車体後部構造

Patent Citations (3)

* Cited by examiner, † Cited by third party
Publication number Priority date Publication date Assignee Title
JPS63145125A (ja) * 1986-12-05 1988-06-17 Nissan Motor Co Ltd キヤニスタの配置構造
JPH10175568A (ja) * 1996-12-19 1998-06-30 Toyota Motor Corp 車両用ペダル支持構造
JP2007162539A (ja) * 2005-12-13 2007-06-28 Honda Motor Co Ltd キャニスタの車両への配置構造

Cited By (1)

* Cited by examiner, † Cited by third party
Publication number Priority date Publication date Assignee Title
WO2016031048A1 (ja) * 2014-08-29 2016-03-03 本田技研工業株式会社 車体床下部構造

Also Published As

Publication number Publication date
CN101624009A (zh) 2010-01-13
EP2143584B1 (en) 2011-02-02
CN101624009B (zh) 2012-11-21
JP4620760B2 (ja) 2011-01-26
ATE497452T1 (de) 2011-02-15
US8087486B2 (en) 2012-01-03
US20100001031A1 (en) 2010-01-07
DE602009000698D1 (de) 2011-03-17
EP2143584A1 (en) 2010-01-13

Similar Documents

Publication Publication Date Title
JP4620760B2 (ja) 車両用キャニスタの取付構造
JP3439432B2 (ja) 車両の前部構造
CN104349967B (zh) 车身后部结构
JP6235622B2 (ja) 自動車の車体構造
CN110920752B (zh) 悬架副车架结构
JP5382494B2 (ja) キャニスタの取付構造
JP4700031B2 (ja) 車両用キャニスタの取付構造
JP6211308B2 (ja) 車両用燃料供給装置
JP5568606B2 (ja) 車両用部品の支持構造
JP4951461B2 (ja) 車体前部構造
CN101327814B (zh) 儿童座椅安装用杆的安装结构
JP2007283884A (ja) 自動車の下部構造
JP2019188924A (ja) 車両
JP2015116960A (ja) キャブオーバー型車両の構造
JP5581297B2 (ja) 車体後部
JP2001130450A (ja) 自動車の車体前部構造
JP2005067268A (ja) キャブオーバー型車の車体前部構造
JPH10278847A (ja) キャブの衝突安全構造
JP4581621B2 (ja) 車両の燃料タンク支持構造
JP2009184619A (ja) 車体の前部構造
JP5145813B2 (ja) 燃料タンク配置構造
JP2020050210A (ja) サブフレーム構造
JP2008143233A (ja) 車両前部の車体構造
JP2009286157A (ja) 車体下部構造
JP2025010816A (ja) 車両の下部構造

Legal Events

Date Code Title Description
A131 Notification of reasons for refusal

Free format text: JAPANESE INTERMEDIATE CODE: A131

Effective date: 20100330

A521 Request for written amendment filed

Free format text: JAPANESE INTERMEDIATE CODE: A523

Effective date: 20100527

TRDD Decision of grant or rejection written
A01 Written decision to grant a patent or to grant a registration (utility model)

Free format text: JAPANESE INTERMEDIATE CODE: A01

Effective date: 20101026

A01 Written decision to grant a patent or to grant a registration (utility model)

Free format text: JAPANESE INTERMEDIATE CODE: A01

A61 First payment of annual fees (during grant procedure)

Free format text: JAPANESE INTERMEDIATE CODE: A61

Effective date: 20101028

FPAY Renewal fee payment (event date is renewal date of database)

Free format text: PAYMENT UNTIL: 20131105

Year of fee payment: 3

R150 Certificate of patent or registration of utility model

Free format text: JAPANESE INTERMEDIATE CODE: R150

Ref document number: 4620760

Country of ref document: JP

Free format text: JAPANESE INTERMEDIATE CODE: R150

R250 Receipt of annual fees

Free format text: JAPANESE INTERMEDIATE CODE: R250

LAPS Cancellation because of no payment of annual fees