JP2010007701A - 摺動式トリポード型等速ジョイント - Google Patents

摺動式トリポード型等速ジョイント Download PDF

Info

Publication number
JP2010007701A
JP2010007701A JP2008164967A JP2008164967A JP2010007701A JP 2010007701 A JP2010007701 A JP 2010007701A JP 2008164967 A JP2008164967 A JP 2008164967A JP 2008164967 A JP2008164967 A JP 2008164967A JP 2010007701 A JP2010007701 A JP 2010007701A
Authority
JP
Japan
Prior art keywords
tripod
outer ring
pair
power transmission
constant velocity
Prior art date
Legal status (The legal status is an assumption and is not a legal conclusion. Google has not performed a legal analysis and makes no representation as to the accuracy of the status listed.)
Granted
Application number
JP2008164967A
Other languages
English (en)
Other versions
JP5240506B2 (ja
Inventor
Yoshinari Sakai
良成 酒井
Tatsuya Yoshii
辰也 吉井
Koichiro Mizuno
浩一郎 水野
Current Assignee (The listed assignees may be inaccurate. Google has not performed a legal analysis and makes no representation or warranty as to the accuracy of the list.)
JTEKT Corp
Original Assignee
JTEKT Corp
Priority date (The priority date is an assumption and is not a legal conclusion. Google has not performed a legal analysis and makes no representation as to the accuracy of the date listed.)
Filing date
Publication date
Priority to JP2008164967A priority Critical patent/JP5240506B2/ja
Application filed by JTEKT Corp filed Critical JTEKT Corp
Priority to CN201310263091.3A priority patent/CN103352925B/zh
Priority to CN200980132142.0A priority patent/CN102124243B/zh
Priority to EP13002280.9A priority patent/EP2623809B1/en
Priority to EP13002278.3A priority patent/EP2623807B1/en
Priority to EP09770158.5A priority patent/EP2299135B1/en
Priority to US12/737,243 priority patent/US8540581B2/en
Priority to CN201310263095.1A priority patent/CN103352926B/zh
Priority to CN201310263957.0A priority patent/CN103352927B/zh
Priority to EP13002279.1A priority patent/EP2623808B1/en
Priority to PCT/JP2009/061411 priority patent/WO2009157448A1/ja
Publication of JP2010007701A publication Critical patent/JP2010007701A/ja
Priority to US13/495,997 priority patent/US8454448B2/en
Priority to US13/523,202 priority patent/US8376867B2/en
Priority to US13/523,181 priority patent/US8550924B2/en
Priority to US13/937,034 priority patent/US8727895B2/en
Application granted granted Critical
Publication of JP5240506B2 publication Critical patent/JP5240506B2/ja
Expired - Fee Related legal-status Critical Current
Anticipated expiration legal-status Critical

Links

Images

Landscapes

  • Rolling Contact Bearings (AREA)

Abstract

【課題】ローラユニットの背面側が軌道溝に大きな力を付与することを防止できる摺動式トリポード型等速ジョイントを提供する。
【解決手段】外輪10の軌道溝11の側面の両側からトリポード軸部22を挟むように配置され、且つ、トリポード軸部22に対して揺動可能に設けられる一対の中間部材40a、40bと、軌道溝11の側面と一対の中間部材40a、40bの軌道溝11の側面に対向する動力伝達面42との間に、軌道溝11の側面に沿って転動可能に設けられる複数の転動体50と、転動体50が一対の中間部材40a、40bの外周を循環可能となるように転動体50を支持する保持器60とを備える。
【選択図】図3

Description

本発明は、摺動式トリポード型等速ジョイントに関するものである。
従来の摺動式トリポード型等速ジョイントとして、例えば、特開2000−256694号公報(特許文献1)に記載されたものがある。特許文献1に記載の摺動式トリポード型等速ジョイントは、トリポード軸部が円柱状をなしており、ローラの内周面が円筒状をなしている。この場合、ローラは、常にトリポード軸部に対して同軸上に位置している。そのため、ジョイント角を付加したときに、ローラが軌道溝(ローラ溝)を転動しようとする方向と、軌道溝の延びる方向とが一致しない状態となる。このことにより、ローラと軌道溝との間に滑りが発生し、その結果、ジョイント軸方向に誘起スラスト力が発生する。この誘起スラスト力は、車体の振動や騒音の発生原因となる。
そこで、誘起スラスト力を低減するために、例えば、特開2006−162056号公報(特許文献2)に記載されたものがある。特許文献2に記載の摺動式トリポード型等速ジョイントにおいて、トリポード軸部の外周面が球面凸状をなし、それに当接するローラユニットを構成する内ローラの内周面が円筒状をなしている。これにより、トリポード軸部がローラユニットに対して揺動可能となり、ローラユニットを構成する外ローラが軌道溝を転動しようとする方向と、軌道溝の延びる方向とが常に一致できるため、外ローラと軌道溝との間に滑りが発生しないようにできる。その結果、誘起スラスト力を低減することができる。
また、他の構成として、特開昭63−163031号公報(特許文献3)および特許第2763624号公報(特許文献4)に記載されたものがある。特許文献3に記載の摺動式トリポード型等速ジョイントは、トリポード軸部の外側に一対の中間部材を設け、それぞれの中間部材と軌道溝の側面との間にニードルを配置した構成からなる。また、特許文献4に記載の摺動式トリポード型等速ジョイントは、トリポード軸部の外周に筒状の一体的な中間部材を設け、一体的な中間部材の外周面をニードルが循環可能とし、且つ、ニードルが中間部材と軌道溝の側面とに沿って転動する構成からなる。
特開2000−256694号公報 特開2006−162056号公報 特開昭63−163031号公報 特許第2763624号公報
ここで、特許文献2に記載の等速ジョイントにおいては、ジョイント角を付加したときには、トリポード軸部がローラユニットに対して、トリポード軸部の軸方向に摺動する。そのため、これまでの摺動式トリポード型等速ジョイントでは、内ローラの内周面のうちトリポード軸部に当接する位置が変化する。これにより、ローラユニットが外輪の軌道溝の延びる方向回りに揺動するように動作する。そのため、ローラユニットのうち、外輪の軌道溝と動力伝達を行っている部位の背面側が、軌道溝に当接し、ローラユニットと軌道溝との間にて摩擦力が発生し、その結果、誘起スラスト力が大きくなるおそれがある。また、軌道溝とローラユニットとの隙間を大きくとることで、背面側の当接を防ぐことが考えられるが、このような構成ではローラユニットの回転ガタが大きくなるおそれがある。
また、特許文献3に記載の等速ジョイントにおいては、ジョイント角が小さい場合においては、ニードルが軌道溝を転動する状態となる。しかし、ニードルが軌道溝の延びる方向に有限の個数に制限されているため、ジョイント角を大きくすると、ニードルが軌道溝および中間部材に対して滑りを生じる。この滑りが、スラスト力を誘起する。
一方、特許文献4に記載の等速ジョイントにおいては、ニードルが循環するような構成であるため、ニードルが軌道溝および中間部材に対して転動する状態となり、滑りが生じることを防止できる。しかし、中間部材が一体的な構成であるため、特許文献2に記載の等速ジョイントにおける問題と同様の問題を生じる。つまり、動力伝達を行っている部位の背面側において、ニードルを介して中間部材が外輪に力を付与する状態が発生し得る。このように、背面側における力の発生が、スラスト力を誘起する。
本発明は、このような事情に鑑みてなされたものであり、外輪の軌道溝に当接する部材が軌道溝に対して確実に転動する構成とし、且つ、トリポード軸部がローラユニットに対してトリポード軸部の軸方向に摺動する場合であっても、ローラユニットの背面側が軌道溝に大きな力を付与することを防止できる摺動式トリポード型等速ジョイントを提供することを目的とする。
(手段1)手段1に係る摺動式トリポード型等速ジョイントは、
筒状からなり、内周面に外輪回転軸方向に延びる3本の軌道溝が形成された外輪と、
シャフトに連結されるボス部、および、前記ボス部の外周面からそれぞれ前記ボス部の径方向外方に延びるように立設されそれぞれの前記軌道溝に挿入される3本のトリポード軸部を備えるトリポードと、
前記軌道溝の側面の両側から前記トリポード軸部を挟むように配置され、且つ、前記トリポード軸部に対して揺動可能に設けられる一対の中間部材と、
前記軌道溝の側面と前記一対の中間部材の前記軌道溝の側面に対向する動力伝達面との間に、前記軌道溝の側面に沿って転動可能に設けられる複数の転動体と、
前記転動体が前記一対の中間部材の外周を循環可能となるように前記転動体を支持する保持器と、
を備えることを特徴とする。
本発明によれば、転動体が軌道溝を転動可能となるように、一対の中間部材の外周を循環する構成であるため、外輪の軌道溝に当接する部材が軌道溝に対して確実に転動する構成となる。従って、外輪の軌道溝に当接する部材が、軌道溝に対して滑りが生じることを防止できるため、このことによる誘起スラスト力の発生を防止できる。
また、特許文献2、4の等速ジョイントのローラユニットは、動力伝達時にトリポード軸部が摺動して内ローラの内周面のうちトリポード軸部に当接する位置が変化するので、外輪の軌道溝の延びる方向回りに一体的に揺動し、動力伝達を行っている部位の背面側で軌道溝と当接するため、上記のような問題が発生していた。
これに対して、本発明は、トリポード軸部を挟むように配置され、且つ、トリポード軸部に揺動可能に設けられる一対の中間部材を備えている。つまり、一対の中間部材は、それぞれ独立している。このようにすることで、動力伝達側で発生するトリポード軸部による荷重位置が変化したとしても、動力伝達側の中間部材の動作が、その背面側の中間部材の動作へ影響を及ぼすことがない。従って、ローラユニットの背面側が軌道溝に大きな力を付与することを防止できるので、誘起スラスト力の発生を大幅に低減することができる。
ここで、「ローラユニット」とは、トリポード軸部からの動力を外輪の軌道溝に伝達する部材から構成され、例えば、特許文献2のトリポード型等速ジョイントにおけるローラユニットは、内ローラ、外ローラ、ローラ支持体およびスナップリングなどで構成される。本発明のトリポード型等速ジョイントにおけるローラユニットは、中間部材、転動体および保持器から構成される。
(手段2)手段1の摺動式トリポード型等速ジョイントにおいて、
前記トリポード軸部の外周面は球面凸状であり、
前記外輪回転軸と前記シャフト回転軸が一致している姿勢において、
前記転動体のトリポード軸方向の幅中心を通りトリポード軸と直交する平面におけるトリポード軸上の点と、前記外輪回転軸との距離を外輪PCRとし、
前記トリポード軸部の外周面の曲率中心と、前記シャフト回転軸との距離をトリポードPCRとし、
前記トリポードPCRは、前記外輪PCRより大きく設定されるとよい。
ここで、仮に、外輪回転軸とシャフト回転軸が一致する姿勢で外輪PCR(ピッチ円半径)とトリポードPCR(ピッチ円半径)とを一致するように設定した場合には、ジョイント角を付加して動力伝達した際に、トリポード軸部とローラユニットの接触領域がローラユニットの幅方向に摺動し、その摺動幅の中心がローラユニットに対して外輪径方向内側に位置することになる。そのため、例えば、転動体に球体を適用した場合には、トリポード軸部のローラユニットに対する荷重位置がローラユニットの幅中心から離れるほど、回転ガタが増加するおそれがある。また、転動体にニードルを適用した場合には、ニードルが偏磨耗するおそれがある。
そこで、トリポードPCRを外輪PCRより大きく設定することで、所定のジョイント角を付加して動力伝達した際に、トリポード軸部とローラユニットの接触領域の摺動幅の中心がローラユニットに対して外輪径方向中央付近に位置することができる。結果として、回転ガタを低減することができ、且つ、ニードルなどの転動体が偏磨耗することを防ぐことができる。ただし、トリポードPCRと外輪PCRとが一致する場合に比べて、トリポードPCRが外輪PCRより大きい場合には、トリポード軸部によるローラユニットへの荷重位置が外輪径方向外側に位置する。そのため、ローラユニットが動力伝達の背面側にて、外輪の軌道溝に接触する可能性が高まる。しかし、一対の中間部材が独立しているため、動力伝達の背面側における軌道溝とローラユニットとの隙間を大きくとることなく、両者の接触を回避できる。
(手段3)手段1または2の摺動式トリポード型等速ジョイントにおいて、
前記一対の中間部材には、循環する前記転動体を前記動力伝達面へ円滑に接触案内するように、前記動力伝達面に対して滑らかな中間部材導入面を形成するとよい。
ここで、一対の中間部材のうち動力伝達を行っている側の部材は、トリポード軸部と外輪に対して位置決めされる。一方、保持器は、動力伝達には寄与しない部材であるため、保持器の位置は安定しているものではない。そのため、位置が安定していない保持器から、中間部材の動力伝達面へ、転動体を所定の姿勢で進入させることは容易ではない。そこで、中間部材の動力伝達面と、その動力伝達面へ転動体を進入する中間部材導入面とを同一部材に形成することで、動力伝達面へ進入する転動体の姿勢を安定して整えることができる。
(手段4)手段3の摺動式トリポード型等速ジョイントにおいて、
前記保持器により循環する前記転動体の軌跡である循環路は、
前記動力伝達面を移動する前記転動体の循環路であって前記動力伝達面に倣う第一の循環路と、
前記中間部材導入面を移動する前記転動体の循環路であって前記中間部材導入面に倣い且つ前記第一の循環路に滑らかに接続する第二の循環路と、
前記第二の循環路のうち前記第一の循環路と反対側端部に滑らかに接続する第三の循環路と、を有するとよい。
ここで、中間部材導入面は、軌道溝との間で動力を伝達する部位ではないため、中間部材導入面を移動する転動体にそれほど大きな荷重が付加されていない。そのため、第三の循環路から中間部材導入面に倣う第二の循環路へ転動体を安定して進入させることが可能となる。結果として、第三の循環路から第二の循環路へ、さらに、第二の循環路から動力伝達面に倣う第一の循環路へ、転動体を滑らかに移動させることができる。
(手段5)手段1〜4のいずれかの摺動式トリポード型等速ジョイントにおいて、
前記保持器は、前記一対の中間部材に対して動力伝達方向に規制されていないようにするとよい。
例えば、一対の中間部材のうち軌道溝の側面に対向する全ての面(動力伝達面および中間部材導入面を含む)と保持器との間に隙間を設ける。これにより、保持器が、動力伝達の背面側において、転動体が外輪の軌道溝へ力を付与するように作用することを防止できる。従って、確実に、上記効果を奏することができる。
(手段6)手段1〜5のいずれかの摺動式トリポード型等速ジョイントにおいて、
前記トリポード軸部の外周面は、球面凸状であり、
前記一対の中間部材の内面は、前記トリポード軸部の外周面に嵌合される球面凹状であってもよい。
トリポード軸部と一対の中間部材は揺動可能に球面嵌合などの構成とすることにより、中間部材の単位面積当たりの荷重(面圧)が低減され、中間部材の耐久性を向上させることができる。また、中間部材は、摺動するトリポード軸部に従動するので、トリポード軸部に対して位置が定まり安定的に動力伝達することができる。さらに、本発明では、一対の中間部材はトリポード軸部を挟むように配置されるので、その内面を全て球面凹状に容易に形成することができる。従って、トリポード軸部と一対の中間部材との動力伝達面積を増加することができ、また、トリポード軸部と中間部材がアンギュラコンタクトする場合にはアンギュラコンタクトする2箇所の点を更に離間し安定化を図ることができる。
(手段7)手段1〜5の摺動式トリポード型等速ジョイントにおいて、
前記転動体は、円柱状のニードルであり、
前記外輪回転軸と前記シャフト回転軸が一致している姿勢において、
前記保持器は、前記ニードルの円柱軸方向が前記トリポード軸方向と平行となるように前記ニードルを支持し、
前記一対の中間部材は、前記ニードルに対し前記外輪径方向に摺動可能な前記動力伝達面を形成してもよい。
これにより、ニードルが外輪の軌道溝側面に対し円柱軸方向に亘り当接して動力伝達するので、ローラユニットは全体として回転ガタが小さく、安定した動力伝達ができる。
(手段8)手段1〜5の摺動式トリポード型等速ジョイントにおいて、
また、転動体は、球状またはバレル状コロであり、
外輪回転軸とシャフト回転軸が一致している姿勢において、
一対の中間部材は、転動体に対し外輪径方向に揺動可能な動力伝達面を形成されてもよい。
転動体が球状の場合は、単純な形状で剛性が高く最も滑らかに循環可能なので、大きな動力でも安定して伝達することができる。また、転動体がバレル状コロの場合は、球状に比してトリポード軸直交方向幅を小さくできるので、ローラユニットの全幅を縮小化することができる。さらに、中間部材は、転動体に対し外輪径方向に揺動可能とすることで、摺動するトリポード軸部の位置に応じて転動体へ動力を伝達することができる。ここで、バレル状コロとは、柱状であり、柱延伸直交方向に切断した断面が円形からなり、柱延伸方向に切断した断面における外周面に相当する部分が円弧凸状となっている。
以下、本発明の摺動式トリポード型等速ジョイント(以下、単に「等速ジョイント」と称する。)を具体化した実施形態について図面を参照しつつ説明する。ここで、本実施形態の等速ジョイントは、車両の動力伝達シャフトの連結に用いる場合を例に挙げて説明する。例えば、ディファレンシャルギヤに連結された軸部とドライブシャフトの中間シャフトとの連結部位に用いる場合である。
<第一実施形態>
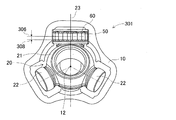
第一実施形態の等速ジョイント1について、図1〜図8を参照して説明する。図1は、第一実施形態の等速ジョイント1の一部の組付け状態における、外輪10の開口側から見た図である。図2は、等速ジョイント1の一部の径方向断面図である。図3は、ローラユニット30の斜視図である。図4(a)は、ローラユニット30の平面図であり、図4(b)は、ローラユニット30のA−A断面図(短径側の断面図)であり、図4(c)は、ローラユニット30のB−B部分断面図(長径側の部分断面を含む図)である。図5は、一対の中間部材40の一つの斜視図である。図6(a)は、中間部材40の正面図であり、図6(b)は、中間部材40のE−E部分断面図であり、図6(c)は、中間部材40のF方向矢視図であり、図6(d)は、中間部材40のG−G断面図であり、図6(e)は、中間部材40のH−H断面図である。図7は、保持器60の斜視図である。図8(a)は、保持器60の平面図であり、図8(b)は、保持器60のC−C断面図(短径側の断面図)であり、図8(c)は、保持器60のD−D断面図(長径側の部分断面を含む図)である。
図1および図2に示すように、等速ジョイント1は、外輪10と、トリポード20と、ローラユニット30とから構成される。
外輪10は、筒状(例えば、有底筒状)に形成されており、一端側がディファレンシャルギヤ(図示せず)に連結されている。そして、外輪10の筒状部分の内周面には、外輪軸方向(図1の前後方向)に延びる軌道溝11が、外輪軸の周方向に等間隔に3本形成されている。各軌道溝11における溝延伸方向に直交する断面形状が、コの字形をなしている。つまり、各軌道溝11は、ほぼ平面状に形成された溝底面と、溝底面に直交する平面状に形成され且つそれぞれ平行に対向する側面とを備える。
さらに、この軌道溝11の両開口縁には、軌道溝11の開口幅を狭める係止突起12が形成されている。この係止突起12は、後述するローラユニット30を構成する保持器60の位置を規制するためのものである。つまり、係止突起12により、保持器60が軌道溝11の内部に常に位置するようになる。
トリポード20は、外輪10の筒状部分の内側に配置されている。このトリポード20は、ボス部21と、3本のトリポード軸部22とを備える。ボス部21は、筒状からなり、内周側には内周スプライン21aが形成されている。この内周スプライン21aは、中間シャフト(図示せず)の端部の外周スプラインに嵌合連結される。また、ボス部21の外周面は、ほぼ球面凸状に形成されている。
それぞれのトリポード軸部22は、ボス部21の外周面からそれぞれボス部21の径方向外方に延びるように立設されている。これらのトリポード軸部22は、ボス部21の周方向に等間隔(120deg間隔)に形成されている。そして、それぞれのトリポード軸部22の少なくとも先端部は、外輪10のそれぞれの軌道溝11内に挿入されている。それぞれのトリポード軸部22の外周面は、球面凸状に形成されている。
ローラユニット30は、図3および図4に示すように、全体形状としては環状からなり、トリポード軸部22の外周側に配置されている。さらに、ローラユニット30は、軌道溝11が延びる方向に移動可能となるように、軌道溝11に嵌合されている。このローラユニット30は、中間部材40と、複数の転動体50と、保持器60とから構成される。
中間部材40の全体形状としての外形は、ほぼ矩形に形成されている。さらに、中間部材40を全体としてみた場合に、中間部材40の中央には、円形孔に相当する部分が形成されている。この中間部材40は、一対の部材40a、40bからなる。一対の中間部材40a、40bは、トリポード軸部22の中心軸(「トリポード軸」とも称する)および中間シャフトの回転軸を通る平面に対して対称な形状からなるように別体で構成され、それぞれ独立している。そして、一対の中間部材40a、40bは、図2に示すように、軌道溝11の側面の両側からトリポード軸部22を挟むように配置されている。つまり、両中間部材40a、40bは、動力伝達方向(外輪回転軸回りまたは中間シャフト回転軸回りの方向)の両側からトリポード軸部22を挟むように配置されている。そして、一対の中間部材40a、40bは、トリポード軸部22に対して、外輪10の回転軸方向に揺動可能であり、且つ、外輪10の周方向に揺動可能に設けられている。
各中間部材40a、40bの詳細な形状について図5および図6(a)〜(d)を参照して説明する。各中間部材40a、40bの表面は、トリポード接触面41と、動力伝達面42と、中間部材導入面43と、軸方向端面44、45を有している。ここで、一対の中間部材40a、40bを一体として見た場合に、トリポード接触面41が内面を形成し、動力伝達面42、中間部材導入面43および軸方向端面44、45が外面を形成する。
トリポード接触面41は、トリポード軸部22に対して、外輪10の軸方向および外輪10の周方向と揺動可能に接触するように部分球面凹状に形成されている。トリポード接触面41における球面中心は、トリポード接触面41の図6(a)の左右方向幅(中間部材40の厚み)の中央とトリポード接触面41の図6(b)の上下方向幅(中間部材40における外輪10の軸方向の幅)の中央とを通る直線上に位置している。
動力伝達面42および中間部材導入面43は、トリポード接触面41の裏面側、すなわち図6(b)の右側に設けられている。動力伝達面42は、平面状で矩形状に形成されている。そして、動力伝達面42が軌道溝11の側面に平行となるように、各中間部材40a、40bは配置される。つまり、外輪10の回転軸と中間シャフトの回転軸が一致している姿勢(ジョイント角0deg)において、動力伝達面42は、トリポード軸部22の中心軸と中間シャフトの回転軸を通る平面に平行となる。さらに、この動力伝達面42は、図6(b)の上下方向のうち中央部分に位置し、図6(b)の上下方向幅の3分の2程度の幅を有している。つまり、トリポード接触面41のうち最も深い部位の裏面側には、動力伝達面42が位置している。そして、動力伝達面42は、複数の転動体50に接触し得る範囲を有している。
中間部材導入面43は、動力伝達面42に隣り合う両側に形成されている。この中間部材導入面43は、僅かに湾曲した曲面からなり、動力伝達面42に対して滑らかに(段差を有さず連続的に)形成されている。中間部材導入面43は、外側に凸状で、且つ、動力伝達面42の平面から突出しない側に湾曲している。すなわち、中間部材導入面43は、動力伝達面42側から軸方向端面44、45側に行くに従って、軌道溝11の側面から遠ざかる側に湾曲している。さらに、中間部材導入面43は、動力伝達面42側から軸方向端面44、45側に行くに従って、図6(a)の左右方向幅が狭くなるように、ほぼ台形状に形成されている。この中間部材導入面43は、中間部材40の外周を循環する転動体50が動力伝達面42へ円滑に進入するように接触案内し、且つ、転動体50が動力伝達面42から円滑に排出されるように接触案内する。
軸方向端面44、45は、図6(b)の上下両端に位置する部位である。この両軸方向端面44、45は、動力伝達面42に直交する平面からなる。つまり、軸方向端面44、45は、軌道溝11の側面に直交する平面からなる。ここで、各中間部材40における図6(a)(b)の水平方向断面形状は、図6(c)、(e)に示すように、正三角形状をなしている。そして、軸方向端面44、45も、図6(d)に示すように、正三角形状をなしている。
転動体50は、図2および図4に示すように、ニードルである。この転動体50は、円柱状部51と、柱延伸直交方向(図2の左右方向)に切断した断面が円形からなり、柱延伸方向の両端に設けられる小径軸部52とを備える。この小径軸部52は、図4(b)に示すように、端部に近接するに従い小径となる形状や段付形状(図示せず)としてもよい。そして、複数の転動体50が、一対の中間部材40a、40bを一体として見た場合の外周を循環するように設けられている。複数の転動体50のうち一部は、軌道溝11の側面と一対の中間部材40a、40bの動力伝達面42との間に、軌道溝11の側面および動力伝達面42に沿って転動可能に設けられている。つまり、転動体50を介して動力伝達面42と軌道溝11の側面との間で動力が伝達される。
保持器60は、図7および図8(a)に示すように、全体形状としては環状からなる。保持器60は、転動体50の循環路を形成する一対の循環路形成部材61、62と、一対の連結部63、64とから構成される。一対の循環路形成部材61、62は、保持器60の周縁に位置し、長円形をなしている。この一対の循環路形成部材61、62は、一対の中間部材40a、40bを囲む形状をなしている。
具体的には、循環路形成部材61は、対向する直線部61a、61bと、直線部61a、61bを連結する半円弧状の湾曲部61c、61dとから構成される。また、もう一つの循環路形成部材62は、上記循環路形成部材61と同様に、直線部と湾曲部とから構成される。
さらに、一対の循環路形成部材61、62は、それぞれ、転動体50の小径軸部52が挿入可能で、且つ、円柱状部51に係合するようなコの字形断面形状に形成されている。つまり、一対の循環路形成部材61、62の幅(内周縁と外周縁との距離)は、転動体50の円柱状部51の最大径よりも小さく形成されている。そして、それぞれの循環路形成部材61、62のコの字形の開口側が、転動体50の円柱状部51の軸方向長さより長い距離だけ離間した状態で、対向するように設けられている。一対の循環路形成部材61、62の対向方向の最大幅は、軌道溝11の側面の幅より僅かに小さく設定されている。つまり、保持器60が、軌道溝11の溝底面および係止突起12により軌道溝11に対して傾きを規制されるように、且つ、軌道溝11に挿入可能となるようにされている。
一対の連結部63、64は、一対の循環路形成部材61、62の湾曲部61c、61dのうち周方向中央部分(図8(a)の上下端部分)をそれぞれ連結する。つまり、一対の循環路形成部材61、62の間は、図8(c)に示すように、連結部63、64以外の部位において開口している。
この連結部63、64は、保持器60の外側に開口するコの字形形状に形成されている。連結部63、64のコの字形形状の底面反開口側(保持器60の内側)は、平面状に形成されている。そして、一対の連結部63、64のコの字形形状の底面反開口側同士が、平行に且つ対向するように設けられている。さらに、この一対の連結部63、64のコの字形形状の底面反開口側の離間距離は、各中間部材40a、40bの軸方向端面44、45間の距離とほぼ一致している。また、連結部63、64のコの字形形状の底面開口側(保持器60の外側)は、底面反開口側に平行な平面状に形成されている。
また、連結部63、64のコの字形の開口側の端部の一方が、循環路形成部材61の湾曲部61c、61dのそれぞれの周方向中央部分に連結され、端部の他方が、循環路形成部材62の湾曲部のそれぞれの周方向中央部分に連結される。
そして、一対の循環路形成部材61、62のコの字形内部に、転動体50の小径軸部52が挿入される。このようにして、転動体50が一対の循環路形成部材61、62に支持されている。つまり、一対の循環路形成部材61、62は、複数の転動体50が一対の中間部材40a、40bの外周を循環可能となるように、転動体50を支持している。ここで、一対の循環路形成部材61、62のコの字形形状は、転動体50の小径軸部52の外周面に対して、僅かに隙間を有する形状をなしている。さらに、転動体50の小径軸部52が循環路形成部材61、62に挿入された状態において、転動体50の円柱状部51は、循環路形成部材61、62の内周縁から内側に突出し、且つ、循環路形成部材61、62の外周縁から外側に突出している。
ここで、一対の中間部材40a、40bがトリポード軸部22の外周側に配置し、一対の中間部材40a、40bが保持器60の内側に配置された状態において、それぞれの循環路形成部材61、62の直線部61a、61b(図8(a)の左右直線部)(本発明の「第一の循環路」に相当する)は、中間部材40a、40bの動力伝達面42と軌道溝11の側面との間に、両者にほぼ平行な状態(倣う状態)となるように配置される。つまり、この直線部61a、61bにより形成される循環路は、転動体50が動力伝達面42を移動するときの循環路となる。さらに、直線部61a、61bと、動力伝達面42および軌道溝11の側面との間のうち少なくとも一方には隙間が形成されている。
さらに、一対の循環路形成部材61、62の湾曲部61c、61dの両端部分(本発明の「第二の循環路」に相当する)は、中間部材40a、40bの中間部材導入面43に倣うように配置される。つまり、この湾曲部61c、61dの両端部分により形成される循環路は、転動体50が中間部材導入面43を移動するときの循環路である。この循環路は、直線部61a、61bにより形成される循環路に対して滑らかに連続するように接続されている。さらに、当該循環路を形成する湾曲部61c、61dの両端部分と、中間部材導入面43との間に隙間が形成されている。なお、当該循環路を形成する湾曲部61c、61dの両端部分と軌道溝11の側面との間には、当然に隙間が形成されている。
このように、一対の中間部材40a、40bのうち動力伝達方向の一方面をなす動力伝達面42および中間部材導入面43は、保持器60の循環路形成部材61、62との間に隙間を形成し得る形状とされている。つまり、一対の中間部材40a、40bは、一対の循環路形成部材61、62に対して、動力伝達方向に規制されていない。
また、一対の循環路形成部材61、62の湾曲部61c、61dのうち、中間部材導入面43に倣う部分に接続する循環路(本発明における「第三の循環路」に相当する)は、中間部材導入面43に倣う循環路に滑らかに連続して接続されている。
そして、各中間部材40a、40bの軸方向端面44、45の形状および離間距離と、連結部63、64のコの字形形状の底面反開口側の形状および離間距離との関係により、連結部63、64は中間部材40a、40bの外輪10の軸方向(図8(a)の上下方向)への相対動作を規制するように、連結部63、64の間に中間部材40a、40bが設けられる。ただし、中間部材40a、40bは保持器60に対して外輪10の径方向(図8(b)の上下方向)へ規制していないので、中間部材40a、40bは保持器60に対して外輪10の径方向(図8(b)の上下方向)に移動可能である。つまり、保持器60は、一対の中間部材40および軌道溝11の側面に対して、動力伝達方向において接触しない。
上述した等速ジョイント1の動作について説明する。一端側がディファレンシャルギヤに連結された外輪10が動力を受けて回転すると、軌道溝11に嵌合しているそれぞれのローラユニット30を介して、それぞれのトリポード軸部22が動力を伝達し、トリポード20を連結している中間シャフトが等速回転する。この時、ジョイント角が0degでない場合には、トリポード20は外輪10の回転軸直交断面に対してジョイント角分だけ傾いた状態で中間シャフトを中心に回転する。従って、軌道溝11の側面から見た場合に、トリポード軸部22は、外輪10およびトリポード20の回転に伴い、軌道溝11の延伸方向に往復運動し、且つ、軌道溝11に対して揺動する。
また、前述したようにトリポード20は、外輪10の回転軸直交断面に対してジョイント角分だけ傾いているので、外輪10の回転軸方向から見た場合のトリポード軸部22同士がなす角度は、中間シャフトの位相によって変化する。そのため、3本のトリポード軸部22が軌道溝11にそれぞれ収まるためにトリポード20を連結するシャフトの回転軸は、外輪10の回転軸に対して相対的に偏心回転する。従って、トリポード軸部22の端部は、外輪10およびトリポード20の回転に伴い、外輪10の径方向に往復運動する。
ここで、ローラユニット30を構成する一対の中間部材40a、40bのトリポード接触面41がトリポード軸部22に対して揺動可能に嵌合されている。また、ローラユニット30を構成する保持器60により、一対の中間部材40a、40bは、外輪10の軸方向に規制されている。さらに、保持器60は、軌道溝11に嵌合されている。従って、保持器60は、軌道溝11に対して軌道溝11の延伸方向には移動可能であるが、軌道溝11に対する傾きはほぼ一定となる。そして、一対の中間部材40a、40bの外周を転動体50が循環している。
従って、転動体50は、中間部材40a、40bのうち動力伝達側の部材の動力伝達面42と軌道溝11の側面との間にて、軌道溝11および動力伝達面42に対して軌道溝11の延伸方向への滑りを生じることなく転動する。これにより、誘起スラスト力の発生を抑制できる。
また、一対の中間部材40a、40bのうち複数の転動体50を介して動力を受けた部材は、トリポード接触面41で当接するトリポード軸部22に動力伝達する。この時、前述したようにジョイント角が付加されていると、トリポード軸部22が外輪10の径方向に往復運動する。そのため、トリポード軸部22と球面嵌合する中間部材40aは、トリポード軸部22に追従するので、転動体50に対して外輪10の径方向に摺動する。これにより、動力伝達面42における最も動力の加わる荷重点が、転動体50の軸方向に往復運動する。荷重点の移動により、転動体50と軌道溝11の側面が当接する点を支点として、一対の中間部材40a、40bのうち動力伝達側の部材に揺動する力が加わる。
しかし、一対の中間部材40a、40bは、動力伝達側とその背面側でそれぞれ独立している。これにより、動力伝達側で発生するトリポード軸部による荷重位置が変化したとしても、一対の中間部材40a、40bのうち動力伝達側の部材の動作が、その背面側の中間部材の動作へ影響を及ぼすことがない。従って、ローラユニット30の背面側が軌道溝11に大きな力を付与することを防止できるので、誘起スラスト力の発生を大幅に低減することができる。また、背面側の中間部材40a(または40b)と軌道溝11との隙間を大きくする必要がなくなり回転ガタの発生を防ぐことができる。
特に、保持器60は、一対の中間部材40に対して動力伝達方向に規制されていない。これにより、保持器60が、動力伝達の背面側において、転動体50が外輪10の軌道溝11へ力を付与するように作用することを防止できる。従って、このことによっても、動力伝達の背面側における誘起スラスト力の発生を低減できる。
また、一対の中間部材40a、40bには、循環する転動体50を動力伝達面42へ円滑に接触案内するように、動力伝達面42に対して滑らかな中間部材導入面43を形成している。このように、中間部材40a、40bの動力伝達面42と、その動力伝達面42へ転動体50を進入する中間部材導入面43とを同一部材に形成することで、動力伝達面42へ進入する転動体50の姿勢を安定して整えることができる。
さらに、一対の循環路形成部材61、62の湾曲部61c、61dの両端部により形成される循環路は、中間部材導入面43に倣う形状からなる。そして、中間部材導入面43に倣う当該循環路のうち動力伝達面42と反対側に接続される循環路(連結部63、64に連結されている循環路)は、中間部材導入面43に倣う循環路に滑らかに連続的に接続されている。
ここで、中間部材導入面43は、軌道溝11との間で動力を伝達する部位ではないため、中間部材導入面43を移動する転動体50にそれほど大きな荷重が付加されていない。そのため、連結部63、64が連結されている循環路中間部材導入面43に倣う循環路へ転動体50を安定して進入させることが可能となる。結果として、連結部63、64が連結されている循環路から中間部材導入面43に倣う循環路へ、さらに、中間部材導入面43に倣う循環路から動力伝達面42に倣う循環路へ、転動体50を滑らかに移動させることができる。
また、トリポード軸部22と一対の中間部材40a、40bを揺動可能な球面嵌合の構成とすることにより、中間部材40a、40bの単位面積当たりの荷重(面圧)が低減され、中間部材40a、40bの耐久性を向上させることができる。また、中間部材40a、40bは、摺動するトリポード軸部22に従動するので、トリポード軸部22に対して位置が定まり安定的に動力伝達することができる。さらに、一対の中間部材40a、40bはトリポード軸部22を挟むように配置されるので、各中間部材40a、40bのトリポード接触面41を全て球面凹状に容易に形成することができる。従って、トリポード軸部22と一対の中間部材40a、40bとの動力伝達面積を増加することができ、また、トリポード軸部22と中間部材40a、40bがアンギュラコンタクトする場合にはアンギュラコンタクトする2箇所の点を更に離間し安定化を図ることができる。
また、転動体50は円柱状のニードルとしているため、当該ニードルが外輪10の軌道溝11の側面に対し円柱軸方向に亘り当接して動力伝達するので、ローラユニット30は全体として回転ガタが小さく、安定した動力伝達ができる。
<第一実施形態の変形態様>
上述した第一実施形態において、一対の中間部材40a、40bのトリポード接触面41は、球面凹状であるとした。この他に、一対の中間部材40a、40bのトリポード接触面41は、円筒面とすることもできる。
この場合、他の構成は第一実施形態と同一である。すなわち、一対の中間部材40a、40bは、そのトリポード接触面41を円筒面となるように形成され、トリポード軸部22を挟むように配置することで、トリポード軸部22と一対の中間部材40は摺動可能となる。
このような構成とすることで、トリポード軸部22は、ローラユニット30に対して摺動可能な範囲を大きくすることができ、ジョイント角を付加してトリポード軸部22の摺動する量が大きくなっても、上述した効果を保持したまま動力を伝達することができる。また、上記構成により、転動体50と中間部材40a、40bとの間で摺動することを抑制可能な構成を採用できる。
<第二実施形態>
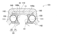
第二実施形態の等速ジョイント101について、図9〜図14を参照して説明する。図9は、第二実施形態の等速ジョイント101の一部の径方向断面図である。図10は、ローラユニット130の斜視図である。図11は、保持器160の斜視図である。図12(a)は、保持器160の平面図であり、図12(b)は、保持器160のJ方向矢視図であり、図12(c)は、保持器160のK−K断面図(長径側の部分断面を含む図)である。図13は、一対の中間部材140の一つの斜視図である。図14(a)は、中間部材140の正面図であり、図14(b)は、中間部材140のL−L部分断面図であり、図14(c)は、中間部材140のM方向矢視図であり、図14(d)は、中間部材140のN−N断面図である。
図9および図10に示すように、等速ジョイント101は、外輪110と、トリポード20と、ローラユニット130とから構成される。ここで、第二実施形態の等速ジョイント101は、主に、第一実施形態の等速ジョイント1の転動体50を、ニードルから球体に変更した点が相違する。これに伴い、外輪110の軌道溝111の側面形状、および、一対の中間部材140の外面の形状が、第一実施形態の等速ジョイント1と異なる。なお、トリポード20は、第一実施形態のトリポード20と同一であるため、詳細な説明を省略する。以下相違点のみについて説明する。
外輪110は、第一実施形態の外輪10に対して、軌道溝111の側面形状のみ相違する。軌道溝111の両側の側面には、図9に示すように、球体からなる転動体150が外輪110の径方向に対して位置決めされるように、転動体150の球面に倣う凹状溝が形成されている。つまり、軌道溝111の側面の凹状溝には、外輪110の径方向断面形状が円弧状とされている。
ローラユニット130は、図10に示すように、全体形状としては環状からなり、トリポード軸部22の外周側に配置されている。このローラユニット130は、中間部材140と、複数の転動体150と、保持器160とから構成される。
中間部材140は、一対の部材140a、140bからなる。一対の中間部材140a、140bの表面は、図13および図14に示すように、トリポード接触面41と、動力伝達面142と、中間部材導入面143と、軸方向端面44、45を有している。トリポード接触面41および軸方向端面44、45は、第一実施形態と同一である。
動力伝達面142には、球体である転動体150の球面に倣うように凹状溝が形成されている。また、この動力伝達面142に隣り合う両側に形成されている中間部材導入面43にも、動力伝達面142と同様の凹状溝が形成されている。動力伝達面142および中間部材導入面143の他の構成については、第一実施形態と同一である。
転動体150は、図10に示すように、球体であり、ニードルの場合と同様に中間部材140の外周を循環するように複数配置される。
保持器160は、転動体がニードルの場合と同様に全体形状としては環状からなる。第一実施形態の保持器60を構成する循環路形成部材61、62がコの字形形状をなしていたのに対して、第二実施形態の保持器160の循環路形成部材161、162は、図9の上下方向で対向するように配置され、且つ、球状の転動体150を支持するように円弧凹状溝が形成されている。
上述した等速ジョイント101の動作について説明する。転動体150がニードルの場合と異なり、各中間部材140a、140bの円弧凹状溝と転動体150の球面とが当接することで、外輪110の軸方向から見た場合に、両者は揺動可能となる。従って、ジョイント角をとったときに、外輪110の軸方向から見た場合に、トリポード軸方向に摺動するトリポード軸部22に対して中間部材140a、140bが揺動する。
このように構成される第二実施形態の等速ジョイント101は、第一実施形態の等速ジョイント1による効果と同様の効果を奏する。さらに、球体である転動体150は高剛性で、且つ、循環性に優れる。さらに、加工工程の少ない球体は比較的生産しやすく、等速ジョイント101の組付けにおいても簡素化できる。さらに、転動体150を球体とすることで、トリポード軸部22と軌道溝111の変動する位置関係に応じて各部材にかかる荷重点が偏ることなく、動力を伝達することができる。
<第三実施形態>
第三実施形態の等速ジョイント201について、図15を参照して説明する。図15は、第三実施形態の等速ジョイント201の一部の径方向断面図である。図15に示すように、等速ジョイント201は、外輪110と、トリポード20と、ローラユニット230とから構成される。ここで、第三実施形態の等速ジョイント201は、第二実施形態の等速ジョイント101の転動体150を、球体からバレル状コロに変更した点が相違する。以下相違点のみについて説明する。
つまり、ローラユニット230は、中間部材140と、複数の転動体250と、保持器160とから構成される。転動体250は、バレル状コロであり、球体およびニードルの場合と同様に中間部材140の外周を循環するように複数配置される。バレル状コロとは、柱状であり、柱延伸直交方向に切断した断面が円形からなり、柱延伸方向に切断した断面における外周面に相当する部分が円弧凸状なす転動体である。
このような構成にすることで、第二実施形態における球体の転動体150と同様に、動力伝達時の各部材にかかる荷重点の偏りを防止しながら、柱延伸直交方向の幅を球体に比して小さくすることができ、結果として、等速ジョイント201全体の小型化を図ることができる。
<第四実施形態>
第四実施形態の等速ジョイント301について、図16を参照して説明する。第四実施形態の等速ジョイント301は、第一実施形態の等速ジョイント1の構成を基本とした場合において、外輪PCR(ピッチ円半径)302とトリポードPCR303とを異なるように設定したものである。図16は、第四実施形態の等速ジョイント301の一部の径方向断面図である。なお、第四実施形態の等速ジョイント301は、実質的に、第一実施形態の等速ジョイント1と同一構成からなるため、各構成部品には同一符号を用いる。
図16に示すように、トリポード軸部22の外周面は球面凸状であり、外輪回転軸13と中間シャフト回転軸23が一致している姿勢において、トリポードPCR303を外輪PCR302より大きく設定している。
外輪PCR302は、動力伝達面42と軌道溝11の側面との間に位置する転動体50において、その転動体50のトリポード軸方向(図16の上下方向)の幅中心を通りトリポード軸と直交する平面におけるトリポード軸上の交点304と、外輪回転軸12との最短距離をいう。トリポードPCR303は、トリポード軸部22の外周面の曲率中心305と、中間シャフト回転軸23との最短距離をいう。
ここで、図17および図18を参照して説明する。図17は、所定ジョイント角を付加した等速ジョイント301における、外輪10の開口側から見た図である。図18は、所定ジョイント角を付加した等速ジョイント301における、外輪10の開口側から見た図である。図19は、オフセット量別における、ジョイント角と荷重点との最大最小移動量を示すグラフである。図19において、(a)はオフセット量0mmであり、(b)はオフセット量0.1mmであり、(c)はオフセット量0.2mmであり、(d)はオフセット量0.3mmである。当該荷重点とは、トリポード軸部22と中間部材40a、40bとの間において、動力伝達の際に荷重が加わる位置の外輪径方向位置である。
図17および図18に示すように、ジョイント角を付加した時に、回転位相によって荷重点が移動する。ここで、ジョイント角が0degの場合における、荷重点を基準荷重点306とする。
例えば、図17では、中間シャフト回転軸23は図17の右方向にジョイント角として付加され、この状態で中間シャフトと共にトリポード20が回転し、トリポード軸部22の一つが図17の上方向に位置している。すると、上述したように、トリポード20は外輪10と相対して偏心回転する。この偏心回転に起因して、第一の荷重点307は、基準荷重点306より外輪10の径方向外方に移動し、且つ、外輪回転軸12から最も離間した位置となる。
一方、図18では、中間シャフト回転軸23は図18の上方向にジョイント角として付加され、この状態で中間シャフトと共にトリポード20が回転し、トリポード軸部22の一つが図18の上方向に位置している。すると、トリポード20の偏心回転に起因して、第二の荷重点308は、基準荷重点306より外輪10の径方向内方に移動し、外輪回転軸12に最も接近した位置となる。
第一の荷重点307が基準荷重点306からの移動量は、第二の荷重点308が基準荷重点306からの移動量より小さい。従って、仮に外輪PCR302とトリポードPCR303とを一致するように設定すると、トリポード軸部22がローラユニット30に加える荷重点の移動量平均は、外輪回転軸12に近接する方向に偏ることになる。従って、転動体50の偏磨耗の増大の原因となる。
そこで、予めトリポードPCR303を外輪PCR302よりも大きく設定(オフセット)することにより、上記荷重点の移動量平均がローラユニット30の厚み中央になるようにし、荷重の偏りを防止することができる。ただし、第一の荷重点307および第二の荷重点308のそれぞれの基準荷重点306からの移動量は、付加されるジョイント角に依存するので、所定のジョイント角によって最適なオフセット量が異なる。図19に示すように、それぞれのオフセット量におけるジョイント角で、移動した荷重点の最大値と最小値を見ると、例えば、ジョイント角7degならオフセット量0.1mmが最適であり、同様に、ジョイント角10degならオフセット量0.2mm、ジョイント角13degならオフセット量0.3mmがそれぞれ最適であることが求められる。
従って、その等速ジョイントを使用する際に、想定する常用のジョイント角に応じて、オフセット量を設定することで、転動体50の偏磨耗の増大を防ぎ、結果として、等速ジョイントの耐久性を向上しまた、振動や騒音を低減することができる。
<第五実施形態>
第五実施形態の等速ジョイント401について、図20および図21を参照して説明する。図20は、第五実施形態の等速ジョイント401の一部の径方向断面図である。図21は、オフセット量別のジョイント角と回転ガタ量を示すグラフである。図21において、(a)はオフセット量0mmであり、(b)はオフセット量0.2mmであり、(c)はオフセット量0.3mmであり、(d)はオフセット量0.6mmである。
転動体50は球体であり、この場合においても、第四実施形態で述べたようにトリポード20の偏心回転に起因して、外輪PCR302とトリポードPCR303とを一致するように設定した場合には、荷重点の移動量平均が外輪回転軸13に近接する方向に偏り、この偏りが発生しないジョイント角が0degの時に回転ガタが最小となり、ジョイント角が付加されるに従って回転ガタが増大するという問題がある。
そこで、図20に示すように、予めトリポードPCR303を外輪PCR302よりも大きく設定(オフセット)することで、所定のジョイント角を付加した時に回転ガタが最小になるようにし、回転ガタの増大を防ぐことができる。ただし、回転ガタの量は、付加されるジョイント角に依存するので、所定のジョイント角によって最適なオフセット量が異なる。図21に示すように、それぞれのオフセット量におけるジョイント角で、回転ガタの増分を見ると、例えば、ジョイント角6degならオフセット量0.2mmが最適であり、同様に、ジョイント角7degならオフセット量0.3mm、ジョイント角10degならオフセット量0.6mmがそれぞれ最適であることが求められる。
従って、その等速ジョイントを使用する際に、想定する常用のジョイント角に応じて、オフセット量を設定することで、転動体50の回転ガタの増大を防ぎ、結果として、等速ジョイントの耐久性を向上しまた、振動や騒音を低減することができる。なお、転動体50がバレル状コロの場合にも、上記のようにトリポードPCR303を設定することで、同様の効果を得ることができる。
第一実施形態:等速ジョイント1の一部の組付け状態における、外輪10の開口側から見た図である。 等速ジョイント1の一部の径方向断面図である。 ローラユニット30の斜視図である。 (a)ローラユニット30の平面図であり、(b)ローラユニット30のA−A断面図(短径側の断面図)であり、(c)ローラユニット30のB−B部分断面図(長径側の部分断面を含む図)である。 一対の中間部材40の一つの斜視図である。 (a)中間部材40の正面図であり、(b)中間部材40のE−E部分断面図であり、(c)中間部材40のF方向矢視図であり、(d)中間部材40のG−G断面図であり、(e)中間部材40のH−H断面図である。 保持器60の斜視図である。 (a)保持器60の平面図であり、(b)保持器60のC−C断面図(短径側の断面図)であり、(c)保持器60のD−D断面図(長径側の部分断面を含む図)である。 第二実施形態:等速ジョイント101の一部の径方向断面図である。 ローラユニット130の斜視図である。 保持器160の斜視図である。 (a)保持器160の平面図であり、(b)保持器160のJ方向矢視図であり、(c)保持器160のK−K断面図(長径側の部分断面を含む図)である。 一対の中間部材140の一つの斜視図である。 (a)中間部材140の正面図であり、(b)中間部材140のL−L部分断面図であり、(c)中間部材140のM方向矢視図であり、(d)中間部材140のN−N断面図である。 第三実施形態:等速ジョイント201の一部の径方向断面図である。 第四実施形態:等速ジョイント301の一部の径方向断面図である。 所定ジョイント角を付加した等速ジョイント301における、外輪10の開口側から見た図である。 所定ジョイント角を付加した等速ジョイント301における、外輪10の開口側から見た図である。 オフセット量別のジョイント角と最大最小接点移動量を示すグラフ 第五実施形態:等速ジョイント401の一部の径方向断面図である。 オフセット量別のジョイント角と回転ガタ量を示すグラフである。
符号の説明
1、101、201、301、401:等速ジョイント
10、110:外輪、 11、111:軌道溝、 12:係止突起
13:外輪回転軸
20:トリポード、 21:ボス部、 21a:内周スプライン
22:トリポード軸部、 23:中間シャフト回転軸
30、130:ローラユニット
40、140:中間部材、 40a、40b、140a、140b:各中間部材
41:トリポード接触面、 42、142:動力伝達面
43、143:中間部材導入面、 44、45:軸方向端面
50、150、250:転動体、 51:円柱状部、 52:小径軸部
60、160:保持器
61、62、161、162:循環路形成部材
61a、61b:直線部、 61c、61d:湾曲部、 63、64:連結部
302:外輪PCR、 303:トリポードPCR、 304:交点
305:曲率中心、 306:基準荷重点
307:第一の荷重点、 308:第二の荷重点

Claims (8)

  1. 筒状からなり、内周面に外輪回転軸方向に延びる3本の軌道溝が形成された外輪と、
    シャフトに連結されるボス部、および、前記ボス部の外周面からそれぞれ前記ボス部の径方向外方に延びるように立設されそれぞれの前記軌道溝に挿入される3本のトリポード軸部を備えるトリポードと、
    前記軌道溝の側面の両側から前記トリポード軸部を挟むように配置され、且つ、前記トリポード軸部に対して揺動可能に設けられる一対の中間部材と、
    前記軌道溝の側面と前記一対の中間部材の前記軌道溝の側面に対向する動力伝達面との間に、前記軌道溝の側面に沿って転動可能に設けられる複数の転動体と、
    前記転動体が前記一対の中間部材の外周を循環可能となるように前記転動体を支持する保持器と、
    を備えることを特徴とする摺動式トリポード型等速ジョイント。
  2. 前記トリポード軸部の外周面は球面凸状であり、
    前記外輪回転軸と前記シャフト回転軸が一致している姿勢において、
    前記転動体のトリポード軸方向の幅中心を通りトリポード軸と直交する平面におけるトリポード軸上の点と、前記外輪回転軸との距離を外輪PCRとし、
    前記トリポード軸部の外周面の曲率中心と、前記シャフト回転軸との距離をトリポードPCRとし、
    前記トリポードPCRは、前記外輪PCRより大きく設定されることを特徴とする請求項1に記載の摺動式トリポード型等速ジョイント。
  3. 前記一対の中間部材には、循環する前記転動体を前記動力伝達面へ円滑に接触案内するように、前記動力伝達面に対して滑らかな中間部材導入面を形成することを特徴とする請求項1または2に記載の摺動式トリポード型等速ジョイント。
  4. 前記保持器により循環する前記転動体の軌跡である循環路は、
    前記動力伝達面を移動する前記転動体の循環路であって前記動力伝達面に倣う第一の循環路と、
    前記中間部材導入面を移動する前記転動体の循環路であって前記中間部材導入面に倣い且つ前記第一の循環路に滑らかに接続する第二の循環路と、
    前記第二の循環路のうち前記第一の循環路と反対側端部に滑らかに接続する第三の循環路と、
    を有することを特徴とする請求項3に記載の摺動式トリポード型等速ジョイント。
  5. 前記保持器は、前記一対の中間部材に対して動力伝達方向に規制されていないことを特徴とする請求項1〜4のいずれか一項に記載の摺動式トリポード型等速ジョイント。
  6. 前記トリポード軸部の外周面は、球面凸状であり、
    前記一対の中間部材の内面は、前記トリポード軸部の外周面に嵌合される球面凹状であることを特徴とする請求項1〜5のいずれか一項に記載の摺動式トリポード型等速ジョイント。
  7. 前記転動体は、円柱状のニードルであり、
    前記外輪回転軸と前記シャフト回転軸が一致している姿勢において、
    前記保持器は、前記ニードルの円柱軸方向が前記トリポード軸方向と平行となるように前記ニードルを支持し、
    前記一対の中間部材は、前記ニードルに対し前記外輪径方向に摺動可能な前記動力伝達面を形成することを特徴とする請求項1〜6のいずれか一項に記載の摺動式トリポード型等速ジョイント。
  8. 前記転動体は、球状またはバレル状コロであり、
    前記外輪回転軸と前記シャフト回転軸が一致している姿勢において、
    前記一対の中間部材は、前記転動体に対し前記外輪径方向に揺動可能な前記動力伝達面を形成することを特徴とする請求項1〜6のいずれか一項に記載の摺動式トリポード型等速ジョイント。
JP2008164967A 2008-06-24 2008-06-24 摺動式トリポード型等速ジョイント Expired - Fee Related JP5240506B2 (ja)

Priority Applications (15)

Application Number Priority Date Filing Date Title
JP2008164967A JP5240506B2 (ja) 2008-06-24 2008-06-24 摺動式トリポード型等速ジョイント
PCT/JP2009/061411 WO2009157448A1 (ja) 2008-06-24 2009-06-23 摺動式トリポード型等速ジョイント
EP13002280.9A EP2623809B1 (en) 2008-06-24 2009-06-23 Sliding type tripod constant velocity joint
EP13002278.3A EP2623807B1 (en) 2008-06-24 2009-06-23 Sliding type tripod constant velocity joint
EP09770158.5A EP2299135B1 (en) 2008-06-24 2009-06-23 Sliding type tripod constant velocity joint
US12/737,243 US8540581B2 (en) 2008-06-24 2009-06-23 Sliding type tripod constant velocity joint
CN201310263095.1A CN103352926B (zh) 2008-06-24 2009-06-23 滑动式三角架等速度接头
CN201310263957.0A CN103352927B (zh) 2008-06-24 2009-06-23 滑动式三角架等速度接头
CN201310263091.3A CN103352925B (zh) 2008-06-24 2009-06-23 滑动式三角架等速度接头
CN200980132142.0A CN102124243B (zh) 2008-06-24 2009-06-23 滑动式三角架等速度接头
EP13002279.1A EP2623808B1 (en) 2008-06-24 2009-06-23 Sliding type tripod constant velocity joint
US13/495,997 US8454448B2 (en) 2008-06-24 2012-06-13 Sliding type tripod constant velocity joint
US13/523,202 US8376867B2 (en) 2008-06-24 2012-06-14 Sliding type tripod constant velocity joint
US13/523,181 US8550924B2 (en) 2008-06-24 2012-06-14 Sliding type tripod constant velocity joint
US13/937,034 US8727895B2 (en) 2008-06-24 2013-07-08 Sliding type tripod constant velocity joint

Applications Claiming Priority (1)

Application Number Priority Date Filing Date Title
JP2008164967A JP5240506B2 (ja) 2008-06-24 2008-06-24 摺動式トリポード型等速ジョイント

Publications (2)

Publication Number Publication Date
JP2010007701A true JP2010007701A (ja) 2010-01-14
JP5240506B2 JP5240506B2 (ja) 2013-07-17

Family

ID=41588450

Family Applications (1)

Application Number Title Priority Date Filing Date
JP2008164967A Expired - Fee Related JP5240506B2 (ja) 2008-06-24 2008-06-24 摺動式トリポード型等速ジョイント

Country Status (1)

Country Link
JP (1) JP5240506B2 (ja)

Cited By (5)

* Cited by examiner, † Cited by third party
Publication number Priority date Publication date Assignee Title
JP2011163443A (ja) * 2010-02-09 2011-08-25 Jtekt Corp 摺動式トリポード型等速ジョイント
JP2016136061A (ja) * 2015-01-16 2016-07-28 株式会社ジェイテクト スライド式等速ジョイント
DE102016110983A1 (de) 2015-06-18 2016-12-22 Jtekt Corporation Homokinetisches Verschiebegelenk
DE102016110984A1 (de) 2015-06-18 2016-12-22 Jtekt Corporation Homokinetisches Verschiebegelenk
CN112211914A (zh) * 2020-09-28 2021-01-12 万向钱潮股份有限公司 一种三球销结构

Citations (8)

* Cited by examiner, † Cited by third party
Publication number Priority date Publication date Assignee Title
JPS5940016A (ja) * 1982-08-31 1984-03-05 Ntn Toyo Bearing Co Ltd 等速自在継手
JPS62255616A (ja) * 1986-03-31 1987-11-07 ゼネラル モ−タ−ズ コ−ポレ−シヨン 伸縮式三脚型自在継手
JPS63163031A (ja) * 1986-12-16 1988-07-06 グレンツアー スピーセル トランスミッション連結装置
JPH03172622A (ja) * 1989-11-03 1991-07-26 Loehr & Bromkamp Gmbh トリポード型自在継ぎ手
JPH07501126A (ja) * 1991-10-15 1995-02-02 ジーケーエヌ オートモウティブ インコーポレイテッド ローラベアリング及び保持器組立体
JP2763624B2 (ja) * 1989-10-31 1998-06-11 エヌティエヌ株式会社 等速ジョイント
US6174239B1 (en) * 1997-02-11 2001-01-16 Gkn Automotive Ag Tripod sliding constant velocity joint
JP2002147482A (ja) * 2000-10-16 2002-05-22 Delphi Technologies Inc トリポード型等速ジョイント

Patent Citations (8)

* Cited by examiner, † Cited by third party
Publication number Priority date Publication date Assignee Title
JPS5940016A (ja) * 1982-08-31 1984-03-05 Ntn Toyo Bearing Co Ltd 等速自在継手
JPS62255616A (ja) * 1986-03-31 1987-11-07 ゼネラル モ−タ−ズ コ−ポレ−シヨン 伸縮式三脚型自在継手
JPS63163031A (ja) * 1986-12-16 1988-07-06 グレンツアー スピーセル トランスミッション連結装置
JP2763624B2 (ja) * 1989-10-31 1998-06-11 エヌティエヌ株式会社 等速ジョイント
JPH03172622A (ja) * 1989-11-03 1991-07-26 Loehr & Bromkamp Gmbh トリポード型自在継ぎ手
JPH07501126A (ja) * 1991-10-15 1995-02-02 ジーケーエヌ オートモウティブ インコーポレイテッド ローラベアリング及び保持器組立体
US6174239B1 (en) * 1997-02-11 2001-01-16 Gkn Automotive Ag Tripod sliding constant velocity joint
JP2002147482A (ja) * 2000-10-16 2002-05-22 Delphi Technologies Inc トリポード型等速ジョイント

Cited By (5)

* Cited by examiner, † Cited by third party
Publication number Priority date Publication date Assignee Title
JP2011163443A (ja) * 2010-02-09 2011-08-25 Jtekt Corp 摺動式トリポード型等速ジョイント
JP2016136061A (ja) * 2015-01-16 2016-07-28 株式会社ジェイテクト スライド式等速ジョイント
DE102016110983A1 (de) 2015-06-18 2016-12-22 Jtekt Corporation Homokinetisches Verschiebegelenk
DE102016110984A1 (de) 2015-06-18 2016-12-22 Jtekt Corporation Homokinetisches Verschiebegelenk
CN112211914A (zh) * 2020-09-28 2021-01-12 万向钱潮股份有限公司 一种三球销结构

Also Published As

Publication number Publication date
JP5240506B2 (ja) 2013-07-17

Similar Documents

Publication Publication Date Title
JP5741633B2 (ja) 摺動式トリポード型等速ジョイント
JP5240506B2 (ja) 摺動式トリポード型等速ジョイント
WO2009157448A1 (ja) 摺動式トリポード型等速ジョイント
JP2006112495A (ja) 等速ジョイント
JP5176717B2 (ja) 摺動式トリポード型等速ジョイント
JP4952667B2 (ja) 摺動式トリポード型等速ジョイント
JP5604889B2 (ja) 摺動式トリポード型等速ジョイント
JP2011163410A (ja) 摺動式トリポード型等速ジョイント
JP5240507B2 (ja) 摺動式トリポード型等速ジョイント
JP5760560B2 (ja) 摺動式トリポード型等速ジョイント
JP5316329B2 (ja) 摺動式トリポード型等速ジョイント
JP5287519B2 (ja) 摺動式トリポード型等速ジョイント
JP5585032B2 (ja) 摺動式トリポード型等速ジョイント
JP5083067B2 (ja) 摺動式トリポード型等速ジョイント
JP5564865B2 (ja) 摺動式トリポード型等速ジョイント
JP2012197803A (ja) 摺動式トリポード型等速ジョイント
JP5293512B2 (ja) 摺動式トリポード型等速ジョイント
JP5726694B2 (ja) 等速ジョイント
JP2010071393A (ja) 等速自在継手
JP2009014179A (ja) トリポード型等速自在継手
JP2010144898A (ja) 摺動式トリポード型等速ジョイント及びローラユニット
JP2010014198A (ja) 摺動式トリポード型等速ジョイント
JP2017008989A (ja) スライド式等速ジョイント
JP2006090512A (ja) 等速自在継手
JP2006090515A (ja) 等速自在継手

Legal Events

Date Code Title Description
A621 Written request for application examination

Free format text: JAPANESE INTERMEDIATE CODE: A621

Effective date: 20110221

A521 Written amendment

Free format text: JAPANESE INTERMEDIATE CODE: A523

Effective date: 20110808

A131 Notification of reasons for refusal

Free format text: JAPANESE INTERMEDIATE CODE: A131

Effective date: 20121211

A521 Written amendment

Free format text: JAPANESE INTERMEDIATE CODE: A523

Effective date: 20130208

TRDD Decision of grant or rejection written
A01 Written decision to grant a patent or to grant a registration (utility model)

Free format text: JAPANESE INTERMEDIATE CODE: A01

Effective date: 20130307

A61 First payment of annual fees (during grant procedure)

Free format text: JAPANESE INTERMEDIATE CODE: A61

Effective date: 20130320

FPAY Renewal fee payment (event date is renewal date of database)

Free format text: PAYMENT UNTIL: 20160412

Year of fee payment: 3

R150 Certificate of patent or registration of utility model

Free format text: JAPANESE INTERMEDIATE CODE: R150

LAPS Cancellation because of no payment of annual fees