JP2010005955A - 記録装置および搬送制御方法 - Google Patents

記録装置および搬送制御方法 Download PDF

Info

Publication number
JP2010005955A
JP2010005955A JP2008169047A JP2008169047A JP2010005955A JP 2010005955 A JP2010005955 A JP 2010005955A JP 2008169047 A JP2008169047 A JP 2008169047A JP 2008169047 A JP2008169047 A JP 2008169047A JP 2010005955 A JP2010005955 A JP 2010005955A
Authority
JP
Japan
Prior art keywords
recording medium
movement
amount
recording
belt material
Prior art date
Legal status (The legal status is an assumption and is not a legal conclusion. Google has not performed a legal analysis and makes no representation as to the accuracy of the status listed.)
Granted
Application number
JP2008169047A
Other languages
English (en)
Other versions
JP5354975B2 (ja
Inventor
Masa Hayashi
雅 林
Jiro Moriyama
次郎 森山
Hiroyuki Saito
斎藤  弘幸
Current Assignee (The listed assignees may be inaccurate. Google has not performed a legal analysis and makes no representation or warranty as to the accuracy of the list.)
Canon Inc
Original Assignee
Canon Inc
Priority date (The priority date is an assumption and is not a legal conclusion. Google has not performed a legal analysis and makes no representation as to the accuracy of the date listed.)
Filing date
Publication date
Application filed by Canon Inc filed Critical Canon Inc
Priority to JP2008169047A priority Critical patent/JP5354975B2/ja
Priority to EP09162237.3A priority patent/EP2138317B1/en
Priority to US12/488,127 priority patent/US8454111B2/en
Priority to RU2009124527/12A priority patent/RU2413621C1/ru
Priority to CN2009101506946A priority patent/CN101612841B/zh
Publication of JP2010005955A publication Critical patent/JP2010005955A/ja
Priority to US13/837,291 priority patent/US20130201241A1/en
Application granted granted Critical
Publication of JP5354975B2 publication Critical patent/JP5354975B2/ja
Expired - Fee Related legal-status Critical Current
Anticipated expiration legal-status Critical

Links

Images

Classifications

    • BPERFORMING OPERATIONS; TRANSPORTING
    • B41PRINTING; LINING MACHINES; TYPEWRITERS; STAMPS
    • B41JTYPEWRITERS; SELECTIVE PRINTING MECHANISMS, i.e. MECHANISMS PRINTING OTHERWISE THAN FROM A FORME; CORRECTION OF TYPOGRAPHICAL ERRORS
    • B41J11/00Devices or arrangements  of selective printing mechanisms, e.g. ink-jet printers or thermal printers, for supporting or handling copy material in sheet or web form
    • BPERFORMING OPERATIONS; TRANSPORTING
    • B41PRINTING; LINING MACHINES; TYPEWRITERS; STAMPS
    • B41JTYPEWRITERS; SELECTIVE PRINTING MECHANISMS, i.e. MECHANISMS PRINTING OTHERWISE THAN FROM A FORME; CORRECTION OF TYPOGRAPHICAL ERRORS
    • B41J11/00Devices or arrangements  of selective printing mechanisms, e.g. ink-jet printers or thermal printers, for supporting or handling copy material in sheet or web form
    • B41J11/007Conveyor belts or like feeding devices
    • BPERFORMING OPERATIONS; TRANSPORTING
    • B41PRINTING; LINING MACHINES; TYPEWRITERS; STAMPS
    • B41JTYPEWRITERS; SELECTIVE PRINTING MECHANISMS, i.e. MECHANISMS PRINTING OTHERWISE THAN FROM A FORME; CORRECTION OF TYPOGRAPHICAL ERRORS
    • B41J11/00Devices or arrangements  of selective printing mechanisms, e.g. ink-jet printers or thermal printers, for supporting or handling copy material in sheet or web form
    • B41J11/0095Detecting means for copy material, e.g. for detecting or sensing presence of copy material or its leading or trailing end
    • BPERFORMING OPERATIONS; TRANSPORTING
    • B41PRINTING; LINING MACHINES; TYPEWRITERS; STAMPS
    • B41JTYPEWRITERS; SELECTIVE PRINTING MECHANISMS, i.e. MECHANISMS PRINTING OTHERWISE THAN FROM A FORME; CORRECTION OF TYPOGRAPHICAL ERRORS
    • B41J13/00Devices or arrangements of selective printing mechanisms, e.g. ink-jet printers or thermal printers, specially adapted for supporting or handling copy material in short lengths, e.g. sheets
    • B41J13/0009Devices or arrangements of selective printing mechanisms, e.g. ink-jet printers or thermal printers, specially adapted for supporting or handling copy material in short lengths, e.g. sheets control of the transport of the copy material
    • B41J13/0027Devices or arrangements of selective printing mechanisms, e.g. ink-jet printers or thermal printers, specially adapted for supporting or handling copy material in short lengths, e.g. sheets control of the transport of the copy material in the printing section of automatic paper handling systems

Landscapes

  • Handling Of Sheets (AREA)
  • Ink Jet (AREA)
  • Printers Characterized By Their Purpose (AREA)
  • Controlling Sheets Or Webs (AREA)

Abstract

【課題】記録動作中の記録媒体の全搬送工程において、記録媒体の搬送状態を精度の高い状態で検出し搬送することが可能な記録装置および搬送制御方法を提供する。
【解決手段】ベルト材に載せられた記録媒体の表面およびベルト材の表面を検出することにより、記録媒体の移動量あるいは移動速度を取得し、取得された移動量あるいは移動速度に基づいて、ベルト材の駆動を制御する。これにより、検知する対象が記録媒体からベルト材へと搬送中に切り替わる状況であっても、同じ光学センサユニットによる同様の検知方法で搬送量の測定を途切れなく行うことが出来る。
【選択図】図2

Description

本発明は記録ヘッドに対して記録媒体を搬送しながら、当該記録媒体に画像を記録する記録装置および記録媒体の搬送制御方法に関する。特に、記録媒体の搬送量や搬送速度を精度の高い状態で検出するための構成および検出方法に関する。
記録媒体を搬送しながら、記録ヘッドによって画像を記録する記録装置において、より高精細で高画質な画像を記録するためには、記録媒体の搬送精度を高めることが求められる。例えば、特許文献1や特許文献2には、搬送手段の変動周期をあらかじめ把握し、記録媒体の搬送量を周期に対応付けて制御することにより、記録媒体を高精度に搬送する技術が開示されている。但し、搬送手段を正確に制御できたとしても、これに追従して搬送される記録媒体の実際の搬送量は、搬送手段の駆動量に完全に一致するとは限らない。そこで、より搬送精度の向上を図るためには、記録中の記録媒体の実際の搬送量や搬送速度を検出する構成が求められる。例えば、特許文献3や特許文献4には、記録媒体の搬送量を光学的に実測する技術が開示されている。
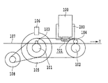
図1は、特許文献4に開示されている記録媒体の搬送量を測定する方法を説明するための図である。特許文献4では、記録媒体を搬送するための搬送ローラの回転量を実測する手段と、記録媒体の移動距離を実測する手段の、2つの測定手段を備えている。
図において、記録媒体107は、搬送ローラ101および102と、これに対向する2つのピンチローラ103および104に挟持された状態で、搬送ローラ101および102の回転によって、Y方向に搬送される。搬送ローラ101および102の回転力は、搬送モータ108の駆動軸が、2つの搬送ローラに係合していることによって得られている。コードホイール105は、搬送ローラ101と同一の回転軸上に固定されており、その円周部分が通過する位置に設置された回転角センサ106は、コードホイール105の回転量を測定することが出来る。そして、回転角センサ106が検出したコードホイール105の回転量すなわち搬送ローラ101の回転量から、記録媒体107の搬送量を算出することが出来る仕組みになっている。
但し、搬送ローラの回転角度は、必ずしも記録媒体の実際の搬送量と一致するわけではない。搬送ローラの取り付け時の偏心や搬送ローラと記録媒体との間のすべりなどによって、記録媒体の搬送量と搬送ローラの回転角度との間には、どうしてもある程度のずれが生じる。そこで、特許文献4では、回転角センサ106の他に、記録媒体107の実際の移動距離を測定する光学センサ701を備え、2つのセンサからの搬送情報を基に、記録媒体の搬送制御を行っている。
図の例において、光学センサ701は、ヘッドカートリッジ100とともにキャリッジ200に取り付けられ、2つの搬送ローラ101および102の間に配置されている。光学センサ701は、搬送中である記録媒体の表面状態を画像情報として複数のタイミングで取得し、記録装置の制御部は取得された複数の画像情報から、記録媒体の移動量および搬送速度を算出する。このように、記録媒体の搬送量および搬送速度を直接検出する手段を設け、得られた情報に基づいて搬送手段に対する駆動を行えば、記録媒体における画像の記録位置をより正確に制御することが出来るようになる。
特開2002−128313号公報 特開2002−137469号公報 特開平6−56314号公報 特開2005−82289号公報
但し、上記特許文献3や特許文献4のように記録媒体の移動量を直接に検出する手段を設けたとしても、搬送工程の初期あるいは終期のように、記録媒体が光学センサの検出可能領域から外れたタイミングでは、搬送速度の検出が不可能となる。
例えば、図1のように光学センサ701が配置されている場合、記録媒体107が光学センサ701の下部に到達する以前の初期の搬送動作において、記録媒体107の搬送量を測定することは出来ない。結果、記録媒体の先頭部分を記録する際、光学センサ701からの情報を搬送モータ108の駆動に反映させることが出来ず、先頭部分の記録位置制御が正確に行われない恐れが生じる。
本発明は上記問題点を解決するためになされたものであり、その目的とするところは、記録動作中の記録媒体の全搬送工程において、記録媒体の搬送量を精度の高い状態で検出し搬送することが可能な記録装置および搬送制御方法を提供することである。
そのために本発明においては、記録ヘッドを用い、移動するベルト材に載せられた記録媒体に画像を記録する記録装置であって、前記ベルト材を移動させるための駆動手段と、前記ベルト材の表面および前記ベルト材に載せられた記録媒体の表面を検出することによって、前記記録媒体の移動量あるいは移動速度を取得することが可能な移動情報取得手段と、該移動情報取得手段によって取得された前記移動量あるいは移動速度に基づいて、前記駆動手段を制御する制御手段とを備えることを特徴とする。
また、記録ヘッドを用い、移動するベルト材に載せられた記録媒体に画像を記録する記録装置の前記記録媒体の搬送制御方法であって、前記ベルト材を移動させる移動工程と、前記ベルト材の表面および前記ベルト材に載せられた記録媒体の表面を検出することによって、前記記録媒体の移動量あるいは移動速度を取得する移動情報取得工程と、該移動情報取得工程によって取得された前記移動量あるいは移動速度に基づいて、前記移動工程における前記ベルト材の移動を制御する工程とを有することを特徴とする。
本発明によれば、検知する対象を記録媒体からベルト材に切り替えながらも、同じ光学センサユニットによる同様の検知方法で搬送量の測定を途切れなく行うことが出来る。よって、記録動作中の記録媒体の全搬送工程において、記録媒体の搬送量を信頼性の高い状態で検出しつつ、検出した情報を用いて精度の高い状態で搬送制御を実行することが可能となる。
(第1の実施形態)
図2は、本発明に適用可能なインクジェット記録装置の主要部の構成を示した上面図である。また、図3は、当該記録装置の記録部および搬送系を詳細に説明するための断面図である。
記録が行われる前、普通紙やプラスチック薄板等の記録媒体8は、オートシートフィーダ32に積載されている。記録が開始されると、給紙モータ35が駆動され、この駆動力がギア等を介してピックアップローラ31に伝達される。そして、ピックアップローラ31の回転によって、記録媒体8はオートシートフィーダ32から一枚ずつ分離され、記録装置の内部に給紙される。この際、ペーパセンサ33が記録媒体8の有無を検出し、給紙が正常に行われたか否かを判断する。給紙された記録媒体8は、ベルト材15の上に載せられ、所定の速度でY方向へ搬送される。
図3に見るように、ベルト材15は、搬送ローラ9と従動ローラ10の外周に接触するように筒状に掛け渡されている。従動ローラ10は不図示のバネ部材により下流方向(図の左方向)へ付勢されており、これによりベルト材15の張りが一定に保たれている。搬送モータ14の回転力がギアを介して伝達されることによって搬送ローラ9が回転し、この回転運動がベルト材に伝達されることにより、ベルト材15および従動ローラ10がそれぞれ矢印の方向に回転する。このようなベルト材15の回転によって、搬送ローラ9の位置まで給紙された記録媒体8はY方向に搬送される。
搬送ローラ9には、搬送ローラ9と回転軸を共有するコードホイール13が取り付けられており、回転角センサ18はコードホイール13の回転位置を検出することが出来るようになっている。
図4は、コードホイール13および回転角センサ18の配置状態を説明するための模式図である。コードホイール13の円周部には等間隔にスリット201が刻まれており、回転角センサ18は、スリット201が通過する位置に設置されている。回転角センサ18は光学式の透過型センサであり、移動するスリット201を検知し、検知したタイミングでパルス信号を発信する。このパルス信号により、コードホイール13の回転量が検出され、パルス信号が発信される時間間隔などから、記録媒体の位置、搬送速度などが算出される。すなわち本実施形態では、コードホイール13および回転角センサ18のような搬送ローラの駆動量を取得する駆動量取得手段を備えることにより、ここから得られた情報によって間接的に記録媒体の移動量および移動速度が算出できるようになっている。
再度、図2および図3を参照する。ベルト材15のヘッドカートリッジ1に対向する位置には、平板からなるプラテン17が、ベルト材15の内周からこれを支えるように配備されている。また、ヘッドカートリッジ1による記録領域の上流側と下流側には、搬送中の記録媒体8を上部から押さえるためのピンチローラ12および拍車ローラ11が備えられている。搬送中の記録媒体8の記録領域は、このようなプラテン17による下方からの支えと、ピンチローラ12および拍車ローラ11による上部からの押さえによって、平坦に維持されている。
キャリッジ2は、装置本体に設置されたガイドシャフト3に案内支持されており、ガイドシャフト3が延在するX方向に沿って往復移動が可能になっている。キャリッジ2の移動力は、キャリッジモータ4の駆動力が、モータプーリ5、従動プーリ6およびタイミングベルト7等に伝達されることによって得られている。また、キャリッジ2には、ホームポジションセンサ30が設けられており、ホームポジションセンサ30がホームポジションに設置されている遮蔽板36を通過することにより、キャリッジ2がホームポジションにあることを検知することができる。
キャリッジ2に搭載されたヘッドカートリッジ1は、インクを吐出する記録ヘッド26と記録ヘッド26に供給するインクを貯留したインクタンクを備えている。記録ヘッド26は、キャリッジ2とともにX方向に移動しながら、下方を通過する記録媒体8に対し所定のタイミングで画像信号に従ってインクを吐出する。
図5は、記録ヘッド26の構造を部分的に示すための模式的斜視図である。本実施形態で使用する記録ヘッド26は、熱エネルギを発生するための電気熱変換体を複数備え、発生した熱エネルギを利用してインクを吐出する仕組みになっている。図において、記録媒体8と一定の間隔で対面する吐出口面22には、所定のピッチで複数の吐出口27が形成されている。インクタンクより供給されたインクは、共通液室23に一旦貯留された後、更に個々の吐出口27に連通する複数の液路24内へと毛細管力によって導かれる。個々の液路24内の吐出口27に近い部分には、熱エネルギを発生するための電気熱変換体25が配設されている。電気熱変換体25には、画像信号に基づいて所定のパルスが印加され、これによって発生した熱が液路24内のインクに膜沸騰を起こさせる。そして、この時の発泡圧力によって吐出口27から所定量のインクが滴として吐出される。
本実施形態で使用する記録装置は、シリアル型のインクジェット記録装置であり、吐出口27が配列する方向はキャリッジ2の移動方向(X方向)とは交差する方向になっている。すなわち、キャリッジ2を移動しながら各吐出口27からインクを吐出する記録走査と、ベルト材15を回転させることによって記録媒体をY方向に所定量搬送する搬送動作とを、交互に繰り返すことにより、記録媒体8に段階的に画像を形成していくことが出来る。
再度図2および図3を参照する。本実施形態において、搬送方向(Y方向)のキャリッジ2よりも上流側には、記録媒体8の搬送量を直接検知するための光学センサユニット16が設置されている。
図6は、光学センサユニット16の概略構成を説明するための模式図である。光学センサユニット16には、発光素子41と、発光素子41から照射され記録媒体8等によって反射された光を、レンズ系43を介して受光する受光素子42が配設されている。受光素子42としてはCCDやCMOSのような光電変換素子を1次元に配列したラインセンサ、または2次元に配列したエリアセンサを用いることが出来る。受光素子42の各センサに撮像された画像情報はハードウェア44に送信され、所定の処理が施された後、装置本体のコントローラへ転送される。
ここで取得される画像情報とは、反射光を受信して得られる記録媒体8やベルト材15の部分的な表面状態が特徴づけられる情報である。例えば、記録媒体8やベルト材15の表面形状により現れる陰影であってもよいし、予め表面に印刷されているパターンであってもよい。また、コヒーレント光源からの反射光の干渉により生じるスペックルパターン等であってもよい。
図7は、2つの異なるタイミングT1とT2において光学センサユニット16から得られた画像情報から、記録媒体8の移動量および搬送速度を求める方法を説明するための図である。501は、時刻T1において光学センサユニット16が搬送中の記録媒体表面を検出して得られた第1の画像情報である。このような画像情報が得られた場合、記録装置内のコントローラは、画像情報501に対して所定の大きさを有する相関窓領域601を配置させる。
図8は、上記画像情報501に対する相関窓領域601の配置状態を説明するための模式図である。本実施形態において、相関窓領域601は5画素×5画素の領域を有しており、記録媒体8に記録された特徴的なパターン(ここでは十字パターン)が中心になるように、第1の画像情報501に対し図のように配置される。その後制御装置は、相関窓領域601に含まれる画像情報のみを抽出し、相関窓内パターン602として記憶する。
一方、再度図7を参照するに、502は時刻T1とは異なる時刻T2において光学センサユニット16が搬送中の記録媒体表面を検出して得られた第2の画像情報である。コントローラは、第2の画像情報に対し相関窓領域を順次移動させ、既に記憶されている相関窓内パターン602と一致する位置を検出する。そして、第1の画像情報501における相関窓内パターン602の位置と、第2の画像情報502における相関窓内パターン602の位置との距離Lより、レンズ43等の光学倍率を考慮した上で、時刻T1とT2の間に記録媒体8が移動した距離を取得する。また、時刻T1とT2の時間差より記録媒体8の搬送速度も算出することが出来る。
以上では、説明を簡単にするため、十字パターンが記録された記録媒体の搬送量を測定する内容で説明した。しかし、再度図2を参照するに、本実施形態の光学センサユニット16は、キャリッジ2よりも搬送方向の上流側で主走査方向のほぼ中央に配置されているので、記録後の記録媒体の情報を取得することは出来ない。本実施形態では、光学センサユニット16は、白紙の記録媒体8あるいはベルト材15の表面状態を検知するものとする。より具体的には、記録媒体8がペーパセンサ33を通過して光学センサユニット16の検出可能な領域にあるときには記録媒体8の表面状態を検知し、記録媒体8が検出可能な領域に無いときには、ベルト材15の表面状態を検知する。どちらの場合であっても、光学センサユニット16が受信した信号を2値化するなどしてパターン化すれば、図7や図8で説明した方法に従って記録媒体8やベルト材15の移動距離や速度を取得することが出来る。既に説明した回転角センサ18を用いて搬送量を測定する方法では、スリットを検知したタイミングで搬送量が求められるが、このような光学センサユニット16を用いた方法では、単位時間ごとに実際の搬送量や速度を取得することが出来る。
なお、本実施形態において、光学センサユニット16は、図7および図8で説明した工程に従って記録媒体の移動量を測定することにも使われるが、光学センサユニット16の検出値によって、記録媒体の有無を判断するのにも利用することが出来る。
図9は、本実施形態で適用するインクジェット記録装置における制御の構成を説明するためのブロック図である。図において、コントローラ100は記録装置の主制御部であり、例えばマイクロコンピュータ形態のCPU101、プログラムや所要のテーブルその他の固定データを格納したROM103、画像データを展開する領域や作業用の領域等を設けたRAM105を有する。
ホスト装置110は、記録装置の外部に接続されて画像の供給源となる装置である。ホスト装置110は、記録に係る画像等のデータの作成や処理等を行うコンピュータでもよいし、画像読み取り用のリーダ部等の形態であってもよい。ホスト装置110から供給される画像データやその他のコマンド、更にステータス信号等は、インタフェース(I/F)112を介してコントローラ100と送受信可能な構成となっている。
操作部120は操作者による入力指示を受容するスイッチ群であり、電源スイッチ122、吸引回復の起動を指示するための回復スイッチ126等を有する。
センサ部130は装置の状態を検出するためのセンサ群である。本実施形態においては、上述したホームポジションセンサ30、ペーパセンサ33、搬送量を検出するための光学センサユニット16および回転角センサ18の他に、環境温度を検出するための温度センサ134等を有している。
140はヘッドドライバであり、記録データに応じて記録ヘッド26の電気熱変換体25を駆動する。またヘッドドライバ140には、記録データを複数の電気熱変換体25の夫々に対応させて整列させるシフトレジスタ、適宜のタイミングでラッチするラッチ回路が備えられている。さらに、駆動タイミング信号に同期して電気熱変換体25を作動させる論理回路素子、記録媒体でのドット位置を調整するために吐出タイミングを適切に設定するタイミング設定部等も含まれている。
記録ヘッド26の近傍には、インクの吐出特性を安定させるために記録ヘッド26の温度調整を行うサブヒータ142が設けられている。サブヒータ142は、電気熱変換体25と同様に記録ヘッド26の基板上に形成されていてもよいし、また記録ヘッド26の本体ないしはヘッドカートリッジ1に取り付けられていてもよい。
150はキャリッジモータ4を駆動するためのモータドライバ、160は給紙モータ35を駆動するためのモータドライバ、および170は搬送モータ14の駆動制御を行うためのモータドライバである。
図10は、本実施形態における記録媒体の搬送制御において、CPU101が行う処理を説明するためのフローチャートである。また、図11は、フローチャートに示す各工程における記録媒体の搬送状態を説明するための図である。本実施形態では、用紙の先端から後端までの全領域に画像を形成する「余白なし記録」を実行するものとする。
ホスト装置110からの記録開始コマンドにより記録動作が開始されると、CPU101は、給紙モータ35を駆動して、オートシートフィーダ32から1枚の記録媒体8を給紙する(STEP1、状態1)。続くSTEP2で、CPU101はペーパセンサ33が記録媒体8の先端を検知したか否かを判断し、記録媒体8の先端を検知したと判断した場合はSTEP3に進む。一方、STEP2で記録媒体の先端をまだ検知していなと判断した場合、STEP1に戻り給紙動作を継続する。以後、記録媒体の先端が検知されるまで、STEP1とSTEP2を繰り返す。図11の状態2は、記録媒体8の先端が、丁度ペーパセンサ33によって検知可能な位置に到達した状態を示している。
STEP3において、CPU101は、搬送モータ14の駆動を開始し、同時に、回転角センサ18によるコードホイール13の回転量の検出も開始する。これにより、記録媒体8はベルト材15に載せられ、回転角センサ18からの情報に基づいたY方向への搬送制御が行われる。具体的に説明すると、CPU101は、回転角センサ18がコードホイール13に形成されたスリットを検知するタイミングから、搬送ローラ9の回転量および回転速度を判断し、この実測値を搬送モータ14の駆動にフィードバックしながら搬送制御を行う。
続くSTEP4において、CPU101は光学センサユニット16が記録媒体8を検知したか否かを判断し、検知したと判断した場合はSTEP5へ進む。一方、未だ記録媒体8を検知していないと判断した場合にはSTEP3に戻り、光学センサユニット16が記録媒体8を検知するまで、STEP3およびSTEP4の工程を繰り返す。図11の状態3は、記録媒体8の先端が、光学センサユニット16によって検知される領域に達したタイミングの搬送状態を示している。
STEP5において、CPU101は、光学センサユニット16を用いた搬送量の測定を開始する。但し、このタイミングにおいて、CPU101は光学センサユニット18から得られる情報に基づいた搬送制御は行わず、回転角センサ18から得られる情報のみをフィードバックして搬送モータ14を制御している。CPU101は、同時刻に得られる回転角センサ18からの搬送量情報と光学センサユニット16からの搬送量情報を、それぞれ記憶する。
STEP6において、CPU101は、回転角センサ18から得られる搬送情報と光学センサユニット16から得られる搬送情報の差が許容量以内であるか否かを判断する。許容量以内であると判断した場合STEP7へ進み、許容量以内ではないと判断した場合STEP10へ進む。
STEP7において、CPU101は、記録媒体8の搬送制御を行うために利用する情報を、回転角センサ18からの搬送情報から光学センサユニットからの搬送情報に切り替え、画像データに従った記録動作を開始する。すなわち、CPU101は、光学センサユニット17から得られた搬送情報に基づいて記録媒体8の移動量および移動速度を判断し、この実測値を搬送モータ14の駆動にフィードバックしながら搬送制御を行いつつ、記録ヘッド26による記録動作を実行する。本実施形態では、記録媒体8の最端部まで画像を記録する「余白なし記録」を行っているので、記録媒体8に対する記録ヘッド26による記録動作は、図11の状態4の位置で開始され、状態5を経て、状態6の位置で終了する。このとき、状態4において光学センサユニット16は記録媒体8の移動量を検知しているが、状態5の段階で記録媒体8の後端部は光学センサユニット16の検知領域から外れてしまう。従って、本実施形態において、状態5から状態6の間において、光学センサユニット16が検知している対象は、記録媒体8ではなくベルト材15である。このように、検知する対象が途中から切り替わる状況であっても、本実施形態のようにベルト材15上に記録媒体8をのせて搬送させる形態であれば、光学センサユニット16による搬送量の測定を途切れなく行うことが出来る。
STEP8において、CPU101は、記録媒体8に対する全ての画像データの記録が完了したか否かを判断する。全ての画像データの記録が完了したと判断した場合、STEP9へ進み回転角センサ18を用いた搬送制御によって記録媒体を連続的に搬送し、その後STEP12で排紙動作を行った後、本処理を終了する。一方、STEP8において記録媒体8に対する画像データの記録がまだ完了していないと判断された場合、STEP7へ戻り、光学センサユニット16から得られた情報に基づいて搬送制御を行いながら、記録動作を継続する。
STEP6において、回転角センサ18から得られる搬送情報と光学センサユニット16から得られる搬送情報の差が許容量以上であると判断した場合、CPU101は、回転角センサ18からの情報に基づいた搬送制御のまま、記録動作を開始する。このように2つの搬送情報の差が許容量以上であった場合に回転角センサ18からの情報を優先するのは、記録媒体の種類によっては光学センサユニット16を用いた搬送量検知自体が困難になり、取得された搬送量情報の信頼性が低くなる恐れが生じるからである。これに対し、回転角センサ16を用いた場合は、記録媒体の実際の移動量は測定しないが、実際の移動量に対し然程大きな誤差を持たないことが分かっており、得られる情報の信頼性が高いからである。
STEP11において、CPU101は、記録媒体8に対する全ての画像データの記録が完了したか否かを判断する。全ての画像データの記録が完了したと判断した場合、STEP12へ進み排紙動作を行い、本処理を終了する。一方、STEP11において、記録媒体8に対する画像データの記録がまだ完了していないと判断した場合、STEP10へ戻り、回転角センサ18から得られた情報に基づいて搬送制御を行いながら、記録動作を継続する。
以上説明した本実施形態であれば、検知する対象が途中から記録媒体からベルト材に切り替わる状況であっても、同じ光学センサユニットによる同様の検知方法で搬送量の測定を途切れなく行うことが出来る。よって、記録動作中の記録媒体の全搬送工程において、記録媒体の搬送量を信頼性の高い状態で検出しつつ、検出した情報を用いて精度の高い状態で搬送制御を実行することが可能となる。
(第2の実施形態)
本実施形態においても、第1の実施形態と同様の記録装置および記録ヘッドを用いる。但し、本実施形態の記録装置は、搬送ローラ9の回転量を測定するための構成、すなわちコードホイール13および回転角センサ18は備えていないものとする。
第1の実施形態では、光学センサユニット16から得られる搬送量情報の信頼性が低くなる場合に対応するために、光学センサユニット16とは別に、回転各センサ18も備えた記録装置および搬送制御方法について説明した。しかし、本発明において回転角センサ18を備えることや、光学センサユニット16以外に記録媒体の搬送量を検出する手段を設けることは必須ではない。光学センサユニット16が、記録装置が対応可能とする殆どの記録媒体の搬送量をほぼ正確に検知することが出来れば、記録動作中の記録媒体の全搬送工程において、光学センサユニット16から得られる搬送情報のみを用いて搬送制御を実行することも出来る。
図12は、本実施形態における記録媒体の搬送制御において、CPU101が行う処理を示したフローチャートである。以下、図9で説明したフローチャートと異なる、本実施形態の特徴的な部分について説明する。
STEP22においてペーパセンサ33が記録媒体8を検知すると、CPU101はSTEP23に進み、光学センサユニット16を用いた搬送制御のもと、搬送モータ35の駆動を開始する。この時点において、記録媒体8の先端は光学センサユニット16の検知領域に達していないので、光学センサユニット16が検知する対象となるのはベルト材15である。
STEP24において、光学センサユニット16が記録媒体8を検知すると、CPU101はSTEP25に進み、光学センサユニット16を用いた搬送制御のもと記録動作を開始する。このとき、光学センサユニット16が記録媒体8を検知した時点から、光学センサユニット16が検知する対象はベルト材15から記録媒体8に切り替わる。その後、STEP26によって記録媒体8に対する全ての画像データの記録が完了したことを確認するまで、STEP25による記録動作は継続される。
STEP26で全ての画像データの記録が完了したことを確認すると、CPU101はSTEP27へ進み、光学センサユニット16を用いた搬送制御のもと記録媒体8を搬送し、STEP28で排紙する。以上で本処理が終了する。
以上説明した本実施形態であれば、1つの搬送量測定手段(光学センサユニット)を設けるのみで、記録中の記録媒体の全搬送工程において、記録媒体の搬送量を信頼性の高い状態で検出しつつ、検出した情報を用いて高精度な搬送制御を実行することが可能となる。
(第3の実施形態)
本実施形態においても、第1の実施形態と同様の記録装置および記録ヘッドを用いる。但し、本実施形態では、回転角センサ18から得られる搬送量情報に基づいて基本的な搬送制御を行いつつ、光学センサユニット16から得られる搬送量情報に基づいて上記搬送制御にさらに補正をかける。
図13は、搬送モータ14の駆動によって1回分の搬送動作を行った場合の、時間に対するベルト材15(記録媒体8)の理想的な搬送速度を示した図である。図において、T0からT1までは加速制御、T1〜T2までは定速制御、T2〜T3は減速制御となる。但し、搬送系に対し何らかの外力が加わった場合などは、一時的にベルト材15の移動が搬送モータ14の駆動に追従しない場合がある。
図14は、1回分の搬送動作において、ベルト材15の搬送速度が理想的な状態にならなかった場合の、補正方法を示した図である。T1〜T2の定速制御において、図のように記録媒体の速度が一時的に低下してしまった場合、破線で示した通常の減速制御すなわちT2〜T3にかけて一定減速を行うと、記録媒体8の移動量は目標よりも少なくなってしまう。よって、本実施形態では、光学センサユニット16から得られる搬送量情報に基づいて、定速制御から減速制御切り替えるタイミングT2を、搬送動作ごとに調整する。図14では、T2をT2´に補正した例を示している。このように、定速制御から減速制御に切り替えるタイミングを遅延させることにより、記録媒体の搬送速度が0になるタイミングもT3からT3´に補正され、結果、記録媒体8の搬送量を目標値に近づけることが出来る。
なお、ここでは、定速制御から減速制御切り替えるタイミングT2を補正することで目標の搬送量を実現する内容で説明したが、搬送量を調整するために補正の対称となるパラメータはT2に限られるものではない。例えば、定速制御から減速制御に切り替えるタイミングT2はそのままにしておきながら、減速の度合い(T2からT3への傾き)をより緩やかにすることによって、目標の搬送量を達成することも出来る。
以上説明した実施形態では、光学センサユニット16をキャリッジ2の上流側に配置する構成で説明した。しかし、本発明において、光学センサユニット16の設置位置は、その検知領域が、記録媒体が通過する領域であり、且つ記録媒体が通過する前後でも記録媒体を搭載してこれを移動させるベルト材が存在する領域であれば、特に制限は無い。
本発明においては、記録媒体およびベルト材の両方の表面を光学センサユニットが検出可能であることが要される。よって、搬送中の記録媒体とベルト材が一体となるように、両者の間に静電気を生じさせるための帯電機構や、これを除去するための除電機構を記録装置内に配備しておいてもよい。また、ピックアップローラなどのベルト材以外の搬送系が、ベルト材による記録媒体の搬送に影響を与えないように、ピックアップローラと記録媒体との接触を給紙直後に解除させる機構などを設けてもよい。
さらに、ベルト材の表面には、光学センサユニットが検出した撮像画像にその特徴が表れやすいように、模様を設けたり微細な凹凸形状を設けたりしてもよい。
また、光学センサにより撮像される画像の特徴点比較においては、図7あるいは図8で説明したようなパターン化した画像を用いても良いが、本発明はこれに限定されるものではない。例えば、光学センサユニットから得られた反射光の情報をフーリエ変換し、異なるタイミングで得られた情報を周波数ごとに一致を確認してもよいし、ピークとなる部分のみの移動量を取得する方法でもよい。
さらにまた、以上ではシリアル型のインクジェット記録装置を例に説明してきたが本発明はこのような構成に限定されるものでもない。記録ヘッドはインクジェット方式でなくても無論構わないし、記録媒体の幅に対応する数だけX方向に吐出口を配列させ、記録媒体の連続的な搬送動作によって画像を記録するフルラインタイプの記録装置であっても、本発明の効果は充分に得ることが出来る。
いずれの構成であっても、記録媒体および当該記録媒体に接触してこれを移動させるベルト材を備え、記録媒体の移動量とベルト材の移動量の両方を検知可能な移動情報取得手段を備えた記録装置であれば、本発明の効果は充分得ることが出来る。
特許文献4に開示されている記録媒体の搬送量を測定する方法を説明するための図である。 本発明に適用可能なインクジェット記録装置の主要部の構成を示した上面図である。 本発明に適用可能なインクジェット記録装置の記録部および搬送系を詳細に説明するための断面図である。 コードホイールおよび回転角センサの配置状態を説明するための模式図である。 記録ヘッドの構造を部分的に示すための模式的斜視図である。 光学センサユニットの概略構成を説明するための模式図である。 2つの異なるタイミングT1とT2において光学センサユニットから得られた画像情報から、記録媒体の移動量および搬送速度を求める方法を説明するための図である。 画像情報に対する相関窓領域の配置状態を説明するための模式図である。 本発明の実施形態で適用するインクジェット記録装置における制御の構成を説明するためのブロック図である。 第1の実施形態における記録媒体の搬送制御において、CPUが行う処理を説明するためのフローチャートである。 図10のフローチャートに示す各工程における記録媒体の搬送状態を説明するための図である。 第2の実施形態における記録媒体の搬送制御において、CPUが行う処理を示したフローチャートである。 搬送モータの駆動によって1回分の搬送動作を行った場合の、時間に対するベルト材(記録媒体)の理想的な搬送速度を示した図である。 1回分の搬送動作において、ベルト材の搬送速度が理想的な状態にならなかった場合の、補正方法を示した図である。
符号の説明
1 インクジェットカートリッジ
2 キャリッジ
3 ガイドシャフト
4 キャリッジモータ
5 モータプーリ
6 従動プーリ
7 タイミングベルト
8 記録媒体
9 搬送ローラ
10 従動ローラ
11 拍車ローラ
12 ピンチローラ
13 コードホイール
14 搬送モータ
15 ベルト材
16 光学センサユニット
17 プラテン
18 回転角センサ
26 記録ヘッド
31 ピンチローラ
32 オートシーダ
33 ペーパセンサ
35 給紙モータ
36 遮蔽版

Claims (10)

  1. 記録ヘッドを用い、移動するベルト材に載せられた記録媒体に画像を記録する記録装置であって、
    前記ベルト材を移動させるための駆動手段と、
    前記ベルト材の表面および前記ベルト材に載せられた記録媒体の表面を検出することによって、前記記録媒体の移動量あるいは移動速度を取得することが可能な移動情報取得手段と、
    該移動情報取得手段によって取得された前記移動量あるいは移動速度に基づいて、前記駆動手段を制御する制御手段と
    を備えることを特徴とする記録装置。
  2. 前記移動情報取得手段は、前記記録装置内の前記記録媒体が通過する位置に固定されており、前記記録媒体に画像を記録する動作中において、前記移動情報取得手段による検出が可能な領域に前記記録媒体が存在するタイミングでは前記記録媒体の表面を検出し、検出が可能な領域に前記記録媒体が存在しないタイミングでは前記ベルト材の表面を検出することを特徴とする請求項1に記載の記録装置。
  3. 前記駆動手段の駆動量を測定することによって前記記録媒体の移動量あるいは移動速度を取得することが可能な駆動量取得手段をさらに備え、
    前記制御手段は、前記移動情報取得手段によって取得された前記記録媒体の移動量あるいは移動速度、および前記駆動量取得手段によって取得された前記記録媒体の移動量あるいは移動速度、に基づいて、前記駆動手段を制御することを特徴とする請求項1または2に記載の記録装置。
  4. 前記制御手段は、前記移動情報取得手段によって取得された前記記録媒体の移動量あるいは移動速度を用いて、前記駆動量取得手段によって取得された前記記録媒体の移動量あるいは移動速度を補正した後の情報に基づいて、前記駆動手段を制御することを特徴とする請求項3に記載の記録装置。
  5. 前記制御手段は、前記移動情報取得手段によって取得された前記記録媒体の移動量あるいは移動速度と、前記駆動量取得手段によって取得された前記記録媒体の移動量あるいは移動速度との差を求め、該差が許容量以内であるか否かに応じて、前記移動情報取得手段によって取得された前記記録媒体の移動量あるいは移動速度に基づいて前記駆動手段を制御するか、前記駆動量取得手段によって取得された前記記録媒体の移動量あるいは移動速度に基づいて前記駆動手段を制御するかを判断することを特徴とする請求項3に記載の記録装置。
  6. 前記駆動手段は、回転運動を前記ベルト材に伝達する搬送ローラを有し、前記駆動量取得手段は、前記搬送ローラの回転量を検出することによって前記記録媒体の移動量あるいは移動速度を取得することを特徴とする請求項3乃至5のいずれかに記載の記録装置。
  7. 前記移動情報取得手段は、発光素子と該発光素子から発光された光が前記ベルト材あるいは前記記録媒体の表面で反射した光を受光する受光素子とを有する光学センサであり、異なる時刻における複数の検出によって、前記記録媒体の移動量あるいは移動速度を取得することを特徴とする請求項1乃至6のいずれかに記載の記録装置。
  8. 前記受光素子は、1次元あるいは2次元に配列したCCDまたはCMOSであることを特徴とする請求項7に記載の記録装置。
  9. 前記ベルト材の表面には、模様あるいは微細な凹凸形状が設けられていることを特徴とする請求項1乃至8のいずれかに記載の記録装置。
  10. 記録ヘッドを用い、移動するベルト材に載せられた記録媒体に画像を記録する記録装置の前記記録媒体の搬送制御方法であって、
    前記ベルト材を移動させる移動工程と、
    前記ベルト材の表面および前記ベルト材に載せられた記録媒体の表面を検出することによって、前記記録媒体の移動量あるいは移動速度を取得する移動情報取得工程と、
    該移動情報取得工程によって取得された前記移動量あるいは移動速度に基づいて、前記移動工程における前記ベルト材の移動を制御する工程と
    を有することを特徴とする搬送制御方法。
JP2008169047A 2008-06-27 2008-06-27 記録装置および搬送制御方法 Expired - Fee Related JP5354975B2 (ja)

Priority Applications (6)

Application Number Priority Date Filing Date Title
JP2008169047A JP5354975B2 (ja) 2008-06-27 2008-06-27 記録装置および搬送制御方法
EP09162237.3A EP2138317B1 (en) 2008-06-27 2009-06-09 Printing apparatus and object conveyance control method
US12/488,127 US8454111B2 (en) 2008-06-27 2009-06-19 Printing apparatus and object conveyance control method
RU2009124527/12A RU2413621C1 (ru) 2008-06-27 2009-06-26 Печатающее устройство и способ управления перемещением объектов
CN2009101506946A CN101612841B (zh) 2008-06-27 2009-06-29 打印设备和物体输送控制方法
US13/837,291 US20130201241A1 (en) 2008-06-27 2013-03-15 Printing apparatus and object conveyance control method

Applications Claiming Priority (1)

Application Number Priority Date Filing Date Title
JP2008169047A JP5354975B2 (ja) 2008-06-27 2008-06-27 記録装置および搬送制御方法

Publications (2)

Publication Number Publication Date
JP2010005955A true JP2010005955A (ja) 2010-01-14
JP5354975B2 JP5354975B2 (ja) 2013-11-27

Family

ID=41162728

Family Applications (1)

Application Number Title Priority Date Filing Date
JP2008169047A Expired - Fee Related JP5354975B2 (ja) 2008-06-27 2008-06-27 記録装置および搬送制御方法

Country Status (5)

Country Link
US (2) US8454111B2 (ja)
EP (1) EP2138317B1 (ja)
JP (1) JP5354975B2 (ja)
CN (1) CN101612841B (ja)
RU (1) RU2413621C1 (ja)

Cited By (4)

* Cited by examiner, † Cited by third party
Publication number Priority date Publication date Assignee Title
EP2355526A2 (en) 2010-01-14 2011-08-10 Nintendo Co., Ltd. Computer-readable storage medium having stored therein display control program, display control apparatus, display control system, and display control method
JP2012131128A (ja) * 2010-12-22 2012-07-12 Riso Kagaku Corp 画像形成装置
JP2013088336A (ja) * 2011-10-20 2013-05-13 Ricoh Co Ltd 速度検出装置、移動部材搬送ユニット、及び、画像形成装置
JP2017001233A (ja) * 2015-06-08 2017-01-05 株式会社リコー 画像形成装置

Families Citing this family (18)

* Cited by examiner, † Cited by third party
Publication number Priority date Publication date Assignee Title
JP5132623B2 (ja) * 2008-05-08 2013-01-30 キヤノン株式会社 プリンタ
JP2010030281A (ja) * 2008-06-27 2010-02-12 Canon Inc 搬送装置及び記録装置
ATE549173T1 (de) * 2008-12-17 2012-03-15 Canon Kk Druckvorrichtung
JP5495716B2 (ja) * 2009-10-30 2014-05-21 キヤノン株式会社 移動検出装置および記録装置
JP5614083B2 (ja) * 2010-04-14 2014-10-29 セイコーエプソン株式会社 印刷装置および印刷方法
JP5472264B2 (ja) * 2010-12-28 2014-04-16 ブラザー工業株式会社 画像形成装置及び制御プログラム
JP5857673B2 (ja) * 2011-11-24 2016-02-10 セイコーエプソン株式会社 ターゲット搬送装置及び液体噴射装置
CN103302969B (zh) * 2012-03-16 2015-12-02 联想(北京)有限公司 打印机及其打印方法
JP2014087965A (ja) * 2012-10-30 2014-05-15 Seiko Epson Corp 搬送装置及び記録装置
EP3007133B1 (en) * 2014-10-08 2018-06-20 OCE-Technologies B.V. Apparatus and method for defect detection in a printing system
US9465563B2 (en) * 2014-10-08 2016-10-11 Oce-Technologies B.V. Method for defect detection in a printing system and printing system
JP6459376B2 (ja) * 2014-10-16 2019-01-30 セイコーエプソン株式会社 搬送装置及び同装置を備える印刷装置
JP6507777B2 (ja) * 2015-03-26 2019-05-08 セイコーエプソン株式会社 液滴吐出装置
JP2017024206A (ja) * 2015-07-17 2017-02-02 セイコーエプソン株式会社 印刷装置
JP7128604B2 (ja) * 2016-01-14 2022-08-31 ブラザー工業株式会社 印刷装置
WO2018080468A1 (en) * 2016-10-26 2018-05-03 Hewlett-Packard Development Company, L.P. Decel correction in a printer
CN110062692A (zh) * 2017-01-19 2019-07-26 惠普发展公司,有限责任合伙企业 监测构建平台的移动以用于驱动校准
CN113895157B (zh) * 2021-09-30 2024-03-22 上海汉图科技有限公司 打印机和打印机的监测方法

Citations (5)

* Cited by examiner, † Cited by third party
Publication number Priority date Publication date Assignee Title
JPH08292264A (ja) * 1995-04-20 1996-11-05 Fuji Xerox Co Ltd レーザドップラー速度測定装置及びこれを用いたカラー画像形成装置
JP2002179290A (ja) * 2000-08-23 2002-06-26 Heidelberger Druckmas Ag 印刷製品の印刷機械中の搬送を制御する装置
JP2003267591A (ja) * 2002-01-11 2003-09-25 Brother Ind Ltd 画像形成装置
JP2006159895A (ja) * 2004-11-15 2006-06-22 Ricoh Co Ltd 搬送ベルトの駆動制御装置及び画像形成装置及び搬送ベルトの駆動制御方法
JP2006347045A (ja) * 2005-06-17 2006-12-28 Ricoh Co Ltd 画像形成装置

Family Cites Families (19)

* Cited by examiner, † Cited by third party
Publication number Priority date Publication date Assignee Title
CA2043048C (en) * 1990-05-22 2000-10-03 Hidejiro Kadowaki Information recording apparatus
US5149980A (en) 1991-11-01 1992-09-22 Hewlett-Packard Company Substrate advance measurement system using cross-correlation of light sensor array signals
ATE208279T1 (de) * 1992-07-31 2001-11-15 Canon Kk Blattfördervorrichtung
JP3197960B2 (ja) * 1992-09-30 2001-08-13 キヤノン株式会社 自動給送装置及び画像形成装置
JP3119754B2 (ja) * 1992-12-24 2000-12-25 キヤノン株式会社 記録装置
JP3098369B2 (ja) * 1993-12-15 2000-10-16 キヤノン株式会社 シート給送装置及び記録装置
US5918873A (en) * 1995-03-30 1999-07-06 Canon Kabushiki Kaisha Sheet supplying apparatus which regulates tip end of sheet by first and second abutment means
WO2000021758A1 (en) * 1998-10-15 2000-04-20 Identity Group, Inc. Printer and method of using same to print on thermoplastic medium
DE19929323A1 (de) * 1999-06-25 2000-12-28 Eastman Kodak Co Tintenstrahldrucker für die Herstellung von Fotoabzügen
JP3762228B2 (ja) * 2001-01-31 2006-04-05 キヤノン株式会社 記録装置および記録方法
JP2003149965A (ja) * 2001-08-28 2003-05-21 Canon Inc 画像形成装置
US6805425B2 (en) * 2002-01-11 2004-10-19 Brother Kogyo Kabushiki Kaisha Image forming device
JP4366150B2 (ja) 2003-09-05 2009-11-18 キヤノン株式会社 記録装置
JP2005177989A (ja) * 2003-12-15 2005-07-07 Canon Inc インクジェット記録装置及びそのインクジェット記録方法
DE102004039943A1 (de) * 2004-08-17 2006-03-09 Siemens Ag Drucker, Betrieb eines Druckers
EP1645421B1 (en) * 2004-10-08 2008-07-02 Brother Kogyo Kabushiki Kaisha Ink jet printer
WO2007046309A1 (en) 2005-10-20 2007-04-26 Ricoh Company, Ltd. Image forming apparatus
US7845790B2 (en) 2006-04-07 2010-12-07 Fujifilm Dimatix, Inc. Ink jet printing
JP5103869B2 (ja) * 2006-10-31 2012-12-19 富士ゼロックス株式会社 液滴吐出装置

Patent Citations (5)

* Cited by examiner, † Cited by third party
Publication number Priority date Publication date Assignee Title
JPH08292264A (ja) * 1995-04-20 1996-11-05 Fuji Xerox Co Ltd レーザドップラー速度測定装置及びこれを用いたカラー画像形成装置
JP2002179290A (ja) * 2000-08-23 2002-06-26 Heidelberger Druckmas Ag 印刷製品の印刷機械中の搬送を制御する装置
JP2003267591A (ja) * 2002-01-11 2003-09-25 Brother Ind Ltd 画像形成装置
JP2006159895A (ja) * 2004-11-15 2006-06-22 Ricoh Co Ltd 搬送ベルトの駆動制御装置及び画像形成装置及び搬送ベルトの駆動制御方法
JP2006347045A (ja) * 2005-06-17 2006-12-28 Ricoh Co Ltd 画像形成装置

Cited By (4)

* Cited by examiner, † Cited by third party
Publication number Priority date Publication date Assignee Title
EP2355526A2 (en) 2010-01-14 2011-08-10 Nintendo Co., Ltd. Computer-readable storage medium having stored therein display control program, display control apparatus, display control system, and display control method
JP2012131128A (ja) * 2010-12-22 2012-07-12 Riso Kagaku Corp 画像形成装置
JP2013088336A (ja) * 2011-10-20 2013-05-13 Ricoh Co Ltd 速度検出装置、移動部材搬送ユニット、及び、画像形成装置
JP2017001233A (ja) * 2015-06-08 2017-01-05 株式会社リコー 画像形成装置

Also Published As

Publication number Publication date
US20130201241A1 (en) 2013-08-08
RU2009124527A (ru) 2011-01-10
RU2413621C1 (ru) 2011-03-10
EP2138317A3 (en) 2010-08-25
US20090322819A1 (en) 2009-12-31
CN101612841A (zh) 2009-12-30
CN101612841B (zh) 2011-04-27
JP5354975B2 (ja) 2013-11-27
EP2138317A2 (en) 2009-12-30
EP2138317B1 (en) 2016-06-29
US8454111B2 (en) 2013-06-04

Similar Documents

Publication Publication Date Title
JP5354975B2 (ja) 記録装置および搬送制御方法
JP5538835B2 (ja) プリント装置
KR101115207B1 (ko) 반송 장치 및 기록 장치
JP5424624B2 (ja) 記録装置
JP4366150B2 (ja) 記録装置
US11840079B2 (en) Inkjet printing apparatus and control method thereof
JP2010241558A (ja) シート搬送装置
US9272550B2 (en) Image forming apparatus
JP2011095162A (ja) 移動検出装置、移動検出方法および記録装置
JP2010274483A (ja) 記録装置および記録媒体の搬送制御方法
US20080025781A1 (en) Printer and method for controlling the printer
JP2012076442A (ja) 記録装置
US11179952B2 (en) Conveying apparatus and image forming apparatus
JP4781455B2 (ja) 記録装置
US9120333B2 (en) Printing apparatus and control method
JP5404318B2 (ja) 移動検出装置および記録装置
JP2004142269A (ja) 記録装置
JP4823333B2 (ja) 記録装置
JP2025151905A (ja) 記録装置
JP2003231319A (ja) インクジェットプリンタ

Legal Events

Date Code Title Description
RD02 Notification of acceptance of power of attorney

Free format text: JAPANESE INTERMEDIATE CODE: A7422

Effective date: 20101106

A621 Written request for application examination

Free format text: JAPANESE INTERMEDIATE CODE: A621

Effective date: 20110524

A977 Report on retrieval

Free format text: JAPANESE INTERMEDIATE CODE: A971007

Effective date: 20121009

A131 Notification of reasons for refusal

Free format text: JAPANESE INTERMEDIATE CODE: A131

Effective date: 20121016

A521 Request for written amendment filed

Free format text: JAPANESE INTERMEDIATE CODE: A523

Effective date: 20121217

A131 Notification of reasons for refusal

Free format text: JAPANESE INTERMEDIATE CODE: A131

Effective date: 20130129

A521 Request for written amendment filed

Free format text: JAPANESE INTERMEDIATE CODE: A523

Effective date: 20130401

A131 Notification of reasons for refusal

Free format text: JAPANESE INTERMEDIATE CODE: A131

Effective date: 20130507

A521 Request for written amendment filed

Free format text: JAPANESE INTERMEDIATE CODE: A523

Effective date: 20130703

TRDD Decision of grant or rejection written
A01 Written decision to grant a patent or to grant a registration (utility model)

Free format text: JAPANESE INTERMEDIATE CODE: A01

Effective date: 20130730

A61 First payment of annual fees (during grant procedure)

Free format text: JAPANESE INTERMEDIATE CODE: A61

Effective date: 20130827

R151 Written notification of patent or utility model registration

Ref document number: 5354975

Country of ref document: JP

Free format text: JAPANESE INTERMEDIATE CODE: R151

LAPS Cancellation because of no payment of annual fees