JP2010004666A - 車両 - Google Patents

車両 Download PDF

Info

Publication number
JP2010004666A
JP2010004666A JP2008162053A JP2008162053A JP2010004666A JP 2010004666 A JP2010004666 A JP 2010004666A JP 2008162053 A JP2008162053 A JP 2008162053A JP 2008162053 A JP2008162053 A JP 2008162053A JP 2010004666 A JP2010004666 A JP 2010004666A
Authority
JP
Japan
Prior art keywords
seat
battery
vehicle
driver
hybrid vehicle
Prior art date
Legal status (The legal status is an assumption and is not a legal conclusion. Google has not performed a legal analysis and makes no representation as to the accuracy of the status listed.)
Granted
Application number
JP2008162053A
Other languages
English (en)
Other versions
JP4577413B2 (ja
Inventor
Naoto Suzuki
直人 鈴木
Shinji Ichikawa
真士 市川
Wanleng Ang
遠齢 洪
Kenji Murasato
健次 村里
Current Assignee (The listed assignees may be inaccurate. Google has not performed a legal analysis and makes no representation or warranty as to the accuracy of the list.)
Toyota Motor Corp
Original Assignee
Toyota Motor Corp
Priority date (The priority date is an assumption and is not a legal conclusion. Google has not performed a legal analysis and makes no representation as to the accuracy of the date listed.)
Filing date
Publication date
Application filed by Toyota Motor Corp filed Critical Toyota Motor Corp
Priority to JP2008162053A priority Critical patent/JP4577413B2/ja
Priority to US12/453,475 priority patent/US7900728B2/en
Publication of JP2010004666A publication Critical patent/JP2010004666A/ja
Application granted granted Critical
Publication of JP4577413B2 publication Critical patent/JP4577413B2/ja
Expired - Fee Related legal-status Critical Current
Anticipated expiration legal-status Critical

Links

Images

Classifications

    • BPERFORMING OPERATIONS; TRANSPORTING
    • B60VEHICLES IN GENERAL
    • B60KARRANGEMENT OR MOUNTING OF PROPULSION UNITS OR OF TRANSMISSIONS IN VEHICLES; ARRANGEMENT OR MOUNTING OF PLURAL DIVERSE PRIME-MOVERS IN VEHICLES; AUXILIARY DRIVES FOR VEHICLES; INSTRUMENTATION OR DASHBOARDS FOR VEHICLES; ARRANGEMENTS IN CONNECTION WITH COOLING, AIR INTAKE, GAS EXHAUST OR FUEL SUPPLY OF PROPULSION UNITS IN VEHICLES
    • B60K6/00Arrangement or mounting of plural diverse prime-movers for mutual or common propulsion, e.g. hybrid propulsion systems comprising electric motors and internal combustion engines
    • B60K6/20Arrangement or mounting of plural diverse prime-movers for mutual or common propulsion, e.g. hybrid propulsion systems comprising electric motors and internal combustion engines the prime-movers consisting of electric motors and internal combustion engines, e.g. HEVs
    • B60K6/22Arrangement or mounting of plural diverse prime-movers for mutual or common propulsion, e.g. hybrid propulsion systems comprising electric motors and internal combustion engines the prime-movers consisting of electric motors and internal combustion engines, e.g. HEVs characterised by apparatus, components or means specially adapted for HEVs
    • B60K6/36Arrangement or mounting of plural diverse prime-movers for mutual or common propulsion, e.g. hybrid propulsion systems comprising electric motors and internal combustion engines the prime-movers consisting of electric motors and internal combustion engines, e.g. HEVs characterised by apparatus, components or means specially adapted for HEVs characterised by the transmission gearings
    • B60K6/365Arrangement or mounting of plural diverse prime-movers for mutual or common propulsion, e.g. hybrid propulsion systems comprising electric motors and internal combustion engines the prime-movers consisting of electric motors and internal combustion engines, e.g. HEVs characterised by apparatus, components or means specially adapted for HEVs characterised by the transmission gearings with the gears having orbital motion
    • BPERFORMING OPERATIONS; TRANSPORTING
    • B60VEHICLES IN GENERAL
    • B60KARRANGEMENT OR MOUNTING OF PROPULSION UNITS OR OF TRANSMISSIONS IN VEHICLES; ARRANGEMENT OR MOUNTING OF PLURAL DIVERSE PRIME-MOVERS IN VEHICLES; AUXILIARY DRIVES FOR VEHICLES; INSTRUMENTATION OR DASHBOARDS FOR VEHICLES; ARRANGEMENTS IN CONNECTION WITH COOLING, AIR INTAKE, GAS EXHAUST OR FUEL SUPPLY OF PROPULSION UNITS IN VEHICLES
    • B60K1/00Arrangement or mounting of electrical propulsion units
    • B60K1/04Arrangement or mounting of electrical propulsion units of the electric storage means for propulsion
    • BPERFORMING OPERATIONS; TRANSPORTING
    • B60VEHICLES IN GENERAL
    • B60KARRANGEMENT OR MOUNTING OF PROPULSION UNITS OR OF TRANSMISSIONS IN VEHICLES; ARRANGEMENT OR MOUNTING OF PLURAL DIVERSE PRIME-MOVERS IN VEHICLES; AUXILIARY DRIVES FOR VEHICLES; INSTRUMENTATION OR DASHBOARDS FOR VEHICLES; ARRANGEMENTS IN CONNECTION WITH COOLING, AIR INTAKE, GAS EXHAUST OR FUEL SUPPLY OF PROPULSION UNITS IN VEHICLES
    • B60K6/00Arrangement or mounting of plural diverse prime-movers for mutual or common propulsion, e.g. hybrid propulsion systems comprising electric motors and internal combustion engines
    • B60K6/20Arrangement or mounting of plural diverse prime-movers for mutual or common propulsion, e.g. hybrid propulsion systems comprising electric motors and internal combustion engines the prime-movers consisting of electric motors and internal combustion engines, e.g. HEVs
    • B60K6/42Arrangement or mounting of plural diverse prime-movers for mutual or common propulsion, e.g. hybrid propulsion systems comprising electric motors and internal combustion engines the prime-movers consisting of electric motors and internal combustion engines, e.g. HEVs characterised by the architecture of the hybrid electric vehicle
    • B60K6/44Series-parallel type
    • B60K6/445Differential gearing distribution type
    • BPERFORMING OPERATIONS; TRANSPORTING
    • B60VEHICLES IN GENERAL
    • B60KARRANGEMENT OR MOUNTING OF PROPULSION UNITS OR OF TRANSMISSIONS IN VEHICLES; ARRANGEMENT OR MOUNTING OF PLURAL DIVERSE PRIME-MOVERS IN VEHICLES; AUXILIARY DRIVES FOR VEHICLES; INSTRUMENTATION OR DASHBOARDS FOR VEHICLES; ARRANGEMENTS IN CONNECTION WITH COOLING, AIR INTAKE, GAS EXHAUST OR FUEL SUPPLY OF PROPULSION UNITS IN VEHICLES
    • B60K6/00Arrangement or mounting of plural diverse prime-movers for mutual or common propulsion, e.g. hybrid propulsion systems comprising electric motors and internal combustion engines
    • B60K6/20Arrangement or mounting of plural diverse prime-movers for mutual or common propulsion, e.g. hybrid propulsion systems comprising electric motors and internal combustion engines the prime-movers consisting of electric motors and internal combustion engines, e.g. HEVs
    • B60K6/50Architecture of the driveline characterised by arrangement or kind of transmission units
    • B60K6/54Transmission for changing ratio
    • B60K6/547Transmission for changing ratio the transmission being a stepped gearing
    • BPERFORMING OPERATIONS; TRANSPORTING
    • B60VEHICLES IN GENERAL
    • B60LPROPULSION OF ELECTRICALLY-PROPELLED VEHICLES; SUPPLYING ELECTRIC POWER FOR AUXILIARY EQUIPMENT OF ELECTRICALLY-PROPELLED VEHICLES; ELECTRODYNAMIC BRAKE SYSTEMS FOR VEHICLES IN GENERAL; MAGNETIC SUSPENSION OR LEVITATION FOR VEHICLES; MONITORING OPERATING VARIABLES OF ELECTRICALLY-PROPELLED VEHICLES; ELECTRIC SAFETY DEVICES FOR ELECTRICALLY-PROPELLED VEHICLES
    • B60L50/00Electric propulsion with power supplied within the vehicle
    • B60L50/50Electric propulsion with power supplied within the vehicle using propulsion power supplied by batteries or fuel cells
    • B60L50/60Electric propulsion with power supplied within the vehicle using propulsion power supplied by batteries or fuel cells using power supplied by batteries
    • B60L50/66Arrangements of batteries
    • BPERFORMING OPERATIONS; TRANSPORTING
    • B60VEHICLES IN GENERAL
    • B60KARRANGEMENT OR MOUNTING OF PROPULSION UNITS OR OF TRANSMISSIONS IN VEHICLES; ARRANGEMENT OR MOUNTING OF PLURAL DIVERSE PRIME-MOVERS IN VEHICLES; AUXILIARY DRIVES FOR VEHICLES; INSTRUMENTATION OR DASHBOARDS FOR VEHICLES; ARRANGEMENTS IN CONNECTION WITH COOLING, AIR INTAKE, GAS EXHAUST OR FUEL SUPPLY OF PROPULSION UNITS IN VEHICLES
    • B60K1/00Arrangement or mounting of electrical propulsion units
    • B60K1/04Arrangement or mounting of electrical propulsion units of the electric storage means for propulsion
    • B60K2001/0405Arrangement or mounting of electrical propulsion units of the electric storage means for propulsion characterised by their position
    • B60K2001/0427Arrangement between the seats
    • BPERFORMING OPERATIONS; TRANSPORTING
    • B60VEHICLES IN GENERAL
    • B60KARRANGEMENT OR MOUNTING OF PROPULSION UNITS OR OF TRANSMISSIONS IN VEHICLES; ARRANGEMENT OR MOUNTING OF PLURAL DIVERSE PRIME-MOVERS IN VEHICLES; AUXILIARY DRIVES FOR VEHICLES; INSTRUMENTATION OR DASHBOARDS FOR VEHICLES; ARRANGEMENTS IN CONNECTION WITH COOLING, AIR INTAKE, GAS EXHAUST OR FUEL SUPPLY OF PROPULSION UNITS IN VEHICLES
    • B60K1/00Arrangement or mounting of electrical propulsion units
    • B60K1/04Arrangement or mounting of electrical propulsion units of the electric storage means for propulsion
    • B60K2001/0405Arrangement or mounting of electrical propulsion units of the electric storage means for propulsion characterised by their position
    • B60K2001/0433Arrangement under the rear seats
    • BPERFORMING OPERATIONS; TRANSPORTING
    • B60VEHICLES IN GENERAL
    • B60KARRANGEMENT OR MOUNTING OF PROPULSION UNITS OR OF TRANSMISSIONS IN VEHICLES; ARRANGEMENT OR MOUNTING OF PLURAL DIVERSE PRIME-MOVERS IN VEHICLES; AUXILIARY DRIVES FOR VEHICLES; INSTRUMENTATION OR DASHBOARDS FOR VEHICLES; ARRANGEMENTS IN CONNECTION WITH COOLING, AIR INTAKE, GAS EXHAUST OR FUEL SUPPLY OF PROPULSION UNITS IN VEHICLES
    • B60K1/00Arrangement or mounting of electrical propulsion units
    • B60K1/04Arrangement or mounting of electrical propulsion units of the electric storage means for propulsion
    • B60K2001/0455Removal or replacement of the energy storages
    • BPERFORMING OPERATIONS; TRANSPORTING
    • B60VEHICLES IN GENERAL
    • B60KARRANGEMENT OR MOUNTING OF PROPULSION UNITS OR OF TRANSMISSIONS IN VEHICLES; ARRANGEMENT OR MOUNTING OF PLURAL DIVERSE PRIME-MOVERS IN VEHICLES; AUXILIARY DRIVES FOR VEHICLES; INSTRUMENTATION OR DASHBOARDS FOR VEHICLES; ARRANGEMENTS IN CONNECTION WITH COOLING, AIR INTAKE, GAS EXHAUST OR FUEL SUPPLY OF PROPULSION UNITS IN VEHICLES
    • B60K1/00Arrangement or mounting of electrical propulsion units
    • B60K1/04Arrangement or mounting of electrical propulsion units of the electric storage means for propulsion
    • B60K2001/0455Removal or replacement of the energy storages
    • B60K2001/0472Removal or replacement of the energy storages from below
    • YGENERAL TAGGING OF NEW TECHNOLOGICAL DEVELOPMENTS; GENERAL TAGGING OF CROSS-SECTIONAL TECHNOLOGIES SPANNING OVER SEVERAL SECTIONS OF THE IPC; TECHNICAL SUBJECTS COVERED BY FORMER USPC CROSS-REFERENCE ART COLLECTIONS [XRACs] AND DIGESTS
    • Y02TECHNOLOGIES OR APPLICATIONS FOR MITIGATION OR ADAPTATION AGAINST CLIMATE CHANGE
    • Y02TCLIMATE CHANGE MITIGATION TECHNOLOGIES RELATED TO TRANSPORTATION
    • Y02T10/00Road transport of goods or passengers
    • Y02T10/60Other road transportation technologies with climate change mitigation effect
    • Y02T10/62Hybrid vehicles
    • YGENERAL TAGGING OF NEW TECHNOLOGICAL DEVELOPMENTS; GENERAL TAGGING OF CROSS-SECTIONAL TECHNOLOGIES SPANNING OVER SEVERAL SECTIONS OF THE IPC; TECHNICAL SUBJECTS COVERED BY FORMER USPC CROSS-REFERENCE ART COLLECTIONS [XRACs] AND DIGESTS
    • Y02TECHNOLOGIES OR APPLICATIONS FOR MITIGATION OR ADAPTATION AGAINST CLIMATE CHANGE
    • Y02TCLIMATE CHANGE MITIGATION TECHNOLOGIES RELATED TO TRANSPORTATION
    • Y02T10/00Road transport of goods or passengers
    • Y02T10/60Other road transportation technologies with climate change mitigation effect
    • Y02T10/70Energy storage systems for electromobility, e.g. batteries

Landscapes

  • Engineering & Computer Science (AREA)
  • Transportation (AREA)
  • Mechanical Engineering (AREA)
  • Chemical & Material Sciences (AREA)
  • Combustion & Propulsion (AREA)
  • Life Sciences & Earth Sciences (AREA)
  • Sustainable Development (AREA)
  • Sustainable Energy (AREA)
  • Power Engineering (AREA)
  • Arrangement Or Mounting Of Propulsion Units For Vehicles (AREA)
  • Electric Propulsion And Braking For Vehicles (AREA)
  • Hybrid Electric Vehicles (AREA)

Abstract

【課題】使用者の目的に応じて、バッテリの容量を変更可能とされており、さらに、バッテリの容量を変更したとしても、車両の重量バランスを確保することができる車両を提供する。
【解決手段】ハイブリッド車両は、回転可能に設けられた前輪2Fと、前輪2Fを駆動する動力を発生可能な回転電機MG1とを備え、回転電機MG1に電力を供給可能とされ、車両に固定されたバッテリBと、回転電機MG1に電力を供給可能とされ、車両に対して着脱可能に設けられると共に、車両の幅方向中央部に配置された、着脱バッテリ110とを含む。
【選択図】図2

Description

本発明は、車両に関し、特に、蓄電器および走行用回転電機を搭載した車両に関する。
従来から蓄電器および走行用回転電機を備えた車両が各種提案されている。たとえば、特開2004−262357号公報に記載された電気自動車は、最後部空間に設けられた増減部と、当該増減部に収容された電池モジュールと、床下などに固定された固定バッテリとを備えている。そして、増減部に収容された電池モジュールは、車両の幅方向に間隔を隔てて複数設けられており、使用者によって異なる走行距離需要に応じて、取り外したり、追加可能となっている。
特開2005−1655号公報に記載された高圧電装ケース配設構造は、車体フロア上に配置され、運転席と助手席との間に配置された高圧電装ケースと、この高圧電装ケース内に収容されたバッテリとを備えている。
特開2004−311139号公報に記載されたバッテリパックは、バッテリ部と、冷却ファンおよびバッテリECU(Electronic Control Unit)を含む付属品部とを備えている。バッテリパックは、バッテリ部の中心と車両の幅方向の中心とを一致させて、フロアパネル上であって、リヤシートの下方に搭載される。
特開2001−57711号公報に記載された電気車両は、カセット化されたバッテリを備え、当該バッテリは、着脱自在となっている。そして、エネルギ供給ステーションにおいて、満充電状態となったバッテリ群を保管しており、電気車両がエネルギ供給ステーションに立ち寄ったときに、電気車両が搭載しているバッテリ群を全て取り外し、ステーションに保管され、既に、満充電状態とされたバッテリ群と差し替えられる。
特開2004−262357号公報 特開2005−1655号公報 特開2004−311139号公報 特開2001−57711号公報
しかし、特開2004−262357号公報に記載された電気自動車においては、電池モジュールは、車両の幅方向に複数設けられており、たとえば、端部側の電池モジュールを取り外すと、車両の重量バランスがくずれるという問題があった。
特開2005−1655号公報に記載された高圧電装ケース配設構造においては、バッテリは、着脱可能に設けられておらず、使用者の要望に応じてバッテリの容量を調整することができないものとなっている。同様に、特開2004−311139号公報に記載されたバッテリパックも、着脱自在に設けられておらず、使用者の要望にこたえて、バッテリの容量を変更することができないものとなっている。
特開2001−57711号公報に記載された電気車両は、バッテリがカセット化され、着脱自在となっているものの、使用者の要望に応じてバッテリの容量を変更することを目的としておらず、バッテリの容量は、一定とされている。
本発明は、上記のような課題に鑑みてなされたものであって、その目的は、使用者の目的に応じて、バッテリの容量を変更可能とされており、さらに、バッテリの容量を変更したとしても、車両の重量バランスを確保することができる車両を提供することである。
本発明に係る車両は、回転可能に設けられた車輪と、車輪を駆動する動力を発生可能な走行用回転電機と、を備え、幅方向中央部に重心が位置する車両であって、走行用回転電機に電力を供給可能とされると共に、車両の幅方向中央部に固定された第1蓄電器と、走行用回転電機に電力を供給可能とされ、車両に対して着脱可能に設けられると共に、車両の幅方向中央部に配置された第2蓄電器と備える。そして、上記第1蓄電器は、取り外されることで、車両を走行不可状態とし、第1蓄電器が装着された状態であって、第2蓄電器が取り外された状態および第2蓄電器が装着された状態のいずれにおいても、走行可能状態とされる。
好ましくは、上記第1蓄電器の着脱状態を検知可能な検知部と、車両の走行可能状態と走行不可状態とを切替可能な制御部とをさらに備える。
好ましくは、上記第2蓄電器は、第1蓄電器に対して電気的に並列に接続される。
好ましくは、上記第2蓄電器は、第1蓄電器に対して電気的に直列に接続される。
好ましくは、運転席と、該運転席に対して車両の幅方向に間隔を開けて設けられた助手席と、運転席および助手席を収容すると共に、乗員を収容可能な乗員収容部と、走行用回転電機を収容する駆動部収容部とを規定する車両本体とをさらに備える。そして、上記第2蓄電器は、乗員収容部内に配置され、運転席と助手席との間に設けられる。
好ましくは、上記運転席と助手席との間に設けられ、車両本体に固定された衝撃吸収部材をさらに備え、第2蓄電器は、衝撃吸収部材上に固定される。
好ましくは、上記前部座席と、該前部座席に対して車両の後方側に間隔をあけて配置された後部座席と、前部座席と後部座席とを収容すると共に、乗員を収容可能な乗員収容部と、走行用回転電機を収容する駆動部収容部とを規定する車両本体とをさらに備える。そして、上記第2蓄電器は、乗員収容部内に配置され、前部座席と後部座席との間に設けられる。
好ましくは、上記床面を規定するフロアパネルと、前部座席をフロアパネルに固定する前部座席固定部と、後部座席をフロアパネルに固定する後部座席固定部とをさらに備える。そして、上記第2蓄電器は、前部座席固定部および後部座席固定部に固定される。
好ましくは、上記前部座席は、運転席、および該運転席に対して車両の幅方向に間隔をあけて配置された助手席を含む。そして、床面を規定するフロアパネルと、運転席と助手席との間に設けられた衝撃吸収部材と、衝撃吸収部材をフロアパネルに固定する固定部とをさらに備える。さらに、上記第2蓄電器を固定部に固定する。
本発明に係る車両によれば、使用者の要望に応じてバッテリの容量を変更することができ、さらに、バッテリの容量を変更したとしても、車両の重量バランスを確保することができる。
本実施の形態に係る車両について、図1から図13を用いて説明する。
なお、以下に説明する実施の形態において、個数、量などに言及する場合、特に記載がある場合を除き、本発明の範囲は必ずしもその個数、量などに限定されない。また、以下の実施の形態において、各々の構成要素は、特に記載がある場合を除き、本発明にとって必ずしも必須のものではない。また、以下に複数の実施の形態が存在する場合、特に記載がある場合を除き、各々の実施の形態の特徴部分を適宜組合わせることは、当初から予定されている。
(実施の形態1)
図1から図10を用いて、本発明の実施の形態1に係るハイブリッド車両100について説明する。図1は、本発明の実施の形態1に係るハイブリッド車両100の概略構成を示す斜視図であり、図2は、図1の概略構成を示すブロック図である。
図1において、ハイブリッド車両100は、ボディと外装部品とから形成された車両本体200と、ハイブリッド車両100の進行方向D前方側に設けられた一対の前輪(車輪)2Fと、進行方向D後方側に設けられた後輪(車輪)2Rとを備えている。さらに、
ハイブリッド車両100は、トランスアクスルTRと、エンジン4と、トランスアクスルTRおよびエンジン4の駆動を制御するECU70とを備えている。
車両本体200は、ハイブリッド車両100の進行方向前方Dに設けられたエンジンコンパートメント(駆動部収容部)ERと、このエンジンコンパートメントERに対して進行方向D後方側に隣接する乗員収容室(乗員収容部)CRと、乗員収容室CRに対して進行方向D後方側に隣接する荷物室LRとを備えている。
車両本体200のボディとしては、たとえば、モノコックボディ(monocoque body)が採用されている。ボディの表面に、複数の外装部品を装着して、車両本体200が構成されている。
外装部品としては、たとえば、図1において、車両本体200の前面側に設けられたフロントフェイス310と、このフロントフェイス310の下側に設けられたフロントバンパ300と、フロントフェンダ301と、開口部212Lを開閉可能に設けられたフロントドア312およびリアドア313とを備えている。
また、外装部品としては、エンジンコンパートメントERの上蓋としてのフード307と、リアドア313に対して進行方向D後方側に設けられたリアフェンダ303と、リアフェンダ303の下方に設けられたリアバンパ304とを備えている。
乗員収容室CRには、ハイブリッド車両100を操作する運転席121と、運転席に対してハイブリッド車両100の幅方向に隣り合う助手席と、この助手席および運転席121の後ろ側に設けられた後部座席とが設けられている。運転席121には、前輪2Fを操作するためのステアリング、ステアリングシャフト、ステアリングギヤなどが設けられている。この図1に示す例においては、運転席121は、進行方向Dに延びるハイブリッド車両100の中心線Oに対してハイブリッド車両100の右側面(一方の側面)100A側にオフセットしている。
そして、図1に示されるように、後部座席下に位置する部分には、ガソリンなどの液体燃料が収容されるフューエルタンク201が設けられ、後部座席より進行方向D後方には、燃料電池または大容量のキャパシタなどのバッテリ(蓄電器)Bが配置されている。なお、バッテリBは、ハイブリッド車両100の幅方向中央部であって、ハイブリッド車両100の中心線O上に配置されており、荷物室LR内に搭載されている。なお、このバッテリBは、荷物室LRの床面を規定するフロアパネル上に固定されている。
さらに、乗員収容室CR内には、着脱バッテリ110が搭載されている。なお、この着脱バッテリ110の電圧は、200(V)程度とされており、ハイブリッド車両100から着脱可能に設けられている。
エンジンコンパートメントER内には、前輪2Fを駆動する動力を発生する内燃機関としてのエンジン4と、トランスアクスルTRとが収容されている。
トランスアクスルTRは、前輪2Fを駆動する回転電機(走行用回転電機)MG1と、発電機として機能する回転電機(発電用回転電機)MG2と、バッテリBおよび着脱バッテリ110からの電力を高圧する昇圧コンバータ20と、昇圧コンバータ20からの直流電力を交流電力に変換して回転電機MG1、MG2に供給するインバータ30、40と、プラネタリギヤ等から形成された動力分割機構3とを含む。
エンジン4は、中心線Oに対して側面100A側にオフセットされており、トランスアクスルTRは、側面100B側にオフセットされている。このように、エンジン4は、側面100Bよりも、側面100A側に近接する一方で、トランスアクスルTRは、側面100Aよりも側面100B側に近接するように配置されているため、エンジン4とトランスアクスルTRとを一体的に見たときの重心は、中心線O上またはその近傍に位置し、ハイブリッド車両100の幅方向のバランスがとれている。
さらに、着脱バッテリ110、バッテリBおよびフューエルタンク201の重心は、いずれも、中心線O上またはその近傍に位置しており、ハイブリッド車両100の幅方向中央部に位置している。これにより、着脱バッテリ110と、バッテリBと、フューエルタンク201とのいずれにおいても、ハイブリッド車両100の幅方向の重量バランスが保たれている。そして、着脱バッテリ110をハイブリッド車両100から取り外したり、搭載したりしても、ハイブリッド車両100の幅方向の重量バランスを保つことができる。
着脱バッテリ110は、乗員収容室CR内に位置しており、ハイブリッド車両100の前後方向中央部に位置している。なお、ハイブリッド車両100の前後方向中央部とは、本実施の形態においては、乗員収容室CRが位置する領域である。このように、着脱バッテリ110は、ハイブリッド車両100の前後方向中央部に配置されているので、着脱バッテリ110を登載したり、取り外したりしたとしても、ハイブリッド車両100の前後方向の重量バランスを保つことができる。
ハイブリッド車両100の幅方向中央部に位置する領域のうち、さらに、ハイブリッド車両100の前後方向の中央部に位置する部分は、ハイブリッド車両100の中心領域であって、運転席と助手席との間に位置する部分から後部座席までの領域である。
このように、着脱バッテリ110をハイブリッド車両100の中心領域またはその近傍に位置する領域に配置することで、着脱バッテリ110を登載したり、取り外したりしたとしても、ハイブリッド車両100の重量バランスが大きく崩れることを抑制することができる。
ここで、ハイブリッド車両100の側面のうち、運転席121が近接する側面100Aと反対側に位置する側面100Bに充電・給電部(第1接続部)90および給油部(第2接続部)213とが設けられている。
そして、充電・給電部90および給油部213によって、運転席121に設けられたステアリング等の構成部品との重量バランスがとられている。
図1に示す例においては、充電・給電部90は、ボディに設けられ、コネクタ190を接続可能な接続部91と、フロントフェンダ301に回動可能に設けられた蓋部90Aと、接続部91に接続された配線92とを備えている。ここで、フロントフェンダ301には、開口部が形成されており、接続部91は、この開口部を介して外部に露出可能となっており、蓋部90Aは、この開口部を開閉可能となっている。コネクタ190は、充電用のコネクタと、給電用のコネクタと、充電・給電用コネクタのいずれも含む。
そして、充電用のコネクタとしては、商用電源(たとえば、日本では単相交流100V)から供給される電力で、バッテリBおよび着脱バッテリ110を充電するためのコネクタである。この充電用のコネクタとしては、たとえば、一般の家庭用電源に接続されたコンセントなどが挙げられる。
なお、コネクタ190と充電・給電部90との間における電力に授受方法としては、コネクタ190の一部と充電・給電部90の少なくとも一部とが直接接触する接触型(コンタクティブ)であってもよいし、また、非接触型(インダクティブ)であってもよい。
配線92は、変換器160に接続されており、変換器160は、着脱バッテリ110およびバッテリBに接続されている。本実施の形態に係るハイブリッド車両100においては、変換器160を用いて、バッテリBおよび着脱バッテリ110を充填等する。なお、この変換器160は、交流電流を直流電流に変換するインバータの機能と、電圧を昇圧させるコンバータの機能とを有する。なお、配線92を、回転電機MG1、MG2の中性点に接続し、コネクタ190から供給された電力を、回転電機MG1、MG2およびインバータ30、40および昇圧コンバータ20を介して、バッテリBおよび着脱バッテリ110に供給可能としてもよい。そして、着脱バッテリ110およびバッテリBを充電する際には、充電・給電部90に供給された交流電流が変換器160によって直流電流に変換されて、着脱バッテリ110およびバッテリBに供給される。さらに、着脱バッテリ110およびバッテリBに充電された電力を外部負荷等に供給する際には、着脱バッテリ110およびバッテリBから変換器160に直流電流が供給され、変換器160は、供給された直流電流を交流電流に変換して、充電・給電部90に供給する。
また、この図1に示す例においては、給油部213は、ボディに設けられ、開口部を有するノズル受入部215と、このノズル受入部215およびフューエルタンク201に接続された給油管214と、外装部品に設けられ、ノズル受入部215の開口部を開閉可能な蓋部213Aとを備えている。なお、ノズル受入部215は、外装部品に形成された開口部を介して、外部に露出可能となっている。
そして、ノズル受入部215は、ハイブリッド車両100の外部に設けられた給油コネクタ191の給油ノズルを受け入れ可能とされている。そして、給油されたガソリンなどの燃料は、給油管214を介して、フューエルタンク201に供給される。
給油部213および充電・給電部90がハイブリッド車両100の同一側面100Bに設けられている。このため、運転者は、充電・給電部90および給油部213の位置を記憶しやすく、充電・給油スタンド等にハイブリッド車両100を進入させる際に、ハイブリッド車両100の進入・停車方向の誤りを低減することができる。
図2に示すように、着脱バッテリ110は、バッテリBに対して電気的に並列となるように接続されている。このため、着脱バッテリ110をハイブリッド車両100に装着することで、ハイブリッド車両100の電気容量を大きくすることができる。
このように、着脱バッテリ110をハイブリッド車両100に対して着脱自在とすることで、電気容量を調整することができる。そして、たとえば、使用者が電力走行で長距離通勤したい場合には、着脱バッテリ110を追加搭載することで当該使用者の要望を満足させることができる。なお、複数の着脱バッテリ110をハイブリッド車両100に対して着脱可能としてもよい。
そして、図2において、バッテリBには、送信器161が設けられており、車両本体には、送信器161からの信号をキャッチする受信器162を備えている。そして、受信器162は、送信器161からの信号をキャッチしている間は、送信器161からの信号をキャッチしている旨の信号A1をECU70に送信する。その一方で、受信器162は、送信器161からの信号を所定時間、受信できない場合には、ECU70に送信器161からの信号が受信できない旨の信号A2を送信する。
ECU70は、受信器162からの信号A2を受信すると、ハイブリッド車両100の駆動を禁止して、ハイブリッド車両100を走行不可状態とする。具体的には、ECU70は、回転電機MG1,MG2の駆動およびエンジン4の起動および駆動を禁止するための制御を行う。その一方で、ECU70は、受信器162から信号A2を受けると、回転電機MG1,MG2およびエンジン4の起動および駆動を許容する制御を行う。このように、バッテリBが取り外されると、ハイブリッド車両100は走行不可状態となる。
その一方で、バッテリBがハイブリッド車両100に装着された状態で、着脱バッテリ110が取り外されたとしても、バッテリBから昇圧コンバータ20およびインバータ30c,40cに電力が供給可能となっている。
このため、ECU70は、バッテリBが装着されている限り、着脱バッテリ110が取り付けられた状態、または、着脱バッテリ110が取り外された状態のいずれであっても、ハイブリッド車両100を走行可能状態とする。
なお、上記のように、バッテリBが取り外された際に、ハイブリッド車両100を走行不可状態とする手法としては、上記のような構成に限られない。たとえば、バッテリBによって押し込まれ、ON状態となり、バッテリBが取り外されることでOFF状態に切り替わる押し込みスイッチを設けるようにしてもよい。なお、この押し込みスイッチは、ON状態のときには、ECU70に信号A1を送信し、OFF状態となると、信号A2を
ECU70に送信するようになっている。
図3は、着脱バッテリ110およびその周囲の配置状態を示す斜視図である。この図3に示すように、ハイブリッド車両100は、乗員収容室CRおよび荷物室LRの床を規定するフロアパネル113を備えている。このフロアパネル113は、サイドメンバやクロスメンバ上に設けられており、板状に形成されている。
そして、乗員収容室CR内には、前列座席120が設けられており、前列座席120は、運転席121と、この運転席121に対してハイブリッド車両100の幅方向に間隔をあけて設けられた助手席122とを備えている。
運転席121および助手席122は、それぞれ複数の脚部123を備えており、ボルト等の固定部125によって、フロアパネル113に固定されている。
運転席121と助手席122との間には、コンソールボックス112が設けられており、コンソールボックス112内には、クラッシャボックス111と、このクラッシャボックス111上に固定された着脱バッテリ110とが収容されている。
クラッシャボックス111は、金属部材によって構成されており、略直方体形状とされている。このクラッシャボックス111は、空洞状に構成されている。クラッシャボックス111の底部は、固定部128によってフロアパネル113に固定されている。なお、固定部128は、コンソールボックス112から乗員収容室CR内に露出している。
クラッシャボックス111は、たとえば、ハイブリッド車両100が側突された際に、助手席122と運転席121とが相互に衝突することを抑制する。さらに、クラッシャボックス111が変形することで、運転席121と助手席122との間で伝達される衝撃力の低減が図られている。
着脱バッテリ110は、クラッシャボックス111の上面上に、複数の固定部材115によって固定されている。このように、着脱バッテリ110は、クラッシャボックス111を介してフロアパネル113に固定されている。
このため、着脱バッテリ110をフロアパネル113に直接固定する固定部材を設けなくても、着脱バッテリ110を固定することができる。
着脱バッテリ110は、車両の前後方向に複数配列されている。このため、着脱バッテリ110からの出力を調整するために、いずれかの着脱バッテリ110を取り外したとしても、ハイブリッド車両100の幅方向の重量バランスを確保することができる。
着脱バッテリ110は、複数の単位電池を積層して構成された複数の組電池と、この複数の組電池を収容する収容ケース110Aとを備えている。そして、固定部材115は収容ケース110Aに設けられている。なお、上述のように、着脱バッテリ110は、運転席121と、助手席122との間に設けられているため、着脱バッテリ110を登載したり、取り外したとしても、ハイブリッド車両100の前後方向および幅方向の重量バランスは確保される。なお、上記図3に示す例においては、運転席121と助手席122との間にコンソールボックス112が配置されて例について説明したが、これに限られない。たとえば、運転席121と助手席122との間にセンタシートが設けられた場合には、当該センターシート下であって、フロアパネル上に登載する。
さらに、着脱バッテリ110の搭載位置としては、この例に限られない。たとえば、図4は、着脱バッテリ110の搭載位置の第1変形例を示す斜視図であり、図5は、図4における着脱バッテリ110の後端部側の斜視図である。
図5に示すように、ハイブリッド車両100は、乗員収容室CR内に、前列座席120に対して、ハイブリッド車両100の後方側に間隔を隔てて設けられた後部座席150を備えている。
後部座席150は、左側後部座席151と、中央後部座席152と、右側後部座席153とを備えており、複数の脚部154によってフロアパネル113に固定されている。なお、複数の脚部154は、それぞれ、ハイブリッド車両100の幅方向に間隔を隔てて設けられている。
中央後部座席152は、ハイブリッド車両100の幅方向中央部に配置されている。そして、着脱バッテリ110は、前列座席120と後部座席150との間であって、中心線O上に配置されており、着脱バッテリ110は、コンソールボックス112と中央後部座席152との間に配置されている。このように、この図4および図5に示す例においても、着脱バッテリ110は、ハイブリッド車両100の幅方向中央部であって、前後方向中央部に登載されているので、着脱バッテリ110を取り外したり、登載したりすることで、ハイブリッド車両100の幅方向および前後方向の重量バランスが崩れることを抑制することができる。
着脱バッテリ110は、助手席122の脚部123の固定部125に固定される脚部126と、後部座席150の脚部154に固定される脚部127と、運転席121の脚部123の固定部125に固定される脚部126とを備えている。また、着脱バッテリ110は、脚部127が設けられた側面と対向する側面に設けられ、脚部127が固定された脚部154と異なる脚部154に固定される脚部をさらに備えている。
このように、脚部154および脚部123を、着脱バッテリ110を固定する固定部位として利用することで、着脱バッテリ110を固定するための部材を設ける必要がなく、備品点数の低減を図ることができる。
なお、図4および図5に示す例においても、着脱バッテリ110は、バッテリBに対して電気的に並列に接続されている。
図6は、着脱バッテリ110の第2変形例を示す斜視図である。この図6に示すように、着脱バッテリ110は、クラッシャボックス111の固定部128に固定してもよい。この場合には、着脱バッテリ110は、固定部128に固定される脚部129を有する。
なお、なお、図6に示す例においては、着脱バッテリ110は、車両の高さ方向に複数積層されている。そして、着脱バッテリ110は、前列座席120と後部座席150との間に位置しており、ハイブリッド車両100の幅方向中央部であって、前後方向中央部に位置している。このように、着脱バッテリ110がハイブリッド車両100の中心部に位置しているため、複数の着脱バッテリ110の一部を取り外したり、または、新たに追加したとしても、ハイブリッド車両100の前後方向および幅方向の重量バランスが崩れることを抑制することができる。
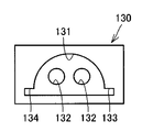
図7は、上記図3に示すコンソールボックス112の平面図である。なお、コンソールボックス112は、内部が空洞状に形成されており、コンソールボックス112の上面には、着脱可能に設けられた蓋部材が設けられている。そして、図7においては、蓋部材を取り外した状態における平面図である。図7に示すように、コンソールボックス112には、雌コネクタ130,140が設けられている。なお、雌コネクタ130および雌コネクタ140の端面は、ハイブリッド車両100の長手方向に配列するコンソールボックス112の内側面に設けられている。
図8は、コンソールボックス112内から見た雌コネクタ130の正面図である。この図8に示すように、雌コネクタ130の端面には、コンソールボックス112の内表面から凹むように形成された凹部131と、この凹部131の底部に形成され、端子が挿入された端子穴132とが形成されている。
凹部131は、略半円状に形成されており、この凹部131には、径方向に突出する切欠部133,134が形成されている。
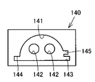
図9は、コンソールボックス112内から見た雌コネクタ140の正面図である。この図9に示すように、雌コネクタ140の端面には、コンソールボックス112の内表面から凹むように形成された凹部141と、この凹部141の底部に形成され、端子が挿入された端子穴142とが形成されている。
そして、凹部141は、略半円状に形成されており、この凹部141には、径方向に突出する切欠部143,144と、切欠部143上に位置する切欠部145とを備えている。
このように、雌コネクタ140の挿入孔と、雌コネクタ130の挿入孔とは、僅かに形状が異なっている。
図10は、着脱バッテリ110を装着したときのコンソールボックス112の平面図である。この図10に示すように、着脱バッテリ110には、雌コネクタ130に対応する雄コネクタ136と、雌コネクタ140に対応する雄コネクタ146とが接続されている。
雄コネクタ136は、外周縁部が凹部131の内周縁部と対応するように形成され、凹部131内に挿入可能な挿入部と、この挿入部の端面に形成され、端子穴132内に挿入され、端子穴132内の端子に接続される端子部とを備えている。
雄コネクタ146は、外周縁部が凹部141の内周縁部と対応するように形成され、凹部141内に挿入可能な挿入部と、この挿入部の端面に形成され、端子穴142内に挿入され、端子穴142内の端子に接続される端子部とを備えている。
このように、雌コネクタ130の凹部131と、雌コネクタ140の凹部141との形状が異なると共に、雄コネクタ136の挿入部の形状と雄コネクタ146の挿入部の形状とが異なるため、雌コネクタ130に雄コネクタ146を装着することが抑制されると共に、雌コネクタ140に雄コネクタ136が装着されることが抑制されている。
このため、着脱バッテリ110をコンソールボックス112内に搭載する際に、誤ってコネクタを接続することが抑制されている。
なお、コンソールボックス112には、着脱バッテリ110を挿入する開口部を閉塞する蓋部を備えており、着脱バッテリ110を装着した後に、当該蓋部で開口部を閉塞する。
(実施の形態2)
図11から図13を用いて、本発明の実施の形態2に係るハイブリッド車両100について説明する。
なお、図11から図13に示す構成において、上記図1から図10に示された構成と同一または相等する構成については同一の符号を付してその説明を省略する場合がある。
図13は、本発明の実施の形態2に係るハイブリッド車両100のブロック図である。この図13に示すように、着脱バッテリ110は、バッテリBに対して電気的に直列に接続されている。
ここで、着脱バッテリ110には、コネクタ173およびコネクタ174が設けられている。コネクタ173には、バッテリBに接続されたコネクタ171が装着されており、コネクタ174には、昇圧コンバータ20に接続されたコネクタ172が装着されている。
このように、バッテリBに対して直列的に接続される着脱バッテリ110を着脱可能とすることで、昇圧コンバータ20に供給される電圧を高めることができる。
昇圧コンバータ20に供給する電圧を高めることで、昇圧コンバータ20内で電圧を昇圧するために要するスイッチング回数を低減することができ、スイッチング損失の低減を図ることができる。
これにより、電力走行距離の長距離化を図ることができ、電力走行で長距離走行したいという使用者の要望にもこたえることができる。
図12は、上記図11において、着脱バッテリ110を外したときのブロック図である。この図12に示すように、着脱バッテリ110を取り外した際には、コネクタ172とコネクタ171とを接続する。
なお、上記図11および図12に示す例においては、変換器160を用いて、充電および外部給電等を行うようになっているが、これに限られない。
図13に示すように、回転電機MG1および回転電機MG2の中性点を用いて、充電および外部給電を行うようにしてもよい。
さらに、上記実施の形態1および実施の形態に2においては、ハイブリッド車両に適用した例について説明したが、これに限られず、電気自動車にも適用することができる。
以上のように本発明の実施の形態について説明を行なったが、今回開示された実施の形態はすべての点で例示であって制限的なものではないと考えられるべきである。本発明の範囲は特許請求の範囲によって示され、特許請求の範囲と均等の意味および範囲内でのすべての変更が含まれることが意図される。
本発明は、走行用回転電機および蓄電器を備えたハイブリッド車両や電気自動車に適用することができ、特に、バッテリの容量を変更可能な車両に好適である。
本発明の実施の形態1に係るハイブリッド車両の概略構成を示す斜視図である。 ハイブリッド車両の概略構成を示すブロック図である。 着脱バッテリおよびその周囲の配置状態を示す斜視図である。 着脱バッテリの搭載位置の第1変形例を示す斜視図である。 図4における着脱バッテリの後端部側の斜視図である。 着脱バッテリの第2変形例を示す斜視図である。 図3に示すコンソールボックスの平面図である。 コンソールボックス内から見た雌コネクタの正面図である。 コンソールボックス内から見た雌コネクタの正面図である。 着脱バッテリを装着したときのコンソールボックスの平面図である。 本発明の実施の形態2に係るハイブリッド車両のブロック図である。 図14において、着脱バッテリを外したときのブロック図である。 ハイブリッド車両の変形例を示すブロック図である。
符号の説明
90 充電・給電部、100 ハイブリッド車両、110A 収容ケース、110 着脱バッテリ、111 クラッシャボックス、112 コンソールボックス、113 フロアパネル、115 固定部材、120 前列座席、121 運転席、122 助手席、123 脚部、125 固定部。

Claims (9)

  1. 回転可能に設けられた車輪と、
    前記車輪を駆動する動力を発生可能な走行用回転電機と、
    を備え、幅方向中央部に重心が位置する車両であって、
    前記走行用回転電機に電力を供給可能とされると共に、前記車両の幅方向中央部に固定された第1蓄電器と、
    前記走行用回転電機に電力を供給可能とされ、前記車両に対して着脱可能に設けられると共に、前記車両の幅方向中央部に配置された第2蓄電器と備え、
    前記第1蓄電器は、取り外されることで、前記車両を走行不可状態とし、
    前記第1蓄電器が装着された状態であって、前記第2蓄電器が取り外された状態および前記第2蓄電器が装着された状態のいずれにおいても、走行可能状態とされた、車両。
  2. 前記第1蓄電器の着脱状態を検知可能な検知部と、
    前記車両の走行可能状態と走行不可状態とを切替可能な制御部とをさらに備えた、請求項1に記載の車両。
  3. 前記第2蓄電器は、前記第1蓄電器に対して電気的に並列に接続された、請求項1または請求項2に記載の車両。
  4. 前記第2蓄電器は、前記第1蓄電器に対して電気的に直列に接続された、請求項1または請求項2に記載の車両。
  5. 運転席と、
    該運転席に対して車両の幅方向に間隔を開けて設けられた助手席と、
    前記運転席および前記助手席を収容すると共に、乗員を収容可能な乗員収容部と、前記走行用回転電機を収容する駆動部収容部とを規定する車両本体と、
    をさらに備え、
    前記第2蓄電器は、前記乗員収容部内に配置され、前記運転席と前記助手席との間に設けられた、請求項1から請求項4のいずれかに記載の車両。
  6. 前記運転席と前記助手席との間に設けられ、前記車両本体に固定された衝撃吸収部材をさらに備え、
    前記第2蓄電器は、前記衝撃吸収部材上に固定された、請求項5に記載の車両。
  7. 前部座席と、
    該前部座席に対して前記車両の後方側に間隔をあけて配置された後部座席と、
    前記前部座席と前記後部座席とを収容すると共に、乗員を収容可能な乗員収容部と、前記走行用回転電機を収容する駆動部収容部とを規定する車両本体と、
    をさらに備え、
    前記第2蓄電器は、前記乗員収容部内に配置され、前記前部座席と前記後部座席との間に設けられた、請求項1から請求項4のいずれかに記載の車両。
  8. 床面を規定するフロアパネルと、
    前記前部座席を前記フロアパネルに固定する前部座席固定部と、
    前記後部座席を前記フロアパネルに固定する後部座席固定部と、
    をさらに備え、
    前記第2蓄電器は、前記前部座席固定部および前記後部座席固定部に固定された、請求項7に記載の車両。
  9. 前記前部座席は、運転席、および該運転席に対して前記車両の幅方向に間隔をあけて配置された助手席を含み、
    床面を規定するフロアパネルと、
    前記運転席と前記助手席との間に設けられた衝撃吸収部材と、
    前記衝撃吸収部材を前記フロアパネルに固定する固定部と、
    をさらに備え、
    前記第2蓄電器を前記固定部に固定した、請求項7に記載の車両。
JP2008162053A 2008-06-20 2008-06-20 車両 Expired - Fee Related JP4577413B2 (ja)

Priority Applications (2)

Application Number Priority Date Filing Date Title
JP2008162053A JP4577413B2 (ja) 2008-06-20 2008-06-20 車両
US12/453,475 US7900728B2 (en) 2008-06-20 2009-05-12 Vehicle

Applications Claiming Priority (1)

Application Number Priority Date Filing Date Title
JP2008162053A JP4577413B2 (ja) 2008-06-20 2008-06-20 車両

Publications (2)

Publication Number Publication Date
JP2010004666A true JP2010004666A (ja) 2010-01-07
JP4577413B2 JP4577413B2 (ja) 2010-11-10

Family

ID=41430466

Family Applications (1)

Application Number Title Priority Date Filing Date
JP2008162053A Expired - Fee Related JP4577413B2 (ja) 2008-06-20 2008-06-20 車両

Country Status (2)

Country Link
US (1) US7900728B2 (ja)
JP (1) JP4577413B2 (ja)

Cited By (25)

* Cited by examiner, † Cited by third party
Publication number Priority date Publication date Assignee Title
DE112010005562T5 (de) 2010-05-13 2013-03-14 Toyota Jidosha K.K. Brennstoffzellensystem für ein Fahrzeug und Brennstoffzellenfahrzeug
JP2013090548A (ja) * 2011-10-21 2013-05-13 Honda Motor Co Ltd 車両用蓄電システム
JP2013518757A (ja) * 2010-02-23 2013-05-23 ドクター エンジニール ハー ツェー エフ ポルシェ アクチエンゲゼルシャフト 自動車
JP2013147044A (ja) * 2012-01-17 2013-08-01 Nissan Motor Co Ltd 電動車両のバッテリ系要素配置構造
JP5316652B2 (ja) * 2010-01-15 2013-10-16 トヨタ自動車株式会社 電気駆動式車両
WO2014061052A1 (ja) * 2012-10-15 2014-04-24 川崎重工業株式会社 電動車両
JP2015085828A (ja) * 2013-10-31 2015-05-07 スズキ株式会社 車両用バッテリ固定構造
WO2016013365A1 (ja) * 2014-07-25 2016-01-28 シャープ株式会社 自律走行車
JP2017043180A (ja) * 2015-08-25 2017-03-02 スズキ株式会社 ハイブリッド車両
WO2017086168A1 (ja) 2015-11-17 2017-05-26 オムロン株式会社 バッテリ残量表示装置、バッテリシステムおよびバッテリ残量表示方法
WO2017086172A1 (ja) 2015-11-17 2017-05-26 オムロン株式会社 予約管理装置、予約管理システムおよび予約管理方法
JP2018505637A (ja) * 2015-01-13 2018-02-22 熾昌 ▲葛▼ 電気自動車の交換可能電池パックに応用される制御方法
JP2019048640A (ja) * 2018-12-26 2019-03-28 スズキ株式会社 ハイブリッド車両
US10643272B2 (en) 2015-11-17 2020-05-05 Omron Corporation Battery reservation device
US10650444B2 (en) 2015-11-17 2020-05-12 Omron Corporation Battery reservation device and battery reservation method
JP2020090169A (ja) * 2018-12-05 2020-06-11 マツダ株式会社 車両用電源装置
JP2020090171A (ja) * 2018-12-05 2020-06-11 マツダ株式会社 車両駆動装置
US10684328B2 (en) 2015-12-01 2020-06-16 Omron Corporation Remaining battery charge estimation system and remaining battery charge estimation method
US10919410B2 (en) 2015-11-17 2021-02-16 Omron Corporation Charge/discharge control device, charge/discharge control system, and remaining battery capacity adjustment method
US10946750B2 (en) 2015-11-17 2021-03-16 Omron Corporation Charge/discharge control device, charge/discharge control system, and charge/discharge control method
US11010824B2 (en) 2015-11-17 2021-05-18 Omron Corporation Battery reservation device and battery reservation method
JP2022002428A (ja) * 2020-06-19 2022-01-06 マツダ株式会社 車両用駆動システム
JP2022002427A (ja) * 2020-06-19 2022-01-06 マツダ株式会社 車両用駆動システム
JP2022002429A (ja) * 2020-06-19 2022-01-06 マツダ株式会社 車両用駆動システム
WO2023149148A1 (ja) * 2022-02-07 2023-08-10 滋洋 今枝 燃料電池付電気自動車

Families Citing this family (24)

* Cited by examiner, † Cited by third party
Publication number Priority date Publication date Assignee Title
JP5173182B2 (ja) * 2006-11-13 2013-03-27 トヨタ自動車株式会社 蓄電装置ユニット
JP4858203B2 (ja) * 2007-02-07 2012-01-18 トヨタ自動車株式会社 自動車
JP4319239B2 (ja) * 2008-02-07 2009-08-26 本田技研工業株式会社 ハイブリッド車両
JP4919102B2 (ja) * 2008-11-17 2012-04-18 本田技研工業株式会社 車両用電源ユニットの冷却構造
US8783402B2 (en) * 2009-07-27 2014-07-22 Honda Motor Co., Ltd Vehicle electric equipment mounting structure
DE102010009874A1 (de) * 2010-02-23 2011-08-25 Dr. Ing. h.c. F. Porsche Aktiengesellschaft, 70435 Antriebsstrang eines Kraftfahrzeugs
DE102010034925A1 (de) * 2010-08-20 2012-02-23 Gm Global Technology Operations Llc (N.D.Ges.D. Staates Delaware) Energiespeicheranordnung im Bodenbereich eines Fahrzeugs
JP2012045986A (ja) * 2010-08-24 2012-03-08 Mitsubishi Motors Corp 車両のリッド装置
EP2752323B1 (en) * 2011-08-30 2019-10-02 Toyota Jidosha Kabushiki Kaisha Vehicle
DE102011113799A1 (de) * 2011-09-20 2013-03-21 Volkswagen Aktiengesellschaft Batteriekasten, Elektro- oder Hybridfahrzeug und Verfahren zur Montage eines Batteriekastens
EP2772420B1 (en) * 2011-10-26 2016-11-30 Honda Motor Co., Ltd. Electric vehicle
KR101316432B1 (ko) * 2011-12-01 2013-10-08 기아자동차주식회사 차량의 배터리팩 탑재 구조
JP5870457B2 (ja) * 2012-11-08 2016-03-01 本田技研工業株式会社 電動車両
US20140152255A1 (en) * 2012-12-05 2014-06-05 Ford Global Technologies, Llc Method and Apparatus for Preventing Simultaneous Charging and Fueling of a Plug-In Hybrid Electric Vehicle
CN111976507B (zh) * 2014-09-02 2021-12-24 葛炽昌 具有交换电池组的电动车
CN107074086B (zh) * 2014-10-27 2019-05-07 本田技研工业株式会社 车辆
JP6364500B2 (ja) * 2014-11-07 2018-07-25 本田技研工業株式会社 車両
JP6364499B2 (ja) * 2014-11-07 2018-07-25 本田技研工業株式会社 車両
JP6310951B2 (ja) * 2016-01-27 2018-04-11 株式会社豊田自動織機 車両
EP3436331B1 (en) 2016-03-31 2021-02-24 Bombardier Recreational Products Inc. Vehicle having separable driver and propulsion modules
JP6541724B2 (ja) * 2017-07-10 2019-07-10 株式会社Subaru 自動車車両
US10625700B2 (en) * 2017-09-28 2020-04-21 GM Global Technology Operations LLC Airbag protection system for vehicle battery packs
US10414280B2 (en) * 2017-11-10 2019-09-17 Toyota Motor Engineering & Manufacturing North America, Inc. Systems and methods for selective battery control
CN114937833B (zh) * 2022-06-22 2025-09-16 山东银顺奔彭车业有限公司 一种新能源电动汽车电池散热器

Citations (6)

* Cited by examiner, † Cited by third party
Publication number Priority date Publication date Assignee Title
JPH07231510A (ja) * 1994-02-15 1995-08-29 Nissan Motor Co Ltd 電動車両の電源装置
JP2004345447A (ja) * 2003-05-21 2004-12-09 Honda Motor Co Ltd 高圧電装部品の車載構造
JP3887145B2 (ja) * 2000-05-25 2007-02-28 矢崎総業株式会社 バッテリカバーの衝撃吸収構造
JP2007091034A (ja) * 2005-09-28 2007-04-12 Sanyo Electric Co Ltd 車両用の電源装置
JP3925048B2 (ja) * 2000-07-06 2007-06-06 スズキ株式会社 電動車両
JP2008117708A (ja) * 2006-11-07 2008-05-22 Toyota Motor Corp バッテリパック構造

Family Cites Families (62)

* Cited by examiner, † Cited by third party
Publication number Priority date Publication date Assignee Title
US3898547A (en) * 1974-04-11 1975-08-05 Westinghouse Electric Corp Electric vehicle charger shut-off interlock system
US4090577A (en) * 1977-04-18 1978-05-23 Moore Wallace H Solar celled hybrid vehicle
US4282475A (en) * 1978-12-20 1981-08-04 Milton Russell E Automotive charger system
US4450400A (en) * 1981-12-04 1984-05-22 Gwyn Marion V Battery replacement system for electric vehicles
US4413219A (en) * 1982-04-02 1983-11-01 Interlake, Inc. Fork truck battery charging system
US5202617A (en) * 1991-10-15 1993-04-13 Norvik Technologies Inc. Charging station for electric vehicles
JP2996559B2 (ja) * 1992-01-29 2000-01-11 本田技研工業株式会社 電気自動車の充電状況表示システム
US5555950A (en) * 1992-03-04 1996-09-17 Toyota Jidosha Kabushiki Kaisha Body structure for electric vehicle
FR2695266B1 (fr) * 1992-09-02 1994-09-30 Cableco Sa Ensemble pour recharger les batteries d'accumulateurs d'un véhicule automobile électrique.
US5349535A (en) * 1992-10-20 1994-09-20 Digicomp Research Corporation Battery condition monitoring and recording system for electric vehicles
US5501289A (en) * 1993-01-22 1996-03-26 Nissan Motor Co., Ltd. Floor structure of electric vehicle
US5301765A (en) * 1993-05-14 1994-04-12 Swanson Lennart H Battery pack installation and storage system for electric vehicles
US5646507A (en) * 1993-10-22 1997-07-08 Douglas Battery Manufacturing Company Battery charger system
US5378555A (en) * 1993-12-27 1995-01-03 General Motors Corporation Electric vehicle battery pack
US5927938A (en) * 1994-01-06 1999-07-27 Unlimited Range Electric Car Systems Company Battery charging and transfer system for electrically powered vehicles
US5711648A (en) * 1994-01-06 1998-01-27 Unlimited Range Electric Car Systems Company Battery charging and transfer system
US5631536A (en) * 1994-05-16 1997-05-20 Tseng; Ling-Yuan Rechargeable battery vending apparatus
US5612606A (en) * 1994-09-15 1997-03-18 David C. Guimarin Battery exchange system for electric vehicles
JPH08336205A (ja) * 1995-04-07 1996-12-17 Nippon Soken Inc ハイブリッド車両のバッテリ充電装置
US5948298A (en) * 1996-04-26 1999-09-07 Ford Global Technologies, Inc. Battery heating system
DE19621668A1 (de) * 1996-05-30 1997-12-04 Uwe Kochanneck Multiblock-Robot-System
JPH10191574A (ja) * 1996-12-26 1998-07-21 Japan Tobacco Inc 充電装置
US6029762A (en) * 1997-01-22 2000-02-29 Textron Inc. Battery warmer for extending the range of an electrically powered vehicle
JP3480286B2 (ja) * 1997-12-08 2003-12-15 日産自動車株式会社 電気自動車のバッテリフレーム構造
US6598691B2 (en) * 1997-12-18 2003-07-29 Honda Giken Kogyo Kabushiki Kaisha Electric vehicle
US5998963A (en) * 1998-06-11 1999-12-07 Aarseth; Einar Electric vehicle service center and method for exchanging and charging vehicle batteries
JP2000040535A (ja) * 1998-07-21 2000-02-08 Honda Motor Co Ltd 電気自動車の冷却構造
JP2001057711A (ja) 1999-01-25 2001-02-27 Zip Charge:Kk 電気車両用エネルギー供給システム、電気車両用バッテリ、電気車両用バッテリ充電装置、バッテリ販売装置及び電気車両用バッテリ管理システム
US20030209375A1 (en) * 1999-01-25 2003-11-13 Zip Charge Corporation Electrical vehicle energy supply system, electrical vehicle battery, electrical vehicle battery charging apparatus, battery supply apparatus, and electrical vehicle battery management system
US6260645B1 (en) * 1999-04-22 2001-07-17 Daimlerchrysler Corporation Electric vehicle with a movable battery tray mounted between frame rails
US6378637B1 (en) * 1999-05-28 2002-04-30 Honda Giken Kogyo Kabushiki Kaisha Fuel-cell-powered electric automobile
JP3890168B2 (ja) * 1999-08-03 2007-03-07 株式会社東京アールアンドデー 電動装置及びその電池ユニットの充放電方法
JP4080132B2 (ja) * 2000-03-15 2008-04-23 新神戸電機株式会社 組電池
JP3777981B2 (ja) * 2000-04-13 2006-05-24 トヨタ自動車株式会社 車両用電源装置
US7193393B1 (en) * 2001-10-26 2007-03-20 Payne James C Approach for charging multiple batteries
US6811197B1 (en) * 2002-11-14 2004-11-02 Ford Global Technologies, Llc Housing assembly for electrical energy storage device
JP4134986B2 (ja) * 2002-12-05 2008-08-20 松下電器産業株式会社 電池パックとその充放電方法
JP4078998B2 (ja) * 2003-02-04 2008-04-23 トヨタ自動車株式会社 車両用バッテリ搭載構造
JP2004262357A (ja) 2003-03-03 2004-09-24 Nippon Home Keizai Kenkyusho:Kk 電気自動車とその継続運行保証システム
JP2004311139A (ja) 2003-04-04 2004-11-04 Toyota Motor Corp バッテリパック搭載構造
US7048321B2 (en) * 2003-05-21 2006-05-23 Honda Motor Co., Ltd. High-voltage electrical equipment case arranging structure
JP4637504B2 (ja) 2003-05-21 2011-02-23 本田技研工業株式会社 高圧電装ケースの配設構造
JP2005321983A (ja) * 2004-05-07 2005-11-17 Sony Corp 電子機器、バッテリーパック、電子機器の電源制御方法及びそのプログラム
JP4576931B2 (ja) * 2004-08-27 2010-11-10 トヨタ自動車株式会社 電気機器の搭載構造
US7545121B2 (en) * 2004-12-15 2009-06-09 Bolduc Scott A Auxiliary vehicle power supply
JP4363350B2 (ja) * 2005-03-30 2009-11-11 トヨタ自動車株式会社 二次電池の冷却構造
EP1864845B1 (en) * 2005-03-30 2012-01-18 Toyota Jidosha Kabushiki Kaisha Cooling structure for secondary battery
JP4385020B2 (ja) * 2005-06-02 2009-12-16 本田技研工業株式会社 車両用電源装置
JP4415910B2 (ja) * 2005-07-12 2010-02-17 トヨタ自動車株式会社 ハイブリッド車両の構造
US7602143B2 (en) * 2005-11-04 2009-10-13 Peter David Capizzo System for replenishing energy sources onboard different types of automotive vehicles
US7413045B2 (en) * 2005-11-30 2008-08-19 Karma Medical Products Co., Ltd. Battery quick-release structure for an electric mobility scooter
JP4940749B2 (ja) * 2006-04-28 2012-05-30 トヨタ自動車株式会社 電源装置の車両搭載構造
JP4420018B2 (ja) * 2006-12-28 2010-02-24 三菱自動車工業株式会社 電気自動車のバッテリ搭載構造
JP4420017B2 (ja) * 2006-12-28 2010-02-24 三菱自動車工業株式会社 電気自動車のバッテリ搭載構造
WO2008082012A1 (ja) * 2007-01-04 2008-07-10 Toyota Jidosha Kabushiki Kaisha ハイブリッド車両および車両
JP4434213B2 (ja) * 2007-01-26 2010-03-17 三菱自動車工業株式会社 電気自動車のバッテリ搭載構造
US8381849B2 (en) * 2007-03-30 2013-02-26 The Regents Of The University Of Michigan Vehicle hybrid energy system
DE102007032210B4 (de) * 2007-04-19 2010-04-08 Höltzel, Thomas Verfahren und Vorrichtung zum Austausch von Akkumulatoren für Elektrofahrzeuge
JP5335207B2 (ja) * 2007-07-05 2013-11-06 キヤノン株式会社 電子機器
US8022674B2 (en) * 2007-07-10 2011-09-20 Toyota Motor Engineering & Manufacturing North America, Inc. State of charge control method and systems for vehicles
US7683570B2 (en) * 2007-07-18 2010-03-23 Tesla Motors, Inc. Systems, methods, and apparatus for battery charging
US8006793B2 (en) * 2008-09-19 2011-08-30 Better Place GmbH Electric vehicle battery system

Patent Citations (6)

* Cited by examiner, † Cited by third party
Publication number Priority date Publication date Assignee Title
JPH07231510A (ja) * 1994-02-15 1995-08-29 Nissan Motor Co Ltd 電動車両の電源装置
JP3887145B2 (ja) * 2000-05-25 2007-02-28 矢崎総業株式会社 バッテリカバーの衝撃吸収構造
JP3925048B2 (ja) * 2000-07-06 2007-06-06 スズキ株式会社 電動車両
JP2004345447A (ja) * 2003-05-21 2004-12-09 Honda Motor Co Ltd 高圧電装部品の車載構造
JP2007091034A (ja) * 2005-09-28 2007-04-12 Sanyo Electric Co Ltd 車両用の電源装置
JP2008117708A (ja) * 2006-11-07 2008-05-22 Toyota Motor Corp バッテリパック構造

Cited By (34)

* Cited by examiner, † Cited by third party
Publication number Priority date Publication date Assignee Title
JP5316652B2 (ja) * 2010-01-15 2013-10-16 トヨタ自動車株式会社 電気駆動式車両
JP2013518757A (ja) * 2010-02-23 2013-05-23 ドクター エンジニール ハー ツェー エフ ポルシェ アクチエンゲゼルシャフト 自動車
DE112010005562T5 (de) 2010-05-13 2013-03-14 Toyota Jidosha K.K. Brennstoffzellensystem für ein Fahrzeug und Brennstoffzellenfahrzeug
JP2013090548A (ja) * 2011-10-21 2013-05-13 Honda Motor Co Ltd 車両用蓄電システム
JP2013147044A (ja) * 2012-01-17 2013-08-01 Nissan Motor Co Ltd 電動車両のバッテリ系要素配置構造
WO2014061052A1 (ja) * 2012-10-15 2014-04-24 川崎重工業株式会社 電動車両
US9616759B2 (en) 2012-10-15 2017-04-11 Kawasaki Jukogyo Kabushiki Kaisha Electric vehicle
JP2015085828A (ja) * 2013-10-31 2015-05-07 スズキ株式会社 車両用バッテリ固定構造
WO2016013365A1 (ja) * 2014-07-25 2016-01-28 シャープ株式会社 自律走行車
JP2016028906A (ja) * 2014-07-25 2016-03-03 シャープ株式会社 自律走行車
JP2018505637A (ja) * 2015-01-13 2018-02-22 熾昌 ▲葛▼ 電気自動車の交換可能電池パックに応用される制御方法
JP2017043180A (ja) * 2015-08-25 2017-03-02 スズキ株式会社 ハイブリッド車両
US10600116B2 (en) 2015-11-17 2020-03-24 Omron Corporation Reservation management device, reservation management system, and reservation management method
US10946750B2 (en) 2015-11-17 2021-03-16 Omron Corporation Charge/discharge control device, charge/discharge control system, and charge/discharge control method
US11010824B2 (en) 2015-11-17 2021-05-18 Omron Corporation Battery reservation device and battery reservation method
US10518640B2 (en) 2015-11-17 2019-12-31 Omron Corporation Battery remaining capacity display device, battery system, and battery remaining capacity display method
WO2017086168A1 (ja) 2015-11-17 2017-05-26 オムロン株式会社 バッテリ残量表示装置、バッテリシステムおよびバッテリ残量表示方法
US10643272B2 (en) 2015-11-17 2020-05-05 Omron Corporation Battery reservation device
US10650444B2 (en) 2015-11-17 2020-05-12 Omron Corporation Battery reservation device and battery reservation method
WO2017086172A1 (ja) 2015-11-17 2017-05-26 オムロン株式会社 予約管理装置、予約管理システムおよび予約管理方法
US10919410B2 (en) 2015-11-17 2021-02-16 Omron Corporation Charge/discharge control device, charge/discharge control system, and remaining battery capacity adjustment method
US10684328B2 (en) 2015-12-01 2020-06-16 Omron Corporation Remaining battery charge estimation system and remaining battery charge estimation method
JP2020090171A (ja) * 2018-12-05 2020-06-11 マツダ株式会社 車両駆動装置
JP2020090169A (ja) * 2018-12-05 2020-06-11 マツダ株式会社 車両用電源装置
JP7250247B2 (ja) 2018-12-05 2023-04-03 マツダ株式会社 車両駆動装置
JP7132547B2 (ja) 2018-12-05 2022-09-07 マツダ株式会社 車両用電源装置
JP2019048640A (ja) * 2018-12-26 2019-03-28 スズキ株式会社 ハイブリッド車両
JP2022002429A (ja) * 2020-06-19 2022-01-06 マツダ株式会社 車両用駆動システム
JP2022002427A (ja) * 2020-06-19 2022-01-06 マツダ株式会社 車両用駆動システム
JP2022002428A (ja) * 2020-06-19 2022-01-06 マツダ株式会社 車両用駆動システム
JP7501142B2 (ja) 2020-06-19 2024-06-18 マツダ株式会社 車両用駆動システム
JP7537141B2 (ja) 2020-06-19 2024-08-21 マツダ株式会社 車両用駆動システム
JP7537140B2 (ja) 2020-06-19 2024-08-21 マツダ株式会社 車両用駆動システム
WO2023149148A1 (ja) * 2022-02-07 2023-08-10 滋洋 今枝 燃料電池付電気自動車

Also Published As

Publication number Publication date
JP4577413B2 (ja) 2010-11-10
US7900728B2 (en) 2011-03-08
US20090315359A1 (en) 2009-12-24

Similar Documents

Publication Publication Date Title
JP4577413B2 (ja) 車両
EP2703204B1 (en) Hybrid vehicle and vehicle
EP2119585B1 (en) Vehicle
CN107848386B (zh) 车辆
US8084882B2 (en) Hybrid vehicle
JP5641141B2 (ja) 車両
CN110293832B (zh) 电动汽车以及电动汽车的动力电池包管理方法
CN110293856A (zh) 配备有次级电池组的电气化车辆
JP5210500B2 (ja) 蓄電装置
JP2010023636A (ja) 電動車両
JP2006262673A (ja) 電力変換装置およびそれを搭載した車両
EP4400346A1 (en) Electrified vehicle
JP3242946U (ja) 電動車両
Biswas Adapting SUV AWD powertrain to P0/P2/P4 hybrid EV architecture: Integrative packaging and capability study
CN210554309U (zh) 电动汽车
US20260084554A1 (en) Electric vehicle
JP2010268593A (ja) 車両
JP2025123033A (ja) 車両
JP2009295433A (ja) 接続装置

Legal Events

Date Code Title Description
A977 Report on retrieval

Free format text: JAPANESE INTERMEDIATE CODE: A971007

Effective date: 20100415

A131 Notification of reasons for refusal

Free format text: JAPANESE INTERMEDIATE CODE: A131

Effective date: 20100511

TRDD Decision of grant or rejection written
A01 Written decision to grant a patent or to grant a registration (utility model)

Free format text: JAPANESE INTERMEDIATE CODE: A01

Effective date: 20100727

A01 Written decision to grant a patent or to grant a registration (utility model)

Free format text: JAPANESE INTERMEDIATE CODE: A01

A61 First payment of annual fees (during grant procedure)

Free format text: JAPANESE INTERMEDIATE CODE: A61

Effective date: 20100809

FPAY Renewal fee payment (event date is renewal date of database)

Free format text: PAYMENT UNTIL: 20130903

Year of fee payment: 3

R151 Written notification of patent or utility model registration

Ref document number: 4577413

Country of ref document: JP

Free format text: JAPANESE INTERMEDIATE CODE: R151

FPAY Renewal fee payment (event date is renewal date of database)

Free format text: PAYMENT UNTIL: 20130903

Year of fee payment: 3

LAPS Cancellation because of no payment of annual fees