JP2008043405A - 椅子型マッサージ機 - Google Patents

椅子型マッサージ機 Download PDF

Info

Publication number
JP2008043405A
JP2008043405A JP2006219564A JP2006219564A JP2008043405A JP 2008043405 A JP2008043405 A JP 2008043405A JP 2006219564 A JP2006219564 A JP 2006219564A JP 2006219564 A JP2006219564 A JP 2006219564A JP 2008043405 A JP2008043405 A JP 2008043405A
Authority
JP
Japan
Prior art keywords
base
seat
cover
massage machine
type massage
Prior art date
Legal status (The legal status is an assumption and is not a legal conclusion. Google has not performed a legal analysis and makes no representation as to the accuracy of the status listed.)
Granted
Application number
JP2006219564A
Other languages
English (en)
Other versions
JP4711909B2 (ja
Inventor
Yoshitoshi Morita
芳年 森田
Yuji Suga
祐司 菅
Shiyougo Kuwabara
将吾 桑原
Current Assignee (The listed assignees may be inaccurate. Google has not performed a legal analysis and makes no representation or warranty as to the accuracy of the list.)
Sanyo Electric Co Ltd
Original Assignee
Sanyo Electric Co Ltd
Priority date (The priority date is an assumption and is not a legal conclusion. Google has not performed a legal analysis and makes no representation as to the accuracy of the date listed.)
Filing date
Publication date
Application filed by Sanyo Electric Co Ltd filed Critical Sanyo Electric Co Ltd
Priority to JP2006219564A priority Critical patent/JP4711909B2/ja
Priority to TW96123031A priority patent/TW200816944A/zh
Priority to CN200710140854XA priority patent/CN101120905B/zh
Publication of JP2008043405A publication Critical patent/JP2008043405A/ja
Application granted granted Critical
Publication of JP4711909B2 publication Critical patent/JP4711909B2/ja
Expired - Fee Related legal-status Critical Current
Anticipated expiration legal-status Critical

Links

Images

Landscapes

  • Massaging Devices (AREA)
  • Chairs For Special Purposes, Such As Reclining Chairs (AREA)

Abstract

【課題】座部が揺動したときに、座部とベースとの間に隙間が生じないようにした椅子型マッサージ機を提供する。
【解決手段】床面に載置されるベース12と、該ベース12に揺動可能に支持され被施療者の腰掛ける座部20を具える椅子型マッサージ機において、ベース12の前側には、床面近傍から上向きにベース前カバー50を具え、座部21の前側下方には、下向きに座部前カバー21を具え、ベース前カバー50と座部前カバー21は、座部20がベース12に対して揺動した状態で、常に一部が重なるように形成した。
【選択図】図1

Description

本発明は、座部が揺動可能な椅子型マッサージ機に関するものである。
椅子型マッサージ機は、床面に載置されるベースと、被施療者の腰掛ける座部、施療者の凭れる背凭れ部、及び、被施療者の脚を保持する脚部を具える。
座部は、ベースに揺動可能に支持され、背凭れ部は、座部又はベースに揺動可能に支持される。また、脚部は、座部の先端に揺動可能に支持される。
座部、背凭れ部及び脚部には、被施療者の患部をマッサージするマッサージ手段が内蔵されている。
マッサージ機には、夫々座部、背凭れ部及び脚部を揺動する揺動手段を具え、被施療者による操作部の操作に基づいて、座部、背凭れ部及び脚部を所望の角度に揺動させる(例えば、特許文献1参照)。
特開2004−344316号公報
上記のように、座部は、ベースに対して揺動可能となっているため、座部を揺動させたときに、ベースと座部の前端との間に隙間が生じる。この隙間は、座部の揺動角度が大きくなるにつれて大きくなる。
ベースと座部の隙間に異物が挟まると、座部の揺動の妨げとなる。また、ベースの内部には、上記揺動機構や各種制御機構等が収容されているから、異物や埃等がベース内部に混入すると、誤作動や故障を引き起こすおそれがある。
そこで、ベースの前面を大きなカバーで塞いでしまうことも考えられるが、座部を揺動させたときに、揺動角度に応じて大きくなる座部とベースのカバーとの間に生ずる隙間を塞ぐことはできない。
また、ベースの前面をすべてを覆うような大きな一枚物のカバーを取り付けると外観が悪化する問題もあった。
本発明の目的は、座部が揺動したときに、座部とベースとの間に隙間が生じないようにした椅子型マッサージ機を提供することである。
上記課題を解決するために本発明の椅子型マッサージ機は、
床面に載置されるベースと、該ベースに揺動可能に支持され被施療者の腰掛ける座部を具える椅子型マッサージ機において、
ベースの前側には、床面近傍から上向きにベース前カバーを具え、
座部の前側下方には、下向きに座部前カバーを具え、
ベース前カバーと座部前カバーは、座部がベースに対して揺動した状態で、常に一部が重なるように形成した。
ベースの側部には、床面近傍から上向きにベース横カバーが形成されており、
座部の側面には、座部と一体に揺動する肘掛け部を具え、該肘掛け部は、座部の側部から上向きに延び、上端が外向きに屈曲して、ベース横カバーを越えて下向きに延びるよう断面略コ字状に形成されており、
座部がベースに対して揺動した状態で、肘掛け部とベース横カバーは、常に一部が重なるように形成した。
本発明の椅子型マッサージ機によれば、座部を揺動させたときに、ベース前カバーと座部前カバーは常に重なっているから、座部とベースとの間に隙間が生じることはなく、異物が挟まったり、埃、異物等がベース内に混入することはない。従って、座部の揺動をスムーズに行なうことができ、椅子型マッサージ機の動作不良も解消される。
また、本発明の椅子型マッサージ機によれば、座部と一体に揺動する肘掛け部を具え、座部を揺動させたときに、ベース横カバーと肘掛け部とが常に重なっているから、肘掛け部とベースとの間に隙間が生じることはなく、異物が挟まったり、埃、異物がベース内に混入することはない。従って、肘掛け部の揺動をスムーズに行なうことができ、椅子型マッサージ機の動作不良も解消される。
図1及び図2は、本発明の椅子型マッサージ機(10)の斜視図である。図1は、座部(20)及び背凭れを最も起こした状態を示しており、図2は、座部(20)を傾けた状態を示している。
図に示すように、椅子型マッサージ機(10)は、床面に載置されるベース(12)に、被施療者の腰掛ける座部(20)が、軸支部(16)を中心として揺動可能に配備されている。ベース(12)又は座部(20)には、被施療者の背中が当たる背凭れ部(40)が揺動可能に配備される。座部(20)の両側には、被施療者が肘を置く肘掛け部(30)(30)が形成されており、該肘掛け部(30)(30)は、座部(20)と一体に揺動可能となっている。
座部(20)及び背凭れ部(40)には、施療指やエアバッグ等から構成されるマッサージ手段(42)(背凭れ部(40)のマッサージ手段のみを図示)を具え、被施療者が椅子に腰掛けた状態で、各マッサージ手段を作動することで、被施療者にマッサージを施すことができる。
なお、必要に応じて、座部(20)の前端に、被施療者の脚(ふくらはぎ及び足裏)をマッサージする脚部用のマッサージユニット(図8参照)を揺動可能に配備することもできる。
図3及び図4は、夫々図1及び図2の側面図である。図1乃至図4に示すように、ベース(12)は、その内部の金属製のベースフレーム(13)の外周をベース前カバー(50)、ベース横カバー(60)(60)及び背面カバー(18)で包囲して形成される。ベースフレーム(13)は、図3及び図4に示すように、床面近傍に前後方向に延びる脚フレーム(14)を有し、該脚フレーム(14)の略中央から上方に向けて座部支持フレーム(15)が延びている。
ベース(12)の前面は、図に示すように、床面近傍から上向きにベース前カバー(50)で包囲される。ベース前カバー(50)は、床面近傍から床面に対して略垂直に延びる垂直壁部(51)と、該垂直壁部(51)に連続し、前方に向けて突出する断面略円弧状の曲板(52)とを有する。
曲板(52)の半径は、座部(20)の軸支部(16)を中心とした仮想円筒の曲率半径に一致させることが望ましい。
ベース(12)の側面は、図3及び図4に示すように、ベース横カバー(60)(60)により包囲されている。ベース横カバー(60)(60)の前面上部(64)は、前方に向けて突出する略円弧状に形成することが望ましい。前面上部(64)の曲率半径は、軸支部(16)を中心とした仮想円筒の曲率半径に一致させることがより望ましい。
ベース横カバー(60)(60)の上面(63)は、後端に向けて下向きに傾斜しており、後端で、図に示すように、後ろ向きに突出した張出部(61)を有する。張出部(61)の後端面(62)は、軸支部(16)を中心とする断面略円弧状の屈曲形状とすることが望ましい。
座部(20)は、前記座部支持フレーム(15)に支持される。座部(20)が揺動したときに、背凭れ部(40)との間に高低差が生じないようにするために、座部(20)は、後端側で軸支部(16)によって座部支持フレーム(15)に枢支されることが望ましい。
座部(20)は、前側下方に、下向きに延びる座部前カバー(21)を有する。座部前カバー(21)は、ベース(12)のベース前カバー(50)に前方から被さるように配置することが望ましい。ベース前カバー(50)に前方から被さるようにすることで、ベース前カバー(50)と座部前カバー(21)との間に生じる隙間が下向きに開口することとなり、隙間から埃や異物がベース(12)の内部に殆んど侵入することはない。
座部前カバー(21)は、前方に向けて突出する断面略円弧状とすることが望ましく、円弧の半径は、座部(20)の軸支部(16)を中心とした仮想円筒の曲率半径に一致させることがより望ましい。座部前カバー(21)をベース前カバー(50)に対して前方から被さるように構成する場合、座部前カバー(21)の曲率半径は、ベース前カバー(50)の曲率半径よりも少し大きくする必要がある。具体的には、ベース前カバー(50)に対して、座部前カバー(21)が摺接又は極めて接近した状態となるように曲率半径を設定することが望ましい。ベース前カバー(50)と座部前カバー(21)との間隔を狭くすることで、異物等の混入、挟み込みを可及的に阻止することができる。
肘掛け部(30)(30)は、図1及び図2に示すように、座部(20)の側部に座部(20)と一体に揺動可能に配備されている。肘掛け部(30)(30)の内側前端は、前記座部前カバー(21)の側部と接続される。
肘掛け部(30)(30)は、下面内部に、前記ベース横カバー(60)が嵌まる凹所(32)を有している。該凹所(32)は、ベース横カバー(60)を上側から覆うように、座部(20)の側面から上向きに延び、上端が外向きに屈曲して、ベース横カバー(60)を越えて下向きに延びる断面略コ字状の内面を有する。
肘掛け部(30)の凹所(32)の前端(35)は、前方に向けて突出する略円弧状に形成することが望ましい。凹所(32)の前端(35)の曲率半径は、軸支部(16)を中心とした仮想円筒の曲率半径に一致させることがより望ましく、ベース横カバー(60)の前面上部(64)の曲率半径よりも少し大きい曲率半径とすることがより望ましい。具体的には、ベース横カバー(60)の前面上部(64)に凹所(32)の前端(35)が摺接又は極めて接近した状態となるように曲率半径を設定することが望ましい。
肘掛け部(30)の凹所(32)の前端(35)及び前述のベース横カバー(60)の前面上部(64)を夫々円弧状とすることで、座部(20)と一体に肘掛け部(30)が揺動しても、凹所(32)の前端(35)とベース横カバー(60)の前面上部(64)との間隔は同じであり、隙間が広くなることはないので、異物が挟まってしまうことはない。
また、肘掛け部(30)の凹所(32)の後端は閉塞しており、図3及び図4に示すように後端閉塞部(33)を有する。後端閉塞部(33)は、前述のベース横カバー(60)の張出部(61)との対向面が、軸支部(16)を中心とする断面略円弧状の屈曲形状とすることが望ましい。
具体的には、ベース横カバー(60)の張出部(61)に凹所(32)の後端閉塞部(33)が摺接又は極めて接近した状態となるように屈曲形状の曲率半径を設定することが望ましい。
肘掛け部(30)の後端閉塞部(33)と、ベース横カバー(60)の張出部(61)とを夫々円弧状とすることで、座部(20)と一体に肘掛け部(30)が揺動しても、後端閉塞部(33)と張出部(61)との間隔は同じであり、隙間が広くなることはないので、異物が挟まってしまうことはない。
また、肘掛け部(30)の凹所(32)の上面(34)及びベース横カバー(60)の上面(63)は、座部(20)の揺動に合わせて、肘掛け部(30)の凹所(32)とベース横カバー(60)の上面(63)とが衝突しないように、後方に向けて下向きに傾斜し、後端側が上向きに屈曲した形状とすることが望ましい。より望ましくは、肘掛け部(30)の揺動時に、上面(34)(63)どうしの少なくとも一部が常に接触した状態となるようにする。これにより、肘掛け部(30)を揺動させたときに、肘掛け部(30)がぐらつくことを防止できる。
上記構成の椅子型マッサージ機(10)において、図1及び図3に示す状態から、図2及び図4に示すように、座部(20)の前方が上向きに持ち上がるように揺動させる。その結果、座部前カバー(21)は、ベース前カバー(50)に沿って移動する。座部前カバー(21)及びベース前カバー(50)は、共に略円弧状に形成されているから、両カバー(21)(50)の間隔は一定のまま、座部(20)を揺動させることができる。
また、座部(20)の前方が最も上向きに持ち上がる状態まで揺動しても、図2及び図4に示すように、座部前カバー(21)は、ベース前カバー(50)と重なった状態を維持することができるので、ベース(12)の内部に埃や異物が侵入したり、ベース(12)に配備された種々の機構が露出してしまうこともない。
座部(20)と一体に、肘掛け部(30)(30)も揺動するが、このとき、肘掛け部(30)(30)は、凹所(32)の前端(35)が、ベース横カバー(60)の前面上部(64)に対してスライドし、凹所(32)の後端閉塞部(33)が、ベース横カバー(60)の張出部(61)に沿ってスライドするから、肘掛け部(30)とベース横カバー(60)との間の間隔は一定のまま、肘掛け部(30)を揺動させることができる。
また、肘掛け部(30)の前方が最も上向きに持ち上がる状態まで揺動しても、図2及び図4に示すように、肘掛け部(30)は、ベース横カバー(60)と重なった状態を維持することができるので、ベース(12)の内部に埃や異物が侵入したり、ベース(12)に配備された種々の機構が露出してしまうこともない。
図2及び図4に示す状態から、図1及び図3に示すように、座部(20)が床面に対してほぼ水平となる状態まで揺動させても、上記と同じように、座部(20)及び肘掛け部(30)(30)は、ベース(12)に対して、座部前カバー(21)と凹所(32)が、ベース前カバー(50)及びベース横カバー(60)に対して一定の間隔を保持したまま揺動するため、ベース(12)の内部に埃や異物が侵入したり、ベース(12)に配備された種々の機構が露出してしまうことはない。
特に、ベース前カバー(50)の曲板(52)と座部前カバー(21)、ベース横カバー(60)の張出部(61)と肘掛け部(30)の後端閉塞面(33)、ベース横カバー(60)の前面上部(64)と肘掛け部(30)の前端面(35)の曲率半径を、夫々互いに摺接又は極めて接近するように設定することで、異物等の混入や挟み込みを可及的に阻止することができる。
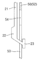
ベース前カバー(50)と座部前カバー(21)との間の間隔が、種々の原因、例えば、異物の挟み込みや経年によって広がってしまうことを防止するために、図5乃至図7に示すように、ベース前カバー(50)と座部前カバー(21)とをスライド可能に係合するスリット(53)(53)と、該スリット(53)(53)に嵌まる突起(22)(22)を有する構成とすることが望ましい。図示の例では、ベース前カバー(50)に左右一対のスリット(53)(53)を形成し、座部前カバー(21)に突起(22)(22)を形成している。突起(22)(22)は、座部前カバー(21)から下向きに延び、下端がベース前カバー(50)側に向けて屈曲し、スリット(53)(53)を越えて先端(23)(23)が脱落不能となるように、スリット(53)(53)よりも幅広に形成している。
スリット(53)(53)に突起(22)(22)の先端(23)(23)を嵌めることで、ベース前カバー(50)と座部前カバー(21)との間隔が広がらないよう保持することができる。
なお、スリット(53)(53)は、ベース前カバー(50)(50)の上端まで延びるように形成しておくことで、突起(22)(22)をスリット(53)(53)の上端から差し込むことができるし、図6及び図7に示すように、スリット(53)(53)の上端に突起(22)(22)の先端(23)(23)を差し込むことができる幅広部(54)(54)を形成してもよい。
椅子型マッサージ機(10)には、座部(20)、背凭れ部(40)及び肘掛け部(30)(30)の他、図9に示すように、被施療者の脚(ふくらはぎ及び足裏)マッサージ用のマッサージユニット(70)が配備されることがある。この場合、脚部マッサージユニットを制御及び作動させるためのコード、脚部マッサージユニット(70)のリクライニング操作(71)のためのワイヤー、エアバッグ式のものにおいてはエアホース等のケーブル(72)がベース(12)又は座部(20)から脚部マッサージユニット(70)に延びる。
脚部マッサージユニット(70)は、座部(20)に対して揺動可能に設けられることが一般的である。
そこで、本願発明では、図9及び図10に示すように、座部前カバー(21)にケーブル(72)を保持するためのクランプ部(24)(24)を形成している。
図示の例では、クランプ部(24)(24)を2個配備している。クランプ部(24)(24)は、座部前カバー(21)と一体に形成することができ、ケーブル(72)を取り付けるための挿入溝(25)(25)を有している。クランプ部(24)(24)を座部前カバー(21)と一体に形成することで、部品点数の削減を達成でき、また、外観を損なうこともない。
挿入溝(25)(25)は、ケーブル(72)を容易に取り付けることができ、且つ、ケーブル(72)が脱落しないように、中央に向けて下向きに傾斜するように形成されている。このように挿入溝(25)(25)を形成することで、図10Bに示すように、挿入溝(25)(25)に沿ってケーブル(72)を少し撓ませた状態でクランプ部(24)(24)に装着することができ、装着後、図10Aに示すようにケーブル(72)を引っ張ることで、ケーブル(72)と挿入溝(25)(25)が交差し、ケーブル(72)が挿入溝(25)(25)から脱落することはない。
本発明は、座部を揺動させたときに、ベースと座部との間に生ずる隙間を一定に保持することができ、異物の混入等を防止することのできる椅子型マッサージ機として有用である。
本発明の椅子型マッサージ機の斜視図である。 座部を揺動させた状態を示す本発明の椅子型マッサージ機の斜視図である。 図1の椅子型マッサージ機の側面図である。 図2の椅子型マッサージ機の側面図である。 カバーにスリット及び突起を具えた椅子型マッサージ機の斜視図である。 スリット及び突起部分を示す拡大正面図である。 スリット及び突起部分を示す拡大断面図である。 脚部マッサージユニットを具えた椅子型マッサージ機の斜視図である。 図8から脚部マッサージユニットを取り外した状態を示す椅子型マッサージ機の斜視図である。 クランプ部の拡大図である。
符号の説明
(10) 椅子型マッサージ機
(12) ベース
(16) 軸支部
(20) 座部
(21) 座部前カバー
(30) 肘掛け部
(50) ベース前カバー
(60) ベース横カバー

Claims (9)

  1. 床面に載置されるベースと、該ベースに揺動可能に支持され被施療者の腰掛ける座部を具える椅子型マッサージ機において、
    ベースの前側には、床面近傍から上向きにベース前カバーを具え、
    座部の前側下方には、下向きに座部前カバーを具え、
    ベース前カバーと座部前カバーは、座部がベースに対して揺動した状態で、常に一部が重なるように形成されていることを特徴とする椅子型マッサージ機。
  2. 座部前カバーは、ベース前カバーに前方から被さっている請求項1に記載の椅子型マッサージ機。
  3. 座部は、ベースに軸支され、軸支部を中心に揺動可能となっており、
    ベース前カバー及び座部前カバーは、軸支部を中心とする曲率の異なる曲板から構成される請求項1又は請求項2に記載の椅子型マッサージ機。
  4. ベース前カバー又は座部前カバーの一方には、上下方向に延びるスリットが形成されており、他方には、座部を揺動させたときに、スリットに対してスライドし、且つ、スリットから脱落しない突起が形成されている請求項1乃至請求項3の何れかに記載の椅子型マッサージ機。
  5. ベースの外側側部には、床面近傍から上向きにベース横カバーが形成されており、
    座部の側面には、座部と一体に揺動する肘掛け部を具え、該肘掛け部は、座部の側部から上向きに延び、上端が外向きに屈曲して、ベース横カバーを越えて下向きに延びる断面略コ字状の凹所を有しており、
    座部がベースに対して揺動した状態で、肘掛け部とベース横カバーは、常に一部が重なるように形成されている請求項1乃至請求項4の何れかに記載の椅子型マッサージ機。
  6. 座部の前端には、被施療者の脚をマッサージする脚部マッサージユニットを具えており、
    座部前カバーには、脚部マッサージユニットに延びるケーブルを固定するクランプ部が形成されている請求項1乃至請求項5の何れかに記載の椅子型マッサージ機。
  7. 床面に載置されるベースと、該ベースに揺動可能に支持され被施療者の腰掛ける座部と、該座部と一体に揺動可能な肘掛け部とを具える椅子型マッサージ機において、
    ベースの側部には、床面近傍から上向きにベース横カバーが形成されており、
    肘掛け部は、座部の側部から上向きに延び、上端が外向きに屈曲して、ベース横カバーを越えて下向きに延びる断面略コ字状の凹所を有しており、
    座部がベースに対して揺動した状態で、肘掛け部とベース横カバーは、常に一部が重なるように形成されている椅子型マッサージ機。
  8. 肘掛け部の凹所の前端及びベース横カバーの前面上部は、夫々前方に向けて突出するよう略円弧状に形成され、肘掛け部の凹所前端の曲率半径は、ベース横カバーの前面上部の曲率半径よりも少し大きく形成されている請求項7に記載の椅子型マッサージ機。
  9. 座部は、ベースに軸支され、軸支部を中心に揺動可能となっており、
    ベース横カバーの側部後端は、上部が後ろ向きに突出した張出部を有し、
    肘掛け部は、後端側が前記張出部に被さるように閉塞した後端閉塞部を有し、
    張出部及び後端閉塞部は、対向面が、軸支部を中心とする曲率の異なる屈曲形状である請求項7又は請求項8に記載の椅子型マッサージ機。
JP2006219564A 2006-08-11 2006-08-11 椅子型マッサージ機 Expired - Fee Related JP4711909B2 (ja)

Priority Applications (3)

Application Number Priority Date Filing Date Title
JP2006219564A JP4711909B2 (ja) 2006-08-11 2006-08-11 椅子型マッサージ機
TW96123031A TW200816944A (en) 2006-08-11 2007-06-26 Chair-type massage machine
CN200710140854XA CN101120905B (zh) 2006-08-11 2007-08-10 椅子式按摩机

Applications Claiming Priority (1)

Application Number Priority Date Filing Date Title
JP2006219564A JP4711909B2 (ja) 2006-08-11 2006-08-11 椅子型マッサージ機

Publications (2)

Publication Number Publication Date
JP2008043405A true JP2008043405A (ja) 2008-02-28
JP4711909B2 JP4711909B2 (ja) 2011-06-29

Family

ID=39083546

Family Applications (1)

Application Number Title Priority Date Filing Date
JP2006219564A Expired - Fee Related JP4711909B2 (ja) 2006-08-11 2006-08-11 椅子型マッサージ機

Country Status (3)

Country Link
JP (1) JP4711909B2 (ja)
CN (1) CN101120905B (ja)
TW (1) TW200816944A (ja)

Cited By (4)

* Cited by examiner, † Cited by third party
Publication number Priority date Publication date Assignee Title
WO2009123184A1 (ja) * 2008-03-31 2009-10-08 パナソニック電工株式会社 マッサージ椅子
GB2463076A (en) * 2008-09-02 2010-03-03 Brandvital Ltd Articulating chair with sensor
JP2010269076A (ja) * 2009-05-25 2010-12-02 Iyobe Kogeisha:Kk ボックス形椅子
CN108671495A (zh) * 2018-08-06 2018-10-19 舒瑜衡 一种腿部按摩器

Citations (10)

* Cited by examiner, † Cited by third party
Publication number Priority date Publication date Assignee Title
JPS60189447U (ja) * 1984-05-28 1985-12-16 アップリカ葛西株式会社 自動車用子供安全シ−ト
JPS632628U (ja) * 1986-06-24 1988-01-09
JP2001309834A (ja) * 2000-04-28 2001-11-06 Sanyo Electric Co Ltd フットレスト付き椅子
JP2001314510A (ja) * 2000-05-09 2001-11-13 Matsushita Electric Works Ltd リラックス装置
JP2001314260A (ja) * 2000-05-10 2001-11-13 Atex:Kk 電動リラックスチェア
JP2003250851A (ja) * 2002-03-04 2003-09-09 Kyushu Hitachi Maxell Ltd マッサージ機
JP2005027969A (ja) * 2003-07-09 2005-02-03 Family Co Ltd 椅子型マッサージ機
JP2005211201A (ja) * 2004-01-28 2005-08-11 Sanyo Electric Co Ltd マッサージ機
JP2005230359A (ja) * 2004-02-20 2005-09-02 Hirosumi Seki 椅子
JP2006061672A (ja) * 2004-07-27 2006-03-09 Matsushita Electric Works Ltd 揺動型運動装置

Family Cites Families (2)

* Cited by examiner, † Cited by third party
Publication number Priority date Publication date Assignee Title
JP2005177446A (ja) * 2003-11-25 2005-07-07 Family Co Ltd 椅子
JP2005334386A (ja) * 2004-05-28 2005-12-08 Omron Healthcare Co Ltd マッサージ機

Patent Citations (10)

* Cited by examiner, † Cited by third party
Publication number Priority date Publication date Assignee Title
JPS60189447U (ja) * 1984-05-28 1985-12-16 アップリカ葛西株式会社 自動車用子供安全シ−ト
JPS632628U (ja) * 1986-06-24 1988-01-09
JP2001309834A (ja) * 2000-04-28 2001-11-06 Sanyo Electric Co Ltd フットレスト付き椅子
JP2001314510A (ja) * 2000-05-09 2001-11-13 Matsushita Electric Works Ltd リラックス装置
JP2001314260A (ja) * 2000-05-10 2001-11-13 Atex:Kk 電動リラックスチェア
JP2003250851A (ja) * 2002-03-04 2003-09-09 Kyushu Hitachi Maxell Ltd マッサージ機
JP2005027969A (ja) * 2003-07-09 2005-02-03 Family Co Ltd 椅子型マッサージ機
JP2005211201A (ja) * 2004-01-28 2005-08-11 Sanyo Electric Co Ltd マッサージ機
JP2005230359A (ja) * 2004-02-20 2005-09-02 Hirosumi Seki 椅子
JP2006061672A (ja) * 2004-07-27 2006-03-09 Matsushita Electric Works Ltd 揺動型運動装置

Cited By (6)

* Cited by examiner, † Cited by third party
Publication number Priority date Publication date Assignee Title
WO2009123184A1 (ja) * 2008-03-31 2009-10-08 パナソニック電工株式会社 マッサージ椅子
GB2463076A (en) * 2008-09-02 2010-03-03 Brandvital Ltd Articulating chair with sensor
GB2463076B (en) * 2008-09-02 2013-05-08 Brandvital Ltd Articulated chairs
JP2010269076A (ja) * 2009-05-25 2010-12-02 Iyobe Kogeisha:Kk ボックス形椅子
CN108671495A (zh) * 2018-08-06 2018-10-19 舒瑜衡 一种腿部按摩器
CN108671495B (zh) * 2018-08-06 2023-12-01 舒瑜衡 一种腿部按摩器

Also Published As

Publication number Publication date
JP4711909B2 (ja) 2011-06-29
TWI325305B (ja) 2010-06-01
CN101120905A (zh) 2008-02-13
CN101120905B (zh) 2010-10-27
TW200816944A (en) 2008-04-16

Similar Documents

Publication Publication Date Title
EP3560387B1 (en) Chair, and chair cover member
US10842276B2 (en) Chair and cover member of the chair
JP2009106422A (ja) 椅子
JP2009195278A (ja) リクライニング椅子
CN101120905B (zh) 椅子式按摩机
US11974963B2 (en) Massage chair capable of massaging front body region
JP5860513B2 (ja) 椅子
JP4506283B2 (ja) マッサージ椅子
JP7001256B2 (ja) 椅子型マッサージ機
JP2009028463A (ja) 椅子式マッサージ機
KR20170019694A (ko) 접이식 목욕의자
JP5053778B2 (ja) マッサージ椅子
KR101601525B1 (ko) 좌석 팔걸이
JP2011092392A (ja) ロッキング椅子
JP2011250934A (ja) 椅子型マッサージ機
JP2011234783A (ja) 椅子型マッサージ機
JP2017086369A (ja) 椅子
JP2017086368A (ja) 椅子
KR200423149Y1 (ko) 허리받침대가 구비된 기능성 의자
JP2019088376A (ja) 椅子型マッサージ機
KR200395914Y1 (ko) 자세조절이 가능한 의자
JP2006212152A (ja) 椅子
JP2020039466A (ja) 椅子
JP2025034935A (ja) 肘掛け装置
JPH08322672A (ja) 折り畳み椅子

Legal Events

Date Code Title Description
A621 Written request for application examination

Free format text: JAPANESE INTERMEDIATE CODE: A621

Effective date: 20081113

A977 Report on retrieval

Free format text: JAPANESE INTERMEDIATE CODE: A971007

Effective date: 20101126

A131 Notification of reasons for refusal

Free format text: JAPANESE INTERMEDIATE CODE: A131

Effective date: 20101207

A521 Written amendment

Free format text: JAPANESE INTERMEDIATE CODE: A523

Effective date: 20110203

A01 Written decision to grant a patent or to grant a registration (utility model)

Free format text: JAPANESE INTERMEDIATE CODE: A01

Effective date: 20110222

A61 First payment of annual fees (during grant procedure)

Free format text: JAPANESE INTERMEDIATE CODE: A61

Effective date: 20110322

FPAY Renewal fee payment (prs date is renewal date of database)

Free format text: PAYMENT UNTIL: 20140401

Year of fee payment: 3

LAPS Cancellation because of no payment of annual fees