JP2007241237A - 二層金属ラインを有する薄膜トランジスタディスプレイアレイを製造するための方法 - Google Patents

二層金属ラインを有する薄膜トランジスタディスプレイアレイを製造するための方法 Download PDF

Info

Publication number
JP2007241237A
JP2007241237A JP2006294422A JP2006294422A JP2007241237A JP 2007241237 A JP2007241237 A JP 2007241237A JP 2006294422 A JP2006294422 A JP 2006294422A JP 2006294422 A JP2006294422 A JP 2006294422A JP 2007241237 A JP2007241237 A JP 2007241237A
Authority
JP
Japan
Prior art keywords
patterned
layer
conductive
conductive lines
metal layer
Prior art date
Legal status (The legal status is an assumption and is not a legal conclusion. Google has not performed a legal analysis and makes no representation as to the accuracy of the status listed.)
Granted
Application number
JP2006294422A
Other languages
English (en)
Other versions
JP4495712B2 (ja
Inventor
Yu-Cheng Chen
チェン・ユ−チェン
Hung-Tse Chen
チェン・フン−ツェ
Current Assignee (The listed assignees may be inaccurate. Google has not performed a legal analysis and makes no representation or warranty as to the accuracy of the list.)
Industrial Technology Research Institute ITRI
Original Assignee
Industrial Technology Research Institute ITRI
Priority date (The priority date is an assumption and is not a legal conclusion. Google has not performed a legal analysis and makes no representation as to the accuracy of the date listed.)
Filing date
Publication date
Application filed by Industrial Technology Research Institute ITRI filed Critical Industrial Technology Research Institute ITRI
Publication of JP2007241237A publication Critical patent/JP2007241237A/ja
Application granted granted Critical
Publication of JP4495712B2 publication Critical patent/JP4495712B2/ja
Expired - Fee Related legal-status Critical Current
Anticipated expiration legal-status Critical

Links

Images

Classifications

    • HELECTRICITY
    • H01ELECTRIC ELEMENTS
    • H01LSEMICONDUCTOR DEVICES NOT COVERED BY CLASS H10
    • H01L21/00Processes or apparatus adapted for the manufacture or treatment of semiconductor or solid state devices or of parts thereof
    • H01L21/70Manufacture or treatment of devices consisting of a plurality of solid state components formed in or on a common substrate or of parts thereof; Manufacture of integrated circuit devices or of parts thereof
    • H01L21/71Manufacture of specific parts of devices defined in group H01L21/70
    • H01L21/768Applying interconnections to be used for carrying current between separate components within a device comprising conductors and dielectrics
    • H01L21/76838Applying interconnections to be used for carrying current between separate components within a device comprising conductors and dielectrics characterised by the formation and the after-treatment of the conductors
    • HELECTRICITY
    • H10SEMICONDUCTOR DEVICES; ELECTRIC SOLID-STATE DEVICES NOT OTHERWISE PROVIDED FOR
    • H10DINORGANIC ELECTRIC SEMICONDUCTOR DEVICES
    • H10D86/00Integrated devices formed in or on insulating or conducting substrates, e.g. formed in silicon-on-insulator [SOI] substrates or on stainless steel or glass substrates
    • H10D86/40Integrated devices formed in or on insulating or conducting substrates, e.g. formed in silicon-on-insulator [SOI] substrates or on stainless steel or glass substrates characterised by multiple TFTs
    • H10D86/441Interconnections, e.g. scanning lines
    • HELECTRICITY
    • H10SEMICONDUCTOR DEVICES; ELECTRIC SOLID-STATE DEVICES NOT OTHERWISE PROVIDED FOR
    • H10DINORGANIC ELECTRIC SEMICONDUCTOR DEVICES
    • H10D86/00Integrated devices formed in or on insulating or conducting substrates, e.g. formed in silicon-on-insulator [SOI] substrates or on stainless steel or glass substrates
    • H10D86/40Integrated devices formed in or on insulating or conducting substrates, e.g. formed in silicon-on-insulator [SOI] substrates or on stainless steel or glass substrates characterised by multiple TFTs
    • H10D86/60Integrated devices formed in or on insulating or conducting substrates, e.g. formed in silicon-on-insulator [SOI] substrates or on stainless steel or glass substrates characterised by multiple TFTs wherein the TFTs are in active matrices

Landscapes

  • Engineering & Computer Science (AREA)
  • Physics & Mathematics (AREA)
  • Condensed Matter Physics & Semiconductors (AREA)
  • General Physics & Mathematics (AREA)
  • Manufacturing & Machinery (AREA)
  • Computer Hardware Design (AREA)
  • Microelectronics & Electronic Packaging (AREA)
  • Power Engineering (AREA)
  • Thin Film Transistor (AREA)
  • Liquid Crystal (AREA)
  • Devices For Indicating Variable Information By Combining Individual Elements (AREA)
  • Internal Circuitry In Semiconductor Integrated Circuit Devices (AREA)

Abstract

【課題】TFTアレイを製造するための方法に提供する。
【解決手段】TFTアレイを製造するための方法は、基板と、複数の第1の導電性ラインと複数の第2の導電性ラインとを有し基板上にパターニングされた第1の金属層と、パターニングされた第1の金属層の上の絶縁層と、パターニングされたシリコン層と、パターニングされたシリコン層の上のパターニングされた保護層と、パターニングされた保護層の上のパターニングされたドープシリコン層及びパターニングされた第2の金属層とを準備し、パターニングされたシリコン層の露出した部分と第1の導電性ラインと第2の導電性ラインの露出した部分を埋め、パターニングされた第2の金属層が、複数の第3の導電性ラインと複数の第4の導電性ラインを備え、そのそれぞれが、複数の第1の導電性ラインと複数の第2の導電性ラインの1つにそれぞれに対応する。
【選択図】図1H

Description

本発明は、概括的に言えば、複数の薄膜トランジスタ(「TFT」)に関し、より詳しく言えば、TFTアレイ(TFT array)を製造するための方法に関する。
半導体製造技術における進歩とともに、液晶ディスプレイ(「LCD」)装置などのフラットパネルディスプレイ装置のパネルサイズが急速に増大している。その結果、フラットパネルディスプレイ装置内の導電性ライン(conductive line)は、長さにおいてかなりの増加を引き起こし、好ましくない抵抗−容量(「RC」)遅延を逆に招いている。かかるRC遅延は、フラットパネル装置の性能に深刻な影響を及ぼし得る。37インチ又はそれ以上のパネルサイズを有する液晶ディスプレイテレビにおいて、走査線の内部のRC遅延は、表示品質に悪影響を及ぼすことが見出されている。RC遅延問題に取り組む従来の方法の1つは、両側駆動方式を提案しており、RC遅延をオフセットする、あるいは軽減するために、パネルの両側にドライバが備えられている。
しかし、この方法は、更なる複数の駆動集積回路(「IC」)と、次にこれらの集積回路をパッケージングするための更なるコストを必要とする。従って、駆動方式に妥協することなく、TFTアレイ内の導電性ラインにおいてRC遅延を低減することができるTFTアレイを製造するための方法が望まれている。
本発明は、先行技術についての制限及び欠点から生じる1つ若しくはそれ以上の問題を取り除く、二層導電性ラインを有する薄膜トランジスタ(「TFT」)アレイを製造するための方法に指向される。
本発明の一実施形態によれば 基板を用意するステップと、前記基板上にパターニングされた第1の金属層を形成し、該パターニングされた第1の金属層が、複数の第1の導電性ラインと該第1の導電性ラインに直交して配置される複数の第2の導電性ラインとを有し、前記第1の導電性ラインのそれぞれが、複数のゲート電極を有し、該ゲート電極のそれぞれが、1つの前記第1の導電性ラインと1つの前記第2の導電性ラインの交点の近くに配置されるステップと、前記パターニングされた第1の金属層の上に絶縁層を形成するステップと、パターニングされたシリコン層を形成するステップと、前記パターニングされたシリコン層と前記パターニングされた第1の金属層の上にパターニングされた保護層を形成し、前記パターニングされたシリコン層の一部とそれぞれ1つの前記第1の導電性ライン及びそれぞれ1つの前記第2の導電性ラインの一部とを露出させるステップと、前記パターニングされた保護層の上にパターニングされたドープシリコン層とパターニングされた第2の金属層とを形成し、前記パターニングされたシリコン層の露出した部分と前記第1の導電性ライン及び前記第2の導電性ラインの露出した部分とを埋め、前記パターニングされた第2の金属層が、複数の第3の導電性ラインと複数の第4の導電性ラインとを有し、前記第3の導電性ラインと前記第4の導電性ラインのそれぞれが、前記複数の第1の導電性ラインの1つと前記複数の第2の導電性ラインの1つにそれぞれに対応するステップとを備えている薄膜トランジスタ(「TFT」)アレイを製造するための方法が提供される。
また、本発明によれば、基板を用意するステップと、前記基板上にパターニングされた第1の金属層を形成し、該パターニングされた第1の金属層が、複数の第1の導電性ラインと該第1の導電性ラインに直交して配置される複数の第2の導電性ラインとを有し、前記第1の導電性ラインのそれぞれが、複数のゲート電極を有し、該ゲート電極のそれぞれが、1つの前記第1の導電性ラインと1つの前記第2の導電性ラインの交点の近くに配置されるステップと、前記パターニングされた第1の金属層の上に絶縁層を形成するステップと、パターニングされたシリコン層を形成するステップと、前記パターニングされたシリコン層と前記パターニングされた第1の金属層の上にパターニングされた保護層を形成し、前記パターニングされたシリコン層の一部と前記第1の導電性ライン及び前記第2の導電性ラインのそれぞれの一部とを露出させるステップと、前記パターニングされたシリコン層の露出した部分の中へ不純物をドープするステップと、前記パターニングされた保護層の上にパターニングされた第2の金属層を形成し、前記パターニングされたシリコン層の露出した部分と前記第1の導電性ライン又は第2の導電性ラインの露出した部分とを埋め、前記パターニングされた第2の金属層が、複数の第3の導電性ラインと複数の第4の導電性ラインとを有し、前記第3の導電性ラインと前記第4の導電性ラインのそれぞれが、前記パターニングされた第1の金属層の前記複数の第1の導電性ラインの1つと前記複数の第2の導電性ラインの1つにそれぞれに対応するステップとを備えている薄膜トランジスタ(「TFT」)アレイを製造するための方法が提供される。
更に、本発明によれば、基板を用意するステップと、前記基板上にパターニングされた第1の金属層を形成し、該パターニングされた第1の金属層が、複数の第1の導電性ラインと該第1の導電性ラインに直交して配置される複数の第2の導電性ラインとを有し、前記第2の導電性ラインのそれぞれが、互いに離れている複数の分岐ラインを有するステップと、前記パターニングされた第1の金属層の上に絶縁層を形成するステップと、前記絶縁層の上にパターニングされたシリコン層を形成するステップと、それぞれの前記第1の導電性ラインの一部と前記パターニングされた第1の金属層のそれぞれの前記第2の導電性ラインの分岐ラインを露出させるステップと、前記パターニングされたシリコン層の上にパターニングされた第2の金属層を形成し、それぞれの前記第1の導電性ラインの露出した部分とそれぞれの前記第2の導電性ラインの露出した部分を埋め、前記パターニングされた第2の金属層が、複数の第3の導電性ラインと複数の第4の導電性ラインとを有し、前記第3の導電性ラインと前記第4の導電性ラインのそれぞれが、前記パターニングされた第1の金属層の前記複数の第1の導電性ラインの1つと前記複数の第2の導電性ラインの1つにそれぞれに対応するステップとを備えている薄膜トランジスタ(「TFT」)アレイを製造するための方法が提供される。
本発明の更なる特徴及び利点は、以下の説明に部分的に記述されており、その説明からある程度明らかとなる、すなわち、本発明の実施によって確認されるであろう。本発明の特徴及び利点は、添付した特許請求の範囲において、特に示された要素及びその組合せによって実現され達せられるであろう。
前述した概要及び以下の詳細な説明はともに、例示的なものであって説明のためのみのものであり、特許請求の範囲のように、本発明を限定するものではないことを理解すべきである。
前述した概要は、以下の発明の詳細な説明と同様に、添付図面とともに読む場合により理解されるであろう。本発明を説明するために、現在好ましい実施形態が図面に示されている。しかし、本発明は、示される正確な配置や手段に限定されるものではないことを理解すべきである。
本発明の本実施形態に対して詳細に言及され、その実施例が添付図に表されている。可能な限り、図面を通じて、同一参照番号を同一又は類似部分を指して使用する。
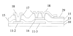
図1A〜図1Jは、本発明の第1の実施形態に係る薄膜トランジスタ(「TFT」)アレイを製造するための方法を示す図である。図1Aは、図1Bに示される平面図のAA方向に沿った断面図である。図1Aによると、例えば、ガラス又は樹脂から作られる基板10が用意される。好ましくは、基板10の厚さは、約0.3〜0.7mm(ミリメートル)の範囲であるが、これより薄くても厚くてもよい。次に、パターニングされた(patterned)第1の金属層11が、例えば、従来の物理的気相成長法(「PVD」)、スパッタリング又は他の好適なプロセスによって基板10上に第1の金属の層を形成し、その次に第1のマスクを使用し従来のパターニング及びエッチングプロセスによって、基板10上に形成される。図1Bによると、パターニングされた第1の金属層11は、互いに実質的に平行な複数の第1の導電性ライン11−1と、第1の導電性ライン11−1に実質的に直交する複数の第2の導電性ライン11−2とを備えている。第1の導電性ライン11−1のそれぞれは、ゲート電極11−3を備えている。それぞれのゲート電極11−3は、1つの第1の導電性ライン11−1と1つの第2の導電性ライン11−2の交点の近くに配置される。第1の金属層のための好適な材料は、TiAlTi、MoAlMo、CrAlCr、MoW、Cr及びCuであるが、これに限定されるものではない。好ましくは、ゲート電極11−3の厚さは、約1000から2000Å(オングストローム)の範囲であるが、他の厚さであってもよい。それぞれの第1の導電性ライン11−1は、最終的に二層配線(dual-layer wire)の主ライン(main line)となり、それぞれの第2の導電性ライン11−2は、最終的に二層配線の分岐ライン(branch line)となる。二層若しくは多層配線構造は、2003年10月20に出願された米国特許出願第10/687759号及び2005年5月17日に出願された米国特許出願第11/131084号に開示され、それらは参照することによりここに組み込まれる。
図1C及び図1Dによると、絶縁層13が、例えば従来の化学的気相成長法(「CVD」)プロセス又は他の好適なプロセスによってパターニングされた第1の金属層11上に形成される。絶縁層13のための好適な材料は、窒化ケイ素、酸化ケイ素及び酸窒化ケイ素である。好ましくは、絶縁層13の厚さは、約2500から4000Åの範囲である。次に、パターニングされたシリコン層14が、例えば従来のCVD又は他の好適なプロセスによってシリコンの層を形成し、その次に第2のマスクを使用し従来のパターニング及びエッチングプロセスによって、絶縁層13上に形成される。パターニングされたシリコン層14は、それぞれのゲート電極11−3の上に配置される活性領域を画定する。パターニングされたシリコン層14は、アモルファスシリコン層又は多結晶シリコン層を有している。好ましくは、パターニングされたシリコン層14の厚さは、約500から3000Åの範囲であるが、他の厚さであってもよい。
図1E及び図1Fによると、パターニングされた保護層15が、例えば従来のCVDプロセス又は他の好適なプロセスによって酸化物又は窒化物などの絶縁材料の層を形成し、その次に第3のマスクを使用し従来のパターニング及びエッチングプロセスによって、絶縁層13とパターニングされたシリコン層14の上に形成される。パターニングされた保護層15は、トレンチ(trench)16−1、16−2及び16−3を通じて第1の導電性ライン11−1、第2の導電性ライン11−2及びパターニングされたシリコン層14をそれぞれに露出させる。前記活性領域のそれぞれは、1対のトレンチ16−3を用いて形成され、対応するTFTトランジスタのためのソース領域とドレイン領域を規定する。好ましくは、パターニングされた保護層15の厚さは、約3000から5000Åの範囲である。
1つの第1の導電性ライン11−1の上に配置されるそれぞれのトレンチ16−1は、同じ1つの導電性ラインの上に配置される隣接するトレンチ16−1から、“a”として表示される距離だけ離れている。第1の実施形態では、距離“a”に対するトレンチの長さ“b”の比が、約2から20の範囲である。また、1つの第2の導電性ライン11−2の上に配置されるそれぞれのトレンチ16−2は、同じ1つの第2の導電性ライン16−2の上に配置される隣接するトレンチ16−2から、“p”として表示される距離だけ離れている。第1の実施形態では、距離“p”に対するトレンチ16−2の長さ“q”の比が、約2から20の範囲である。
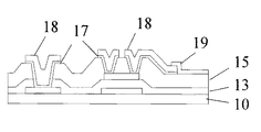
図1G及び図1Hによると、パターニングされたドープシリコン層(doped silicon layer)17とパターニングされた第2の金属層18とが、パターニングされた保護層15の上に形成され、トレンチ16−1、16−2及び16−3を埋める。パターニングされたシリコン層17とパターニングされた第2の金属層18とは、例えば従来のCVDプロセスによって高濃度にドープされたn型(n)シリコンの層を形成し、その後に、例えば従来のPVDプロセスによって前記n型シリコン層上に第2の金属の層を形成し、その次に第4のマスクを使用し従来のパターニング及びエッチングプロセスによって、形成される。第2の金属層のための好適な材料は、TiAlTi、MoAlMo、CrAlCr、MoW、Cr及びCuであるが、これに限定されるものではない。好ましくは、パターニングされたドープシリコン層17の厚さは、約500Åであるが、それより厚いものでも薄いものでもよい。好ましくは、パターニングされた第2の金属層18の厚さは、約1000から3000Åの範囲である。
パターニングされた第2の金属層18は、複数の第3の導電性ライン18−1と、第3の導電性ライン18−1に直交する複数の第4の導電性ライン18−2とを備えている。それぞれの第3の導電性ライン18−1は、最終的に二層配線の分岐ラインとなり、それぞれの第4の導電性ライン18−2は、最終的に二層配線の主ラインとなる。パターニングされた第2の金属層18の第3の導電性ライン18−1は、TFTアレイのための二層配線、すなわち二層走査線を形成するために、トレンチ16−1を通じてパターニングされた第1の金属層11の第1の導電性ライン11−1に電気的に接続される。パターニングされた第2の金属層18の第4の導電性ライン18−2は、TFTアレイのための二層配線、すなわち二層データ線を形成するために、トレンチ16−2を通じてパターニングされた第1の金属層11の第2の導電性ライン11−2に電気的に接続される。主ラインに対応する分岐ラインと、同じ前記主ラインに対応する直接隣接する分岐ラインとの間の距離に対する前記主ラインに対応する分岐ラインの長さの比は、約2から20の範囲である。
図1I及び図1Jによると、パターニングされた画素電極層19が、従来のPVDプロセスによって、パターニングされた第2の金属層18とパターニングされた保護層15の上に導電性材料、例えばインジウムスズ酸化物(ITO)の層を形成し、その次に第5のマスクを使用し従来のパターニング及びエッチングプロセスによって、形成される。パターニングされた画素電極層19は、TFTアレイのための画素電極としての機能を果たす。好ましくは、前記パターニングされた導電層の厚さは、約500から1000Åの範囲である。
図2は、本発明の第2の実施形態に係るTFTアレイを製造するための方法を示す断面図である。図2によると、また図1A〜図1Eを参照すると、第1のマスクが、パターニングされた第1の金属層11を規定するために使用される。次に、絶縁材料の層13が、パターニングされた第1の金属層11の上に形成される。第2のマスクが、パターニングされたシリコン層14を規定するために使用される。保護層15が、パターニングされたシリコン層14と絶縁層13の上に形成される。パターニングされた、例えばITO層などの画素電極層29が、従来のPVDプロセスによって、その次に第3のマスクを使用し従来のパターニング及びエッチングプロセスによって、前記保護層上に形成される。その後に、保護層15は、第4のマスクを使用し従来のパターニング及びエッチングプロセスを行うことによってパターニングされ、パターニングされたシリコン層14の一部とパターニングされた第1の金属層11−1と11−2の一部を露出させる。その次に、パターニングされたn型シリコン層17とパターニングされた第2の金属層18とが、第5のマスクを使用しパターニングされた画素電極層29とパターニングされた保護層15の上に形成される。
また、図2及び図1A〜図1Eを参照して、第1、第2及び第3のマスクが、パターニングされた第1の金属層11、パターニングされたシリコン層14及びパターニングされた保護層25を規定するためにそれぞれに使用されてもよい。パターニングされた画素電極層29は、従来のPVDプロセスによってITOなどの導電性材料の層を形成し、その次に第4のマスクを使用し従来のパターニング及びエッチングプロセスによって、パターニングされた保護層25の上に形成される。その次に、パターニングされたn型シリコン層17とパターニングされた第2の金属層18とが、第5のマスクを使用しパターニングされた画素電極層29とパターニングされた保護層25の上に形成される。
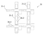
図3は、本発明の第3の実施形態に係るTFTアレイを製造するための方法を示す概略図である。図3によると、パターニングされた第1の金属層31は、複数の第1の導電性ライン31−1と複数の第2の導電性ライン31−2とを備えている。図1Fに示されるトレンチ16−2などのただ1つの連続的なトレンチの代わりに、複数のコンタクトホール36−2が、2つの隣接する第1の導電性ライン31−1の間のそれぞれの第2の導電性ライン31−2に形成されている。また、複数のコンタクトホール36−1が、2つの隣接する第2の導電性ライン31−2の間のそれぞれの第1の導電性ライン31−1に形成されてもよい。
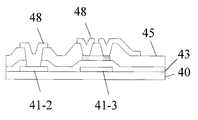
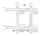
図4A〜図4Jは、本発明の第4の実施形態に係る薄膜トランジスタ(「TFT」)アレイを製造するための方法を示す図である。図4Aは、図4Bに示される平面図のBB方向に沿った断面図である。図4Aによると、例えばガラス又は樹脂から作られる基板40が準備される。パターニングされた第1の金属層41が、従来のPVDプロセスによって基板40上に金属の層を形成し、その次に第1のマスクを使用し従来のパターニング及びエッチングプロセスによって、基板40上に形成される。パターニングされた第1の金属層41は、互いに実質的に平行な複数の第1の導電性ライン41−1と、第1の導電性ライン41−1に実質的に直交する複数の第2の導電性ライン41−2とを備えている。第1の導電性ライン41−1のそれぞれは、ゲート電極41−3を備えている。それぞれのゲート電極41−3は、1つの第1の導電性ライン41−1と1つの第2の導電性ライン41−2の交点の近くに配置される。それぞれの第1の導電性ライン41−1は、最終的に二層配線の主ラインとなり、それぞれの第2の導電性ライン41−2は、最終的に二層配線の分岐ラインとなる。
図4C及び図4Dによると、絶縁層43が、従来のCVDプロセス又は他の好適なプロセスによってパターニングされた第1の金属層41上に形成されている。次に、パターニングされたシリコン層44が、例えば従来のCVD、レーザアニーリング又は他の好適なプロセスによってシリコンの層を形成し、その次に第2のマスクを使用し従来のパターニング及びエッチングプロセスによって絶縁層43上に形成され、それぞれのゲート電極41−1の上に配置される活性領域を規定する。パターニングされたシリコン層44は、アモルファスシリコン層又は多結晶シリコン層の1つを有している。
図4E及び図4Fによると、パターニングされた保護層45が、従来のCVDプロセスによって絶縁材料の層を形成し、その次に第3のマスクとフォトレジスト層を使用し従来のパターニング及びエッチングプロセスによって、絶縁層43とパターニングされたシリコン層44の上に形成されている。パターニングされた保護層45は、トレンチ46−1、46−2及び46−3を通じて第1の導電性ライン41−1、第2の導電性ライン41−2及びパターニングされたシリコン層44をそれぞれに露出させる。残りのフォトレジスト層42は、例えば従来の注入プロセス又は他の好適なプロセスによってパターニングされたシリコン層44の中へn型又はp型不純物をドープするためのマスクとして使用される。前記フォトレジスト層は、各TFTトランジスタのための第1の拡散領域44−1と第2の拡散領域44−2、すなわちソースとドレイン、又はその逆を規定する。残りのフォトレジスト層42は、その後に取り除かれる。
1つの第1の導電性ライン41−1の上に配置されるそれぞれのトレンチ46−1は、同じ1つの導電性ラインの上に配置される隣接するトレンチから距離“a”だけ離れている。第4の実施形態では、距離“a”に対するトレンチの長さ“b”の比が、約2から20の範囲である。また、1つの第2の導電性ライン41−2の上に配置されるそれぞれのトレンチ46−2は、同じ1つの導電性ラインの上に配置される隣接するトレンチから距離“p”だけ離れている。第4の実施形態では、距離“p”に対するトレンチの長さ“q”の比が、約2から20の範囲である。
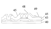
図4G及び図4Hによると、パターニングされた第2の金属層48が、パターニングされた保護層45の上に形成され、トレンチ46−1、46−2及び46−3を埋める。第2の金属層48は、従来のPVDプロセスによって金属の層を形成し、その次に第4のマスクを使用し従来のパターニング及びエッチングプロセスによって、形成される。
パターニングされた第2の金属層48は、複数の第3の導電性ライン48−1と、第3の導電性ライン48−1に直交する複数の第4の導電性ライン48−2とを備えている。それぞれの第3の導電性ライン48−1は、最終的に二層配線の分岐ラインとなり、それぞれの第4の導電性ライン48−2は、最終的に二層配線の主ラインとなる。パターニングされた第2の金属層48の第3の導電性ライン48−1は、TFTアレイのための二層配線、すなわち二層走査線を形成するために、トレンチ46−1を通じてパターニングされた第1の金属層11の第1の導電性ライン41−1に電気的に接続される。パターニングされた第2の金属層48の第4の導電性ライン48−2は、TFTアレイのための二層配線、すなわち二層データ線を形成するために、トレンチ46−2を通じてパターニングされた第1の金属層41の第2の導電性ライン41−2に電気的に接続される。主ラインに対応する分岐ラインと、同じ前記主ラインに対応する直接隣接する分岐ラインとの間の距離に対する前記主ラインに対応する分岐ラインの長さの比は、約2から20の範囲である。
図4I及び図4Jによると、パターニングされた画素電極層49が、従来のPVDプロセスによって、パターニングされた第2の金属層48とパターニングされた保護層45の上にITOなどの導電性材料の層を形成し、その次に第5のマスクを使用し従来のパターニング及びエッチングプロセスによって形成されている。パターニングされた画素電極層49は、TFTアレイのための画素電極としての機能を果たす。
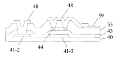
図5は、本発明の第5の実施形態に係るTFTアレイを製造するための方法を示す断面図である。図5によると、また図4A〜図4Eを参照すると、第1のマスクが、パターニングされた第1の金属層41を規定するために使用される。次に、絶縁材料の層43が、パターニングされたシリコン層44の上に形成される。第2のマスクが、パターニングされたシリコン層44を規定するために使用される。保護層55が、パターニングされたシリコン層44と絶縁層43の上に形成される。パターニングされたITO膜などの画素電極層59が、従来のPVDプロセスによって、その次に第3のマスクを使用し従来のパターニング及びエッチングプロセスによって保護層55上に形成され、TFTアレイのための画素電極としての機能を果たす。その後に、保護層55は、第4のマスクを使用し従来のパターニング及びエッチングプロセスを行うことによってパターニングされ、パターニングされたシリコン層44の一部とパターニングされた第1の金属層41−1と41−2の一部を露出させる。次に、パターニングされたシリコン層44が、同じ第4のマスクを使用し従来の注入プロセスによってn型又はp型不純物を用いてドープされる。その次に、パターニングされた第2の金属層48が、第5のマスクを使用しパターニングされた導電層59とパターニングされた保護層55の上に形成される。
また、図5及び図4A〜図4Eを参照して、第1、第2及び第3のマスクは、パターニングされた第1の金属層41、パターニングされたシリコン層44及びパターニングされた保護層55を規定するためにそれぞれに使用される。次に、パターニングされたシリコン層44は、同じ第3のマスクを使用し従来の注入プロセスによって、n型又はp型不純物を用いてドープされる。パターニングされた画素電極層59は、従来のPVDプロセスによってITOなどの導電性材料の層を形成し、その次に第4のマスクを使用し従来のパターニング及びエッチングプロセスによって、パターニングされた保護層55の上に形成される。その次に、パターニングされた第2の金属層48が、第5のマスクを使用しパターニングされた画素電極層59とパターニングされた保護層55の上に形成される。
その広範な発明概念から逸脱することなく上記実施形態に対する変更が行われ得ることが当業者により認識されるであろう。従って、本発明は開示される特定の実施形態に限定されるものではないが、添付される特許請求の範囲によって規定されるように、本発明の精神及び範囲内での変更に及んでいることを意図するものであることを理解すべきである。
更に、本発明の代表的な実施形態を記述することで、本明細書は、ステップの特定の順序として本発明の方法及び/又はプロセスを提供している。しかし、その方法又はプロセスが、ここに記述しているステップの特定の順番に依存するものでない限り、その方法又はプロセスは、記述されるステップの特定の順序に限定されるべきものではない。当業者が理解するように、ステップの他の順序が可能であり得る。従って、この明細書に記述されるステップの特定の順番は、特許請求の範囲において限定するものと解釈すべきものではない。加えて、本発明の方法及び/又はプロセスに指向された特許請求の範囲は、記載された順番でステップを行うものに限定されるべきものではなく、当業者は、その順序を変えることができ、また、本発明の精神及び範囲内にあることを容易に理解できる。
本発明の第1の実施形態に係る薄膜トランジスタ(「TFT」)アレイを製造するための方法を示す図である。 本発明の第1の実施形態に係る薄膜トランジスタ(「TFT」)アレイを製造するための方法を示す図である。 本発明の第1の実施形態に係る薄膜トランジスタ(「TFT」)アレイを製造するための方法を示す図である。 本発明の第1の実施形態に係る薄膜トランジスタ(「TFT」)アレイを製造するための方法を示す図である。 本発明の第1の実施形態に係る薄膜トランジスタ(「TFT」)アレイを製造するための方法を示す図である。 本発明の第1の実施形態に係る薄膜トランジスタ(「TFT」)アレイを製造するための方法を示す図である。 本発明の第1の実施形態に係る薄膜トランジスタ(「TFT」)アレイを製造するための方法を示す図である。 本発明の第1の実施形態に係る薄膜トランジスタ(「TFT」)アレイを製造するための方法を示す図である。 本発明の第1の実施形態に係る薄膜トランジスタ(「TFT」)アレイを製造するための方法を示す図である。 本発明の第1の実施形態に係る薄膜トランジスタ(「TFT」)アレイを製造するための方法を示す図である。 本発明の第2の実施形態に係るTFTアレイを製造するための方法を示す断面図である。 本発明の第3の実施形態に係るTFTアレイを製造するための方法を示す概略図である。 本発明の第4の実施形態に係るTFTアレイを製造するための方法を示す図である。 本発明の第4の実施形態に係るTFTアレイを製造するための方法を示す図である。 本発明の第4の実施形態に係るTFTアレイを製造するための方法を示す図である。 本発明の第4の実施形態に係るTFTアレイを製造するための方法を示す図である。 本発明の第4の実施形態に係るTFTアレイを製造するための方法を示す図である。 本発明の第4の実施形態に係るTFTアレイを製造するための方法を示す図である。 本発明の第4の実施形態に係るTFTアレイを製造するための方法を示す図である。 本発明の第4の実施形態に係るTFTアレイを製造するための方法を示す図である。 本発明の第4の実施形態に係るTFTアレイを製造するための方法を示す図である。 本発明の第4の実施形態に係るTFTアレイを製造するための方法を示す図である。 本発明の第5の実施形態に係るTFTアレイを製造するための方法を示す断面図である。
符号の説明
10、40 基板
11、31、41 第1の金属層
11−1、31−1、41−1、48−1 第1の導電性ライン
11−2、31−2、41−2、48−2 第2の導電性ライン
11−3、41−3 ゲート電極
13、43 絶縁層
14、44 シリコン層
15、45、55 保護層
17 ドープシリコン層
18、48 第2の金属層
18−1、48−1 第3の導電性ライン
18−2、48−2 第4の導電性ライン
19、29、49、59 画素電極層
16−1、16−2、16−3、46−1、46−2、46−3 トレンチ
36−1、36−2 コンタクトホール

Claims (30)

  1. 薄膜トランジスタ(「TFT」)アレイを製造するための方法であって、
    基板を用意するステップと、
    前記基板上にパターニングされた第1の金属層を形成し、該パターニングされた第1の金属層が、複数の第1の導電性ラインと該第1の導電性ラインに直交して配置される複数の第2の導電性ラインとを有し、前記第1の導電性ラインのそれぞれが、複数のゲート電極を有し、該ゲート電極のそれぞれが、1つの前記第1の導電性ラインと1つの前記第2の導電性ラインの交点の近くに配置されるステップと、
    前記パターニングされた第1の金属層の上に絶縁層を形成するステップと、
    パターニングされたシリコン層を形成するステップと、
    前記パターニングされたシリコン層と前記パターニングされた第1の金属層の上にパターニングされた保護層を形成し、前記パターニングされたシリコン層の一部とそれぞれ1つの前記第1の導電性ライン及びそれぞれ1つの前記第2の導電性ラインの一部とを露出させるステップと、
    前記パターニングされた保護層の上にパターニングされたドープシリコン層とパターニングされた第2の金属層とを形成し、前記パターニングされたシリコン層の露出した部分と前記第1の導電性ライン及び前記第2の導電性ラインの露出した部分とを埋め、前記パターニングされた第2の金属層が、複数の第3の導電性ラインと複数の第4の導電性ラインとを有し、前記第3の導電性ラインと前記第4の導電性ラインのそれぞれが、前記複数の第1の導電性ラインの1つと前記複数の第2の導電性ラインの1つにそれぞれに対応するステップと、
    を備えていることを特徴とする方法。
  2. 前記パターニングされた第2の金属層と前記パターニングされた保護層の上にパターニングされた画素電極層を形成するステップをさらに備えていることを特徴とする請求項1に記載の方法。
  3. 前記パターニングされたシリコン層の上に保護層を形成するステップと、
    前記保護層の上にパターニングされた画素電極層を形成するステップと、
    前記保護層をパターニングし、前記パターニングされたシリコン層の一部と前記第1の導電性ライン又は第2の導電性ラインの一部とを露出させるステップと、
    をさらに備えていることを特徴とする請求項1に記載の方法。
  4. 前記パターニングされた保護層の上にパターニングされた画素電極層を形成するステップと、
    前記パターニングされた保護層と前記パターニングされた画素電極層の上に、パターニングされたドープシリコン層とパターニングされた第2の金属層とを形成し、前記パターニングされたドープシリコン層の露出した部分と前記第1の導電性ライン又は第2の導電性ラインの露出した部分とを埋めるステップと、
    をさらに備えていることを特徴とする請求項1に記載の方法。
  5. 前記パターニングされた第1の金属層の前記第1の導電性ラインと第2の導電性ラインの少なくとも1つの上の前記保護層と前記絶縁層にトレンチを形成するステップをさらに備えていることを特徴とする請求項1に記載の方法。
  6. 前記トレンチを通じて前記パターニングされた第1の金属層と前記パターニングされた第2の金属層とを電気的に接続させるステップをさらに備えていることを特徴とする請求項5に記載の方法。
  7. 前記パターニングされた第1の金属層の前記第1の導電性ラインと前記第2の導電性ラインの少なくとも1つの上の前記保護層と前記絶縁層に複数のコンタクトホールを形成するステップをさらに備えていることを特徴とする請求項1に記載の方法。
  8. 前記複数のコンタクトホールを通じて前記パターニングされた第1の金属層と前記パターニングされた第2の金属層とを電気的に接続させるステップをさらに備えていることを特徴とする請求項7に記載の方法。
  9. 前記パターニングされた第1の金属層のそれぞれの前記第2の導電性ラインが、互いに離れている複数の分岐ラインを備えていることを特徴とする請求項1に記載の方法。
  10. 前記それぞれの分岐ラインと、同じ前記第2の導電性ライン上に配置され直接隣接する分岐ラインとの間の距離に対する前記分岐ラインのそれぞれの長さの比が、約2から20の範囲であることを特徴とする請求項9に記載の方法。
  11. 前記パターニングされた第2の金属層のそれぞれの前記第3の導電性ラインが、互いに離れている複数の分岐ラインを備えていることを特徴とする請求項1に記載の方法。
  12. 前記それぞれの分岐ラインと、同じ前記第3の導電性ライン上に配置され直接隣接する分岐ラインとの間の距離に対する前記分岐ラインのそれぞれの長さの比が、約2から20の範囲であることを特徴とする請求項11に記載の方法。
  13. アモルファスシリコン層又は多結晶シリコン層の1つを有するパターニングされたシリコン層を形成するステップをさらに備えていることを特徴とする請求項1に記載の方法。
  14. 薄膜トランジスタ(「TFT」)アレイを製造するための方法であって、
    基板を用意するステップと、
    前記基板上にパターニングされた第1の金属層を形成し、該パターニングされた第1の金属層が、複数の第1の導電性ラインと該第1の導電性ラインに直交して配置される複数の第2の導電性ラインとを有し、前記第1の導電性ラインのそれぞれが、複数のゲート電極を有し、該ゲート電極のそれぞれが、1つの前記第1の導電性ラインと1つの前記第2の導電性ラインの交点の近くに配置されるステップと、
    前記パターニングされた第1の金属層の上に絶縁層を形成するステップと、
    パターニングされたシリコン層を形成するステップと、
    前記パターニングされたシリコン層と前記パターニングされた第1の金属層の上にパターニングされた保護層を形成し、前記パターニングされたシリコン層の一部と前記第1の導電性ライン及び前記第2の導電性ラインのそれぞれの一部とを露出させるステップと、
    前記パターニングされたシリコン層の露出した部分の中へ不純物をドープするステップと、
    前記パターニングされた保護層の上にパターニングされた第2の金属層を形成し、前記パターニングされたシリコン層の露出した部分と前記第1の導電性ライン又は第2の導電性ラインの露出した部分とを埋め、前記パターニングされた第2の金属層が、複数の第3の導電性ラインと複数の第4の導電性ラインとを有し、前記第3の導電性ラインと前記第4の導電性ラインのそれぞれが、前記パターニングされた第1の金属層の前記複数の第1の導電性ラインの1つと前記複数の第2の導電性ラインの1つにそれぞれに対応するステップと、
    を備えていることを特徴とする方法。
  15. 前記パターニングされた第2の金属層と前記パターニングされた保護層の上にパターニングされた画素電極層を形成するステップをさらに備えていることを特徴とする請求項14に記載の方法。
  16. 前記パターニングされたシリコン層の上に保護層を形成するステップと、
    前記保護層の上にパターニングされた画素電極層を形成するステップと、
    前記保護層をパターニングし、前記パターニングされたシリコン層の一部と前記第1の導電性ライン又は第2の導電性ラインの一部とを露出させるステップと、
    をさらに備えていることを特徴とする請求項14に記載の方法。
  17. 前記パターニングされたシリコン層の露出した部分の中へ不純物をドープするステップと、
    前記パターニングされた保護層の上にパターニングされた画素電極層を形成するステップと、
    前記パターニングされた保護層と前記パターニングされた画素電極層の上にパターニングされた第2の金属層を形成し、前記パターニングされたシリコン層の露出した部分と前記第1の導電性ライン又は第2の導電性ラインの露出した部分とを埋めるステップと、
    をさらに備えていることを特徴とする請求項14に記載の方法。
  18. 前記パターニングされた第1の金属層の前記第1の導電性ライン又は第2の導電性ラインの少なくとも1つの上の前記保護層と前記絶縁層にトレンチを形成するステップをさらに備えていることを特徴とする請求項14に記載の方法。
  19. 前記トレンチを通じて前記パターニングされた第1の金属層と前記パターニングされた第2の金属層とを電気的に接続させるステップをさらに備えていることを特徴とする請求項18に記載の方法。
  20. 前記パターニングされた第1の金属層の前記第1の導電性ラインと前記第2の導電性ラインの少なくとも1つの上の前記保護層と前記絶縁層に複数のコンタクトホールを形成するステップをさらに備えていることを特徴とする請求項14に記載の方法。
  21. 前記複数のコンタクトホールを通じて前記パターニングされた第1の金属層と前記パターニングされた第2の金属層とを電気的に接続させるステップをさらに備えていることを特徴とする請求項20に記載の方法。
  22. 前記パターニングされた第1の金属層のそれぞれの前記第2の導電性ラインが、互いに離れている複数の分岐ラインを備えていることを特徴とする請求項14に記載の方法。
  23. 前記それぞれの分岐ラインと、同じ前記第2の導電性ライン上に配置され直接隣接する分岐ラインとの間の距離に対する前記分岐ラインのそれぞれの長さの比が、約2から20の範囲であることを特徴とする請求項22に記載の方法。
  24. 前記パターニングされた第2の金属層のそれぞれの前記第3の導電性ラインが、互いに離れている複数の分岐ラインを備えていることを特徴とする請求項14に記載の方法。
  25. 前記それぞれの分岐ラインと、同じ前記第1の導電性ライン上に配置され直接隣接する分岐ラインとの間の距離に対する前記分岐ラインのそれぞれの長さの比が、約2から20の範囲であることを特徴とする請求項24に記載の方法。
  26. アモルファスシリコン層又は多結晶シリコン層の1つを有するパターニングされたシリコン層を形成するステップをさらに備えていることを特徴とする請求項14に記載の方法。
  27. 薄膜トランジスタ(「TFT」)アレイを製造するための方法であって、
    基板を用意するステップと、
    前記基板上にパターニングされた第1の金属層を形成し、該パターニングされた第1の金属層が、複数の第1の導電性ラインと該第1の導電性ラインに直交して配置される複数の第2の導電性ラインとを有し、前記第2の導電性ラインのそれぞれが、互いに離れている複数の分岐ラインを有するステップと、
    前記パターニングされた第1の金属層の上に絶縁層を形成するステップと、
    前記絶縁層の上にパターニングされたシリコン層を形成するステップと、
    それぞれの前記第1の導電性ラインの一部と前記パターニングされた第1の金属層のそれぞれの前記第2の導電性ラインの分岐ラインを露出させるステップと、
    前記パターニングされたシリコン層の上にパターニングされた第2の金属層を形成し、それぞれの前記第1の導電性ラインの露出した部分とそれぞれの前記第2の導電性ラインの露出した部分を埋め、前記パターニングされた第2の金属層が、複数の第3の導電性ラインと複数の第4の導電性ラインとを有し、前記第3の導電性ラインと前記第4の導電性ラインのそれぞれが、前記パターニングされた第1の金属層の前記複数の第1の導電性ラインの1つと前記複数の第2の導電性ラインの1つにそれぞれに対応するステップと、
    を備えていることを特徴とする方法。
  28. 前記パターニングされた第2の金属層のそれぞれの前記第3の導電性ラインが、互いに離れている複数の分岐ラインを備えていることを特徴とする請求項27に記載の方法。
  29. 前記それぞれの分岐ラインと、前記パターニングされた第1の金属層の同じ前記第3の導電性ライン上に配置され直接隣接する分岐ラインとの間の距離に対する前記それぞれの分岐ラインの長さの比が、約2から20の範囲であることを特徴とする請求項28に記載の方法。
  30. 前記それぞれの分岐ラインと、前記パターニングされた第2の金属層の同じ前記第4の導電性ライン上に配置され直接隣接する分岐ラインとの間の距離に対する前記それぞれの分岐ラインの長さの比が、約2から20の範囲であることを特徴とする請求項27に記載の方法。
JP2006294422A 2006-03-07 2006-10-30 二層金属ラインを有する薄膜トランジスタディスプレイアレイを製造するための方法 Expired - Fee Related JP4495712B2 (ja)

Applications Claiming Priority (1)

Application Number Priority Date Filing Date Title
US11/369,624 US7638371B2 (en) 2006-03-07 2006-03-07 Method for manufacturing thin film transistor display array with dual-layer metal line

Publications (2)

Publication Number Publication Date
JP2007241237A true JP2007241237A (ja) 2007-09-20
JP4495712B2 JP4495712B2 (ja) 2010-07-07

Family

ID=38479454

Family Applications (1)

Application Number Title Priority Date Filing Date
JP2006294422A Expired - Fee Related JP4495712B2 (ja) 2006-03-07 2006-10-30 二層金属ラインを有する薄膜トランジスタディスプレイアレイを製造するための方法

Country Status (4)

Country Link
US (1) US7638371B2 (ja)
JP (1) JP4495712B2 (ja)
CN (1) CN100477171C (ja)
TW (1) TWI356458B (ja)

Cited By (4)

* Cited by examiner, † Cited by third party
Publication number Priority date Publication date Assignee Title
JP2012244123A (ja) * 2011-05-24 2012-12-10 Semiconductor Energy Lab Co Ltd 半導体装置
JP2013219348A (ja) * 2012-03-14 2013-10-24 Semiconductor Energy Lab Co Ltd 半導体装置
WO2016195001A1 (ja) * 2015-06-04 2016-12-08 シャープ株式会社 アクティブマトリクス基板
JP2019003127A (ja) * 2017-06-19 2019-01-10 株式会社ジャパンディスプレイ 液晶表示装置

Families Citing this family (8)

* Cited by examiner, † Cited by third party
Publication number Priority date Publication date Assignee Title
KR101682078B1 (ko) * 2010-07-30 2016-12-05 삼성디스플레이 주식회사 박막 트랜지스터 표시판의 제조 방법
TWI457672B (zh) * 2011-12-23 2014-10-21 Au Optronics Corp 畫素結構及其製造方法
US9239502B2 (en) * 2011-12-23 2016-01-19 Au Optronics Corporation Pixel structure with data line, scan line and gate electrode formed on the same layer and manufacturing method thereof
US20140036188A1 (en) * 2012-08-01 2014-02-06 Cheng-Hung Chen Liquid Crystal Display Device, Array Substrate and Manufacturing Method Thereof
CN102809859B (zh) * 2012-08-01 2014-12-31 深圳市华星光电技术有限公司 液晶显示装置、阵列基板及其制作方法
CN104505392A (zh) * 2014-12-29 2015-04-08 合肥鑫晟光电科技有限公司 阵列基板及其制作方法、阵列基板的修复方法、显示装置
CN110853531B (zh) * 2019-11-21 2021-11-05 京东方科技集团股份有限公司 显示用驱动背板及其制备方法、显示面板
EP4138126A4 (en) * 2021-07-09 2023-07-19 Changxin Memory Technologies, Inc. SEMICONDUCTOR TEST STRUCTURE AND MANUFACTURING METHOD THEREOF

Citations (2)

* Cited by examiner, † Cited by third party
Publication number Priority date Publication date Assignee Title
JP2000002884A (ja) * 1998-06-15 2000-01-07 Sharp Corp アクティブマトリクス基板およびその製造方法
JP2000352940A (ja) * 1999-06-11 2000-12-19 Toshiba Corp マトリクスアレイ基板

Family Cites Families (10)

* Cited by examiner, † Cited by third party
Publication number Priority date Publication date Assignee Title
FR2605442B1 (fr) * 1986-10-17 1988-12-09 Thomson Csf Ecran de visualisation electrooptique a transistors de commande et procede de realisation
US20020020840A1 (en) * 2000-03-10 2002-02-21 Setsuo Nakajima Semiconductor device and manufacturing method thereof
KR100684577B1 (ko) * 2000-06-12 2007-02-20 엘지.필립스 엘시디 주식회사 반사투과형 액정표시장치 및 그 제조방법
KR100938887B1 (ko) * 2003-06-30 2010-01-27 엘지디스플레이 주식회사 액정표시장치용 어레이기판과 그 제조방법
KR100939560B1 (ko) * 2003-06-30 2010-01-29 엘지디스플레이 주식회사 액정표시장치용 어레이기판과 제조방법
TWI220775B (en) * 2003-10-03 2004-09-01 Ind Tech Res Inst Multi-layered complementary wire structure and manufacturing method thereof
US7161226B2 (en) * 2003-10-20 2007-01-09 Industrial Technology Research Institute Multi-layered complementary wire structure and manufacturing method thereof
TWI282969B (en) * 2004-04-29 2007-06-21 Au Optronics Corp Thin film transistor array and fabricating method thereof
KR101043992B1 (ko) * 2004-08-12 2011-06-24 엘지디스플레이 주식회사 액정표시소자 및 그 제조방법
KR20060016920A (ko) * 2004-08-19 2006-02-23 삼성전자주식회사 박막 트랜지스터 표시판 및 그 제조 방법

Patent Citations (2)

* Cited by examiner, † Cited by third party
Publication number Priority date Publication date Assignee Title
JP2000002884A (ja) * 1998-06-15 2000-01-07 Sharp Corp アクティブマトリクス基板およびその製造方法
JP2000352940A (ja) * 1999-06-11 2000-12-19 Toshiba Corp マトリクスアレイ基板

Cited By (7)

* Cited by examiner, † Cited by third party
Publication number Priority date Publication date Assignee Title
JP2012244123A (ja) * 2011-05-24 2012-12-10 Semiconductor Energy Lab Co Ltd 半導体装置
US9525023B2 (en) 2011-05-24 2016-12-20 Semiconductor Energy Laboratory Co., Ltd. Semiconductor device
JP2013219348A (ja) * 2012-03-14 2013-10-24 Semiconductor Energy Lab Co Ltd 半導体装置
WO2016195001A1 (ja) * 2015-06-04 2016-12-08 シャープ株式会社 アクティブマトリクス基板
US10367009B2 (en) 2015-06-04 2019-07-30 Sharp Kabushiki Kaisha Active-matrix substrate
JP2019003127A (ja) * 2017-06-19 2019-01-10 株式会社ジャパンディスプレイ 液晶表示装置
JP7091027B2 (ja) 2017-06-19 2022-06-27 株式会社ジャパンディスプレイ 液晶表示装置

Also Published As

Publication number Publication date
TWI356458B (en) 2012-01-11
CN101034685A (zh) 2007-09-12
TW200735229A (en) 2007-09-16
CN100477171C (zh) 2009-04-08
US20070212824A1 (en) 2007-09-13
US7638371B2 (en) 2009-12-29
JP4495712B2 (ja) 2010-07-07

Similar Documents

Publication Publication Date Title
US7768010B2 (en) Poly crystalline silicon semiconductor device and method of fabricating the same
JP4420462B2 (ja) 液晶表示装置及びその製造方法
US7759178B2 (en) Thin film transistor substrate and fabrication thereof
US20090224257A1 (en) Thin film transistor panel and manufacturing method of the same
KR20080012768A (ko) 표시장치 및 그 제조 방법
US6166785A (en) Thin film transistor and fabricating method thereof having patterned active layer
US7800177B2 (en) Thin film transistor plate and method of fabricating the same
JP2007173652A (ja) 薄膜トランジスタ装置およびその製造方法、ならびに、該薄膜トランジスタ装置を備えた表示装置
US7999262B2 (en) Thin film transistor, method of fabricating the same, and method of fabricating liquid crystal display device having the same
JP4495712B2 (ja) 二層金属ラインを有する薄膜トランジスタディスプレイアレイを製造するための方法
CN100357991C (zh) 平板显示器及其制造方法
KR20040081344A (ko) 박막 트랜지스터 및 그 제조 방법
JP2005183774A (ja) 半導体装置及びその作製方法
CN111029346A (zh) 一种显示面板及其制作方法及电子设备
JP3788021B2 (ja) 薄膜トランジスタおよびその製造方法
JPH0561066A (ja) 液晶表示パネル
KR101087750B1 (ko) 두가지 타입의 박막트랜지스터를 포함하는 액정표시장치용어레이기판 및 그 제조방법
JP5671443B2 (ja) 多結晶シリコン半導体素子及びその製造方法
US8421939B2 (en) Display control substrate, manufacturing method thereof, liquid crystal display panel, electronic information device
KR20190111732A (ko) 단결정립 나노와이어 제조 방법 및 이를 적용하는 반도체 소자의 제조 방법
KR20040013537A (ko) 박막 트랜지스터 기판 및 그의 제조 방법
KR100269356B1 (ko) 박막트랜지스터제조방법
KR20070040017A (ko) 박막 트랜지스터 및 이의 제조방법
KR101706228B1 (ko) 어레이 기판의 제조방법
KR20040040241A (ko) 액정표시장치 및 그 제조방법

Legal Events

Date Code Title Description
RD04 Notification of resignation of power of attorney

Free format text: JAPANESE INTERMEDIATE CODE: A7424

Effective date: 20090212

A131 Notification of reasons for refusal

Free format text: JAPANESE INTERMEDIATE CODE: A131

Effective date: 20090825

A601 Written request for extension of time

Free format text: JAPANESE INTERMEDIATE CODE: A601

Effective date: 20091125

A602 Written permission of extension of time

Free format text: JAPANESE INTERMEDIATE CODE: A602

Effective date: 20091130

A521 Request for written amendment filed

Free format text: JAPANESE INTERMEDIATE CODE: A523

Effective date: 20091221

TRDD Decision of grant or rejection written
A01 Written decision to grant a patent or to grant a registration (utility model)

Free format text: JAPANESE INTERMEDIATE CODE: A01

Effective date: 20100323

A01 Written decision to grant a patent or to grant a registration (utility model)

Free format text: JAPANESE INTERMEDIATE CODE: A01

A61 First payment of annual fees (during grant procedure)

Free format text: JAPANESE INTERMEDIATE CODE: A61

Effective date: 20100409

R150 Certificate of patent or registration of utility model

Ref document number: 4495712

Country of ref document: JP

Free format text: JAPANESE INTERMEDIATE CODE: R150

Free format text: JAPANESE INTERMEDIATE CODE: R150

FPAY Renewal fee payment (event date is renewal date of database)

Free format text: PAYMENT UNTIL: 20130416

Year of fee payment: 3

FPAY Renewal fee payment (event date is renewal date of database)

Free format text: PAYMENT UNTIL: 20130416

Year of fee payment: 3

FPAY Renewal fee payment (event date is renewal date of database)

Free format text: PAYMENT UNTIL: 20140416

Year of fee payment: 4

R250 Receipt of annual fees

Free format text: JAPANESE INTERMEDIATE CODE: R250

R250 Receipt of annual fees

Free format text: JAPANESE INTERMEDIATE CODE: R250

R250 Receipt of annual fees

Free format text: JAPANESE INTERMEDIATE CODE: R250

R250 Receipt of annual fees

Free format text: JAPANESE INTERMEDIATE CODE: R250

R250 Receipt of annual fees

Free format text: JAPANESE INTERMEDIATE CODE: R250

R250 Receipt of annual fees

Free format text: JAPANESE INTERMEDIATE CODE: R250

LAPS Cancellation because of no payment of annual fees