JP2005299536A - 内燃機関の可変動弁装置 - Google Patents

内燃機関の可変動弁装置 Download PDF

Info

Publication number
JP2005299536A
JP2005299536A JP2004117812A JP2004117812A JP2005299536A JP 2005299536 A JP2005299536 A JP 2005299536A JP 2004117812 A JP2004117812 A JP 2004117812A JP 2004117812 A JP2004117812 A JP 2004117812A JP 2005299536 A JP2005299536 A JP 2005299536A
Authority
JP
Japan
Prior art keywords
arm
internal combustion
combustion engine
valve
intake
Prior art date
Legal status (The legal status is an assumption and is not a legal conclusion. Google has not performed a legal analysis and makes no representation as to the accuracy of the status listed.)
Granted
Application number
JP2004117812A
Other languages
English (en)
Other versions
JP4221327B2 (ja
Inventor
Shinichi Murata
真一 村田
Current Assignee (The listed assignees may be inaccurate. Google has not performed a legal analysis and makes no representation or warranty as to the accuracy of the list.)
Mitsubishi Motors Corp
Mitsubishi Fuso Truck and Bus Corp
Original Assignee
Mitsubishi Motors Corp
Mitsubishi Fuso Truck and Bus Corp
Priority date (The priority date is an assumption and is not a legal conclusion. Google has not performed a legal analysis and makes no representation as to the accuracy of the date listed.)
Filing date
Publication date
Application filed by Mitsubishi Motors Corp, Mitsubishi Fuso Truck and Bus Corp filed Critical Mitsubishi Motors Corp
Priority to JP2004117812A priority Critical patent/JP4221327B2/ja
Priority to US11/103,556 priority patent/US7314027B2/en
Priority to KR1020050030205A priority patent/KR100690468B1/ko
Priority to CNB200510067271XA priority patent/CN100552191C/zh
Priority to CN2008100839054A priority patent/CN101413411B/zh
Priority to DE102005017064A priority patent/DE102005017064B4/de
Publication of JP2005299536A publication Critical patent/JP2005299536A/ja
Application granted granted Critical
Publication of JP4221327B2 publication Critical patent/JP4221327B2/ja
Anticipated expiration legal-status Critical
Expired - Fee Related legal-status Critical Current

Links

Images

Classifications

    • FMECHANICAL ENGINEERING; LIGHTING; HEATING; WEAPONS; BLASTING
    • F01MACHINES OR ENGINES IN GENERAL; ENGINE PLANTS IN GENERAL; STEAM ENGINES
    • F01LCYCLICALLY OPERATING VALVES FOR MACHINES OR ENGINES
    • F01L13/00Modifications of valve-gear to facilitate reversing, braking, starting, changing compression ratio, or other specific operations
    • FMECHANICAL ENGINEERING; LIGHTING; HEATING; WEAPONS; BLASTING
    • F01MACHINES OR ENGINES IN GENERAL; ENGINE PLANTS IN GENERAL; STEAM ENGINES
    • F01LCYCLICALLY OPERATING VALVES FOR MACHINES OR ENGINES
    • F01L13/00Modifications of valve-gear to facilitate reversing, braking, starting, changing compression ratio, or other specific operations
    • F01L13/0015Modifications of valve-gear to facilitate reversing, braking, starting, changing compression ratio, or other specific operations for optimising engine performances by modifying valve lift according to various working parameters, e.g. rotational speed, load, torque
    • F01L13/0063Modifications of valve-gear to facilitate reversing, braking, starting, changing compression ratio, or other specific operations for optimising engine performances by modifying valve lift according to various working parameters, e.g. rotational speed, load, torque by modification of cam contact point by displacing an intermediate lever or wedge-shaped intermediate element, e.g. Tourtelot
    • FMECHANICAL ENGINEERING; LIGHTING; HEATING; WEAPONS; BLASTING
    • F01MACHINES OR ENGINES IN GENERAL; ENGINE PLANTS IN GENERAL; STEAM ENGINES
    • F01LCYCLICALLY OPERATING VALVES FOR MACHINES OR ENGINES
    • F01L1/00Valve-gear or valve arrangements, e.g. lift-valve gear
    • F01L1/02Valve drive
    • F01L1/04Valve drive by means of cams, camshafts, cam discs, eccentrics or the like
    • FMECHANICAL ENGINEERING; LIGHTING; HEATING; WEAPONS; BLASTING
    • F01MACHINES OR ENGINES IN GENERAL; ENGINE PLANTS IN GENERAL; STEAM ENGINES
    • F01LCYCLICALLY OPERATING VALVES FOR MACHINES OR ENGINES
    • F01L1/00Valve-gear or valve arrangements, e.g. lift-valve gear
    • F01L1/12Transmitting gear between valve drive and valve
    • FMECHANICAL ENGINEERING; LIGHTING; HEATING; WEAPONS; BLASTING
    • F01MACHINES OR ENGINES IN GENERAL; ENGINE PLANTS IN GENERAL; STEAM ENGINES
    • F01LCYCLICALLY OPERATING VALVES FOR MACHINES OR ENGINES
    • F01L1/00Valve-gear or valve arrangements, e.g. lift-valve gear
    • F01L1/12Transmitting gear between valve drive and valve
    • F01L1/18Rocking arms or levers
    • F01L1/181Centre pivot rocking arms
    • FMECHANICAL ENGINEERING; LIGHTING; HEATING; WEAPONS; BLASTING
    • F01MACHINES OR ENGINES IN GENERAL; ENGINE PLANTS IN GENERAL; STEAM ENGINES
    • F01LCYCLICALLY OPERATING VALVES FOR MACHINES OR ENGINES
    • F01L1/00Valve-gear or valve arrangements, e.g. lift-valve gear
    • F01L1/12Transmitting gear between valve drive and valve
    • F01L1/18Rocking arms or levers
    • F01L1/185Overhead end-pivot rocking arms
    • FMECHANICAL ENGINEERING; LIGHTING; HEATING; WEAPONS; BLASTING
    • F01MACHINES OR ENGINES IN GENERAL; ENGINE PLANTS IN GENERAL; STEAM ENGINES
    • F01LCYCLICALLY OPERATING VALVES FOR MACHINES OR ENGINES
    • F01L1/00Valve-gear or valve arrangements, e.g. lift-valve gear
    • F01L1/26Valve-gear or valve arrangements, e.g. lift-valve gear characterised by the provision of two or more valves operated simultaneously by same transmitting-gear; peculiar to machines or engines with more than two lift-valves per cylinder
    • F01L1/267Valve-gear or valve arrangements, e.g. lift-valve gear characterised by the provision of two or more valves operated simultaneously by same transmitting-gear; peculiar to machines or engines with more than two lift-valves per cylinder with means for varying the timing or the lift of the valves
    • FMECHANICAL ENGINEERING; LIGHTING; HEATING; WEAPONS; BLASTING
    • F01MACHINES OR ENGINES IN GENERAL; ENGINE PLANTS IN GENERAL; STEAM ENGINES
    • F01LCYCLICALLY OPERATING VALVES FOR MACHINES OR ENGINES
    • F01L1/00Valve-gear or valve arrangements, e.g. lift-valve gear
    • F01L1/02Valve drive
    • F01L1/04Valve drive by means of cams, camshafts, cam discs, eccentrics or the like
    • F01L1/047Camshafts
    • F01L1/053Camshafts overhead type
    • F01L2001/0535Single overhead camshafts [SOHC]
    • FMECHANICAL ENGINEERING; LIGHTING; HEATING; WEAPONS; BLASTING
    • F01MACHINES OR ENGINES IN GENERAL; ENGINE PLANTS IN GENERAL; STEAM ENGINES
    • F01LCYCLICALLY OPERATING VALVES FOR MACHINES OR ENGINES
    • F01L13/00Modifications of valve-gear to facilitate reversing, braking, starting, changing compression ratio, or other specific operations
    • F01L13/0015Modifications of valve-gear to facilitate reversing, braking, starting, changing compression ratio, or other specific operations for optimising engine performances by modifying valve lift according to various working parameters, e.g. rotational speed, load, torque
    • F01L13/0063Modifications of valve-gear to facilitate reversing, braking, starting, changing compression ratio, or other specific operations for optimising engine performances by modifying valve lift according to various working parameters, e.g. rotational speed, load, torque by modification of cam contact point by displacing an intermediate lever or wedge-shaped intermediate element, e.g. Tourtelot
    • F01L2013/0068Modifications of valve-gear to facilitate reversing, braking, starting, changing compression ratio, or other specific operations for optimising engine performances by modifying valve lift according to various working parameters, e.g. rotational speed, load, torque by modification of cam contact point by displacing an intermediate lever or wedge-shaped intermediate element, e.g. Tourtelot with an oscillating cam acting on the valve of the "BMW-Valvetronic" type
    • FMECHANICAL ENGINEERING; LIGHTING; HEATING; WEAPONS; BLASTING
    • F01MACHINES OR ENGINES IN GENERAL; ENGINE PLANTS IN GENERAL; STEAM ENGINES
    • F01LCYCLICALLY OPERATING VALVES FOR MACHINES OR ENGINES
    • F01L2303/00Manufacturing of components used in valve arrangements
    • F01L2303/01Tools for producing, mounting or adjusting, e.g. some part of the distribution
    • FMECHANICAL ENGINEERING; LIGHTING; HEATING; WEAPONS; BLASTING
    • F01MACHINES OR ENGINES IN GENERAL; ENGINE PLANTS IN GENERAL; STEAM ENGINES
    • F01LCYCLICALLY OPERATING VALVES FOR MACHINES OR ENGINES
    • F01L2305/00Valve arrangements comprising rollers

Landscapes

  • Engineering & Computer Science (AREA)
  • Mechanical Engineering (AREA)
  • General Engineering & Computer Science (AREA)
  • Valve Device For Special Equipments (AREA)

Abstract

【課題】本発明は、気筒毎における可変動弁装置の各部品の組付誤差を比較的簡単な構成により調整可能とした内燃機関の可変動弁装置を提供する。
【解決手段】本発明の可変動弁装置は、複数の気筒を有する内燃機関に回転自在に設けられたカムシャフト10、同カムシャフト10によって駆動され吸気バルブ5を開閉する動力伝達部材とを有し、動力伝達部材45の吸気バルブ又は排気バルブ側を駆動する駆動範囲を変化させることにより、吸気バルブ5のリフト量を変化させる可変動弁装置20で、内燃機関の非作動時に、動力伝達部材45の吸気又は排気バルブ側を駆動する駆動位置を調整可能な調整機構62を設けた。
【選択図】 図1

Description

本発明は、吸気あるいは排気バルブの駆動位相を可変可能とした内燃機関の可変動弁装置に関する。
自動車に搭載されるエンジン(内燃機関)の多くは、エンジンの排出ガス対策や燃費低減などの理由から、可変動弁装置を搭載して、自動車の運転状態に応じ、吸・排気バルブの位相(開閉タイミング)を変化させることが行われている。
このような可変動弁装置には、カムシャフトに形成されているカムの位相を、一旦、ベース円区間とリフト区間とが連なる往復式のカムに置き換える往復カム式構造がある。同構造の多くは、往復式カムに置き換えたベース円区間とリフト区間との比率を可変させるロッカアーム機構を採用して、同比率を自動車の運転状態に応じて変化させる構造が用いられている(例えば特許文献1を参照)。
特許第3245492号公報
特許文献1に示される可変動弁装置は、可変動弁装置の各部分をそれぞれ順番にシリンダヘッドの各部に組付ける構造が用いられている。
ところで、可変動弁装置の各部品をシリンダヘッドの各部に組付ける際等に各部品の組付誤差が発生した場合は、リフト量や開弁期間の差が発生し、気筒毎に燃焼状態の差が生じて振動の発生や燃費の悪化の原因となるおそれがある。
しかしながら、特許文献1に示される可変動弁装置では、気筒間の組付誤差の調整をすることが困難であるといった問題があった。
そこで、本発明の目的は、気筒毎における可変動弁装置の各部品の組付誤差を比較的簡単な構成により調整可能とすることにある。
請求項1に記載の発明は、上記目的を達成するために、複数の気筒を有する内燃機関に回転自在に設けられたカムシャフトによって駆動され、吸気バルブ又は排気バルブを開閉する動力伝達部材を有し、動力伝達部材の吸気バルブ又は排気バルブ側を駆動する駆動範囲を変化させることにより、吸気バルブ又は排気バルブのリフト量を変化させる内燃機関の可変動弁装置において、内燃機関の非作動時に、動力伝達部材の吸気又は排気バルブ側を駆動する駆動位置を調整可能な調整機構を設けた。
請求項2に記載の発明は、調整機構がカムシャフトの回転に連動しない部位に設けられるようにした。
請求項3に記載の発明は、動力伝達部材が、内燃機関に設けられたロッカシャフトに揺動自在に支持され吸気又は排気バルブを開閉可能な第1アームを駆動し、調整機構が、動力伝達部材の第1アームに対する駆動位置を調整可能とした。
請求項4に記載の発明は、調整機構がロッカシャフトに設けられる構成とした。
請求項5に記載の発明は、動力伝達部材が、カムシャフトに形成されたカムと当接して該カムにより駆動されロッカシャフト側を支点として揺動する第2アームと、ロッカシャフトの近傍に配置された支持軸に揺動自在に設けられ、第2アームの変位を受け第2アームの支点移動がもたらす該第2アームの姿勢変化にしたがいカムの位相を可変させて第1アームを駆動する第3アームとを有した構成とし、調整機構が、第3アームの第1アームに対する駆動位置を内燃機関の非作動時に調整可能とした。
請求項6に記載の発明は、ロッカシャフトに先端部が突き出るように支持され、該先端部が第2アームのロッカシャフト側の支持部に可動自在に支持された中継部材を有し、ロッカシャフトの回転変位に伴う中継部材の姿勢変化により、第2ロッカアームの支点が変位する構成とした。
請求項7に記載の発明は、調整機構が中継部材のロッカシャフトから突き出る先端部の突出量を調整する構成とした。
請求項8に記載の発明は、複数の気筒を有する内燃機関に回転自在に設けられたカムシャフトによって駆動され、吸気バルブ又は排気バルブを開閉する動力伝達部材を有し、動力伝達部材の吸気バルブ又は排気バルブ側を駆動する駆動範囲を変化させることにより、吸気バルブ又は排気バルブのリフト量を変化させる内燃機関の可変動弁装置において、ロッカシャフトに揺動自在に支持され吸気又は排気バルブを駆動可能な第1アームを備え、動力伝達部材は、カムシャフトに形成されたカムと当接して該カムにより駆動されロッカシャフト側を支点として揺動する第2アームと、ロッカシャフトの近傍に配置された支持軸に揺動自在に設けられ第2アームの変位を受け第2アームの支点移動がもたらす該第2アームの姿勢変化にしたがいカムの位相を可変させて第1アームを駆動する第3アームとを有し、内燃機関の非作動時に、第3アームの第1アームに対する駆動位置を調整可能な調整機構を第3アームに設ける構成とした。
請求項9に記載の発明は、複数の気筒を有する内燃機関に回転自在に設けられたカムシャフトによって駆動され、吸気バルブ又は排気バルブを開閉する動力伝達部材を有し、動力伝達部材の吸気バルブ又は排気バルブ側を駆動する駆動範囲を変化させることにより、吸気バルブ又は排気バルブのリフト量を変化させる内燃機関の可変動弁装置において、ロッカシャフトに揺動自在に支持され吸気又は排気バルブを駆動可能な第1アームを備え、動力伝達部材は、カムシャフトに形成されたカムと当接して該カムにより駆動されロッカシャフト側を支点として揺動する第2アームと、ロッカシャフトの近傍に配置された支持軸に揺動自在に設けられ第2アームの変位を受け第2アームの支点移動がもたらす該第2アームの姿勢変化にしたがいカムの位相を可変させて第1アームを駆動する第3アームとを有し、第2アームは第3アームを駆動する駆動面を有し、第3アームは該第3アームの揺動方向に回動自在に支持されかつ外周部に駆動面と面接触する被駆動面が形成された軸部材を有し、軸部材を被駆動面が異なる別個の軸部材に取り換えることにより、第2アームに対する第3アームの相対位置を変化させ、第3アームの第1アームに対する駆動位置を調整可能とした。
請求項10に記載の発明は、複数の気筒を有する内燃機関に回転自在に設けられたカムシャフトによって駆動され、吸気バルブ又は排気バルブを開閉する動力伝達部材を有し、動力伝達部材の吸気バルブ又は排気バルブ側を駆動する駆動範囲を変化させることにより、吸気バルブ又は排気バルブのリフト量を変化させる内燃機関の可変動弁装置において、内燃機関の非作動時に、各気筒の吸気バルブ又は排気バルブの開閉期間を調整可能な調整機構を備えた構成とした。
請求項1、請求項10に記載の発明によれば、調整機構を設けたから、気筒毎における可変動弁装置の各部品の組付誤差やばらつきを比較的簡単な構成により調整可能とすることができる。
それ故、可変動弁装置の組付け後などに、気筒間の組付誤差やばらつきを調整することができ、気筒間の燃焼を均一にして燃費を向上させることができる。
請求項2に記載の発明によれば、調整機構の設置に際し、単に調整機構を設けるとその部位の重量が増加するものの、該調整機構がカムシャフトの回転に連動しない部位に設けられることにより、弁作動時の慣性重量を抑制することができ、エンジン性能を向上させることができる。
請求項3に記載の発明によれば、調整機構が第1アームに対する駆動位置を調整可能としたから、比較的簡単に気筒間での組付誤差の調整ができる。
請求項4に記載の発明によれば、スペースを有効に活用することができ、装置の大型化が抑制できる。
請求項5に記載の発明によれば、調整機構は第3アームの第1アームに対する駆動位置を直接的に調整可能としたから、比較的簡単に気筒間での組付誤差の調整ができる。
請求項6に記載の発明によれば、比較的簡単な構成で、バルブ開弁時期の調整を行うことができる。
請求項7に記載の発明によれば、中継部材の突出量の加減がもたらす第1アームから第3アームの姿勢変化により、バルブ開弁時期の調整ができ、容易に複数気筒における気筒間のばらつきを正すことができる。
請求項8に記載の発明によれば、調整機構が第3アームに設けられる構成なので、内燃機関の上方から容易に調整機構にアクセスすることができ、調整を容易に行うことができる。
請求項9に記載の発明によれば、調整機構の重量増加を抑制しながら、容易に複数気筒における気筒間のばらつきを正すことができる。
[第1の実施形態]
以下、本発明を図1〜図9に示す第1の実施形態にもとづいて説明する。
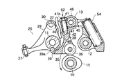
図1は、内燃機関、例えば複数気筒が直列に並ぶレシプロ式ガソリンエンジンのシリンダヘッド1の断面図を示している。このシリンダヘッド1の下面には、気筒の配列にならって燃焼室2が長手方向に沿って形成されている。これら燃焼室2毎に、例えば2個づつ(一対)、吸気ポート3および排気ポート4(片側しか図示せず)が設けてある。さらにシリンダヘッド1の上部には、吸気ポート3を開閉する吸気バルブ5(往復バルブで構成される)、排気ポート4を開閉する排気バルブ6(往復バルブで構成される)がそれそれ組付けられている。なお、複数の吸気バルブ5、複数の排気バルブ6には、いずれもバルブスプリング7で閉方向に付勢される常閉式が用いてある。またシリンダヘッド1の上部には、複数の吸気バルブ5、複数の排気バルブ6を駆動させる動弁系、例えばSOHC式の動弁系8が搭載されている。
この動弁系8について説明すると、10は、燃焼室2の頭上にシリンダヘッド1の長手方向に回転自在に配設されたカムシャフト、11は、このカムシャフト10を挟む上部片側(シリンダヘッド幅方向片側)で上記カムシャフト10とほぼ平行に配置されて支持された回動可能な吸気側のロッカシャフト、12は、その反対側に上記カムシャフト10とほぼ平行に配設(固定)された排気側のロッカシャフト、13は、ロッカシャフト10の近傍、例えばロッカシャフト11とロッカシャフト12間の上側の地点に、上記カムシャフト10とほぼ平行に配設(固定)された支持シャフト(本願の支持軸に相当)を示す。カムシャフト10は、エンジンのクランク出力により、図1中の矢印方向に沿って回転駆動される部品である。このカムシャフト10には、燃焼室2毎、吸気用カム15(1つ)と排気用カム16(2つ)が形成されている。具体的には、吸気用カム15は燃焼室2の頭上中央となるシャフト部分に形成され、排気用カム16はその吸気用カム15を挟む両側の部分にそれぞれ形成してある(図2に図示)。
このうち排気側のロッカシャフト12には、排気用カム16毎(排気バルブ6毎)に、排気バルブ6駆動用のロッカアーム18(図1;片側しか図示せず)がそれぞれ回動自在に設けられている。また吸気側のロッカシャフト11には、吸気用カム15毎に、複数(一対)の吸気バルブ5を一緒に駆動するロッカアーム機構19が設けられていて、カムシャフト10の回転により、所定の燃焼サイクル(例えば吸気行程、圧縮行程、爆発行程、排気行程の4サイクル)にしたがい、吸気バルブ5、排気バルブ6を開閉させるようにしてある。
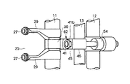
この吸気側のロッカアーム機構19に、可変動弁装置20が採用されている。図2にはこの可変動弁装置20を構成するロッカアーム機構19の平面図が示され、図3には同ロカアーム機構19を分解した斜視図が示されている。
同可変動弁装置20を説明すると、同装置20を構成するロッカアーム機構19には、図1〜図3に示されるようにロッカシャフト11に揺動自在に支持されるロッカアーム25(第1アームに相当)と、吸気用カム15で駆動されるセンタロッカアーム35(第2アームに相当)と、支持シャフト13に揺動自在に支持されるスイングカム45(第3アームに相当)とを組み合わせた構造が用いられている。
このうちロッカアーム25には、例えば図3に示されるような複数(一対)の吸気バルブ5へ変位を伝える部分を二股形状にした構造が採用されている。例えばロッカアーム25は、中央に筒状のロッカシャフト支持用ボス26を有し、そのボス26を挟んだ一端側に、吸気バルブ5の駆動をなす駆動部分、例えばアジャストスクリュ部27をもつ一対のロッカアーム片29を並行に配置し、これらロッカアーム片29の他端部間に、当接子となるローラ部材30を回転自在に挟み込んだ構造が用いられている。なお、32はローラ部材30を回転自在に枢支するための短シャフトを示す。そして、組み上げられたロッカアーム25の各ロッカシャフト支持用ボス26がロッカシャフト11に揺動自在に嵌挿され、ローラ部材30をシリンダヘッド1の中央側に向け、残るアジャストスクリュ部27をそれぞれシリンダヘッド1の上部から突き出ている吸気バルブ5の上部端(バルブステム端)に配置させてある。
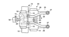
またセンタロッカアーム35には、図1および図3に示されるように吸気用カム15のカム面と転接する転接子、例えばカムフォロア36と、同カムフォロア36を回転自在に支持する枠形のホルダ部37とをもつ、ほぼL形部材が用いられている。具体的には、センタロッカアーム35は、カムフォロア36を中心として、ホルダ部37から上方、具体的にはロッカシャフト11と支持シャフト13間へ向かって柱状に延びる中継用アーム部38と、ホルダ部37の側部から、一対のロッカアーム片29間から露出するロッカシャフト部分11a(図5〜図8に図示)の下側へ延びる平板状の支点用アーム部39とを有して、L形に形成してある。そして、中継用アーム部38の先端(上端面)には、スイングカム45へ変位を伝える中継面として、例えばロッカシャフト11側が低く、支持シャフト13側が高くなるよう傾斜させた傾斜面40(本願の駆動面に相当)が形成してある。残る支点用アーム部39の先端部は、ロッカシャフト部分11aに支持されている。この支持には、図1、図3、図4〜図8に示されるようにロッカシャフト部分11aに、支点用アーム部39と組み合うピン部材41(本願の中継部材に相当)を直径方向(径方向)に組付けた構造が用いられている。すなわち、ピン部材41には、下端部に球面状部41aが形成され、外周面におねじ部41cが形成された部品が用いられている。このピン部材41は、ロッカシャフト部分11aの上側に形成された据付座11b(例えば切欠部よりなる)から下側(径方向)へ貫通するよう、支点用アーム部39の先端部に向って進退可能に螺挿、さらには据付座11b上から突き出た端部をロック用ナット41bで締め付けることによって、ロッカシャフト部分11aに固定してある。なお、図示はしないがロッカシャフト部分41cのピン部材41が貫通する通孔はねじ孔で形成されている。そして、ロッカシャフト部分11bの下端部から突き出たピン端部が支点用アーム部39に支持させてある。具体的には、支点用アーム部39の先端部上面には、ロッカシャフト部分11aから突き出た球面状部41aと回動(可動)可能に嵌まり合う半球面状の受け部42が形成されていて、同支持によりカムフォロア36が吸気用カム15で駆動されると、センタロッカアーム35が、ロッカシャフト11側を支点、すなわち球面状部41aと受け部42とが嵌まり合うピボット部を支点に、上下方向へ揺動するようにしてある。
またロッカシャフト11の端部には、制御アクチュエータとして、例えば制御用モータ43(図3のみ図示)が接続されていて、制御用モータ43の作動により、ロッカシャフト11を所望に回動変位、例えば図5および図6に示されるピン部材41が略垂直方向に配置された姿勢から、図7および図8に示されるカムシャフト回転方向に傾いた姿勢までの範囲で回動変位できるようにしている。つまり、制御モータ43、ピボット支持構造で構成される支点移動機構44により、センタロッカアーム35のロッカシャフト11側の支点を、同シャフト11の軸方向と交差する方向に移動(変位)できるようにしている。そして、この移動がもたらすセンタロッカアーム35の位置ずれを利用して、図5〜図8に示されるようにカムフォロア36の吸気用カム15に対する転接位置(当接位置)が可変、すなわち吸気用カム15の回転方向前後へ変位できるようにしている。
一方、スイングカム45は、図1〜図3に示されるように支持シャフト13に回動自在に嵌挿される筒状のボス部46と、同ボス部46からローラ部材30(ロッカアーム25)へ向って延びるアーム部47と、同アーム部47の下部に形成した変位受け部48とを有して形成されている。このうちアーム部47の先端には、ロッカアーム25へ変位を伝える伝達面部として、例えば上下方向に延びるカム面49が形成されている。このカム面49がロッカアーム25のローラ部材30の外周面に転接させてある。また変位受け部48には、例えば図3に示されるようにアーム部47の下部のうち、カムシャフト10の直上となる下面部分に凹陥部51を形成し、同凹陥部51内に、シャフト10,11と同じ向きで、短シャフト52(本願の軸部材に相当)を回転自在に収めた構造が用いられている。つまり、短シャフト52は、スイングカム45の揺動方向に回動自在に支持させてある。また凹陥部51の開放部から露出する短シャフト52の下部外周部には、凹部53が形成されている。そして、同凹部53内に中継用アーム部38(センタロッカアーム35)の先端部が摺動自在に差し込まれている。この凹部53の底面には、平面状の受け面53a(本願の被駆動面に相当)が形成されていて、同受け面53aが傾斜面40と面接触して、該傾斜面40をスライド可能に受け止めている。
これにより、スイングカム45は、センタロッカアーム35の揺動変位を受けると、支持シャフト13が支点とし、凹部53をセンタロッカアーム35からの荷重が作用する作用点とし、カム面49がロッカアーム25を駆動させる力点として、周期的に揺動する構造にしてあると同時に、カムフォロア36が吸気用カム15の所定位置から進角方向や遅角方向へ変位(センタロッカアーム35が吸気用カム15の移動方向前後へ変位)すると、該変位に伴うスイングアーム45の姿勢の変化から、吸気用カム15の位相が進角方向(あるいは遅角方向)へずれるようにしてある。
またカム面49には、例えば支持シャフト13の中心からの距離が変化する曲面(本願の変換部)が用いられている。これには、例えば図1中に示されるようにカム面49の上部側をベース円区間α、すなわち図1中に示されるように支持シャフト13の軸心を中心とした円弧面で形成された区間とし、下部側をリフト区間β、すなわち上記円弧に連続した反対向きの円弧面及びさらに反対向きの円弧面、例えば吸気用カム15のリフト域のカム形状と同じような円弧面で形成された区間とした曲面が用いられている。このカム面49により、カムフォロア36が吸気用カム14の所定位置から進角方向へ変位(センタロッカアーム35の支点位置が変位)すると、ローラ部材30が接するカム面49の領域が変化、詳しくはローラ部材30が行き交うベース円区間αとリフト区間βの比率が変化するようにしてある。この進角方向の位相変化を伴いながら行われる区間α,βの比率の変化により、吸気バルブ5の開閉タイミングが開弁時期よりも閉弁時期を大きく可変されたり、同時に吸気バルブ5のバルブリフト量が連続的に可変されたりしている。
またピン部材41の上端部には、回動操作を受ける受け部として例えばプラス形の溝部60が形成されている。そして、このピン部材41の溝部60と、先に述べたピン部材41の螺挿構造と、先に述べたピン部材41をロックするナット41bとの組み合わせから、吸気バルブ5の開弁時期を気筒毎に調整可能とした機構、すなわち調整機構62を構成している。さらに述べれば、同調整機構62は、エンジンの非作動時に、図4に示されるようにピン部材41を作業の邪魔とならない向きに位置決めた姿勢から、例えばナット工具63でナット41bのアンロック・ロック操作を行い、例えばドライバー案内治具64およびプラス形のドライバー65を併用してピン部材41の回転操作を行うことにより、ピン部材41の先端の突出量が可変されるようにしてある。つまり、突出量の可変がもたらす、センタロッカアーム35の位置(姿勢)、スイングカム45の位置(姿勢)の変更により、吸気バルブ5へ伝わる開弁時期が調整される構造にしている。
なお、図1中、54はロッカアーム18、センタロッカアーム35およびスイングアーム45の相互間を密接する方向に付勢するためのプッシャ、55は燃焼室2内の混合気を点火する点火プラグを示す。
つぎに、このように構成された可変動弁装置20の作用を説明する。
まず、吸気バルブ5の開閉に伴うロッカアーム機構19の動きについて説明すれば、今、カムシャフト10が回転(矢印方向)しているとする。
このとき、センタロッカアーム35のカムフォロア36は、ロッカアーム片29間に配置されている吸気用カム15を受けていて、同カム15のカムプロフィールにならい駆動される。すると、センタロッカアーム35は、ロッカシャフト11側のピボット部を支点として上下方向へ揺動される。この揺動変位が、センタロッカアーム35の直上にあるスイングカム45へ伝わる。
ここで、スイングカム45は、一端部が支持シャフト13で揺動自在に支持され、他端部がロッカアーム25のローラ部材30に転接されている。この状態から、下部に有る回転自在な短シャフト52に形成した受け面53aで、中継用アーム部38先端の傾斜面40を受けている。これにより、スイングカム45は、傾斜面40をすべりながら、該傾斜面40で押し上げられたり下降したりするといった挙動を繰り返す。このスイングカム45の揺動により、カム面49は上下方向へ駆動される。
このとき、カム面49には、ローラ部材30が転接しているから、カム面49でローラ部材30を周期的に押圧する。この押圧を受けてロッカアーム25は、ロッカシャフト11を支点に駆動(揺動)され、複数(一対)の吸気バルブ5を一度に開閉させる。
こうした運転中、制御モータ43の作動により、ロッカシャフト11を回動させ、例えば最大バルブリフト量が確保される地点に、センタロッカアーム35の支点位置を移動させる。すると、支点位置の変位から、センタロッカアーム35のカムフォロア36は、吸気用カム15上を変位して、スイングカム45のカム面49を垂直に近い角度(ベース円区間αにあるとき)となる姿勢に位置決められる。
これにより、カム面49は、ローラ部材30が行き交う領域(比率)が、最大のバルブリフト量をもたらす領域、すなわち図5に示される最も短いベース円区間αと図6に示される最も長いリフト区間βに設定される。すると、吸気バルブ5は、狭いベース円区間αと最も長いリフト区間βとがなすカム面部分で駆動されるロッカアーム25にしたがい、図9中のA1の線図に示されるような最大バルブリフト量、さらには所望とする開閉タイミングで開閉される。
この状態から、吸気用カム15の位相を可変するときは、図7および図8に示されるように制御モータ43の作動により、ロッカシャフト11を最大バルブリフト量が確保される位置(図5および図6中のピン部材41位置)から、時計方向へ回動させる。これにより、センタロッカアーム35のピボット部(支点位置)は、カムシャフト10側へずれる。
ここで、センタロッカアーム35は、スイングアーム45へ変位を伝える部分が、中継用アーム部38の傾斜面40と同傾斜面40と面接触する短シャフト52の受け面53aとにより形成され、吸気用カム15を受ける部分が吸気用カム15と転接するカムフォロア36で形成されているから、上記変位(ずれ)を受けると、センタロッカアーム35の全体は、カムフォロア36の転接位置が吸気用カム15の進角方向へ進むように変位(ずれ)する。この転接位置の変化により、可変しようとするカム位相の開弁時期が、ピボット部(支点位置)の可変量に応じて早まる。
また傾斜面40も、支点の移動を受けて、当初の位置から受け面53a上を進角方向へ変位(スライド)する。これにより、スイングカム45は、図7および図8に示されるようにカム面49が下側へ傾く姿勢に変わる。この傾きが大きくなるにしたがい、ローラ部材30が行き交うカム面49の領域は、ベース円区間αが次第に長く、リフト区間βが次第に短くなる比率の領域に変わる。そして、この可変したカム面49のカムプロフィールがローラ部材30へ伝達され、ロッカアーム25を、開弁時期を早めながら揺動駆動する。これにより、吸気バルブ5の開閉タイミングは、センタロッカアーム35の支点位置の移動にしたがい、図9中に示されるように最大バルブリフト量A1から、ピン部材41が傾くことで得られる最小バルブリフト量A7まで、最大バルブリフト時とほぼ同じ開弁時期から開弁するタイミングを保ちながら、連続的に可変制御される。なお、図7および図8は、この可変制御のうち、最小バルブリフト量A7にしたときの状態を示している。
これにより、ロッカアーム25、センタロッカアーム35およびスイングカム45を組み合わせた単一のロッカアーム機構19だけで、閉弁時期を大きく変化させるカム位相の可変ができる。特に支点移動機構44は、回動可能なロッカシャフト11にピン部材41を設け、同ピン部材41の端部をセンタロッカアーム35の支点部に支持する構造なので、部品点数、さらには占有面積が抑えられた簡素なコンパクトな機構ですむ。このため、可変動弁装置20のコンパクト化が図れる利点も併せもつ。
しかも、スイングカム45は、支持シャフト13からカム面49までの距離を変化させて、ロッカアーム25へ伝わるカム位相をバルブリフト量と共に連続的に可変させる構造が用いてあるので、開弁時期よりも閉弁時期を大きく変化させて連続的に吸気バルブ5の開閉タイミングおよびバルブのリフト量の可変を同時に行うことができる。こうした閉弁時期を可変するタイミングでのバルブリフト量、開閉タイミングの連続的な可変は、ロスを抑えながら吸入空気を気筒内へ吸入させることができ、特にポンピングロスの低減に優れた効果を発揮する。
そのうえ、調整機構62により、シリンダヘッド1に可変動弁装置20を組付けたままの状態から、気筒毎の開弁時期のばらつきが容易に調整できる。すなわち、開弁時期のばらつきを調整するときは、エンジンの非作動時において、まず、作業の邪魔とならないよう、ロッカシャフト11を回動操作して、例えば図4に示されるようにピン部材41を、頭部(ナット41bがある端部)がロッカアーム片29,29間に臨む姿勢、例えば45°程度傾いた姿勢に位置決める。ついで、ナット工具63の先端を、ロッカアーム片29,29間から、ピン部材41の頭部にあるナット41bに嵌め、同ナット工具63の回動操作により、ナット41bを弛める。この後、ナット工具63に代えて、同様にドライバー治具64の先端を、ロッカアーム片29,29間から、ナット41bから突き出ているピン部材41の端部に嵌め、図4中の二点鎖線に示されるようにドライバー治具64の後端からピン部材41の端部までの間にドライバー65を挿入するための案内路66を形成する。ついで、この案内路66を通じて、ドライバー65の先端側を挿入し、先端のプラス形(図示しない)をピン部材41端に形成されているプラス形の溝部60へ差込み、ドライバー65を回動操作して、ピン部材41の突出量を加減すれば、センタロッカアーム35の位置(姿勢)、スイングカム45の位置(姿勢)が変更されて、スイングカム45のロッカアーム25を駆動する駆動位置が調整される。これにより、各アームの揺動範囲が調整され、気筒毎に独立して吸気バルブ5の開弁時期の調整が行える。
それ故、駆動位置を調整するといった比較的簡単な構成の調整機構62により、可変動動弁装置20の組付け後、容易に、気筒毎における可変動弁装置20の各部品の組付誤差や複数気筒間の開閉期間のばらつきの調整ができる。この調整により、気筒間の燃焼が均一にでき、燃費の向上や気筒間の燃焼状態の差がもたらす振動等の発生を減少させることができる。しかも、調整機構62は、ロッカアーム25に対する駆動位置を調整可能としたから、調整は簡単な構成ですむ。特に調整機構52には、スイングカム45のロッカアーム25に対する駆動位置を直接的に調整する構成が用いてあるので、比較的簡単に調整ができる。そのうえ、調整機構52には、ロッカシャフト11にピン部材41を組付けてバルブ開弁時期の可変を行う構造のうち、ピン部材41の突出量を加減する構造が用いてあるから、バルブタイミングを可変調整するときのセンタロッカアーム45、スイングカム45の姿勢変化をそのまま用いて、バルブ開弁時期の調整ができ、容易に気筒間におけるばらつきを正すことができる。特に調整機構62は、カムシャフト10の回転に連動しない部位に設けてあるので、弁作動時の慣性重量は特性され、良好なエンジン性能をもたらす。本実施形態のように調整機構62をロッカシャフト11に設けるようにすると、可変動弁装置20のスペースを有効に活用して、調整機構62が設置でき、可変動弁装置20の大型化が抑制されるという利点もたらす。
なお、本実施形態において、位相可変装置を併用しても、位相可変量は小さくてすむため、可変する応答性が生じず、十分な燃費の改善が図れる利点がある。
[第2の実施形態]
図10および図11は、本発明の第2の実施形態の要部を示す。
本実施形態は、第1の実施形態のように調整機構62を非可動部(カムシャフトの回転に連動しない部位)に設けたのではなく、調整機構62を、可動部、具体的にはスイングカム45(第3アームに相当)に設けたものである。
具体的には、調整機構62として、センタロッカアーム35には、支点用アーム39の先端部をロッカアーム11の外周部下部に係止させて、該係止部39aを支点に上下方向にセンタロッカアーム全体が上下方向に揺動できるようにした構造を用い、またスイングカム45のうち、スイングカム45の揺動支点とカム面49の間のアーム部分47には、ロック用のナット41bが付いたピン部材41を、上側から貫通するよう進退可能に螺挿して、スイングカム45の下部から突き出た先端の球面状部41を、センタロッカアーム35の中継用アーム部38の端部に形成した半球面状の受け部42に嵌まり合わせた構造が用いられている。これにより、先に説明した第1の実施形態と同様、エンジンの非作動時に、例えばナット工具やプラス方のドライバー(いずれも図示しない)を併用して、ピン部材41の先端の突出量を加減することにより、バルブ開弁時期の調整が行えるようにしている。
このようにしても第1の実施形態と同様の効果を奏する。特にこのようにスイングカム45に調整機構62を設けると、エンジンの上方から容易に調整機構62へアクセスできるので、他の部品との干渉等が生じることなく、容易に組付誤差や気筒間のばらつきを調整することができる利点を有する。
[第3の実施形態]
図12および図13は、本発明の第3の実施形態の要部を示す。
本実施形態は、調整機構62として、第1、2の実施形態のようなピン部材を用いた構造ではなく、センタロッカアーム35(第2アーム)とスイングカム45(第3アーム)との間に介在する短シャフト52(軸部材)を用い、同短シャフト52を形状(高さ)が異なる多数種(1種類だけ図示)、用意しておき、調整時に適切な短シャフト52に適宜組み替えるようにしたものである。
具体的には、調整機構62は、例えば図12および図13に示されるようにスイングカム45の下部に形成されている挿通孔51aに挿脱可能に収められる短シャフト52を、受け面53a(被駆動面)の高さ寸法Hが異なる凹部53をもつ複数の種類、用意しておき(1種類だけ図示)、短シャフトを組み換えることで、センタロッカアーム35の傾斜面40(駆動面)との接触具合から、センタロッカアーム35に対するスイングカム45の相対位置を変化させて、スイングカム45のロッカアーム(図示しない)に対する駆動位置を調整する構造が用いてある。
このようにしても第1の実施形態と同様の効果を奏する。特にこのように調整機構62は、ピン部材52を取り換える構造なので、新たな部品が必要にならないため、部品点数の低減および重量の低減を図ることができる。
但し、第2および第3の実施形態において、第1の実施形態と同じ部分には同一符号を附してその説明を省略した。
なお、本発明は上述した実施形態に限定されるものではなく、本発明の主旨を逸脱しない範囲内で種々変更して実施しても構わない。例えば上述した実施形態では、調整機構として、ピン部材をロッカシャフトやスイングカムに貫通させて組付ける構造を用いたり、短シャフトを組み換える構造を用いたが、これに限らず、他の構造でもよい。また調整機構も、螺挿構造、ナット構造、ドライバー操作構造を組み合わせた構造を用いているが、これに限らず、他の構造でもよい。また一実施形態では、本発明を吸気バルブのロッカアーム機構に適用した例を挙げたが、これに限らず、排気バルブのロッカアーム機構に適用してもよい。また上述の実施形態では、SOHC式動弁系(1本のカムシャフトで吸気バルブと排気バルブを駆動する構造)のエンジンに本発明を適用したが、これに限らず、DOHC式動弁系(カムシャフトが吸気側と排気側とに専用にある構造)のエンジンに本発明を適用してもよい。
本発明の第1の実施形態に係る可変動弁装置を、同装置を搭載したシリンダヘッドと共に示す断面図。 同可変動弁装置の平面図。 同可変動弁装置の分解斜視図。 同可変動弁装置を調整するときを説明する断面図。 同可変動弁装置の最大バルブリフト制御時におけるカム面のベース円区間にロッカアームの当接部があるときの状態を示す断面図。 同じくカム面のリフト区間にロッカアームの当接部があるときの状態を示す断面図。 同可変動弁装置の最小バルブリフト制御時におけるカム面のリフト区間にロッカアームの当接部があるときの状態を示す断面図。 同じくカム面のリフト区間にロッカアームの当接部があるときの状態を示す断面図。 同可変動弁装置の性能を示す線図。 本発明の第2の実施形態に係る可変動弁装置の要部を示す平面図。 同可変動弁装置の断面図。 本発明の第3の実施形態に係る可変動弁装置の要部を示す断面図。 図12中のA−A線に沿う断面図。
符号の説明
5…吸気バルブ、6…排気バルブ、10…カムシャフト、11…吸気側のロッカシャフト、13…支持シャフト(支持軸)、19…ロッカアーム機構、20…可変動弁装置、25…ロッカアーム(第1アーム)、30…ローラ部材、35…センタロッカアーム(第2アーム)、40…傾斜面(駆動面)、41…ピン部材(中継部材)、41a…球面状部、41b…ナット、41c…おねじ部、42…半球面状の受け部、45…スイングカム(第3アーム)、49…カム面(伝達面部)、52…短シャフト(軸部材)、53a…受け面(非駆動面)、62…調整機構、α,β…ベース円区間,リフト区間。

Claims (10)

  1. 複数の気筒を有する内燃機関に回転自在に設けられたカムシャフトによって駆動され、吸気バルブ又は排気バルブを開閉する動力伝達部材を有し、前記動力伝達部材の前記吸気バルブ又は排気バルブ側を駆動する駆動範囲を変化させることにより、前記吸気バルブ又は排気バルブのリフト量を変化させる内燃機関の可変動弁装置において、
    前記内燃機関の非作動時に、前記動力伝達部材の前記吸気又は排気バルブ側を駆動する駆動位置を調整可能な調整機構を設けたことを特徴とする内燃機関の可変動弁装置。
  2. 前記調整機構は、前記カムシャフトの回転に連動しない部位に設けられることを特徴とする請求項1に記載の内燃機関の可変動弁装置。
  3. 前記動力伝達部材は、前記内燃機関に設けられたロッカシャフトに揺動自在に支持され前記吸気又は排気バルブを開閉可能な第1アームを駆動し、前記調整機構は、前記動力伝達部材の前記第1アームに対する駆動位置を調整可能とされたことを特徴とする請求項1又は請求項2のいずれかに記載の内燃機関の可変動弁装置。
  4. 前記調整機構は、前記ロッカシャフトに設けられることを特徴とする請求項3に記載の内燃機関の可変動弁装置。
  5. 前記動力伝達部材は、
    前記カムシャフトに形成されたカムと当接して該カムにより駆動され、前記ロッカシャフト側を支点として揺動する第2アームと、
    前記ロッカシャフトの近傍に配置された支持軸に揺動自在に設けられ、前記第2アームの変位を受け、前記第2アームの支点移動がもたらす該第2アームの姿勢変化にしたがい、前記カムの位相を可変させて前記第1アームを駆動する第3アームとを有し、
    前記調整機構は、前記第3アームの前記第1アームに対する駆動位置を前記内燃機関の非作動時に調整可能とする
    ことを特徴とする請求項3又は請求項4のいずれかに記載の内燃機関の可変動弁装置。
  6. 前記ロッカシャフトに先端部が突き出るように支持され、該先端部が前記第2アームのロッカシャフト側の支持部に可動自在に支持された中継部材を有し、
    前記ロッカシャフトの回転変位に伴う前記中継部材の姿勢変化により、前記第2ロッカアームの支点が変位することを特徴とする請求項5に記載の内燃機関の可変動弁装置。
  7. 前記調整機構は、前記中継部材の前記ロッカシャフトから突き出る先端部の突出量を調整することを特徴とする請求項5に記載の内燃機関の可変動弁装置。
  8. 複数の気筒を有する内燃機関に回転自在に設けられたカムシャフトによって駆動され、吸気バルブ又は排気バルブを開閉する動力伝達部材を有し、前記動力伝達部材の前記吸気バルブ又は排気バルブ側を駆動する駆動範囲を変化させることにより、前記吸気バルブ又は排気バルブのリフト量を変化させる内燃機関の可変動弁装置において、
    ロッカシャフトに揺動自在に支持され前記吸気又は排気バルブを駆動可能な第1アームを備え、
    前記動力伝達部材は、
    前記カムシャフトに形成されたカムと当接して該カムにより駆動され、前記ロッカシャフト側を支点として揺動する第2アームと、
    前記ロッカシャフトの近傍に配置された支持軸に揺動自在に設けられ、前記第2アームの変位を受け、前記第2アームの支点移動がもたらす該第2アームの姿勢変化にしたがい、前記カムの位相を可変させて前記第1アームを駆動する第3アームとを有し、
    前記内燃機関の非作動時に、前記第3アームの前記第1アームに対する駆動位置を調整可能な調整機構を前記第3アームに設けた
    ことを特徴とする内燃機関の可変動弁装置。
  9. 複数の気筒を有する内燃機関に回転自在に設けられたカムシャフトによって駆動され、吸気バルブ又は排気バルブを開閉する動力伝達部材を有し、前記動力伝達部材の前記吸気バルブ又は排気バルブ側を駆動する駆動範囲を変化させることにより、前記吸気バルブ又は排気バルブのリフト量を変化させる内燃機関の可変動弁装置において、
    ロッカシャフトに揺動自在に支持され前記吸気又は排気バルブを駆動可能な第1アームを備え、
    前記動力伝達部材は、
    前記カムシャフトに形成されたカムと当接して該カムにより駆動され、前記ロッカシャフト側を支点として揺動する第2アームと、
    前記ロッカシャフトの近傍に配置された支持軸に揺動自在に設けられ、前記第2アームの変位を受け、前記第2アームの支点移動がもたらす該第2アームの姿勢変化にしたがい、前記カムの位相を可変させて前記第1アームを駆動する第3アームとを有し、
    前記第2アームは、前記第3アームを駆動する駆動面を有し、
    前記第3アームは、該第3アームの揺動方向に回動自在に支持され、かつ外周部に前記駆動面と面接触する被駆動面が形成された軸部材を有し、
    前記軸部材を前記被駆動面が異なる別個の軸部材に取り換えることにより、前記第2アームに対する前記第3アームの相対位置を変化させ、第3アームの前記第1アームに対する駆動位置を調整可能とした
    ことを特徴とする内燃機関の可変動弁装置。
  10. 複数の気筒を有する内燃機関に回転自在に設けられたカムシャフトによって駆動され、吸気バルブ又は排気バルブを開閉する動力伝達部材を有し、前記動力伝達部材の前記吸気バルブ又は排気バルブ側を駆動する駆動範囲を変化させることにより、前記吸気バルブ又は排気バルブのリフト量を変化させる内燃機関の可変動弁装置において、
    前記内燃機関の非作動時に、各気筒の前記吸気バルブ又は前記排気バルブの開閉期間を調整可能な調整機構を備えた
    ことを特徴とする内燃機関の可変動弁装置。
JP2004117812A 2004-04-13 2004-04-13 内燃機関の可変動弁装置 Expired - Fee Related JP4221327B2 (ja)

Priority Applications (6)

Application Number Priority Date Filing Date Title
JP2004117812A JP4221327B2 (ja) 2004-04-13 2004-04-13 内燃機関の可変動弁装置
US11/103,556 US7314027B2 (en) 2004-04-13 2005-04-12 Variable valve unit for internal combustion engine
KR1020050030205A KR100690468B1 (ko) 2004-04-13 2005-04-12 내연 기관의 가변식 구동 밸브 장치
CNB200510067271XA CN100552191C (zh) 2004-04-13 2005-04-12 内燃机的可变动阀装置
CN2008100839054A CN101413411B (zh) 2004-04-13 2005-04-12 内燃机的可变动阀装置
DE102005017064A DE102005017064B4 (de) 2004-04-13 2005-04-13 Variable Ventileinheit für Verbrennungsmotor

Applications Claiming Priority (1)

Application Number Priority Date Filing Date Title
JP2004117812A JP4221327B2 (ja) 2004-04-13 2004-04-13 内燃機関の可変動弁装置

Related Child Applications (4)

Application Number Title Priority Date Filing Date
JP2008270349A Division JP5148450B2 (ja) 2008-10-20 2008-10-20 内燃機関の可変動弁装置
JP2008270348A Division JP5148449B2 (ja) 2008-10-20 2008-10-20 内燃機関の可変動弁装置
JP2008270350A Division JP5042963B2 (ja) 2008-10-20 2008-10-20 内燃機関の可変動弁装置
JP2008270351A Division JP5148451B2 (ja) 2008-10-20 2008-10-20 内燃機関の可変動弁装置

Publications (2)

Publication Number Publication Date
JP2005299536A true JP2005299536A (ja) 2005-10-27
JP4221327B2 JP4221327B2 (ja) 2009-02-12

Family

ID=35220116

Family Applications (1)

Application Number Title Priority Date Filing Date
JP2004117812A Expired - Fee Related JP4221327B2 (ja) 2004-04-13 2004-04-13 内燃機関の可変動弁装置

Country Status (5)

Country Link
US (1) US7314027B2 (ja)
JP (1) JP4221327B2 (ja)
KR (1) KR100690468B1 (ja)
CN (2) CN100552191C (ja)
DE (1) DE102005017064B4 (ja)

Cited By (20)

* Cited by examiner, † Cited by third party
Publication number Priority date Publication date Assignee Title
WO2007013458A1 (ja) * 2005-07-25 2007-02-01 Mitsubishi Jidosha Kogyo Kabushiki Kaisha 内燃機関の可変動弁装置
WO2007013460A1 (ja) * 2005-07-25 2007-02-01 Mitsubishi Jidosha Kogyo Kabushiki Kaisha 内燃機関の可変動弁装置
JP2008025413A (ja) * 2006-07-19 2008-02-07 Honda Motor Co Ltd 内燃機関の動弁装置
EP1918536A1 (en) * 2006-10-31 2008-05-07 Mitsubishi Jidosha Kogyo Kabushiki Kaisha Valve unit of internal combustion engine
JP2008196314A (ja) * 2007-02-08 2008-08-28 Toyota Motor Corp 可変動弁装置
JP2008202478A (ja) * 2007-02-19 2008-09-04 Mitsubishi Motors Corp 内燃機関の動弁装置
JP2008202580A (ja) * 2007-02-22 2008-09-04 Mitsubishi Motors Corp 内燃機関の可変式動弁機構
EP1972763A1 (en) 2007-02-22 2008-09-24 Mitsubishi Jidosha Kogyo Kabushiki Kaisha Variable valve mechanism for internal combustion engine
DE102008014080A1 (de) 2007-07-04 2009-01-08 Mitsubishi Jidosha Kogyo Kabushiki Kaisha Variabler Ventiltrieb für einen Verbrennungsmotor
DE102008016857A1 (de) 2007-06-29 2009-01-15 Mitsubishi Jidosha Kogyo K.K. Variables Ventilsteuerungssystem für Verbrennungsmotoren
US7644690B2 (en) 2006-10-31 2010-01-12 Mitsubishi Jidosha Kogyo Kabushiki Kaisha Arrangement structure of electrically-driven actuator
JP2010053708A (ja) * 2008-08-26 2010-03-11 Mitsubishi Motors Corp 内燃機関の可変動弁装置
JP2010096046A (ja) * 2008-10-15 2010-04-30 Mitsubishi Motors Corp 双頭ロッカアーム組立方法
DE102009052767A1 (de) 2008-11-12 2010-07-08 Mitsubishi Jidosha Kogyo K.K. Variabler Ventilmechanismus für einen Verbrennungsmotor
JP2010159639A (ja) * 2009-01-06 2010-07-22 Mitsubishi Motors Corp 気筒ばらつき調整治具
DE102009052766A1 (de) 2008-11-12 2010-08-05 Mitsubishi Jidosha Kogyo Kabushiki Kaisha Variabler Ventilmechanismus für einen Verbrennungsmotor
JP2011069376A (ja) * 2011-01-14 2011-04-07 Mitsubishi Motors Corp 内燃機関の可変動弁装置
JP2011069377A (ja) * 2011-01-14 2011-04-07 Mitsubishi Motors Corp 内燃機関の可変動弁装置
EP2357341A1 (en) 2010-02-15 2011-08-17 Mitsubishi Jidosha Kogyo Kabushiki Kaisha Internal combustion engine control unit
CN117552852A (zh) * 2024-01-12 2024-02-13 潍柴动力股份有限公司 发动机及其配气机构

Families Citing this family (12)

* Cited by examiner, † Cited by third party
Publication number Priority date Publication date Assignee Title
DE112004001267B4 (de) * 2004-03-23 2010-06-24 Mitsubishi Fuso Truck And Bus Corp. Variabler Ventiltrieb eines Verbrennungsmotors
DE102006002133B4 (de) * 2006-01-17 2025-05-15 Bayerische Motoren Werke Aktiengesellschaft Ventiltrieb zur hubvariablen Betätigung eines Gaswechselventils einer Brennkraftmaschine
US7633755B2 (en) * 2007-11-15 2009-12-15 Fu Zhun Precision Industry (Shen Zhen) Co., Ltd. Heat dissipation device assembly with a fan duct having guiding members for guiding a screwdriver to assemble the heat dissipation device assembly to a printed circuit board
EP2381074A1 (en) * 2010-04-20 2011-10-26 Kwang Yang Motor Co., Ltd. Variable valve lift mechanism for engine and arrangement of oil control valve
US8622039B2 (en) * 2010-12-22 2014-01-07 James T. Dougherty Rockerless desmodromic valve system
JP2014503752A (ja) 2011-01-27 2014-02-13 スクデリ グループ インコーポレイテッド バルブ不作動化付ロストモーション可変バルブ作動システム
JP2014508242A (ja) * 2011-01-27 2014-04-03 スクデリ グループ インコーポレイテッド ドウェルカムを備える分割サイクル空気ハイブリッドエンジン
EP2668375A2 (en) 2011-01-27 2013-12-04 Scuderi Group, Inc. Lost-motion variable valve actuation system with cam phaser
US9109468B2 (en) 2012-01-06 2015-08-18 Scuderi Group, Llc Lost-motion variable valve actuation system
US9291106B2 (en) * 2013-03-15 2016-03-22 Tula Technology, Inc. Cam phaser control
US9297295B2 (en) 2013-03-15 2016-03-29 Scuderi Group, Inc. Split-cycle engines with direct injection
DE102013205533A1 (de) * 2013-03-28 2014-10-02 Schaeffler Technologies Gmbh & Co. Kg Verfahren zur Montage eines Ventiltrieb einer Brennkraftmaschine

Family Cites Families (17)

* Cited by examiner, † Cited by third party
Publication number Priority date Publication date Assignee Title
KR940001318B1 (ko) * 1990-01-18 1994-02-19 미쯔비시 지도샤 고교 가부시끼가이샤 밸브 이동장치
JP2566480B2 (ja) * 1990-06-15 1996-12-25 本田技研工業株式会社 燃料噴射式内燃機関
DE4326331A1 (de) * 1992-07-15 1995-02-09 Bayerische Motoren Werke Ag Ventiltrieb einer Brennkraftmaschine
KR0158899B1 (ko) 1992-09-30 1998-12-15 와다 요시히로 엔진의 밸브시프트타이밍 제어장치
JPH06173619A (ja) * 1992-12-08 1994-06-21 Yamaha Motor Co Ltd 4サイクルエンジンの動弁機構
DE4311877C2 (de) * 1993-04-10 1996-05-15 Hatz Motoren Nockenwellenantrieb
SE501437C2 (sv) * 1993-06-22 1995-02-13 Volvo Ab Ventilmekanism i en förbränningsmotor
EP0638706A1 (de) * 1993-08-05 1995-02-15 Bayerische Motoren Werke Aktiengesellschaft Ventiltrieb einer Brennkraftmaschine
US6016779A (en) * 1996-09-02 2000-01-25 Honda Giken Kogyo Kabushiki Kaisha Valve operating system in internal combustion engine
JP3916819B2 (ja) 1999-11-29 2007-05-23 株式会社日立製作所 エンジンの弁作動装置
DE10136612A1 (de) * 2001-07-17 2003-02-06 Herbert Naumann Variable Hubventilsteuerungen
DE10221133A1 (de) * 2002-05-13 2003-11-27 Thyssen Krupp Automotive Ag Antriebs- und Verstellsystem für variable Ventilsteuerungen
US6722331B2 (en) * 2002-06-28 2004-04-20 Tecumseh Products Company Valve clearance adjustment mechanism
JP4151357B2 (ja) * 2002-09-09 2008-09-17 トヨタ自動車株式会社 内燃機関の可変動弁機構
DE10304991A1 (de) * 2003-02-07 2004-08-19 Ina-Schaeffler Kg Verstellmittel in einem variablen Ventiltrieb einer Brennkraftmaschine
JP4381188B2 (ja) * 2004-03-19 2009-12-09 三菱ふそうトラック・バス株式会社 内燃機関の可変動弁装置
DE112004001267B4 (de) 2004-03-23 2010-06-24 Mitsubishi Fuso Truck And Bus Corp. Variabler Ventiltrieb eines Verbrennungsmotors

Cited By (30)

* Cited by examiner, † Cited by third party
Publication number Priority date Publication date Assignee Title
WO2007013460A1 (ja) * 2005-07-25 2007-02-01 Mitsubishi Jidosha Kogyo Kabushiki Kaisha 内燃機関の可変動弁装置
WO2007013458A1 (ja) * 2005-07-25 2007-02-01 Mitsubishi Jidosha Kogyo Kabushiki Kaisha 内燃機関の可変動弁装置
US7757647B2 (en) 2005-07-25 2010-07-20 Mitsubishi Jidosha Kogyo Habushiki Kaisha Variable valve apparatus of internal combustion engine
US7748358B2 (en) 2005-07-25 2010-07-06 Mitsubishi Jidosha Kogyo Kabushiki Kaisha Variable valve train apparatus for internal combustion engine
JP2008025413A (ja) * 2006-07-19 2008-02-07 Honda Motor Co Ltd 内燃機関の動弁装置
US7644690B2 (en) 2006-10-31 2010-01-12 Mitsubishi Jidosha Kogyo Kabushiki Kaisha Arrangement structure of electrically-driven actuator
EP1918536A1 (en) * 2006-10-31 2008-05-07 Mitsubishi Jidosha Kogyo Kabushiki Kaisha Valve unit of internal combustion engine
US7658172B2 (en) 2006-10-31 2010-02-09 Mitsubishi Jidosha Kogyo Kabushiki Kaisha Valve unit of internal combustion engine
JP2008196314A (ja) * 2007-02-08 2008-08-28 Toyota Motor Corp 可変動弁装置
JP2008202478A (ja) * 2007-02-19 2008-09-04 Mitsubishi Motors Corp 内燃機関の動弁装置
US7836861B2 (en) 2007-02-22 2010-11-23 Mitsubishi Jidosha Kogyo Kabushiki Kaisha Variable valve mechanism for internal combustion engine
EP1972763A1 (en) 2007-02-22 2008-09-24 Mitsubishi Jidosha Kogyo Kabushiki Kaisha Variable valve mechanism for internal combustion engine
JP2008202580A (ja) * 2007-02-22 2008-09-04 Mitsubishi Motors Corp 内燃機関の可変式動弁機構
US7730859B2 (en) 2007-06-29 2010-06-08 Mitsubishi Jidosha Kogyo Kabushiki Kaisha Variable valve train system for internal combustion engine
DE102008016857A1 (de) 2007-06-29 2009-01-15 Mitsubishi Jidosha Kogyo K.K. Variables Ventilsteuerungssystem für Verbrennungsmotoren
US7770550B2 (en) 2007-07-04 2010-08-10 Mitsubishi Jidosha Kogyo Kabushiki Kaisha Variable valve train for an internal combustion engine
DE102008014080A1 (de) 2007-07-04 2009-01-08 Mitsubishi Jidosha Kogyo Kabushiki Kaisha Variabler Ventiltrieb für einen Verbrennungsmotor
DE102008014080B4 (de) * 2007-07-04 2013-12-24 Mitsubishi Jidosha Kogyo Kabushiki Kaisha Variabler Ventiltrieb für einen Verbrennungsmotor
JP2010053708A (ja) * 2008-08-26 2010-03-11 Mitsubishi Motors Corp 内燃機関の可変動弁装置
JP2010096046A (ja) * 2008-10-15 2010-04-30 Mitsubishi Motors Corp 双頭ロッカアーム組立方法
DE102009052766A1 (de) 2008-11-12 2010-08-05 Mitsubishi Jidosha Kogyo Kabushiki Kaisha Variabler Ventilmechanismus für einen Verbrennungsmotor
DE102009052767A1 (de) 2008-11-12 2010-07-08 Mitsubishi Jidosha Kogyo K.K. Variabler Ventilmechanismus für einen Verbrennungsmotor
DE102009052767B4 (de) 2008-11-12 2021-12-23 Mitsubishi Jidosha Kogyo K.K. Variabler Ventilmechanismus für einen Verbrennungsmotor
DE102009052766B4 (de) 2008-11-12 2022-02-10 Mitsubishi Jidosha Kogyo Kabushiki Kaisha Variabler Ventilmechanismus für einen Verbrennungsmotor
JP2010159639A (ja) * 2009-01-06 2010-07-22 Mitsubishi Motors Corp 気筒ばらつき調整治具
EP2357341A1 (en) 2010-02-15 2011-08-17 Mitsubishi Jidosha Kogyo Kabushiki Kaisha Internal combustion engine control unit
JP2011069376A (ja) * 2011-01-14 2011-04-07 Mitsubishi Motors Corp 内燃機関の可変動弁装置
JP2011069377A (ja) * 2011-01-14 2011-04-07 Mitsubishi Motors Corp 内燃機関の可変動弁装置
CN117552852A (zh) * 2024-01-12 2024-02-13 潍柴动力股份有限公司 发动机及其配气机构
CN117552852B (zh) * 2024-01-12 2024-04-16 潍柴动力股份有限公司 发动机及其配气机构

Also Published As

Publication number Publication date
KR100690468B1 (ko) 2007-03-09
CN100552191C (zh) 2009-10-21
US7314027B2 (en) 2008-01-01
CN1683759A (zh) 2005-10-19
US20050274340A1 (en) 2005-12-15
JP4221327B2 (ja) 2009-02-12
DE102005017064A1 (de) 2005-11-24
DE102005017064B4 (de) 2012-02-09
CN101413411A (zh) 2009-04-22
CN101413411B (zh) 2011-01-05
KR20060045606A (ko) 2006-05-17

Similar Documents

Publication Publication Date Title
JP4221327B2 (ja) 内燃機関の可変動弁装置
CN100460631C (zh) 内燃机的可变气门装置
JP4293167B2 (ja) 内燃機関の可変動弁装置
JP4697011B2 (ja) 可変動弁機構
JP4293168B2 (ja) 内燃機関の可変動弁装置
JP5148451B2 (ja) 内燃機関の可変動弁装置
JP5148449B2 (ja) 内燃機関の可変動弁装置
JP5148450B2 (ja) 内燃機関の可変動弁装置
JP5042963B2 (ja) 内燃機関の可変動弁装置
JP4195463B2 (ja) 内燃機関の可変動弁装置
JP4118248B2 (ja) 内燃機関の可変動弁装置
US7168404B2 (en) Variable valve apparatus of internal combustion engine
JP4507997B2 (ja) 内燃機関の可変動弁装置
JP4180011B2 (ja) 内燃機関の可変動弁装置
JP4180013B2 (ja) 内燃機関の可変動弁装置
JP4180014B2 (ja) 内燃機関の可変動弁装置
JP4566071B2 (ja) 内燃機関
JP4180012B2 (ja) 内燃機関の可変動弁装置
JP4225294B2 (ja) 内燃機関の可変動弁装置
JP4552707B2 (ja) 内燃機関の可変動弁装置
JP2006220121A (ja) 内燃機関のシリンダヘッド
JP2007107432A (ja) 内燃機関の動弁装置
JP2007107431A (ja) 内燃機関の動弁装置

Legal Events

Date Code Title Description
A621 Written request for application examination

Free format text: JAPANESE INTERMEDIATE CODE: A621

Effective date: 20060630

A131 Notification of reasons for refusal

Free format text: JAPANESE INTERMEDIATE CODE: A131

Effective date: 20080527

A977 Report on retrieval

Free format text: JAPANESE INTERMEDIATE CODE: A971007

Effective date: 20080529

A521 Request for written amendment filed

Free format text: JAPANESE INTERMEDIATE CODE: A523

Effective date: 20080728

A131 Notification of reasons for refusal

Free format text: JAPANESE INTERMEDIATE CODE: A131

Effective date: 20080819

A521 Request for written amendment filed

Free format text: JAPANESE INTERMEDIATE CODE: A523

Effective date: 20081020

TRDD Decision of grant or rejection written
A01 Written decision to grant a patent or to grant a registration (utility model)

Free format text: JAPANESE INTERMEDIATE CODE: A01

Effective date: 20081111

A01 Written decision to grant a patent or to grant a registration (utility model)

Free format text: JAPANESE INTERMEDIATE CODE: A01

A61 First payment of annual fees (during grant procedure)

Free format text: JAPANESE INTERMEDIATE CODE: A61

Effective date: 20081117

FPAY Renewal fee payment (event date is renewal date of database)

Free format text: PAYMENT UNTIL: 20111121

Year of fee payment: 3

R150 Certificate of patent or registration of utility model

Free format text: JAPANESE INTERMEDIATE CODE: R150

FPAY Renewal fee payment (event date is renewal date of database)

Free format text: PAYMENT UNTIL: 20121121

Year of fee payment: 4

FPAY Renewal fee payment (event date is renewal date of database)

Free format text: PAYMENT UNTIL: 20121121

Year of fee payment: 4

FPAY Renewal fee payment (event date is renewal date of database)

Free format text: PAYMENT UNTIL: 20131121

Year of fee payment: 5

R250 Receipt of annual fees

Free format text: JAPANESE INTERMEDIATE CODE: R250

R250 Receipt of annual fees

Free format text: JAPANESE INTERMEDIATE CODE: R250

R250 Receipt of annual fees

Free format text: JAPANESE INTERMEDIATE CODE: R250

LAPS Cancellation because of no payment of annual fees