JP2005298066A - 回転構造の充填機 - Google Patents
回転構造の充填機 Download PDFInfo
- Publication number
- JP2005298066A JP2005298066A JP2005111603A JP2005111603A JP2005298066A JP 2005298066 A JP2005298066 A JP 2005298066A JP 2005111603 A JP2005111603 A JP 2005111603A JP 2005111603 A JP2005111603 A JP 2005111603A JP 2005298066 A JP2005298066 A JP 2005298066A
- Authority
- JP
- Japan
- Prior art keywords
- filling
- gas path
- gas
- chamber
- liquid
- Prior art date
- Legal status (The legal status is an assumption and is not a legal conclusion. Google has not performed a legal analysis and makes no representation as to the accuracy of the status listed.)
- Granted
Links
- 239000007788 liquid Substances 0.000 claims abstract description 62
- 239000000463 material Substances 0.000 claims abstract description 15
- 238000000034 method Methods 0.000 claims description 12
- 230000036316 preload Effects 0.000 claims description 5
- 239000000523 sample Substances 0.000 claims description 5
- 238000007789 sealing Methods 0.000 claims description 5
- 238000005429 filling process Methods 0.000 claims description 4
- 239000004020 conductor Substances 0.000 claims description 2
- 238000006073 displacement reaction Methods 0.000 claims 1
- 238000007599 discharging Methods 0.000 abstract 1
- 239000007789 gas Substances 0.000 description 142
- 235000013361 beverage Nutrition 0.000 description 7
- 239000011261 inert gas Substances 0.000 description 6
- 230000004048 modification Effects 0.000 description 5
- 238000012986 modification Methods 0.000 description 5
- 239000000126 substance Substances 0.000 description 4
- 238000004140 cleaning Methods 0.000 description 3
- 235000015203 fruit juice Nutrition 0.000 description 3
- 238000003780 insertion Methods 0.000 description 3
- 230000037431 insertion Effects 0.000 description 3
- CIWBSHSKHKDKBQ-JLAZNSOCSA-N Ascorbic acid Chemical compound OC[C@H](O)[C@H]1OC(=O)C(O)=C1O CIWBSHSKHKDKBQ-JLAZNSOCSA-N 0.000 description 2
- QVGXLLKOCUKJST-UHFFFAOYSA-N atomic oxygen Chemical compound [O] QVGXLLKOCUKJST-UHFFFAOYSA-N 0.000 description 2
- 230000006835 compression Effects 0.000 description 2
- 238000007906 compression Methods 0.000 description 2
- 238000009826 distribution Methods 0.000 description 2
- 235000013399 edible fruits Nutrition 0.000 description 2
- 239000001301 oxygen Substances 0.000 description 2
- 229910052760 oxygen Inorganic materials 0.000 description 2
- 238000001228 spectrum Methods 0.000 description 2
- XLYOFNOQVPJJNP-UHFFFAOYSA-N water Substances O XLYOFNOQVPJJNP-UHFFFAOYSA-N 0.000 description 2
- ZZZCUOFIHGPKAK-UHFFFAOYSA-N D-erythro-ascorbic acid Natural products OCC1OC(=O)C(O)=C1O ZZZCUOFIHGPKAK-UHFFFAOYSA-N 0.000 description 1
- 206010039897 Sedation Diseases 0.000 description 1
- 241001122767 Theaceae Species 0.000 description 1
- 229930003268 Vitamin C Natural products 0.000 description 1
- 230000015572 biosynthetic process Effects 0.000 description 1
- 230000003098 cholesteric effect Effects 0.000 description 1
- 238000010276 construction Methods 0.000 description 1
- 230000001419 dependent effect Effects 0.000 description 1
- 235000011389 fruit/vegetable juice Nutrition 0.000 description 1
- 229910052500 inorganic mineral Inorganic materials 0.000 description 1
- 244000005700 microbiome Species 0.000 description 1
- 239000011707 mineral Substances 0.000 description 1
- 239000003755 preservative agent Substances 0.000 description 1
- 238000003825 pressing Methods 0.000 description 1
- 230000000630 rising effect Effects 0.000 description 1
- 230000036280 sedation Effects 0.000 description 1
- 235000014214 soft drink Nutrition 0.000 description 1
- 238000003860 storage Methods 0.000 description 1
- 235000019154 vitamin C Nutrition 0.000 description 1
- 239000011718 vitamin C Substances 0.000 description 1
Images
Classifications
-
- B—PERFORMING OPERATIONS; TRANSPORTING
- B67—OPENING, CLOSING OR CLEANING BOTTLES, JARS OR SIMILAR CONTAINERS; LIQUID HANDLING
- B67C—CLEANING, FILLING WITH LIQUIDS OR SEMILIQUIDS, OR EMPTYING, OF BOTTLES, JARS, CANS, CASKS, BARRELS, OR SIMILAR CONTAINERS, NOT OTHERWISE PROVIDED FOR; FUNNELS
- B67C3/00—Bottling liquids or semiliquids; Filling jars or cans with liquids or semiliquids using bottling or like apparatus; Filling casks or barrels with liquids or semiliquids
- B67C3/02—Bottling liquids or semiliquids; Filling jars or cans with liquids or semiliquids using bottling or like apparatus
- B67C3/06—Bottling liquids or semiliquids; Filling jars or cans with liquids or semiliquids using bottling or like apparatus using counterpressure, i.e. filling while the container is under pressure
- B67C3/12—Pressure-control devices
-
- B—PERFORMING OPERATIONS; TRANSPORTING
- B67—OPENING, CLOSING OR CLEANING BOTTLES, JARS OR SIMILAR CONTAINERS; LIQUID HANDLING
- B67C—CLEANING, FILLING WITH LIQUIDS OR SEMILIQUIDS, OR EMPTYING, OF BOTTLES, JARS, CANS, CASKS, BARRELS, OR SIMILAR CONTAINERS, NOT OTHERWISE PROVIDED FOR; FUNNELS
- B67C3/00—Bottling liquids or semiliquids; Filling jars or cans with liquids or semiliquids using bottling or like apparatus; Filling casks or barrels with liquids or semiliquids
- B67C3/02—Bottling liquids or semiliquids; Filling jars or cans with liquids or semiliquids using bottling or like apparatus
- B67C3/04—Bottling liquids or semiliquids; Filling jars or cans with liquids or semiliquids using bottling or like apparatus without applying pressure
-
- B—PERFORMING OPERATIONS; TRANSPORTING
- B67—OPENING, CLOSING OR CLEANING BOTTLES, JARS OR SIMILAR CONTAINERS; LIQUID HANDLING
- B67C—CLEANING, FILLING WITH LIQUIDS OR SEMILIQUIDS, OR EMPTYING, OF BOTTLES, JARS, CANS, CASKS, BARRELS, OR SIMILAR CONTAINERS, NOT OTHERWISE PROVIDED FOR; FUNNELS
- B67C3/00—Bottling liquids or semiliquids; Filling jars or cans with liquids or semiliquids using bottling or like apparatus; Filling casks or barrels with liquids or semiliquids
- B67C3/02—Bottling liquids or semiliquids; Filling jars or cans with liquids or semiliquids using bottling or like apparatus
- B67C3/06—Bottling liquids or semiliquids; Filling jars or cans with liquids or semiliquids using bottling or like apparatus using counterpressure, i.e. filling while the container is under pressure
- B67C3/10—Bottling liquids or semiliquids; Filling jars or cans with liquids or semiliquids using bottling or like apparatus using counterpressure, i.e. filling while the container is under pressure preliminary filling with inert gases, e.g. carbon dioxide
-
- B—PERFORMING OPERATIONS; TRANSPORTING
- B67—OPENING, CLOSING OR CLEANING BOTTLES, JARS OR SIMILAR CONTAINERS; LIQUID HANDLING
- B67C—CLEANING, FILLING WITH LIQUIDS OR SEMILIQUIDS, OR EMPTYING, OF BOTTLES, JARS, CANS, CASKS, BARRELS, OR SIMILAR CONTAINERS, NOT OTHERWISE PROVIDED FOR; FUNNELS
- B67C3/00—Bottling liquids or semiliquids; Filling jars or cans with liquids or semiliquids using bottling or like apparatus; Filling casks or barrels with liquids or semiliquids
- B67C3/02—Bottling liquids or semiliquids; Filling jars or cans with liquids or semiliquids using bottling or like apparatus
- B67C3/22—Details
- B67C3/28—Flow-control devices, e.g. using valves
- B67C3/286—Flow-control devices, e.g. using valves related to flow rate control, i.e. controlling slow and fast filling phases
Landscapes
- Chemical & Material Sciences (AREA)
- Chemical Kinetics & Catalysis (AREA)
- Physics & Mathematics (AREA)
- Fluid Mechanics (AREA)
- Filling Of Jars Or Cans And Processes For Cleaning And Sealing Jars (AREA)
- Basic Packing Technique (AREA)
- Filling Or Discharging Of Gas Storage Vessels (AREA)
Abstract
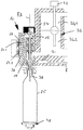
【解決手段】垂直な機械軸線回りに回転駆動可能なロータ2と、このロータ2に設けられたタンク3と、ロータに設けられた多数の充填要素1と、排出口に開口し、充填要素ケーシング9内に形成されたガス経路に接続されたガス戻し管13とを備えた、瓶25または類似の容器に液状充填物質を充填するための回転構造の充填機において、絞り22を備えた開閉制御されないガス経路19が各々の充填要素1に形成され、このガス経路がガス戻し管13と、すべての充填要素1または充填要素のグループにとって共通のロータ側の第1のガス戻し通路7とを接続し、第1のガス経路制御弁21.1を備えた開閉制御される第1のガス経路が各充填要素1に形成され、この第1のガス経路を介して、ガス戻し管13がタンク3のガス室4.1に接続可能である。
【選択図】図1
Description
各々の瓶の挿入及び持上げ
充填過程の開始時に、各々の瓶25は瓶入口で、下降した瓶支持体26に挿入され、続いてばね28の力によって持上げられる。
瓶の予圧
それに続いて、ガス室4.1または環状通路5からの、圧力下にある不活性ガスによる、瓶25の予圧が行われる。そのために、ガス経路制御弁21.1が開放され、それによって予圧ガスが開放したガス通路20とチャンバ18とガス戻し管13を経て瓶25に流入することができる。チャンバ18内で上昇する圧力によって、瓶25の開口エッジがシール16に対して自動的に更に押し付けられる。
弁21.1を更に開放すると、液体弁11も開放するので、液状充填物質は排出口15から、充填要素1とのシール位置にある他の瓶25内に流れ、その際瓶から押しのけられたガスはガス戻し管13を経て、そして大部分が開放したガス通路20と環状通路5を経てガス室4.1に逆流する。一方、押しのけられたガスの少量の部分は絞り22と環状通路7を経て排出される。
制動充填
液体弁11が更に開放されると、ガス経路制御弁20.1が閉鎖されるので、瓶25から押しのけられたガスは絞り22と環状通路7だけを経て流出可能である。
充填終了
設定された充填物質量が瓶25内に達したことが、センサ24によって検出されるや否や、液体弁も閉鎖される。
圧力予備逃がし及び鎮静化
液体弁11の閉鎖後、瓶25の内部の圧力の逃がしがガス通路19と絞り22を経て環状通路7へ行われるので、予備逃がしの後で、ローラ27と協働する瓶出口の制御カムによって、瓶支持体26が下降し、充填済み瓶25が取り出し可能である。
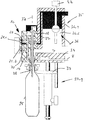
各々の瓶の挿入及び持上げ
瓶入口で、各々の瓶25は挿入され、充填要素1aに対するシール位置まで持上げられる。
急速充填
弁21.1と21.2を開放すると、液体弁11が開放するので、充填物質は排出口15から瓶25内に流れ、その際瓶25から押しのけられた空気は開放したガス通路20と同様に開放したガス通路30を経て流出可能であり、しかも環状通路5を経て接続口4.1.1および環状通路7へそして管路8を経て大気に流出可能である。
制動充填
制動充填のために、ガス経路制御弁20.1が閉鎖され、更にガス通路30が開放されると、押しのけられた空気は絞り22,31を流通し、それによって制動された充填が行われる。
充填終了
ガス経路制御弁21.2が開放され、ガス経路制御弁21.1が閉鎖されると、センサ24の信号によって制御されて、液体弁11が閉鎖され、充填済み瓶が下降する。
瓶の挿入及び持上げ
瓶入口で、各々の瓶25は瓶支持体26によって持上げられ、瓶開口部が充填要素に対するシール位置までもたらされる。
予圧
ガス経路制御弁21.1の開放によって、瓶25の予圧と付加的な押し付けが行われる。
急速充填
ガス経路制御弁21.1を閉鎖し、ガス経路制御弁21.2を開放した後で、液体弁11の開放が行われるので、液状充填物質は排出口15から瓶25に流れ、瓶から押しのけられたガスはガス戻し管13と開放したガス通路30を経て並びにガス通路19内に設けられた絞り22を経て環状通路7に流れ、そこから管路8を経て排出される。
制動充填
液体弁11が更に開放されると、ガス経路制御弁21.2が閉鎖されるので、瓶25から押しのけられたガスはガス通路19と絞り22を経て環状通路7に流れることができる。
充填終了
更にガス経路制御弁21.1.21.2が閉鎖されると、液体弁がセンサ24の信号によって制御されて閉鎖されるので、ガス通路19とそこの絞り22を経て、圧力予備逃がしと鎮静化を行い、圧力予備逃がしの後で充填済み瓶25を瓶支持体26によって下降させることができる。
2 ロータ
3 タンク
4 タンク内室
4.1 ガス室
4.2 液体室
4.1.1 接続口
4.2.1 接続口
5 環状通路
6 管路
7 環状通路
8 管路
9 充填要素のケーシング
9.1 ケーシング下面
10 液体通路
11 液体弁
12 弁体
13 ガス戻し管
14 液体弁用操作要素
15 排出口
16 シール
17 センタリング要素
18 チャンバ
19,20 ガス通路
21.1,21.2,21.3 ガス経路制御弁
22 絞り
23 管路
24 センサ
25 瓶
26 瓶支持体
27 制御ロータ
28 圧縮ばね
29 ピストン
30 ガス通路
31 絞り
32 ガス通路
33 絞り
34 ロータ
35 タンク
36 タンク内室
36.1 ガス室
36.2 液体室
37 接続部
38 プローブ
39 瓶支持体
39.1 昇降装置
40 瓶支持体
41 制御装置(コンピュータ)
42 レベル調節器
43,44,45 弁
N レベル FA 充填要素
Claims (15)
- 垂直な機械軸線回りに回転駆動可能なロータ(2,34)と、このロータ(2,34)に設けられたタンク(3,35)とを具備し、このタンクのタンク室(4,36)が液状充填物質を収容する液体室(4.2,36.2)とその上に位置するガス室(4.1,36.1)を形成し、更にロータ(2,34)に設けられた多数の充填要素(1,1a,1b,1c)を具備し、この充填要素が充填要素ケーシング(9)内に、液体弁(11)を有するそれぞれ1つの液体通路(10)を備え、この液体通路が液体室(4.2,36.2)に接続された液体接続管路(23)とケーシング(9)の下面(9.1)に設けられた排出口(15)との間に設けられ、更に排出口に開口し、充填要素ケーシング(9)内に形成されたガス経路に接続されたガス戻し管(13)を具備している、瓶(25)または類似の容器に液状充填物質を充填するための回転構造の充填機において、少なくとも1つの絞り(22)を備えた開閉制御されないガス経路(19)が各々の充填要素(1,1a,1b,1c)に形成され、このガス経路がガス戻し管(13)と、すべての充填要素(1,1a,1b,1c)または充填要素(1,1a,1b,1c)のグループにとって共通のロータ側の第1のガス戻し通路(7)とを接続していることと、少なくとも1個の第1のガス経路制御弁(21.1)を備えた開閉制御される第1のガス経路が各充填要素(1,1a,1b,1c)に形成され、この第1のガス経路を介して、ガス戻し管(13)がタンク(3,35)のガス室(4.1,36.1)に接続可能であることを特徴とする充填機。
- ガス戻し管(13)が開閉制御される第1のガス経路を介して、すべての充填要素(1,1a,1b)または充填要素(1,1a,1b)のグループにとって共通のロータ側の捕集通路(5)に接続可能であり、この捕集通路自体がタンク(3)のガス室(4.1)に接続されていることを特徴とする、請求項1記載の充填機。
- 各充填要素に容器支持体(26)が付設され、しかも充填すべき容器(25)を充填要素(1,1a,1b)の方に持上げかつ充填済み容器(25)を下降させるために付設されていること、充填要素ケーシング(9)内にチャンバ(18)が形成され、このチャンバがガス戻し管(13)に接続され、容器支持体(26)をそれぞれの充填要素(1,1a,1b)の方に動かす昇降装置のピストン(29)がチャンバ内に配置されていることを特徴とする、請求項1または2記載の充填機。
- 制御装置(41)を備え、この制御装置によって、液体弁(11)と第1のガス経路制御弁(21.1)が1-チャンバ-圧力充填のために次のように制御可能であり、すなわちそれぞれの充填要素(1a,1b,1c)とのシール位置にある容器(25)に予圧を加えるために、つまりタンク(3,35)のガス室(6.1,36.1)からのガスで容器に予圧を加えるために、開閉制御可能な第1のガス経路が第1のガス経路制御弁(21.1)によって開放され、続いて急速充填のために、第1のガス経路制御弁(21.1)の開放状態で、液体弁が開放され、そして充填過程を終了するために第1のガス経路制御弁(21.1)と液体弁(11)が閉鎖されるように制御可能であることを特徴とする、請求項1〜3のいずれか一つに記載の充填機。
- 制動充填のために液体弁(11)の開放時に、開閉制御される第1のガス経路(20)を閉じるように、第1のガス経路制御弁(21.1)が制御装置(41)によって制御可能であることを特徴とする、請求項4記載の充填機。
- 少なくとも1個の第2のガス経路制御弁(21.2)を備えた開閉制御される第2のガス経路が、各充填要素(1,1a,1b)のケーシング内で、開閉制御されないガス経路(19)の絞り(22)に対して並列に形成されていることを特徴とする、請求項1〜5のいずれか一つに記載の充填機。
- 少なくとも1個の絞り(31)が第2のガス経路制御弁(21.1)と直列に、開閉制御される第2のガス経路内に設けられていることを特徴とする、請求項6記載の充填機。
- 第2のガス経路制御弁(21.2)が、圧力充填のために閉鎖されかつ無圧充填のために開放されるように、制御装置(41)によって制御可能であることを特徴とする、請求項6または7記載の充填機。
- 充填機のすべての充填要素(1a,1c)または充填要素(1a,1c)のグループの第2のガス経路制御弁(21.2)が、共通の制御導体を介して操作可能であることを特徴とする、請求項6〜8のいずれか一つに記載の充填機。
- 液体弁(11)と第1および第2のガス経路制御弁(21.1,21.2)が無圧充填の際に、急速充填のために第2と第3のガス経路を開放し、制動充填のために第3のガス経路だけを開放するように、制御装置(41)によって制御可能であることを特徴とする、請求項6〜9のいずれか一つに記載の充填機。
- 液体弁(11)と第1および第2のガス経路制御弁(21.1,21.2)が3-チャンバ-圧力充填の際に、充填要素(1a,1b)とのシール位置にあるそれぞれの容器(25)に予圧を加えるために第2のガス経路を開放し、容器(25)の急速充填のために液体弁(11)の開放時に第3のガス経路を開放し、かつ第2のガス経路を閉鎖し、そしてそれに続く制動充填のために第2と第3のガス経路を閉鎖するように、制御装置(41)によって制御可能であることを特徴とする、請求項1〜10のいずれか一つに記載の充填機。
- 好ましくは第4の絞り(31)と直列に第3のガス経路制御弁(21.3)を備えた開閉制御可能な第3のガス経路(30)が充填要素(1b)のケーシング(9)内に設けられ、しかも開閉制御される第2のガス経路の少なくとも1個の絞り(31)に対して並列に設けられていることを特徴とする、請求項1〜11のいずれか一つに記載の充填機。
- 第3のガス経路(32)が圧力充填のために閉鎖され、好ましくは常に閉鎖され、無圧充填のために開放され、好ましくは常に開放されるように、第3のガス経路制御弁(21.2)が制御装置(41)によって制御可能であることを特徴とする、請求項1〜12のいずれか一つに記載の充填機。
- 容積式充填のために、流量計として形成されたセンサ(24)が、それぞれの充填要素(1,1a,1b)とタンク(3)の液体室(4.2)の間の接続管路(23)内に設けられていることを特徴とする、請求項1〜13のいずれか一つに記載の充填機。
- 充填高さ制御式充填のために、充填要素(1c)がそれぞれ充填高さを測定するプローブ(38)を備えていることを特徴とする、請求項1〜14のいずれか一つに記載の充填機。
Applications Claiming Priority (2)
| Application Number | Priority Date | Filing Date | Title |
|---|---|---|---|
| DE102004017205.6 | 2004-04-10 | ||
| DE102004017205A DE102004017205A1 (de) | 2004-04-10 | 2004-04-10 | Füllmaschine umlaufender Bauart |
Publications (3)
| Publication Number | Publication Date |
|---|---|
| JP2005298066A true JP2005298066A (ja) | 2005-10-27 |
| JP2005298066A5 JP2005298066A5 (ja) | 2008-05-22 |
| JP4794196B2 JP4794196B2 (ja) | 2011-10-19 |
Family
ID=34895511
Family Applications (1)
| Application Number | Title | Priority Date | Filing Date |
|---|---|---|---|
| JP2005111603A Expired - Fee Related JP4794196B2 (ja) | 2004-04-10 | 2005-04-08 | 回転構造の充填機 |
Country Status (9)
| Country | Link |
|---|---|
| US (1) | US7469726B2 (ja) |
| EP (1) | EP1584601B1 (ja) |
| JP (1) | JP4794196B2 (ja) |
| CN (1) | CN1680185B (ja) |
| AT (1) | ATE415375T1 (ja) |
| BR (1) | BRPI0501659B1 (ja) |
| DE (2) | DE102004017205A1 (ja) |
| PL (1) | PL1584601T3 (ja) |
| RU (1) | RU2358892C2 (ja) |
Cited By (9)
| Publication number | Priority date | Publication date | Assignee | Title |
|---|---|---|---|---|
| JP2009543739A (ja) * | 2006-07-18 | 2009-12-10 | カーハーエス・アクチエンゲゼルシヤフト | 充填閉鎖装備と充填機械 |
| JP2010507536A (ja) * | 2006-10-24 | 2010-03-11 | カーハーエス・アクチエンゲゼルシヤフト | 充填機械 |
| JP2010519141A (ja) * | 2007-02-23 | 2010-06-03 | カーハーエス・アクチエンゲゼルシヤフト | 背圧下においてボトルまたは同様の容器に液状充填物を充填するための方法およびこの方法を実施するための充填機械 |
| JP2010521385A (ja) * | 2007-03-23 | 2010-06-24 | カーハーエス・アクチエンゲゼルシヤフト | 不加圧の高温充填のための充填システム |
| JP2012528765A (ja) * | 2009-06-05 | 2012-11-15 | シデル エッセ.ピ.ア. コン ソシオ ウニコ | 充填装置、充填装置の製造方法、および充填方法 |
| JP2013532618A (ja) * | 2010-07-28 | 2013-08-19 | カーハーエス・ゲゼルシャフト・ミト・ベシュレンクテル・ハフツング | 充填装置 |
| JP2016511199A (ja) * | 2013-02-25 | 2016-04-14 | カーハーエス・ゲゼルシャフト・ミト・ベシュレンクテル・ハフツング | 充填システム及び充填機 |
| JP2021515732A (ja) * | 2018-03-12 | 2021-06-24 | イーバー イニシアチブズ リミテッドEbar Initiatives Ltd | ディスペンサーシステム及び使用方法 |
| JP2026003857A (ja) * | 2024-06-25 | 2026-01-14 | 三菱重工機械システム株式会社 | 液体充填装置および飲料の製造方法 |
Families Citing this family (44)
| Publication number | Priority date | Publication date | Assignee | Title |
|---|---|---|---|---|
| DE10359492B3 (de) * | 2003-12-13 | 2005-09-15 | Khs Maschinen- Und Anlagenbau Ag | Füllelement für eine Füllmaschine |
| EP1628024A3 (de) * | 2004-08-21 | 2009-07-29 | Khs Ag | Langzeit-Schmiersystem bei einem Lager für eine Welle |
| DE102006017706A1 (de) * | 2006-04-15 | 2007-10-25 | Khs Ag | Füllelemente sowie Füllmaschine mit einem Füllelement |
| DE102007015752A1 (de) * | 2007-03-30 | 2008-10-02 | Khs Ag | Verfahren sowie Füllsystem zum Füllen von Beutelverpackungen |
| DE102007022259A1 (de) * | 2007-05-09 | 2009-01-15 | Khs Ag | Füllsystem sowie Verfahren zum Steuern eines Füllsystems |
| DE102007030559B4 (de) * | 2007-06-30 | 2010-02-18 | Khs Ag | Verfahren zum Füllen von Flaschen oder dergleichen Behältern sowie Füllsystem |
| DE102007048934A1 (de) * | 2007-10-12 | 2009-04-16 | Krones Ag | Vorrichtung zum Abfüllen von Getränken |
| FR2942787A1 (fr) * | 2009-03-04 | 2010-09-10 | Wine In Tube Wit France | Dispositif pour fractionner un volume de liquide |
| FR2945800A1 (fr) * | 2009-05-20 | 2010-11-26 | Serac Group | Procede de transport de recipients par support partiel de ceux-ci et installation mettant en oeuvre ce procede |
| EP2445825B1 (en) * | 2009-06-26 | 2016-06-29 | SIDEL S.p.A. con Socio Unico | Liquid bottling method and machine, in particular for carbonated liquids or oxygen sensitive liquids |
| DE102009040924A1 (de) * | 2009-09-11 | 2011-03-24 | Khs Gmbh | Anlage zum sterilen Abfüllen von Produkten, insbesondere von Getränken in Flaschen oder dergleichen Behälter |
| DE102009050388A1 (de) * | 2009-10-22 | 2011-04-28 | Krones Ag | Vorrichtung und Verfahren zum verlustfreien Abfüllen von kontinuierlich gemischten Medien in Behältnisse |
| DE102010024522A1 (de) * | 2010-06-21 | 2011-12-22 | Khs Gmbh | Verfahren sowie Füllelement zum Druckfüllen von Behältern mit einem flüssigen Füllgut |
| DE102010027512A1 (de) * | 2010-07-16 | 2012-01-19 | Khs Gmbh | Füllelement, Verfahren sowie Füllsystem zum Füllen von Behältern |
| DE102010047883A1 (de) * | 2010-10-11 | 2012-04-12 | Khs Gmbh | Verfahren sowie Füllsystem zum volumen- und/oder mengengesteuerten Füllen von Behältern |
| US9428373B2 (en) * | 2011-04-06 | 2016-08-30 | Mitsubishi Heavy Industries Food & Packaging Machine Co., Ltd. | Rotary-type filling machine and method for calculating filling quantity for rotary-type filling machine |
| DE102011116469A1 (de) * | 2011-10-20 | 2013-04-25 | Khs Gmbh | Verfahren sowie Füllmaschine zum Füllen von Flaschen oder dgl. Behältern (2) mit einem flüssigen Füllgut |
| DE102011120164A1 (de) * | 2011-12-06 | 2013-06-06 | Khs Gmbh | Füllelement sowie Füllsystem |
| ITPD20120028A1 (it) * | 2012-02-07 | 2013-08-08 | Mbf Spa | Macchina riempitrice di contenitori con liquidi, e procedimento di riempimento di contenitori, in particolare mediante detta macchina riempitrice |
| ITTO20120240A1 (it) * | 2012-03-19 | 2013-09-20 | Sidel Spa Con Socio Unico | Dispositivo di riempimento |
| US11014696B2 (en) * | 2017-07-12 | 2021-05-25 | Vanrx Pharmasystems Inc. | Purgeable pharmaceutical fill needle |
| US10479536B2 (en) * | 2012-09-17 | 2019-11-19 | Portland Outdoors, Llc | System, methods and apparatus for urine collection and storage |
| ITMI20131163A1 (it) * | 2013-07-10 | 2015-01-11 | Smi Spa | Dispositivo di riempimento |
| DE102013108638A1 (de) * | 2013-08-09 | 2015-03-05 | Khs Gmbh | Verfahren sowie System zum Spülen von Behältern |
| DE102013109430A1 (de) * | 2013-08-30 | 2015-03-05 | Khs Gmbh | Verfahren sowie Füllsystem zum Füllen von Behältern |
| CN103832959B (zh) * | 2014-03-24 | 2016-02-17 | 安徽天地高纯溶剂有限公司 | 一种高纯溶剂自动灌装线 |
| KR101605718B1 (ko) * | 2014-07-31 | 2016-03-24 | 세메스 주식회사 | 액 공급 유닛 및 이를 가지는 기판 처리 장치 |
| EP2987617B1 (de) * | 2014-08-20 | 2017-09-27 | Krones AG | Ventilblock für eine Behandlungsstation einer Formfüllmaschine und Formfüllmaschine mit einem solchen Ventilblock |
| DE102016107622A1 (de) * | 2016-04-25 | 2017-10-26 | Khs Gmbh | Verfahren zur Steuerung einer Getränkefüllanlage |
| DE102016118474A1 (de) * | 2016-09-29 | 2018-03-29 | Krones Ag | Vorrichtung zum Beeinflussen des Volumenstroms eines Füllprodukts in einer Abfüllanlage |
| IT201600128045A1 (it) * | 2016-12-19 | 2018-06-19 | Weightpack Srl | Macchina riempitrice a peso netto con pompa volumetrica |
| CN107381475B (zh) * | 2017-06-27 | 2019-03-15 | 江苏新美星包装机械股份有限公司 | 一种用于颗粒饮料的灌装方法 |
| US11498823B2 (en) | 2018-06-21 | 2022-11-15 | Dai Nippon Printing Co., Ltd. | Carbonated beverage aseptic filling system, beverage filling system, and CIP processing method |
| DE102018122062B4 (de) * | 2018-09-11 | 2021-07-08 | Khs Gmbh | Vorrichtung und Verfahren zum Befüllen von Behältern mit einem flüssigen Füllgut |
| DE102018217836A1 (de) * | 2018-10-18 | 2020-04-23 | Krones Ag | Verfahren zum Abfüllen von Getränken in Flaschen und Füllmaschine |
| DE102018127592B4 (de) * | 2018-11-06 | 2020-07-16 | Khs Gmbh | Füllelement, Füllsystem und Verfahren zum Füllen von Behältern |
| CN109534265A (zh) * | 2018-11-29 | 2019-03-29 | 安徽信远包装科技有限公司 | 小桶液体全自动计量灌装方法 |
| DE102018131077A1 (de) | 2018-12-05 | 2020-06-10 | Krones Ag | Vorrichtung und Verfahren zum Abfüllen eines Füllprodukts in einen zu befüllenden Behälter in einer Getränkeabfüllanlage |
| CN110668378B (zh) * | 2019-10-15 | 2021-06-11 | 徐莎莎 | 一种单单元或多单元兼用的各类饮料添加机 |
| JP7457235B2 (ja) * | 2020-02-18 | 2024-03-28 | 澁谷工業株式会社 | 充填装置 |
| BE1028396B1 (nl) | 2020-06-15 | 2022-01-24 | Vroman Nv | Werkwijze voor het afvullen van vloeistoffen voor de automobielindustrie |
| DE102020129102A1 (de) * | 2020-11-04 | 2022-05-05 | Krones Aktiengesellschaft | Füllorgan und Vorrichtung zum Befüllen eines Behälters mit einem Füllprodukt |
| DE102020130628A1 (de) * | 2020-11-19 | 2022-05-19 | Krones Aktiengesellschaft | Multifunktionale Vorrichtung zum Befüllen von Behältern mit einem Füllprodukt |
| US20250136425A1 (en) * | 2023-10-31 | 2025-05-01 | Midea Group Co., Ltd. | Systems For Filling Fluid Receptacles |
Citations (2)
| Publication number | Priority date | Publication date | Assignee | Title |
|---|---|---|---|---|
| EP0705788A2 (de) * | 1994-09-24 | 1996-04-10 | KHS Maschinen- und Anlagenbau Aktiengesellschaft | Verfahren zum Abfüllen eines flüssigen Füllgutes in Flaschen oder dergl. Behälter |
| EP1216952A2 (de) * | 2000-12-23 | 2002-06-26 | KHS Maschinen- und Anlagenbau Aktiengesellschaft | Füllmaschine |
Family Cites Families (11)
| Publication number | Priority date | Publication date | Assignee | Title |
|---|---|---|---|---|
| DE3842578A1 (de) * | 1988-12-17 | 1990-06-21 | Holstein & Kappert Maschf | Fuellmaschine zum abfuellen von fluessigkeiten in gefaesse |
| DE4213737A1 (de) * | 1991-10-17 | 1993-04-22 | Seitz Enzinger Noll Masch | Verfahren zum fuellen von flaschen oder dergleichen behaelter mit einem fluessigen fuellgut sowie vorrichtung zum durchfuehren dieses verfahrens |
| DE4225476C2 (de) * | 1992-08-01 | 2001-02-22 | Khs Masch & Anlagenbau Ag | Anordnung zum Füllen von Flaschen oder dergleichen Behältern |
| DE4324592C1 (de) * | 1993-07-22 | 1995-01-12 | Kronseder Maschf Krones | Verfahren und Vorrichtung zum Einfüllen einer Flüssigkeit in Gefäße |
| DE9311427U1 (de) * | 1993-07-31 | 1994-09-08 | Krones Ag Hermann Kronseder Maschinenfabrik, 93073 Neutraubling | Vorrichtung zum Füllen von Gefäßen mit einer Flüssigkeit |
| DE9417044U1 (de) * | 1994-10-22 | 1994-12-15 | Khs Maschinen- Und Anlagenbau Ag, 47057 Duisburg | Hubvorrichtung für Behälterträger einer Füllmaschine umlaufender Bauart |
| DE29510860U1 (de) * | 1995-07-05 | 1995-10-12 | KHS Maschinen- und Anlagenbau AG, 44143 Dortmund | Füllelement |
| DE19818762A1 (de) * | 1998-04-27 | 1999-10-28 | Khs Masch & Anlagenbau Ag | Füllsystem sowie Füllelement |
| DE19939521B4 (de) * | 1999-03-04 | 2005-10-20 | Khs Masch & Anlagenbau Ag | Verfahren zur sauerstoffarmen Abfüllung von Getränken |
| DE20315253U1 (de) * | 2003-10-02 | 2003-12-24 | Khs Maschinen- Und Anlagenbau Ag | Behandlungsmaschine für Behälter wie Flaschen, Dosen u.dgl. |
| DE102004015167B3 (de) * | 2004-03-27 | 2005-11-03 | Khs Maschinen- Und Anlagenbau Ag | Füllelement |
-
2004
- 2004-04-10 DE DE102004017205A patent/DE102004017205A1/de not_active Ceased
-
2005
- 2005-03-17 DE DE502005006037T patent/DE502005006037D1/de not_active Expired - Lifetime
- 2005-03-17 EP EP05005816A patent/EP1584601B1/de not_active Expired - Lifetime
- 2005-03-17 AT AT05005816T patent/ATE415375T1/de active
- 2005-03-17 PL PL05005816T patent/PL1584601T3/pl unknown
- 2005-04-08 RU RU2005110654/12A patent/RU2358892C2/ru not_active IP Right Cessation
- 2005-04-08 JP JP2005111603A patent/JP4794196B2/ja not_active Expired - Fee Related
- 2005-04-08 US US11/102,548 patent/US7469726B2/en active Active
- 2005-04-11 CN CN2005100649982A patent/CN1680185B/zh not_active Expired - Fee Related
- 2005-04-11 BR BRPI0501659-2A patent/BRPI0501659B1/pt not_active IP Right Cessation
Patent Citations (2)
| Publication number | Priority date | Publication date | Assignee | Title |
|---|---|---|---|---|
| EP0705788A2 (de) * | 1994-09-24 | 1996-04-10 | KHS Maschinen- und Anlagenbau Aktiengesellschaft | Verfahren zum Abfüllen eines flüssigen Füllgutes in Flaschen oder dergl. Behälter |
| EP1216952A2 (de) * | 2000-12-23 | 2002-06-26 | KHS Maschinen- und Anlagenbau Aktiengesellschaft | Füllmaschine |
Cited By (11)
| Publication number | Priority date | Publication date | Assignee | Title |
|---|---|---|---|---|
| JP2009543739A (ja) * | 2006-07-18 | 2009-12-10 | カーハーエス・アクチエンゲゼルシヤフト | 充填閉鎖装備と充填機械 |
| JP2010507536A (ja) * | 2006-10-24 | 2010-03-11 | カーハーエス・アクチエンゲゼルシヤフト | 充填機械 |
| JP2010519141A (ja) * | 2007-02-23 | 2010-06-03 | カーハーエス・アクチエンゲゼルシヤフト | 背圧下においてボトルまたは同様の容器に液状充填物を充填するための方法およびこの方法を実施するための充填機械 |
| JP2010521385A (ja) * | 2007-03-23 | 2010-06-24 | カーハーエス・アクチエンゲゼルシヤフト | 不加圧の高温充填のための充填システム |
| JP2012528765A (ja) * | 2009-06-05 | 2012-11-15 | シデル エッセ.ピ.ア. コン ソシオ ウニコ | 充填装置、充填装置の製造方法、および充填方法 |
| JP2013532618A (ja) * | 2010-07-28 | 2013-08-19 | カーハーエス・ゲゼルシャフト・ミト・ベシュレンクテル・ハフツング | 充填装置 |
| US9302895B2 (en) | 2010-07-28 | 2016-04-05 | Khs Gmbh | Filling machine |
| JP2016511199A (ja) * | 2013-02-25 | 2016-04-14 | カーハーエス・ゲゼルシャフト・ミト・ベシュレンクテル・ハフツング | 充填システム及び充填機 |
| JP2021515732A (ja) * | 2018-03-12 | 2021-06-24 | イーバー イニシアチブズ リミテッドEbar Initiatives Ltd | ディスペンサーシステム及び使用方法 |
| JP7455385B2 (ja) | 2018-03-12 | 2024-03-26 | イーバー イニシアチブズ リミテッド | ディスペンサーシステム及び使用方法 |
| JP2026003857A (ja) * | 2024-06-25 | 2026-01-14 | 三菱重工機械システム株式会社 | 液体充填装置および飲料の製造方法 |
Also Published As
| Publication number | Publication date |
|---|---|
| ATE415375T1 (de) | 2008-12-15 |
| EP1584601A1 (de) | 2005-10-12 |
| RU2005110654A (ru) | 2006-10-20 |
| US20050241726A1 (en) | 2005-11-03 |
| BRPI0501659A (pt) | 2005-11-16 |
| RU2358892C2 (ru) | 2009-06-20 |
| EP1584601B1 (de) | 2008-11-26 |
| CN1680185A (zh) | 2005-10-12 |
| US7469726B2 (en) | 2008-12-30 |
| BRPI0501659B1 (pt) | 2017-06-20 |
| DE502005006037D1 (de) | 2009-01-08 |
| DE102004017205A1 (de) | 2005-10-27 |
| CN1680185B (zh) | 2010-12-08 |
| JP4794196B2 (ja) | 2011-10-19 |
| PL1584601T3 (pl) | 2009-05-29 |
Similar Documents
| Publication | Publication Date | Title |
|---|---|---|
| JP4794196B2 (ja) | 回転構造の充填機 | |
| US10934148B2 (en) | Filler machine | |
| JP4459766B2 (ja) | ボトル、カン等のような容器のための処理機械 | |
| EP0080774B1 (en) | Container actuated counterpressure filling valve | |
| CN100546901C (zh) | 用于灌装机的灌装单元及具有这种灌装单元的灌装机 | |
| CN101941664B (zh) | 电子式液体灌装装置 | |
| US4938261A (en) | Apparatus for filling cans with a liquid | |
| EP2267344A1 (en) | Device for dispensing effervescent beverages and a three-way valve | |
| CN101704495B (zh) | 一种灌封机的真空定量灌装的方法及设备 | |
| US8776839B2 (en) | Filling element and filling machine for filling bottles or similar containers | |
| RU2012141643A (ru) | Устройство ускоренного заваривания при низком давлении | |
| JP2010521385A (ja) | 不加圧の高温充填のための充填システム | |
| US8091591B2 (en) | Device for filling vessels | |
| US20140174597A1 (en) | Filling machine, in particular for filling a container with a pasteurized liquid | |
| JPH08295396A (ja) | 液体充填方法及び装置 | |
| CN101228089A (zh) | 具有可处于三种位置的阀杆的灌装阀 | |
| WO2007094049A1 (ja) | 充填バルブ | |
| JPH07267297A (ja) | 充填バルブ | |
| JPH0744740U (ja) | 炭酸入り液体を圧力下で吐出する吐出コック | |
| JP2008050029A (ja) | 充填装置 | |
| JP3486218B2 (ja) | サイフォン式充填装置 | |
| JP6125892B2 (ja) | 充填バルブ | |
| JP2005289421A (ja) | 充填バルブ | |
| JP2006062660A (ja) | 充填バルブ | |
| JP3519442B2 (ja) | 容器充填装置 |
Legal Events
| Date | Code | Title | Description |
|---|---|---|---|
| A521 | Request for written amendment filed |
Free format text: JAPANESE INTERMEDIATE CODE: A523 Effective date: 20080407 |
|
| A621 | Written request for application examination |
Free format text: JAPANESE INTERMEDIATE CODE: A621 Effective date: 20080407 |
|
| RD04 | Notification of resignation of power of attorney |
Free format text: JAPANESE INTERMEDIATE CODE: A7424 Effective date: 20100519 |
|
| A131 | Notification of reasons for refusal |
Free format text: JAPANESE INTERMEDIATE CODE: A131 Effective date: 20110308 |
|
| A521 | Request for written amendment filed |
Free format text: JAPANESE INTERMEDIATE CODE: A523 Effective date: 20110518 |
|
| TRDD | Decision of grant or rejection written | ||
| A01 | Written decision to grant a patent or to grant a registration (utility model) |
Free format text: JAPANESE INTERMEDIATE CODE: A01 Effective date: 20110628 |
|
| A01 | Written decision to grant a patent or to grant a registration (utility model) |
Free format text: JAPANESE INTERMEDIATE CODE: A01 |
|
| A61 | First payment of annual fees (during grant procedure) |
Free format text: JAPANESE INTERMEDIATE CODE: A61 Effective date: 20110726 |
|
| R150 | Certificate of patent or registration of utility model |
Free format text: JAPANESE INTERMEDIATE CODE: R150 |
|
| FPAY | Renewal fee payment (event date is renewal date of database) |
Free format text: PAYMENT UNTIL: 20140805 Year of fee payment: 3 |
|
| R250 | Receipt of annual fees |
Free format text: JAPANESE INTERMEDIATE CODE: R250 |
|
| R250 | Receipt of annual fees |
Free format text: JAPANESE INTERMEDIATE CODE: R250 |
|
| R250 | Receipt of annual fees |
Free format text: JAPANESE INTERMEDIATE CODE: R250 |
|
| R250 | Receipt of annual fees |
Free format text: JAPANESE INTERMEDIATE CODE: R250 |
|
| LAPS | Cancellation because of no payment of annual fees |
