JP2005294746A - プリント配線基板およびこの製造方法 - Google Patents

プリント配線基板およびこの製造方法 Download PDF

Info

Publication number
JP2005294746A
JP2005294746A JP2004111207A JP2004111207A JP2005294746A JP 2005294746 A JP2005294746 A JP 2005294746A JP 2004111207 A JP2004111207 A JP 2004111207A JP 2004111207 A JP2004111207 A JP 2004111207A JP 2005294746 A JP2005294746 A JP 2005294746A
Authority
JP
Japan
Prior art keywords
metal foil
pattern
adhesive
conductive
patterns
Prior art date
Legal status (The legal status is an assumption and is not a legal conclusion. Google has not performed a legal analysis and makes no representation as to the accuracy of the status listed.)
Granted
Application number
JP2004111207A
Other languages
English (en)
Other versions
JP4427374B2 (ja
Inventor
Michifumi Saito
理史 斎藤
Ikuo Hibino
郁夫 日比野
Current Assignee (The listed assignees may be inaccurate. Google has not performed a legal analysis and makes no representation or warranty as to the accuracy of the list.)
Alps Alpine Co Ltd
Original Assignee
Alps Electric Co Ltd
Priority date (The priority date is an assumption and is not a legal conclusion. Google has not performed a legal analysis and makes no representation as to the accuracy of the date listed.)
Filing date
Publication date
Application filed by Alps Electric Co Ltd filed Critical Alps Electric Co Ltd
Priority to JP2004111207A priority Critical patent/JP4427374B2/ja
Publication of JP2005294746A publication Critical patent/JP2005294746A/ja
Application granted granted Critical
Publication of JP4427374B2 publication Critical patent/JP4427374B2/ja
Anticipated expiration legal-status Critical
Expired - Fee Related legal-status Critical Current

Links

Images

Landscapes

  • Printing Elements For Providing Electric Connections Between Printed Circuits (AREA)
  • Structure Of Printed Boards (AREA)

Abstract

【課題】 本発明は、導電パターンと金属箔パターンとを低コストの絶縁性接着剤で接着して低価格のプリント配線基板を提供すること。
【解決手段】 本発明のプリント配線基板1は、絶縁基板2上に形成した複数の導電パターン3と、この複数の導電パターン3にそれぞれ電気的に接続された複数の金属箔パターン5とを備え、導電パターン3と金属箔パターン5とは、隣り合う導電パターン3間、および隣り合う金属箔パターン5間に位置する絶縁性の接着剤4により接着されて、互いに電気的に接続されている。
【選択図】 図1



Description

本発明は、各種電子機器に使用されるプリント配線基板およびこの製造方法に係わり、特に導電パターンと金属箔パターンとを確実に接続することができるプリント配線基板およびこの製造方法に関する。
従来のプリント配線基板は、図10、図11に示すように、絶縁基板21上に複数の導電パターン22が形成され、これらの導電パターン22の端部側を被覆する面積が大きな異方性導電性接着膜23が配設されている。
また、異方性導電性接着膜23上で、複数の導電パターン22の端部と対向する部分には、複数の金属箔パターン24が、絶縁基板21の図示左端部方向に延出形成されている。即ち、導電パターン22と金属箔パターン24とは、異方性導電性接着膜23を介して電気的に接続している。
そして、、絶縁基板21の図示左端部方向に延びる金属箔パターン24の互いに隣り合う間隔寸法は、導電パターン22の互いに隣り合う間隔寸法より幅狭に形成されている。
このような従来のプリント配線基板の製造方法は、図示を省略するが、まず最初に、所定の大きさからなる離型シートの全面にコートにより異方性導電性接着剤膜23を所定の厚さに形成する。即ち、異方性導電性接着剤膜23は、一方の面に剥離シートが張り付けされている。
その後、異方性導電性接着剤膜23の他方の面に、銅箔等からなる1枚の金属箔を貼り付ける。
次ぎに、異方性導電性接着剤膜23の他方の面に貼り付けた1枚の金属箔を、エッチング加工により部分的に除去して、所定ピッチ寸法で複数の金属箔パターン24をパターン状に形成する。
続いて、金属箔パターン24が形成された異方性導電性接着剤膜23の他方の面側に、粘着力が弱い微粘着シートを貼り付ける。
即ち、異方性導電性接着剤膜23は、一方の面に離型シートが貼り付けられると共に、他方の面に複数の金属箔パターン24が形成されている。
また、絶縁基板21の表面に、スクリーン印刷法により導電ペーストを印刷して導電パターン22を形成する。
次ぎに、剥離シートを剥離した異方性導電性接着剤膜23の一方の面を、絶縁基板21に重ね合わせる。
この時の導電パターン22と金属箔パターン24とは、異方性導電性接着剤膜23を介して互いに対向するように位置決めされている。
この状態で、所定温度に加熱した加圧ポンチを、金属箔パターン24を介して異方性導電性接着剤膜23を導電パター22および絶縁基板21の表面に圧接する。このことにより、金属箔パターン24が異方性導電性接着剤膜23を介して絶縁基板21表面に接着されると共に、導電パターン22と金属箔パターン24とが電気的に導通する。
また、互いに隣り合う金属箔パターン24間が異方性導電性接着剤膜23で絶縁されて、図10、図11に示すような従来のプリント配線基板が製造されている。
特開2003−243788号公報
しかし、従来のプリント配線基板は、異方性導電性接着剤膜23が高価であったので、コストアップになる問題があった。
本発明は、前述したような課題を解決するために、導電パターンと金属箔パターンとを低コストの絶縁性接着剤で接着して低価格のプリント配線基板を提供することを目的とする。
前記課題を解決するための第1の解決手段として本発明のプリント配線基板は、絶縁基板上に形成した複数の導電パターンと、この複数の導電パターンにそれぞれ電気的に接続された複数の金属箔パターンとを備え、前記導電パターンと前記金属箔パターンとは、隣り合う前記導電パターン間、および隣り合う前記金属箔パターン間に位置する絶縁性の接着剤により接着されて、互いに電気的に接続されていることを特徴とする。
また、前記課題を解決するための第2の解決手段として、前記接着剤は、フィルム状に形成され、このフィルム状の接着剤を挟持した前記導電パターンおよび前記金属箔パターンの少なくとも前記金属箔パターンを加熱・加圧することにより、前記導電パターンと前記金属箔パターンとの間から押し出された前記接着剤が、前記隣り合う導電パターン間、および前記隣り合う金属箔パターン間に位置していることを特徴とする。
また、前記課題を解決するための第3の解決手段として、前記導体パターンには、金属粒子が含有され、前記金属粒子は、少なくとも銀粉が含有されていることを特徴とする。
また、前記課題を解決するための第4の解決手段として、前記導電パターンおよび前記金属箔パターンは、少なくとも互いに対向するいずれか一方の面が凹凸状に形成されていることを特徴とする。
また、前記課題を解決するための第5の解決手段として、前記導電パターンは、粒径の異なる少なくとも2種類の前記金属粒子を含有させた導電ペーストにより形成されていることを特徴とする。
また、前記課題を解決するための第6の解決手段として本発明のプリント配線基板の製造方法は、絶縁基板上に導電ペーストを印刷して複数の導電パターンを形成し、この導電パターン上に、フィルム状に形成された絶縁性の接着剤を介して複数の金属箔パターンを対向させて載置し、前記金属箔パターンを所定の温度と圧力で加熱・加圧して前記導電パターに圧接することにより、前記加熱で軟化した前記接着剤が前記導電パターンと前記金属パターンとの間から押し出されて、隣り合う前記導電パターン間、および隣り合う前記金属箔パターン間に位置し、前記導電性パターンと前記金属箔パターンとが前記接着剤で接着される共に、前記導電パターンと前記金属箔パターンとが電気的に接続されることを特徴とする。
また、前記課題を解決するための第7の解決手段として、前記複数の金属箔パターンは、1枚の金属箔をプレス加工またはエッチング加工により短冊状に形成されて、前記接着剤の一方の面に所定のピッチ寸法で接着されていることを特徴とする。
また、前記課題を解決するための第8の解決手段として、前記1枚の金属箔は、プレス加工またはエッチング加工により、両端部が連結部で連結された複数のスリット溝を形成し、このスリット溝が形成された前記1枚の金属箔を前記フィルム状の接着剤の一方の面に接着して前記連結部を切断することにより、前記接着剤の一方の面には、短冊状に分離された前記金属箔パターンが接着されて一体形成されることを特徴とする。
また、前記課題を解決するための第9の解決手段として、前記接着剤は、前記一方の面と反対側の他方の面に剥離シートを貼着し、この剥離シートを剥離して、前記金属箔パターンを前記接着剤を介して前記導電パターンに加熱・加圧して圧接するようにしたことを特徴とする。
また、前記課題を解決するための第10の解決手段として、前記導電パターンと前記金属箔パターンとは、少なくともいずれか一方の互いに対向する面が、サンドブラスト加工により凹凸状に形成されていることを特徴とする。
本発明のプリント配線基板は、導電パターンと金属箔パターンとは、隣り合う導電パターン間、および隣り合う金属箔パターン間に位置する絶縁性の接着剤により接着されて、互いに電気的に接続されているので、導電パターンと金属箔パターンとの端面を低コストの接着剤で強固に接着できる。そのために、低コストのプリンタ配線基板を提供できる。
また、導電パターンに、銀粉を含有させたとしても、隣り合うパターン間が絶縁性の接着剤で遮蔽されて、銀が析出するマイグレーションの発生を防止できる。
また、接着剤は、フィルム状に形成され、このフィルム状の接着剤を挟持した導電パターンおよび金属箔パターンの少なくとも金属箔パターンを加熱・加圧することにより、導電パターンと金属箔パターンとの間から押し出された接着剤が、隣り合う導電パターン間、および隣り合う金属箔パターン間に位置しているので、導電パターンと金属箔パターンとの間から押し出された接着剤によって、導電パターンと金属箔パターンとを確実で強固に接着することができる。
また、導体パターンには、金属粒子が含有され、前記金属粒子は、少なくとも銀粉が含有されているので、回路抵抗を低く抑えることができるプリント配線基板を提供できる。
また、導電パターンおよび金属箔パターンは、少なくとも互いに対向するいずれか一方の面が凹凸状に形成されているので、金属箔パターンを導電パターンに加熱・加圧しても、表面の凹部に残った接着剤で、導電パターンと金属箔パターンとの端面だけでなく、互いに対向する平面部分でも接着することが、更に強固な接着力で導電パターンと金属箔パターンとを接着することができる。
また、導電パターンは、粒径の異なる少なくとも2種類の金属粒子を含有させた導電ペーストにより形成されているので、導電パターンの表面が凹凸状になって、凹部に適量の接着剤を残すことができる。そのために、導電パターンと金属箔パターンとの互いに対向する平面部分で強固に接着することができる。
また、本発明のプリント配線基板の製造方法は、金属箔パターンを所定の温度と圧力で加熱・加圧して導電パターに圧着することにより、加熱で軟化した接着剤が導電パターンと金属パターンとの間から押し出されて、隣り合う導電パターン間、および隣り合う金属箔パターン間に位置し、導電性パターンと金属箔パターンとが接着剤で接着される共に、導電パターンと金属箔パターンとが電気的に接続されるので、製造が容易なプリント配線基板を提供できる。
また、複数の金属箔パターンは、1枚の金属箔をプレス加工またはエッチング加工により短冊状に形成されて、接着剤の一方の面に所定のピッチ寸法で接着されているので、金属箔パターンの取り扱いが容易となり、製造効率を向上させることができる。
また、1枚の金属箔は、プレス加工またはエッチング加工により、両端部が連結部で連結された複数のスリット溝を形成し、このスリット溝が形成された1枚の金属箔をフィルム状の接着剤の一方の面に接着して連結部を切断することにより、接着剤の一方の面には、短冊状に分離された金属箔パターンが接着されて一体形成されるので、金属パターンを容易に接着剤と一体形成することができる。
また、接着剤は、一方の面と反対側の他方の面に剥離シートが貼着され、この剥離シートを剥離して、金属箔パターンを接着剤を介して導電パターンに加熱・加圧して圧接するようにしたので、導電パターン上に載置するまでのフィルム状の接着剤は、他方の面が剥離シートで覆われており、他方の面側にゴミ等が付着して接着力が低下するのを防止できる。
また、導電パターンと金属箔パターンとは、少なくともいずれか一方の互いに対向する面が、サンドブラスト加工により凹凸状に形成されているので、凹部に接着剤が残って導電パターンと金属箔パターンとを確実に接着することができる。
以下に、本発明のプリント配線基板およびこの製造方法について、図面に基づいて説明する。図1は本発明のプリント配線基板の平面図であり、図2は図1の2−2断面図であり、図3は図1の3−3断面図であり、図4は本発明に係わる接着剤に金属パターンを接着した平面図であり、図5は図4の5−5断面図であり、図6は、本発明に係わる金属箔パターンの製造方法を説明する金属箔の平面図であり、図7は本発明に係わる絶縁基板の平面図であり、図8は図7の8−8断面図であり、図9は本発明のプリント配線基板の製造方法を説明する概略図である。
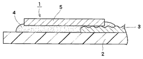
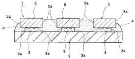
まず、本発明のプリント配線基板1は、図1〜図3に示すように、最下部にフレキシブル基板(FPC)からなる絶縁基板2が配設され、この絶縁基板2の上面に複数の導電パターン3が形成されている。
前記導電パターン3は、銀等の金属粒子を含有させた導電ペーストを、スクリーン印刷により図7に示すようなパターン状に所定厚さで形成されて、図示左端部側のピッチ寸法が図示右側のピッチ寸法よりも幅狭になっている。
また、導電パターン2は、粒径の異なる少なくとも2種類の金属粒子を含有させた導電ペーストを用いて形成され、図8に示すように、表面が凹凸状になっている。
また、導電パターン3の図示左端部寄りの表面を含む絶縁基板2の図示左端部寄りの上面には、絶縁性の接着剤4が配設されている。この接着剤4は、例えば硬化時の収縮が小さなエポキシ樹脂材料、あるいはアクリル系、ウレタン系等を用いている。
前記絶縁性の接着剤4は、図4、図5に示すように、所定厚さで面積の広いシート状に形成され、一方の面である上面には、形状が短冊状の複数の金属箔パターン5が、導電パターン3の左端部側のピッチ寸法と同じピッチ寸法で接着されている。
また、接着剤4の他方の面である下面側には、PET等のフィルムシートからなる剥離シート6が接着されて、接着剤4の下面側にゴミ等が付着しないようになっている。
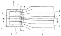
前記接一方の面に金属箔パターン5を張り付けした接着剤4の製造方法は、図6に示すような、銅またはリン青銅等の1枚の金属箔Kを、プレス加工、またはエッチング加工等により、所定の幅寸法と長さ寸法で複数のスリット溝5aを形成する。
前記スリット溝5aは、長手方向である図示左右両端部が、それぞれ連結部5bで連結されている。また、スリット溝5aは、ピッチ寸法が導電パターン3の左端部側のピッチ寸法と同じに形成されている。
このような複数のスリット溝5aが形成された金属箔Kは、下面側がシート状の接着剤4を介して剥離シート6に接着されて、スリット溝5aから接着剤4が露出している。
そして、金属箔Kは、図6に示すスリット溝5aの左右両端部寄りの切断線Sからプレス等で連結部5bを切断すると、図4、図5に示すように、短冊状に分離された複数の金属箔パターン5が接着剤4の一方の面に接着されて、接着剤4と金属箔パターン5、および剥離シート6が一体形成されている。
前記複数の金属箔パターン5を一方の面に接着したフィルム状の接着剤4は、剥離シート6を剥離して導電パターン3の図示左端部側を覆うように絶縁基板2上に載置して、金属箔パターン5を加熱・加圧することにより、導電パターン3と金属箔パターン5との間のフィルム状の接着剤4が軟化して、導電パターン3と金属箔パターン5との間から押し出される。
このことにより、導電パターン3と金属箔パターン5とが電気的に導通するようになっている。
また、導電パターン3と金属箔パターン5との間から押し出されて、隣り合う導電体パターン3間、および隣り合う金属箔パターン5間に位置する絶縁性の接着剤4によって、導電パターン3と金属箔パターン5とのそれぞれの端面3a、5aが所定の接着強度で接着されるようになっている。
また、導電パターン3は、粒径の異なる少なくとも2種類の金属粒子を含有させた導電ペーストで形成されて、表面が凹凸状になっているので、凹部に残った接着剤4によって、導電パターン3と金属箔パターン5との接着強度を更に強固にすることができる。
尚、本発明の実施の形態では、金属箔Kを、図6に示すように、接着剤4と金属箔パターン5、および剥離シート6を一体化した状態で、左右両方の切断線Sから左右2箇所の連結部5bを切断することで説明したが、図示を省略するが、いずれか一方の切断線からいずれか一方の連結部5bを切断し、切断されてないいずれか他方の連結部5bの端部を絶縁基板2の図示左側の端部と位置合わせして張り合わせ、その後、切断されてない、いずれか他方の連結部5bを絶縁基板2の端部寄りも含めて切断するようにしても良い。
このような構成の本発明のプリント配線基板1の製造方法は、銀等からなる粒径の異なる少なくとも2種類の金属粒子を含有させた導電ペーストを用いて、絶縁基板2の表面に複数の導電パターン3をスクリーン印刷等で形成する。
次ぎに、図9に示すように、短冊状の金属箔パターン5を一方の面に接着すると共に、他方の面に離型シート6を接着したフィルム状の接着剤4を、他方の面から剥離シート6を剥離して、導電パターン3の図示左端部上に載置する。
この時の接着剤4は、金属箔パターン5が接着剤4を介して導電パターン3と対向するように位置決めされている。
その後、温度を例えば略180°に上昇させた加圧ポンチ7により、金属箔パターン5を導電パターン3に所定の圧力で加圧することにより、接着剤4が温度上昇して軟化し、金属箔パターン5と導電パターン3との間から押し出される。
このことにより、金属箔パターン5と導電パターン3とが電気的に導通すると共に、金属箔パターン5と導電パターン3との間から押し出された接着剤4によって、金属箔パターン5と導電パターン3との幅方向の端面3a、5aが接着される。また、凹凸状に形成された導電パターン3の表面の凹部に残った接着剤4によって、更に強固に金属箔パターン5と導電パターン3とを接着することができる。
このような製造方法で製造された本発明のプリント配線基板1は、導電パターン3に低抵抗の銀からなる金属粒子を用いても、間隔が狭くなった図示左端部側の導電パターン3間に位置する絶縁性の接着剤4によって、銀が析出するマイグレーションの発生を防止できる。
また、本発明は、低コストの絶縁性の接着剤4を用いているので、低コストのプリント配線基板を提供できる。
尚、本発明の実施の形態では、粒径の異なる少なくとも2種類の金属粒子を含有させた導電ペーストを用いることによって、導電パターン3の表面を凹凸状にしたもので説明したが、導電パターン3と金属箔パターン5とは、少なくともいずれか一方の互いに対向する面が、砂あるいは砥粒材等を用いるサンドブラスト加工により凹凸状に形成したものでも良い。
また、金属箔パターン5の製造方法は、シート状の接着剤4に1枚の金属箔Kを接着し、その後、金属箔の一部をエッチング加工で短冊状の複数の金属箔5を形成したものでも良い。
本発明のプリント配線基板の平面図である。 図1の2−2断面図である。 図1の3−3断面図である。 本発明に係わる接着剤に金属パターンを接着した平面図である。 図4の5−5断面図である。 本発明に係わる金属箔パターンの製造方法を説明する平面図である。 本発明に係わる絶縁基板の平面図である。 図7の8−8断面図である。 本発明のプリント配線基板の製造方法を説明する概略図である。 従来のプリント配線基板の平面図である。 図10の要部断面図である。
符号の説明
1 本発明のプリント配線基板
2 絶縁基板
3 導電パターン
4 接着剤
5 金属箔パターン
6 剥離シート
7 加圧ポンチ

Claims (10)

  1. 絶縁基板上に形成した複数の導電パターンと、この複数の導電パターンにそれぞれ電気的に接続された複数の金属箔パターンとを備え、前記導電パターンと前記金属箔パターンとは、隣り合う前記導電パターン間、および隣り合う前記金属箔パターン間に位置する絶縁性の接着剤により接着されて、互いに電気的に接続されていることを特徴とするプリント配線基板。
  2. 前記接着剤は、フィルム状に形成され、このフィルム状の接着剤を挟持した前記導電パターンおよび前記金属箔パターンの少なくとも前記金属箔パターンを加熱・加圧することにより、前記導電パターンと前記金属箔パターンとの間から押し出された前記接着剤が、前記隣り合う導電パターン間、および前記隣り合う金属箔パターン間に位置していることを特徴とする請求項1記載のプリント配線基板。
  3. 前記導体パターンには、金属粒子が含有され、前記金属粒子は、少なくとも銀粉が含有されていることを特徴とする請求項1又は2記載のプリント配線基板。
  4. 前記導電パターンおよび前記金属箔パターンは、少なくとも互いに対向するいずれか一方の面が凹凸状に形成されていることを特徴とする請求項1乃至3記載のプリント配線基板。
  5. 前記導電パターンは、粒径の異なる少なくとも2種類の前記金属粒子を含有させた導電ペーストにより形成されていることを特徴とする請求項4記載のプリント配線基板。
  6. 絶縁基板上に導電ペーストを印刷して複数の導電パターンを形成し、この導電パターン上に、フィルム状に形成された絶縁性の接着剤を介して複数の金属箔パターンを対向させて載置し、前記金属箔パターンを所定の温度と圧力で加熱・加圧して前記導電パターに圧接することにより、前記加熱で軟化した前記接着剤が前記導電パターンと前記金属パターンとの間から押し出されて、隣り合う前記導電パターン間、および隣り合う前記金属箔パターン間に位置し、前記導電性パターンと前記金属箔パターンとが前記接着剤で接着される共に、前記導電パターンと前記金属箔パターンとが電気的に接続されることを特徴とするプリント配線基板の製造方法。
  7. 前記複数の金属箔パターンは、1枚の金属箔をプレス加工またはエッチング加工により短冊状に形成されて、前記接着剤の一方の面に所定のピッチ寸法で接着されていることを特徴とする請求項6記載のプリント配線基板の製造方法。
  8. 前記1枚の金属箔は、プレス加工またはエッチング加工により、両端部が連結部で連結された複数のスリット溝を形成し、このスリット溝が形成された前記1枚の金属箔を前記フィルム状の接着剤の一方の面に接着して前記連結部を切断することにより、前記接着剤の一方の面には、短冊状に分離された前記金属箔パターンが接着されて一体形成されることを特徴とする請求項7記載のプリント配線基板の製造方法。
  9. 前記接着剤は、前記一方の面と反対側の他方の面に剥離シートを貼着し、この剥離シートを剥離して、前記金属箔パターンを前記接着剤を介して前記導電パターンに加熱・加圧して圧接するようにしたことを特徴とする請求項6乃至8のいずれかに記載のプリント配線基板の製造方法。
  10. 前記導電パターンと前記金属箔パターンとは、少なくともいずれか一方の互いに対向する面が、サンドブラスト加工により凹凸状に形成されていることを特徴とする請求項6乃至9のいずれかに記載のプリント配線基板の製造方法。
JP2004111207A 2004-04-05 2004-04-05 プリント配線基板およびこの製造方法 Expired - Fee Related JP4427374B2 (ja)

Priority Applications (1)

Application Number Priority Date Filing Date Title
JP2004111207A JP4427374B2 (ja) 2004-04-05 2004-04-05 プリント配線基板およびこの製造方法

Applications Claiming Priority (1)

Application Number Priority Date Filing Date Title
JP2004111207A JP4427374B2 (ja) 2004-04-05 2004-04-05 プリント配線基板およびこの製造方法

Publications (2)

Publication Number Publication Date
JP2005294746A true JP2005294746A (ja) 2005-10-20
JP4427374B2 JP4427374B2 (ja) 2010-03-03

Family

ID=35327302

Family Applications (1)

Application Number Title Priority Date Filing Date
JP2004111207A Expired - Fee Related JP4427374B2 (ja) 2004-04-05 2004-04-05 プリント配線基板およびこの製造方法

Country Status (1)

Country Link
JP (1) JP4427374B2 (ja)

Cited By (2)

* Cited by examiner, † Cited by third party
Publication number Priority date Publication date Assignee Title
WO2019035370A1 (ja) * 2017-08-14 2019-02-21 住友電工プリントサーキット株式会社 フレキシブルプリント配線板
WO2019035278A1 (ja) * 2017-08-14 2019-02-21 住友電気工業株式会社 フレキシブルプリント配線板

Citations (8)

* Cited by examiner, † Cited by third party
Publication number Priority date Publication date Assignee Title
JPS62145602A (ja) * 1985-12-19 1987-06-29 住友ベークライト株式会社 導電性樹脂ペ−スト
JPH05152039A (ja) * 1991-09-27 1993-06-18 Teikoku Tsushin Kogyo Co Ltd フレキシブル基板の端子構造
JPH11214450A (ja) * 1997-11-18 1999-08-06 Matsushita Electric Ind Co Ltd 電子部品実装体とそれを用いた電子機器と電子部品実装体の製造方法
JP2001119131A (ja) * 1999-10-20 2001-04-27 Matsushita Electric Ind Co Ltd 電子部品実装体とそれを用いた電子機器と電子部品実装体の製造方法
JP2003243788A (ja) * 2002-02-20 2003-08-29 Alps Electric Co Ltd プリント配線基板及びその製造方法
JP2004039960A (ja) * 2002-07-05 2004-02-05 Matsushita Electric Ind Co Ltd 端子付き配線基板
JP2004039379A (ja) * 2002-07-02 2004-02-05 Sumitomo Electric Ind Ltd 導電性ペースト、導電性膜、及び導電性膜の製造方法
JP2004079710A (ja) * 2002-08-14 2004-03-11 Seiko Epson Corp 半導体装置及びその製造方法、回路基板並びに電子機器

Patent Citations (8)

* Cited by examiner, † Cited by third party
Publication number Priority date Publication date Assignee Title
JPS62145602A (ja) * 1985-12-19 1987-06-29 住友ベークライト株式会社 導電性樹脂ペ−スト
JPH05152039A (ja) * 1991-09-27 1993-06-18 Teikoku Tsushin Kogyo Co Ltd フレキシブル基板の端子構造
JPH11214450A (ja) * 1997-11-18 1999-08-06 Matsushita Electric Ind Co Ltd 電子部品実装体とそれを用いた電子機器と電子部品実装体の製造方法
JP2001119131A (ja) * 1999-10-20 2001-04-27 Matsushita Electric Ind Co Ltd 電子部品実装体とそれを用いた電子機器と電子部品実装体の製造方法
JP2003243788A (ja) * 2002-02-20 2003-08-29 Alps Electric Co Ltd プリント配線基板及びその製造方法
JP2004039379A (ja) * 2002-07-02 2004-02-05 Sumitomo Electric Ind Ltd 導電性ペースト、導電性膜、及び導電性膜の製造方法
JP2004039960A (ja) * 2002-07-05 2004-02-05 Matsushita Electric Ind Co Ltd 端子付き配線基板
JP2004079710A (ja) * 2002-08-14 2004-03-11 Seiko Epson Corp 半導体装置及びその製造方法、回路基板並びに電子機器

Cited By (6)

* Cited by examiner, † Cited by third party
Publication number Priority date Publication date Assignee Title
WO2019035370A1 (ja) * 2017-08-14 2019-02-21 住友電工プリントサーキット株式会社 フレキシブルプリント配線板
WO2019035278A1 (ja) * 2017-08-14 2019-02-21 住友電気工業株式会社 フレキシブルプリント配線板
JPWO2019035370A1 (ja) * 2017-08-14 2020-07-27 住友電工プリントサーキット株式会社 フレキシブルプリント配線板
US11051399B2 (en) 2017-08-14 2021-06-29 Sumitomo Electric Industries, Ltd. Flexible printed circuit board
JP7090622B2 (ja) 2017-08-14 2022-06-24 住友電工プリントサーキット株式会社 フレキシブルプリント配線板
US11483928B2 (en) 2017-08-14 2022-10-25 Sumitomo Electric Printed Circuits, Inc. Flexible printed circuit board

Also Published As

Publication number Publication date
JP4427374B2 (ja) 2010-03-03

Similar Documents

Publication Publication Date Title
JP7306594B1 (ja) 導電性フィルム、巻回体、接続構造体、及び接続構造体の製造方法
JP5152499B2 (ja) 電気装置及びその接続方法
CN106304607B (zh) 刚挠结合板及其制作方法
JP2010147442A (ja) フレキシブルプリント配線板、フレキシブルプリント配線板の製造方法、及びフレキシブルプリント回路板
KR200442294Y1 (ko) 솔더링 가능한 탄성 전기접촉단자
JP4427374B2 (ja) プリント配線基板およびこの製造方法
CN204230234U (zh) 配线部件
CN103517587B (zh) 软硬结合电路板及其制作方法
JP2005032815A (ja) 可撓配線板およびその製造方法
JP5379710B2 (ja) 補強層付フレキシブル配線回路基板の製造方法
JP3305633B2 (ja) Icカードの製造方法
JP3463539B2 (ja) 異方導電性接着剤付き可撓性回路基板および製造方法
KR20150114302A (ko) 커넥터 및 그의 제조 방법
JP5024190B2 (ja) Icモジュール製造方法
JP2954559B2 (ja) 配線基板の電極構造
JP5581882B2 (ja) フラットケーブルとその製造方法
JPH043117B2 (ja)
JP4336617B2 (ja) プリント配線基板およびその製造方法
JP5217287B2 (ja) フラットケーブルの製造方法
JP2007273655A (ja) 可撓性フラット回路基板及びその製造方法
JP2505751Y2 (ja) 耐屈曲性熱圧着接続部材
WO2023189767A1 (ja) 個片加工接着フィルム、接続構造体の製造方法、及び接続構造体
JP5040551B2 (ja) 非接触型データキャリア用導電部材とその製造方法及び装置
JP2003051651A (ja) 剛性プリント基板及びその製造方法
JP2008016690A (ja) 基板の電極の接続構造体及び接続方法

Legal Events

Date Code Title Description
A621 Written request for application examination

Free format text: JAPANESE INTERMEDIATE CODE: A621

Effective date: 20060901

RD03 Notification of appointment of power of attorney

Free format text: JAPANESE INTERMEDIATE CODE: A7423

Effective date: 20080306

A977 Report on retrieval

Free format text: JAPANESE INTERMEDIATE CODE: A971007

Effective date: 20090310

A131 Notification of reasons for refusal

Free format text: JAPANESE INTERMEDIATE CODE: A131

Effective date: 20090331

A521 Written amendment

Free format text: JAPANESE INTERMEDIATE CODE: A523

Effective date: 20090520

A131 Notification of reasons for refusal

Free format text: JAPANESE INTERMEDIATE CODE: A131

Effective date: 20090623

A521 Written amendment

Free format text: JAPANESE INTERMEDIATE CODE: A523

Effective date: 20090804

TRDD Decision of grant or rejection written
A01 Written decision to grant a patent or to grant a registration (utility model)

Free format text: JAPANESE INTERMEDIATE CODE: A01

Effective date: 20091124

A01 Written decision to grant a patent or to grant a registration (utility model)

Free format text: JAPANESE INTERMEDIATE CODE: A01

A61 First payment of annual fees (during grant procedure)

Free format text: JAPANESE INTERMEDIATE CODE: A61

Effective date: 20091214

R150 Certificate of patent or registration of utility model

Free format text: JAPANESE INTERMEDIATE CODE: R150

FPAY Renewal fee payment (event date is renewal date of database)

Free format text: PAYMENT UNTIL: 20121218

Year of fee payment: 3

FPAY Renewal fee payment (event date is renewal date of database)

Free format text: PAYMENT UNTIL: 20131218

Year of fee payment: 4

LAPS Cancellation because of no payment of annual fees