JP2005294637A - 積層コイルアレイ - Google Patents

積層コイルアレイ Download PDF

Info

Publication number
JP2005294637A
JP2005294637A JP2004109188A JP2004109188A JP2005294637A JP 2005294637 A JP2005294637 A JP 2005294637A JP 2004109188 A JP2004109188 A JP 2004109188A JP 2004109188 A JP2004109188 A JP 2004109188A JP 2005294637 A JP2005294637 A JP 2005294637A
Authority
JP
Japan
Prior art keywords
coil
conductor
laminated
laminate
adjustment
Prior art date
Legal status (The legal status is an assumption and is not a legal conclusion. Google has not performed a legal analysis and makes no representation as to the accuracy of the status listed.)
Pending
Application number
JP2004109188A
Other languages
English (en)
Inventor
Tomoyuki Maeda
智之 前田
Hideaki Matsushima
秀明 松嶋
Current Assignee (The listed assignees may be inaccurate. Google has not performed a legal analysis and makes no representation or warranty as to the accuracy of the list.)
Murata Manufacturing Co Ltd
Original Assignee
Murata Manufacturing Co Ltd
Priority date (The priority date is an assumption and is not a legal conclusion. Google has not performed a legal analysis and makes no representation as to the accuracy of the date listed.)
Filing date
Publication date
Application filed by Murata Manufacturing Co Ltd filed Critical Murata Manufacturing Co Ltd
Priority to JP2004109188A priority Critical patent/JP2005294637A/ja
Publication of JP2005294637A publication Critical patent/JP2005294637A/ja
Pending legal-status Critical Current

Links

Images

Landscapes

  • Coils Or Transformers For Communication (AREA)
  • Filters And Equalizers (AREA)

Abstract

【課題】 自己共振周波数を低下させないようにしつつ、内側と端面側のコイル導体のインダクタンスおよび直流抵抗を略等しくした積層コイルアレイを提供する。
【解決手段】 内側のコイル導体20b,20cの近傍に、内部電極層と重ならないように調整用導体40を設ける。
【選択図】 図1

Description

本発明は、セラミック積層体の内部に複数のコイル導体を内蔵した積層コイルアレイに関する。
コンピュータなどのOA機器のノイズ除去用などの用途に用いられる電子部品として、セラミック基体の内部に複数のコイル導体を内蔵した積層コイルアレイがある。図10は従来より知られている積層コイルアレイの透視斜視図であり、図11は分解斜視図である。
磁性体セラミックスなどからなるセラミック積層体10はセラミック層14が積層されてなり、セラミック層14にスクリーン印刷などの方法によって形成された内部導体層がビアホール23によって接続されてコイル導体20a〜20dを形成している。セラミック積層体10には、その長手方向に沿って複数のコイル導体20a〜20dが内蔵されている。コイル導体20a〜20dの端部は、ビアホール21を介して、セラミック積層体10の表面に形成された外部電極30a〜30dに接続されている。
この種の積層コイルアレイでは、セラミック積層体10の端面側に配置されたコイル導体20a,20dと、内側に配置されたコイル導体20b,20cとでは、磁路の断面積が異なるため、インダクタンスが異なることが知られている。具体的には、端面側に配置されたコイル導体20a,20dの磁路が狭くなり、内側のコイル導体20b,20cよりもインダクタンスが小さくなる。
そこで、端面側に配置されたコイル導体と内側に配置されたコイル導体とのインダクタンスを等しくするために、端面側に配置されたコイル導体のターン数を、内側に配置されたコイル導体のターン数よりも多くしたり、端面側に配置されたコイル導体の径を内側に配置されたコイル導体の径よりも大きくすることが特許文献1に記載されている。
また、積層コイルアレイではないが、積層コイル部品のインダクタンスを調整するために、セラミック積層体の内部にコイル導体と重なるように浮遊導体を形成し、磁路を狭くすることが特許文献2に記載されている。
特開平11−144957号公報 特開2003−272925号公報
特許文献1に記載された発明では、端面側のコイル導体のターン数を多くしたりコイル径を大きくしたりするため、外側のコイル導体のほうが線路長が長くなってしまう。これにより、内側のコイル導体よりも直流抵抗が大きくなってしまうという問題がある。つまり、インダクタンスを等しくすると直流抵抗が異なってしまうことになる。
特許文献2に記載された発明では、線路長を変化させずに、浮遊導体とコイル導体とが重なる面積を調整することによってインダクタンスを調整するので、直流抵抗を変化させずにインダクタンスを変化させることができる。よって、特許文献2に記載された発明を積層コイルアレイに適用すれば、内側と端面側のコイル導体のインダクタンスと直流抵抗を共に等しくすることができる。
しかしながら、特許文献2に記載された発明では浮遊導体とコイル導体とが重なっているため、浮遊導体とコイル導体との間に比較的大きな浮遊容量が発生する。浮遊容量が大きくなると自己共振周波数が低下し、周波数の高いノイズの減衰量が低下する。コンピュータなどのOA機器の使用周波数がますます高くなりつつある現在、高周波帯域での良好なノイズ減衰特性が要求されている。
よって、本発明はセラミック積層体の内部に複数のコイル導体が配置された積層コイルアレイにおいて、自己共振周波数を低下させないようにしつつ、内側と端面側のコイル導体のインダクタンスおよび直流抵抗を略等しくすることを目的とする。
本発明は上述の問題点を鑑みてなされたものであり、本発明の積層コイルアレイは、複数のセラミック層と内部導体層が交互に積層されてなる積層体を備え、複数の前記内部導体層が直列に接続されてなりコイル軸方向が前記積層体の積層方向に平行であるコイル導体が前記積層体の内部に3個以上配置されている積層コイルアレイであって、前記積層体の前記コイル導体の配列方向の両端部に位置していないコイル導体の近傍に、前記コイル導体と前記積層体の積層方向で重ならないように前記積層体の積層面に平行な調整用導体を設けたことを特徴とする。
これにより、調整用導体で渦電流が発生し、渦電流によって発生した磁界が、内側に配置されたコイル導体のインダクタンスを低下させる。また、調整用導体と内部導体層とはともに積層面に平行に、且つ重ならないように配置されているので、調整用導体と内部導体層とは面同士で対向せずに厚みで対向することになるので、内部導体層と調整用導体との間で発生する浮遊容量が低減される。これにより自己共振周波数の低下が防止され、高周波帯域においても十分なノイズ減衰を得ることができる。
また、本発明の積層コイルアレイは、前記調整用導体は、前記積層体の両端部に位置していないコイル導体が周回する内側の領域に設けられていることを特徴とする。
コイル導体が周回する内側の領域は磁束が集中するため、より小さな調整用導体でもインダクタンスを低下させることができる。調整用導体が小さくなると浮遊容量が低下し、自己共振周波数の低下を抑制できる。
さらに、本発明の積層コイルアレイは、複数のセラミック層と内部導体層が交互に積層されてなる積層体を備え、複数の前記内部導体層が直列に接続されてなりコイル軸方向が前記積層体の積層方向に平行であるコイル導体が前記積層体の内部に3個以上配置されている積層コイルアレイであって、前記積層体の積層面に垂直な端面であって、前記積層体の両端部に位置していないコイル導体の近傍に、調整用導体を設けたことを特徴とする。
これにより、調整用導体で渦電流が発生し、渦電流によって発生した磁束が、内側に配置されたコイル導体のインダクタンスを低下させる。また、調整用導体と内部導体層とは直交するように配置されているので、調整用導体に対して内部導体層は厚みで対向することになり、内部導体層と調整用導体との間で発生する浮遊容量が低減される。これにより自己共振周波数の低下が防止され、高周波帯域においても十分なノイズ減衰を得ることができる。
さらにまた、本発明の積層コイルアレイは、複数のセラミック層が積層されてなる積層体と、前記積層体の内部に積層面に平行に配置された複数の帯状導体からなる内部導体層と、前記積層体の内部に配置されたバイアホールと、を備え、所定の帯状導体の端部と異なる積層面に配置された帯状導体の端部とをバイアホールによって接続してなりコイル軸方向が前記積層体の積層方向と直交する方向であるコイル導体が、前記積層体の内部に3個以上配置されている積層コイルアレイであって、前記積層体のコイル導体の配列方向の両端部に位置していないコイル導体の近傍に、前記コイル導体と前記積層体の積層方向で重ならないように前記積層体の積層面に平行な調整用導体を設けたことを特徴とする。
これにより、調整用導体で渦電流が発生し、渦電流によって発生した磁界が、内側に配置されたコイル導体のインダクタンスを低下させる。また、調整用導体と内部導体層とはともに積層面に平行に、且つ重ならないように配置されているので、調整用導体と内部導体層とは面同士で対向せずに厚みで対向することになるので、内部導体層と調整用導体との間で発生する浮遊容量が低減される。これにより自己共振周波数の低下が防止され、高周波帯域においても十分なノイズ減衰を得ることができる。
本発明の積層コイルアレイは、前記コイル導体が、前記コイル軸方向に直交する方向に沿って3個以上配列されている場合や、前記コイル導体が、前記コイル軸方向に沿って3個以上配列されている場合を含む。要するに、3個以上のコイル導体が積層体の内部に直列に配列されていればよい。
また、本発明に係る積層コイルアレイは、前記調整用導体は強磁性体を含んでなるようにしてもよい。
調整用導体を強磁性体によって構成することにより、調整用導体の単位面積あたりの渦電流によって発生する磁界が大きくなるので、より小さい調整用導体でインダクタンスを低下させることができる。
また、本発明に係る積層コイルアレイは、前記調整用導体は前記内部導体層と同一の材料からなるようにしてもよい。
セラミック積層体を焼成するときの調整用導体の収縮挙動が、セラミックグリーンシートや内部導体層の収縮挙動と大きく異なる場合、セラミック積層体にクラックが生じることがある。よって、調整用導体と内部導体層を同一の材料で構成するようにすれば、セラミック積層体にクラックが生じることを防止できる。
以上のように本発明によれば、内部導体層と調整用導体とが面同士で対向することがないので、浮遊容量の発生を抑制することができる。そのため、端面側のコイル導体と内側のコイル導体との直流抵抗とインダクタンスをそろえるとともに、自己共振周波数の低下を防止して高周波帯域でも良好なノイズ減衰特性をもつ積層コイルアレイを得ることができる。
以下において、添付図面を参照しつつ本発明を実施するための最良の形態について説明する。
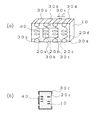
図1(a)は本発明の第1の実施例に係る積層コイルアレイを示す透視斜視図であり、図1(b)はそのA線断面図である。
積層コイルアレイは、磁性体セラミックスからなるセラミック層が積層されてなるセラミック積層体10と、セラミック積層体10に内蔵された4つのコイル導体20a〜20dと、セラミック積層体10の表面に形成された外部電極30a〜30dと、セラミック積層体の内部に配置された調整用導体40とからなる。
コイル導体20a〜20dはコイル軸方向がセラミック積層体10の積層方向と略平行になるように形成されており、4つのコイル導体20a〜20dがコイル軸方向(図の縦方向)に直交する方向に沿って配列されている。また、コイル導体20a〜20dの端部はそれぞれ外部電極30a〜30dに接続されている。4つのコイル導体20a〜20dは、直流抵抗が同一の値となるように、すべて同一の形状とされている。
調整用導体40は、4つのコイル導体20a〜20dのうち端面側に配置されていないもの、すなわち内側に配置されたコイル導体20b,20cの近傍に、セラミック積層体10の積層面と平行に配置されている。
積層コイルアレイでは、すべてのコイル導体20a〜dを同一形状とした場合、端面側に配置されたコイル導体20a,20dの磁路が、内側に配置されたコイル導体20b,20cの磁路より狭くなって、端面側のコイル導体20a,20dのインダクタンスが内側のコイル導体20b,20cよりも低くなる。そこで本発明では、内側のコイル導体20b,20cによって発生する磁束を横切るように、積層面と平行に調整用導体40を配置している。これにより、調整用導体40の内部で渦電流が発生し、渦電流によって発生した磁界が内側のコイル導体20b,20cによって発生する磁界を打ち消すように作用して、内側のコイル導体20b,20cのインダクタンスを低下させる。よって、調整用導体40を適当な大きさにすることによって、端面側のコイル導体20a,20dと内側のコイル導体20b,20cとを同一のインダクタンスにすることができる。
調整用導体40は適当な金属から形成されていればよく、金属であれば特に限定されるものではないが、導電性の高い材料や強磁性体が好ましく、具体的にはAgやNiが好適である。調整用導体40を導電性が高い材料や強磁性体で構成することにより、調整用導体40の単位面積あたりの渦電流によって発生する磁束が大きくなるので、調整用導体40の面積を小さくしてもインダクタンス抑制効果を得ることができる。調整用導体40を小さくすれば浮遊容量が減るので、自己共振周波数が高くなって、高周波帯域でのノイズ減衰特性が良好になる。
次にこの積層コイルアレイの製造方法について説明する。図3は本発明の第1の実施例に係る積層コイルアレイを示す分解斜視図である。
まず、所定量のFe23、NiO、CuO、ZnOなどの金属酸化物を秤量して混合し、仮焼・粉砕を経てNi−Cu−Zn系フェライトの粉末を得る。フェライト粉末、バインダー、可塑剤などを混練してセラミックスラリーを得て、ドクターブレード法などの方法でシート上に成形して無地のセラミックグリーンシートを得る。
また、Ag粉末、有機ビヒクルなどを混合して導電性ペーストを用意する。導電性ペーストにはAg粉末に加えてPd粉末を含んでいてもよい。また、Ag以外の金属粉末を主成分としてもよいが、導電性を高くして直流抵抗を低減するにはAg粉末が好適である。
次に、この無地のセラミックグリーンシートにレーザ加工装置や金型などを用いて貫通孔を形成し、貫通孔に導電性ペーストを充填してビアホール21を形成し、セラミックグリーンシート11を得る。
また、無地のセラミックグリーンシートに貫通孔を形成し、スクリーン印刷などの方法によって内部導体層22の形成と貫通孔への導電性ペーストの充填を同時に行い、セラミックグリーンシート12を得る。
さらに、無地のセラミックグリーンシートに同様の方法でビアホール23、内部導体層22、調整用導体40を形成してセラミックグリーンシート13を得る。調整用導体40は、セラミックグリーンシート13上に内部導体層22と並んで形成され、セラミックグリーンシート12に形成された内部導体層22ともコイル軸方向に重ならない位置に形成されている。調整用導体40と内部導体層22はともにセラミックグリーンシート13に印刷されているので、セラミック積層体10の積層面(セラミックグリーンシートの面と同じ)と平行になる。よって、調整用導体40と内部導体層22とは面同士で対向することはなく、厚み部分で対向することになる。内部導体層22や調整用導体40の厚みは通常、厚くても20μm程度であるから、調整用導体40と内部導体層22との対向面積は小さく、発生する浮遊容量を小さくすることができる。なお、調整用導体40は異なる積層面に複数設けられていてもよい。
次に、セラミックグリーンシート11〜13を図2に示した所定の順序に積層して焼成し、セラミック積層体10を得る。セラミック積層体10の内部では、内部導体層22がビアホール23を介して直列に接続されてコイル導体20a〜20dを構成する。コイル導体20a〜20dの両端はビアホール21によってセラミック積層体10の表面まで引き出されている。
セラミック積層体10の表面にAg粉末やガラスを含む導電性ペーストを焼き付け、Niめっき、Snめっきを施して、コイル導体20a〜20dの端部に接続する外部電極30a〜30dを形成し、積層インダクタアレイが完成する。
本実施例では調整用導体40はコイル導体20a〜20dと電気的に絶縁された状態に形成されているが、コイル導体20a〜20dと調整用導体40が電気的に接続されているようにしてもよい。ただし、コイル導体20a〜20dと調整用導体40とを電気的に絶縁することにより、調整用導体40で発生した渦電流がコイル導体20a〜20dを通過する電気信号に影響を与えることを防止できるので、コイル導体20a〜20dと調整用導体40とは絶縁されていることが好ましい。
また、上記の実施例ではセラミック材料としてNi−Cu−Zn系フェライトを用いたが、Mn−Zn系フェライトなど他の磁性体材料でもよい。さらに、調整用導体40は内部導体層22と同一の導電性ペーストを用いたが、異なる材料で形成してもよい。その場合、例えばNiなどの強磁性体を好適に用いることができる。調整用導体を強磁性体によって構成することにより、調整用導体の単位面積あたりの渦電流によって発生する磁束が大きくなるので、より小さい調整用導体でインダクタンスを低下させることができる。
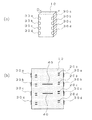
図3(a)は本発明の第2の実施例に係る積層コイルアレイを示す透視斜視図であり、図3(b)はそのB線断面図であり、図4は分解斜視図である。なお、図3および図4においては、図1および図2と共通あるいは対応する部分には同一の符号を付し、適宜説明を省略する。
本実施例に係る積層コイルアレイでは、内側のコイル導体20b,20cが周回している内側の領域に、積層面と平行に調整用導体40を配置している。これにより、調整用導体40で渦電流が発生し、内側に配置されたコイル導体20b,20cのインダクタンスを低下させる。
図4を参照して、この積層コイルアレイの製造方法について説明する。
Ni−Cu−Zn系フェライトなどの磁性体セラミック材料からなる無地のセラミックグリーンシートを用意し、ビアホール21を形成してセラミックグリーンシート11を得る。また、無地のセラミックグリーンシートに内部導体層22とビアホール23とを形成してセラミックグリーンシート12を得る。さらに、無地のセラミックグリーンシートに内部導体層22と、ビアホール23と、調整用導体40とを形成してセラミックグリーンシート13を得る。
調整用導体40は、略コ字状の内部導体層22に囲まれた領域に形成されている。すなわち、調整用導体40は、内部導体層22がビアホール23によって接続されてなるコイル導体20b,20cが周回している内側の領域に形成されていて、いずれの内部導体層22ともコイル軸方向に重ならないように形成されている。
コイル導体20b,20cが周回している内側の領域には磁束が集中しているため、調整用導体40の単位面積あたりに発生する渦電流が大きくなり、より小さな面積の調整用導体40でインダクタンスを低下させることができる。
また、調整用導体40と内部導体層22とが同一面に印刷されていてコイル軸方向に重ならず、面同士が対向しないので、浮遊容量を小さくすることができ、自己共振周波数の低下を防止できる。
セラミックグリーンシート11〜13を図4に示した所定の順序で積層して焼成し、外部電極30a〜30dを形成して積層コイルアレイが完成する。
図5(a)は第3の実施例に係る積層コイルアレイを示す透視斜視図であり、図5(b)はそのC線断面図であり、図6は分解斜視図である。なお、図5および図6においては、図1ないし図4と共通あるいは対応する部分には同一の符号を付し、適宜説明を省略する。
本実施例に係る積層コイルアレイでは、積層面に垂直なセラミック積層体10の端面であって、内側のコイル導体20b,20cに近接する部分に調整用導体40を形成している。これにより、調整用導体40で渦電流が発生し、内側に配置されたコイル導体20b,20cのインダクタンスを低下させる。
図6を参照して、この積層コイルアレイの製造方法について説明する。
Ni−Cu−Zn系フェライトなどの磁性体セラミック材料からなる無地のセラミックグリーンシートを用意し、ビアホール21を形成してセラミックグリーンシート11を得る。また、無地のセラミックグリーンシートに内部導体層22とビアホール23とを形成してセラミックグリーンシート12を得る。
次に、セラミックグリーンシート11,12を図6に示した所定の順序で積層して焼成してセラミック積層体10を形成する。セラミック積層体10の積層面に対して垂直な端面であって内側のコイル導体20b,20cと近接する部分に調整用導体40を形成する。調整用導体40は導電性ペーストの焼付けやめっき、スパッタ法など適当な方法で形成すればよい。また、焼成前に調整用導体40を形成するようにしてもよい。
コイル導体20b,20cで発生する磁束の多くは、空気よりも透磁率の高いセラミック積層体10の内部を周回するが、磁束の一部はセラミック積層体10の外側に漏れ出して周回している。そのため、セラミック積層体10の表面に調整用導体40を設けることによって、セラミック積層体10の外側に漏れ出している磁束に対して主として作用してコイル導体20b,20cのインダクタンスを低下させる効果がある。
また、コイル導体20a〜dを形成している内部導体層22は積層面に平行に配置されているから、調整用導体40を積層面に対して垂直に配置することにより、内部導体層22と調整用導体40とが面同士で対向することがなく、浮遊容量の発生を抑制することができ、自己共振周波数の低下を防止できる。
次に、セラミック積層体10の表面に導電性ペーストを焼きつけ、Niめっき、Snめっきを施して外部電極30a〜dを形成して積層コイルアレイが完成する。このとき、必要に応じて、調整用導体40にもめっきを施すようにしてもよい。
図7(a)は本発明の第4の実施例に係る積層コイルアレイを示す外観斜視図であり、図7(b)はD線断面図であり、図8は分解斜視図である。図7および図8においては、図1ないし図7と共通あるいは対応する部分には同一の符号を付し、適宜説明を省略する。
本実施例に係る積層コイルアレイは、セラミック積層体10の内部に4つのコイル導体20a〜20dが配設されてなる。コイル導体20a〜20dはコイル軸方向に沿ってセラミック積層体10の内部に配列されている。コイル導体20a〜20dの端部はそれぞれ外部電極30a〜30dに接続している。
4つのコイル導体20a〜20dのうち、配列方向の両端部に配置されていないもの、すなわち内側に配置されているコイル導体20b,20cの近傍には、調整用導体40がセラミック積層体10の積層面に平行に配置されている。これにより、コイル導体20b,20cに電流が流れることによって発生する磁束が調整用導体40に作用して渦電流を発生させ、内側に配置されたコイル導体20b,20cのインダクタンスを低下させる。
図8を参照して、この積層コイルアレイの製造方法について説明する。
Ni−Cu−Zn系フェライトなどの磁性体セラミック材料からなる無地のセラミックグリーンシートを用意し、内部導体層22およびビアホール23を形成してセラミックグリーンシート12を得る。また、無地のセラミックグリーンシートに内部導体層22、ビアホール23、調整用導体40を形成してセラミックグリーンシート13を得る。調整用導体40は略コ字状の内部導体層22に囲まれた領域に形成されている。すなわち、調整用導体40は内部導体層22がビアホール23によって接続されてなるコイル導体20b,20cが周回している内側の領域に形成されていて、いずれの内部導体層22とも積層方向に重ならないように形成されている。これにより、調整用導体と内部導体層とが面同士で対向しないので、浮遊容量を小さくすることができ、自己共振周波数の低下を防止できる。
セラミックグリーンシート12,13と無地のセラミックグリーンシートを図8に示す所定の順序で積層して焼成し、外部電極30a〜30dを形成して積層コイルアレイが完成する。
図9(a)は本発明の第5の実施例に係る積層コイルアレイを示す外観斜視図であり、図9(b)はE線断面図である。また、図10は分解斜視図である。
本実施例に係る積層コイルアレイは、磁性体セラッミックスからなる積層体10の内部に4つのコイル導体20a〜20d(コイル導体20a,20c,20dは不図示)を有し、4つのコイル導体20a〜20dの端部はそれぞれ外部電極30a〜30dに接続されている。
4つのコイル導体20a〜20dはコイル軸方向に直交する方向に配列され、配列方向の両端部に位置していないもの、すなわち内側に配置されているコイル導体20b,20cの近傍には、積層体10の積層面に平行な調整用導体40が形成されている。
図10を参照してこの積層コイルアレイの製造方法について説明する。
まず、Ni−Cu−Zn系フェライトなどの磁性体セラミック材料からなる無地のセラミックグリーンシートを用意する。そして無地のセラミックグリーンシートに上部帯状導体24a〜24d、ビアホール26a〜26d、調整用導体40を形成してセラミックグリーンシート16を作製する。調整用導体40は上部帯状導体24a〜24dと同じ積層面に形成されるので、上部帯状導体24a〜24dと調整用導体40とは積層方向に重ならない。つまり上部帯状導体24a〜24dと調整用導体40とが面同士で対向していないので、上部帯状導体24a〜24dと調整用導体40との間に発生する浮遊容量を小さくすることができる。また、無地のセラミックグリーンシートにビアホール26a〜26dを形成してセラミックグリーンシート17を作製する。さらに、無地のセラミックグリーンシートに下部帯状導体25a〜25dを形成してセラミックグリーンシート18を作製する。
次にセラミックグリーンシート16〜18と無地のセラミックグリーンシート17とを図10に示す所定の順序に積層して積層体を得る。すなわち、上部帯状導体24a〜24dが設けられたセラミックグリーンシート16と下部帯状導体25a〜25dが設けられたセラミックグリーンシート18との間には、ビアホール26a〜26dが設けられたセラミックグリーンシート17が配置されている。上部帯状導体24a〜24dの所定の端部と下部帯状導体25a〜25dの所定の端部とがビアホール26a〜26dによって接続されることにより、コイル軸方向が積層体10の積層方向に直交する方向とされたコイル導体20a〜20dが形成される。
また、上部帯状導体24a〜24d、下部帯状導体25a〜25d、ビアホール26a〜26dによって構成されたコイル導体20a〜20dを積層方向に挟むように無地のセラミックグリーンシート15が積層されている。
次にこの積層体10を焼成し、外部電極30を形成して積層コイルアレイが完成する。
この積層コイルアレイは、内側に配置されたコイル導体20b,20cの磁束が通過する領域に調整用導体40が配置されているため、調整用導体40に流れる渦電流によって発生する磁束がコイル導体20b,20cのインダクタンスを低下させるので、4つのコイル導体20a〜20dを同一の形状にしても等しいインダクタンスを得ることができる。
なお本実施例においては、調整用導体40を上部帯状電極24a〜24dと同じ積層面に形成したが、異なる積層面に形成してもよい。
本発明は上記の実施例1ないし実施例5に限定されるものではなく、その要旨の範囲内で種々の変更を加えることができる。例えば、磁性体材料や導電性ペーストなどは任意に変更してよい。また、上記の実施例ではいずれも積層体の内部にコイル導体のみが形成されていたが、コイル導体に対して直列あるいは並列にコンデンサが形成されていてもよい。要するに互いに絶縁状態にあるコイル導体が積層体の内部に3つ以上配列されていれば本発明を適用することが可能である。
本発明の第1の実施例に係る積層コイルアレイを示す斜視図および断面図である。 本発明の第1の実施例に係る積層コイルアレイを示す分解斜視図である。 本発明の第2の実施例に係る積層コイルアレイを示す斜視図および断面図である。 本発明の第2の実施例に係る積層コイルアレイを示す分解斜視図である。 本発明の第3の実施例に係る積層コイルアレイを示す斜視図および断面図である。 本発明の第3の実施例に係る積層コイルアレイを示す分解斜視図である。 本発明の第4の実施例に係る積層コイルアレイを示す斜視図および断面図である。 本発明の第4の実施例に係る積層コイルアレイを示す分解斜視図である。 本発明の第5の実施例に係る積層コイルアレイを示す斜視図および断面図である。 本発明の第5の実施例に係る積層コイルアレイを示す分解斜視図である。 従来の積層コイルアレイを示す斜視図である。 従来の積層コイルアレイを示す分解斜視図である。
符号の説明
10 セラミック積層体
11,12,13,15,16,17,18 セラミックグリーンシート
14 セラミック層
20a〜20d コイル導体
21,23,26a〜26d ビアホール
22 内部導体層
24a〜24d 上部帯状導体
25a〜25d 下部帯状導体
30a〜30d 外部電極
40 調整用導体

Claims (8)

  1. 複数のセラミック層と内部導体層が交互に積層されてなる積層体を備え、複数の前記内部導体層が直列に接続されてなりコイル軸方向が前記積層体の積層方向に平行であるコイル導体が前記積層体の内部に3個以上配置されている積層コイルアレイであって、
    前記積層体の前記コイル導体の配列方向の両端部に位置していないコイル導体の近傍に、前記コイル導体と前記積層体の積層方向で重ならないように前記積層体の積層面に平行な調整用導体を設けたことを特徴とする積層コイルアレイ。
  2. 前記調整用導体は、前記積層体の両端部に位置していないコイル導体が周回する内側の領域に設けられていることを特徴とする請求項1に記載の積層コイルアレイ。
  3. 複数のセラミック層と内部導体層が交互に積層されてなる積層体を備え、複数の前記内部導体層が直列に接続されてなりコイル軸方向が前記積層体の積層方向に平行であるコイル導体が前記積層体の内部に3個以上配置されている積層コイルアレイであって、
    前記積層体の積層面に垂直な端面であって、前記積層体の両端部に位置していないコイル導体の近傍に、調整用導体を設けたことを特徴とする積層コイルアレイ。
  4. 複数のセラミック層が積層されてなる積層体と、前記積層体の内部に積層面に平行に配置された複数の帯状導体からなる内部導体層と、前記積層体の内部に配置されたバイアホールと、を備え、所定の帯状導体の端部と異なる積層面に配置された帯状導体の端部とをバイアホールによって接続してなりコイル軸方向が前記積層体の積層方向と直交する方向であるコイル導体が、前記積層体の内部に3個以上配置されている積層コイルアレイであって、
    前記積層体のコイル導体の配列方向の両端部に位置していないコイル導体の近傍に、前記コイル導体と前記積層体の積層方向で重ならないように前記積層体の積層面に平行な調整用導体を設けたことを特徴とする積層コイルアレイ。
  5. 前記コイル導体は、前記コイル軸方向に直交する方向に沿って3個以上配列されていることを特徴とする請求項1ないし請求項4のうちいずれか一項に記載の積層コイルアレイ。
  6. 前記コイル導体は、前記コイル軸方向に沿って3個以上配列されていることを特徴とする請求項1ないし請求項4のうちいずれか一項に記載の積層コイルアレイ。
  7. 前記調整用導体は強磁性体を含んでなることを特徴とする請求項1ないし請求項6のうちいずれか一項に記載の積層コイルアレイ。
  8. 前記調整用導体は前記内部導体層と同一の材料からなることを特徴とする請求項1ないし請求項7のうちいずれか一項に記載の積層コイルアレイ。
JP2004109188A 2004-04-01 2004-04-01 積層コイルアレイ Pending JP2005294637A (ja)

Priority Applications (1)

Application Number Priority Date Filing Date Title
JP2004109188A JP2005294637A (ja) 2004-04-01 2004-04-01 積層コイルアレイ

Applications Claiming Priority (1)

Application Number Priority Date Filing Date Title
JP2004109188A JP2005294637A (ja) 2004-04-01 2004-04-01 積層コイルアレイ

Publications (1)

Publication Number Publication Date
JP2005294637A true JP2005294637A (ja) 2005-10-20

Family

ID=35327211

Family Applications (1)

Application Number Title Priority Date Filing Date
JP2004109188A Pending JP2005294637A (ja) 2004-04-01 2004-04-01 積層コイルアレイ

Country Status (1)

Country Link
JP (1) JP2005294637A (ja)

Cited By (5)

* Cited by examiner, † Cited by third party
Publication number Priority date Publication date Assignee Title
WO2008013071A1 (en) * 2006-07-27 2008-01-31 Murata Manufacturing Co., Ltd. Noise filter array
WO2008069022A1 (ja) * 2006-12-08 2008-06-12 Murata Manufacturing Co., Ltd. 電子部品
JP2010245134A (ja) * 2009-04-02 2010-10-28 Murata Mfg Co Ltd 電子部品及びその製造方法
CN111986875A (zh) * 2019-05-24 2020-11-24 株式会社村田制作所 层叠型线圈部件
WO2021106477A1 (ja) * 2019-11-26 2021-06-03 株式会社村田製作所 積層型コイル部品

Citations (9)

* Cited by examiner, † Cited by third party
Publication number Priority date Publication date Assignee Title
JPH0463108U (ja) * 1990-10-04 1992-05-29
JPH04130409U (ja) * 1991-05-17 1992-11-30 太陽誘電株式会社 インダクタンス素子
JPH0766037A (ja) * 1993-08-25 1995-03-10 Tdk Corp 積層電子部品
JPH07201568A (ja) * 1993-12-28 1995-08-04 Taiyo Yuden Co Ltd 積層チップインダクタ
JPH09186017A (ja) * 1995-12-28 1997-07-15 Tokin Corp 積層インダクタおよびその製造方法
JPH11224817A (ja) * 1998-02-06 1999-08-17 Murata Mfg Co Ltd 積層型インダクタアレイ
JP2001110641A (ja) * 1999-10-06 2001-04-20 Tokin Corp 積層インピーダンス素子
JP2003217935A (ja) * 2002-01-24 2003-07-31 Murata Mfg Co Ltd 積層インダクタアレイ
JP2003272925A (ja) * 2002-03-18 2003-09-26 Mitsubishi Materials Corp 電子部品

Patent Citations (9)

* Cited by examiner, † Cited by third party
Publication number Priority date Publication date Assignee Title
JPH0463108U (ja) * 1990-10-04 1992-05-29
JPH04130409U (ja) * 1991-05-17 1992-11-30 太陽誘電株式会社 インダクタンス素子
JPH0766037A (ja) * 1993-08-25 1995-03-10 Tdk Corp 積層電子部品
JPH07201568A (ja) * 1993-12-28 1995-08-04 Taiyo Yuden Co Ltd 積層チップインダクタ
JPH09186017A (ja) * 1995-12-28 1997-07-15 Tokin Corp 積層インダクタおよびその製造方法
JPH11224817A (ja) * 1998-02-06 1999-08-17 Murata Mfg Co Ltd 積層型インダクタアレイ
JP2001110641A (ja) * 1999-10-06 2001-04-20 Tokin Corp 積層インピーダンス素子
JP2003217935A (ja) * 2002-01-24 2003-07-31 Murata Mfg Co Ltd 積層インダクタアレイ
JP2003272925A (ja) * 2002-03-18 2003-09-26 Mitsubishi Materials Corp 電子部品

Cited By (12)

* Cited by examiner, † Cited by third party
Publication number Priority date Publication date Assignee Title
WO2008013071A1 (en) * 2006-07-27 2008-01-31 Murata Manufacturing Co., Ltd. Noise filter array
US7880564B2 (en) 2006-07-27 2011-02-01 Murata Manufacturing Co., Ltd. Noise filter array
WO2008069022A1 (ja) * 2006-12-08 2008-06-12 Murata Manufacturing Co., Ltd. 電子部品
JP2010245134A (ja) * 2009-04-02 2010-10-28 Murata Mfg Co Ltd 電子部品及びその製造方法
US8193894B2 (en) 2009-04-02 2012-06-05 Murata Manufacturing Co., Ltd. Electronic component and method of manufacturing same
CN111986875A (zh) * 2019-05-24 2020-11-24 株式会社村田制作所 层叠型线圈部件
WO2021106477A1 (ja) * 2019-11-26 2021-06-03 株式会社村田製作所 積層型コイル部品
JPWO2021106477A1 (ja) * 2019-11-26 2021-06-03
CN114730655A (zh) * 2019-11-26 2022-07-08 株式会社村田制作所 层叠型线圈部件
JP7327506B2 (ja) 2019-11-26 2023-08-16 株式会社村田製作所 積層型コイル部品
CN114730655B (zh) * 2019-11-26 2025-03-25 株式会社村田制作所 层叠型线圈部件
US12406800B2 (en) 2019-11-26 2025-09-02 Murata Manufacturing Co., Ltd. Multilayer coil component

Similar Documents

Publication Publication Date Title
US8334746B2 (en) Electronic component
US7453344B2 (en) Multilayer coil component
JP3621300B2 (ja) 電源回路用積層インダクタ
US9251943B2 (en) Multilayer type inductor and method of manufacturing the same
US6515568B1 (en) Multilayer component having inductive impedance
CN1910710B (zh) 叠层线圈
US11087914B2 (en) Common mode choke coil
CN109585122B (zh) 磁耦合型线圈部件
US6590486B2 (en) Multilayer inductor
US8395471B2 (en) Electronic component
WO2011132626A1 (ja) 積層インダクタ
WO2006073092A1 (ja) 積層コイル
CN100382207C (zh) 层叠线圈及其生产方法
JP3545701B2 (ja) コモンモードチョーク
KR20130140410A (ko) 적층 칩 전자부품
JP2000182834A (ja) 積層型インダクタンス素子及びその製造方法
JP2005294637A (ja) 積層コイルアレイ
JP2003217935A (ja) 積層インダクタアレイ
JP2009088329A (ja) コイル部品
JP4479353B2 (ja) 積層型電子部品
WO2011048873A1 (ja) 積層インダクタ
JP2005259774A (ja) 開磁路型積層コイル部品
JP4400430B2 (ja) 積層型インダクタ
JP5617614B2 (ja) コイル内蔵基板
JP2007324554A (ja) 積層インダクタ

Legal Events

Date Code Title Description
A621 Written request for application examination

Free format text: JAPANESE INTERMEDIATE CODE: A621

Effective date: 20070122

A977 Report on retrieval

Free format text: JAPANESE INTERMEDIATE CODE: A971007

Effective date: 20090908

A131 Notification of reasons for refusal

Free format text: JAPANESE INTERMEDIATE CODE: A131

Effective date: 20091006

A521 Written amendment

Free format text: JAPANESE INTERMEDIATE CODE: A523

Effective date: 20091203

A02 Decision of refusal

Free format text: JAPANESE INTERMEDIATE CODE: A02

Effective date: 20100824