JP2005294551A - シリコン系被処理物の酸化処理方法、酸化処理装置および半導体装置の製造方法 - Google Patents

シリコン系被処理物の酸化処理方法、酸化処理装置および半導体装置の製造方法 Download PDF

Info

Publication number
JP2005294551A
JP2005294551A JP2004107878A JP2004107878A JP2005294551A JP 2005294551 A JP2005294551 A JP 2005294551A JP 2004107878 A JP2004107878 A JP 2004107878A JP 2004107878 A JP2004107878 A JP 2004107878A JP 2005294551 A JP2005294551 A JP 2005294551A
Authority
JP
Japan
Prior art keywords
silicon
oxidation
substrate
silicon substrate
chamber
Prior art date
Legal status (The legal status is an assumption and is not a legal conclusion. Google has not performed a legal analysis and makes no representation as to the accuracy of the status listed.)
Granted
Application number
JP2004107878A
Other languages
English (en)
Other versions
JP4643168B2 (ja
Inventor
Takemoto Yamauchi
健資 山内
Junichi Shiozawa
順一 塩澤
Current Assignee (The listed assignees may be inaccurate. Google has not performed a legal analysis and makes no representation or warranty as to the accuracy of the list.)
Toshiba Corp
Original Assignee
Toshiba Corp
Priority date (The priority date is an assumption and is not a legal conclusion. Google has not performed a legal analysis and makes no representation as to the accuracy of the date listed.)
Filing date
Publication date
Application filed by Toshiba Corp filed Critical Toshiba Corp
Priority to JP2004107878A priority Critical patent/JP4643168B2/ja
Publication of JP2005294551A publication Critical patent/JP2005294551A/ja
Application granted granted Critical
Publication of JP4643168B2 publication Critical patent/JP4643168B2/ja
Anticipated expiration legal-status Critical
Expired - Fee Related legal-status Critical Current

Links

Images

Landscapes

  • Formation Of Insulating Films (AREA)

Abstract

【課題】シリコン基板のようなシリコン系被処理物を1000℃より低い温度で異方性の酸化を実行し得るシリコン系被処理物の酸化処理方法を提供する。
【解決手段】シリコン系被処理物10を酸素ラジカルを含むプラズマに曝すと共に、前記基板に直流電圧5を印加することにより異方性の酸化を行うことを特徴とするシリコン系被処理物10の酸化処理方法。
【選択図】図1

Description

本発明は、シリコン系被処理物の酸化処理方法、酸化処理装置および半導体装置の製造方法に関する。
従来、半導体装置の製造工程においてシリコン系被処理物、例えばシリコン基板(シリコンウェハ)の酸化は、1000℃程度の酸素雰囲気中で加熱する熱酸化法が用いられている。このような温度での酸化は、シリコンウェハ中の不純物が拡散したり、酸化膜中に応力が発生したりする問題がある。
特に、シリコンウェハにドープされた不純物がAs、BやPである場合には、1000℃までに加熱することにより拡散を生じる。加熱温度を600℃以下にまで下げることにより不純物の拡散を抑制できるが、酸化速度が遅くなって、酸化膜の形成が困難になる。
このようなことから、酸素(O2)分子に高周波やマイクロ波の電力を印加してプラズマ化し、生成された酸素ラジカル(酸素原子)によりシリコンウェハを低温酸化する方法が知られている。酸素原子は、酸素分子と比較して拡散係数が大きいいため、400℃程度の低温でも実用的な酸化速度が得られる。
酸素ラジカルを用いた低温酸化では、等方的に酸化が進むために、例えばシリコンウェハ上に凸型構造物を形成し、この構造物を酸化する場合、その上部、側壁および底部はいずれもほぼ同じ膜厚の酸化膜が形成される。その結果、凸型構造物の上部や底部を酸化し、側壁の酸化を抑制したい場合には、酸素ラジカルを用いる低温酸化方法では困難である。
一方、従来の熱酸化法では前記シリコンウェハの凸状構造物において上部および底部と側壁で、シリコンの面方位が異なるために酸化速度に差ができ、上部側のシリコン面方位、通常(100)面、においては選択的に酸化が進む。このため、選択酸化が可能となるが、前述したように高温での酸化による不純物の拡散の課題がある。
本発明は、シリコン基板のようなシリコン系被処理物を1000℃より低い温度で異方性の酸化を実行し得るシリコン系被処理物の酸化処理方法を提供しようとするものである。
本発明は、シリコン基板のようなシリコン系被処理物を1000℃より低い温度で異方性の酸化を実現し得る酸化処理装置を提供しようとするものである。
本発明は、シリコン基板の凸部の側部にその上部および周囲の酸化膜の厚さに比べて薄い厚さの酸化膜を形成した半導体装置の製造方法を提供しようとするものである。
本発明の一態様によると、シリコン系被処理物を酸素ラジカルを含むプラズマに曝すと共に、前記基板に直流電圧を印加することにより異方性の酸化を行うことを特徴とするシリコン系被処理物の酸化処理方法が提供される。
本発明の別の態様によると、チャンバと、
前記チャンバ内に配置され、シリコン系被処理物を保持するためのホルダと、
前記チャンバ内に酸素ラジカルを含むプラズマを生成する手段と、
前記基板に直流電圧を供給するための直流電源と
を備えたことを特徴とする酸化処理装置が提供される。
本発明のさらに別の態様によると、シリコン系被処理物を酸素ラジカルを含む雰囲気に曝すと共に、前記基板に紫外光を照射することにより異方性の酸化を行うことを特徴とするシリコン系被処理物の酸化処理方法が提供される。
本発明のさらに別の態様によると、チャンバと、
前記チャンバ内に配置され、シリコン系被処理物を保持するためのホルダと、
前記チャンバ内に酸素ラジカルを含む雰囲気にするための酸素ラジカル発生手段と、
前記基板に紫外光を照射するための紫外光照射手段と
を備えたことを特徴とする酸化処理装置が提供される。
ここで、シリコン系被処理物としては例えば溝などが加工された凹凸物品を有するシリコン基板、多結晶シリコンのようなシリコンの凸状構造物が酸化膜を介して形成されたシリコン基板等が挙げられる。
本発明のさらに別の態様によると、凸部を有するシリコン基板を酸素ラジカルを含むプラズマに曝すと共に、前記基板に直流電圧を印加して酸化処理することにより前記凸部の側部にその上部および凸部周囲の酸化膜より薄い厚さの酸化膜を形成する工程を含むことを特徴とする半導体装置の製造方法が提供される。
本発明によれば、1000℃より低い温度で凸状構造物を有するシリコン基板のようなシリコン系被処理物におけるその凸部の上部および底部を選択的に酸化して厚い酸化膜を、その凸部側部にそれら上部および底部より薄い酸化膜を形成する、異方性の酸化が可能なシリコン系被処理物の酸化処理方法、ならびにこの酸化を実現することが可能な酸化処理装置を提供することができる。
以下、本発明の実施形態を詳細に説明する。
(第1実施形態)
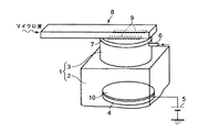
図1は、この第1実施形態に係る酸化処理装置を示す概略斜視図である。
真空チャンバ1は、シリコン系被処理物を酸化処理するための例えば矩形状の処理室2と、この処理室2の上部に連通して配置された例えば円筒状のプラズマ生成室3とから構成されている。前記処理室2は、真空ポンプで真空引きされる排気管(図示せず)が連結されている。ヒータが内蔵された例えば円板状のホルダ4は、前記処理室2内に配置されている。直流電源5は、前記ホルダ4に例えばその正電圧がホルダ4に印加し得るように接続されている。
ガス供給管6は、前記プラズマ生成室3の上部側壁に連結されている。マイクロ波が透過される石英ガラス製の誘電体窓7は、前記プラズマ生成室3の上部に設置されている。方形導波管8は、その導波管8のマイクロ波放出側が前記誘電体窓7に設置されている。前記導波管8は、その内部を伝播するマイクロ波の電界方向に垂直な面(H面)と、このH面に対して垂直方向に伸びるマイクロ波の電界方向に平行な面(E面)と、マイクロ波導入側と反対側にH面およびE面に対して垂直で、マイクロ波を反射する反射面とを有する。前記誘電体窓6に対向する前記導波管8のH面には、互いに平行する2つのスリット9が開口され、その導波管8に伝播されたマイクロ波は前記スリット9および誘電体窓7を通して前記プラズマ生成室3に放射される。
次に、前述した酸化処理装置を用いてシリコン系被処理物、例えば溝加工により凸部を有するシリコン基板の酸化処理方法を説明する。
前記構造のシリコン基板10を処理室2内のホルダ4に保持させる。つづいて、ホルダ4のヒータにより前記シリコン基板10を加熱する。この状態で真空ポンプを作動して真空チャンバ1内のガスを図示しない排気管を通して排気する。同時に、酸素を含むガス(例えば酸素(O2)をアルゴン(Ar)で希釈した混合ガス)をガス供給管6を通して前記真空チャンバ1上部のプラズマ生成室3に供給する。
前記真空チャンバ1内が所定の圧力になった時点で図示しないマイクロ波電源からマイクロ波を方形導波管8内に導入することによりマイクロ波をスリット9および誘電体窓7を通して前記プラズマ生成室3に放射する。このマイクロ波の電界によって、ArおよびO2ガスを電離して電子を生成し、プラズマ化して高電子密度(例えば1011cm-3以上)のプラズマを発生させる。この時、プラズマ中にはArイオン、O2イオン、Oイオン、O原子(ラジカル)や電子等が生成される。O原子は、O2分子に電子が衝突することで解離して生成される。O原子は、励起状態にあり、活性化されて反応性が高くなっている。この状態を酸素ラジカルと呼ぶ。
前述したプラズマの発生に前後して直流電圧電源5から直流電圧(例えば正電圧)をホルダ4に印加する。この時、ヒータにより加熱され、かつ正電圧が印加されたシリコン基板10はプラズマ中で生成された酸素ラジカルと反応し、異方性の酸化がなされる。
このような第1実施形態の異方性の酸化処理方法を酸素ラジカルのみでのシリコン基板の酸化と比較して以下に詳述する。図2は、酸素ラジカルのみでのシリコン基板の酸化を示すモデル図、図3はこの第1実施形態にような異方性の酸化を示すモデル図である。なお、図2、図3のシリコン基板10は上部11および側部12を有し、基板10表面を底部13とする凸部14が形成されている。
図2に示す酸素ラジカルのみでのシリコン基板の酸化処理方法において、シリコン基板10をプラズマ15に曝すと、酸素ラジカル16は熱運動によりプラズマ15中を拡散してシリコン基板10に到達する。一般的に、ラジカルなどの中性粒子はその温度がチャンバの壁の温度とほぼ同じであり、300〜400K程度となり、かつ電気的に中性であるために、電界により加速されない。その結果、その熱運動の方向性はランダムであり、凸部14を含むシリコン基板10表面でも方向性を持たずにシリコン基板10の構成元素であるSi17の酸化が進む。したがって、凸部14の上部11、側部12および底部13はほぼ同等の酸化が生じ、形成された酸化膜18の厚さはほぼ同じになる。
一方、図3に示す直流電圧を印加する第1実施形態の酸化処理方法において、シリコン基板10はその体積抵抗値が数Ω・cm程度の半導体であるため、直流電源5からホルダ4を通してシリコン基板10に印加した正電圧は殆ど降下せずにシリコン基板10表面に形成される酸化膜18に加わることになる。この電圧によりプラズマ15中の電子19は酸化膜18に方向性を持って引き寄せられ、凸部14においてその上部11および底部13の酸化膜18に選択的に付着し、凸部14の側部12に対しては付着し難くなる。付着した電子19により酸化膜18表面に例えば数Vから数10Vの電圧が発生し、酸化膜18表面とシリコン基板10との間に電界が発生する。この電界によりシリコン基板10の構成元素であるSi17がイオン化して酸化膜18中に拡散して酸化を促進する。前記電界は、前記電子19の付着量に比例するため、前記凸部14の上部11および底部13で大きくなり、側部12で小さくなる。その結果、前記凸部14の上部11および底部13では前記大きな電界による酸化促進効果が表れ、酸化膜18が厚く形成される。前記凸部14の側部12では、電界による酸化促進効果が低く、主にラジカル酸化のみの酸化効果となるため、酸化膜18が薄く形成される。したがって、このような作用により凸部14の上部11および底部13に厚い酸化膜18を、凸部14の側部12に薄い酸化膜18を形成する異方性の酸化がなされる。
前記シリコン基板の加熱は、酸素ラジカルによる酸化を採用することによりシリコン基板にドープされた不純物の拡散を生じる1000℃より十分に低い温度、例えば400〜600℃の温度にすることが可能になる。
前記酸素を含むガスは、ヘリウム、ネオン、アルゴン、クリプトン、キセノンのような希ガスと酸素との混合ガスを用いることが好ましい。特に、この混合ガス中の酸素比率は6体積%以下、より好ましくは0.5〜6体積%の範囲にすることが望ましい。このような酸素比率の混合ガスは、前述した電界に関与する電子をプラズマ中により多く発生させることが可能になり、異方性酸化をより一層実行し易くなる。また、前記希ガスの中で、特にアルゴンは他の希ガスに比べて廉価で電子の生成量を増大できるために好適である。
前記シリコン基板に印加する直流電圧は、酸素比率が1体積%前後の前記混合ガスを用いる場合、20〜40Vにすることが好ましい。この直流電圧を20V未満にすると、異方性酸化が困難になる虞れがある。一方、前記直流電圧が40Vを超えると、形成された酸化膜にピンホール等が発生して膜質を低下させる虞がある。
前記シリコン基板への直流電圧の印加において、正電圧をシリコン基板に印加することが好ましい。このように前記シリコン基板に正電圧を印加することにより前述したプラズマ中の電子に対して効率的に電界を加えることが可能になり、異方性酸化をより一層実行し易くなる。
以上、本発明に係る第1実施形態によれば凸部を有するシリコン基板のようなシリコン系被処理物を酸素ラジカルを含むプラズマ雰囲気に曝すとともに、前記基板に直流電圧を印加することによって、1000℃より低い温度(例えば400〜600℃℃)で前記シリコン系被処理物の異方性酸化を遂行でき、かつシリコン基板の不純物の拡散を抑制することが可能な酸化処理方法を提供できる。
また、このようなシリコン系被処理物の異方性酸化を実施し得る酸化処理装置を提供できる。
なお、前述した第1実施形態ではプラズマ発生手段としてマイクロ波を真空チャンバのプラズマ生成室の放射させるための導波管を用いたが、ICP(Inductively Coupled Plasma)を用いてもよい。
(実施例1)
図4に示す上部11および側部12を有し、基板10表面を底部13とする凸部14が形成されたシリコン基板10を用意した。このシリコン基板10を前述した図1に示す酸化処理装置の処理室2内のホルダ4に保持させた。つづいて、前記ホルダ4のヒータにより前記シリコン基板10を400℃に加熱した。この状態で真空ポンプを作動して真空チャンバ1内のガスを図示しない排気管を通して排気した。同時に、アルゴン、酸素および水素の混合ガスをガス供給管6を通してアルゴンに対する酸素の比率(O2/Ar+O2)が1.4体積%になるように約510sccmの流量で前記真空チャンバ1上部のプラズマ生成室3に供給した。真空チャンバ1内の圧力が150Paになった時点で前記シリコン基板10に直流電圧電源5から直流バイアス電圧を印加すると共に、図示しないマイクロ波電源から2kWのマイクロ波を方形導波管8内に導入することによりマイクロ波をスリット9および誘電体窓7を通して前記プラズマ生成室3に放射し、電子密度が3×1011cm-3のプラズマを発生させ、前記シリコン基板10を5分間酸化処理した。
酸化処理後のシリコン基板10について、その凸部14における底部13の酸化膜の厚さ(t1)および側部12の酸化膜の厚さ(t2)を測定した。その結果を図5に示す。なお、図5において横軸は直流バイアス電圧、左縦軸に底部および側部の酸化膜の厚さ、右縦軸は(側部の酸化膜の厚さ)/(底部の酸化膜の厚さ)の比を示す。
図5から明らかなようにシリコン基板に直流バイアス電圧を印加すると、図4に示す凸部14の側部12に形成される酸化膜の厚さ(t2)は直流バイアス電圧無印加に比べて変化が小さいものの、底部13に形成される酸化膜の厚さは増大し、異方性の酸化がなされることがわかる。特に、直流バイアス電圧が20〜40Vの範囲で底部13に形成される酸化膜の厚さは顕著に増大し、(側部の酸化膜の厚さ)/(底部の酸化膜の厚さ)の比も小さくなって、より高い異方性の酸化がなされる。
(実施例2)
アルゴン、酸素および水素の混合ガス中のアルゴンに対する酸素比率(O2/Ar+O2)[R]を0体積%<R≦30体積%にし、かつ直流バイアス電圧を0Vに設定した以外、実施例1と同様な方法によりシリコン基板の酸化処理を行った。このような酸化処理によるシリコン基板における凸部の底部での酸化速度を測定した。その結果を図6に示す。
図6から明らかなように混合ガス中のアルゴンに対する酸素比率が1体積%程度で酸化速度が最大になり、その酸素比率の増大に伴って酸化速度が低下することがわかる。
(第2実施形態)
図7は、この第2実施形態に係る酸化処理装置を示す概略斜視図である。
真空チャンバ21は、シリコン系被処理物を酸化処理するための例えば矩形状の処理室22と、この処理室22の上部に連通して配置された例えば円筒室23とから構成されている。前記処理室22は、真空ポンプで真空引きされる排気管(図示せず)が連結されている。ヒータが内蔵された例えば円板状のホルダ24は、前記処理室22内に配置されている。
放電管25は、マイクロ波が導入される水平方向に延びる方形導波管26の出口端部付近にその水平面に対して垂直に挿入されている。ガス供給管27は、前記放電管25の上端に連結されている。前記放電管25の下端は、ボックス28を介して水平方向に延びる酸素ラジカル輸送管29に連結されている。この輸送管29は、前記真空チャンバ21の処理室22側壁に連結されている。
例えば石英ガラスからなる紫外光透過窓30は、前記円筒室23の上端に配置されている。紫外光照射手段である複数本、例えば3本の紫外光ランプ31は、前記透過窓30上に並べて配置されている。反射ミラー32は、前記紫外光ランプ31の上方に配置されている。
次に、前述した酸化処理装置を用いてシリコン系被処理物、例えば溝加工により凸部を有するシリコン基板の酸化処理方法を説明する。
前記構造のシリコン基板33を処理室22内のホルダ24に保持させる。つづいて、ホルダのヒータにより前記シリコン基板33を加熱する。この状態で真空ポンプを作動して真空チャンバ21、輸送管29および放電管25内のガスを図示しない排気管を通して排気する。同時に、酸素を含むガス(例えば酸素(O2)をアルゴン(Ar)で希釈した混合ガス)をガス供給管27を通して前記放電管25内に供給する。前記放電管25内等が所定の圧力になった時点で図示しないマイクロ波電源からマイクロ波を方形導波管26内に導入することによりマイクロ波を前記放電管25内に放射する。このマイクロ波の電界によって、ArおよびO2ガスを電離して電子を生成し、プラズマ化して高電子密度のプラズマを発生させる。この時、プラズマ中にはArイオン、O2イオン、Oイオン、O原子(ラジカル)や電子等が生成される。O原子は、O2分子に電子が衝突することで解離して生成される。O原子は、励起状態にあり、活性化されて反応性が高くなっている。この状態を酸素ラジカルと呼ぶ。この酸素ラジカルを含む各種イオンは、放電管25からボックス29および輸送管29を移動する。この間、Arイオン、O2イオン、Oイオンおよび電子からなる荷電粒子は前記放電管25および輸送管29の壁面に衝突してエネルギーを失って消滅する。一方、酸素ラジカルは前記放電管25および輸送管29の壁面に衝突してエネルギーを失わずに前記処理室22に導入され、前記シリコン基板33表面が酸素ラジカルの雰囲気に曝される。
前記酸素ラジカルの前記処理室22への導入直後に紫外光ランプ31を点灯させて紫外光を紫外線透過窓30および円筒室33を通して前記シリコン基板33表面に照射する。同時に、紫外光ランプ31の背面に配置した反射ミラー32で反射された紫外光も同様に前記シリコン基板33表面に照射されて、紫外光の効率的な照射がなされる。この時、シリコン基板33は紫外光を吸収し、電子が励起される。この電子は、シリコン基板33の表面側のみに現れ、その内部に電界が発生する。この電界を緩和するようにイオン化されたシリコンが基板33の表面に移動する。ヒータにより加熱されたシリコン基板33の表面において、前記移動したシリコンイオンと雰囲気中の酸素ラジカルとが反応して酸化膜を形成する。
前述した紫外光ランプ31等からの紫外光は、シリコン基板の表面に垂直方向に方向性を以って照射される。つまり、紫外光はシリコン基板33上に形成された凸部の上部および底部にのみに照射される。光の回折の影響により若干凸部の側部にも紫外光は照射されるが、上部および底部に照射される光量と比較して無視できる程度に少ない。したがって、前述した電子励起効果はシリコン基板33上に形成した凸部の上部および底部のみに表れ、酸化が促進されるため、選択的な酸化、つまり異方性の酸化が可能となる。
前記シリコン基板の加熱は、酸素ラジカルによる酸化を採用することによりシリコン基板にドープされた不純物の拡散を生じる1000℃より十分に低い温度、例えば400〜600℃の温度にすることが可能になる。
前記酸素を含むガスは、酸素単独、またはヘリウム、ネオン、アルゴン、クリプトン、キセノンのような希ガスと酸素との混合ガスを用いることができる。この混合ガス中の酸素比率は、前述した第1実施形態のような制約はなく任意であり、例えば酸素比率が50〜100体積%の範囲にすればよい。
前記紫外光は、その照射時に電子を効率的に励起させる目的から、シリコン(Si)に吸収される波長域を選択することが好ましい。
以上、本発明に係る第2実施形態によれば凸部を有するシリコン基板のようなシリコン系被処理物を酸素ラジカルを含む雰囲気に曝すとともに、前記基板に紫外光を照射することによって、1000℃より低い温度(例えば400〜600℃)で前記シリコン系被処理物の異方性酸化を遂行でき、かつシリコン基板の不純物の拡散を抑制することが可能な酸化処理方法を提供できる。
また、このようなシリコン系被処理物の異方性酸化を実施し得る酸化処理装置を提供できる。
以上詳述したように、本発明によれば1000℃より低い温度で凸状構造物を有するシリコン基板のようなシリコン系被処理物におけるその凸部の上部および底部を選択的に酸化して厚い酸化膜を、その凸部側部にそれら上部および底部より薄い酸化膜を形成する、異方性の酸化が可能な半導体装置の製造プロセスに有用なシリコン系被処理物の酸化処理方法、ならびにこの酸化を実現することが可能な酸化処理装置を提供することができる。
本発明の第1実施形態に係る酸化処理装置を示す概略斜視図。 従来の酸素ラジカルによる酸化モデルを示す概略図。 本発明の第1実施形態に係る電界印加によるラジカル酸化モデルを示す概略図。 本発明の実施例1に用いられる凸部構造を有するシリコン基板を示す断面図。 本発明の実施例1における直流バイアス電圧と、凸部の底部および側部の酸化膜の厚さ、並びに(側部の酸化膜の厚さ)/(底部の酸化膜の厚さ)の比との関係を示す特性図。 本発明の実施例2におけるアルゴンに対する酸素比率と酸化速度との関係を示す特性図。 本発明の第2実施形態に係る酸化処理装置を示す概略斜視図。
符号の説明
1、21…真空チャンバ、2、22…処理室、3…プラズマ生成室、24、4…ホルダ、5…直流電源、6、27…ガス供給管、8、26…方形導波管、10…シリコン基板、11…上部、12…側部、13…底部、14…凸部、25…放電管、29…酸素ラジカル輸送管、30…紫外光ランプ、32…反射ミラー。

Claims (6)

  1. シリコン系被処理物を酸素ラジカルを含むプラズマに曝すと共に、前記基板に直流電圧を印加することにより異方性の酸化を行うことを特徴とするシリコン系被処理物の酸化処理方法。
  2. チャンバと、
    前記チャンバ内に配置され、シリコン系被処理物を保持するためのホルダと、
    前記チャンバ内に酸素ラジカルを含むプラズマを生成する手段と、
    前記基板に直流電圧を供給するための直流電源と
    を備えたことを特徴とする酸化処理装置。
  3. シリコン系被処理物を酸素ラジカルを含む雰囲気に曝すと共に、前記基板に紫外光を照射することにより異方性の酸化を行うことを特徴とするシリコン系被処理物の酸化処理方法。
  4. チャンバと、
    前記チャンバ内に配置され、シリコン系被処理物を保持するためのホルダと、
    前記チャンバ内に酸素ラジカルを含む雰囲気にするための酸素ラジカル発生手段と、
    前記基板に紫外光を照射するための紫外光照射手段と
    を備えたことを特徴とする酸化処理装置。
  5. 前記基板を400〜600℃の温度に加熱することを特徴とする請求項1または3記載のシリコン系被処理物の酸化処理方法。
  6. 凸部を有するシリコン基板を酸素ラジカルを含むプラズマに曝すと共に、前記基板に直流電圧を印加して酸化処理することにより前記凸部の側部にその上部および凸部周囲の酸化膜より薄い厚さの酸化膜を形成する工程を含むことを特徴とする半導体装置の製造方法。
JP2004107878A 2004-03-31 2004-03-31 シリコン基板の酸化処理方法 Expired - Fee Related JP4643168B2 (ja)

Priority Applications (1)

Application Number Priority Date Filing Date Title
JP2004107878A JP4643168B2 (ja) 2004-03-31 2004-03-31 シリコン基板の酸化処理方法

Applications Claiming Priority (1)

Application Number Priority Date Filing Date Title
JP2004107878A JP4643168B2 (ja) 2004-03-31 2004-03-31 シリコン基板の酸化処理方法

Publications (2)

Publication Number Publication Date
JP2005294551A true JP2005294551A (ja) 2005-10-20
JP4643168B2 JP4643168B2 (ja) 2011-03-02

Family

ID=35327140

Family Applications (1)

Application Number Title Priority Date Filing Date
JP2004107878A Expired - Fee Related JP4643168B2 (ja) 2004-03-31 2004-03-31 シリコン基板の酸化処理方法

Country Status (1)

Country Link
JP (1) JP4643168B2 (ja)

Cited By (6)

* Cited by examiner, † Cited by third party
Publication number Priority date Publication date Assignee Title
JP2007165731A (ja) * 2005-12-15 2007-06-28 Toshiba Corp 絶縁膜の製造方法、薄膜トランジスタの製造方法及び液晶表示デバイスの製造方法
WO2008123431A1 (ja) * 2007-03-30 2008-10-16 Tokyo Electron Limited プラズマ酸化処理方法、プラズマ処理装置、及び、記憶媒体
JP2009200483A (ja) * 2008-01-24 2009-09-03 Tokyo Electron Ltd シリコン酸化膜の形成方法
US8404602B2 (en) 2010-04-13 2013-03-26 Fujifilm Corporation Plasma oxidation method and plasma oxidation apparatus
KR20160075839A (ko) * 2008-12-12 2016-06-29 맷슨 테크놀로지, 인크. 기존 구조에 대한 영향을 최소화하면서 실리콘에 산화물 박막을 성장시키는 방법 및 장치
CN111566780A (zh) * 2018-01-15 2020-08-21 应用材料公司 添加氩至远程等离子体氧化

Cited By (22)

* Cited by examiner, † Cited by third party
Publication number Priority date Publication date Assignee Title
JP2007165731A (ja) * 2005-12-15 2007-06-28 Toshiba Corp 絶縁膜の製造方法、薄膜トランジスタの製造方法及び液晶表示デバイスの製造方法
WO2008123431A1 (ja) * 2007-03-30 2008-10-16 Tokyo Electron Limited プラズマ酸化処理方法、プラズマ処理装置、及び、記憶媒体
KR101188553B1 (ko) * 2007-03-30 2012-10-05 도쿄엘렉트론가부시키가이샤 플라즈마 산화 처리 방법 및 플라즈마 처리 장치
CN101652842B (zh) * 2007-03-30 2012-11-14 东京毅力科创株式会社 等离子体氧化处理方法和等离子体处理装置
US8372761B2 (en) 2007-03-30 2013-02-12 Tokyo Electron Limited Plasma oxidation processing method, plasma processing apparatus and storage medium
TWI487027B (zh) * 2007-03-30 2015-06-01 東京威力科創股份有限公司 Plasma oxidation treatment method
JP2009200483A (ja) * 2008-01-24 2009-09-03 Tokyo Electron Ltd シリコン酸化膜の形成方法
KR20160075839A (ko) * 2008-12-12 2016-06-29 맷슨 테크놀로지, 인크. 기존 구조에 대한 영향을 최소화하면서 실리콘에 산화물 박막을 성장시키는 방법 및 장치
KR101689147B1 (ko) 2008-12-12 2016-12-23 맷슨 테크놀로지, 인크. 기존 구조에 대한 영향을 최소화하면서 실리콘에 산화물 박막을 성장시키는 방법 및 장치
US8404602B2 (en) 2010-04-13 2013-03-26 Fujifilm Corporation Plasma oxidation method and plasma oxidation apparatus
CN111566780A (zh) * 2018-01-15 2020-08-21 应用材料公司 添加氩至远程等离子体氧化
KR20200100851A (ko) * 2018-01-15 2020-08-26 어플라이드 머티어리얼스, 인코포레이티드 원격 플라즈마 산화에 대한 아르곤 추가
JP2021510932A (ja) * 2018-01-15 2021-04-30 アプライド マテリアルズ インコーポレイテッドApplied Materials,Incorporated 遠隔プラズマによる酸化へのアルゴン添加
JP7111819B2 (ja) 2018-01-15 2022-08-02 アプライド マテリアルズ インコーポレイテッド 遠隔プラズマによる酸化へのアルゴン添加
KR102455355B1 (ko) * 2018-01-15 2022-10-18 어플라이드 머티어리얼스, 인코포레이티드 원격 플라즈마 산화에 대한 아르곤 추가
JP2022163040A (ja) * 2018-01-15 2022-10-25 アプライド マテリアルズ インコーポレイテッド 遠隔プラズマによる酸化へのアルゴン添加
KR20230163578A (ko) * 2018-01-15 2023-11-30 어플라이드 머티어리얼스, 인코포레이티드 원격 플라즈마 산화에 대한 아르곤 추가
CN111566780B (zh) * 2018-01-15 2023-12-01 应用材料公司 添加氩至远程等离子体氧化
JP7474805B2 (ja) 2018-01-15 2024-04-25 アプライド マテリアルズ インコーポレイテッド 遠隔プラズマによる酸化へのアルゴン添加
JP2024105276A (ja) * 2018-01-15 2024-08-06 アプライド マテリアルズ インコーポレイテッド 遠隔プラズマによる酸化へのアルゴン添加
KR102845765B1 (ko) * 2018-01-15 2025-08-13 어플라이드 머티어리얼스, 인코포레이티드 원격 플라즈마 산화에 대한 아르곤 추가
JP7785840B2 (ja) 2018-01-15 2025-12-15 アプライド マテリアルズ インコーポレイテッド 遠隔プラズマによる酸化へのアルゴン添加

Also Published As

Publication number Publication date
JP4643168B2 (ja) 2011-03-02

Similar Documents

Publication Publication Date Title
US5803975A (en) Microwave plasma processing apparatus and method therefor
CN101405846B (zh) 等离子体氧化处理方法及装置
JP5989119B2 (ja) プラズマリアクタ及びプラズマを生成する方法
CN1322793C (zh) 用多缝隙天线的表面波等离子体处理装置
JP5385875B2 (ja) プラズマ処理装置及び光学モニタ装置
US20060003603A1 (en) Method and apparatus for processing
TW200839846A (en) Pattern formation method and manufacturing method of semiconductor device
JP4643168B2 (ja) シリコン基板の酸化処理方法
JP3907444B2 (ja) プラズマ処理装置及び構造体の製造方法
JP2007088199A (ja) 処理装置
JP3042208B2 (ja) マイクロ波プラズマ処理装置
KR100834612B1 (ko) 실리콘계 피처리물의 처리 방법, 처리 장치 및 반도체장치의 제조 방법
TWI223856B (en) Method for oxidizing a silicon wafer at low-temperature and apparatus for the same
KR100425658B1 (ko) 마이크로파 공급기, 이를 구비한 플라즈마 처리 장치, 및 플라즈마 처리 방법
JP4715474B2 (ja) 太陽電池の反射防止膜成膜方法、および太陽電池反射防止膜成膜装置
JP3258441B2 (ja) マイクロ波プラズマ処理装置およびマイクロ波プラズマ処理方法
JP2700297B2 (ja) 処理方法
JP2005123389A (ja) プラズマ処理方法、プラズマ成膜方法、プラズマエッチング方法およびプラズマ処理装置
JPH11193466A (ja) プラズマ処理装置及びプラズマ処理方法
Suzuki et al. Silicon dioxide film deposited by photoassisted microwave plasma CVD using TEOS
JPH01307225A (ja) 負イオン生成方式及び基板処理方式
JP2010118402A (ja) 半導体ゲート絶縁膜の形成方法
JP2006216774A (ja) 絶縁膜の成膜方法
JPH11126773A (ja) プラズマ処理装置及びこの装置のガスの導入方法
JPH11167998A (ja) パラボラアンテナを用いたプラズマ処理装置および処理方法

Legal Events

Date Code Title Description
A621 Written request for application examination

Effective date: 20070330

Free format text: JAPANESE INTERMEDIATE CODE: A621

A977 Report on retrieval

Free format text: JAPANESE INTERMEDIATE CODE: A971007

Effective date: 20070703

A131 Notification of reasons for refusal

Effective date: 20080401

Free format text: JAPANESE INTERMEDIATE CODE: A131

A521 Written amendment

Free format text: JAPANESE INTERMEDIATE CODE: A523

Effective date: 20080602

A02 Decision of refusal

Free format text: JAPANESE INTERMEDIATE CODE: A02

Effective date: 20080909

A01 Written decision to grant a patent or to grant a registration (utility model)

Free format text: JAPANESE INTERMEDIATE CODE: A01

A61 First payment of annual fees (during grant procedure)

Free format text: JAPANESE INTERMEDIATE CODE: A61

Effective date: 20101202

FPAY Renewal fee payment (prs date is renewal date of database)

Year of fee payment: 3

Free format text: PAYMENT UNTIL: 20131210

LAPS Cancellation because of no payment of annual fees