JP2005294437A - 半導体素子封止剤、半導体装置および半導体装置の実装方法 - Google Patents
半導体素子封止剤、半導体装置および半導体装置の実装方法 Download PDFInfo
- Publication number
- JP2005294437A JP2005294437A JP2004105620A JP2004105620A JP2005294437A JP 2005294437 A JP2005294437 A JP 2005294437A JP 2004105620 A JP2004105620 A JP 2004105620A JP 2004105620 A JP2004105620 A JP 2004105620A JP 2005294437 A JP2005294437 A JP 2005294437A
- Authority
- JP
- Japan
- Prior art keywords
- semiconductor element
- semiconductor device
- component
- weight
- group
- Prior art date
- Legal status (The legal status is an assumption and is not a legal conclusion. Google has not performed a legal analysis and makes no representation as to the accuracy of the status listed.)
- Granted
Links
Images
Classifications
-
- H—ELECTRICITY
- H01—ELECTRIC ELEMENTS
- H01L—SEMICONDUCTOR DEVICES NOT COVERED BY CLASS H10
- H01L2224/00—Indexing scheme for arrangements for connecting or disconnecting semiconductor or solid-state bodies and methods related thereto as covered by H01L24/00
- H01L2224/01—Means for bonding being attached to, or being formed on, the surface to be connected, e.g. chip-to-package, die-attach, "first-level" interconnects; Manufacturing methods related thereto
- H01L2224/26—Layer connectors, e.g. plate connectors, solder or adhesive layers; Manufacturing methods related thereto
- H01L2224/31—Structure, shape, material or disposition of the layer connectors after the connecting process
- H01L2224/32—Structure, shape, material or disposition of the layer connectors after the connecting process of an individual layer connector
- H01L2224/321—Disposition
- H01L2224/32151—Disposition the layer connector connecting between a semiconductor or solid-state body and an item not being a semiconductor or solid-state body, e.g. chip-to-substrate, chip-to-passive
- H01L2224/32221—Disposition the layer connector connecting between a semiconductor or solid-state body and an item not being a semiconductor or solid-state body, e.g. chip-to-substrate, chip-to-passive the body and the item being stacked
- H01L2224/32225—Disposition the layer connector connecting between a semiconductor or solid-state body and an item not being a semiconductor or solid-state body, e.g. chip-to-substrate, chip-to-passive the body and the item being stacked the item being non-metallic, e.g. insulating substrate with or without metallisation
-
- H—ELECTRICITY
- H01—ELECTRIC ELEMENTS
- H01L—SEMICONDUCTOR DEVICES NOT COVERED BY CLASS H10
- H01L2224/00—Indexing scheme for arrangements for connecting or disconnecting semiconductor or solid-state bodies and methods related thereto as covered by H01L24/00
- H01L2224/01—Means for bonding being attached to, or being formed on, the surface to be connected, e.g. chip-to-package, die-attach, "first-level" interconnects; Manufacturing methods related thereto
- H01L2224/42—Wire connectors; Manufacturing methods related thereto
- H01L2224/47—Structure, shape, material or disposition of the wire connectors after the connecting process
- H01L2224/48—Structure, shape, material or disposition of the wire connectors after the connecting process of an individual wire connector
- H01L2224/481—Disposition
- H01L2224/48151—Connecting between a semiconductor or solid-state body and an item not being a semiconductor or solid-state body, e.g. chip-to-substrate, chip-to-passive
- H01L2224/48221—Connecting between a semiconductor or solid-state body and an item not being a semiconductor or solid-state body, e.g. chip-to-substrate, chip-to-passive the body and the item being stacked
- H01L2224/48225—Connecting between a semiconductor or solid-state body and an item not being a semiconductor or solid-state body, e.g. chip-to-substrate, chip-to-passive the body and the item being stacked the item being non-metallic, e.g. insulating substrate with or without metallisation
- H01L2224/48227—Connecting between a semiconductor or solid-state body and an item not being a semiconductor or solid-state body, e.g. chip-to-substrate, chip-to-passive the body and the item being stacked the item being non-metallic, e.g. insulating substrate with or without metallisation connecting the wire to a bond pad of the item
-
- H—ELECTRICITY
- H01—ELECTRIC ELEMENTS
- H01L—SEMICONDUCTOR DEVICES NOT COVERED BY CLASS H10
- H01L2924/00—Indexing scheme for arrangements or methods for connecting or disconnecting semiconductor or solid-state bodies as covered by H01L24/00
- H01L2924/10—Details of semiconductor or other solid state devices to be connected
- H01L2924/102—Material of the semiconductor or solid state bodies
- H01L2924/1025—Semiconducting materials
- H01L2924/10251—Elemental semiconductors, i.e. Group IV
- H01L2924/10253—Silicon [Si]
-
- H—ELECTRICITY
- H01—ELECTRIC ELEMENTS
- H01L—SEMICONDUCTOR DEVICES NOT COVERED BY CLASS H10
- H01L2924/00—Indexing scheme for arrangements or methods for connecting or disconnecting semiconductor or solid-state bodies as covered by H01L24/00
- H01L2924/15—Details of package parts other than the semiconductor or other solid state devices to be connected
- H01L2924/151—Die mounting substrate
- H01L2924/1515—Shape
- H01L2924/15153—Shape the die mounting substrate comprising a recess for hosting the device
- H01L2924/15155—Shape the die mounting substrate comprising a recess for hosting the device the shape of the recess being other than a cuboid
-
- H—ELECTRICITY
- H01—ELECTRIC ELEMENTS
- H01L—SEMICONDUCTOR DEVICES NOT COVERED BY CLASS H10
- H01L2924/00—Indexing scheme for arrangements or methods for connecting or disconnecting semiconductor or solid-state bodies as covered by H01L24/00
- H01L2924/15—Details of package parts other than the semiconductor or other solid state devices to be connected
- H01L2924/151—Die mounting substrate
- H01L2924/153—Connection portion
- H01L2924/1532—Connection portion the connection portion being formed on the die mounting surface of the substrate
- H01L2924/15321—Connection portion the connection portion being formed on the die mounting surface of the substrate being a ball array, e.g. BGA
Landscapes
- Compositions Of Macromolecular Compounds (AREA)
- Structures Or Materials For Encapsulating Or Coating Semiconductor Devices Or Solid State Devices (AREA)
Abstract
【解決手段】(A)常温で液状であり一分子中に少なくとも2個のアルケニル基を有するオルガノポリシロキサン100重量部、(B)一分子中に少なくとも2個のケイ素原子結合水素原子を有するオルガノポリシロキサン、(C)触媒量の白金(II) ビス(アセチルアセトナート)、(D)充填剤0〜400重量部および(E)有機ケイ素化合物系接着促進剤0〜10重量部からなり、常温で液状ないしペースト状であり熱硬化性である、半導体素子封止剤;上記半導体素子封止剤の加熱硬化物により封止される半導体装置。
【選択図】なし
Description
(2) 半導体素子が、半田付けで実装される半導体装置内の半導体素子であることを特徴とする、(1)記載の半導体素子封止剤。
(3) 少なくとも半導体素子とボンデイングワイヤが(1)記載の半導体素子封止剤の加熱硬化物で封止されており、搭載基板へハンダ付けにより実装されるものであることを特徴とする半導体装置。
(4) 少なくとも半導体素子とボンデイングワイヤが(1)記載の半導体素子封止剤の加熱硬化物で封止されており、半田ボールもしくはバンクを具備していることを特徴とする、BGA型もしくはCSP型半導体装置。
(5) ハンダリフローにより搭載基板への実装を行うことを特徴とする(4)記載のBGA型もしくはCSP型半導体装置の実装方法。;に関する。
(A)成分中のケイ素原子結合アルケニル基は一分子中に少なくとも2個あればよく、その結合位置は限定されず、例えば、分子鎖末端、分子鎖側鎖、分子鎖末端と分子鎖側鎖が挙げられる。(A)成分中のケイ素原子結合アルケニル基としては、具体的には、ビニル基,アリル基,ブテニル基,ペンテニル基,ヘキセニル基が例示される。また(A)成分中のアルケニル基以外の基としては、一価飽和脂肪族炭化水素基および一価芳香族炭化水素基が例示され、具体的には、メチル基,エチル基,プロピル基等のアルキル基;フェニル基,トリル基等のアリール基;ベンジル基,フェネチル基等のアラルキル基;3‐クロロプロピル基,3,3,3‐トリフロロプロピル基等のハロアルキル基が例示されるが、メチル基、ついでフェニル基が好ましい。
ケイ素原子結合水素原子は一分子中に少なくとも2個あればよいが、(A)成分中のアルケニル基が2個のときは3個以上ある必要がある。ケイ素原子結合水素原子の結合位置は特に限定されず、例えば、分子鎖末端、分子鎖側鎖、分子鎖末端と分子鎖側鎖が例示される。(B)成分中のケイ素原子結合水素原子以外の基としては、アルケニル基以外の一価炭化水素基が挙げられ、具体的には、メチル基,エチル基,プロピル基等のアルキル基;フェニル基,トリル基等のアリール基;ベンジル基,フェネチル基等のアラルキル基;3−クロロプロピル基,3,3,3−トリフロロプロピル基等のハロアルキル基が例示される。(B)成分の粘度は特に限定されず、通常、25℃において1〜10,000mPa・sの範囲内であることが好ましく、さらに5〜1,000mPa・sの範囲内にあることがより好ましい。(B)成分の具体例として、両末端トリメチルシロキシ基封鎖メチルハイドロジェンポリシロキサン、両末端トリメチルシロキシ基封鎖ジメチルシロキサン・メチルハイドロジェンシロキサンコポリマー、環状メチルハイドロジェンシロキサンオリゴマー、メチルトリス(ジメチルハイドロジェンシロキシ)シラン、テトラ(ジメチルハイドロジェンシロキシ)シランがある。これら(B)成分は2種以上を併用してもよい。
;式: CH2=CH(CH3)COO‐(CH2)3‐Si(OC2H5)3
で示されるメタクリロキシアルキル基とケイ素原子結合アルコキシ基とを有するオルガノシラン、メタクリロキシアルキル基とケイ素原子結合アルコキシ基とを有するオルガノシロキサンオリゴマー;
式:3‐グリシドキシプロピルトリメトキシシランで例示されるケイ素原子結合アルコキシ基とエポキシ基とを有するオルガノシラン、3‐グリシドキシプロピル基とケイ素原子結合アルコキシ基を有するオルガノシロキサンオリゴマー;
式:HSi(OC2H5)3で例示されるケイ素原子結合水素原子とケイ素原子結合アルコキシ基とを有する有機ケイ素化合物、ケイ素原子結合水素原子とケイ素原子結合アルコキシ基とを有するオルガノシロキサンオリゴマー;
シロキサン単位式:(ViMeSiO2/2)a(MeO1/2)b(GSiO3/2)c
(式中、Viはビニル基、Meはメチル基、Gはグリシジドキシプロピル基、a、bおよびcは1以下の正数であり合計1である。)で示されるオルガノシロキサンオリゴマー、
シロキサン単位式:(ViMeSiO2/2)a(MeO1/2)b(GSiO3/2)c(Me2SiO2/2)d
(式中、dは正数であり、他は上記どおりである。)で示されるオルガノシロキサンオリゴマーが例示される。(C)成分は低粘度液状であることが好ましく、25℃において1〜500mPa・sの範囲内であることが好ましい。
(C)成分の配合量は、(A)成分100重量部に対して、0〜10重量部の範囲であり、好ましくは0.1〜3.0重量部の範囲である。
付加反応抑制剤として、3−メチル−1−ブチン−3−オール、3,5−ジメチル−1−ヘキシン−3−オール、フェニルブチノール等のアルキンアルコール;3−メチル−3−ペンテン−1−イン、3,5−ジメチル−3−ヘキセン−1−イン等のエンイン化合物;1,3,5,7−テトラメチル−1,3,5,7−テトラビニルシクロテトラシロキサン、1,3,5,7−テトラメチル−1,3,5,7−テトラヘキセニルシクロテトラシロキサン、ベンゾトリアゾールが例示される。付加反応抑制剤の配合量は、組成物の常温での硬化を防止し加熱時に硬化可能となる量であればよいが、目安として(A)成分100重量部当たり0.0001〜5重量部の範囲内である。
(A)成分〜(C)成分、(A)成分〜(D)成分、あるいは(A)成分〜(E)成分を均一に混合すると硬化反応が室温でも徐々に進行するので、貯蔵安定性を確保するため、例えば、(A)成分と(B)成分の均一混合物と、(A)成分と(C)成分の均一混合物とをそれぞれ調製し、使用直前にこれらの混合物を均一に混合する方法を採ってもよい。その際(D)成分と(E)成分は、一方または両方の混合物に配合してもよい。
本発明の半導体素子封止剤は、(D)成分を含有しないときは常温で液状であり、(D)成分を含有するときは常温でペースト状であり、(D)成分の配合量が大きくなるにしたがって粘ちょうになる。粘度が大きすぎると半導体素子を封止しにくくなるので、25℃において150Pa・s以下であることが好ましい。本発明の半導体素子封止剤は、硬化触媒が(C)白金(II) ビス(アセチルアセトナート)であるので、通常のヒドロシリル化反応硬化型シリコーン組成物からなる半導体素子封止剤と違って、約175℃以下では硬化せず、約175℃から硬化し始め,急速に硬化するという特徴がある。
しかし、リード線を搭載基板のスルーホールに挿入して半田付けするのであれば、半導体素子が載置された基板(例、放熱板、プリント配線基板)の裏面または表面にリード線が立設されたものであってもよい。また、半導体素子が載置された基板(例、放熱板、プリント配線基板)の裏面を搭載基板に半田付けして実装するものであれば、半導体素子が載置された基板(例、放熱板、プリント配線基板)の裏面や表面にリード線も半田ボールや半田バンプも存在しないものであってもよい。
半導体素子封止剤の加熱硬化特性は、CURELASTOMETER(JSR株式会社製)により測定した。
半導体素子封止剤の加熱硬化物の硬さは、金型(キャビティサイズ:縦10mmX横50mmX深さ1mm)のキャビティに半導体素子封止剤1gを流し込み、荷重2kgf/cm2で加圧しながら180℃で1時間加熱して硬化させることにより得たゴム状シートについてJIS K6253に従いA型硬度計を使用して測定した。
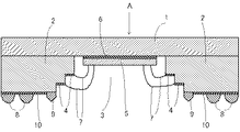
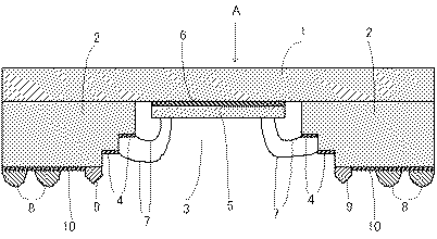
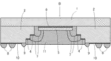
半導体素子封止剤の封止性能は、図1に示すBGA型半導体装置Bを下記のとおりに作製して導通試験を行って評価した。
図2に示す、平面視にて正方形の熱伝導性絶縁基板1の下面に耐熱性樹脂製多層回路基板2が密着しており、耐熱性樹脂製多層回路基板2の中央部には平面視にて正方形の凹部3が開口しており、凹部3の内壁は段付であり、段下面には導電性回路4が形成されており、凹部3の天井にはシリコンチップ5が液状エポキシ樹脂系ダイボンド剤6により固着しており、シリコンチップ5の下面の側端部近くのボンディングパッド(図示せず)と導電性回路4上のボンディングパッド(図示せず)とが複数の金製ボンディングワイヤ7で電気的に接続されており、耐熱性樹脂製多層回路基板2の下面に500個の半田ボール8が固着しており、凹部3の周囲の耐熱性樹脂製多層回路基板2上に平面視にて枠状のダム9が取り付けられており、耐熱性樹脂製多層回路基板2の下面の半田ボール8とダム9以外の表面はソルダーレジスト[2液性現像型ソルダーレジストインキPSR4000(太陽インキ株式会社製、ベース:アクリレート系樹脂類、硬化剤:エポキシ樹脂類組成物)]10により被覆されている半導体装置前駆体Aをひっくり返して、凹部3に半導体素子封止剤を流し込み、180℃で1時間加熱して硬化させることにより、シリコンチップ5とボンディングワイヤ7とボンディングパッド(図示せず)とが半導体素子封止剤の加熱硬化物11により封止されたBGA型半導体装置B(図1参照)を作製した。このBGA型半導体装置Bをひっくり返して、半田ボール8に対応する個所にハンダペーストを塗布した搭載基板(マザーボード)に搭載し、260℃のリフロー炉内を10秒間かけて通過させた。常温に戻した後、このBGA型半導体装置B搭載基板(マザーボード)の特定電極間に電流を流して電流値を測定した。合計20個のBGA型半導体装置B搭載基板について上記導通試験を行い、リーク電流の増加および導通不良のあったBGA型半導体装置を不良品としてその数を数えた。
[反り試験]
厚さ125μmのポリイミドフィルム上に底なしの金枠(キャビティサイズ:縦10mm×横50mm×深さ1mm)を載置し、半導体素子封止剤1gをキャビティに流し込み、荷重2kgf/cm2でプレスしながら180℃で1時間加熱して硬化させ、260℃まで昇温した。金枠をはづしてポリイミドフィルム上に半導体素子封止剤の硬化物が積層された試験片のポリイミドフィルムの耳を切除して室温に戻し、その反りを計測した。すなわち、短尺方向1端部の2点を固定し、反対側端部の反り上がり程度を定規により測定した。
攪拌羽付き混合装置に粘度2000mPa・sの両末端ジメチルビニルシロキシ基封鎖ジメチルポリシロキサン(ビニル基含有量=0.24重量%)25g、粘度10000mPa・sの両末端ジメチルビニルシロキシ基封鎖ジメチルポリシロキサン(ビニル基含有量=0.12重量%)14g、粘度50000mPa・sの両末端ジメチルビニルシロキシ基封鎖ジメチルポリシロキサン(ビニル基含有量=0.08重量%)15g、粘度18mPa・sの両末端トリメチルシロキシ基封鎖ジメチルシロキサン・メチルハイドロジェンシロキサン共重合体(ケイ素原子結合水素原子含有量=1.6重量%)3重量部(ケイ素原子結合水素原子/ケイ素原子結合ビニル基のモル比は1.5である)、平均粒径1.5μmの真球状シリカ(商品名アドマファインシリカSO-E5/45C、アドマテック株式会社製)40重量部およびフェニルブチノール0.05重量部を投入して均一になるまで混合し、ついで白金(II)ビス(アセチルアセトナート)(Aldrich社製、黄色結晶、融点250〜252℃、比重1g/cm3)0.2重量部およびシロキサン単位式:(ViMeSiO2/2)0.47(MeO1/2)0.35(GSiO3/2)0.18 (式中、Viはビニル基、Meはメチル基、Gはグリシジドキシプロピル基である。)で表される接着促進剤(粘度20mPa・s)2.75重量部を投入して均一になるまで混合してペースト状の半導体素子封止剤を得た。半導体素子封止剤の粘度、加熱硬化特性、硬さ、導通不良品数および反りを測定して表1に示した。
実施例1において、白金(II)ビス(アセチルアセトナート)の替わりに塩化白金酸と1,3−ジビニルテトラメチルジシロキサンをイソプロピルアルコールと炭酸ナトリウム存在下で反応させて得られた1,3−ジビニルテトラメチルジシロキサンの白金錯体(白金含有量5000重量ppm)(0.2重量部を使用した以外は同一条件で半導体素子封止剤を調製し、その諸特性を測定して表1に示した。
2 耐熱性樹脂製多層回路基板
3 凹部
4 導電性回路
5 シリコンチップ
6 液状エポキシ樹脂系ダイボンド剤
7 ボンディングワイヤ
8 半田ボール
9 ダム
10 ソルダーレジスト
11 半導体素子封止剤の加熱硬化物
A 半導体装置前駆体
B BGA型半導体装置
Claims (5)
- (A)常温で液状であり一分子中に少なくとも2個のアルケニル基を有するオルガノポリシロキサン 100重量部、(B)一分子中に少なくとも2個のケイ素原子結合水素原子を有するオルガノポリシロキサン{(B)成分は、(A)成分中のアルケニル基1個に対して、(B)成分中のケイ素原子結合水素原子が0.5〜10個となる量である。}、(C)触媒量の白金(II) ビス(アセチルアセトナート)、(D)充填剤 0〜400重量部および(E)有機ケイ素化合物系接着促進剤 0〜10重量部からなり、常温で液状ないしペースト状であり熱硬化性であることを特徴とする、半導体素子封止剤。
- 半導体素子が、半田付けで実装される半導体装置内の半導体素子であることを特徴とする、請求項1記載の半導体素子封止剤。
- 少なくとも半導体素子とボンデイングワイヤが請求項1記載の半導体素子封止剤の加熱硬化物で封止されており、搭載基板へハンダ付けにより実装されるものであることを特徴とする半導体装置。
- 少なくとも半導体素子とボンデイングワイヤが請求項1記載の半導体素子封止剤の加熱硬化物で封止されており、半田ボールもしくはバンクを具備していることを特徴とする、BGA型もしくはCSP型半導体装置。
- ハンダリフローにより搭載基板への実装を行うことを特徴とする請求項4記載のBGA型もしくはCSP型半導体装置の実装方法。
Priority Applications (1)
| Application Number | Priority Date | Filing Date | Title |
|---|---|---|---|
| JP2004105620A JP4775993B2 (ja) | 2004-03-31 | 2004-03-31 | 半導体素子封止剤、半導体装置および半導体装置の実装方法 |
Applications Claiming Priority (1)
| Application Number | Priority Date | Filing Date | Title |
|---|---|---|---|
| JP2004105620A JP4775993B2 (ja) | 2004-03-31 | 2004-03-31 | 半導体素子封止剤、半導体装置および半導体装置の実装方法 |
Publications (3)
| Publication Number | Publication Date |
|---|---|
| JP2005294437A true JP2005294437A (ja) | 2005-10-20 |
| JP2005294437A5 JP2005294437A5 (ja) | 2007-05-24 |
| JP4775993B2 JP4775993B2 (ja) | 2011-09-21 |
Family
ID=35327052
Family Applications (1)
| Application Number | Title | Priority Date | Filing Date |
|---|---|---|---|
| JP2004105620A Expired - Fee Related JP4775993B2 (ja) | 2004-03-31 | 2004-03-31 | 半導体素子封止剤、半導体装置および半導体装置の実装方法 |
Country Status (1)
| Country | Link |
|---|---|
| JP (1) | JP4775993B2 (ja) |
Cited By (6)
| Publication number | Priority date | Publication date | Assignee | Title |
|---|---|---|---|---|
| JP2008127517A (ja) * | 2006-11-24 | 2008-06-05 | Momentive Performance Materials Japan Kk | 半導体封止用シリコーン組成物および半導体装置 |
| JP2008156578A (ja) * | 2006-12-26 | 2008-07-10 | Momentive Performance Materials Japan Kk | 付加反応硬化型シリコーン組成物および半導体装置 |
| JP2012043881A (ja) * | 2010-08-17 | 2012-03-01 | Tdk Corp | 端子構造、プリント配線板、モジュール基板及び電子デバイス |
| CN106566253A (zh) * | 2015-10-13 | 2017-04-19 | 信越化学工业株式会社 | 加成单组分固化型导热有机硅润滑脂组合物 |
| JP2021075655A (ja) * | 2019-11-12 | 2021-05-20 | 信越化学工業株式会社 | 導電性シリコーン組成物、導電性シリコーン硬化物、導電性シリコーン硬化物の製造方法、及び導電性シリコーン積層体 |
| WO2022004463A1 (ja) * | 2020-06-30 | 2022-01-06 | ダウ・東レ株式会社 | 硬化性オルガノポリシロキサン組成物およびその使用 |
Citations (5)
| Publication number | Priority date | Publication date | Assignee | Title |
|---|---|---|---|---|
| JPH11199677A (ja) * | 1997-11-12 | 1999-07-27 | Kanegafuchi Chem Ind Co Ltd | 硬化性組成物及びそれを用いた成形体の作製方法 |
| JP2001089662A (ja) * | 1999-09-22 | 2001-04-03 | Kanegafuchi Chem Ind Co Ltd | 硬化性組成物及びそれを用いた成形体の作製方法 |
| JP3207929B2 (ja) * | 1992-07-16 | 2001-09-10 | 東レ・ダウコーニング・シリコーン株式会社 | 半導体素子被覆剤および半導体装置 |
| JP2002265523A (ja) * | 2001-03-13 | 2002-09-18 | Kanegafuchi Chem Ind Co Ltd | 末端にアルケニル基を有するビニル系重合体の製造方法、ビニル系重合体および硬化性組成物 |
| JP2003213134A (ja) * | 2002-01-28 | 2003-07-30 | Shin Etsu Chem Co Ltd | 半導体封止用シリコーン組成物および半導体装置 |
-
2004
- 2004-03-31 JP JP2004105620A patent/JP4775993B2/ja not_active Expired - Fee Related
Patent Citations (5)
| Publication number | Priority date | Publication date | Assignee | Title |
|---|---|---|---|---|
| JP3207929B2 (ja) * | 1992-07-16 | 2001-09-10 | 東レ・ダウコーニング・シリコーン株式会社 | 半導体素子被覆剤および半導体装置 |
| JPH11199677A (ja) * | 1997-11-12 | 1999-07-27 | Kanegafuchi Chem Ind Co Ltd | 硬化性組成物及びそれを用いた成形体の作製方法 |
| JP2001089662A (ja) * | 1999-09-22 | 2001-04-03 | Kanegafuchi Chem Ind Co Ltd | 硬化性組成物及びそれを用いた成形体の作製方法 |
| JP2002265523A (ja) * | 2001-03-13 | 2002-09-18 | Kanegafuchi Chem Ind Co Ltd | 末端にアルケニル基を有するビニル系重合体の製造方法、ビニル系重合体および硬化性組成物 |
| JP2003213134A (ja) * | 2002-01-28 | 2003-07-30 | Shin Etsu Chem Co Ltd | 半導体封止用シリコーン組成物および半導体装置 |
Cited By (8)
| Publication number | Priority date | Publication date | Assignee | Title |
|---|---|---|---|---|
| JP2008127517A (ja) * | 2006-11-24 | 2008-06-05 | Momentive Performance Materials Japan Kk | 半導体封止用シリコーン組成物および半導体装置 |
| JP2008156578A (ja) * | 2006-12-26 | 2008-07-10 | Momentive Performance Materials Japan Kk | 付加反応硬化型シリコーン組成物および半導体装置 |
| JP2012043881A (ja) * | 2010-08-17 | 2012-03-01 | Tdk Corp | 端子構造、プリント配線板、モジュール基板及び電子デバイス |
| CN106566253A (zh) * | 2015-10-13 | 2017-04-19 | 信越化学工业株式会社 | 加成单组分固化型导热有机硅润滑脂组合物 |
| JP2017075202A (ja) * | 2015-10-13 | 2017-04-20 | 信越化学工業株式会社 | 付加一液硬化型熱伝導性シリコーングリース組成物 |
| JP2021075655A (ja) * | 2019-11-12 | 2021-05-20 | 信越化学工業株式会社 | 導電性シリコーン組成物、導電性シリコーン硬化物、導電性シリコーン硬化物の製造方法、及び導電性シリコーン積層体 |
| WO2022004463A1 (ja) * | 2020-06-30 | 2022-01-06 | ダウ・東レ株式会社 | 硬化性オルガノポリシロキサン組成物およびその使用 |
| JPWO2022004463A1 (ja) * | 2020-06-30 | 2022-01-06 |
Also Published As
| Publication number | Publication date |
|---|---|
| JP4775993B2 (ja) | 2011-09-21 |
Similar Documents
| Publication | Publication Date | Title |
|---|---|---|
| EP0757080B1 (en) | Curable organosiloxane compositions and semiconductor devices | |
| JP3420473B2 (ja) | シリコーン系接着性シート、その製造方法、および半導体装置 | |
| CN1328770C (zh) | 半导体封装件及其制备方法 | |
| KR101313671B1 (ko) | 반도체 소자 및 이의 제조방법 | |
| TWI621664B (zh) | 半導體裝置及半導體元件密封用硬化性聚矽氧組合物 | |
| JP2010001336A (ja) | 硬化性オルガノポリシロキサン組成物及び半導体装置 | |
| JPH11181289A (ja) | 硬化性シリコーン組成物および電子部品 | |
| JP4839041B2 (ja) | 絶縁性液状ダイボンディング剤および半導体装置 | |
| EP2305755B1 (en) | Resin composition | |
| JP2013089619A (ja) | 導電性回路形成方法 | |
| JP2016100389A (ja) | 半導体装置の製造方法及び半導体装置 | |
| TWI767988B (zh) | 固化性有機聚矽氧烷組成物以及半導體裝置 | |
| KR20010049725A (ko) | 접착제 및 반도체 장치 | |
| JP3207929B2 (ja) | 半導体素子被覆剤および半導体装置 | |
| JP4775993B2 (ja) | 半導体素子封止剤、半導体装置および半導体装置の実装方法 | |
| JP4393817B2 (ja) | 熱伝導性充填剤、熱伝導性シリコーンエラストマー組成物および半導体装置 | |
| JP3691587B2 (ja) | 硬化性オルガノポリシロキサン組成物および半導体装置 | |
| JP2000299414A (ja) | フリップチップ型半導体装置 | |
| JP2015053426A (ja) | 支持基材付封止材、封止後半導体素子搭載基板、半導体装置、及び半導体装置の製造方法 |
Legal Events
| Date | Code | Title | Description |
|---|---|---|---|
| A521 | Request for written amendment filed |
Free format text: JAPANESE INTERMEDIATE CODE: A523 Effective date: 20070327 |
|
| A621 | Written request for application examination |
Free format text: JAPANESE INTERMEDIATE CODE: A621 Effective date: 20070327 |
|
| A977 | Report on retrieval |
Free format text: JAPANESE INTERMEDIATE CODE: A971007 Effective date: 20090511 |
|
| A131 | Notification of reasons for refusal |
Free format text: JAPANESE INTERMEDIATE CODE: A131 Effective date: 20090609 |
|
| A521 | Request for written amendment filed |
Free format text: JAPANESE INTERMEDIATE CODE: A523 Effective date: 20090730 |
|
| A02 | Decision of refusal |
Free format text: JAPANESE INTERMEDIATE CODE: A02 Effective date: 20091020 |
|
| A521 | Request for written amendment filed |
Free format text: JAPANESE INTERMEDIATE CODE: A523 Effective date: 20100120 |
|
| A911 | Transfer to examiner for re-examination before appeal (zenchi) |
Free format text: JAPANESE INTERMEDIATE CODE: A911 Effective date: 20100301 |
|
| A912 | Re-examination (zenchi) completed and case transferred to appeal board |
Free format text: JAPANESE INTERMEDIATE CODE: A912 Effective date: 20100326 |
|
| A01 | Written decision to grant a patent or to grant a registration (utility model) |
Free format text: JAPANESE INTERMEDIATE CODE: A01 |
|
| A61 | First payment of annual fees (during grant procedure) |
Free format text: JAPANESE INTERMEDIATE CODE: A61 Effective date: 20110627 |
|
| R150 | Certificate of patent or registration of utility model |
Free format text: JAPANESE INTERMEDIATE CODE: R150 |
|
| FPAY | Renewal fee payment (event date is renewal date of database) |
Free format text: PAYMENT UNTIL: 20140708 Year of fee payment: 3 |
|
| LAPS | Cancellation because of no payment of annual fees |
