JP2005293840A - ガラスディスク基板、磁気ディスク、磁気ディスク用ガラスディスク基板の製造方法及び磁気ディスクの製造方法 - Google Patents
ガラスディスク基板、磁気ディスク、磁気ディスク用ガラスディスク基板の製造方法及び磁気ディスクの製造方法 Download PDFInfo
- Publication number
- JP2005293840A JP2005293840A JP2005153190A JP2005153190A JP2005293840A JP 2005293840 A JP2005293840 A JP 2005293840A JP 2005153190 A JP2005153190 A JP 2005153190A JP 2005153190 A JP2005153190 A JP 2005153190A JP 2005293840 A JP2005293840 A JP 2005293840A
- Authority
- JP
- Japan
- Prior art keywords
- disk
- glass
- magnetic
- magnetic disk
- glass disk
- Prior art date
- Legal status (The legal status is an assumption and is not a legal conclusion. Google has not performed a legal analysis and makes no representation as to the accuracy of the status listed.)
- Pending
Links
Images
Landscapes
- Magnetic Record Carriers (AREA)
- Manufacturing Of Magnetic Record Carriers (AREA)
Abstract
【課題】 携帯電話、デジタルカメラ、PDA、カーナビゲーションなどの携帯用、車載用機器に搭載できる小型ハードディスクドライブに用いることができるように小径化した場合においても、フライスティクション障害やサーマルアスペリティ障害の発生を充分に防止された磁気ディスクの製造を可能とする磁気ディスク用のガラスディスク基板を提供する。
【解決手段】 端面に主表面の周縁に沿った面取り面を形成し、端面の少なくとも面取り面にテクスチャを略々ディスクの周方向に形成することにより、端面からのパーティクルの発生を抑止し、磁性層や保護層を成膜する際のアーキングを防止する。また、磁気ディスクの外径を50mm以下というように小径化した場合においても、ロードアンロード動作が行われる外周側において、端面に形成したテクスチャにより、磁気ヘッドの浮上性を安定化させる。
【選択図】 図3
【解決手段】 端面に主表面の周縁に沿った面取り面を形成し、端面の少なくとも面取り面にテクスチャを略々ディスクの周方向に形成することにより、端面からのパーティクルの発生を抑止し、磁性層や保護層を成膜する際のアーキングを防止する。また、磁気ディスクの外径を50mm以下というように小径化した場合においても、ロードアンロード動作が行われる外周側において、端面に形成したテクスチャにより、磁気ヘッドの浮上性を安定化させる。
【選択図】 図3
Description
本発明は、磁気ディスク装置であるハードディスクドライブ(HDD)に用いられる磁気ディスク用のガラスディスク基板及び磁気ディスク、並びに、これらを製造するための磁気ディスク用ガラスディスク基板の製造方法及び磁気ディスクの製造方法に関する。
今日、情報記録技術、特に、磁気記録技術は、いわゆるIT産業の発達に伴って飛躍的な技術革新が要請されている。そして、コンピュータ用ストレージとして用いられる磁気ディスク装置であるハードディスクドライブ(HDD)に搭載される磁気ディスクにおいては、磁気テープやフレキシブルディスクなどの他の磁気記録媒体と異なり、急速な情報記録密度の増大化が続けられている。パーソナルコンピュータ装置に収納することのできる情報容量は、このような磁気ディスクの情報記録密度の増大に支えられて、飛躍的に増加している。
このような磁気ディスクは、アルミニウム系合金基板などの基板上に、磁性層等が成膜されて構成されている。そして、ハードディスクドライブにおいては、高速回転される磁気ディスク上に磁気ヘッドを浮上飛行させながら、この磁気ヘッドにより、情報信号を磁化パターンとして磁性層に記録し、また、再生を行なう。
そして、近年、ハードディスクドライブを携帯用機器(いわゆる「ノート型パーソナルコンピュータ装置」など)に搭載することに対する要求が高まったことに伴い、磁気ディスク用の基板として、高強度、かつ、高剛性材料であり、高い耐衝撃性を有するガラスディスク基板が注目された。さらに、ガラスディスク基板においては、平滑な表面が得られるので、磁気ディスク上を浮上飛行しながら記録再生を行う磁気ヘッドの浮上量を狭隘化することが可能であり、高い情報記録密度の磁気ディスクを得ることができた。つまり、ガラスディスク基板は、磁気ヘッドの低浮上量対応性に優れた基板であるといえる。
一方、磁気ディスクにおける情報記録容量を増大させるためには、この磁気ディスクにおいて情報信号の記録がなされない無駄な領域の面積を小さくすることが必要である。そこで、ハードディスクドライブの起動停止方式として、従来より用いられているCSS方式(「コンタクトスタートストップ(Contact Start Stop)方式」)に代えて、情報記録容量の増大が可能なLUL方式(「ロードアンロード(Load Unload)方式」、別名「ランプロード方式」ともいう。)の導入が進められている。
CSS方式においては、磁気ディスクの非使用状態(停止状態)において磁気ヘッドが載置されるCSSゾーンを磁気ディスク上に設ける必要があり、このCSSゾーンには情報信号の記録ができないため、その分、磁気ディスクにおいて情報信号の記録がなされる領域の面積が減少する。
これに対し、LUL方式においては、磁気ディスクの非使用状態(停止状態)においては、磁気ヘッドは磁気ディスクの外周側に移動され磁気ディスク上より退避されて支持されるので、磁気ディスク上にCSSゾーンのような情報信号の記録ができない領域を設ける必要がなく、磁気ディスクにおいて情報信号の記録がなされる領域の面積を最大限確保することができるからである。
また、LUL方式においては、CSS方式と異なり、磁気ヘッドと磁気ディスクとが接触することがないので、磁気ディスク上にCSSゾーンにおけるような吸着防止用の凸凹形状を設ける必要がなく、磁気ディスクの主表面を極めて平滑化することが可能となる。したがって、LUL方式用の磁気ディスクにおいては、CSS方式用の磁気ディスクに比較して、磁気ヘッドの浮上量を一段と低下させることができ、記録信号のS/N比(Signal Noise Ratio)の向上を図ることができ、高記録密度化が図られるという利点もある。
このような、LUL方式の導入に伴う磁気ヘッド浮上量の非連続的な一段の低下により、近年においては、10nm以下の極狭な浮上量においても、磁気ヘッドが安定して動作することが求められるようになってきた。しかしながら、このような極狭な浮上量で磁気ディスク上に磁気ヘッドを浮上飛行させる場合には、フライスティクション障害が頻発するという問題が生じた。
フライスティクション障害とは、磁気ディスク上を浮上飛行している磁気ヘッドが、浮上姿勢や浮上量に変調をきたす障害であり、不規則な再生出力変動の発生を伴うことが多い。また、このフライスティクション障害が生ずると、浮上飛行中の磁気ヘッドが磁気ディスクに接触してしまういわゆるヘッドクラッシュ障害やサーマルアスペリティ障害を生じてしまうことがあり、磁気ディスクが破壊される虞れがある。
そこで、このような磁気ディスク用のガラスディスク基板としては、例えば、特許文献1に記載されているように、外周端面において、主表面の周縁に沿った面取り面を形成するとともに、この外周端面を鏡面に研磨加工したものが提案されている。このようなガラスディスク基板を用いて製造した磁気ディスクにおいては、外周端面からのパーティクル(particle:塵挨)の発生が抑えられることにより、ヘッドクラッシュ障害やサーマルアスペリティ障害の発生を抑止することができる。
ところで、近年の磁気ディスクにおいては、前述したように、磁気ディスクと磁気ヘッドとの間のスペーシングロスを改善し、記録信号のS/N比を向上させた結果、情報記録密度が1平方インチ当り40ギガビットを超えるまでに到っており、さらに、1平方インチ当り100ギガビットを超えるような超高記録密度をも実現されようとしている。
このように高い情報記録密度が実現できるようになった近年の磁気ディスクにおいては、端面からのパーティクルの発生をより厳しく抑止する必要が生じてきている。
また、磁気ディスク用のガラスディスク基板に対して磁性層や保護層を成膜する際には、バイアススパッタリング法やバイアスCVD法のように、成膜される磁性層、あるいは、下地層にバイアス電位を印加しながら成膜する方法が採用される場合が多い。このとき、このガラスディスク基板と、このガラスディスク基板を保持するホルダとの間で、アーク放電(いわゆるアーキング)が生ずると、磁性層の厚さが局所的に厚くなる現象が起こる。このような磁性層の厚さの異常個所があると、この部分から膜剥がれが生じてパーティクル発生の原因となる虞れがある。また、保護層を成膜する場合についても、同様の問題が発生する。
さらに、前述のように高い情報記録密度が実現できるようになった近年の磁気ディスクにおいては、従来の磁気ディスクに比較してずっと小さなディスク面積であっても、実用上十分な情報量を収納できるという特徴を有している。また、磁気ディスクは、他の情報記録媒体に比較して、情報の記録速度や再生速度(応答速度)が極めて敏速であり、情報の随時書き込み及び読み出しが可能であるという特徴も有している。
このような磁気ディスクの種々の特徴が注目された結果、近年においては、いわゆる携帯電話、デジタルカメラ、携帯情報機器(例えば、PDA(personal digital assistant):パーソナルデジタルアシスタント)、あるいは、「カーナビゲーションシステム」などのように、パーソナルコンピュータ装置よりも筐体がずっと小さく、かつ、高い応答速度が求められる機器に搭載できる小型のハードディスクドライブが求められるようになってきている。具体的には、例えば、外径が50mm以下、板厚が0.5mm以下の基板を用いた磁気ディスクを搭載した小型のハードディスクドライブが求められている。
ところが、このような小型のハードディスクドライブにおいて使用される外径が50mm以下というような磁気ディスクにおいては、外周径及び内周径ともに小径化するため、この磁気ディスクと磁気ヘッドとの間の相対的な線速度が低下し、また、磁気ディスクの小径化に伴ってこの磁気ディスクを回転させるスピンドルモータも小型化され、磁気ディスクの回転速度をさらに高速化することも困難であるため、前述したようなフライスティクション障害の発生を充分に防止できない虞れがある。さらに、磁気ディスクの小径化に伴って磁気ヘッドも小型化されるため、この磁気ヘッドの浮上安定性が低下する虞れもある。
また、このような小型のハードディスクドライブにおいて使用される外径が50mm以下というような磁気ディスクにおいては、外周径が小径化するため、磁性層の成膜などの際に、ホルダによって確実に保持することが困難となり、製造の困難化及び歩留まりの低下が招来される虞れがある。
そこで、本発明は、前述のような実情に鑑みてなされたものであり、その第1の目的は、端面からのパーティクルの発生を確実に抑止することができ、また、バイアススパッタリング法やバイアスCVD法などにより磁性層、または、保護層を成膜する際にガラスディスク基板とこのガラスディスク基板を保持するホルダとの間で生ずるアーク放電(いわゆるアーキング)を防止することができ、磁気ディスクとして製造した後のヘッドクラッシュ障害やサーマルアスペリティ障害の発生を抑止することができる磁気ディスク用のガラスディスク基板を提供することにある。
また、本発明の第2の目的は、例えば、いわゆる携帯電話、デジタルカメラ、携帯型の「MP3プレイヤー」、PDAなどの携帯情報機器、あるいは、「カーナビゲーションシステム」などの車載用機器など、非常に可搬性の高い機器に搭載できる小型のハードディスクドライブにも用いることができるように小径化した場合においても、フライスティクション障害の発生を充分に防止できるようになされ、また、磁性層の成膜などの際にホルダによって確実に保持することが可能となり、製造の困難化及び歩留まりの低下を回避することができる磁気ディスクを提供することにあり、また、このような磁気ディスクの製造を可能とする磁気ディスク用のガラスディスク基板を提供することにある。
本発明者は、前記課題を解決すべく研究を進めた結果、磁気ディスク用のガラスディスク基板の製造工程において、このガラスディスク基板の端面において、少なくとも主表面の周縁に沿って形成される面取り面に対して、異方的に凹凸形状が分布するテクスチャ(例えぱ、筋状の凹凸からなるテクスチャであって、「異方性テクスチャ」ともいう。)をディスクの周方向に形成することによって、ガラスディスク基板における残留研磨剤が確実に除去されることによりパーティクルの発生が抑止されるとともに、このテクスチャが端面上に成膜される磁性層や保護層のガラスディスク基板に対する付着力を向上させ、バイアススパッタリング法やバイアスCVD法などにより磁性層や保護層を成膜する際のアーク放電(いわゆるアーキング)を防止し、前記課題が解決できることを見出した。
また、端面の少なくとも面取り面にテクスチャを形成することにより、ガラスディスク基板を外径が50mm以下というように小径化した場合においても、ロードアンロード(LUL)動作が行われる外周側において、磁気ヘッドの浮上性が安定化されるとともに、磁性層の成膜などの際にホルダによって確実に保持することが可能となり、製造の困難化及び歩留まりの低下が回避され、前記課題が解決できることを見出した。
なお、テクスチャは、例えぱ、機械研磨加工(メカニカルテクスチャ加工とも呼ばれている)により形成することができる。
すなわち、本発明は以下の構成を有するものである。
〔構成1〕
主表面と端面とを有する磁気ディスク用のガラスディスク基板であって、端面は、主表面の周縁に沿った面取り面を有し、端面の少なくとも面取り面には、ディスクの略々周方向に沿うテクスチャが形成されていることを特徴とするものである。
主表面と端面とを有する磁気ディスク用のガラスディスク基板であって、端面は、主表面の周縁に沿った面取り面を有し、端面の少なくとも面取り面には、ディスクの略々周方向に沿うテクスチャが形成されていることを特徴とするものである。
〔構成2〕
構成1を有する磁気ディスク用のガラスディスク基板において、テクスチャは、ディスクの周に沿って略規則的な形状を有することを特徴とするものである。
構成1を有する磁気ディスク用のガラスディスク基板において、テクスチャは、ディスクの周に沿って略規則的な形状を有することを特徴とするものである。
〔構成3〕
構成1、または、構成2を有する磁気ディスク用のガラスディスク基板において、端面のテクスチャは、少なくとも主表面と面取り面との境界から150μm以内の領域において形成されていることを特徴とするものである。
構成1、または、構成2を有する磁気ディスク用のガラスディスク基板において、端面のテクスチャは、少なくとも主表面と面取り面との境界から150μm以内の領域において形成されていることを特徴とするものである。
〔構成4〕
主表面と端面とを有する磁気ディスク用のガラスディスク基板であって、端面は、主表面の周縁に沿った面取り面を有し、端面の少なくとも面取り面には、ディスクの略々周方向に沿う筋状の凹凸が形成されていることを特徴とするものである。
主表面と端面とを有する磁気ディスク用のガラスディスク基板であって、端面は、主表面の周縁に沿った面取り面を有し、端面の少なくとも面取り面には、ディスクの略々周方向に沿う筋状の凹凸が形成されていることを特徴とするものである。
〔構成5〕
構成1乃至構成4のいずれか一を有するガラスディスク基板の主表面に少なくとも磁性層が成膜された磁気ディスクであって、端面上に、少なくとも、磁性層、または、保護層を有することを特徴とするものである。
構成1乃至構成4のいずれか一を有するガラスディスク基板の主表面に少なくとも磁性層が成膜された磁気ディスクであって、端面上に、少なくとも、磁性層、または、保護層を有することを特徴とするものである。
〔構成6〕
主表面と端面とを有し端面が主表面の周縁に沿った面取り面を有する磁気ディスク用ガラスディスク基板の製造方法であって、端面に対して研磨テープを接触させ、端面と研磨テープとを相対的に移動させる機械研磨加工を行う工程を有することを特徴とするものである。
主表面と端面とを有し端面が主表面の周縁に沿った面取り面を有する磁気ディスク用ガラスディスク基板の製造方法であって、端面に対して研磨テープを接触させ、端面と研磨テープとを相対的に移動させる機械研磨加工を行う工程を有することを特徴とするものである。
〔構成7〕
構成6を有する磁気ディスク用ガラスディスク基板の製造方法において、機械研磨加工により、端面の少なくとも面取り面に、ディスクの略々周方向に沿う筋状の凹凸を形成することを特徴とするものである。
構成6を有する磁気ディスク用ガラスディスク基板の製造方法において、機械研磨加工により、端面の少なくとも面取り面に、ディスクの略々周方向に沿う筋状の凹凸を形成することを特徴とするものである。
〔構成8〕
構成6、または、構成7を有する磁気ディスク用ガラスディスク基板の製造方法において、機械研磨加工は、鏡面研磨処理された端面に対して行うことを特徴とするものである。
構成6、または、構成7を有する磁気ディスク用ガラスディスク基板の製造方法において、機械研磨加工は、鏡面研磨処理された端面に対して行うことを特徴とするものである。
〔構成9〕
構成6乃至構成8のいずれか一を有する磁気ディスク用ガラスディスク基板の製造方法において、機械研磨加工を行う前に、イオン交換法による化学強化処理を行うことを特徴とするものである。
構成6乃至構成8のいずれか一を有する磁気ディスク用ガラスディスク基板の製造方法において、機械研磨加工を行う前に、イオン交換法による化学強化処理を行うことを特徴とするものである。
〔構成10〕
構成6乃至構成9のいずれか一を有する磁気ディスク用ガラスディスク基板の製造方法によって製造された磁気ディスク用ガラスディスク基板上に少なくとも磁性層及び保護層を成膜する磁気ディスクの製造方法であって、磁性層、または、保護層は、バイアススパッタリング法、または、バイアスCVD法により成膜することを特徴とするものである。
構成6乃至構成9のいずれか一を有する磁気ディスク用ガラスディスク基板の製造方法によって製造された磁気ディスク用ガラスディスク基板上に少なくとも磁性層及び保護層を成膜する磁気ディスクの製造方法であって、磁性層、または、保護層は、バイアススパッタリング法、または、バイアスCVD法により成膜することを特徴とするものである。
〔他の構成〕
なお、本発明の構成要件は、以下のように特定することとしてもよい。
なお、本発明の構成要件は、以下のように特定することとしてもよい。
(1) 主表面に少なくとも磁性層が成膜されることにより磁気ディスクとされる磁気ディスク用ガラスディスク基板であって、ディスク状に形成され、端面において、前記主表面の周縁に沿った面取り面が形成されており、前記端面には、少なくとも前記面取り面において、テクスチャが略々ディスクの周方向に形成されていることを特徴とする磁気ディスク用ガラスディスク基板。
(2) 前記テクスチャは、筋状の凹凸がディスクの周に沿って配向されたものであることを特徴とする(1)記載の磁気ディスク用ガラスディスク基板。
(3) 前記テクスチャは、筋状の凹凸がディスクの周に沿って略規則的に形成されたものであることを特徴とする(1)記載の磁気ディスク用ガラスディスク基板。
(4) 前記主表面に少なくとも磁性層が成膜されて磁気ディスクとされたとき、ロードアンロード方式で起動停止動作を行なうハードディスクドライブに搭載される磁気ディスクとなることを特徴とする(1)乃至(3)のいずれか一に記載の磁気ディスク用ガラスディスク基板。
(5) (1)乃至(4)のいずれか一に記載の磁気ディスク用ガラスディスク基板を製造する方法であって、前記主表面をコロイダルシリカ砥粒、または、酸化セリウム砥粒を用いて鏡面に研磨した後に、ダイヤモンド砥粒を供給し前記端面に対して研磨テープを接触させ相対的に移動させることにより、少なくとも前記面取り面に前記テクスチャを形成することを特徴とする磁気ディスク用ガラスディスク基板の製造方法。
(6) 前記主表面を鏡面に研磨した後、前記端面に前記テクスチャを形成する前に、イオン交換法による化学強化処理を行うことを特徴する(5)記載の磁気ディスク用ガラスディスク基板の製造方法。
(7) (1)乃至(4)のいずれか一に記載の磁気ディスク用ガラスディスク基板の主表面上に少なくとも磁性層が成膜され、前記磁性層の表面上に、保護層が成膜されていることを特徴とする磁気ディスク。
(8) (7)記載の磁気ディスクを製造する磁気ディスクの製造方法であって、前記磁性層、または、前記保護層は、前記磁気ディスク用ガラスディスク基板の上に直流バイアス電圧を印加して成膜することを特徴とする磁気ディスクの製造方法。
(9) 前記保護層は、炭素系材料を用いて、プラズマCVD法により成膜することを特徴とする(8)記載の磁気ディスクの製造方法。
本発明に係るガラスディスク基板においては、端面において、少なくとも主表面の周縁に沿って形成された面取り面に略々ディスクの周方向のテクスチャを形成することにより、残留研磨剤を確実に除去してパーティクルの発生を抑止できるとともに、このテクスチャが端面上に成膜される磁性層や保護層のガラスディスク基板に対する付着力を向上させ、バイアススパッタリング法やバイアスCVD法などにより磁性層や保護層を成膜する際のアーク放電(いわゆるアーキング)を防止し、また、磁気ディスクとして製造した後のヘッドクラッシュ障害やサーマルアスペリティ障害の発生を抑止することができる。
本発明において、テクスチャは、筋状の凹凸がディスクの周に沿って配向されたもの、あるいは、筋状の凹凸がディスクの周に沿って略規則的に形成されたものとすることができる。そして、このようなテクスチャは、主表面を鏡面に研磨した後に、端面に対して研磨テープを接触させ相対的に移動させる機械研磨加工(メカニカルテクスチャ加工とも呼ばれている)により容易に形成することができる。
また、本発明においては、端面にテクスチャを形成する前に、イオン交換法による化学強化処理を行うことにより、高強度、かつ、高剛性で、高い耐衝撃性を有する磁気ディスク用ガラスディスク基板を製造することができる。また、本発明においては、化学強化処理の工程において端面に付着する異物を除去できるので、パーティクルの発生をさらに確実に抑止することができる。
また、本発明においては、ガラスディスク基板の端面の少なくとも面取り面にテクスチャが形成されていることにより、このガラスディスク基板を用いて製造される磁気ディスクの外径を50mm以下というように小径化した場合においても、ロードアンロード動作が行われる外周側において、磁気ヘッドの浮上性を安定化させることができる。すなわち、このガラスディスク基板を用いて製造された磁気ディスクは、LUL方式(ロードアンロード方式)により起動停止動作を行うハードディスクドライブに搭載する小径化された磁気ディスクとして、良好に用いることができる。
さらに、本発明に係るガラスディスク基板においては、端面の少なくとも面取り面にテクスチャが形成されていることにより、磁性層の成膜などの際にホルダによって確実に保持することが可能であり、製造の困難化及び歩留まりの低下を回避することができる。
したがって、本発明によれば、端面からのパーティクルの発生を確実に抑止することができ、また、バイアススパッタリング法やバイアスCVD法などにより磁性層や保護層を成膜する際にガラスディスク基板とこのガラスディスク基板を保持するホルダとの間で生ずるアーク放電(いわゆるアーキング)を防止することができ、磁気ディスクとして製造した後のヘッドクラッシュ障害やサーマルアスペリティ障害の発生を抑止することができる磁気ディスク用のガラスディスク基板を提供することができるものである。
また、本発明によれば、例えば、いわゆる携帯電話、デジタルカメラ、携帯型の「MP3プレイヤー」、PDAなどの携帯情報機器、あるいは、「カーナビゲーションシステム」などの車載用機器など、非常に可搬性の高い機器に搭載できる小型のハードディスクドライブにも用いることができるように小径化した場合においても、フライスティクション障害の発生を充分に防止でき、また、磁性層の成膜などの際にホルダによって確実に保持することが可能となり、製造の困難化及び歩留まりの低下を回避することができる磁気ディスクを提供することができ、また、このような磁気ディスクの製造を可能とする磁気ディスク用のガラスディスク基板を提供することができるものである。
以下、本発明を実施するための最良の形態について、図面を参照して詳細に説明する。
本発明に係る磁気ディスク用のガラスディスク基板は、板状ガラスの主表面を研削(ラッピング)処理してガラス母材とし、このガラス母材を切断してガラスディスクを切り出し、このガラスディスクの主表面に対して研磨(ポリッシング)処理を行い、さらに、化学強化処理及びテクスチャ加工を経て製造される。
本発明において、研削処理に供する板状ガラスとしては、様々な形状の板状ガラスを用いることができる。この板状ガラスの形状は、矩形状であっても、ディスク状(円盤状)であってもよい。ディスク状の板状ガラスは、従来の磁気ディスク用ガラスディスク基板の製造において用いられている研削装置を用いて研削処理を行うことができ、信頼性の高い加工を安価にて行うことができる。
この板状ガラスのサイズは、製造しようとする磁気ディスク用ガラスディスク基板より大きいサイズである必要がある。例えば、「1インチ型ハードディスクドライブ」、あるいは、それ以下のサイズの小型ハードディスクドライブに搭載する磁気ディスクに用いる磁気ディスク用ガラスディスク基板を製造する場合にあっては、この磁気ディスク用ガラスディスク基板の直径は略々20mm乃至30mm程度であるので、ディスク状の板状ガラスの直径としては、30mm以上、好ましくは、48mm以上であることが好ましい。特に、直径が65mm以上のディスク状の板状ガラスを用いれば、1枚の板状ガラスから、複数の「1インチ型ハードディスクドライブ」に搭載する磁気ディスクに用いる磁気ディスク用ガラスディスク基板を採取することができ、大量生産に好適である。板状ガラスのサイズの上限については、特に限定する必要はないが、ディスク状の板状ガラスの場合には、直径が100mm以下のものを用いることが好ましい。
この板状ガラスは、例えば、溶融ガラスを材料として、プレス法やフロート法、または、フュージョン法など、公知の製造方法を用いて製造することができる。これらのうち、プレス法を用いれば、板状ガラスを廉価に製造することができる。
また、本発明において用いる板状ガラスの材料としては、化学強化されるガラスであれば、特に制限は設けないが、アルミノシリケートガラスを好ましく挙げることができる。特に、リチウムを含有するアルミノシリケートガラスが好ましい。このようなアルミノシリケートガラスは、イオン交換型化学強化処理、特に、低温イオン交換型化学強化処理により、好ましい圧縮応力を有する圧縮応力層及び引張応力を有する引張応力層を精密に得ることができるので、磁気ディスク用の化学強化ガラスディスク基板の材料として特に好ましい。
このようなアルミノシリケートガラスの組成比としては、SiO2を、58乃至75重量%、Al2O3を、5乃至23重量%、Li2Oを、3乃至10重量%、Na2Oを、4乃至13重量%、主成分として含有することが好ましい。
さらに、アルミノシリケートガラスの組成比としては、SiO2を、62乃至7.5重量%、Al2O3を、5乃至15重量%、Li2Oを、4乃至10重量%、Na2Oを、4乃至12重量%、ZnO2を、5.5乃至15重量%、主成分として含有するとともに、Na2OとZnO2との重量比(Na2O/ZnO2)が0.5乃至2.0、Al2O3とZnO2との重量比(Al2O3/ZnO2)が0.4乃至2.5であることが好ましい。
また、ZnO2の未溶解物が原因で生じるガラスディスクの表面の突起を無くすためには、モル%表示で、SiO2を、57乃至74%、ZnO2を、0乃至2.8%、Al2O3を、3乃至15%、LiO2を、7乃至16%、Na2Oを、4乃至14%含有する化学強化用ガラスを使用することが好ましい。
このようなアルミノシリケートガラスは、化学強化処理を施すことによって、抗折強度が増加し、ヌープ硬度にも優れたものとなる。
研削処理は、ワーク、すなわち、板状ガラスの主表面の形状精度(例えば、平坦度)や寸法精度(例えば、板厚の精度)を向上させることを目的とする加工である。この研削処理は、板状ガラスの主表面に、砥石、あるいは、定盤を押圧させ、これら板状ガラス及び砥石または定盤を相対的に移動させることにより、板状ガラスの主表面を研削することにより行われる。このような研削処理は、遊星歯車機構を利用した両面研削装置を用いて行うことができる。
また、この研削処理においては、板状ガラスの主表面に研削液を供給することにより、スラッジ(研削屑)を研削面から洗い流し、また、研削面を冷却するとよい。さらに、この研削液に遊離砥粒を含有させたスラリーをワークの主表面に供給して研削してもよい。
研削処理において用いる砥石としては、ダイヤモンド砥石を用いることができる。また、遊離砥粒としては、アルミナ砥粒やジルコニア砥粒、または、炭化珪素砥粒などの硬質砥粒を用いるとよい。
この研削処理により、板状ガラスの形状精度が向上し、主表面の形状が平坦化されるとともに板厚が所定の値となるまで削減されたガラス母材が形成される。
本発明においては、ガラス母材の主表面が研削処理により平坦となされ、また、板厚が削減されているので、このガラス母材を切断して、このガラス母材からガラスディスクを切り出すことができる。すなわち、本発明においては、ガラス母材からガラスディスクを切り出すときに、欠け、ひび、割れといった欠陥が発生することを防止することができる。
ガラス母材の平坦度としては、例えば、7088mm2(直径95mmの円の面積)において、30μm以下であることが好ましく、10μm以下であることがより好ましい。また、ガラス母材の板厚としては、2mm以下であることが好ましく、0.8mm以下であることがより好ましい。なお、ガラス母材の板厚が0.2mm未満であると、ガラス母材自体が、ガラスディスクを切り出す工程における負荷に耐えられない虞れがあるので、ガラス母材の板厚は、0.2mm以上とすることが好ましい。ガラス母材の板厚が2mmを超えると、板厚が厚すぎるために精密な切り出しができない虞れがあり、また、ガラスディスクを切り出すときに、欠け、ひび、割れといった欠陥が発生する虞れがある。
ガラス母材のサイズは、製造しようとする磁気ディスク用ガラスディスク基板より大きいサイズである必要がある。例えば、「1インチ型ハードディスクドライブ」、あるいは、それ以下のサイズの小型ハードディスクドライブに搭載する磁気ディスクに用いる磁気ディスク用ガラスディスク基板を製造する場合にあっては、磁気ディスク用ガラスディスク基板の直径は略々20mm乃至30mm程度であるので、ガラス母材の直径としては、30mm以上、好ましくは、48mm以上であることが好ましい。特に、直径が65mm以上のガラス母材を用いれば、1枚のガラス母材から、「1インチ型ハードディスクドライブ」に搭載する磁気ディスクに用いる磁気ディスク用ガラスディスク基板となるガラスディスクを複数枚切り出すことができ、大量生産に好適である。ガラス母材のサイズの上限については、特に限定する必要はないが、ディスク状のガラス母材の場合には、直径が100mm以下とすることが好ましい。
ガラス母材の切断は、ダイヤモンドカッタやダイヤモンドドリルなど、ガラスよりも硬質な物質を含む切刃や砥石を用いて行うことができる。また、ガラス母材の切断は、レーザカッタを用いて行ってもよい。ただし、レーザカッタを用いて直径30mm以下のような小型のガラスディスクを精密に切り出すことは困難な場合があり、切刃や砥石を用いるほうが簡便に切り出しを行うことができ、好適である。
ここで、ガラス母材から切り出されるガラスディスクのサイズとして、特に好適なサイズは、直径30mm以下である。
次に、円筒状の砥石を用いて、ガラスディスクの中央部分に所定の直径の円孔を形成するとともに、外周端面の研削をして所定の直径とした後、外周端面及び内周端面において、主表面の周縁に沿った面取り面を形成する面取り加工を施す。
そして、本発明においては、ガラス母材から切り出されたガラスディスクに対して、少なくとも研磨処理を施し、ガラスディスクの主表面を鏡面化する。
この研磨処理を施すことにより、ガラスディスクの主表面のクラックが除去され、主表面の表面粗さは、例えば、Rmaxで5nm以下、Raで0.4nm以下となされる。ガラスディスクの主表面がこのような鏡面となっていれば、このガラスディスクを用いて製造される磁気ディスクにおいて、磁気ヘッドの浮上量が、例えば、10nmである場合であっても、いわゆるクラッシュ障害やサーマルアスペリティ障害の発生を防止することができる。また、ガラスディスクの主表面がこのような鏡面となっていれば、後述する化学強化処理において、ガラスディスクの微細領域において均一に化学強化処理を施すことができ、また、微小クラックによる遅れ破壊を防ぐことができる。
この研磨処理は、例えば、ガラスディスクの主表面に、研磨パッド(研磨布)が貼り付けられた定盤を押圧させ、ガラスディスクの主表面に研磨液を供給しながら、これらガラスディスク及び定盤を相対的に移動させ、ガラスディスクの主表面を研磨することにより行われる。このとき、研磨液には、研磨砥粒を含有させておくとよい。研磨砥粒としては、コロイダルシリカ研磨砥粒、または、酸化セリウム砥粒を用いることができる。
なお、本発明においては、ガラスディスクを研磨する前に、研削処理をしておくことが好ましい。このときの研削処理は、前述した板状ガラスに対する研削処理と同様の手段により行うことができる。ガラスディスクを研削処理してから研磨処理を行うことにより、より短時間で、鏡面化された主表面を得ることができる。
また、本発明においては、ガラスディスクの端面において、主表面の周縁に沿った略々45°の面取り面を形成し、かつ、この端面を鏡面研磨しておくことが好ましい。ガラスディスクの端面は、面取り面が形成された部分の間の部分が切断形状となっているので、この端面を鏡面に研磨しておくことにより、パーティクルの発生を抑制することができ、この磁気ディスク用ガラスディスク基板を用いて製造された磁気ディスクにおいて、いわゆるサーマルアスペリティ障害を良好に防止することができるからである。
そして、本発明においては、ガラスディスクの研磨工程の後に、化学強化処理を施す。化学強化処理を行うことにより、磁気ディスク用ガラスディスク基板の表面に高い圧縮応力を生じさせることができ、耐衝撃性を向上させることができる。特に、ガラスディスクの材料としてアルミノシリケートガラスを用いている場合には、好適に化学強化処理を行うことができる。
本発明における化学強化処理としては、公知の化学強化処理方法を用いたものであれば、特に制限されない。ガラスディスクの化学強化処理は、例えば、加熱した化学強化塩に、ガラスディスクを接触させ、ガラスディスクの表層のイオンが化学強化塩のイオンでイオン交換されることによって行われる。
ここで、イオン交換法としては、低温型イオン交換法、高温型イオン交換法、表面結晶化法、ガラス表面の脱アルカリ法などが知られているが、本発明においては、ガラスの徐冷点を超えない温度領城でイオン交換を行う低温型イオン交換法を用いることが好ましい。
なお、ここでいう低温型イオン交換法は、ガラスの徐冷点以下の温度領域において、ガラス中のアルカリイオンをこのアルカリイオンよりもイオン半径の大きいアルカリイオンと置換し、イオン交換部の容積増加によってガラス表層に圧縮応力を発生させ、ガラス表層を強化する方法のことをさす。
なお、化学強化処理を行なうときの溶融塩の加熱温度は、イオン交換が良好に行われるという観点等から、280°C乃至660°C、特に、300°C乃至400°Cであることが好ましい。
ガラスディスクを溶融塩に接触させる時間は、数時間乃至数十時間とすることが好ましい。
なお、ガラスディスクを溶融塩に接触させる前に、予備加熱として、ガラスディスクを100°C乃至300°Cに加熱しておくことが好ましい。また、化学強化処理後のガラスディスクは、冷却、洗浄工程等を経て、製品(磁気ディスク用のガラスディスク基板)となされる。
また、本発明において、化学強化処理を行うための処理漕の材料としては、耐食性に優れるとともに、低発塵性の材料であれば、特に限定されない。化学強化塩や化学強化溶融塩は酸化性があり、かつ、処理温度が高温なので、耐食性に優れた材料を選定することにより、損傷や発塵を抑制し、もって、サーマルアスペリティ障害や、ヘッドクラッシュを抑制する必要がある。この観点からは、処理漕の材料としては、石英材が特に好ましいが、ステンレス材や、特に耐食性に優れるマルテンサイト系、または、オーステナイト系ステンレス材も用いることができる。なお、石英材は、耐食性に優れるが、高価なので、採算性を考慮して、適宜選択することができる。
本発明における化学強化塩の材料としては、硝酸ナトリウム、及び/又は、硝酸カリウムを含有する化学強化塩材料であることが好ましい。このような化学強化塩は、ガラス、特に、アルミノシリケートガラスを化学強化処理したときに、磁気ディスク用ガラスディスク基板としての所定の剛性及び耐衝撃性を実現することができるからである。
次に、本発明においては、ガラスディスクの主表面及び端面に対して、テクスチャ加工を施す。
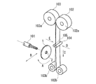
図1は、本発明において、テクスチャ加工を行うテクスチャ加工装置の構成を示す斜視図である。
このテクスチャ加工においては、まず、図1に示すように、ガラスディスク1を、中央部分の円孔2において、テクスチャ加工装置のチャッキング軸101の先端側に装着する。このチャッキング軸101は、円筒状の先端側が軸方向に複数の部分に分割されており、内方側より力を加えることによりこの先端側を拡径できるようになっている。このチャッキング軸101の先端側をガラスディスク1の円孔2に挿入して拡径させることにより、ガラスディスクは、このチャッキング軸101によって保持される。
このチャッキング軸101は、図1中矢印Aで示すように、所定の回転速度によって軸回りに回転操作されるとともに、図1中矢印Bで示すように、軸に直交する方向に所定の周囲及び振幅にて往復移動されるようになっている。
そして、このテクスチャ加工装置においては、一対の研磨テープ102,103が、図1中矢印Cで示すように、サプライロール102a,103aからテイクアップロール102b,103bに向けて、所定の速度で送り操作されて巻き取られるようになっている。これら研磨テープ102,103は、互いに重ね合わされた状態で、等しい速度で送り操作される。
チャッキング軸101に保持されたガラスディスク1は、主表面となる部分を、送り操作される一対の研磨テープ102,103の間に挿入される。そして、これら研磨テープ102,103は、一対の加圧ローラ104,105により、ガラスディスク1の両面側の主表面に対して、図1中矢印D及び矢印Eで示すように、それぞれ所定の圧力にて押接される。すなわち、ガラスディスク1は、両主表面を、一対の研磨テープ102,103によって挟持されることとなる。
この状態において、チャッキング軸101をガラスディスク1とともに軸回りに回転させるとともに、このチャッキング軸101を軸に直交する方向に所定の周囲及び振幅にて往復移動させる。このとき、チャッキング軸101の往復移動の方向は、一対の研磨テープ102,103の送り操作方向に直交する方向となっている。また、このとき、ガラスディスク1と各研磨テープ102,103との間には、液体状の研磨剤を供給する。このとき、液体状の研磨剤には、研磨砥粒を含有させておくとよい。研磨砥粒としては、ダイヤモンド砥粒を用いることができる。
このとき、ガラスディスク1と各研磨テープ102,103とは、相対的に摺接移動される。
図2は、本発明におけるテクスチャ加工において、ガラスディスクと研磨テープとの相対的な摺接移動方向を示す模式図である。
各研磨テープ102,103の送り操作の速度は極めて遅いので、ガラスディスク1と各研磨テープ102,103との相対的摺動は、ガラスディスク1の回転速度及び往復移動の周期及び振幅によって決まる。そして、ガラスディスク1に対する各研磨テープ102,103の相対的摺動は、図2に示すように、このガラスディスク1の周方向(接線方向)の移動(F)を基本としつつ、この周方向に対して、サインカーブを描いて揺動する移動(G)となる。
このようにしてガラスディスク1の主表面に形成されるテクスチャは、このガラスディスク1の周方向(接線方向)に対するクロス角が、主表面の外周側から内周側に向かって増大するように形成される。これは、ガラスディスク1の主表面においては、外周側よりも内周側の接線速度が遅いからである。
そして、このとき、ガラスディスク1の端面の少なくとも面取り面には、略々ディスクの周方向のテクスチャ(異方性テクスチャ)が形成される。
前述のようにして製造される本発明に係る磁気ディスク用のガラスディスク基板は、「1インチ型ハードディスクドライブ」、または、「1インチ型」よりも小型のハードディスクドライブに搭載するための磁気ディスク用ガラスディスク基板として好適である。なお、「1インチ型ハードディスクドライブ」に搭載する磁気ディスクを製造するための磁気ディスク用ガラスディスク基板の直径は、約27.4mmである。また、「0.85インチ型ハードディスクドライブ」に搭載する磁気ディスクを製造するための磁気ディスク用ガラスディスク基板の直径は、約21.6mmである。
そして、本発明に係る磁気ディスクにおいて、磁気ディスク用ガラスディスク基板上に形成される磁性層としては、例えば、コバルト(Co)系強磁性材料からなるものを用いることができる。特に、高い保磁力が得られるコバルト−プラチナ(Co−Pt)系強磁性材料や、コバルト−クロム(Co−Cr)系強磁性材料からなる磁性層として形成することが好ましい。なお、磁性層の形成方法としては、バイアススパッタリング法、DCマグネトロンスパッタリング法や、バイアスCVD法を用いることができる。
ガラスディスク基板と磁性層との間には、適宜、下地層等を介挿させることが好ましい。これら下地層の材料としてはAl−Ru系合金や、Cr系合金などを用いることができる。
また、磁性層上には、磁気ヘッドの衝撃から磁気ディスクを防護するための保護層を設けることができる。この保護層としては、硬質な水素化炭素保護層を好ましく用いることができる。この保護層の形成には、プラズマCVD法を用いることができる。
さらに、この保護層上に、PFPE(パーフルオロポリエーテル)化合物からなる潤滑層を形成することにより、磁気ヘッドと磁気ディスクとの干渉を緩和することができる。この潤滑層は、例えば、ディップ法により、塗布成膜することにより形成することができる。
以下、実施例及び比較例を挙げることにより、具体的に説明する。なお、本発明は、これら実施例の構成に限定されるものではない。
〔実施例1(磁気ディスク用のガラスディスク基板の実施例)〕
以下に述べる本実施例における磁気ディスク用のガラスディスク基板は、以下の(1)乃至(8)の工程により作成される。
(1)粗研削工程
(2)形状加工工程
(3)精研削工程
(4)端面研磨加工工程
(5)第1研磨工程
(6)第2研磨工程
(7)化学強化工程
(8)テクスチャ加工
以下に述べる本実施例における磁気ディスク用のガラスディスク基板は、以下の(1)乃至(8)の工程により作成される。
(1)粗研削工程
(2)形状加工工程
(3)精研削工程
(4)端面研磨加工工程
(5)第1研磨工程
(6)第2研磨工程
(7)化学強化工程
(8)テクスチャ加工
まず、アモルファスのアルミノシリケートガラスからなるディスク状のガラス母材を用意した。このアルミノシリケートガラスは、リチウムを含有している。このアルミノシリケートガラスの組成は、SiO2を、63.6重量%、Al2O3を、14.2重量%、Na2Oを、10.4重量%、Li2Oを、5.4重量%、ZnO2を、6.0重量%、Sb2O3を、0.4重量%含むものである。
(1)粗研削工程
溶融させたアルミノシリケートガラスから形成した厚さ0.6mmのシートガラスをガラス母材として用いて、このシートガラスから、研削砥石により、直径28.7mm、厚さ0.6mmの円盤状のガラスディスクを得た。
溶融させたアルミノシリケートガラスから形成した厚さ0.6mmのシートガラスをガラス母材として用いて、このシートガラスから、研削砥石により、直径28.7mm、厚さ0.6mmの円盤状のガラスディスクを得た。
シートガラスを形成する方法としては、一般に、ダウンドロー法やフロート法が用いられるが、これ以外に、ダイレクトプレスによって、円盤状のガラス母材を得てもよい。このシートガラスの材料であるアルミノシリケートガラスとしては、SiO2を、58乃至75重量%、Al2O3を、5乃至23重量%、Na2Oを、4乃至13重量%、Li2Oを、3乃至10重量%、含有するものであればよい。
次に、ガラスディスクに対し、寸法精度及び形状精度の向上のために、粗研削工程を施した。この粗研削工程は、両面研削装置を用いて、粒度#400の砥粒を用いて行なった。
具体的には、始めに粒度#400のアルミナ砥粒を用い、荷量を100kg程度に設定して、サンギアとインターナルギアを回転させることによって、キャリア内に収納したガラスディスクの両面を、面精度0乃至1μm、表面粗さ(Rmax)6μm程度に研削した。
(2)形状加工工程
次に、円筒状の砥石を用いて、ガラスディスクの中央部分に直径6.1mmの円孔を形成するとともに、外周端面の研削をして、直径を27.43mmとした後、外周端面及び内周端面において主表面の周縁に沿って略々45°の面取り加工を施した。このときのガラスディスクの端面の表面粗さは、Rmaxで4μm程度であった。
次に、円筒状の砥石を用いて、ガラスディスクの中央部分に直径6.1mmの円孔を形成するとともに、外周端面の研削をして、直径を27.43mmとした後、外周端面及び内周端面において主表面の周縁に沿って略々45°の面取り加工を施した。このときのガラスディスクの端面の表面粗さは、Rmaxで4μm程度であった。
なお、一般に、「2.5インチ型HDD(ハードディスクドライブ)」では、外径が65mmの磁気ディスクを用いている。
(3)精研削工程
次に、砥粒の粒度を#1000に替え、ガラスディスクの主表面を研削することにより、主表面の表面粗さを、Rmaxで2μm程度、Raで0.2μm程度とした。
次に、砥粒の粒度を#1000に替え、ガラスディスクの主表面を研削することにより、主表面の表面粗さを、Rmaxで2μm程度、Raで0.2μm程度とした。
この精研削工程を行うことにより、前工程である粗研削工程や形状加工工程において主表面に形成された微細な凹凸形状を除去することができる。
このような精研削工程を終えたガラスディスクを、超音波を印加した中性洗剤及び水の各洗浄槽に順次浸漬して、超音波洗浄を行なった。
(4)端面研磨加工工程
次いで、従来より用いられているブラシ研磨により、ガラスディスクを回転させながらガラスディスクの端面の研磨を行い、このガラスディスクの端面(内周端面及び外周端面)の表面の粗さを、Rmaxで1μm、Raで0.3μm程度に研磨した。
次いで、従来より用いられているブラシ研磨により、ガラスディスクを回転させながらガラスディスクの端面の研磨を行い、このガラスディスクの端面(内周端面及び外周端面)の表面の粗さを、Rmaxで1μm、Raで0.3μm程度に研磨した。
そして、端面研磨加工を終えたガラスディスクの主表面を水洗浄した。
なお、この端面研磨加工工程においては、ガラスディスクを重ね合わせて端面を研磨するが、この際に、ガラスディスクの主表面にキズ等が付くことを避けるため、後述する第1研磨工程よりも前、あるいは、第2研磨工程の前後に行うことが好ましい。
この端面研磨加工工程により、ガラスディスクの端面は、パーティクル等の発塵を防止できる鏡面状態に加工された。端面研磨加工工程後にガラスディスクの直径を測定したところ、27.4mmであった。
(5)第1研磨工程
次に、前述した精研削工程において残留した傷や歪みを除去するため、両面研磨装置を用いて、第1研磨工程を行なった。
次に、前述した精研削工程において残留した傷や歪みを除去するため、両面研磨装置を用いて、第1研磨工程を行なった。
画面研磨装置においては、研磨パッドが貼り付けられた上下定盤の間に、キャリアにより保持させたガラスディスクを密着させ、このキャリアを、サンギア及びインターナルギアに噛合させるとともに、ガラスディスクを上下定盤によって挟圧する。その後、研磨パッドとガラスディスクの研磨面(主表面)との間に研磨液を供給しながら、サンギアを回転させることによって、ガラスディスクは、定盤上で自転しながらインターナルギアの回りを公転して、両主表面を同時に研磨加工される。
以下の実施例で使用する両面研磨装置としては、同一の装置を用いている。具体的には、ポリッシャとして硬質ポリシヤ(硬質発泡ウレタン)を用いて、第1研磨工程を実施した。研磨条件は、酸化セリウム(平均粒径1.3μm)及びRO水からなる研磨液を用い、荷重を100g/cm2、研磨時間を15分とした。そして、この第1研磨工程を終えたガラスディスクを、中性洗剤、純水(1)、純水(2)、IPA(イソプロピルアルコール)、IPA(蒸気乾燥)の各洗浄槽に順次浸漬させて、超音波洗浄し、乾燥させた。
(6)第2研磨工程
次に、第1研磨工程で使用した両面研磨装置と同様の両面研磨装置を用いて、ポリッシャを軟質ポリッシャ(スウェードパット)に替えて、主表面の鏡面研磨工程として、第2研磨工程を実施した。
次に、第1研磨工程で使用した両面研磨装置と同様の両面研磨装置を用いて、ポリッシャを軟質ポリッシャ(スウェードパット)に替えて、主表面の鏡面研磨工程として、第2研磨工程を実施した。
この第2研磨工程は、前述した第1研磨工程により得られた平坦な主表面を維持しつつ、この主表面の表面粗さRaを、例えば、0.5乃至0.3nm程度以下まで低減させることを目的とするものである。
研磨条件は、コロイダルシリカ(平均粒径80nm)及びRO水からなる研磨液を用い、荷重を100g/cm2、研磨時間を5分とした。
そして、この第2研磨工程を終えたガラスディスクを、中性洗剤、純水(1)、純水(2)、IPA(イソプロピルアルコール)、IPA(蒸気乾燥)の各洗浄槽に順次浸漬させて、超音波洗浄し、乾燥させた。
(7)化学強化工程
次に、洗浄を終えたガラスディスクに対し、化学強化処理を施した。化学強化処理は、硝酸カリウムと硝酸ナトリウムとを混合させた化学強化液を用いて行い、強化処理されたガラスディスクから溶出されるリチウム含有量をICP発光分析装置を用いて測定した。
次に、洗浄を終えたガラスディスクに対し、化学強化処理を施した。化学強化処理は、硝酸カリウムと硝酸ナトリウムとを混合させた化学強化液を用いて行い、強化処理されたガラスディスクから溶出されるリチウム含有量をICP発光分析装置を用いて測定した。
この化学強化溶液を、340°C乃至380°Cに加熱し、洗浄及び乾燥を終えたガラスディスクを、約2時間乃至4時間浸漬して、化学強化処理を行なった。この浸漬の際には、ガラスディスクの表面全体が化学強化されるようにするため、複数のガラスディスクが外周端面で保持されるように、ホルダーに収納した状態で行った。
化学強化処理を終えたガラスディスクを、20°Cの水槽に浸漬して急冷し、約10分間維持した。
そして、急冷を終えたガラスディスクを、約40°Cに加熱した濃硫酸に浸漬して洗浄を行った。さらに、硫酸洗浄を終えた磁気ディスク用ガラスディスク基板を、純水(1)、純水(2)、IPA(イソプロピルアルコール)、IPA(蒸気乾燥)の各洗浄槽に順次浸漬させて、超音波洗浄し、乾燥させた。
次に、洗浄を終えたガラスディスクの主表面及び端面について、目視検査を行い、さらに、光の反射、散乱及び透過を利用した精密検査を実施した。その結果、ガラスディスクの主表面及び端面には、付着物による突起や、傷等の欠陥は発見されなかった。
また、前述のような工程を経たガラスディスクの主表面の表面粗さは、原子間カ顕微鏡(AFM)によって測定したところ、Rmaxで2.5nm、Raで0.30nmと、超平滑な表面となっていることが確認された。なお、表面粗さの数値は、AFM(原子間力顕微鏡)によって測定した表面形状について、日本工業規格(JIS)B0601にしたがって算出したものである。
また、前述のような工程を経たガラスディスクは、内径が7mm、外径が27.4mm、板厚は0.381mmであり、「1.0インチ型」磁気ディスクに用いる磁気ディスク用ガラスディスク基板の所定寸法であることを確認した。
さらに、このガラスディスクの円孔の内周端面の表面粗さは、面取り面においてRmaxで0.4μm、Raで0.04μm、面取り面以外の部分においてRmaxで0.4μm、Raで0.05μmであった。外周端面における表面粗さRaは、面取り面において0.04μm、面取り面以外の部分において0.07μmであった。このように、内周端面は、外周端面と同様に、鏡面状に仕上がっていることを確認した。
また、このガラスディスクの表面に異物やサーマルアスペリティの原因となるパーティクルは認められず、円孔の内周端面にも異物やクラックは認められなかった。
(8)テクスチャ加工
次に、化学強化処理を終えたガラスディスクに対し、テクスチャ加工を行った。このテクスチャ加工は、テクスチャ加工装置を用いて、ガラスディスクとこのガラスディスクの両主表面を挟持する研磨テープとを所定の状態で相対的に摺接移動させる「メカニカルテクスチャ加工」によって、主表面及び端面に対して行った。これらガラスディスクと各研磨テープとの相対的摺動は、ガラスディスクの周方向(接線方向)の移動を基本としつつ、この周方向に対して、サインカーブを描いて揺動する移動として行った。また、このとき、ガラスディスクと各研磨テープとの間に、研磨砥粒としてダイヤモンド砥粒をを含有する液体状の研磨剤を供給した。
次に、化学強化処理を終えたガラスディスクに対し、テクスチャ加工を行った。このテクスチャ加工は、テクスチャ加工装置を用いて、ガラスディスクとこのガラスディスクの両主表面を挟持する研磨テープとを所定の状態で相対的に摺接移動させる「メカニカルテクスチャ加工」によって、主表面及び端面に対して行った。これらガラスディスクと各研磨テープとの相対的摺動は、ガラスディスクの周方向(接線方向)の移動を基本としつつ、この周方向に対して、サインカーブを描いて揺動する移動として行った。また、このとき、ガラスディスクと各研磨テープとの間に、研磨砥粒としてダイヤモンド砥粒をを含有する液体状の研磨剤を供給した。
このテクスチャ加工が終了した後、ガラスディスクをスクラブ洗浄し、磁気ディスク用ガラスディスク基板を得た。
〔端面におけるテクスチャの状態〕
前述のようにして作成された磁気ディスク用ガラスディスク基板の主表面及び端面について、電子間力顕微鏡で測定した。
前述のようにして作成された磁気ディスク用ガラスディスク基板の主表面及び端面について、電子間力顕微鏡で測定した。
図3は、本発明に係る磁気ディスク用ガラスディスク基板の端面の面取り面について測定された電子間力顕微鏡像である。
その結果、この磁気ディスク用ガラスディスク基板においては、図3に示すように、主表面のみならず、端面の少なくとも面取り面について、少なくとも主表面と面取り面との境界から150μm以内の領域においては、ディスクの周方向のテクスチャが形成されていることが確認された。
〔実施例2(磁気ディスクの実施例)〕
次に、以下の工程を経て、本発明に係る磁気ディスクを製造した。
次に、以下の工程を経て、本発明に係る磁気ディスクを製造した。
前述の工程により得た磁気ディスク用ガラスディスク基板の両主表面に、静止対向型のDCマグネトロンスパッタリング装置を用いて、Al−Ru合金のシード層、Cr−W合金の下地層、Co−Cr−Pt−Ta合金の磁性層、水素化炭素保護層を順次成膜した。シード層は、磁性層の磁性グレインを微細化させる作用を奏し、下触層は、磁性層の磁化容易軸を面内方向に配向きせる作用を奏する。
この磁気ディスクは、非磁性基板である磁気ディスク用ガラスディスク基板と、この磁気ディスク用ガラスディスク基板上に形成された磁性層と、この磁性層上に形成された保護層と、この保護層上に形成された潤滑層とを少なくとも備えて構成される。
そして、磁気ディスク用ガラスディスク基板と磁性層との間には、シード層及び下地層からなる非磁性金属層(非磁性下地層)が形成されている。この磁気ディスクにおいて、磁性層以外は、全て非磁性体からなる層である。この実施例においては、磁性層及び保護層、保護層及び潤滑層は、それぞれ接した状態で形成されている。
すなわち、まず、スパッタリングターゲットとして、Al−Ru(アルミニウム−ルテニウム)合金(Al:50at%、Ru:50at%)を用いて、磁気ディスク用ガラスディスク基板上に、膜厚30nmのAl−Ru合金からなるシード層をスパッタリングにより成膜した。次に、スパッタリングターゲットとして、Cr−W(クロム−タングステン)合金(Cr:80at%、W:20at%)を用いて、シード層5上に、膜厚20nmのCr−W合金からなる下地層をスパッタリングにより成膜した。次いで、スパッタリングターゲットとして、Co−Cr−Pt−Ta(コバルト−クロム−プラチナ−タンタル)合金(Cr:20at%、Pt:12at%、Ta:5at%、残部Co)からなるスパッタリングターゲットを用いて、下地層上に、膜厚15nmのCo−Cr−Pt−Ta合金からなる磁性層をバイアススパッタリングにより形成した。
次に、磁性層上に水素化炭素からなる保護層をバイアスCVD法により形成し、さらに、PFPE(パーフロロポリエーテル)からなる潤滑層をディップ法で成膜した。保護層は、磁気ヘッドの衝撃から磁性層を保護する作用を奏する。このようにして、磁気ディスクを得た。
得られた磁気ディスクを用い、浮上量が10nmのグライドヘッドによりグライド検査を行ったところ、衝突する異物等は検出されず、安定した浮上状態を維持することができた。また、この磁気ディスクを用いて、700kFCIで記録再生試験を行ったところ、十分な信号強度比(S/N比)を得ることができた。また、信号のエラーは確認されなかった。
さらに、1平方インチ当り60ギガビット以上の情報記録密度を必要とする「1インチ型ハードディスクドライブ」に搭載して駆動させたところ、特に問題なく記録再生を行うことができた。すなわち、クラッシュ障害やサーマルアスペリティ障害は発生しなかった。
また、この実施例において得られた磁気ディスクのについてのロードアンロード耐久試験を行った。すなわち、得られた磁気ディスクをハードディスクドライブに搭載して連続してロードアンロード動作を繰り返し行った。その結果は、ロードアンロード耐久性として、60万回以上のロードアンロード動作に耐久することができ、充分な耐久性となっていることが確認された。
また、テクスチャ加工を前述のように行なった後、スクラブ洗浄を行わなかった磁気ディスク用ガラスディスク基板を用いた場合でも、ロードアンロード耐久性として55万回以上であり、充分な耐久性となっていることが確認された。
なお、本発明においては、磁気ディスク用ガラスディスク基板の直径(サイズ)については、特に限定されるものではない。しかし、本発明は、特に、小径の磁気ディスク用ガラスディスク基板を製造する場合に優れた有用性を発揮する。ここでいう小径とは、例えば、直径が30mm以下の磁気ディスク用ガラスディスク基板である。
〔比較例〕
前述した実施例におけるテクスチャ加工において、端面にテクスチャが形成されないようにして、主表面のみにテクスチャを形成して比較例とした。得られた磁気ディスク用ガラスディスク基板の端面の面取り面を実施例1と同様に電子顕微鏡を用いて詳細に観察した。
前述した実施例におけるテクスチャ加工において、端面にテクスチャが形成されないようにして、主表面のみにテクスチャを形成して比較例とした。得られた磁気ディスク用ガラスディスク基板の端面の面取り面を実施例1と同様に電子顕微鏡を用いて詳細に観察した。
図4は、比較例における磁気ディスク用ガラスディスク基板の端面の面取り面について測定された電子間力顕微鏡像である。
この磁気ディスク用ガラスディスク基板においては、図4に示すように、端面において、ディスクの周方向のテクスチャは観察されなかった。
この比較例の磁気ディスク用ガラスディスク基板を用いて、前述の実施例2と同様に、磁気ディスクを製造した。そして、実施例2と同様の評価を行った。
グライト検査を行ったところ、主表面のディスク外縁付近において、ヘッドの浮上が不安定となった。
また、実施例2と同様に、ハードディスクドライブに搭戴して駆動させたところ、サーマルアスペリティ障害が生じた場合に特有の信号が検出された。
次に、実施例2の磁気ディスクと同様に、この比較例の磁気ディスクについても、ロードアンロード耐久性を調べるために、得られた磁気ディスクをハードディスクドライブに搭載して連続してロードアンロード動作を繰り返し行った。その結果、実施例2の磁気ディスクにおいては60万回以上のロードアンロード動作に耐久することができたのに対し、比較例の磁気ディスクにおいては、40万回程度で、ヘッドクラッシュが生じて故障した。
1 ガラスディスク
2 円孔
101 チャッキング軸
102,103 研磨テープ
2 円孔
101 チャッキング軸
102,103 研磨テープ
Claims (10)
- 主表面と端面とを有するガラスディスク基板であって、
前記端面は、前記主表面の周縁に沿った面取り面を有し、
前記端面の少なくとも前記面取り面には、ディスクの略々周方向に沿うテクスチャが形成されている
ことを特徴とする磁気ディスク用のガラスディスク基板。 - 前記テクスチャは、ディスクの周に沿って略規則的な形状を有するものである
ことを特徴とする請求項1記載の磁気ディスク用のガラスディスク基板。 - 前記端面の前記テクスチャは、少なくとも前記主表面と前記面取り面との境界から150μm以内の領域において形成されている
ことを特徴とする請求項1、または、請求項2記載の磁気ディスク用のガラスディスク基板。 - 主表面と端面とを有するガラスディスク基板であって、
前記端面は、前記主表面の周縁に沿った面取り面を有し、
前記端面の少なくとも前記面取り面には、ディスクの略々周方向に沿う筋状の凹凸が形成されている
ことを特徴とする磁気ディスク用のガラスディスク基板。 - 請求項1乃至請求項4のいずれか一に記載のガラスディスク基板の主表面に少なくとも磁性層が成膜された磁気ディスクであって、
前記端面上に、少なくとも、磁性層、または、保護層を有する
ことを特徴とする磁気ディスク。 - 主表面と端面とを有し、前記端面が前記主表面の周縁に沿った面取り面を有するガラスディスク基板の製造方法であって、
前記端面に対して研磨テープを接触させ、前記端面と前記研磨テープとを相対的に移動させる機械研磨加工を行う工程を有する
ことを特徴とする磁気ディスク用ガラスディスク基板の製造方法。 - 前記機械研磨加工により、前記端面の少なくとも前記面取り面に、ディスクの略々周方向に沿う筋状の凹凸を形成する
ことを特徴とする請求項6記載の磁気ディスク用ガラスディスク基板の製造方法。 - 前記機械研磨加工は、鏡面研磨処理された前記端面に対して行う
ことを特徴とする請求項6、または、請求項7記載の磁気ディスク用ガラスディスク基板の製造方法。 - 前記機械研磨加工を行う前に、イオン交換法による化学強化処理を行う
ことを特徴とする請求項6乃至請求項8のいずれか一に記載の磁気ディスク用ガラスディスク基板の製造方法。 - 請求項6乃至請求項9のいずれか一に記載の磁気ディスク用ガラスディスク基板の製造方法によって製造された磁気ディスク用ガラスディスク基板上に少なくとも磁性層及び保護層を成膜する磁気ディスクの製造方法であって、
前記磁性層、または、前記保護層は、バイアススパッタリング法、または、バイアスCVD法により成膜する
ことを特徴とする磁気ディスクの製造方法。
Priority Applications (1)
| Application Number | Priority Date | Filing Date | Title |
|---|---|---|---|
| JP2005153190A JP2005293840A (ja) | 2005-05-25 | 2005-05-25 | ガラスディスク基板、磁気ディスク、磁気ディスク用ガラスディスク基板の製造方法及び磁気ディスクの製造方法 |
Applications Claiming Priority (1)
| Application Number | Priority Date | Filing Date | Title |
|---|---|---|---|
| JP2005153190A JP2005293840A (ja) | 2005-05-25 | 2005-05-25 | ガラスディスク基板、磁気ディスク、磁気ディスク用ガラスディスク基板の製造方法及び磁気ディスクの製造方法 |
Related Parent Applications (1)
| Application Number | Title | Priority Date | Filing Date |
|---|---|---|---|
| JP2004104084 Division | 2004-03-31 |
Publications (1)
| Publication Number | Publication Date |
|---|---|
| JP2005293840A true JP2005293840A (ja) | 2005-10-20 |
Family
ID=35326566
Family Applications (1)
| Application Number | Title | Priority Date | Filing Date |
|---|---|---|---|
| JP2005153190A Pending JP2005293840A (ja) | 2005-05-25 | 2005-05-25 | ガラスディスク基板、磁気ディスク、磁気ディスク用ガラスディスク基板の製造方法及び磁気ディスクの製造方法 |
Country Status (1)
| Country | Link |
|---|---|
| JP (1) | JP2005293840A (ja) |
Cited By (3)
| Publication number | Priority date | Publication date | Assignee | Title |
|---|---|---|---|---|
| WO2012043214A1 (ja) * | 2010-09-30 | 2012-04-05 | コニカミノルタオプト株式会社 | 情報記録媒体用ガラス基板の製造方法および情報記録媒体 |
| JP5860173B2 (ja) * | 2012-12-29 | 2016-02-16 | Hoya株式会社 | 磁気ディスク用ガラス基板および磁気ディスク |
| CN111709942A (zh) * | 2020-06-29 | 2020-09-25 | 中南大学 | 一种基于纹理度优化的锌浮选加药量预测控制方法 |
-
2005
- 2005-05-25 JP JP2005153190A patent/JP2005293840A/ja active Pending
Cited By (6)
| Publication number | Priority date | Publication date | Assignee | Title |
|---|---|---|---|---|
| WO2012043214A1 (ja) * | 2010-09-30 | 2012-04-05 | コニカミノルタオプト株式会社 | 情報記録媒体用ガラス基板の製造方法および情報記録媒体 |
| US8938990B2 (en) | 2010-09-30 | 2015-01-27 | Hoya Corporation | Method for producing glass substrate for information storage medium, and information storage medium |
| JP5695068B2 (ja) * | 2010-09-30 | 2015-04-01 | Hoya株式会社 | 情報記録媒体用ガラス基板の製造方法および情報記録媒体の製造方法 |
| JP5860173B2 (ja) * | 2012-12-29 | 2016-02-16 | Hoya株式会社 | 磁気ディスク用ガラス基板および磁気ディスク |
| CN111709942A (zh) * | 2020-06-29 | 2020-09-25 | 中南大学 | 一种基于纹理度优化的锌浮选加药量预测控制方法 |
| CN111709942B (zh) * | 2020-06-29 | 2022-04-12 | 中南大学 | 一种基于纹理度优化的锌浮选加药量预测控制方法 |
Similar Documents
| Publication | Publication Date | Title |
|---|---|---|
| JPWO2005093720A1 (ja) | 磁気ディスク用ガラス基板 | |
| CN100440326C (zh) | 磁盘用玻璃基板以及磁盘 | |
| JP2006082138A (ja) | 磁気ディスク用ガラス基板の製造方法及び磁気ディスク用ガラス基板、並びに、磁気ディスクの製造方法及び磁気ディスク | |
| JP4808985B2 (ja) | 磁気ディスク用ガラス基板の製造方法及び磁気ディスクの製造方法 | |
| JP2005293840A (ja) | ガラスディスク基板、磁気ディスク、磁気ディスク用ガラスディスク基板の製造方法及び磁気ディスクの製造方法 | |
| JP2007115388A (ja) | 磁気ディスク用ガラス基板の収納方法、磁気ディスク用ガラス基板の製造方法、磁気ディスク用ガラス基板収納体、磁気ディスク用ガラス基板の配送方法及び磁気ディスクの製造方法 | |
| JP5032758B2 (ja) | 磁気ディスク用ガラス基板の製造方法及び磁気ディスクの製造方法 | |
| JP5235916B2 (ja) | 磁気ディスク用ガラス基板の製造方法、磁気ディスクの製造方法及び磁気ディスク | |
| JP2006018922A (ja) | 磁気ディスク用ガラス基板の製造方法及び磁気ディスクの製造方法 | |
| JP2006043842A (ja) | 磁気ディスク用ガラス基板の製造方法及び磁気ディスクの製造方法 | |
| JP4771981B2 (ja) | 磁気ディスク用ガラス基板の製造方法及び磁気ディスクの製造方法 | |
| JP4347146B2 (ja) | 磁気ディスク用ガラス基板の製造方法及び磁気ディスクの製造方法 | |
| JP4942305B2 (ja) | 磁気ディスク用ガラス基板の製造方法及び磁気ディスクの製造方法 | |
| JP5311731B2 (ja) | 磁気ディスク用ガラス基板の製造方法、磁気ディスクの製造方法及び研磨布 | |
| JP2005285276A (ja) | 磁気ディスク用ガラス基板の製造方法、磁気ディスクの製造方法及び磁気ディスク | |
| JP5492276B2 (ja) | 磁気ディスク用ガラス基板及び磁気ディスク | |
| JP5701938B2 (ja) | 磁気ディスク用ガラス基板の製造方法 | |
| JP4484162B2 (ja) | 磁気ディスク用ガラス基板、磁気ディスクおよび磁気ディスク用ガラス基板の製造方法 | |
| JP2010231841A (ja) | ガラス基板の製造方法、ガラス基板及び磁気記録媒体 | |
| JP2011086371A (ja) | 磁気ディスク用ガラス基板の製造方法 | |
| JP2007090452A (ja) | 磁気ディスク用ガラス基板の製造方法及び磁気ディスクの製造方法 | |
| JP2005141824A (ja) | 磁気ディスク用ガラス基板の製造方法及び磁気ディスクの製造方法 | |
| JP2005317181A (ja) | 磁気ディスク用ガラス基板及び磁気ディスク | |
| JP2006263879A (ja) | 磁気ディスク用基板の製造方法、磁気ディスク用基板の製造装置及び磁気ディスクの製造方法 | |
| JP5111818B2 (ja) | 磁気ディスク用ガラス基板の製造方法及び磁気ディスクの製造方法 |
Legal Events
| Date | Code | Title | Description |
|---|---|---|---|
| A131 | Notification of reasons for refusal |
Free format text: JAPANESE INTERMEDIATE CODE: A131 Effective date: 20080527 |
|
| A02 | Decision of refusal |
Free format text: JAPANESE INTERMEDIATE CODE: A02 Effective date: 20080929 |