JP2005293383A - Uim用icカード - Google Patents

Uim用icカード Download PDF

Info

Publication number
JP2005293383A
JP2005293383A JP2004109629A JP2004109629A JP2005293383A JP 2005293383 A JP2005293383 A JP 2005293383A JP 2004109629 A JP2004109629 A JP 2004109629A JP 2004109629 A JP2004109629 A JP 2004109629A JP 2005293383 A JP2005293383 A JP 2005293383A
Authority
JP
Japan
Prior art keywords
uim
card
antenna coil
contact
antenna
Prior art date
Legal status (The legal status is an assumption and is not a legal conclusion. Google has not performed a legal analysis and makes no representation as to the accuracy of the status listed.)
Granted
Application number
JP2004109629A
Other languages
English (en)
Other versions
JP4531430B2 (ja
Inventor
Katsumi Shimizu
克巳 志水
Current Assignee (The listed assignees may be inaccurate. Google has not performed a legal analysis and makes no representation or warranty as to the accuracy of the list.)
Dai Nippon Printing Co Ltd
Original Assignee
Dai Nippon Printing Co Ltd
Priority date (The priority date is an assumption and is not a legal conclusion. Google has not performed a legal analysis and makes no representation as to the accuracy of the date listed.)
Filing date
Publication date
Application filed by Dai Nippon Printing Co Ltd filed Critical Dai Nippon Printing Co Ltd
Priority to JP2004109629A priority Critical patent/JP4531430B2/ja
Publication of JP2005293383A publication Critical patent/JP2005293383A/ja
Application granted granted Critical
Publication of JP4531430B2 publication Critical patent/JP4531430B2/ja
Anticipated expiration legal-status Critical
Expired - Fee Related legal-status Critical Current

Links

Images

Classifications

    • HELECTRICITY
    • H10SEMICONDUCTOR DEVICES; ELECTRIC SOLID-STATE DEVICES NOT OTHERWISE PROVIDED FOR
    • H10WGENERIC PACKAGES, INTERCONNECTIONS, CONNECTORS OR OTHER CONSTRUCTIONAL DETAILS OF DEVICES COVERED BY CLASS H10
    • H10W72/00Interconnections or connectors in packages
    • H10W72/071Connecting or disconnecting
    • H10W72/075Connecting or disconnecting of bond wires
    • H10W72/07541Controlling the environment, e.g. atmosphere composition or temperature
    • H10W72/07554Controlling the environment, e.g. atmosphere composition or temperature changes in dispositions
    • HELECTRICITY
    • H10SEMICONDUCTOR DEVICES; ELECTRIC SOLID-STATE DEVICES NOT OTHERWISE PROVIDED FOR
    • H10WGENERIC PACKAGES, INTERCONNECTIONS, CONNECTORS OR OTHER CONSTRUCTIONAL DETAILS OF DEVICES COVERED BY CLASS H10
    • H10W72/00Interconnections or connectors in packages
    • H10W72/50Bond wires
    • H10W72/541Dispositions of bond wires
    • H10W72/547Dispositions of multiple bond wires
    • HELECTRICITY
    • H10SEMICONDUCTOR DEVICES; ELECTRIC SOLID-STATE DEVICES NOT OTHERWISE PROVIDED FOR
    • H10WGENERIC PACKAGES, INTERCONNECTIONS, CONNECTORS OR OTHER CONSTRUCTIONAL DETAILS OF DEVICES COVERED BY CLASS H10
    • H10W72/00Interconnections or connectors in packages
    • H10W72/851Dispositions of multiple connectors or interconnections
    • H10W72/874On different surfaces
    • H10W72/884Die-attach connectors and bond wires
    • HELECTRICITY
    • H10SEMICONDUCTOR DEVICES; ELECTRIC SOLID-STATE DEVICES NOT OTHERWISE PROVIDED FOR
    • H10WGENERIC PACKAGES, INTERCONNECTIONS, CONNECTORS OR OTHER CONSTRUCTIONAL DETAILS OF DEVICES COVERED BY CLASS H10
    • H10W90/00Package configurations
    • H10W90/701Package configurations characterised by the relative positions of pads or connectors relative to package parts
    • H10W90/751Package configurations characterised by the relative positions of pads or connectors relative to package parts of bond wires
    • H10W90/754Package configurations characterised by the relative positions of pads or connectors relative to package parts of bond wires between a chip and a stacked insulating package substrate, interposer or RDL

Landscapes

  • Credit Cards Or The Like (AREA)

Abstract

【課題】 ICカード基体から取り外しする前の状態で、通常の接触・非接触両用ICカードとして使用でき、取り外した状態でUIMとして使用でき、さらに再度UIMをUIM用輪郭部10sに組み込みできるUIM用ICカードを提供する。
【解決手段】 本発明のUIM用ICカード1は、札入れサイズカード基体10内のUIM用輪郭部10sに、取り外しおよび再組み込み可能な構造にUIM2が設けられているUIM用ICカードであって、当該UIM2に装着したICモジュールのICチップが接触と非接触の双方の通信機能部を有し、かつICチップの非接触通信機能部が、札入れサイズカード基体内のアンテナコイル11にアンテナ接続部7を介して接続していることを特徴とする。札入れサイズカード基体内に、さらに他の一つのUIM用輪郭部と他のアンテナコイルが同一のカード基体内に形成されているようにしてもよい。
【選択図】 図1

Description

本発明は、接触と非接触と双方の通信機能を備えるUIM用ICカードに関する。
ここに、UIM用ICカードとは、一般に札入れサイズのカード基体内に、UIMの外形形状が周縁スリットにより折り取り可能に形成されていて、当該周縁スリットから折り取りして、UIMを携帯電話機やリーダライタに装着して使用する用途のICカードに関するが、本発明ではUIMが札入れサイズのカード基体のUIM用輪郭部に、取り外しおよび再組み込み可能に設けられていて、かつ、ICモジュールが接触・非接触両用であって、カード基体内にアンテナコイルを有するカードを意味するものとする。
このようなUIM用ICカードは、UIMを取り外しする前の状態で、接触・非接触両用ICカード(一般、にコンビカードまたはデュアルインターフェースカードとも呼ばれる。)として使用でき、取り外しした状態ではUIMとして、第1にアダプタやリーダライタに装着して施設や交通機関等の非接触ゲート開閉の入門証として、あるいは非接触ショッピング等の決済取引に適用でき、第2に、携帯電話機に装着して利用者識別等に使用できる特徴がある。また、UIMを元のカード基体に再組み込みした状態でも接触・非接触両用ICカードとして使用できる利点がある。
従って、本発明の関連する技術分野は、UIM用ICカードやUIMの製造や利用の分野に関する。
近年、ISO7816−2、ISO7816−3で規定される接触と、ISO14443で規定する非接触インターフェースを備えるICカードが実用されている。
他方、携帯電話機には小型のICカードである、SIMやUIM、USIMカードと呼ばれるセキュリティIDモジュールが組み込まれてきている。日本でも最新の携帯電話機に組み込まれて既に実用化されている。
UIM(User Identity Module)は、携帯電話会社が発行する契約者情報を記録した小型のICカードであって、携帯電話機に組み込んで利用者の識別に使用する。
これは同様の機能を持つSIM(Subscriber Identity Module)から機能拡張が行われたもので、契約者情報以外に電話帳などのプライベート情報やクレジット決済用の個人識別情報などを暗号化して登録することが可能となっている。 SIMをベースにしていることからUSIM(Universal SIM)と呼ばれることもある。SIMはGSM携帯電話サービスの利用を目的とするが、UIMは、例えば、アメリカのcdma2000携帯電話機に差し込んで国際ローミングサービスを受けるといった使用方法が考えられている。
このようなSIMまたはUIMは、ICカード製造の既存技術が有るので、ICカードと同サイズのカード体付き形態とすれば、その製造や発行処理が容易である。
小型のICカードであるSIMやUIMは、ICキャリアともいわれ、当該ICキャリアが、札入れサイズのカードに保持された形態である、「板状枠体付きICキャリア」として特許文献1、特許文献2のような出願がされている。これらの特許文献は、主として板状枠体とICキャリアの接続形態について提案するものである。
一方、接触非接触型共用ICモジュールについては、特許文献3の先行技術がある。特許文献3では、ICモジュールのICチップやワイヤ部を封止樹脂で被覆した外側にアンテナ接続用端子を設けて、当該接続用端子によりICカード内のアンテナと接続することを提案している。
特許文献4は、「SIMおよびSIMホルダー」に関し、接触および非接触交信のデュアルインターフェイスを備えるSIMであって、SIM自体にアンテナコイルを形成したSIMと、SIM自体にはアンテナコイルを形成しないで、SIMホルダーのアンテナコイルと接続するようにしたSIMとの双方、を提案している。
また、アンナコイルを備える従来のUIM用ICカードとして、図17に図示するものが本願出願人により提案されている。
図17(A)は、UIM用ICカードの外観図、図17(B)はICカード内のアンテナコイル11を示す図、図17(C)は折り取りしたUIM2を示す。このものは、周縁スリット2sに囲まれたUIM2を折り取りすると、ブリッジ部2bにおいて、カード基体10内のアンテナコイル11との接続部を切断するので、UIM2を元の位置に再嵌め込みしても非接触通信機能が使用できない、という問題がある。
特開2002−163626号公報 特開2002−236895号公報 特開2002−123808号公報 特願2002−244613号
上記のように、接触と非接触のデュアルインターフェイスを備えるICカードは、公知であり、実際に市中で使用されてもいる。また、接触・非接触両用のUIMも本願出願人等により提案されている。
しかし、札入れサイズのカードにUIMが折り取り可能に保持され、接触と非接触の双方の通信機能を有する従来のUIMは、札入れサイズカード内にアンテナコイルが形成されていないので、非接触ICカードとして使用することができず不便な問題があった。
また、一度折り取りした場合は、再度、元の位置に組み込みして、ICカードとして使用できない問題があった。すなわち、ICチップとして高機能、高価格のものを使用しても利用用途が限定される問題があった。
そこで、本願発明者は、UIMが札入れサイズのカードに組み込まれた状態で、接触および非接触両用ICカードとして使用でき、さらにUIMを札入れサイズカードから取り外し可能にするとともに、再組み込み可能にし、UIMとしても、ICカードとしても常に変換使用可能な形態を研究して本発明の完成に至ったものである。
上記課題を解決するため本発明は第1に、札入れサイズカード基体内のUIM用輪郭部に、取り外しおよび再組み込み可能な構造にUIMが設けられているUIM用ICカードであって、当該UIMに装着したICモジュールのICチップが接触・非接触両用であって、ICチップの非接触通信機能部が、札入れサイズカード基体内のアンテナコイルにアンテナ接続部を介して接続していることを特徴とするUIM用ICカード、の手段を行う。
上記課題を解決するため本発明は第2に、札入れサイズカード基体内のUIM用輪郭部に、取り外しおよび再組み込み可能な構造にUIMが設けられ、かつ、当該取り外したUIMを再組み込み可能な他の1つのUIM用輪郭部を有しているUIM用ICカードであって、当該UIMに装着したICモジュールのICチップが接触・非接触両用であって、ICチップの非接触通信機能部が、札入れサイズカード基体内のアンテナコイルにアンテナ接続部を介して接続しており、当該他の1つのUIM用輪郭部に接続する他のアンテナコイルも同一のカード基体内に形成されていることを特徴とするUIM用ICカード、の手段を行う。
上記課題を解決するため本発明は第3に、札入れサイズカード基体内のUIM用輪郭部に、取り外しおよび再組み込み可能な構造にUIMが設けられているUIM用ICカードであって、当該UIMに装着したICモジュールのICチップが接触・非接触両用であって、ICチップの非接触通信機能部が、札入れサイズカード基体内のアンテナコイルにアンテナ接続部を介して接続し、かつ、当該UIMには接続しないブースタ用アンテナコイルをカード基体内に有することを特徴とするUIM用ICカード、の手段を行う。
上記において、再組み込み可能な構造が、ICカード基体側の凸状の組み込み構造とUIM側の凹状の組み込み構造と、からなるようすることができ、あるいは、ICカード基体側の側辺に交互に形成された下面に向かって広がる辺と下面に向かって狭まる辺と、UIM側の側辺に当該形状に合致するように交互に形成された下面に向かって狭まる辺と下面に向かって広がる辺と、からなるようにすることもできる。
これらの場合は、強固な組み込み構造となるので、UIMとカード基体側アンテナの良好な接続を維持することができる。
上記において、UIM自体がアンテナコイルを有していて、当該アンテナコイルの両端がICチップの非接触通信機能部に接続している、ようにすることもできる。この場合には、UIM自体のアンテナコイルにより通信機能の拡大を図ることができる。
また、ICチップの非接触通信機能部が、ICモジュール端子基板のC4,C8端子に接続し、さらに当該C4,C8端子がアンテナコイル接続用端子板に接続している、ようにすることもできる。この場合には、UIM2をリーダライタやアダプタに装着して使用する場合に当該機器のアンテナをC4,C8端子に接続することができる。
さらに、UIMを札入れサイズカード基体内のUIM用輪郭部に組み込みした際に、ICモジュールの接触端子板が、ISO7816で規定する札入れサイズカードの所定位置にある、ようにすることができる。その場合には、通常のICカードの製造機器を利用して発行処理や検査を行うことができる。
本発明のUIM用ICカードは、以下の効果を有する。
(1)ICチップの非接触通信機能部が札入れサイズカード(JISX6301で規定するID−1型)基体内のアンテナコイルに接続しているので、UIMを取り外ししないで札入れサイズのカードのままの状態で、接触・非接触両用ICカードとして使用できる。(2)札入れサイズカードから取り外した状態ではUIMとしてリーダライタや携帯機器に装着して使用できる。その際は、機器のアンテナを利用できる。
(3)取り外したUIMを札入れサイズカードに再組み込みして、元の状態で接触・非接触両用ICカードとして使用できる。例えば、社員証として入退室を非接触機能で、クレジット・キャッシュ機能を接触機能で使用することが可能となる。
(4)すなわち、1個のICチップで多機能用途に対応できることによるコストダウン効果が期待できる。
(5)UIMの再組み込みが強固な構造にされているので、UIM側とカード基体側のアンテナコイル接続端部の導通が確実に確保される。
(6)UIMの非接触通信機能をアンテナコイルのあるカード基体に組み込みして試験することができる。
以下、本発明のUIM用ICカードについて図面を参照して説明する。
図1は、本発明のUIM用ICカードの第1実施形態を示す平面図、図2は、本発明のUIM用ICカードの第2実施形態を示す平面図、図4〜図7は、UIMとICカード基体の組み込み構造を説明する図、図8は、アンテナコイル接続端子とカード基体側のアンテナコイル接続端部間の組み込み構造を説明する図、図9は、アンテナコイル接続端子とカード基体側のアンテナコイル接続端部間の接続状態を説明する図、図10は、UIMの形状等に関する規格値を示す図、図11は、ICモジュールの接触端子板表面を示す図、図12は、アンテナコイル付きUIMを示す図、図13は、ICモジュールの背面を示す図、図14は、アンテナシートを示す平面図、図15は、ICカード基体の積層構造を示す図、図16は、UIMのICモジュール装着部断面を模式的に示した図、である。
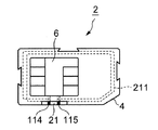
本発明のUIM用ICカードの第1実施形態は図1のように、UIM用ICカード1のUIM用輪郭部10s内にUIM2が取り外し可能、かつ再組み込み可能に装着されている。ICモジュールのアンテナコイル接続用端子板(図1においては見えない位置にあるので不図示。)は、カード基体側のアンテナ接続部7とその下面にあるUIM側のアンテナ接続部(図1においては見えない位置にある。)を介してICカード基体10内のアンテナコイル11に接続するようにされている。
UIM2は表面にICモジュール接触端子板6を有し、矩形状基板の1角部分には位置合わせ用の切り欠き部4を有している。UIM2とカード基体10との間には適宜な箇所に凸状の組み込み構造10a,10b,10cを有している。UIMの組み込み構造やアンテナ接続部については後述する。
第1実施形態のUIM用ICカード1では、UIM2がカード基体10に組み込まれた状態のままで、接触・非接触両用ICカードとして使用でき、UIM2を取り外した状態では、UIM2単独で機器に装着して使用できる。UIM2を取り外した後のカード基体10には、アンテナコイル11だけが残るが、保存しておけば、UIM2を再組み込みして接触・非接触両用ICカードとして使用できる。なお、アンテナコイル11は、カード基体10中に埋設形成されていて外観からは観察できないものである。
本発明のUIM用ICカードの第2実施形態は図2のように、UIM用ICカード1は、2つのUIM用輪郭部10s,10pを有し、当該輪郭部の1のUIM用輪郭部10s内にUIM2が取り外し可能、かつ再組み込み可能に装着されている。
図2の場合は、双方の輪郭部にUIM2を組込みした状態が図示されているが、他方のUIM用輪郭部10pは、UIM2が組み込み可能な構造を有するが、UIM2自体は有していなくてもよい。
UIM用輪郭部10pは、図2のものとは異なりカードを裏返しして使用する際に、ISOで規定する所定位置に位置するようにしてもよい。その場合は、他方の当該UIM2も、カード基体10の長辺に平行するように配置することになる。
双方のUIM用輪郭部10s,10pからは、カード基体側のアンテナ接続部7とその下面にあるUIM側のアンテナ接続部を介してカード基体内のアンテナコイル11a,11bに接続するようにされている。
アンテナコイル11aとアンテナコイル11bとは、アンテナサイズやターン数が必然的に異なったものとなるので、通信特性の異なったアンテナにできる。例えば、通信距離が異なるものとすれば、会社の入退室には密着反応型とし、コンサート等の入場時にはある程度の近距離反応型(10〜20cm程度)にする等、の使用方法が期待できる。
第2実施形態のUIM用ICカード1では、UIM2がカード基体に組み込まれた状態で、接触・非接触両用ICカードとして使用でき、UIM2を取り外した状態では、UIM単独で使用できる。この用い方は、第1実施形態の場合と同様である。
第2実施形態の場合は、輪郭部10sから取り外したUIM2を輪郭部10pの方に組み込みして、アンテナコイル11bにより異なる通信特性の非接触ICカードとして使用できる特徴がある。UIM2を取り外した後のカード基体には、アンテナコイル11a,11bが残るので、保存しておけば、UIM2を再組み込みしてICカードとして使用できる。この用い方も第1実施形態の場合と同様である。
本発明のUIM用ICカードの第3実施形態は図3のように、UIM用ICカード1のUIM用輪郭部10s内にUIM2が取り外し可能、かつ再組み込み可能に装着され、ICモジュールのアンテナコイル接続用端子板は、カード基体側のアンテナ接続部7を介してICカード基体10内のアンテナコイル11aに接続するようにされている。この形態は第1実施形態と同一である。
第3実施形態の特徴は、アンテナコイル11aの他に通信機能拡大のためのブースタ用アンテナコイル11cをICカード基体10内に有することである。これによりアンテナコイル11aに対してアンテナコイル11cがブースタの役割をすることになる。ブースタ用アンテナコイル11cには、微小コイル11dや微小コンデンサ11eが実装される。UIM2がカード基体10側のアンテナ回路と直接閉回路を形成するだけでなく、これとは独立した閉回路を内蔵させた形態であり、ブースタ効果を持たせた構造として組み合わせることが可能となる。
UIM2とICカード基体10の組み込みには、図4〜図7のような各種の組み込み構造を採用できる。
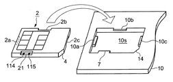
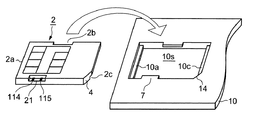
図4は、その一例であって、再組み込み可能な構造が、ICカード基体10側の凸状の組み込み構造10a,10b,10cとアンテナ接続部7と、UIM2側の凹状の組み込み構造2a,2b,2cとアンテナ接続部21と、の構造からなっている。アンテナ接続部21には2本のアンテナコイル接続端部114,115が露出している。
図4の場合は、凸状の組み込み構造ではあるが、偏平な台形状組み込み構造である特徴がある。このような偏平な組み込み構造である場合は、UIM内領域を大きく浸食することがなくて好ましい。
UIM2を輪郭部10sに組み込みする際は、UIM2側のアンテナ接続部21をカード基体10側のアンテナ接続部7の下側に差し込みしてから、各組み込み部を位置合わせして指先で押圧すれば容易にUIM2を組み込みできる。取り外しする場合は逆にUIM2の下面側から押圧すればUIM2を簡単に取り外しできる。
図5は、他の例であって、再組み込み可能な構造が、ICカード基体10側が凸状の組み込み構造10a,10b,10cとアンテナ接続部7と、を有し、UIM側が凹状の組み込み構造2a,2b,2cとアンテナ接続部21と、を有するのは図4の場合とほぼ同様である。ただし、図5の場合は、組み込み構造10bとアンテナ接続部7が、UIM2の上半面を押さえるように突出しているのに対し、組み込み構造10a,10cはUIM2の下半面を支持するように突出している違いがある。UIM2側は、それぞれに対応する構造になっている。
図6の場合も同様であるが、ICカード基体10側の凸状の組み込み構造10a,10cはUIM2の短辺の全体を支持するように突出している違いがある。UIM2側の凹状の組み込み構造2a,2cも当該形状に合致する形状に形成されている。
図5、図6の場合の組み込みには、UIM2の多少の弾性変形を利用する必要が生じるが、凸状部の突出量を適切な範囲にすれば無理な力が必要になることはない。
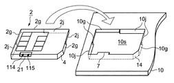
図7も他の例であって、再組み込み可能な構造が、ICカード基体10側は、アンテナ接続部7がある側辺を除く残りの3辺に、辺の下面に向かって広がる辺10gと、下面に向かって狭まる辺10jとが、各側辺の略半分の長さについて交互に形成されている特徴がある。UIM2側の側辺も、当該形状に合致するように、辺の下面に向かって広がる側辺2gと、下面に向かって狭まる側辺2jとが、各側辺の略半分の長さについて交互に形成されている。切り欠き部4やアンテナ接続部21のある側辺は垂直にしておくのが好ましい。図7の形態の場合も、UIM2のアンテナ接続部21をアンテナ接続部7の下面に差し込んでからUIM2を軽く上面から押圧する。UIM2の下面に向かって広がる側辺2g部分では多少の抵抗が生じるが、広がる角度が適度な範囲であれば支障なく組み込みできる。広がる角度や狭まる角度は、垂直面から2度〜30度程度以内の変化範囲が適切である。
ただし、以上の組み込み構造は例示であって、これらの形状に限定されないことは勿論であって、組み込み可能なあらゆる形状を採用できる。このような再組み込み可能な構造は、一枚のカード基体にUIM2を折り取り可能にして、かつ双方の構造を同時に形成するのは困難であるため、通常は、それぞれの組み込み構造を有するUIM2とカード基体10とを別々の工程で製造してから組み込みして一体にすることになる。
UIM2のアンテナ接続部21とカード基体側のアンテナ接続部7の組み込み部にも各種の構造を採用できる。ただし、アンテナ接続部は電気的な導通を図る部分であるので、良好な導通の確保と繰り返し使用に対する耐久性を備えなければならない。
図8は、その一例であって、ICカード基体側のアンテナコイル接続端部とUIM側のアンテナコイル接続用端子板が接続する構造を示している。
図8(A)は、図4におけるアンテナ接続部7のA−A線断面図、図8(B)は、図4におけるアンテナ接続部21のB−B線断面図、図8(C)は、組み込みしたアンテナ接続部7とアンテナ接続部21とが接触した状態を示す断面図、図9は、図8(C)のC−C線断面図、である。
図8(A)のように、カード基体10側のアンテナ接続部7には、アンテナコイル11の接続端部114,115が露出している。
図8(B)のように、UIM2側のアンテナ接続部21にも、アンテナコイル接続端部114,115が露出している。当該接続端部114,115は後述するようにICチップの非接触通信機能部に接続させるためのものである。良好な導通を確保するためには接続端部114,115の金属面が、カード基体のプラスチック材料面よりやや突出しているのが好ましい。UIM2をカード基体のUIM用輪郭部10sに組み込みした後は、図8(C)のように、基体側のアンテナコイル接続端部114,115とUIM側のアンテナ接続部21のアンテナコイル接続端部114,115が接触した状態になる。
UIM2をカード基体10に組み込みした際は、図9のように、双方のアンテナコイル接続端部115が接触して電気的導通が得られる。他方の接続端部114の関係も同一である。接続端部115の接触面は、カード基板面に対して傾斜した面に仕上げてもよい。 後に詳述するが、アンテナの接続構造は、アンテナコイル接続端部114,115をICモジュールの下面まで伸びるように配線し、ICモジュールのアンテナコイル接続用端子板24,25(図16参照)との導通を図るものである。本来、アンテナコイル接続端部114,115は同一のカード基体に形成された配線層であるため、1枚のカード基板から切り取りするのでは、図9のように相互に接触して重なる部分は得られない。
従って、2枚のカード基板を使用することになる。アンテナコイル接続端部114,115が接触して重なる部分が、凸凹にならずカード基板に対して平滑な平面とするためには、アンテナコイル接続端部114,115面の厚み調整が必要になる。
アンテナコイル接続端部114,115間の接触圧は、UIM2のサイズやカード基板側のUIM用輪郭部10s,10pの短辺幅を適切な範囲にすることで調整できる。
次に、UIM2の形状やICモジュール5について説明する。
UIM2は、ISO7816−2、ISO7816−3で規定する接触、ISO14443で規定する非接触インターフェースを備えるものである。UIM2の接触端子板8の背面には、接触・非接触デュアルモードのICモジュールが装着されている。
UIM2の形状は、図10のように、GSM(Global System for Mobile communications)および3GPP(3rd Generation Partnership Project)により規定されている。
UIM2は、長辺が25mm、短辺が15mmの基板からなり、厚みは、0.76mmの均一な薄板状のものである。従って、凹状の組み込み構造を形成する場合にも規格値から大きな形状の変化を起こさないことに留意が必要である。1角部に切り欠き部4を有するのは、携帯電話機等に装着した際の位置整合のためである。
図中の数値は、札入れサイズカードにおけるUIM2の位置や長辺、短辺の数値、あるいはC1〜C8端子の許容位置範囲を示すものである。
本発明に使用するICモジュール5の接触端子板6は、ISO7816で規定するもので、図11のとおりであるが、端子板面自体は通常の接触型ICカード用ICモジュールのものと異なることはない。
図11のように、C1(Vcc)、C2(RST)、C3(CLK)、C5(GND)、C6(Vpp)、C7(I/O)を有するが、C4、C8は、RFU(Reserved for Future Use)端子であって、現在は使用していない。
本発明では、このC4、C8端子をハイブリッド型のUIMホルダーや携帯電話機にUIMを装着した際、UIMホルダーや携帯電話機が有するアンテナとの接続用として使用するものである。
UIM2は、図12のように、UIM2自体にアンテナコイル211を備えるものであってもよい。この場合、アンテナコイル211の両端部はアンテナコイル接続端部114,115に接続するようにされる。アンテナコイル接続端部114,115がアンテナ接続部21を介してカード基体10内のアンテナコイル11にも接続する場合は、受送信能力を増強させる効果を生じる。また、カード基体内のアンテナコイル11に接続しない場合であっても、図2の実施形態の場合に、例えば、UIM用輪郭部10pにアンテナコイル211付きUIM2を組み込みした場合には、カード基体内のアンテナコイル11aとの関係でブースタ効果を生じさせて受送信能力を増強させることもできる。この場合、アンテナ接続部7には、コンデンサ等を装着しアンテナコイル端部間を接続する。
UIM2自体にアンテナコイル211を備える場合には、アンテナコイル211とアンテナコイル接続用端子板24,25とが、UIM2のアンテナ接続部21付近で交差することとなるが、アンテナコイル211を端子板24,25(またはアンテナコイル接続端部114,115)とは異なる深さ領域に形成しておけば短絡を回避できる。例えば、アンテナコイル211とアンテナコイル接続端部114,115とをアンテナシートの表裏に形成する等の方法である。アンテナコイル211とアンテナコイル接続用端子板24,25(またはアンテナコイル接続端部114,115)との接続は交差域に小孔(導通用凹部)を掘削して導電性接着剤を注入する方法等で行う。
ICモジュール5の背面は、図13のようになる。C4、C8端子の背面にはプリント基板8の絶縁性基材を穿って、ワイヤボンディング基板側パッド26,26a,26bが形成されている。そして、パッド26aとアンテナコイル接続用端子板24との間がボンディングワイヤ27により結線され、さらにICチップ3のA1パッド(非接触通信機能部パッド)にワイヤボンディングされている。一方、パッド26bとアンテナコイル接続用端子板25との間がボンディングワイヤ27により結線され、さらにICチップ3のA2パッド(他方側の非接触通信機能部パッド)にワイヤボンディングされている。ワイヤ接続部やICチップ3部分は後に樹脂モールドして保護される。
C4,C8接触端子とアンテナコイル接続用端子板24,25とを接続するのは、前記のようにUIM2が携帯電話機やリーダライタ、あるいはUIM用アダプタに用いられた場合に、それらの機器が有するアンテナとの接続をC4,C8端子を介して行うためである。
なお、アンテナコイル接続用端子板24,25は、ICモジュール5の基板8の外側に、破線で示すように延長して伸びる形状であってもよい。このようにする場合は、ICモジュール接触端子板6の外側にアンテナコイル接続構造を設けることができる。
図16は、UIM2のICモジュール装着部断面を模式的に示した図であって、アンテナコイル接続用端子板24に沿う概略断面を示している。接続用端子板25に沿う断面も同様に表れることになる。図16において、ICモジュール5のプリント基板8は、第1凹部面に懸架され、樹脂モールド部17は、ICモジュール埋設用凹部20の最深部(第2凹部内)に納めて装着されている。
アンテナコイル接続用端子板24は、アンテナコイル接続端部114と導通用凹部15とにより接続するようにしている。アンテナコイル接続用端子板25も同様になる。
当該アンテナコイル接続端部114をアンテナ接続部21に露出して、カード基体10側のアンテナコイル11と接続することになる。ICチップ3の非接触通信機能部A1は、アンテナコイル接続用端子板24にワイヤ接続され、C4端子とアンテナコイル接続用端子板24との間もワイヤボンディング基板側パッド26aを介してワイヤ接続されている。C4端子に対する反対側のワイヤボンディング基板側パッド26を有する端子は、C1,C2,C3,C5,C6,C7等の他の端子を意味するものである。
UIM2内のアンテナコイル211は導通用凹部16によりアンテナコイル接続端部114に導通している。この導通処理はアンテナシート製作の段階で行うことができる。
このように本発明に使用するICカード用ICモジュール5は、アンテナコイル接続用端子板24,25を有するので、UIM用ICカード基体10内のアンテナコイル11とアンテナ接続部21を介して接続させることができる。そして、この場合、接触・非接触両用のICカードとしての使用が可能となる。
一方、UIMとして携帯電話機やUIMアダプタ等のアンテナを使用する場合は、C4とC8の接触端子を介してICチップ3の非接触通信機能部に接続することができる。
すなわち、デュアルインターフェースICチップをモジュール化した際に、一つの形態で多面的に利用できる利点がある。
次に、UIM用ICカードの製造工程について説明する。
UIM用ICカードの製造は、組み込みするUIM2とICカード基体(UIMの外枠になるので、以降「外枠体」とも表現する。)10と、を同時の工程で同一基材に製造するのが材料の無駄を生じず理想的であるが、UIM2の折り取り構造を形成し、さらに再組み込み可能な構造を同一材料に一体に同時に形成するのは困難と考えられる。
そこで、本発明のUIM用ICカードでは、UIM2の製造と外枠体10の製造は、別途の工程で製造することが前提となる。
<UIMの製造>
UIM2の製造は、ICカード基体の製造から開始する。
図14のように、まず、カード基体10中に挿入するアンテナシート(中間層)を作製する。当該アンテナシート101には、UIM2の接触・非接触両用COT(Chip On Tape)裏面のアンテナコイル接続用端子板(図13参照)と接合する最低2箇所の端部(アンテナコイル接続端部114,115)の1端部を始点とし、他端部を終点とする配線回路(アンテナコイル11)を捲線方式または銅箔やアルミ箔のエッチング方式、あるいは導電性インキのシルク印刷方式により形成される。UIM2自体にアンテナコイルを持たせる場合もこの段階で形成する。なお、図14中の矩形状の破線rは後に、UIM2が形成される位置を示している。
このアンテナシート101を図15のように、適宜な他のコアシート102と一対にして中心層とし、その両面にオーバーシート103,104を積層して熱圧をかけて熱融着または接着剤を介して一体化し、ICカード基体10を製造する。ICカード基体に施す印刷は、コアシートまたはオーバーシートに印刷後、積層するか、積層後、最表面に印刷または転写法により設ける。この段階までは多面付けの状態で行われるが、熱圧プレス後個々のカードサイズに打ち抜きする。なお、図15中の破線qは後に、ICモジュール装着用凹部が掘削される位置を示している。
次いで、図16のように、ザグリ方式により、ICモジュール装着用凹部20の掘削を行う。ICモジュール装着用凹部20は、ICモジュールのプリント基板8部分を懸架する第1凹部と、ICモジュールの樹脂モールド部を埋設する深さ部分の第2凹部と、からなりこれらを掘削する。またアンテナコイル接続端部114,115を露出させる掘削を行う。図16には現れていないが、アンテナコイル接続端部115側も同様にするものである。
次に、UIM2を外枠体10に組み込みした際に、外枠側アンテナコイルと導通するアンテナコイル接続端部114をUIM2のアンテナ接続部21に露出させる切削を行うとともに、当該露出部を含むUIM部分が、外枠体のアンテナ接続部7に係合する形状に加工する(図4等参照)。
また、これと同時にUIM2が外枠体10から容易に脱落しないような保持効果を持たせる形状加工を行う。UIM2の場合は、エンドミルによって周縁スリットを形成し、凹状の組み込み構造2a,2b,2cやアンテナ接続部21の形成を行う。あるいは、ICモジュールの装着後、UIM2の概略形状を打ち抜きしてから、エンドミルにより凹状の組み込み構造やアンテナ接続部21等の細部加工を行ってもよい。
これらの加工には前記のように、エンドミルによるザグリ加工、溝打ち抜き加工、およびそれらの組み合わせ加工による数値制御(NC)された精密加工が可能である。
ICモジュール装着用凹部20の掘削により露出したアンテナコイル接続端部114,115に導電性接着剤を塗布するか貼着した異方導電性接着フィルム(ACF)を介して、ICモジュール5のアンテナコイル接続用端子板24,25とを接続させる。
ICモジュール5を装填して、圧着するためのICモジュールシールを行う。モジュールシールは接触端子板6面をヒーターブロックで熱圧をかけることにより行う。
ICモジュールの装着は、UIM2をカード基板10から折り取りした後であっても構わないが、折り取りする前であれば、従来装置を使用できる利点がある。
<ICカード基体の製造>
まず、アンテナシートの作製を行う。アンテナシートはアンテナコイル11とアンテナコイル接続端部114,115を有するようにするが、図14で説明したUIMの場合と同様に製作する。カード基体に、ブースタコイルを合わせて持たせる場合も、このアンテナシートの段階で行う。ブースタコイルに微小コンデンサや微小コイルを装着する場合もアンテナシートの段階で行う。
ICカード基体10を製造する。この工程も、アンテナシートを適宜な他のコアシート102と一対にして中心層とし、その両面にオーバーシート103,104を積層して熱圧をかけて熱融着または接着剤を介して一体化することにより行う。
個々のカードサイズへの打ち抜きと、UIM用輪郭部10s,10pの概略形状の打ち抜きを行う。次いで、輪郭部10s,10p内の凸状の組み込み構造やアンテナ接続部7を正確な形状に切削する。この切削は、細径のエンドミル刃を用いて切削を行う。
アンテナ接続部7には、カード基体内のアンテナコイル接続端部114,115が露出するようにする。
<発行処理等>
UIM単独で、またはUIM2をカード基体10に再組み込みした後、UIM内のICチップに対して接触または非接触インターフェース(UIM単独で行う場合は接触で)を介して、必要な検査、発行処理を行う。
以上までの各工程は、組み込み構造の形成等を除き、通常の接触・非接触両用ICカードの製造工程と概略同様のものである。
図1、図3、図13、図14、図16等を参照して、本発明の実施例を説明する。
<ICカード用ICモジュールの準備>
接触端子板が形成され、接触・非接触式両用ICチップが実装されたCOT(ガラスエポキシ基材、厚み160μm)のICチップ3やワイヤボンディング部周囲を囲みエポキシ系樹脂を滴下して樹脂モールドした。2個のアンテナコイル接続用端子板24,25は樹脂モールド部17から露出するようにしたが、ICモジュールのプリント基板8の背面内に納まる長さとした(図13参照)。
ICモジュール基板の大きさは13.0mm×11.8mmとし、樹脂モールド部17の大きさは、8.0mm×8.0mm、基板厚みを含めない樹脂モールド部17の高さは440μmとなった。
このCOT裏面(端子板の反対面)に、樹脂モールド部17とアンテナコイル接続用端子板24,25を除いて第1凹部(ICモジュール装着用凹部内であって接触端子板が載置される部分)に接する部分が被覆されるように、熱反応性の異方導電性接着テープ(ポリエステル樹脂系、厚み50μm)9を打ち抜いてからラミネートした。
プレス条件は、130°C、時間5秒とした。このラミネート時に、接着テープ9は、約10μm圧縮された。
<アンテナシートの製造>
カード基体のアンテナシートとして、厚み360μmの白色硬質塩化ビニールシートに厚み35μmの銅箔が積層された基材を使用し、フォトエッチングによりアンテナコイル11とアンテナコイル接続端部114,115を有する形状に形成した。アンテナコイル11は、略42mm×42mmの正方形状であって、5ターンするように形成した。
なお、双方のアンテナコイル接続端部114,115がUIM2の外形から抜け出る配線部分が、アンテナ接続部7に位置する配線パターン形状とした(図14参照)。
<ICカード基体の準備>
このアンテナシートに対して、厚み360μmの白色硬質塩化ビニルシート1枚を、アンテナコイル11を内側にして合わせ、この2枚をコアシートとして、さらにその両面に厚み50μmの透明塩化ビニールシートの2枚をコアシートの上下面に配置した合計4枚のシートを仮止めした後、熱圧(150°C、0.03MPa、時間40分)をかけて融着し、アンテナシート埋め込み済カード基体を2枚準備した。1枚は、UIM2の製造に、他の1枚は、UIM用輪郭部を有するカード基体に用いるものである。
この状態では、アンテナコイル接続端部114,115は、カード表面から410μm〜445μmの範囲に存在することになる。
1.UIMの製造
<ICモジュール装着用凹部の切削>
ICモジュール装着用凹部20を、ザグリ機のNC切削加工により形成した。
まず、ICモジュール基板(接触端子板)と接着テープ9の厚みの合計厚さに相当する深さに第1凹部を切削した(図16参照。)。
この段階での第1凹部の大きさは、13.1×11.9mm(角部の曲率半径2.5mm)、深さは200μmとした。このサイズは実際の端子基板サイズよりも各0.1mm程度大きい開口である。
さらにICモジュール5の樹脂モールド部17を納める第2凹部(ICモジュール装着用凹部中心の最深部分)を、大きさ8.2mm×8.2mm、深さをカード表面から640μm、第1凹部表面からさらに440μm深くなるように掘削した。
最後に、ICモジュール5のアンテナコイル接続用端子板24,25と、カード基体内のアンテナコイル接続端部114,115とを導通させるための2個の導通用凹部(直径2mm)15を、第1凹部表面から掘削した。深さは、カード表面から430μm程度になるように掘削した(図16参照。)。
<ICモジュールの装着>
導通用凹部15により露出したアンテナコイル接続端部114,115の上に液状導電性熱硬化性樹脂を塗布した上に、先に準備した熱反応性導電性接着テープ9ラミネート済みのICモジュール5をCOTから打ち抜いて搭載し、熱圧(150°C、時間5秒)をかけて接着テープ9を溶かしてICモジュールを固定した。
これにより、ICモジュール5とICカード基体10の接着、およびICモジュール5とカード基体内のアンテナコイルとの電気的接続の両方が完成した。
<仕上げ加工>
UIM2のサイズが長辺25mm、短辺15mmとなるようにし、1角部に切り欠き部4を設けるようにして、エンドミルにより外形形状を形成した。その後、図1のように凹状の切り込み構造2a,2b,2cを側辺から1.5mm内側になるように、長さ約7mmに形成した。アンテナ接続部21を切削してアンテナコイル接続端部114,115が表面に露出するようにした。表面に露出するアンテナコイル接続端部114,115の厚みは、元の35μmの箔の厚みの1/2強の厚みとなるように切削した。これにより、UIM2が完成した。
2.ICカード基体の製造
UIM用ICカード基体には、UIM2の基体と同一の他のシートを使用した。
この、カード基体10のUIM2の概略位置を打ち抜きした後、エンドミルを使用してUIM2の凹状の切り込み構造2a,2b,2cに対応する凸状の組み込み構造10a,10b,10cやアンテナ接続部7の形状を形成した。
アンテナ接続部7の表面に露出するアンテナコイル接続端部114,115の厚みは、元の35μmの箔の厚みの1/2強の厚みとなるように切削した。これにより、UIM用ICカード基体(外枠体)10が完成した。
以上の工程で完成した、UIM2をUIM用輪郭部10sを有する外枠体10に組み込みして、UIM用ICカード1が完成した(図1参照)。
このUIM用ICカード1を接触・非接触両用ICカードとして支障なく使用でき、UIM2を取り外しして、携帯電話機用UIMとして利用できることも確認できた。また、元のUIM用ICカード基体10に組み込みして再度使用することもできた。
実施例1と同一の工程で、UIM2を製造したが、ICカード基体(外枠体)10には、図3のようにブースタ用アンテナコイル11cを有する形状に形成した。
<アンテナシートの製造>
カード基体のアンテナシートとして、厚み360μmの白色硬質塩化ビニールシートに厚み35μmの銅箔が積層された基材を使用し、フォトエッチングによりアンテナコイル11とアンテナコイル接続端部114,115を有する形状に形成した。アンテナコイル11は、略42mm×42mmの正方形状であって、5ターンするように形成し、その内側にブースタ用アンテナコイル11cが、略36mm×36mmの正方形状であって、5ターンするように形成した。
なお、双方のアンテナコイル接続端部114,115がUIM2の外形から抜け出る配線部分が、アンテナ接続部7に位置する配線パターン形状とした(図14参照)。
ICカード基体の準備や仕上げ加工は、実施例1と同一の材料、工程により行い、ICカード基体(外枠体)10を完成した。
以上の工程で完成した、UIM2をUIM用輪郭部10sを有する外枠体10に組み込みして、UIM用ICカード1が完成した(図3参照)。
このUIM用ICカード1を接触・非接触両用ICカードとして支障なく使用し、ブースタ効果を有することが認められた。UIM2を取り外しして、携帯電話機用UIMとして利用できることも確認できた。また、元のUIM用ICカード基体10に組み込みして再度使用することもできた。
以上の実施例においては、UIM2やICカード基体10の製造を従来のICカードの製造工程を用いて製造している例を示しているが、UIM2をICモジュールをインサート射出成型する製造方法でも製造でき、ICカード基体の製造も同様にできるのは当業者には自明のことであり、本発明のUIM用ICカードが実施例の製造方法に限定されないことは明らかである。
本発明のUIM用ICカードの第1実施形態を示す平面図である。 本発明のUIM用ICカードの第2実施形態を示す平面図である。 本発明のUIM用ICカードの第3実施形態を示す平面図である。 UIMとICカード基体の組み込み構造を説明する図である。 UIMとICカード基体の組み込み構造を説明する図である。 UIMとICカード基体の組み込み構造を説明する図である。 UIMとICカード基体の組み込み構造を説明する図である。 アンテナコイル接続端子とカード基体側のアンテナコイル接続端部間の組み込み構造を説明する図である。 アンテナコイル接続端子とカード基体側のアンテナコイル接続端部間の接続状態を説明する図である。 UIMの形状等に関する規格値を示す図である。 ICモジュールの接触端子板表面を示す図である。 アンテナコイル付きUIMを示す図である。 ICモジュールの背面を示す図である。 アンテナシートを示す平面図である。 ICカード基体の積層構造を示す図である。 UIMのICモジュール装着部断面を模式的に示した図である。 従来のUIM用ICカードを説明する図である。
符号の説明
1 UIM用ICカード
2 UIM
2a,2b,2c 凹状の組み込み構造
2s 周縁スリット
3 ICチップ
4 切り欠き部
5 ICモジュール
6 接触端子板
7 アンテナ接続部
8 プリント基板
9 導電性接着テープ
10 カード基体、外枠体
10s,10p UIM用輪郭部
10a,10b,10c 凸状の組み込み構造
11,11a,11b アンテナコイル
11c ブースタ用アンテナコイル
14 切り欠き部
15,16 導通用凹部
17 樹脂モールド部
20 ICモジュール装着用凹部
21 アンテナ接続部
24,25 アンテナコイル接続用端子板
26,26a,26b ワイヤボンディング基板側パッド
27 ボンディングワイヤ
114,115 アンテナコイル接続端部

Claims (10)

  1. 札入れサイズカード基体内のUIM用輪郭部に、取り外しおよび再組み込み可能な構造にUIMが設けられているUIM用ICカードであって、当該UIMに装着したICモジュールのICチップが接触・非接触両用であって、ICチップの非接触通信機能部が、札入れサイズカード基体内のアンテナコイルにアンテナ接続部を介して接続していることを特徴とするUIM用ICカード。
  2. 札入れサイズカード基体内のUIM用輪郭部に、取り外しおよび再組み込み可能な構造にUIMが設けられ、かつ、当該取り外したUIMを再組み込み可能な他の1つのUIM用輪郭部を有しているUIM用ICカードであって、当該UIMに装着したICモジュールのICチップが接触・非接触両用であって、ICチップの非接触通信機能部が、札入れサイズカード基体内のアンテナコイルにアンテナ接続部を介して接続しており、当該他の1つのUIM用輪郭部に接続する他のアンテナコイルも同一のカード基体内に形成されていることを特徴とするUIM用ICカード。
  3. 札入れサイズカード基体内のUIM用輪郭部に、取り外しおよび再組み込み可能な構造にUIMが設けられているUIM用ICカードであって、当該UIMに装着したICモジュールのICチップが接触・非接触両用であって、ICチップの非接触通信機能部が、札入れサイズカード基体内のアンテナコイルにアンテナ接続部を介して接続し、かつ、当該UIMには接続しないブースタ用アンテナコイルをカード基体内に有することを特徴とするUIM用ICカード。
  4. 再組み込み可能な構造が、ICカード基体側の凸状の組み込み構造とUIM側の凹状の組み込み構造と、からなることを特徴とする請求項1ないし請求項3のいずれか1の請求項に記載のUIM用ICカード。
  5. 再組み込み可能な構造が、ICカード基体側の側辺に交互に形成された下面に向かって広がる辺と下面に向かって狭まる辺と、UIM側の側辺に当該形状に合致するように交互に形成された下面に向かって狭まる辺と下面に向かって広がる辺と、からなることを特徴とする請求項1ないし請求項3のいずれか1の請求項に記載のUIM用ICカード。
  6. 再組み込み可能な構造がICカード基体側の凸状台形形状とUIM側の凹状台形形状の構造からなることを特徴とする請求項4記載のUIM用ICカード。
  7. 再組み込み可能な構造がICカード基体側の凸状支持構造とUIM側の凹状受け構造を有することを特徴とする請求項4記載のUIM用ICカード。
  8. UIM自体がアンテナコイルを有していて、当該アンテナコイルの両端がICチップの非接触通信機能部に接続していることを特徴とする請求項1ないし請求項3のいずれか1の請求項に記載のUIM用ICカード。
  9. ICチップの非接触通信機能部が、ICモジュール端子基板のC4,C8端子に接続し、さらに当該C4,C8端子がアンテナコイル接続用端子板に接続していることを特徴とする請求項1ないし請求項3のいずれか1の請求項に記載のUIM用ICカード。
  10. UIMを札入れサイズカード基体内のUIM用輪郭部に組み込みした際に、ICモジュールの接触端子板が、ISO7816で規定する札入れサイズカードの所定位置にあることを特徴とする請求項1ないし請求項3のいずれか1の請求項に記載のUIM用ICカード。

JP2004109629A 2004-04-02 2004-04-02 Uim用icカード Expired - Fee Related JP4531430B2 (ja)

Priority Applications (1)

Application Number Priority Date Filing Date Title
JP2004109629A JP4531430B2 (ja) 2004-04-02 2004-04-02 Uim用icカード

Applications Claiming Priority (1)

Application Number Priority Date Filing Date Title
JP2004109629A JP4531430B2 (ja) 2004-04-02 2004-04-02 Uim用icカード

Publications (2)

Publication Number Publication Date
JP2005293383A true JP2005293383A (ja) 2005-10-20
JP4531430B2 JP4531430B2 (ja) 2010-08-25

Family

ID=35326220

Family Applications (1)

Application Number Title Priority Date Filing Date
JP2004109629A Expired - Fee Related JP4531430B2 (ja) 2004-04-02 2004-04-02 Uim用icカード

Country Status (1)

Country Link
JP (1) JP4531430B2 (ja)

Cited By (11)

* Cited by examiner, † Cited by third party
Publication number Priority date Publication date Assignee Title
JP2007193698A (ja) * 2006-01-20 2007-08-02 Dainippon Printing Co Ltd 非接触型データキャリア装置
JP2007276996A (ja) * 2006-04-12 2007-10-25 Ohbayashi Corp 建設機械のジブ動作監視装置、建設機械のジブ動作監視方法、建設機械の動作監視システム
JP2008513863A (ja) * 2004-09-20 2008-05-01 ジェムプリュス 外すことができるチップカードのアダプタ媒体と媒体の製造法
WO2008136156A1 (ja) * 2007-04-23 2008-11-13 Orient Instrument Computer Co., Ltd. 記憶媒体ホルダおよびシート部材加工方法
JP2009518739A (ja) * 2005-12-06 2009-05-07 ホー・チュン−シン デュアル集積回路カードシステム
JP2009169563A (ja) * 2008-01-15 2009-07-30 Dainippon Printing Co Ltd 接触・非接触共用型icカードと非接触型icカード、およびそれらの製造方法
JP2010211716A (ja) * 2009-03-12 2010-09-24 Toppan Printing Co Ltd 非接触icカード及びその製造方法
JP2014182644A (ja) * 2013-03-19 2014-09-29 Toshiba Corp Icカード用基材、icカードの製造方法、及びicカード
JP2015508524A (ja) * 2011-12-22 2015-03-19 ジエマルト・エス・アー チップカードおよび関連する製造方法
EP2884430A1 (fr) 2013-12-13 2015-06-17 Plastifrance Support de cartes de formats multiples et à positionnement réversible stable
WO2022220715A1 (en) * 2021-04-15 2022-10-20 Fingerprint Cards Anacatum Ip Ab Substrate for dual interface smartcard and dual interface smartcard

Citations (6)

* Cited by examiner, † Cited by third party
Publication number Priority date Publication date Assignee Title
JPH08329206A (ja) * 1995-05-30 1996-12-13 Maxell Seiki Kk Icユニットホルダーおよびicカード
JPH11195099A (ja) * 1998-01-05 1999-07-21 Toppan Printing Co Ltd Icカード
JP2000090224A (ja) * 1998-09-14 2000-03-31 Toshiba Corp 情報処理媒体
JP2002512407A (ja) * 1998-04-18 2002-04-23 ブンデスドゥルッカーライ ゲーエムベーハー 支持カード
JP2002183702A (ja) * 2000-12-15 2002-06-28 J-Phone East Co Ltd Icカード
JP2004086402A (ja) * 2002-08-26 2004-03-18 Dainippon Printing Co Ltd Simおよびsimホルダー

Patent Citations (6)

* Cited by examiner, † Cited by third party
Publication number Priority date Publication date Assignee Title
JPH08329206A (ja) * 1995-05-30 1996-12-13 Maxell Seiki Kk Icユニットホルダーおよびicカード
JPH11195099A (ja) * 1998-01-05 1999-07-21 Toppan Printing Co Ltd Icカード
JP2002512407A (ja) * 1998-04-18 2002-04-23 ブンデスドゥルッカーライ ゲーエムベーハー 支持カード
JP2000090224A (ja) * 1998-09-14 2000-03-31 Toshiba Corp 情報処理媒体
JP2002183702A (ja) * 2000-12-15 2002-06-28 J-Phone East Co Ltd Icカード
JP2004086402A (ja) * 2002-08-26 2004-03-18 Dainippon Printing Co Ltd Simおよびsimホルダー

Cited By (12)

* Cited by examiner, † Cited by third party
Publication number Priority date Publication date Assignee Title
JP2008513863A (ja) * 2004-09-20 2008-05-01 ジェムプリュス 外すことができるチップカードのアダプタ媒体と媒体の製造法
JP2009518739A (ja) * 2005-12-06 2009-05-07 ホー・チュン−シン デュアル集積回路カードシステム
JP2007193698A (ja) * 2006-01-20 2007-08-02 Dainippon Printing Co Ltd 非接触型データキャリア装置
JP2007276996A (ja) * 2006-04-12 2007-10-25 Ohbayashi Corp 建設機械のジブ動作監視装置、建設機械のジブ動作監視方法、建設機械の動作監視システム
WO2008136156A1 (ja) * 2007-04-23 2008-11-13 Orient Instrument Computer Co., Ltd. 記憶媒体ホルダおよびシート部材加工方法
JP2009169563A (ja) * 2008-01-15 2009-07-30 Dainippon Printing Co Ltd 接触・非接触共用型icカードと非接触型icカード、およびそれらの製造方法
JP2010211716A (ja) * 2009-03-12 2010-09-24 Toppan Printing Co Ltd 非接触icカード及びその製造方法
JP2015508524A (ja) * 2011-12-22 2015-03-19 ジエマルト・エス・アー チップカードおよび関連する製造方法
JP2014182644A (ja) * 2013-03-19 2014-09-29 Toshiba Corp Icカード用基材、icカードの製造方法、及びicカード
EP2884430A1 (fr) 2013-12-13 2015-06-17 Plastifrance Support de cartes de formats multiples et à positionnement réversible stable
FR3015087A1 (fr) * 2013-12-13 2015-06-19 Plastifrance Support de cartes de formats multiples et a positionnement reversible stable.
WO2022220715A1 (en) * 2021-04-15 2022-10-20 Fingerprint Cards Anacatum Ip Ab Substrate for dual interface smartcard and dual interface smartcard

Also Published As

Publication number Publication date
JP4531430B2 (ja) 2010-08-25

Similar Documents

Publication Publication Date Title
KR100766643B1 (ko) 섬유상 물질로 된 안테나 지지체를 이용한 무접촉 혼성스마트 카드의 제조방법
CN100468449C (zh) 集成电路模块
CN101971194A (zh) 非接触式和双界面嵌体及其生产方法
CN108292373B (zh) 用于嵌入集成电路倒装芯片的方法
JP4907559B2 (ja) プラグイン型デュアルインタフェースicカードに用いるアンテナ
JP4109029B2 (ja) Icカード代替機能を有する携帯機器
JP4531430B2 (ja) Uim用icカード
JP2002236901A (ja) 電子情報記録媒体、および、電子情報読み取り・書込み装置
JP4422494B2 (ja) Icカードおよびsim
JP2005149360A (ja) Sim用icカード
JP4306352B2 (ja) 接触型非接触型ハイブリットicモジュールとそれを使用した接触型非接触型ハイブリットicカード
KR100802786B1 (ko) 아이씨 카드 제조 방법
JP4676812B2 (ja) Uim用icカードとuim及びuim用icカードの製造方法
JP4580725B2 (ja) Uim用icカードと小型サイズuim
JP4489402B2 (ja) 板状枠体付きuim
JP4428631B2 (ja) 板状枠体付きuimとその製造方法
JP4402420B2 (ja) 板状枠体付きuimとその製造方法
JP4641159B2 (ja) Uim用icカード
JP2005149355A (ja) Uimアダプタ
JP4459670B2 (ja) 板状枠体付きuim
JP4428636B2 (ja) 板状枠体付きuimとその製造方法
JP2001056850A (ja) 非接触交信機能付きicモジュールと接触型非接触型共用icカード
JP2001229356A (ja) 非接触icカード用アンテナと非接触icカード
JP4440380B2 (ja) 接触型非接触型共用icモジュールとそれを使用した接触型非接触型共用icカード
JP2025186110A (ja) Icカードおよびicカードの製造方法

Legal Events

Date Code Title Description
A621 Written request for application examination

Free format text: JAPANESE INTERMEDIATE CODE: A621

Effective date: 20070123

A977 Report on retrieval

Free format text: JAPANESE INTERMEDIATE CODE: A971007

Effective date: 20090826

A131 Notification of reasons for refusal

Free format text: JAPANESE INTERMEDIATE CODE: A131

Effective date: 20090915

A521 Request for written amendment filed

Free format text: JAPANESE INTERMEDIATE CODE: A523

Effective date: 20091112

A131 Notification of reasons for refusal

Free format text: JAPANESE INTERMEDIATE CODE: A131

Effective date: 20100302

A521 Request for written amendment filed

Free format text: JAPANESE INTERMEDIATE CODE: A523

Effective date: 20100421

TRDD Decision of grant or rejection written
A01 Written decision to grant a patent or to grant a registration (utility model)

Free format text: JAPANESE INTERMEDIATE CODE: A01

Effective date: 20100601

A01 Written decision to grant a patent or to grant a registration (utility model)

Free format text: JAPANESE INTERMEDIATE CODE: A01

A61 First payment of annual fees (during grant procedure)

Free format text: JAPANESE INTERMEDIATE CODE: A61

Effective date: 20100609

R150 Certificate of patent or registration of utility model

Free format text: JAPANESE INTERMEDIATE CODE: R150

FPAY Renewal fee payment (event date is renewal date of database)

Free format text: PAYMENT UNTIL: 20130618

Year of fee payment: 3

LAPS Cancellation because of no payment of annual fees