JP2005292574A - 表示装置用基板及びこれを用いた表示装置 - Google Patents

表示装置用基板及びこれを用いた表示装置 Download PDF

Info

Publication number
JP2005292574A
JP2005292574A JP2004109097A JP2004109097A JP2005292574A JP 2005292574 A JP2005292574 A JP 2005292574A JP 2004109097 A JP2004109097 A JP 2004109097A JP 2004109097 A JP2004109097 A JP 2004109097A JP 2005292574 A JP2005292574 A JP 2005292574A
Authority
JP
Japan
Prior art keywords
substrate
display device
film
stress control
insulating layer
Prior art date
Legal status (The legal status is an assumption and is not a legal conclusion. Google has not performed a legal analysis and makes no representation as to the accuracy of the status listed.)
Pending
Application number
JP2004109097A
Other languages
English (en)
Inventor
Hideki Yoshinaga
秀樹 吉永
Tatsumi Shoji
辰美 庄司
Teruhiko Furushima
輝彦 古島
Current Assignee (The listed assignees may be inaccurate. Google has not performed a legal analysis and makes no representation or warranty as to the accuracy of the list.)
Canon Inc
Original Assignee
Canon Inc
Priority date (The priority date is an assumption and is not a legal conclusion. Google has not performed a legal analysis and makes no representation as to the accuracy of the date listed.)
Filing date
Publication date
Application filed by Canon Inc filed Critical Canon Inc
Priority to JP2004109097A priority Critical patent/JP2005292574A/ja
Publication of JP2005292574A publication Critical patent/JP2005292574A/ja
Pending legal-status Critical Current

Links

Images

Landscapes

  • Liquid Crystal (AREA)
  • Electrochromic Elements, Electrophoresis, Or Variable Reflection Or Absorption Elements (AREA)
  • Devices For Indicating Variable Information By Combining Individual Elements (AREA)

Abstract

【課題】 基板に柔軟性を持たせた場合の該基板の反りが表示装置製造に悪影響を及ぼしてしまう。
【解決手段】 導電性金属基板1の上面に、基板絶縁層2を介して、TFTを形成する半導体4とゲート電極7とソース電極11とドレイン電極12が形成されている。導電性金属基板1の下面には、該基板1の応力による反りを制御するための基板絶縁層兼応力制御膜3が形成されている。
【選択図】 図1

Description

本発明は表示装置及びその製造方法に係り、特に導電性のフレキシブル基板または、耐熱性に優れたプラスチック基板に、マトリクス配線を設けた表示装置に関する。
薄膜トランジスタ(以下、TFTと記す)は液晶表示素子やEL表示素子、または電気泳動表示装置などに用いられ、例えば電気泳動表示装置においては、各画素において泳動液室内に封入されたトナーに電界をかける為に制御電極電位を制御する為の能動素子として用いられる。
各画素に設けたTFTに用いられる半導体膜には非晶質のシリコン薄膜(a−Si薄膜)や多結晶のシリコン薄膜(poly−Si薄膜)がある。
従来これらの技術は、例えば表示装置である液晶ディスプレイ用途ではガラスを基板として用いる事が多く、それゆえ、用途にもよるが、耐衝撃性や、柔軟性については十分ではない。
また、昨今、前述したような電気泳動を用いた表示装置として、従来実現し得なかった薄く、丈夫、かつ、紙の様なしなやかなディスプレイの開発も盛んに行われだしている。
それに伴い、表示素子を駆動する為のTFTバックプレーンも、従来のガラスではなく、薄い金属板や、プラスチック上に形成する事が考えられている。
例えば、特許文献1にステンレス(以下、SUSと記す(Steel Use Stainless))基板上にTFTバックプレーンを形成する為の技術が開示されている。
特開平9―179106号公報
しかしながら、特許文献1のようにSUS基板上に複数の層にわたり材料を形成すると、例えば金属板厚が薄くなり柔軟性が高くなった場合、導電性基板の絶縁の為に用いられる絶縁層や、その他TFTバックプレーンを形成するゲート絶縁層や、配線層、半導体層などの引っ張り又は圧縮応力のためSUS基板に反りが発生する。SUS基板がその周辺部が持ち上がって凹形に反った場合は、露光や、ドライエッチングを始めとする製造工程時にステージに基板を静電吸着や真空吸着し難くなることや、大きな反りによりマスクアライメントが難しくなる等の問題が生じる。
この事は、SUS基板ばかりでなくプラスチック基板においても同様の事がいえ、該プラスチック基板は必ずしも基板絶縁層を設ける必要は無いが、柔軟性が高くなることで、TFTバックプレーンを形成する各膜の引っ張り又は圧縮応力のため基板に反りが生じ、同様の問題が生じる。
そこで本発明の目的は、上記従来技術の問題に鑑み、基板に柔軟性を持たせた場合の該基板の反りが表示装置製造に悪影響を及ぼさないように構成された表示装置用基板及び、これを用いた表示装置を提供することにある。
上記目的を達成するために、本発明は、画素毎に配置された能動素子と、該能動素子の各々に対応して設けられた配線とを、基板の一面に備える表示装置用基板において、前記基板の前記能動素子と前記配線が形成された面とは反対側の面に、前記基板にかかる応力を制御する応力制御膜が設けられていることを特徴とする。
上記のような応力制御膜を備えることにより、前記能動素子と前記配線が形成された面を上側にした際に凹形に反らないように、この反り加減を制御することが可能になる。基板形状が凸形または平坦な状態になれば、この表示装置用基板をステージに吸着させることが容易となり、表示装置用基板の上面に半導体を作り込む場合の露光やエッチングなどが精度良く実施できる。
また、本発明は、上記のような表示装置用基板を用いた表示装置を提供することができる。その一つとして、前記表示装置用基板と対向配置された基板を有し、該基板と前記表示装置用基板の間に電気泳動粒子と該電気泳動粒子を分散させている媒質とを備えている表示装置を提供することができる。
本発明によれば、可撓性があり割れにくいフレキシブルな基板を用いた際にも、各配線やTFTなどの能動素子層の応力に起因して生じる、基板の反りを制御することで、プロセス上重要な、ステージへの基板吸着等が容易になる。これにより、露光や、ドライエッチングを始めとする工程を容易にし、その結果として、良好な性能のTFT等を作製することができる。
以下、本発明の実施の形態について図面を参照して説明する。なお、以下の実施形態は一例であり、本発明はこれら実施形態により限定を受けるものではない。
(第1の実施形態)
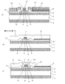
本発明の第1の実施形態について、図1を用いて説明する。図1は、本発明の第1の実施形態となるTFTの構造を説明するための縦断面図である。
表示素子を駆動するためのTFTは、図1に示すように、厚さが0.2mm、材質がSUS430の導電性金属基板1の上面に基板絶縁層2(材質:SiN)が設けられ、該金属基板1の下面に基板絶縁層兼応力制御膜(材質:SiN)3が設けられている。基板絶縁層2の上面にアモルファスSi(以下、a-Siと記す)の半導体層4が設けられている。半導体層4上にゲート絶縁層6が形成され、このゲート絶縁層6と同じ絶縁層6’,6”が基板絶縁層2上の半導体層4を除いた部分に形成されている。さらに半導体層4上にはゲート絶縁層6を挟むようにオーミックコンタクト層5,5’が設けられている。オーミックコンタクト層5,5’はn型不純物をドーピングしたn+層である。
ゲート絶縁層6上にはゲート電極7が設けられている。絶縁層6’上には画素電極8が配線されている。
ゲート絶縁層6及びゲート電極7の周囲に層間絶縁層9が形成され、これと同じ層間絶縁層9’が絶縁層6‘’上に、さらに層間絶縁層9”が絶縁層6’上に形成されている。層間絶縁層9,9’上にソース電極11が形成され、コンタクトホール10によりオーミックコンタクト層5’と接触している。また、層間絶縁層9,9”上にドレイン電極12が形成され、コンタクトホール10’によりオーミックコンタクト層5と接触している。
そして画素電極8、層間絶縁膜9,9’,9”、ソース電極11およびドレイン電極12が絶縁保護膜13で覆われている。
このように構成されたTFTを製造する工程を図2〜図4を用いて順を追って説明する。
先ず、図2(a)に示されるように、ブライトアニール研磨を施したSUS430の導電性金属基板1上に、プラズマCVD法を用いて、基板絶縁層2となる窒化シリコン膜を300nm形成した。
この時の成膜条件は、アンモニアの流量を300sccm、シランの流量を160ml/min(normal)、プラズマCVDのパワーを800Wとし、基板温度を350℃とした。
なお、この条件によって成膜された窒化シリコン膜の応力は5.121×10-5N/cm2であった。
次に、導電性金属基板1の裏面と(基板絶縁層2と反対の面)なる面にプラズマCVD法を用いて、基板絶縁層兼応力制御膜3となる窒化シリコン膜を400nm形成した。
この時の成膜条件は、アンモニアの流量を200ml/min(normal)、シランの流量を160ml/min(normal)、プラズマCVDのパワーを1350Wとし、基板温度を350℃とした。
なお、この条件による成膜された窒化シリコン膜の応力は−5.581×10-5N/cm2であった。この、応力制御膜の膜質、膜厚等の設計方法としては、シミュレーションによるもの、またはガラス基板等の問題の生じにくい基板上に実際のプロセスでTFTを形成して応力を測定する方法が考えられる。基板を平坦面に置いた場合に凸形状にするのであれば、何れの方法においても条件を決めることは可能である。また、設計自体は各膜を成膜温度と膜厚を振った際のデータを取って応力制御膜の条件(膜厚、温度)を決定していく。
この時点において、上記のように導電性金属基板1、基板絶縁層2、基板絶縁層兼応力制御膜3からなる基板を平坦な台の上に乗せたところ、基板周辺に対し基板中央部が高く凸形になっている事が確認できた。なお、簡略化の為、図示はしていない。
これにより、ステージへの静電吸着を行う際に従来のように、周辺が持ち上がって凹形になっている場合と異なり、確実にチャックが行われ、その結果、基板はステージにならい略平坦な状態となる。
次に、半導体層4となるa-Siを200nmの厚さにプラズマCVD法を用いて形成した。この時の成膜条件は、シランの流量を225ml/min(normal)、水素の流量を1000ml/min(normal)、プラズマCVDのパワーを150Wとし、基板温度を350℃とした。
また、オーミックコンタクト層5となるn+を70nmの厚さにプラズマCVD法を用いて形成した。この時の成膜条件は、シランの流量を225ml/min(normal)、水素の流量を1000ml/min(normal)、リン化水素の流量を500ml/min(normal)、プラズマCVDのパワーを200Wとし、基板温度を350℃とした。
その後、a-Si層とn+層の上に既知の方法によりフォトレジストの所望の形状のパターンを形成した(不図示)。そのフォトレジストパターンをマスクとしてRIE(Reactive Ion Etching)によりエッチングを行い、さらに、a-Si層上のn+層の一部を上記方法と同様の方法にて取り除き、図2(b)に示すように、フォトレジスト以外の部分のa-Siまたはn+を完全に除去し、半導体層4及びオーミックコンタクト層5,5’を作製した。この時のエッチングの条件はエッチングガスとしてCF4、O2、エッチング圧力3Paの条件で行った。
その上に、図2(c)に示すように、ゲート絶縁層6、絶縁層6,6’となる窒化シリコン膜16をプラズマCVD法を用いて、200nm形成した。
この時の成膜条件は、アンモニアの流量を200ml/min(normal)、シランの流量を160ml/min(normal)、プラズマCVDのパワーを1000Wとし、基板温度を350℃とした。
その上に、ゲート電極7及び画素電極8となるAlCu15をスパッタ法にて膜厚が200nmとなるように形成した。
この時の成膜条件は、ターゲットに2wt%のCuを含有したAlを用い、Ar流量を50ml/min(normal)、スパッタ室の圧力を0.1Pa、DCパワー密度を7W/cm2、基板温度を100℃とした。
その上に既知の方法にてフォトレジストを塗布した後に所定の形状にパターニングし、ゲート電極7及び画素電極8を形成するときのフォトレジストパターン14、14′を形成した。
次に、図2(d)に示すように、フォトレジストパターン14、14′をマスクとしてRIE法によりゲート電極7及び画素電極8を形成した。この時、AlCu層のRIEにおいては、エッチングガスとしてCl2、BCl3、エッチング圧力3Paの条件で行った。
次に、図3(a)に示すように、既知の方法にてフォトレジストを塗布した後に所定の形状にパターニングしたフォトレジストパターン15、15’をマスクとし、RIE法により窒化シリコン層16をエッチングし、ゲート絶縁層6を形成した。このときの窒化シリコンのRIEにおいては、エッチングガスとしてSF6、O2、エッチング圧力3Paの条件で行った。
そして、図3(b)に示すように、フォトレジストパターン14、14’、15、15’を取り除いた後、層間絶縁層9、9’、9”となる窒化シリコン層17をゲート絶縁層6の成膜時と同様の条件で600nmの厚さに形成した。
次に、図3(c)に示すように、既知の方法にてフォトレジストを塗布した後に所定の形状にパターニングし、RIE法により窒化シリコン層17をパターニングすると共にコンタクトホール10、10′を形成して層間絶縁層9、9’、9”を作製した。ガス種としてはSF6とO2の混合ガスを用い、圧力3Pa、RFパワー1.5kWでレジスト後退法により、コンタクトホール10、10’をテーパー角50°で形成した(図3(c)では簡略化のためにテーパーが描かれていない。)。
図4(a)に示すように、その上に電極となるAlCu膜をスパッタ法により前述のゲート電極7の作製時と同様の成膜条件で膜厚が700nmとなるように形成した。その後、既知の方法で所望の形状にパターニングし、ソース電極11とドレイン電極12を形成した。
更に、図4(b)に示すように、この上に絶縁保護層13として窒化シリコンを、先の層間絶縁膜9の成膜時と同様の条件で、CVD法にて500nmの厚さに形成した。
このように、熱伝導率の低いa−Siを厚く成膜することにより、断熱層として機能させることが出来る。この方法で作製したTFTはON/OFF比=1×106、Vth=1.2V、μ=0.4cm2/V・secという良好な性能であった。
更に、この基板をリア基板とし、これと対向するようフェース基板を配置し、両基板間に電気泳動粒子とこれを分散させる媒質を備えた電気泳動表示装置(EPID)を作製したところ、良好な表示装置を作ることが出来た。
図5は、本実施形態における300行×250列のTFTアクティブマトリクスアレイの一部分の模式図である。
同図において、表示パネル100は、ゲート電極106とソース電極111とがマトリクス状に配置されたゲート電極106及びソース電極111と、ゲート電極106を駆動するゲート線駆動回路125とソース電極111を駆動するソース線駆動回路126とを有している。例えば、ゲート線駆動電圧はオン電圧+20V、オフ電圧−20Vであり、ソース線駆動電圧は0V〜15Vである。なお、符号109はアモルファス半導体層であるTFTを、符号114は画素電極を示している。
本実施形態では基板として光が透過しないSUSを用いているため、反射式の表示装置として構成した。その結果良好な表示状態を得ることが出来た。
なお、本実施形態においては、表示装置用基板の応力コントロールを窒化シリコン膜の、成膜条件とその膜厚を制御する事で行ったが、窒化シリコン膜に限った事ではなく、例えばアモルファスシリコン膜を、応力制御膜として用いても何ら問題はなく、膜の応力制御が可能な膜であれば同様の効果を得ることが可能である。また、応力制御膜の膜厚が一定の条件においても、該応力制御膜の成膜条件を管理する事で基板に対する応力を制御したり、あるいは、応力制御膜の成膜条件を管理し、該応力制御膜の膜質が一定であっても、基板に対する応力を制御する為に、応力制御膜の膜厚を管理する方法をとってもよい。
さらに、本実施形態では、基板としてSUSを用いているが、可撓性があり割れにくい基板であれば如何なる材質の基板にも本発明の思想を適用することができ、例えば、金属のみならず樹脂を用いたフレキシブル基板にも適用可能である。
また、本実施形態では、トップゲート型構造のTFTを用い表示装置を製造したが、この構成に限られず、いわゆる単純マトリクス構成や、TFD構成においても適用することが可能であり、また、TFT構造においても、ボトムゲート型構造においても応力制御膜を用いることで製造する事が可能である。
さらに、本実施形態では、アモルファスシリコンTFTを用いたが、エキシマレーザアニールを施すなどして、多結晶化されたいわゆるポリシリコンTFTに、応力制御膜の条件を変えて用いる事で、液晶表示装置や、EL表示装置として適用しても何ら問題はない。
本発明の一実施形態に係るTFT基板の構造を示す模式図である。 本発明の一実施形態に係るTFT基板の作製方法を示す模式図である。 本発明の一実施形態に係るTFT基板の作製方法を示す模式図である。 本発明の一実施形態に係るTFT基板の作製方法を示す模式図である。 本発明の一実施形態に掛かるTFTバックプレーンを模式的に示す図である。
符号の説明
1 導電性金属基板
2 基板絶縁層
3 基板絶縁層兼応力制御膜
4 半導体層
5、5′ オーミックコンタクト層
6 ゲート絶縁層
6’、6” 絶縁層
7 ゲート電極
8 画素電極
9、9’、9” 層間絶縁層
10、10’ コンタクトホール
11 ソース電極
12 ドレイン電極
13 絶縁保護膜
14、14’、15、15’ フォトレジストパターン
15 AlCu
16、17 窒化シリコン層
100 表示パネル
106 ゲート電極
109 TFT
111 ソース電極
114 画素電極
125 ゲート線駆動回路
126 ソース線駆動回路

Claims (7)

  1. 画素毎に配置された能動素子と、該能動素子の各々に対応して設けられた配線とを、基板の一面に備える表示装置用基板において、
    前記基板の前記能動素子と前記配線が形成された面とは反対側の面に、前記基板にかかる応力を制御する応力制御膜が設けられていることを特徴とする表示装置用基板。
  2. 前記基板が導電性をもつ材料である請求項1に記載の表示装置用基板。
  3. 前記基板の形状が前記応力制御膜によって凸形または平坦な状態となるように応力制御された請求項1に記載の表示装置用基板。
  4. 前記応力制御膜は窒化シリコン膜である請求項1または2に記載の表示装置用基板。
  5. 前記応力制御膜の膜厚が一定であり、前記応力制御膜の膜質によって前記基板にかかる応力が制御されている請求項1または3に記載の表示装置用基板。
  6. 前記応力制御膜の膜質が一定であり、前記応力制御膜の膜厚によって前記基板にかかる応力が制御されている請求項1または3に記載の表示装置用基板。
  7. 請求項1から6のいずれかに記載の表示装置用基板を用いた表示装置であって、
    前記表示装置用基板と対向配置された基板を有し、該基板と前記表示装置用基板の間に電気泳動粒子と該電気泳動粒子を分散させている媒質とを備えている表示装置。
JP2004109097A 2004-04-01 2004-04-01 表示装置用基板及びこれを用いた表示装置 Pending JP2005292574A (ja)

Priority Applications (1)

Application Number Priority Date Filing Date Title
JP2004109097A JP2005292574A (ja) 2004-04-01 2004-04-01 表示装置用基板及びこれを用いた表示装置

Applications Claiming Priority (1)

Application Number Priority Date Filing Date Title
JP2004109097A JP2005292574A (ja) 2004-04-01 2004-04-01 表示装置用基板及びこれを用いた表示装置

Publications (1)

Publication Number Publication Date
JP2005292574A true JP2005292574A (ja) 2005-10-20

Family

ID=35325542

Family Applications (1)

Application Number Title Priority Date Filing Date
JP2004109097A Pending JP2005292574A (ja) 2004-04-01 2004-04-01 表示装置用基板及びこれを用いた表示装置

Country Status (1)

Country Link
JP (1) JP2005292574A (ja)

Cited By (5)

* Cited by examiner, † Cited by third party
Publication number Priority date Publication date Assignee Title
EP1659621A1 (en) * 2004-11-20 2006-05-24 Samsung SDI Co., Ltd. Substrate including a deformation preventing layer
JP2015062079A (ja) * 2008-07-10 2015-04-02 株式会社半導体エネルギー研究所 電子ペーパー
CN107611012A (zh) * 2017-08-31 2018-01-19 长江存储科技有限责任公司 一种预制背面薄膜的应力控制方法及结构
CN108231730A (zh) * 2018-01-02 2018-06-29 京东方科技集团股份有限公司 一种显示面板、电子设备及显示面板的制备方法
CN108490698A (zh) * 2018-06-11 2018-09-04 深圳市德安里科技有限公司 一种液晶手写板装置

Cited By (6)

* Cited by examiner, † Cited by third party
Publication number Priority date Publication date Assignee Title
EP1659621A1 (en) * 2004-11-20 2006-05-24 Samsung SDI Co., Ltd. Substrate including a deformation preventing layer
US7816666B2 (en) 2004-11-20 2010-10-19 Samsung Mobile Display Co., Ltd. Preventing substrate deformation
JP2015062079A (ja) * 2008-07-10 2015-04-02 株式会社半導体エネルギー研究所 電子ペーパー
CN107611012A (zh) * 2017-08-31 2018-01-19 长江存储科技有限责任公司 一种预制背面薄膜的应力控制方法及结构
CN108231730A (zh) * 2018-01-02 2018-06-29 京东方科技集团股份有限公司 一种显示面板、电子设备及显示面板的制备方法
CN108490698A (zh) * 2018-06-11 2018-09-04 深圳市德安里科技有限公司 一种液晶手写板装置

Similar Documents

Publication Publication Date Title
KR100793628B1 (ko) 반도체 디바이스 및 이를 제작하는 방법
JP4718999B2 (ja) 薄膜トランジスタ基板の製造方法、および、液晶表示装置の薄膜トランジスタ製造方法
US8158982B2 (en) Polysilicon thin film transistor device with gate electrode thinner than gate line
JP2010135384A (ja) 薄膜トランジスタアレイ基板、その製造方法及び液晶表示装置
US20080149931A1 (en) Display device and manufacturing method thereof
KR100731738B1 (ko) 박막트랜지스터, 평판표시장치 및 그 제조방법
US7507612B2 (en) Flat panel display and fabrication method thereof
CN101414564B (zh) 低温多晶硅薄膜晶体管的制造方法
JP2005292574A (ja) 表示装置用基板及びこれを用いた表示装置
JP2008042218A (ja) 薄膜トランジスタパネルの製造方法
US7177003B2 (en) LCD with gate and data lines formed of copper and an aluminum under-layer
JP2007027710A (ja) コンタクトホール形成方法及びこれ用いた薄膜トランジスタ基板の製造方法
JP2009289890A (ja) 半導体装置の製造方法及び半導体装置
JP2006505121A (ja) 薄膜トランジスタ及び薄膜トランジスタの製造方法
JP2007180511A (ja) 薄膜トランジスタ基板、その製造方法、及びこれを有する表示パネル
KR100425159B1 (ko) 폴리실리콘 박막트랜지스터의 제조방법 및 이를 적용한액정표시소자
JPH11265000A (ja) 液晶表示装置およびその製造方法
KR101022569B1 (ko) 박막트랜지스터 및 그 제조방법
JP4052804B2 (ja) 電極基板および電極基板の作製方法
JPH0677486A (ja) 薄膜トランジスタ素子
JP4780924B2 (ja) マトリクスアレイ基板の製造方法
JP2008021722A (ja) Tftの製造方法及びその製造装置
KR102135911B1 (ko) 박막트랜지스터 어레이 기판의 제조방법
JP4155039B2 (ja) 薄膜トランジスタ、電気光学装置、電子機器
JP2010147303A (ja) 薄膜トランジスタ及びその製造方法、並びに薄膜トランジスタアレイ基板、及び表示装置