JP2005292470A - 電子写真感光体およびそれを備える画像形成装置 - Google Patents
電子写真感光体およびそれを備える画像形成装置 Download PDFInfo
- Publication number
- JP2005292470A JP2005292470A JP2004107508A JP2004107508A JP2005292470A JP 2005292470 A JP2005292470 A JP 2005292470A JP 2004107508 A JP2004107508 A JP 2004107508A JP 2004107508 A JP2004107508 A JP 2004107508A JP 2005292470 A JP2005292470 A JP 2005292470A
- Authority
- JP
- Japan
- Prior art keywords
- photosensitive member
- electrophotographic photosensitive
- image
- layer
- free energy
- Prior art date
- Legal status (The legal status is an assumption and is not a legal conclusion. Google has not performed a legal analysis and makes no representation as to the accuracy of the status listed.)
- Pending
Links
Images
Landscapes
- Photoreceptors In Electrophotography (AREA)
- Dry Development In Electrophotography (AREA)
Abstract
【課題】 表面自由エネルギーを規定することによって、長期間の使用においても、フィルミング等を生じにくく、形成される画像に画質低下を生じることのないクリーニング性の優れた電子写真感光体を提供する。
【解決手段】 接触帯電方式および非磁性一成分現像方式が用いられる画像形成装置に備えられる電子写真感光体1は、その表面の表面自由エネルギー(γ)が、20〜33mN/mに設定される。γが好適範囲に設定されることによって、感光体1表面に対するトナーの過剰付着および紙粉などの異物付着が抑制され、またトナーおよび紙粉の離脱を容易にすることができるので、感光体1のクリーニング性が向上される。常に清浄な表面を有する感光体1によって画像形成されるので、長期間安定して傷および画質低下を生じることがない。
【選択図】 図1
Description
本発明は、たとえば複写機などの電子写真方式の画像形成装置に用いられる電子写真感光体に関する。
電子写真方式の画像形成装置は、複写機だけでなく、近年需要の伸びの著しいコンピュータ等の出力手段であるプリンタなどにも広く利用されるに至っている。電子写真方式を用いる画像形成装置の複写機、プリンタ等における電子写真プロセスでは、通常、静電潜像担持体である電子写真感光体表面を帯電装置にて帯電させ、該帯電域を画像露光して静電潜像を形成し、該静電潜像を現像して可視像化し、該可視像を転写材へ転写する。
電子写真感光体を帯電させる帯電装置としては、コロトロン、スコロトロンチャージャなどのコロナ帯電装置に代表される非接触式帯電装置のほか、固定型、回転型等のブラシ帯電装置または帯電ローラによる帯電装置のように帯電部材を直接電子写真感光体の表面に接触させて帯電を行う接触式帯電装置が知られている。これらの帯電装置のうち、接触式帯電装置は、電子写真感光体表面を劣化させたり人体に悪影響を及ぼすオゾンの発生が、コロナ帯電装置に比べてきわめて少ないことから注目されている。
しかしながら、接触式帯電装置は、電子写真感光体と直接接触して帯電させるので、電子写真感光体の表面にトナー、紙粉等の付着物が存在すると、該付着物が帯電性能に悪影響を及ぼし画像不良が発生する。
また非磁性1成分現像方式は、簡素な構造をもち、キャリア材を含む磁性2成分系に比べてメンテナンス性に優れることから、パーソナルクラスのレーザビームプリンタ(略称LBP)に搭載され、現在では本格的なオフィス用途の中速機、カラー用の現像システムとして発展してきている。
このような広汎な製品への応用拡大に伴って、非磁性1成分現像方式の現像特性についてさまざまな検討が行われ、非磁性1成分現像方式のように直接電子写真感光体と現像ローラとが当接されるようなケースでは、さまざまな問題が生じやすいことも知られている。たとえば、現像剤のトナーが直接電子写真感光体に擦付けられるので、トナーが電子写真感光体の表面に付着したまま取れなくなるいわゆる融着が発生したり、トナーの外添剤または紙粉等の異物が付着したり、フィルミングが生じたりしやすいという問題がある。
このようなトナーの融着、異物の付着、フィルミングは、形成される画像の品質に悪影響を及ぼすので、電子写真方式の画像形成装置では、通常クリーニング装置によって、電子写真感光体の表面からトナーおよび異物を除去している。電子写真感光体のクリーニングとは、電子写真感光体表面と、付着しているトナー、紙粉などとの間の付着力を超える力を、トナー、紙粉などに作用させて電子写真感光体の表面から付着物を除去することである。
トナーまたは紙粉などが電子写真感光体の表面に付着する現象については、トナーまたは紙粉などと電子写真感光体との表面物性による相互付着力が、作用因子として考えられる。したがって、電子写真感光体のクリーニング性を向上し、形成される画像品質を高めるためには、電子写真感光体自体の表面物性に着目したトナー、紙粉等の異物付着性の制御が必要不可欠となる。
トナーまたは紙粉などと電子写真感光体との相互付着力に大きく影響する表面物性に濡れ性があり、電子写真感光体表面の濡れ性が低いほどクリーニングし易いということができる。電子写真感光体表面の濡れ性すなわち付着力は、表面自由エネルギー(表面張力と同義)を指標として表すことができる。
表面自由エネルギー(γ)とは、物質を構成する分子間に作用する力である分子間力が最表面において起こす現象である。
電子写真感光体の表面にトナーが固着、融着して転写材に転写されずに残留したトナーが、帯電からクリーニングに至る工程を繰返し経ているうち、電子写真感光体の表面に被膜状に広がる現象は、濡れ性のうち「付着濡れ」に相当する。図4は、付着濡れの状態を例示する側面図である。図4に示す付着濡れにおいて、濡れ性と表面自由エネルギー(γ)との関係は、Youngの式(1)によって表される。
γ1=γ2・cosθ+γ12 …(1)
ここで、γ1:物質1表面の表面自由エネルギー
γ2:物質2表面の表面自由エネルギー
γ12:物質1と物質2との界面自由エネルギー
θ:物質1に対する物質2の接触角
γ1=γ2・cosθ+γ12 …(1)
ここで、γ1:物質1表面の表面自由エネルギー
γ2:物質2表面の表面自由エネルギー
γ12:物質1と物質2との界面自由エネルギー
θ:物質1に対する物質2の接触角
式(1)より、物質1に対する物質2の濡れ性の低減、すなわちθを大きくして濡れにくくすることは、電子写真感光体と異物との濡れ仕事に関連する界面自由エネルギーγ12を大きくし、各表面自由エネルギーγ1およびγ2を小さくすることによって達成される。
式(1)において、電子写真感光体の表面に対するトナーまたは紙粉等の付着を考える場合、物質1を電子写真感光体、物質2をトナーまたは紙粉等とすればよい。したがって、実際の電子写真感光体をクリーニングする場合、電子写真感光体の表面自由エネルギーγ1を制御することにより、式(1)右辺の濡れ性すなわち電子写真感光体に対するトナーまたは紙粉等の付着状態を制御することができる。
そこで電子写真感光体の表面状態を規定する従来技術には、純水との接触角を用いるものがある(たとえば、特許文献1参照)。しかしながら、固体と液体との濡れに関しては、前述の図4に示すようにその接触角θを測定することができるけれども、電子写真感光体とトナーまたは紙粉などとのように、固体と固体との場合には、接触角θを測定することができない。したがって前述の従来技術は、電子写真感光体表面と純水との間における濡れ性については適用できるけれども、現像剤を構成するトナーまたは紙粉などの固体に対する濡れ性およびクリーニング性との関係については充分に説明することができない。
電子写真感光体とトナーなどとのように、固体同士の濡れ性については、非極性な分子間力について述べたForkes理論を、さらに極性および水素結合性の分子間力による成分まで拡張することができるとされている(非特許文献1参照)。この拡張Forkes理論によれば、各物質の表面自由エネルギーは2〜3成分で求められる。電子写真感光体表面に対するトナーなどの付着に該当する付着濡れの場合における表面自由エネルギーについては、3成分で求めることができる。
以下固体物質間における表面自由エネルギーについて説明する。拡張Forkes理論では、式(2)に示す表面自由エネルギーの加算則が成立つものと仮定する。
γ=γd+γp+γh …(2)
ここで、γd:双極子成分(極性による濡れ)
γp:分散成分(非極性の濡れ)
γh:水素結合成分(水素結合による濡れ)
γ=γd+γp+γh …(2)
ここで、γd:双極子成分(極性による濡れ)
γp:分散成分(非極性の濡れ)
γh:水素結合成分(水素結合による濡れ)
式(2)の加算則をForkes理論に適用すると、ともに固体である物質1と物質2との間の界面自由エネルギーγ12は、式(3)のように求められる。
γ12=γ1+γ2−{2√(γ1 d・γ2 d)+2√(γ1 p・γ2 p)
+2√(γ1 h・γ2 h)} …(3)
ここで、γ1:物質1の表面自由エネルギー
γ2:物質2の表面自由エネルギー
γ1 d,γ2 d:物質1,物質2の双極子成分
γ1 p,γ2 p:物質1,物質2の分散成分
γ1 h,γ2 h:物質1,物質2の水素結合成分
γ12=γ1+γ2−{2√(γ1 d・γ2 d)+2√(γ1 p・γ2 p)
+2√(γ1 h・γ2 h)} …(3)
ここで、γ1:物質1の表面自由エネルギー
γ2:物質2の表面自由エネルギー
γ1 d,γ2 d:物質1,物質2の双極子成分
γ1 p,γ2 p:物質1,物質2の分散成分
γ1 h,γ2 h:物質1,物質2の水素結合成分
被測定対象の固体物質における前述の式(2)に示す各成分の表面自由エネルギー(γd,γp,γh)は、各成分の表面自由エネルギーが既知である試薬を使用し、その試薬との付着性を測定することによって算出できる。したがって、物質1および物質2のそれぞれについて、各成分の表面自由エネルギーを求め、さらに各成分の表面自由エネルギーから式(3)によって物質1と物質2との界面自由エネルギーを求めることができる。
このような固体と固体との間の界面自由エネルギーの考え方に基づいて、光導電層がアモルファスSi系で構成される電子写真感光体の表面自由エネルギー、トナー平均粒子径、電子写真感光体の表面粗さ、ブレード硬度等を総合的に改良することによって、クリーニング性を向上し、耐久性に優れた画像を形成する方法が提案されている(特許文献2、特許文献3、特許文献4、特許文献5参照)。
さらに、他の従来技術では、たとえば現像スリーブと電子写真感光体表面との距離を一定に保つためのコロを設け、電子写真感光体の表面自由エネルギーと、コロ表面の表面自由エネルギーと、トナーの表面自由エネルギーとの関係を規定するとともに、コロ表面を清掃する手段を備えることによって、電子写真感光体の洗浄メンテナンスを軽減し、長期にわたり安定した画像形成を可能にすることが提案されている(特許文献6参照)。
しかしながら、前述の従来技術は、いずれも電子写真感光体の光導電層がアモルファスSi系の場合に有効性を発揮するものであり、有機材料系の光導電層を備える電子写真感光体に対する設計基準としては充分な有効性を発揮し得ないという課題がある。
一方、光導電層が有機材料系で構成される有機電子写真感光体においては、電子写真感光体の表面自由エネルギーを指標として電子写真感光体表面とトナーなどとの濡れ性を制御することが提案されている(特許文献7参照)。特許文献7では、電子写真感光体の表面自由エネルギーを指標とした感光体表面の特性制御を実施しており、表面自由エネルギーを35乃至65(mN/m)の範囲に規定することによって、電子写真感光体のクリーニング性を向上し、長寿命化の実現されることを開示する。
しかしながら、本発明者らの調査によれば、特許文献7に開示される範囲の表面自由エネルギーを有する電子写感光体を用いて、たとえば記録紙に対して実際に画像形成する実写性能試験を行ったところ、電子写真感光体の表面において、紙粉などの異物との接触によると思われる傷の発生が確認された。またその傷に起因するクリーニング不良によって、記録紙に転写した画像上の黒すじが発生することを確認した。
さらに、特許文献7では、電子写真感光体の耐久にともなう表面自由エネルギーの変化量(Δγ)を規定しているけれども、電子写真感光体の初期特性たとえば表面自由エネルギーを規定することによっては変化量Δγを定められないこと、また画像形成する際の環境や転写材の材質などの諸条件に依存して変動量Δγが変化することを考慮すると、実際の電子写真感光体の設計において、変動量Δγは不確定な要素を多分に含み設計基準として適さないという問題がある。
本発明の目的は、接触帯電方式および非磁性一成分現像方式が用いられる画像形成装置に備えられる電子写真感光体において、表面自由エネルギーを規定することによって、長期間の使用においても、フィルミング等を生じにくく、形成される画像に画質低下を生じることのないクリーニング性に優れるを電子写真感光体を提供することである。
本発明は、導電性支持体と導電性支持体上に設けられる光導電層とを備え、接触帯電方式で帯電された光導電層が画像情報に応じた光で露光されることによって静電潜像が形成され、静電潜像が非磁性1成分現像剤によって可視像化され、可視像化された画像が転写材に転写され、画像転写後の該表面から付着物が除去される電子写真感光体において、
該表面の表面自由エネルギー(γ)が、20mN/m以上、33mN/m以下、好ましくは28mN/m以上、33mN/m以下であることを特徴とする電子写真感光体である。
該表面の表面自由エネルギー(γ)が、20mN/m以上、33mN/m以下、好ましくは28mN/m以上、33mN/m以下であることを特徴とする電子写真感光体である。
また本発明は、光導電層が、有機材料を含むことを特徴とする。
また本発明は、光導電層は、電荷発生物質を含む電荷発生層と、電荷輸送物質を含む電荷輸送層とが積層されて構成されることを特徴とする。
また本発明は、光導電層は、電荷発生物質を含む電荷発生層と、電荷輸送物質を含む電荷輸送層とが積層されて構成されることを特徴とする。
本発明は、前記いずれかに記載の電子写真感光体を備えることを特徴とする画像形成装置である。
本発明によれば、接触帯電方式で帯電される電子写真感光体の表面自由エネルギー(以後、γと略記することがある)を好適範囲に規定することによって、長期間画像形成に使用した場合においても、優れたクリーニング性が発現されるので、形成される画像に画質低下を生じることがない。また電子写真感光体の帯電に接触帯電方式を用いるので、オゾンが発生せず、フィルタ等を用いる必要がない。このことによって、電子写真感光体を備える装置の小型化およびコストダウンを実現し、プリントコストの低減を達成することができる。
また本発明によれば、電子写真感光体に備わる光導電層が、有機材料を含んで形成される。このことによって、電子写真感光体の材料設計が容易となり、かつ低コスト、高効率生産を実現することができる。
また本発明によれば、光導電層が、電荷発生層と電荷輸送層との積層構造をとることによって、各層を構成する材料およびその組合せの自由度が増し、電子写真感光体表面の表面自由エネルギー値を所望の範囲に設定することが容易になる。
本発明によれば、長期間の使用にわたって画質低下を生じることなく画像形成することができ、また小型化およびプリントコスト低減の実現可能な画像形成装置が提供される。
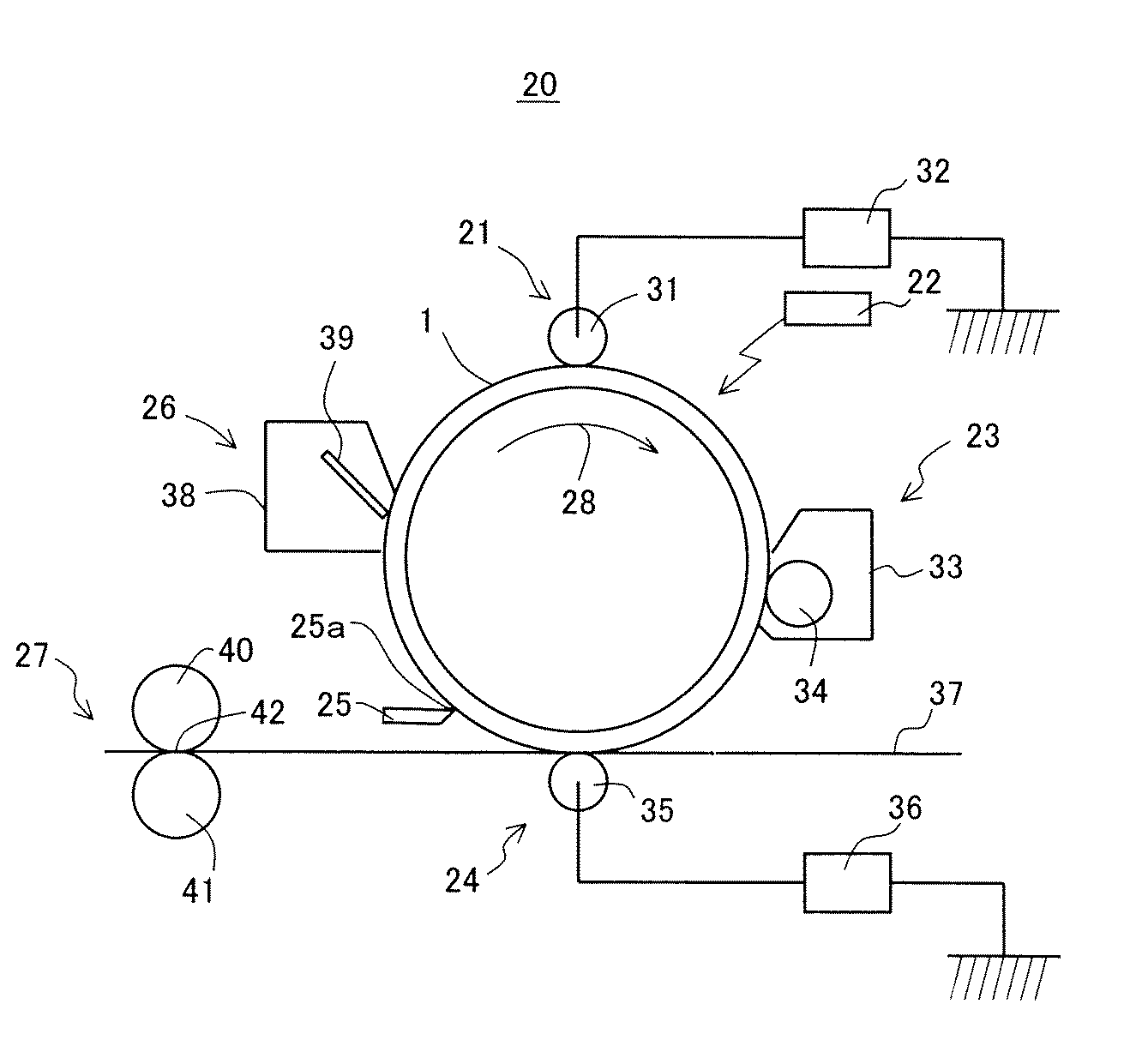
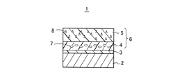
図1は、本発明の実施の一形態である電子写真感光体1の構成を簡略化して示す部分断面図であり、図2は図1に示す電子写真感光体1を備える本発明の実施の他の形態である画像形成装置20の構成を簡略化して示す配置側面図である。
電子写真感光体1(以後、感光体と略称する)は、導電性素材からなる導電性支持体2と、導電性支持体2上に積層される下引層3と、下引層3上に積層される層であって電荷発生物質7を含む電荷発生層4と、電荷発生層4の上にさらに積層される層であって電荷輸送物質8を含む電荷輸送層5とを含む。電荷発生層4と電荷輸送層5とは、光導電層5(感光層とも呼ぶ)を構成する。
導電性支持体2は、円筒形状を有し、(a)アルミニウム、ステンレス鋼、銅、ニッケルなどの金属材料、(b)ポリエステルフィルム、フェノール樹脂パイプ、紙管などの絶縁性物質の表面にアルミニウム、銅、パラジウム、酸化錫、酸化インジウムなどの導電性層を設けたものが好適に用いられ、その体積抵抗が1010Ω・cm以下の導電性を有するものが好ましい。導電性支持体2には、前述の体積抵抗を調整する目的で表面に酸化処理が施されてもよい。導電性支持体2は、感光体1の電極としての役割を果たすとともに他の各層3,4,5の支持部材としても機能する。なお導電性支持体1の形状は、円筒形に限定されることなく、板状、フイルム状およびベルト状のいずれであってもよい。
下引層3は、たとえば、ポリアミド、ポリウレタン、セルロース、ニトロセルロース、ポリビニルアルコール、ポリビニルピロリドン、ポリアクリルアミド、アルミニウム陽極酸化被膜、ゼラチン、でんぷん、カゼイン、N−メトキシメチル化ナイロンなどによって形成される。また酸化チタン、酸化錫、酸化アルミニウムなどの粒子を下引層3中に分散させてもよい。本実施の形態では、下引層3は、N−メトキシメチル化ナイロンに酸化チタンを分散させたもので形成され、その膜厚は、約0.1〜10μmに形成される。この下引層3は、導電性支持体1と光導電層6との接着層としての役割を果たすとともに、導電性支持体1から電荷が光導電層6へ流れ込むのを抑制するバリア層としても機能する。このように下引層3は感光体1の帯電特性を維持するように作用するので、感光体1の寿命を延ばすことができる。
電荷発生層4は、公知の電荷発生物質7を含んで構成することができる。電荷発生物質7には、可視光を吸収してフリー電荷を発生するものであれば、無機顔料、有機顔料および有機染料のいずれをも用いることができる。無機顔料としては、セレンおよびその合金、ヒ素−セレン、硫化カドミウム、酸化亜鉛、アモルファスシリコン、その他の無機光導電体が挙げられる。有機顔料としては、フタロシアニン系化合物、アゾ系化合物、キナクリドン系化合物、多環キノン系化合物、ペリレン系化合物などが挙げられる。有機染料としては、チアピリリウム塩、スクアリリウム塩などが挙げられる。前述の電荷発生物質の中でもフタロシアニン系化合物が好適に用いられ、特にチタニルフタロシアニン化合物を用いることが最適であり、ブタジエン系化合物と組み合せて用いることによって、特に良好な感度特性、帯電特性および再現性が得られる。
前述の列挙した顔料および染料の他に、電荷発生層4には、化学増感剤または光学増感剤を添加してもよい。化学増感剤として、電子受容性物質、たとえば、テトラシアノエチレン、7,7,8,8−テトラシアノキノジメタンなどのシアノ化合物、アントラキノン、p−ベンゾキノンなどのキノン類、2,4,7−トリニトロフルオレノン、2,4,5,7−テトラニトロフルオレノンなどのニトロ化合物が挙げられる。光学増感剤として、キサンテン系色素、チアジン色素、トリフェニルメタン系色素などの色素が挙げられる。
電荷発生層4は、前述の電荷発生物質をバインダ樹脂とともに、適当な溶媒中に分散させ、下引層3上に積層し、乾燥または硬化させて成膜する。バインダ樹脂としては、具体的に、ポリアリレート、ポリビニルブチラール、ポリカーボネート、ポリエステル、ポリスチレン、ポリ塩化ビニル、フェノキシ樹脂、エポキシ樹脂、シリコーン、ポリアクリレートなどが挙げられる。溶媒としては、イソプロピルアルコール、シクロヘキサノン、シクロヘキサン、トルエン、キシレン、アセトン、メチルエチルケトン、テトラヒドロフラン、ジオキサン、ジオキソラン、エチルセロソルブ、酢酸エチル、酢酸メチル、ジクロロメタン、ジクロロエタン、モノクロルベンゼン、エチレングリコールジメチルエーテルなどが挙げられる。
なお溶媒は、前述のものに限定されることなく、アルコール系、ケトン系、アミド系、エステル系、エーテル系、炭化水素系、塩素化炭化水素系、芳香族系のうちから選択されるいずれかの溶媒系を、単独または混合して用いてもよい。ただし、電荷発生物質の粉砕およびミリング時の結晶転移に基づく感度低下、およびポットライフによる特性低下を考慮した場合、無機および有機顔料において結晶転移を起こしにくいシクロヘキサノン、1,2−ジメトキシエタン、メチルエチルケトン、テトラヒドロキノンのいずれかを用いることが好ましい。
電荷発生層4の形成には、真空蒸着法、スパッタリング法、CVD法などの気相堆積法または塗布方法などを適用することができる。塗布方法を用いる場合、電荷発生物質をボールミル、サンドグラインダ、ペイントシェーカー、超音波分散機などによって粉砕して溶剤に分散し、必要に応じてバインダ樹脂を加えた塗布液を、公知の塗布法によって下引層3上に塗布する。下引層3の形成される導電性支持体2が円筒状の場合、塗布法にはスプレイ法、垂直型リング法、浸漬塗布法、ロールコート法などを用いることができる。電荷発生層4の膜厚は、約0.05〜5μmであることが好ましく、より好ましくは約0.1〜1μmである。
なお下引層3の形成されている導電性支持体2の形状がシートの場合、塗布法にはベーカアプリケータ、バーコータ、キャスティング、スピンコートなどを用いることができる。
電荷輸送層5は、公知の電荷輸送物質8と結着樹脂とを含んで構成することができる。電荷発生層4に含まれる電荷発生物質7で発生した電荷を受け入れ、これを輸送する能力を有するものであればよい。電荷輸送物質8としては、たとえばポリ−N−ビニルカルバゾールおよびその誘導体、ポリ−g−カルバゾリルエチルグルタメートおよびその誘導体、ポリビニルピレン、ポリビニルフェナントレン、オキサゾール誘導体、オキサジアゾール誘導体、イミダゾール誘導体、9−(p−ジエチルアミノスチリル)アントラセン、1,1−ビス(4−ジベンジルアミノフェニル)プロパン、スチリルアントラセン、スチリルピラゾリン、ピラゾリン誘導体、フェニルヒドラゾン類、ヒドラゾン誘導体、トリフェニルアミン系化合物、テトラフェニルジアミン系化合物、スチルベン系化合物、3−メチル−2−ベンゾチアゾリン環を有するアジン化合物等の電子供与性物質が挙げられる。
電荷輸送層5を構成する結着樹脂としては、電荷輸送物質8と相溶性を有するものであればよく、たとえば、ポリカーボネートおよび共重合ポリカーボネート、ポリアリレート、ポリビニルブチラール、ポリアミド、ポリエステル、エポキシ樹脂、ポリウレタン、ポリケトン、ポリビニルケトン、ポリスチレン、ポリアクリルアミド、フェノール樹脂、フェノキシ樹脂およびポリスルホン樹脂、それらの共重合樹脂などが挙げられる。これらの樹脂を単独または2種以上混合して用いてもよい。前述の結着樹脂の中でもポリスチレン、ポリカーボネートおよび共重合ポリカーボネート、ポリアリレート、ポリエステルなどの樹脂は、1013Ω以上の体積抵抗率を有し、成膜性および電位特性などにも優れている。
またこれらの材料を溶解させる溶剤には、メタノールまたはエタノールなどのアルコール類、アセトン、メチルエチルケトンまたはシクロヘキサノンなどのケトン類、エチルエーテル、テトラヒドロフラン、ジオキサン、ジオキソランなどのエーテル類、クロロホルム、ジクロロメタン、ジクロロエタンなどの脂肪族ハロゲン化炭化水素、ベンゼン、クロロベンゼン、トルエンなどの芳香族類などを用いることができる。
電荷輸送層5を形成するための電荷輸送層用塗布液は、結着樹脂溶液中へ電荷輸送物質8を溶解して調製される。電荷輸送層5に占める電荷輸送物質8の割合は、30〜80重量%の範囲が好ましい。電荷発生層4上への電荷輸送層5の形成は、前述の下引層3上に電荷発生層4を形成したのと同様にして行われる。電荷輸送層5の膜厚は、10〜50μmが好ましく、より好ましくは15〜40μmである。また、電荷輸送層5には、1種以上の電子受容性物質および/または色素を含有させることによって、感度の向上を図り繰返し使用時の残留電位の上昇および疲労を抑えるようにしてもよい。
電子受容性物質としては、たとえば無水コハク酸、無水マレイン酸、無水フタル酸、4−クロルナフタル酸無水物などの酸無水物、テトラシアノエチレン、テレフタルマロンジニトリルなどのシアノ化合物、4−ニトロベンズアルデヒドなどのアルデヒド類、アントラキノン、1−ニトロアントラキノンなどのアントラキノン類、2,4,7−トリニトロフルオレノン、2,4,5,7−テトラニトロフルオレノンなどの多環または複素環ニトロ化合物が挙げられ、これらを化学増感剤として用いることができる。
色素としては、たとえば、キサンテン系色素、チアジン色素、トリフェニルメタン色素、キノリン系顔料、銅フタロシアニンなどの有機光導電性化合物が挙げられ、これらを光学増感剤として用いることができる。
さらに、電荷輸送層5には、公知の可塑剤を含有させることによって、成形性、可撓性および機械的強度を向上させるようにしてもよい。可塑剤としては、二塩基酸エステル、脂肪酸エステル、リン酸エステル、フタル酸エステル、塩素化パラフィン、エポキシ型可塑剤などが挙げられる。
また、電荷発生層4と電荷輸送層5とで構成される光導電層6には、必要に応じてポリシロキサンなどのゆず肌防止のためのレベリング剤、耐久性向上のためフェノール系化合物、ハイドロキノン系化合物、トコフェロール系化合物、アミン系化合物などの酸化防止剤、紫外線吸収剤などを含有してもよい。
上記のように構成される感光体1の表面、すなわち本実施の形態では光導電層6表面の表面自由エネルギーは、拡張Forkes理論によって算出される値が、20mN/m以上、33mN/m以下、好ましくは28mN/m以上、33mN/m以下になるように制御設定される。
表面自由エネルギーが33mN/mを超えると、トナー、紙粉などに対する感光体表面の付着力が増大するのでクリーニング性が悪化しフィルミングに至る。表面自由エネルギーが20mN/m未満になると、トナーに対する感光体表面の付着力が低下するため、機内へのトナー飛散により画像かぶりが発生する。したがって、表面自由エネルギーは、20〜33mN/mが好適である。
感光体1表面の表面自由エネルギーの前述範囲への制御設定は、主に電荷輸送層5に用いる電荷輸送物質およびバインダ樹脂の選択、それらの配合比率の選択、また電荷輸送層用塗布液を塗布後の乾燥温度等条件の選択などによって行われる。また、本実施の形態の構成に限定されることなく、電荷輸送層5の上に表面保護層を設け、表面保護層の組成を調整することによっても、感光体1の表面自由エネルギーを制御設定することが可能である。
このようにして制御設定される感光体1表面の表面自由エネルギーは、表面自由エネルギーの双極子成分、分散成分および水素結合成分が既知である試薬を使用し、その試薬との付着性を測定することによって求められる。具体的には、試薬に純水、ヨウ化メチレン、α−ブロモナフタレンを使用し、接触角計CA−X(商品名;協和界面株式会社製)を用いて、感光体1表面に対する接触角を測定し、測定結果に基づき表面自由エネルギー解析ソフトEG−11(商品名;協和界面株式会社製)を用いて各成分の表面自由エネルギーを算出することができる。なお試薬は、前述の純水、ヨウ化メチレン、α−ブロモナフタレンに限定されるものではなく、双極子成分、分散成分、水素結合成分が適宜な組合せの試薬を用いてもよい。また測定方法も、前述の方法に限定されるものではなく、たとえばウィルヘルミ法(つり板法)またはドゥ・ヌイ法などが用いられてもよい。
以下感光体1における静電潜像形成動作について簡単に説明する。感光体1に形成される光導電層6は、光導電層6の表面に直接接触する接触式帯電器などでたとえば負に一様に帯電され、帯電された状態で電荷発生層4に吸収波長を有する光が照射されると、電荷発生層4中に電子および正孔の電荷が発生する。正孔は、電荷輸送層5に含まれる電荷輸送物質8によって感光体1表面に移動されて表面の負電荷を中和し、電荷発生層4中の電子は、正電荷が誘起された導電性支持体2の側に移動し、正電荷を中和する。このように、光導電層6には、露光された部位の帯電量と露光されなかった部位の帯電量とに差異が生じて静電潜像が形成される。
次に図2を参照し、前述の感光体1を備える画像形成装置20について説明する。画像形成装置20は、感光体1と、帯電装置21と、露光装置22と、現像装置23と、転写装置24と、記録紙剥離装置25と、クリーニング装置26と、定着装置27とを含んで構成される。帯電装置21、露光装置22、現像装置23、転写装置24、記録紙剥離装置25およびクリーニング装置26は、感光体1の外周に沿って矢符28で示す感光体1の回転方向上流側から下流側に向ってこの順序で設けられる。
帯電装置21は、感光体1に当接し感光体1の軸線方向と平行に軸線を有するように設けられる帯電ローラ31と、帯電ローラ31に電圧を印加する電圧印加手段32とを含んで構成される。帯電ローラ31は、たとえば導電性軸体の外周に半導電性弾性層が形成されたローラであり、感光体1に当接して設けられるので、感光体1が矢符28方向に回転するのに従動して回転する。電圧印加手段32によって帯電ローラ31に印加される電圧は、帯電ローラ31が感光体1に当接するので、帯電ローラ31を介して感光体1に印加され、感光体1をほぼ一定の電位に帯電させる。
露光装置22は、たとえば発光ダイオードを備え、感光体1の表面を光走査することのできる光走査ユニットである。露光装置22は、たとえば画像読取り装置またはパーソナルコンピュータから出力されて画像処理装置で画像処理され、さらに画像処理装置から出力される画像情報に応じて、光信号を出力して帯電された感光体1の表面を露光し、感光体1の光導電層6に静電潜像を形成する。
現像装置23は、非磁性1成分現像剤を収容する容器である現像剤収容部33と、現像剤収容部33に回転自在に支持される現像ローラ34とを含む。現像ローラ34は、感光体1の軸線方向と平行に軸線を有するように設けられ、感光体1の表面に当接するように配置される。現像ローラ34は、現像剤収容部33に収容される現像剤を感光体1の表面に供給し、静電潜像を可視化してトナー画像を形成する。
転写装置24は、転写ローラ35と、転写ローラ35に対して感光体1の帯電電位と逆のバイアスを印加するバイアス印加手段36とを含み、転写ローラ35を介して転写材である記録紙37に電圧を印加することによって、感光体1表面のトナー画像を記録紙37上に転写させる。このとき、感光体1表面の表面自由エネルギーが、好適な範囲である20〜33mN/mに設定されているので、トナー画像を形成するトナーは、感光体1表面から記録紙上へ容易に移行転写されて残留トナーが発生しにくく、また転写時に接触する記録紙37の紙粉なども感光体1表面に付着しにくい。
記録紙剥離装置25は、ドクターブレードで構成される。ドクターブレード25の一方の端部25aが、感光体1の表面に当接されて記録紙37を剥離する。
クリーニング装置26は、感光体1の表面から除去された残留トナーおよび異物を回収する容器であるトナー回収部38と、感光体1の表面に当接するようにしてトナー回収部38に装着されるクリーニングブレード39とを含む。このクリーニングブレード39が、感光体1の表面に付着するトナー、紙粉等の異物を掻取りトナー回収部39へ落とし込んで回収する。クリーニングされた感光体1は、さらに矢符28方向へ回転を続けて帯電装置21で帯電され、前述の動作を繰返して画像形成される。
一方、トナー画像が転写されて感光体1の表面から剥離された記録紙37は、定着装置27へと搬送される。定着装置27は、加熱ローラ40と加圧ローラ41とを含んで構成される。加熱ローラ40は、不図示の加熱手段によって所定の温度に加熱される。加圧ローラ41は、不図示の押圧手段によって加熱ローラ40に押圧されて、加熱ローラ40との接触部であるニップ部42を形成する。記録紙37は、ニップ部42を通過する際に、加熱および加圧されることによって、記録紙上のトナー画像が定着されて堅牢な定着画像が形成される。このようにして、画像形成装置20において画像形成が行われる。
この画像形成装置20においては、感光体1の表面自由エネルギーが好適範囲に設定制御されているので、感光体1の表面にトナーが過度に付着することなく、また異物が付着しにくく、容易にクリーニングすることができるので、長期間にわたり安定して画質低下のない画像形成が可能であり、かつ感光体1の寿命が長くメンテナンス頻度の少ない装置の提供が実現される。
図3は、本発明の実施の第2形態である感光体10の構成を簡略化して示す部分断面図である。本実施の形態の感光体10は、実施の第1形態の感光体1に類似し、対応する部分については同一の参照符号を付して説明を省略する。
本実施の形態の感光体10において注目すべきは、下引層としてアルミニウム陽極酸化処理皮膜11が形成されることである。アルミニウム陽極酸化処理皮膜11、いわゆるアルマイト層は、たとえば次のようにして形成される。導電性支持体2としてアルミニウム製の円筒を準備し、アルミニウム円筒を、硫酸濃度:100〜300g/L(リットル)、溶存アルミニウム濃度:2〜15g/L、液温:10〜30℃の酸性浴中へ浸漬し、電解電圧:5〜20V、電流密度:0.5〜2A/dm2の範囲で陽極酸化処理することによって、導電性支持体2の表面にアルミニウム陽極酸化処理皮膜11が形成される。この陽極酸化処理皮膜11の平均膜厚は、5μm〜15μmであることが好ましい。この陽極酸化処理は、硫酸酸性浴に限定されることなく、たとえばクロム酸、シュウ酸、ホウ酸、スルファミン酸等の酸性浴中で行われてもよい。
以下、実施例により本発明について具体的に説明する。なお本発明は、これらの実施例に限定されるものではない。
まず導電性支持体上に種々の条件にて下引層および光導電層を形成し、実施例および比較例として準備した感光体について説明する。
<感光体サンプル作製>
(実施例のS1〜S5感光体)
(S1感光体)
導電性支持体として、直径:30mm、長さ:340mmのアルミニウム製円筒を準備した。該アルミニウム製円筒に、前述した硫酸酸性浴の条件にて陽極酸化処理(アルマイト処理)を施し、下引層としてアルマイト層を形成した。
(実施例のS1〜S5感光体)
(S1感光体)
導電性支持体として、直径:30mm、長さ:340mmのアルミニウム製円筒を準備した。該アルミニウム製円筒に、前述した硫酸酸性浴の条件にて陽極酸化処理(アルマイト処理)を施し、下引層としてアルマイト層を形成した。
オキソチタニウムフタロシアニン3重量部とブチラール樹脂BL−1(積水化学社製)2重量部とを、メチルエチルケトン245重量部に混合し、ペイントシェーカーにて分散して電荷発生層用塗布液を調整した。この塗布液を、浸漬塗布法にて、アルマイト処理が施されたアルミニウム製導電性支持体上に塗布し、自然乾燥して層厚0.4μmの電荷発生層を形成した。
電荷輸送物質として下記構造式(I)で示されるスチリル系化合物5重量部、ポリエステル樹脂Vylon290(東洋紡株式会社製)2.75重量部、ポリカーボネート樹脂G400(出光興産株式会社製)5.25重量部、スミライザーBHT(住友化学株式会社製)0.05重量部を混合し、テトラヒドロフラン47重量部を溶剤として電荷輸送層用塗布液を調整した。この塗布液を、浸漬塗布法にて前述の電荷発生層上に塗布し、110℃で1時間乾燥して層厚28μmの電荷輸送層を形成した。このようにしてS1感光体を作製した。
(S2感光体)
S1感光体と同様にしてアルマイト層および電荷発生層を形成した。次いで電荷輸送物質として下記構造式(II)で示されるブタジエン系化合物を5重量部、4種類のポリカーボネート樹脂J500(出光興産株式会社製)2.4重量部、G400(出光興産株式会社製)1.6重量部、GH503(出光興産株式会社製)1.6重量部、TS2020(帝人化成株式会社製)2.4重量部、さらにスミライザーBHT(住友化学株式会社製)0.25重量部を混合し、テトラヒドロフラン49重量部を溶剤として電荷輸送層用塗布液を調整した。この塗布液を、浸漬塗布法にて電荷発生層上に塗布し、130℃で1時間乾燥して層厚28μmの電荷輸送層を形成した。このようにしてS2感光体を作製した。
S1感光体と同様にしてアルマイト層および電荷発生層を形成した。次いで電荷輸送物質として下記構造式(II)で示されるブタジエン系化合物を5重量部、4種類のポリカーボネート樹脂J500(出光興産株式会社製)2.4重量部、G400(出光興産株式会社製)1.6重量部、GH503(出光興産株式会社製)1.6重量部、TS2020(帝人化成株式会社製)2.4重量部、さらにスミライザーBHT(住友化学株式会社製)0.25重量部を混合し、テトラヒドロフラン49重量部を溶剤として電荷輸送層用塗布液を調整した。この塗布液を、浸漬塗布法にて電荷発生層上に塗布し、130℃で1時間乾燥して層厚28μmの電荷輸送層を形成した。このようにしてS2感光体を作製した。
(S3感光体)
アルマイト処理をする代わりに、酸化チタンTTO55A(石原産業社製)7重量部および共重合ナイロンCM8000(東レ社製)13重量部を、メチルアルコール159重量部と1,3−ジオキソラン106重量部との混合溶剤に加え、ペイントシェーカーにて8時間分散処理した下引層用塗布液を、アルミニウム製導電性支持体上に塗布して下引層を形成した以外は、S1感光体を作製するのと同様にしてS3感光体を作製した。
アルマイト処理をする代わりに、酸化チタンTTO55A(石原産業社製)7重量部および共重合ナイロンCM8000(東レ社製)13重量部を、メチルアルコール159重量部と1,3−ジオキソラン106重量部との混合溶剤に加え、ペイントシェーカーにて8時間分散処理した下引層用塗布液を、アルミニウム製導電性支持体上に塗布して下引層を形成した以外は、S1感光体を作製するのと同様にしてS3感光体を作製した。
(S4感光体)
電荷輸送物質として下記構造式(III)で示される化合物を5重量部、バインダ樹脂を、3種類のポリカーボネート樹脂GH503(出光興産株式会社製)4重量部、M300(出光興産株式会社製)2重量部、J500(出光興産株式会社製)2重量部に変更した以外は、S2感光体を作製するのと同様にしてS4感光体を作製した。
電荷輸送物質として下記構造式(III)で示される化合物を5重量部、バインダ樹脂を、3種類のポリカーボネート樹脂GH503(出光興産株式会社製)4重量部、M300(出光興産株式会社製)2重量部、J500(出光興産株式会社製)2重量部に変更した以外は、S2感光体を作製するのと同様にしてS4感光体を作製した。
(S5感光体)
電荷輸送層形成におけるバインダ樹脂を、ポリカーボネート樹脂GH503(出光興産株式会社製)4重量部、G400(出光興産株式会社製)4重量部に変更した以外は、S2感光体を作製するのと同様にしてS5感光体を作製した。
電荷輸送層形成におけるバインダ樹脂を、ポリカーボネート樹脂GH503(出光興産株式会社製)4重量部、G400(出光興産株式会社製)4重量部に変更した以外は、S2感光体を作製するのと同様にしてS5感光体を作製した。
(比較例のR1〜R5感光体)
(R1感光体)
S1感光体と同様にしてアルマイト層と電荷発生層とを形成した。次いで電荷輸送物質として前記構造式(II)で示されるブタジエン系化合物を3.5重量部、下記構造式(IV)で示されるスチリル系化合物を1.5重量部、4種類のポリカーボネート樹脂、J500(出光興産株式会社製)2.2重量部、G400(出光興産株式会社製)2.2重量部、GH503(出光興産株式会社製)1.8重量部、TS2020(帝人化成株式会社製)1.8重量部、さらにスミライザーBHT(住友化学株式会社製)1.5重量部を混合し、テトラヒドロフラン55重量部を溶剤として電荷輸送層用塗布液を調整した。この塗布液を、浸漬塗布法にて電荷発生層上に塗布し、120℃で1時間乾燥して層厚28μmの電荷輸送層を形成した。このようにしてR1感光体を作製した。
(R1感光体)
S1感光体と同様にしてアルマイト層と電荷発生層とを形成した。次いで電荷輸送物質として前記構造式(II)で示されるブタジエン系化合物を3.5重量部、下記構造式(IV)で示されるスチリル系化合物を1.5重量部、4種類のポリカーボネート樹脂、J500(出光興産株式会社製)2.2重量部、G400(出光興産株式会社製)2.2重量部、GH503(出光興産株式会社製)1.8重量部、TS2020(帝人化成株式会社製)1.8重量部、さらにスミライザーBHT(住友化学株式会社製)1.5重量部を混合し、テトラヒドロフラン55重量部を溶剤として電荷輸送層用塗布液を調整した。この塗布液を、浸漬塗布法にて電荷発生層上に塗布し、120℃で1時間乾燥して層厚28μmの電荷輸送層を形成した。このようにしてR1感光体を作製した。
(R2感光体)
S1感光体と同様にしてアルマイト層と電荷発生層とを形成した。次いで電荷輸送物質として前記構造式(II)で示されるブタジエン系化合物を5重量部、2種類のポリカーボネート樹脂G400(出光興産株式会社製)2.4重量部、TS2020(帝人化成株式会社製)4重量部、ポリエステル樹脂Vylon290(東洋紡株式会社製)1.6重量部、さらにスミライザーBHT(住友化学株式会社製)0.25重量部を混合し、テトラヒドロフラン49重量部を溶剤として電荷輸送層用塗布液を調整した。この塗布液を、浸漬塗布法にて電荷発生層上に塗布し、130℃で1時間乾燥して層厚28μmの電荷輸送層を形成した。このようにしてR2感光体を作製した。
S1感光体と同様にしてアルマイト層と電荷発生層とを形成した。次いで電荷輸送物質として前記構造式(II)で示されるブタジエン系化合物を5重量部、2種類のポリカーボネート樹脂G400(出光興産株式会社製)2.4重量部、TS2020(帝人化成株式会社製)4重量部、ポリエステル樹脂Vylon290(東洋紡株式会社製)1.6重量部、さらにスミライザーBHT(住友化学株式会社製)0.25重量部を混合し、テトラヒドロフラン49重量部を溶剤として電荷輸送層用塗布液を調整した。この塗布液を、浸漬塗布法にて電荷発生層上に塗布し、130℃で1時間乾燥して層厚28μmの電荷輸送層を形成した。このようにしてR2感光体を作製した。
(R3感光体)
S1感光体と同様にしてアルマイト層と電荷発生層とを形成した。次いで、電荷輸送物質として前記構造式(II)で示されるブタジエン系化合物を5重量部、2種類のポリカーボネート樹脂J500(出光興産株式会社製)4.4重量部、TS2020(帝人化成株式会社製)3.6重量部、さらにスミライザーBHT(住友化学株式会社製)0.25重量部を混合し、テトラヒドロフラン49重量部を溶剤として電荷輸送層用塗布液を調整した。この塗布液を、浸漬塗布法にて電荷発生層上に塗布し、120℃で1時間乾燥して層厚28μmの電荷輸送層を形成した。このようにしてR3感光体を作製した。
S1感光体と同様にしてアルマイト層と電荷発生層とを形成した。次いで、電荷輸送物質として前記構造式(II)で示されるブタジエン系化合物を5重量部、2種類のポリカーボネート樹脂J500(出光興産株式会社製)4.4重量部、TS2020(帝人化成株式会社製)3.6重量部、さらにスミライザーBHT(住友化学株式会社製)0.25重量部を混合し、テトラヒドロフラン49重量部を溶剤として電荷輸送層用塗布液を調整した。この塗布液を、浸漬塗布法にて電荷発生層上に塗布し、120℃で1時間乾燥して層厚28μmの電荷輸送層を形成した。このようにしてR3感光体を作製した。
(R4感光体)
電荷輸送層形成に際し、ポリカーボネート樹脂として、J500(出光興産株式会社製)を、G400(出光興産株式会社製)に置換えた以外は、R3感光体と同様にしてR4感光体を作製した。
電荷輸送層形成に際し、ポリカーボネート樹脂として、J500(出光興産株式会社製)を、G400(出光興産株式会社製)に置換えた以外は、R3感光体と同様にしてR4感光体を作製した。
(R5感光体)
S1感光体と同様にしてアルマイト層と電荷発生層とを形成した。次いで、電荷輸送層形成に際し、ポリカーボネート樹脂の一部に代えて、表面自由エネルギー(γ)の低い樹脂であるPTFEを用いた以外は、R4感光体と同様にして電荷輸送層用塗布液を調整した。この塗布液を、浸漬塗布法にて電荷発生層上に塗布し、120℃で1時間乾燥して層厚28μmの電荷輸送層を形成した。このようにして、R5感光体を作製した。
S1感光体と同様にしてアルマイト層と電荷発生層とを形成した。次いで、電荷輸送層形成に際し、ポリカーボネート樹脂の一部に代えて、表面自由エネルギー(γ)の低い樹脂であるPTFEを用いた以外は、R4感光体と同様にして電荷輸送層用塗布液を調整した。この塗布液を、浸漬塗布法にて電荷発生層上に塗布し、120℃で1時間乾燥して層厚28μmの電荷輸送層を形成した。このようにして、R5感光体を作製した。
以上のように、S1〜S5感光体およびR1〜R5感光体作製において、電荷輸送層用塗布液に含まれる樹脂の種類および含有比率を変化させるとともに、塗布後の乾燥温度を変化させることによって、γが所望の値になるように調整した。これらの感光体表面のγは、接触角測定機CA−X(協和界面株式会社製)および解析ソフトEG−11(協和界面株式会社製)によって求めた。
<試験方法>
以上のように作成した各感光体を接触帯電用に改造したデジタル複写機AR−450(シャープ株式会社製)に搭載して実写性能試験を行い、耐刷性を評価した。トナーには、AR−450用純正トナーを使用した。実写性能試験は、温度:25℃、相対湿度:50%の常温/常湿(N/N:Normal Temperature/Normal Humidity)環境中で、原稿にシャープ株式会社製文字テストチャートを用い、記録紙にSF−4AM3(シャープ株式会社製)を用いて行った。
以上のように作成した各感光体を接触帯電用に改造したデジタル複写機AR−450(シャープ株式会社製)に搭載して実写性能試験を行い、耐刷性を評価した。トナーには、AR−450用純正トナーを使用した。実写性能試験は、温度:25℃、相対湿度:50%の常温/常湿(N/N:Normal Temperature/Normal Humidity)環境中で、原稿にシャープ株式会社製文字テストチャートを用い、記録紙にSF−4AM3(シャープ株式会社製)を用いて行った。
本実施例では、画像形成前(0k)、25,000(25k)枚、50,000(50k)枚および100,000(100k)枚の各段階において、形成された画像のかぶり量を、後述する測定器で測定することによって耐刷性の評価を行った。形成画像のかぶり量Wkは、日本電色工業株式会社製Z−Σ90 COLOR MEASURING SYSTEMを用いて反射濃度を測定して求めた。まず画像形成前の記録紙の反射平均濃度Wrを測定した。次にその記録紙に対して画像形成し、画像形成後、記録紙の白地部分各所の反射濃度を測定した。最もかぶりの多いと判断された部分、すなわち白地部でありながら濃度の最も濃い部分の反射濃度Wsと、前記Wrとから以下の式(4)で求められるWkをかぶり量と定義した。
Wk=100×(Wr−Ws)/Wr …(4)
Wk=100×(Wr−Ws)/Wr …(4)
耐刷性の評価基準は以下のようである。
◎:非常に良好。かぶり量Wkが3%未満。
○:良好。かぶり量Wkが3%以上5%未満。
△:実用上問題無し。かぶり量Wkが5%以上10%未満。
×:実使用上問題あり。かぶり量Wkが10%以上。
××:トナーフィルミング発生。
◎:非常に良好。かぶり量Wkが3%未満。
○:良好。かぶり量Wkが3%以上5%未満。
△:実用上問題無し。かぶり量Wkが5%以上10%未満。
×:実使用上問題あり。かぶり量Wkが10%以上。
××:トナーフィルミング発生。
<評価結果>
耐刷性の評価結果を表1に示す。なお表1に示す評価試験結果において、評価試験を行った各段階の画像形成枚数(0k,25k,50k,100k)を、その段階において実用上不適になる現象が発生した場合には、耐久寿命枚数と言っても良いことから、耐久枚数として表記した。
耐刷性の評価結果を表1に示す。なお表1に示す評価試験結果において、評価試験を行った各段階の画像形成枚数(0k,25k,50k,100k)を、その段階において実用上不適になる現象が発生した場合には、耐久寿命枚数と言っても良いことから、耐久枚数として表記した。
γが本発明範囲内にある実施例S1〜S5の感光体は、耐刷性がすべて良好(○)以上の評価結果であった。特にγが、28〜33mN/mの範囲内にある実施例S1〜S4の感光体は、非常に良好(◎)な耐刷性が得られた。またγの値が20〜33mN/m の範囲内において、フィルミングが発生せず、長期にわたり感光体表面の清浄な状態が保たれた。下引層として、アルマイト層に代えて酸化チタンと共重合ナイロンとを含む層が形成された実施例のS3感光体においても同様な結果が得られた。
一方、γが本発明範囲よりも小さい比較例のR5感光体においては、付着力が減少したことに伴ってトナー飛散が増大し、記録紙表面のカブリ増大、あるいは裏面に飛散したトナーによる裏汚れ現象が見られた。
またγが本発明範囲よりも大きい比較例のR1〜R4感光体では、γが大きくなるのに伴って、耐久枚数が減少した。これは、トナーおよび紙粉などに対する感光体表面の付着力が増大したことによって、フィルミングが発生したと考えられる。γが大きくなると、感光体表面の付着物がブレードと摺擦されるので、またブレードからすり抜けた付着物が接触帯電部材、現像部材等と摺擦されるので、付着物が次第に蓄積しフィルミングに至るものである。
1,10 電子写真感光体
2 導電性支持体
3 下引層
4 電荷発生層
5 電荷輸送層
6 光導電層
7 電荷発生物質
8 電荷輸送物質
11 陽極酸化処理層
20 画像形成装置
21 帯電装置
22 露光装置
23 現像装置
24 転写装置
25 記録紙剥離装置
26 クリーニング装置
27 定着装置
2 導電性支持体
3 下引層
4 電荷発生層
5 電荷輸送層
6 光導電層
7 電荷発生物質
8 電荷輸送物質
11 陽極酸化処理層
20 画像形成装置
21 帯電装置
22 露光装置
23 現像装置
24 転写装置
25 記録紙剥離装置
26 クリーニング装置
27 定着装置
Claims (5)
- 導電性支持体と導電性支持体上に設けられる光導電層とを備え、接触帯電方式で帯電された光導電層が画像情報に応じた光で露光されることによって静電潜像が形成され、静電潜像が非磁性1成分現像剤によって可視像化され、可視像化された画像が転写材に転写され、画像転写後の該表面から付着物が除去される電子写真感光体において、
該表面の表面自由エネルギー(γ)が、20mN/m以上、33mN/m以下であることを特徴とする電子写真感光体。 - 表面自由エネルギー(γ)が、28mN/m以上、33mN/m以下であることを特徴とする請求項1記載の電子写真感光体。
- 光導電層が、
有機材料を含むことを特徴とする請求項1または2記載の電子写真感光体。 - 光導電層は、
電荷発生物質を含む電荷発生層と、電荷輸送物質を含む電荷輸送層とが積層されて構成されることを特徴とする請求項1〜3のいずれか1つに記載の電子写真感光体。 - 前記請求項1〜4のいずれか1つに記載の電子写真感光体を備えることを特徴とする画像形成装置。
Priority Applications (1)
| Application Number | Priority Date | Filing Date | Title |
|---|---|---|---|
| JP2004107508A JP2005292470A (ja) | 2004-03-31 | 2004-03-31 | 電子写真感光体およびそれを備える画像形成装置 |
Applications Claiming Priority (1)
| Application Number | Priority Date | Filing Date | Title |
|---|---|---|---|
| JP2004107508A JP2005292470A (ja) | 2004-03-31 | 2004-03-31 | 電子写真感光体およびそれを備える画像形成装置 |
Publications (1)
| Publication Number | Publication Date |
|---|---|
| JP2005292470A true JP2005292470A (ja) | 2005-10-20 |
Family
ID=35325453
Family Applications (1)
| Application Number | Title | Priority Date | Filing Date |
|---|---|---|---|
| JP2004107508A Pending JP2005292470A (ja) | 2004-03-31 | 2004-03-31 | 電子写真感光体およびそれを備える画像形成装置 |
Country Status (1)
| Country | Link |
|---|---|
| JP (1) | JP2005292470A (ja) |
Cited By (1)
| Publication number | Priority date | Publication date | Assignee | Title |
|---|---|---|---|---|
| US8535861B2 (en) | 2009-03-27 | 2013-09-17 | Fuji Xerox Co., Ltd. | Image forming apparatus and process cartridge |
-
2004
- 2004-03-31 JP JP2004107508A patent/JP2005292470A/ja active Pending
Cited By (1)
| Publication number | Priority date | Publication date | Assignee | Title |
|---|---|---|---|---|
| US8535861B2 (en) | 2009-03-27 | 2013-09-17 | Fuji Xerox Co., Ltd. | Image forming apparatus and process cartridge |
Similar Documents
| Publication | Publication Date | Title |
|---|---|---|
| JP6690602B2 (ja) | 電子写真感光体、プロセスカートリッジ及び画像形成装置 | |
| CN100592215C (zh) | 电子照相感光体以及具有该感光体的图像形成装置 | |
| JP2019002951A (ja) | 電子写真感光体、プロセスカートリッジ及び画像形成装置 | |
| WO2004090643A1 (ja) | 電子写真感光体およびそれを備える画像形成装置 | |
| JP4064229B2 (ja) | 電子写真感光体 | |
| CN104698776A (zh) | 电荷输送层形成用涂布液、使用其制作的电子照相感光体及图像形成装置 | |
| JP3823344B2 (ja) | 電子写真感光体、電子写真装置及び装置ユニット | |
| JP4133545B2 (ja) | 電子写真感光体およびそれを備える画像形成装置 | |
| JP2005292470A (ja) | 電子写真感光体およびそれを備える画像形成装置 | |
| JP2002040687A (ja) | 電子写真感光体、プロセスカートリッジ及び電子写真装置 | |
| JP6617663B2 (ja) | 電子写真感光体、画像形成装置、及びプロセスカートリッジ | |
| JP4037793B2 (ja) | 画像形成装置 | |
| JP4037771B2 (ja) | 画像形成装置 | |
| JP3682848B2 (ja) | 電子写真用感光体およびそれを用いる画像形成装置 | |
| JP2010008499A (ja) | 電子写真装置 | |
| JP2003228183A (ja) | 電子写真感光体および画像形成装置 | |
| JP3780316B2 (ja) | 感光体および画像形成装置 | |
| JP3713986B2 (ja) | 電子写真感光体、画像形成装置及びプロセスカートリッジ | |
| JPH0950143A (ja) | 電子写真感光体、電子写真装置及び装置ユニット | |
| JP3101469B2 (ja) | 電子写真感光体、該電子写真感光体を有する電子写真装置及び装置ユニット | |
| JP2007155919A (ja) | 電子写真感光体 | |
| JP2003066640A (ja) | 感光体および画像形成装置 | |
| JPH11338177A (ja) | 電子写真装置 | |
| JP2004341136A (ja) | 画像形成装置 | |
| JP3702680B2 (ja) | 電子写真感光体及びそれを用いたプロセスカートリッジと画像形成装置 |
