JP2005292334A - プロセスカートリッジ、及び電子写真画像形成装置 - Google Patents

プロセスカートリッジ、及び電子写真画像形成装置 Download PDF

Info

Publication number
JP2005292334A
JP2005292334A JP2004105245A JP2004105245A JP2005292334A JP 2005292334 A JP2005292334 A JP 2005292334A JP 2004105245 A JP2004105245 A JP 2004105245A JP 2004105245 A JP2004105245 A JP 2004105245A JP 2005292334 A JP2005292334 A JP 2005292334A
Authority
JP
Japan
Prior art keywords
main body
process cartridge
cartridge
electrical contact
image forming
Prior art date
Legal status (The legal status is an assumption and is not a legal conclusion. Google has not performed a legal analysis and makes no representation as to the accuracy of the status listed.)
Granted
Application number
JP2004105245A
Other languages
English (en)
Other versions
JP4455124B2 (ja
JP2005292334A5 (ja
Inventor
Daisuke Abe
大輔 阿部
Hideyuki Matsubara
英之 松原
Current Assignee (The listed assignees may be inaccurate. Google has not performed a legal analysis and makes no representation or warranty as to the accuracy of the list.)
Canon Inc
Original Assignee
Canon Inc
Priority date (The priority date is an assumption and is not a legal conclusion. Google has not performed a legal analysis and makes no representation as to the accuracy of the date listed.)
Filing date
Publication date
Application filed by Canon Inc filed Critical Canon Inc
Priority to JP2004105245A priority Critical patent/JP4455124B2/ja
Priority to US11/091,781 priority patent/US7242885B2/en
Priority to RU2005109227/28A priority patent/RU2302027C2/ru
Priority to CNB2005100626694A priority patent/CN100454178C/zh
Priority to KR1020050026967A priority patent/KR100762044B1/ko
Priority to EP05007106.7A priority patent/EP1582942B1/en
Publication of JP2005292334A publication Critical patent/JP2005292334A/ja
Publication of JP2005292334A5 publication Critical patent/JP2005292334A5/ja
Application granted granted Critical
Publication of JP4455124B2 publication Critical patent/JP4455124B2/ja
Anticipated expiration legal-status Critical
Expired - Fee Related legal-status Critical Current

Links

Images

Classifications

    • GPHYSICS
    • G03PHOTOGRAPHY; CINEMATOGRAPHY; ANALOGOUS TECHNIQUES USING WAVES OTHER THAN OPTICAL WAVES; ELECTROGRAPHY; HOLOGRAPHY
    • G03GELECTROGRAPHY; ELECTROPHOTOGRAPHY; MAGNETOGRAPHY
    • G03G15/00Apparatus for electrographic processes using a charge pattern
    • GPHYSICS
    • G03PHOTOGRAPHY; CINEMATOGRAPHY; ANALOGOUS TECHNIQUES USING WAVES OTHER THAN OPTICAL WAVES; ELECTROGRAPHY; HOLOGRAPHY
    • G03GELECTROGRAPHY; ELECTROPHOTOGRAPHY; MAGNETOGRAPHY
    • G03G21/00Arrangements not provided for by groups G03G13/00 - G03G19/00, e.g. cleaning, elimination of residual charge
    • G03G21/16Mechanical means for facilitating the maintenance of the apparatus, e.g. modular arrangements
    • G03G21/18Mechanical means for facilitating the maintenance of the apparatus, e.g. modular arrangements using a processing cartridge, whereby the process cartridge comprises at least two image processing means in a single unit
    • G03G21/1875Mechanical means for facilitating the maintenance of the apparatus, e.g. modular arrangements using a processing cartridge, whereby the process cartridge comprises at least two image processing means in a single unit provided with identifying means or means for storing process- or use parameters, e.g. lifetime of the cartridge
    • G03G21/1878Electronically readable memory
    • G03G21/1882Electronically readable memory details of the communication with memory, e.g. wireless communication, protocols
    • G03G21/1885Electronically readable memory details of the communication with memory, e.g. wireless communication, protocols position of the memory; memory housings; electrodes
    • GPHYSICS
    • G03PHOTOGRAPHY; CINEMATOGRAPHY; ANALOGOUS TECHNIQUES USING WAVES OTHER THAN OPTICAL WAVES; ELECTROGRAPHY; HOLOGRAPHY
    • G03GELECTROGRAPHY; ELECTROPHOTOGRAPHY; MAGNETOGRAPHY
    • G03G21/00Arrangements not provided for by groups G03G13/00 - G03G19/00, e.g. cleaning, elimination of residual charge
    • G03G21/16Mechanical means for facilitating the maintenance of the apparatus, e.g. modular arrangements
    • G03G21/18Mechanical means for facilitating the maintenance of the apparatus, e.g. modular arrangements using a processing cartridge, whereby the process cartridge comprises at least two image processing means in a single unit
    • G03G21/1839Means for handling the process cartridge in the apparatus body
    • G03G21/1857Means for handling the process cartridge in the apparatus body for transmitting mechanical drive power to the process cartridge, drive mechanisms, gears, couplings, braking mechanisms
    • GPHYSICS
    • G03PHOTOGRAPHY; CINEMATOGRAPHY; ANALOGOUS TECHNIQUES USING WAVES OTHER THAN OPTICAL WAVES; ELECTROGRAPHY; HOLOGRAPHY
    • G03GELECTROGRAPHY; ELECTROPHOTOGRAPHY; MAGNETOGRAPHY
    • G03G21/00Arrangements not provided for by groups G03G13/00 - G03G19/00, e.g. cleaning, elimination of residual charge
    • G03G21/16Mechanical means for facilitating the maintenance of the apparatus, e.g. modular arrangements
    • G03G21/18Mechanical means for facilitating the maintenance of the apparatus, e.g. modular arrangements using a processing cartridge, whereby the process cartridge comprises at least two image processing means in a single unit
    • G03G21/1839Means for handling the process cartridge in the apparatus body
    • G03G21/1867Means for handling the process cartridge in the apparatus body for electrically connecting the process cartridge to the apparatus, electrical connectors, power supply
    • GPHYSICS
    • G03PHOTOGRAPHY; CINEMATOGRAPHY; ANALOGOUS TECHNIQUES USING WAVES OTHER THAN OPTICAL WAVES; ELECTROGRAPHY; HOLOGRAPHY
    • G03GELECTROGRAPHY; ELECTROPHOTOGRAPHY; MAGNETOGRAPHY
    • G03G2221/00Processes not provided for by group G03G2215/00, e.g. cleaning or residual charge elimination
    • G03G2221/16Mechanical means for facilitating the maintenance of the apparatus, e.g. modular arrangements and complete machine concepts
    • G03G2221/18Cartridge systems
    • G03G2221/183Process cartridge

Landscapes

  • Engineering & Computer Science (AREA)
  • Physics & Mathematics (AREA)
  • General Physics & Mathematics (AREA)
  • Computer Vision & Pattern Recognition (AREA)
  • Computer Networks & Wireless Communication (AREA)
  • Electrophotography Configuration And Component (AREA)

Abstract

【課題】プロセスカートリッジを電子写真画像形成装置本体に装着した際に、前記プロセスカートリッジの有する入力電気接点と、前記画像形成装置本体に設けられた出力電気接点との電気接続の信頼性を向上させたプロセスカートリッジ、及び、電子写真画像形成装置を提供する。
【解決手段】電子写真装置本体Aは、出力電気接点161と、出力電気接点161を覆う保護位置と前記出力電気接点161を露出させる露出位置との間を移動可能な可動部材162と、前記可動部材162の動作を係止する係止位置と解除位置との間を移動可能な係止部材163と、を有しており、プロセスカートリッジBが有する第一の係合部が、プロセスカートリッジの装置本体への挿入経路の途中で、係止部材を解除位置に移動させた後、プロセスカートリッジが有する第二の係合部が、可動部材を露出位置に移動させ、出力電気接点161と入力電気接点160aを電気的に接続させる。
【選択図】図14

Description

本発明は、プロセスカートリッジ、及び、前記プロセスカートリッジの有するカートリッジ接点と、電子写真画像形成装置に設けられた本体電気接点とを接続する電気接続機構に関する。
また、本発明はプロセスカートリッジ及びプロセスカートリッジを着脱可能な電子写真画像形成装置に関するものである。
ここで電子写真画像形成装置とは、電子写真画像形成プロセスを用いて記録媒体(例えば、記録用紙、OHPシート等)に画像を形成するものである。例えば、電子写真複写機、電子写真プリンタ(例えば、LEDプリンタ、レーザービームプリンタ等)、電子写真ファクシミリ装置、及び、電子写真ワードプロセッサー等が含まれる。
また、プロセスカートリッジは、プロセス手段としての帯電部材、現像部材の少なくとも1つと電子写真感光体とを一体的にカートリッジ化して電子写真画像形成装置本体に着脱可能としたものである。
あるいは、帯電手段、現像手段またはクリーニング手段と電子写真感光体とを一体的にカートリッジ化し、このカートリッジを電子写真画像形成装置本体に対して着脱可能とするものである。及び帯電手段、現像手段、クリーニング手段の少なくとも1つと電子写真感光体とを一体的にカートリッジ化して電子写真画像形成装置本体に着脱可能とするものである。更に、少なくとも現像手段と電子写真感光体とを一体的にカートリッジ化して電子写真画像形成装置本体に着脱可能とするものをいう。
(1)プロセスカートリッジ方式の電子写真画像形成装置においては、画像形成装置本体に対するプロセスカートリッジの着脱をサービスマンによらずにユーザー自身で行うことができる。そこで、画像形成装置の操作性を格段に向上させることができた。
こうした電子写真画像形成装置においては、プロセスカートリッジの有する電子写真感光体(以下、「感光体ドラム」と称す。)を帯電するための帯電部材、或いは、前記感光体ドラムに形成された静電潜像を現像するための現像部材などに電圧を印加する必要がある。
従来、カートリッジが画像形成装置本体に装着された際に、前記カートリッジと前記装置本体との電気接続を行うために、前記カートリッジの枠体にカートリッジ接点を設けている。一方、前記装置本体には本体電気接点を設けている。そして、カートリッジが装置本体に装着された際に、前記カートリッジ接点と前記本体電気接点を接続する。これによって、装置本体からカートリッジに電圧を供給することが行われている。
具体的には、次の構成が知られている。
端子部材(本体電気接点)を覆う保護板を装置本体に移動可能に設ける。これによって、プリンタ(画像形成装置)のメンテナンス作業を行う場合に、オペレータ或いは工具が端子部材に接触することを防止する。そして、カートリッジの装置本体への挿入により、前記保護板を退避位置へ退避させる。これによって、装置本体の端子部材とカートリッジの端子部材(カートリッジ接点)とを電気的に接続可能にする(例えば、特許文献1参照)。
また、ユニットを装置本体から取り外した際に、コネクタピン(本体電気接点)を仕切壁の内側に隠蔽する。これによって、サービスマンやユーザーがコネクタピンに接触することを防止する。そして、ユニットの装置本体への挿入により、前記コネクタピンをユニット挿入部内へ侵入させる。これによって、コネクタピンとユニットのコネクタ部(カートリッジ接点)とを電気的に接続する(例えば、特許文献2参照)。
また、接点部材(本体電気接点)を退避位置と正規位置との間を移動可能に設ける。これによって、カートリッジの接点部(カートリッジ接点)と装置本体の接点部材とを正常に接触させる。そして、カートリッジを装置本体へ侵入させる前には、前記接点部材(本体電気接点)を退避位置へ移動させる。また、カートリッジを装置本体に装着した際には、前記接点部材を正規位置へ移動させる。これによって、前記接点部と前記接点部とを電気的に接続する(例えば、特許文献3参照)。
(2)さらに、近年種々のサービス情報やプロセス情報を記憶するメモリ(記憶素子)をカートリッジに搭載した製品が実現されている。電子写真画像形成装置はこのカートリッジのメモリ情報を活用することにより、画質やカートリッジのメンテナンスをより一層向上させている。これは、電子写真画像形成装置本体に設けられたコネクタとの間で電気的接続を行なうことにより、カートリッジのメモリと電気通信を行なっているものがある。
このようなプロセスカートリッジを着脱可能な電子写真画像形成装置では、紙詰まりが発生したときなどに、ユーザーが装置本体からプロセスカートリッジを取り出し、詰まった記録紙を取り除いた後、再度プロセスカートリッジを挿入する場合がある。このとき、取り出したプロセスカートリッジが静電気を帯びていると、装置本体にプロセスカートリッジを挿入した際に、装置本体内部に露出した電気接点に放電する可能性がある。こうした放電により画像形成装置本体内の電気回路に静電ノイズが印加されることによる不具合を防止するために、装置本体内に除電部材を設けているものもある(特許文献4参照)。
特開平7−77921号公報([0012]〜[0015]、図1〜図3) 特開昭62−215278号公報(第4頁左下欄15行目〜第6頁左上欄15行目、第1A図、第1B図、第4A図) 特開平9−68833号公報([0016]〜[0029]、図1〜図3) 特開平10−63166号公報
本発明は前記従来技術を更に発展させたものである。
(1)本発明の目的は、プロセスカートリッジを電子写真画像形成装置本体に装着した際に、前記プロセスカートリッジの有するカートリッジ接点と、前記画像形成装置本体に設けられた本体電気接点との電気接続の信頼性を向上させたプロセスカートリッジ、及び、電子写真画像形成装置を提供することにある。
本発明の他の目的は、電子写真画像形成装置本体にプロセスカートリッジが挿入される動作によって、本体電気接点の保護部材を保護位置から露出位置へ移動させることのできるプロセスカートリッジ、及び、電子写真画像形成装置を提供することにある。
(2)また、本発明の目的は、プロセスカートリッジを着脱可能な電子写真画像形成装置において、プロセスカートリッジを電子写真画像形成装置本体に装着した際に、プロセスカートリッジの有するカートリッジ接点と電気的に接続する本体電気接点への静電気の放電を防止する電子写真画像形成装置を提供することにある。
また、これにより電子写真画像形成装置本体の電気回路が損傷することを防止することにある。
また、プロセスカートリッジを電子写真画像形成装置本体に装着した際に、プロセスカートリッジの有するカートリッジ接点と電気的に接続する装置本体の本体電気接点との電気接続の信頼性を向上させた電子写真画像形成装置を提供することにある。
上記目的は本発明に係るプロセスカートリッジ、電子写真画像形成装置、及び、電子写真画像形成装置本体とプロセスカートリッジとの電気接続機構にて達成される。
要約すれば、第一の本発明によれば、本体電気接点と、前記本体電気接点を覆う保護位置と前記本体電気接点を露出させる露出位置との間を移動可能な可動部材と、前記可動部材の動作を係止する係止位置と、前記可動部材の動作の係止を解除した解除位置との間を移動可能な係止部材と、を有する電子写真画像形成装置本体に着脱可能なプロセスカートリッジであって、電子写真感光体ドラムと、前記電子写真感光体ドラムに作用するプロセス手段と、前記プロセスカートリッジの前記装置本体への挿入経路の途中で、前記係止部材を前記係止位置から前記解除位置に移動させる第一の係合部と、前記可動部材を前記保護位置から前記露出位置に移動させる第二の係合部と、前記プロセスカートリッジが前記装置本体の装着した際に、前記本体電気接点と電気的に接続するカートリッジ接点と、を有することを特徴とするプロセスカートリッジが提供される。
上記第一の本発明の一実施態様によれば、前記係止部材を前記係止位置に移動する方向に付勢する第一の弾性部材と、前記可動部材を前記保護位置に移動する方向に付勢する第二の弾性部材と、を有し、前記プロセスカートリッジが前記装置本体における画像形成位置にある時に、前記第一の弾性部材の弾性力に抗して、前記係止部材を前記解除位置に保持する第一の保持部と、前記第二の弾性部材の弾性力に抗して、前記可動部材を前記露出位置に保持する第二の保持部と、を有する。
他の実施態様によれば、前記第一の係合部は、前記装置本体へ前記プロセスカートリッジを装着する際に、前記装置本体に設けられた装着手段にガイドされるカートリッジガイド部である。
他の実施態様によれば、前記係止部材を前記解除位置に保持する第一の保持部が、前記プロセスカートリッジの長手方向における端部に設けられている。
他の実施態様によれば、前記第一の保持部は、前記カートリッジガイド部から延伸している延伸部である。
他の実施態様によれば、前記第二の保持部が前記プロセスカートリッジの下方に突出して設けられている。
第二の本発明によれば、プロセスカートリッジを着脱可能で、記録媒体に画像を形成するための電子写真画像形成装置において、(a)本体電気接点と、(b)前記本体電気接点を覆う保護位置と前記本体電気接点を露出させる露出位置との間を移動可能な可動部材と、(c)前記可動部材の動作を係止する係止位置と、前記可動部材の動作の係止を解除した解除位置との間を移動可能な係止部材と、(d)前記電子写真感光体ドラムに作用するプロセス手段と、前記プロセスカートリッジの前記装置本体への挿入経路の途中で、前記係止部材を前記係止位置から前記解除位置に移動させる第一の係合部と、前記可動部材を前記保護位置から前記露出位置に移動させる第二の係合部と、前記プロセスカートリッジが前記装置本体の装着した際に、前記本体電気接点と電気的に接続するカートリッジ接点と、を有するプロセスカートリッジを取り外し可能に装着する装着手段と、 (e)前記記録媒体を搬送する搬送手段と、を有することを特徴とする電子写真画像形成装置が提供される。
上記第二の本発明の一実施態様によれば、更に、前記電子写真画像形成装置は、前記係止部材を前記係止位置に移動する方向に付勢する第一の弾性部材と、前記可動部材を前記保護位置に移動する方向に付勢する第二の弾性部材と、を有し、前記プロセスカートリッジが前記装置本体における画像形成位置にある時に、前記プロセスカートリッジに設けらた第一の保持部によって、前記第一の弾性部材の弾性力に抗して、前記係止部材が前記解除位置に保持され、前記プロセスカートリッジに設けらた第二の保持部によって、前記第二の弾性部材の弾性力に抗して、前記可動部材が前記露出位置に保持される。
他の実施態様によれば、前記可動部材は、前記保護位置においてアースに電気的に接続する導通部材を有する。
他の実施態様によれば、前記可動部材は、前記電子写真感光体ドラムの軸線と平行な回転中心を有し、前記装置本体に対して、回転可能に移動する。
前記本体電気接点は、前記電子写真感光体ドラムの軸線と平行な回転中心を有し、前記装置本体に対して、回転可能に移動する。
第三の本発明によれば、本体電気接点と、アースと電気的に接続する第一の位置と、アースと電気的接続が遮断する第二の位置との間を移動可能な導通部材と、前記導通部材の動作を係止する係止位置と、前記導通部材の動作の係止を解除した解除位置との間を移動可能な係止部材と、を有する電子写真画像形成装置本体に着脱可能なプロセスカートリッジであって、電子写真感光体ドラムと、前記電子写真感光体ドラムに作用するプロセス手段と、前記プロセスカートリッジの前記装置本体への挿入経路の途中で、前記係止部材を前記係止位置から前記解除位置に移動させる第一の係合部と、前記導通部材を前記保護位置から前記露出位置に移動させる第二の係合部と、前記プロセスカートリッジが前記装置本体の装着した際に、前記本体電気接点と電気的に接続するカートリッジ接点と、を有することを特徴とするプロセスカートリッジが提供される。
第四の本発明によれば、電子写真画像形成装置本体にプロセスカートリッジを着脱可能な電子写真画像形成装置において、(a)本体電気接点と、(b)アースと電気的に接続する第一の位置と、アースと電気的接続が遮断する第二の位置との間を移動可能な導通部材と、(c)前記導通部材の動作を係止する係止位置と、前記導通部材の動作の係止を解除した解除位置との間を移動可能な係止部材と、(d)前記電子写真感光体ドラムに作用するプロセス手段と、前記プロセスカートリッジの前記装置本体への挿入経路の途中で、前記係止部材を前記係止位置から前記解除位置に移動させる第一の係合部と、前記導通部材を前記保護位置から前記露出位置に移動させる第二の係合部と、前記プロセスカートリッジが前記装置本体の装着した際に、前記本体電気接点と電気的に接続するカートリッジ接点と、を有するプロセスカートリッジを取り外し可能に装着する装着手段と、(e)前記記録媒体を搬送する搬送手段と、を有することを特徴とする電子写真画像形成装置が提供される。
上記第四の本発明の一実施態様によれば、前記電子写真画像形成装置は前記プロセスカートリッジの着脱可能な開口部を有し、前記導通部材が前記電気接点の略前記開口部側に位置する。
他の実施態様によれば、前記導通部材は前記プロセスカートリッジの装着と連動して前記第一の位置から前記第二の位置に移動し、前記プロセスカートリッジの取り出しと連動して前記第二の位置から前記第一の位置に移動する。
他の実施態様によれば、更に、電子写真画像形成装置は、前記カートリッジ接点に給電および給電制御する電装部を有し、前記第二の位置において前記電装部と接続し前記電装部からの給電および給電制御が可能となる。
他の実施態様によれば、前記第一の位置において前記電気接点が電気的にどこにも接続していない状態であり、前記第二の位置において前記電気接点が前記電装部と接続し前記電装部からの給電および給電制御が可能となる。
他の実施態様によれば、前記プロセスカートリッジの装着と連動して前記第一の位置から前記第二の位置となり、前記プロセスカートリッジの取り出しと連動して前記第二の位置から前記第一の位置となる。
他の実施態様によれば、前記可動部材と、前記本体電気接点とは、前記軸線方向において並んで設けられている。
上記の本発明によれば、プロセスカートリッジを電子写真画像形成装置本体に装着した際に、前記プロセスカートリッジの有するカートリッジ接点と、前記画像形成装置本体に設けられた本体電気接点との電気接続の信頼性を向上させることができる。
ユーザーがジャム処理等を行うために、画像形成装置本体内で電気接点の近くに手を入れたときに、ユーザーの手が帯電していた場合でも、導通部材に放電する。よって、本体電気接点に影響を与えることを防止することができる。また、プロセスカートリッジを装着した状態においては、導通部材はアース接続を解除されている。この結果、装置本体の電気接点からカートリッジ接点への給電時において導通部材へのリーク等が発生することはなく電気接続の信頼性を向上させることが出来る。さらに、導通部材の動きをプロセスカートリッジの着脱動作と連動させることにより、導通部材を移動させるためにユーザーが特別な操作をする必要がない。
プロセスカートリッジを装着した状態においては、本体電気接点は給電可能な接続状態となっている。この結果、電気接続の信頼性を向上させることが出来る。さらに、電気接続を切り替える動きをプロセスカートリッジの着脱動作と連動させることにより、ユーザーが特別な操作をする必要がない。
以下、本発明に係るプロセスカートリッジ、画像形成装置、及び、電気接続機構を図面に則して更に詳しく説明する。ここで、以下に説明する実施例1〜3は請求項1〜12に係る発明に対応する実施例であり、実施例4〜7は請求項13〜19に係る発明に対応する実施例である。
(1)プロセスカートリッジの概略説明
先ず、図1を用いて、本発明の一実施例を適用したプロセスカートリッジB(以下、「カートリッジ」と称す。)について説明する。図1は、カートリッジBの断面図である。
図1において、カートリッジBは電子写真感光体ドラム(以下、「感光体ドラム」と称す)107を有する。感光体ドラム107は、図2に示すようにカートリッジBが電子写真画像形成装置(以下、「装置本体」と称す)Aに装着された際に、装置本体Aから駆動力を受けて回転する。
感光体ドラム107の外周面に対向配置して帯電部材としての帯電ローラ108が設けられる。帯電ローラ108は装置本体Aからの電圧印加によって、感光体ドラム107を帯電する。また、帯電ローラ108は、感光体ドラム107に接触して設けられており、感光体ドラム107と従動回転する。
カートリッジBが装置本体Aに装着された際、帯電ローラ108は、装置本体Aから電圧を受ける。帯電ローラ108は、この電圧によって作動して、感光体ドラム107を帯電する。
カートリッジBは、現像部材としての現像ローラ110を有する。現像ローラ110は、感光体ドラム107の現像領域へ現像剤tを供給する。そして、現像ローラ110は、前記現像剤tを用いて、感光体ドラム107に形成された静電潜像を現像する。この現像ローラ110は、マグネットローラ(固定磁石)111を内蔵している。
カートリッジBが装置本体Aに装着された際、現像ローラ110は、本体電気接点としての現像出力電気接点161(図11(b)参照)、及び、カートリッジ接点としての現像入力電気接点160(図8参照)を介して、装置本体Aから電圧を受ける。現像ローラ110は、この電圧によって作動して、前記静電潜像を現像する。
現像ローラ110の周面に当接して現像ブレード112が設けられる。現像ブレード112は、現像ローラ110の周面に付着する現像剤tの量を規定する。また、現像剤tに摩擦帯電電荷を付与する。
現像剤収納部114a内に収納された現像剤tを攪拌部材115の回転によって現像室113aへ送り出す。そして、前記電気接点160を介して電圧を印加された現像ローラ110が装置本体の駆動力を受け、回転する。これによって、現像ブレード112によって摩擦帯電電荷を付与した現像剤層を現像ローラ110の表面に形成する。そして、その現像剤tを潜像に応じて感光体ドラム107へ移転させる。これによって、前記潜像を現像する。
感光体ドラム107に形成された現像剤像は、転写ローラ104(図2)によって記録媒体102に転写される。
感光体ドラム107の外周面に対向して弾性クリーニングブレード117aが配置される。クリーニングブレード117aは、その先端が感光体ドラム107に当接している。そして、クリーニングブレード117aは、前記現像剤像を記録媒体102に転写後に感光体ドラム107に残留する現像剤tを除去する。クリーニングブレード117aによって感光体ドラム107表面から除去された現像剤tは、除去現像剤溜め117bに収納される。
カートリッジBは、現像ユニット119及びドラムユニット120にて一体に構成されている。
現像ユニット119は、カートリッジ枠体の一部である上枠体114と下枠体113によって構成されている。そして現像ユニット119は、現像ローラ110、現像ブレード112、現像室113a、現像剤収納室114a、及び、攪拌部材115を有する。そして、現像ユニット119には後述するように、現像入力電気接点が設けられている。
ドラムユニット120は、カートリッジ枠体の一部であるドラム枠体118によって構成されている。そして、ドラムユニット120は、感光体ドラム107、クリーニングブレード117a、除去現像剤溜め117b、及び、帯電ローラ108を有する。
また、図6を参照すると理解されるように、ドラムユニット120の長手方向一端120aには、カートリッジガイド140R1、140R2が設けられている。そして、図7に示すように、前記長手方向他端120bには、上記カートリッジガイド140L1、及び、他のカートリッジガイド140L2が設けられている。
また、現像ユニット119とドラムユニット120は、回動可能に結合されている。そして、感光体ドラム107に現像ローラ110が押圧している。
(2)電子写真画像形成装置の説明
図2を用いて、前述した装置本体AとカートリッジBを含む電子写真画像形成装置100について説明する。図2は、電子写真画像形成装置(以下、「画像形成装置」と称す。)100の構成図である。以下、画像形成装置100として、レーザービームプリンタを例に挙げて説明する。
画像形成時に、回転する感光体ドラム107の表面を帯電ローラ108によって一様に帯電する。次いで、レーザーダイオード、ポリゴンミラー、レンズ、反射ミラー(いずれも不図示)を有する光学手段101から画像情報に応じたレーザー光Lを感光体ドラム107へ照射する。これによって、感光体ドラム107に画像情報に応じた静電潜像を形成する。この潜像は、前述した現像ローラ110によって現像される。
一方、現像剤像の形成と同期して、カセット103aにセットした記録媒体102を送り出しローラ103b、搬送ローラ対103c、103dによって転写位置へ搬送する。転写位置には、転写手段としての転写ローラ104が配置されている。そしてこの転写ローラ104に電圧を印加する。これによって、感光体ドラム107上の現像剤像を記録媒体102に転写する。
現像剤像の転写を受けた記録媒体102は、ガイド103fを介して定着手段105へ搬送される。定着手段105は、駆動ローラ105c、及び、不図示のヒータを内蔵した定着ローラ105bを備えている。そして、通過する記録媒体102に熱及び圧力を印加して、現像剤像を記録媒体102に定着する。記録媒体102は、その後、ローラ対103g、103hで搬送され、トレイ106へ排出される。前記ローラ103b、搬送ローラ対103c、103d、ガイド103f、及び、ローラ対103g、103h等が記録媒体102の搬送手段103を構成する。
カートリッジBの装置本体Aに対する着脱は、次のように行われる。
図3に示すように、操作者によって、装置本体Aに設けられたドア109を開く。そして、カートリッジBを装置本体Aに設けたカートリッジ装着手段130に対して取り外し可能に装着する。
本実施例の装着手段130は、図4及び図5に示すように、装置本体Aに設けた、本体ガイド130R1、130R2、130L1、130L2を有する。カートリッジBを装置本体Aに装着する際は、カートリッジBが有するカートリッジガイド部としての、カートリッジガイド140R1、140R2(図6)を、本体ガイド130R1、130R2に沿って、また、同様に、カートリッジガイド部としての、カートリッジガイド140L1、140L2(図7)を本体ガイド130L1、130L2に沿って、カートリッジを装着する空間である、カートリッジ装着部130aに挿入する。
そして、カートリッジBは、カートリッジガイド140R1が本体ガイド130R1の位置決め部130R1aに嵌合して、また、カートリッジガイド140R2が本体ガイド130R2の位置決め部130R2aに当接し、及び、カートリッジガイド140L1が本体ガイド130L1の位置決め部130L1aに嵌合して、また、カートリッジガイド140L2が本体ガイド130L2の位置決め部130L2aに当接する。このように、装着手段130によって、カートリッジBは、カートリッジ装着部130aに取り外し可能に装着される。カートリッジBは、カートリッジ装着部130aに装着されることによって画像形成動作が可能となる。
カートリッジBが装着される際には、駆動力伝達部としてのカップリング134(図4)は退避しており、カートリッジBの装着に邪魔になることはない。カバー109を閉じると、駆動力受け部としてのカートリッジBのカップリング107a(図6)と、装置本体A側の前記カップリング134は連結する。そして、装置本体Aから、感光体ドラム107を回転させるための駆動力を受ける。
(3)プロセスカートリッジの電気接点機構
次に本発明に関わるプロセスカートリッジにおける電気接点機構の構成を説明する。
図8はカートリッジBが有する、現像電気接点配置を示す斜視図である。現像ユニット119が有する端部カバー部材121の一部にカートリッジ接点としての現像入力電気接点160が設けられている。そして、現像入力電気接点160は、装置本体Aとの接点部160aを有する。
図9は、カートリッジBの電気接点構成を説明する分解図であり、現像ローラ110への電気接点構成を説明する図である。図9(a)に示すように、現像ローラバネ122が固定されたフランジ123を、圧入などの手段により、現像ローラ110の端部に固定する。この時、現像ローラバネの一端122aは現像ローラ110の内面とフランジ123で挟み込まれ、現像ローラ110と現像ローラバネ122が、電気的に接続する。フランジ123は軸受124によって回転可能に保持される。また、図9(b)の方向から見ると理解できるように、現像入力電気接点部材160は、端部カバー部材121に固定される。更に軸受部材124の穴124aを端部カバー部材121の軸121aと嵌合させ、端部カバー部材121で軸受部材124を保持する事により、現像ローラ110を保持する構成となっている。そして、軸受部材124と現像入力電気接点部材160を、上枠体114(図7)と端部カバー部材121で挟み込んだ後、上枠体114と端部カバー部材121をビス止め等の手段により固定する。
上枠体114と端部カバー部材121を固定した状態では、現像ローラバネ122の他端であるコイルバネ部の先端122bと、カバー部材121に固定された入力電気接点160の接点部160b(図9(b))が接触し、電気的に接続する。その際は、コイルバネの弾性力により、現像ローラバネ122と入力電気接点160の間には、一定の接点圧が付勢されている。以上のような構成により、入力電気接点160と現像ローラ110が電気的に接続される。
次に、カートリッジBが有する係合部と、保持部について説明する。カートリッジBが有する係合部と保持部は、詳しくは後述するが、装置本体Aが有する係止部材と、同じく装置本体が有する可動部材を作動させるアクチュエータとしての働きを持つ。
図10はカートリッジBを示す斜視図である。ドラム枠体118には、前述したように、感光体ドラム107、帯電ローラ108、クリーニングブレード117aなどが組み込まれている。感光体ドラム107の一端はドラム軸139によって、回転可能に支持されている。ドラム軸139の周囲にはカートリッジBを装置本体Aに装着する時に支持される、カートリッジガイド140L1を有する。カートリッジガイド140L1の一部である当接部140L1aは、装置本体Aが有する可動部材と係合する第一の係合部としての機能を有する。また、カートリッジガイド140L1からドラム中心に向かって、放射状に形成されたリブ140L1bが設けられている。更に、カートリッジガイド140L1から端部カバー部材121に向けて延伸している延伸部141が設けられており、延伸部141の側面は係止部材を解除位置に保持する第一の保持部としての当接部141aを有している。すなわち、前記可動部材の動作の係止を解除した解除位置との間を移動可能な係止部材を解除位置に保持する第一の保持部が、プロセスカートリッジの長手方向における端部に設けられている。延伸部141の上面はカートリッジBを装置本体Aに装着する際にカートリッジの姿勢を規制する為の面141bを有している。また、ドラム枠体118には、下方に突出している突出部142を有する。突出部142は後述する装置本体Aが有する可動部材と係合する第二の係合部としての機能と、可動部材を露出位置に保持する第二の保持部としての機能を有する。
(4)装置本体の電気接点機構
次に本発明に関わる電子写真画像形成装置の構成を詳細に説明する。
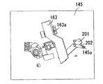
図11〜13は装置本体の構成を説明する斜視図である。図11(a)はカートリッジBを装着していない状態を示す図であり、図11(b)はカートリッジBを装着した状態でカートリッジBを不図示にした図である。図11(a)に示すように、装置本体AはカートリッジBを装着する為の本体ガイド130L1、130L2を有する。また、カートリッジBを画像形成位置に装着した際に、カートリッジBを固定する為の固定バネ143と、ドラム軸139(図10)に当接し、感光体ドラム107をアースに接続する為のアース接点144を有する。更に、本体電気接点としての現像出力電気接点161(図11(b))を覆う保護位置と現像出力電気接点161を露出させる露出位置との間を移動可能な可動部材162と、可動部材162の動作を係止する為の係止部材163を有する。
本体電気接点としての現像出力電気接点161には電源部(不図示)から所定の現像電圧が所定の制御タイミングで印加される。
可動部材162と係止部材163の構成について、更に詳細に説明する。図12に示すように、可動部材162は軸162aで回転可能に保持されており、可動部材162を図11(a)に示す保護位置に回転する方向にバネで付勢されている。該可動部材162は装置本体に装着されたカートリッジBの感光体ドラム107の軸線と平行な回転中心を有し、装置本体に対して回転可能に移動する。可動部材162を現像出力電気接点161を露出させる露出位置(図11(b))へ移動させるには、カートリッジBを装置本体Aへ装着させる事で行う。動作については、改めて後述するが、カートリッジBを装置本体Aへ装着する途中で、カートリッジBが有する第二の係合部としての突出部142(図10)と可動部材162の一部である係合部162bが係合する(図12)。カートリッジBを画像形成位置まで装着すると、カートリッジBが有する第二の保持部としての突出部142が、可動部材162の保持面162cを保持し、可動部材162を露出位置(図11(b))に保持する。それにより、可動部材162が有するスリット162dより、現像出力電気接点161が露出する事になる。また、内側板145の一部が切り欠かれており、その切り欠き部145aから可動部材162を係止する係止部材163の一部が突出している(図11(a))。ここで、突出部142は第一の係合部と第一の保持部の両方の機能を備えている。
図13は図11の反対側から見た図である。図13(a)において、係止部材163は軸163aで回転可能に保持されている。また、係止部材163は、図12に示すように、係止部材163が有する面163bと不図示の内側板145との間に第一の弾性部材としての弾性部材164が設けてられており、矢印a方向に付勢されている。それにより、図13(b)で理解されるように、係止部材163の係止部163cが可動部材162の下側に潜り込み、可動部材162が露出位置へ回転するのを防ぐ構成となっている。
(5)電気接点機構の動作の説明
次に電気接点機構の動作について詳細に説明する。図14〜16は、カートリッジBを装置本体Aに挿入(進入)する際の動作を説明する為の模式図である。
図14(a)、図15(a)、図16(a)は装着部130aから内側板145の設けられている方向へ向かって見た図(図11(a)の矢印Y方向から見た図)である。図14(b)、図15(b)、図16(b)は図14(a)、図15(a)、図16(aを矢印Z方向から見た図である。また、図14(a)、図15(a)、図16(a)は、理解し易くする為に、カートリッジBを破線で表現している。更に、可動部材162の一部を切り取って内部の現像出力電気接点161が見える状態にしている。
本体電気接点としての現像出力電気接点161は軸166に支持され、回動可能になっている。すなわち、該現像出力電気接点161は装置本体に装着されたカートリッジBの感光体ドラム107の軸線と平行な回転中心を有し、装置本体に対して回転可能に移動する。
そして、前記の可動部材162と前記本体電気接点としての現像出力電気接点161は前記の軸線方向にいて並んで設けられている。
図14(a)、(b)は、カートリッジBを装置本体Aに装着途中の状態を示す図である。可動部材162は現像出力電気接点161を覆う保護位置にあり、係止部材163は可動部材162を係止する係止位置にある。可動部材162は、第二の弾性部材としての弾性部材165によって、矢印b方向へ付勢されている(図14(a))。係止部材163は前述したように、弾性部材164によって、矢印a方向に付勢されている(図14(b))。図14(b)に示すように、係止部材163の係止部163cは、内側板145の切り欠きを通して、装着部130aの方向に突出しており、可動部材162の下方に潜り込み、可動部材162の回転を係止している。また、係止部材163の突出部163dも同様に装着部130aの方向に突出している。
図15(a)、(b)は、図14(a)、(b)よりカートリッジBを装置本体Aに進入させた状態を示す図である。カートリッジBの有する第二の係合部としての突出部142が、装置本体Aの有する可動部材162の有する係合部162bと係合した瞬間を示している(図15(a))。この時、係止部材の突出部163dは、カートリッジガイド140L1の一部であり、係止部材163と係合する第一の係合部としての係合部140L1aと係合し、係止部材163を軸163aを中心に矢印c方向へ回転させ、解除位置へ移動させる(図15(b))。解除位置では、係止部材163の係止部163cは可動部材162の回転を係止する位置から離れているので、可動部材162は回転可能な状態となる。弾性部材164は圧縮された状態で保持される。
図16(a)、(b)は、図15(a)、(b)より、更にカートリッジBを装置本体Aに進入させた状態を示す図である。係止部材163は、図15(a)、(b)と同じ姿勢で保持される。その際、カートリッジガイド140L1からドラム中心に向かって、放射状に形成されているリブ140L1bによって、係止部材163の姿勢が保たれている。また、可動部材162は突出部142に押されて、軸162aを中心に、弾性部材165の弾性力に抗して、矢印d方向へ回転していく。
図17(a)、(b)は、カートリッジBを画像形成位置まで装着させた状態を示す図である。カートリッジガイド140L1は、本体ガイド130L1の位置決め部130L1aに嵌合し、位置決めされている。また、カートリッジガイド140L1の上部は固定バネ143で固定される。係止部材163は、突出部163dを、カートリッジBの延伸部141(図10)が有する、第一の保持部としての当接部141aによって、保持される。更に、可動部材162は第二の保持部としての突出部142によって、現像出力電気接点161を露出させる露出位置に保持される。カートリッジBがこの位置まで装着されると、現像出力電気接点161の接点部161aと、現像入力接点160の接点部160aが接触し、装置本体A側の電源部とカートリッジBの電気的接続が成される。画像形成動作はこの状態で行われる。
つまり、本実施例によれば、次の効果を達成することができる。
1)画像形成装置本体AからプロセスカートリッジBを取り出した状態で操作者がジャム処理等を行うために手を画像形成装置本体A内に挿入した場合であっても、本体電気接点161が内側側面から装置本体Aの内側へ突出していないので該電気接点161に容易に触れることがない。これにより、該電気接点161に人の汗や本体内のグリス等が付着し、導通不良が発生することを防止できる。
2)可動作動部材の動きをカートリッジBの着脱動作と連動させることにより、電気接点を接触させるために操作者が特別な操作をする必要がない。
3)装置本体AからカートリッジBを取り外した状態で、可動部材162が本体電気接点露出位置へ移動するのを係止する係止部材163を設けている。つまり、操作者が出力電気接点161に触れる為には、係止部材163を解除位置に保持した状態で、可動部材162を本体電気接点露出位置へ移動させる必要がある。従って、ジャム処理等のメンテナンスのために、装置本体A内へ操作者が手を進入させたとしても、誤って出力電気接点161に触れる可能性が大幅に低減される。
4)第一の保持部としての面141aを、カートリッジBの位置決め部である、カートリッジガイド140L1から延伸している延伸部141に設けている為、面141aの位置がばらつかず、動作の安定性が確保される。
5)カートリッジBの側面で係止部材163を保持し、カートリッジBの下方への突出部142で可動部材162を本体電気接点露出位置へ移動させる構成により、カートリッジ挿入動作の中で、可動部材162の係止解除状態を保ち、確実に係止解除している状態で可動部材162を本体電気接点露出位置へ移動させる事が可能となり、動作の安定性が確保される。
6)可動部材162は装置本体に装着されたカートリッジBの感光体ドラム107の軸線と平行な回転中心を有し、装置本体に対して回転可能に移動する構成、本体電気接点としての現像出力電気接点161は装置本体に装着されたカートリッジBの感光体ドラム107の軸線と平行な回転中心を有し、装置本体に対して回転可能に移動する構成、および可動部材162と本体電気接点としての現像出力電気接点161は前記の軸線方向にいて並んで設けられている構成により、小スペースにできる。
次に、本発明の第二の実施例について説明する。本実施例2においても、カートリッジB及び画像形成装置100の構成は、前述した実施例1で説明したものと同様の構成とされる。従って、本実施例2では、前述した実施例1と異なる構成部分について説明し、同様の構成、機能を有する部材については同一の参照番号を付して先の実施例の説明を授用する。
(1)装置本体とカートリッジの構成
図18〜図20は本実施例の装置本体Aの係止部材と可動部材を説明する図である。
図18(a)は、装置本体AにカートリッジBを装着していない状態を示す図であり、図18(b)は、カートリッジBを装着した状態でカートリッジBを不図示にした図である。図18(a)に示す、カートリッジBを装着していない状態では、現像出力電気接点161は可動部材162に覆われており、図18(b)に示す、カートリッジBを装着した状態では、現像出力電気接点161は可動部材162から露出している。
実施例1の図11(a)、(b)で説明した構成と同様に、現像出力電気接点161、現像出力電気接点161を覆う可動部材162、可動部材162の動作を係止する係止部材163を有する。
本実施例においては、実施例1とは異なり、可動部材162や係止部材163と連動する解除部材200を有する。解除部材200は、図18(a)の状態では本体ガイド130L1の一部を構成する。また、可動部材162と係止部材163の保持構成も実施例1とは異なる。以下、詳しく説明する。
図19は図18を内側板145を挟んで、反対側から見た図である。図19においては、実施例1と同様に係止部材163が回転可能に保持されている。また、図18(a)、(b)に示した解除部材200、可動部材162を繋ぐリンク部材201と弾性部材202を有する。
図20は解除部材200と可動部材162の構成を説明する分解図である。本体ガイド130L1は解除部材200を回転可能に支持する為の軸130L1aを有している。更に解除部材200は軸200aを有し、リンク部材201の有する穴201aを回転可能に支持する。加えて、弾性部材202の一端は解除部材200の軸200aに掛けられており、弾性部材202の他端は内側板145の有する軸145a(図19)に掛けられている。また、リンク部材201は穴201bを有し、可動部材162が有する軸162dに回転可能に保持される。このような構成により、解除部材200と可動部材162が連結している。
図21は本実施例における、カートリッジBの斜視図である。実施例1と同様に、カートリッジガイド140L1、第一の係合部としてのカートリッジガイドの一部140L1aを有する。ドラム枠体119の下方に突出する突出部142も同様である。一方、延伸部141の側面は、カートリッジガイド140L1に対して、段をつけている。これにより、第一の実施例とは異なり、面141aは係止部材163を解除位置に保持する機能は有さない。
(2)電気接点機構の動作の説明
本実施例における電気接点機構の動作について詳細に説明する。図22〜図25は、カートリッジBを装置本体Aに挿入(進入)する際の動作を説明する為の模式図である。
図22(a)〜図25(a)は図18(a)の矢印Y方向から見た図である。図22(b)〜図25(b)は図18(a)の矢印Y2方向から見た図であり、図22(c)〜図25(c)は図22(b)に示す矢印Z2方向から見た図である。これは係止部材163の動きを理解する為の図となっている。
図22(a)〜(c)はカートリッジBを装置本体Aに装着途中の状態を示す図である。図22(a)に示すように、可動部材162は現像出力電気接点161を覆う保護位置にあり、係止部材163は可動部材162を係止する係止位置にある。また、図22(c)に示すように、係止部材163は弾性部材164によって、矢印a方向に付勢されている。更に、係止部材163は係止部163cが可動部材162を直接係止するのではなく、可動部材162と回転可能に繋がったリンク部材201を係止部163cによって係止する。一方、図22(b)に示すように、解除部材200は軸130L1aを中心に時計方向(矢印eの方向)へ回転しており、本体ガイド130L1の一部を形成する。また、弾性部材202も解除部材200を矢印e方向へ回転させる力が働くように設けられている。
図23(a)〜(c)は、図22よりカートリッジBを装置本体Aに進入させた状態を示す図である。カートリッジBの有する第一の係合部としての当接部140L1aと係止部材163の突出部163dが係合し、図23(c)に示すように、係止部材163を軸163aを中心に矢印c方向へ回転させ、解除位置へ移動させる。解除位置では、係止部材163の係止部163cはリンク部材201の移動を係止する位置から離れているので、可動部材162は回転可能な状態となる。まだこの状態では、図23(a)に示すように、可動部材162とドラム枠体の突出部142が当接していない為、解除部材200、リンク部材201の姿勢は図22と同じに保たれている(図23(b)。
図24(a)〜(c)は、図23より更にカートリッジBを装置本体Aに進入させた状態を示す図である。図24(a)に示すように、ドラム枠体の有する突出部142が可動部材162の係合部162dと係合しており、可動部材は矢印d方向に回転力を受けている。また、可動部材162の回転に伴い、図24(b)に示すように、リンク部材201が移動する。リンク部材201の移動により、解除部材200が軸130L1aを中心に矢印f方向に回転する。すると、図24(a)に示すように、解除部材200の一部が本体ガイド130L1から突出してくる。一方、図24(c)に示すように、リンク部材201の移動により、リンク部材201が有する受け面201aに係止部材163が有する当接面163dが係り始める。
図25(a)〜(c)は、カートリッジBを画像形成位置まで装着させた状態を示す図である。図25(a)において、可動部材162は、図24より更に矢印d方向に回転し、現像出力電気接点161を露出した状態にする。カートリッジBがこの位置まで装着されると、現像出力電気接点の接点部161aと現像入力接点160の接点部160aが接触し、装置本体AとカートリッジBの電気的接続が成される。画像形成はこの状態で行われる。また、解除部材200は図24より更に矢印f方向に図の位置まで回転する。図25(b)に示すように、可動部材162の回転で更にリンク部材201が移動する。解除部材200が図の位置まで移動すると、弾性部材202の掛かっている軸200aは解除部材200の回転軸130L1aより下側に来るので、弾性部材202は解除部材200を矢印f方向に回転する方向に力が働く。従って、実施例1とは異なり、図25(a)において、ドラム枠体の突出部142には、可動部材162の係合部162dの保持力は発生しない。更に、図25(c)に示すように、リンク部材201の受け面201aで係止部材の当接面163dを受ける事で、係止部材163が矢印a方向へ回転するのを規制している。従って、図21で示したドラム枠体の延伸部141が有する当接部141aでは係止部材163を保持する構成にはなっていない。
図26(a)、(b)は、カートリッジBを装置本体Aより、抜き出す動作を説明する図である。図26(a)に示すように、カートリッジBを抜き出す時は、カートリッジガイド140L1が本体ガイド130L1に案内される。既に説明したように、本体ガイド130L1に回転可能に支持された解除部材200は、本体ガイド130L1から突出している。ここで、カートリッジBを抜き出すと解除部材200とカートリッジガイド140L1は当接し、解除部材200は矢印g方向へ回転する。解除部材200が図26(a)の位置にある時は、可動部材162は現像出力電気接点161を露出させる露出位置にあり、係止部材163も解除位置を保たれている。この時の係止部材163とリンク部材201の関係は、図25(b)、(c)に示す状態である。すなわち、図25(c)に示すように、係止部材163の当接面163dとリンク部材201の受け面201aが当接している。
図26(b)は解除部材200がカートリッジガイド140L1と当接し、本体ガイド130L1に隠れた状態を示している。解除部材200は既に説明したリンク部材201を介して、可動部材162を矢印b方向へ回転させ、現像出力電気接点161を覆う保護位置に移動させる。解除部材200が図26(b)に示す位置に移動するのに伴って、係止部材163は係止位置へ移動する。この時の係止部材163とリンク部材201の関係は、図22(b)、(c)に示す状態である。すなわち、図22(c)に示すように、リンク部材201が上方に移動し、係止部材163の当接面163dとリンク部材201の受け面201aの当接が解除され、弾性部材164によって係止部材163が矢印a方向に回転し、係止部163cがリンク部材201の移動を係止する状態となる。
つまり、本実施例によれば、次の効果を達成することができる。
1)画像形成装置本体AからプロセスカートリッジBを取り出した状態で操作者がジャム処理等を行うために手を画像形成装置本体内に挿入した場合であっても、本体電気接点161が内側側面から装置本体Aの内側へ突出していないので該電気接点161に容易に触れることがない。これにより、該電気接点161に人の汗や本体内のグリス等が付着し、導通不良が発生することを防止できる。
2)可動作動部材の動きをカートリッジBの着脱動作と連動させることにより、電気接点を接触させるために操作者が特別な操作をする必要がない。
3)装置本体AからカートリッジBを取り外した状態で、可動部材162が本体電気接点露出位置へ移動するのを係止する係止部材163を設けている。つまり、操作者が本体電気接点161に触れる為には、係止部材163を解除位置に保持した状態で、可動部材162を本体電気接点露出位置へ移動させる必要がある。従って、ジャム処理等のメンテナンスのために、装置本体A内へ操作者が手を進入させたとしても、誤って出力電気接点161に触れる可能性が大幅に低減される。
4)可動部材162は装置本体に装着されたカートリッジBの感光体ドラム107の軸線と平行な回転中心を有し、装置本体に対して回転可能に移動する構成、本体電気接点としての現像出力電気接点161は装置本体に装着されたカートリッジBの感光体ドラム107の軸線と平行な回転中心を有し、装置本体に対して回転可能に移動する構成、および可動部材162と本体電気接点としての現像出力電気接点161は前記の軸線方向にいて並んで設けられている構成により、小スペースにできる。
次に、本発明の第三の実施例について説明する。本実施例3においても、カートリッジB及び画像形成装置100の構成は、実施例1、2で説明したものと同様の構成とされる。従って、本実施例では、前述した実施例と異なる構成部分について説明し、同様の構成、機能を有する部材については同一の参照番号を付して先の実施例1、2の説明を授用する。
図27は、本実施例の画像形成装置100を示す断面模式図である。実施例1、2と同様の方向から見た図(図18(a)の矢印Y方向から見た図)となっている。
カートリッジBは、カートリッジガイド140L1を本体ガイド130L1に支持され、本体ガイド130L1に沿って挿入される。図27(a)は可動部材162が現像出力電気接点161を覆う保護位置にあり、係止部材163で係止されている状態を示している。係止部材163は係止部163cによって、可動部材162が矢印d方向へ回転するのを係止している。係止部材163は弾性部材203によって、軸204を中心に矢印h方向へ回転力を付勢されている。また、可動部材161は弾性部材165によって、矢印b方向に回転力を付勢されている。
図27(b)はカートリッジBを画像形成位置まで装着させた状態を示す図である。まず、係止部材163が有する係合部163dとカートリッジBが有する突出部142が係合し、係止部材163が矢印i方向へ回転する。カートリッジBが画像形成位置にある(図27(b))時は、係合部163dと突出部142は当接したままで、保持されている。よって、本実施例においては、突出部142は第一の係合部と第一の保持部としての機能を有する。
係止部材163が矢印i方向へ回転する事で、係止状態が解除された可動部材162は、カートリッジBのが有する係合部205と、可動部材162が有する当接面162cが係合し、係合部205が可動部材162をそのまま保持する構成となっている。よって、係合部205は第二の係合部及び、第二の保持部としての機能を有し、当接面162cは第二の保持部に保持される面となる。カートリッジBがこの位置まで装着されると、現像出力電気接点の接点部161aと現像入力接点160の接点部160aが接触し、装置本体AとカートリッジBの電気的接続が成される。画像形成はこの状態で行われる。カートリッジBを装置本体Aから取り出すと、可動部材162と係止部材163は、図27(a)に示す位置に戻り、可動部材162は保護位置に、係止部材163は係止位置にそれぞれ戻る。
図28は、画像形成位置における可動部材162と係止部材163を説明する斜視図である。カートリッジBが有する突出部142と係止部材163が有する係合部163dが当接し、突出部142によって係合部163dが保持されている。また、カートリッジBが有する係合部205と可動部材162が有する当接面162cが当接し、係合部205によって当接面162cが保持されている。この状態で現像出力電気接点161と現像入力電気接点160aが接触し、装置本体AとカートリッジBの電気的接続が成される。
以上のような構成により、実施例2と同様な効果が得られる。
1)画像形成装置本体AからプロセスカートリッジBを取り出した状態で操作者がジャム処理等を行うために手を画像形成装置本体内に挿入した場合であっても、本体電気接点161が内側側面から装置本体Aの内側へ突出していないので該電気接点161に容易に触れることがない。これにより、該電気接点161に人の汗や本体内のグリス等が付着し、導通不良が発生することを防止できる。
2)可動作動部材の動きをカートリッジBの着脱動作と連動させることにより、電気接点を接触させるために操作者が特別な操作をする必要がない。
3)装置本体AからカートリッジBを取り外した状態で、可動部材162が本体電気接点露出位置へ移動するのを係止する係止部材163を設けている。つまり、操作者が出力電気接点161に触れる為には、係止部材163を解除位置に保持した状態で、可動部材162を本体電気接点露出位置へ移動させる必要がある。従って、ジャム処理等のメンテナンスのために、装置本体A内へ操作者が手を進入させたとしても、誤って本体電気接点161に触れる可能性が大幅に低減される。
4)可動部材162は装置本体に装着されたカートリッジBの感光体ドラム107の軸線と平行な回転中心を有し、装置本体に対して回転可能に移動する構成、本体電気接点としての現像出力電気接点161は装置本体に装着されたカートリッジBの感光体ドラム107の軸線と平行な回転中心を有し、装置本体に対して回転可能に移動する構成、および可動部材162と本体電気接点としての現像出力電気接点161は前記の軸線方向にいて並んで設けられている構成により、小スペースにできる。
次に、本発明の第四の実施例について説明する。
(電子写真画像形成装置の全体構成およびプロセスカートリッジ構成)
プロセスカートリッジを電子写真画像形成装置本体に着脱可能に装着する電子写真画像形成装置の全体構成概略およびプロセスカートリッジ構成について図33および図34を参照して説明する。
図33は電子写真画像形成装置(本実施例においては、レーザービームプリンタ)の概略構成断面図、図34は着脱可能なプロセスカートリッジおよび電気接点部の概略構成断面図である。
まず、図33を参照して、シート材Sの流れに沿って概略的な構成を説明する。レーザービームプリンタEは電子写真方式によって画像を形成するものであり、給紙搬送手段によってシート材Sを画像形成手段へ搬送してトナー像を転写し、そのシート材Sを定着手段へ搬送してトナー定着したあと、排出部へと排出するものである。具体的には、装置下部にシート材Sを積載収納するカセット111が装填されている。シート材給送部1内のカセット111内に積載収納されているシート材Sが、反時計回り方向に回転する給紙ローラ112によって最上位のシートから順に繰り出され、搬送ローラ対113、114により画像形成部2に送られる。画像形成部2ではレーザースキャナー121によって、画像情報に応じたレーザー光を時計回り方向に回転している感光体151上に照射され、感光体151上には静電潜像が形成される。この静電潜像はプロセスカートリッジP内の現像部にてトナー現像される。そのトナー現像画像が転写ローラ124によりシート材Sに未定着画像として転写され、そのシート材Sが定着部3に送られてくる。定着部3を通過して定着処理を終えたシート材Sは排紙搬送ローラ対133により搬送され排出される。4は装置の電源部および、装置を制御する制御基板を有する電装部である。
シート材Sの表裏両面印字時について説明する。シート材Sの両面に記録を行う場合には、前記定着部3を通過して表面側に画像記録されたシート材Sを排紙搬送ローラ対133の逆転駆動および搬送ローラ131によりスイッチバックすることで搬送ローラ対141、142により再度画像形成部2に搬送してシート材S裏面側に画像記録を行った後に排出される。
図34を参照して、プロセスカートリッジPは感光体151を回転し、その表面を帯電手段である帯電ローラ152への電圧印加によって一様に帯電する。電圧印加は装置本体側の電装部4より帯電接点125を介しプロセスカートリッジ側の帯電接点153、帯電ローラ152へと給電される。次いでレーザースキャナー121からの画像情報に応じたレーザー光Lを感光体151へ照射して潜像を形成する。そしてこの潜像をトナーを用いて現像手段によって現像する。
さらに説明すると、帯電ローラ152は感光体151に接触して設けられており、感光体151に帯電を行う。この帯電ローラ152は、感光体151に従動回転する。また、現像手段は、感光体151の現像領域へトナーを供給して、感光体151に形成された潜像を現像する。
上記現像手段は、トナー収納容器154内のトナーを攪拌部材155の回転によって現像室156に送り出す。そして、マグネットローラ(固定磁石)を内蔵した現像ローラ157を回転させるとともに、現像ブレード158によって摩擦帯電電荷を付与したトナー層を現像ローラ157の表面に形成する。現像ローラ157に電圧印加し、そのトナーを潜像に応じて感光体151へ転移させることによってトナー像を形成して可視像化する。電圧印加は装置本体側の電装部4より現像接点126を介しプロセスカートリッジ側の現像接点158、現像ローラ157へと給電される。現像ブレード158は、現像ローラ157の周面のトナー量を規定すると共に摩擦帯電電荷を付与するものである。
転写ローラ124によってトナー像をシート材Sに転写した後の感光体151は、クリーニング手段によって感光体151上に残留したトナーを除去した後、次の画像形成プロセスに供される。クリーニング手段は、感光体151に当接して設けられた弾性クリーニングブレード159によって感光体151上の残留トナーを掻き落として廃トナー溜め160へと集める。
プロセスカートリッジPの表面には情報記憶媒体であるメモリタグ6が取り付けられており、装置本体側のコネクタ7に設けられている本体電気接点71と電気的接続を行い、通信を行っている。
161はドラムシャッタであり、プロセスカートリッジPが装置本体側から外されている非装着時にはドラム保護のために感光体151の露出下面を覆って隠蔽した閉じた状態に保持されている。装置本体に装着されると、図33・図34のように感光体151の下面を露出させた開き状態に保持される。
次にプロセスカートリッジ枠体について説明する。図34に示すように、感光体151や帯電ローラ152よび弾性クリーニングブレード159等のクリーニング手段は、カートリッジ枠体の一つであるドラム枠体162に取付けられ、一体的な感光体ユニットを構成している。一方、現像手段ユニットはトナーを収容しているトナー収納容器154と、現像ローラ157や現像ブレード158を保持する現像枠体164により構成される。そして、感光体ユニットと現像手段ユニットをピン結合(不図示)によって互いに回動可能に結合することによってプロセスカートリッジPを構成する。
(プロセスカートリッジの着脱構成および装着部)
プロセスカートリッジPの着脱ガイド、装着部構成について図35〜図39を参照して説明する。図35はプロセスカートリッジ着脱の際にカートリッジアクセスドアを開けた状態の装置本体概略斜視図、図36、37は装置本体のプロセスカートリッジ装着手段部斜視図、図38、39はプロセスカートリッジ略斜視図である。
プロセスカートリッジPは装置本体EのカートリッジアクセスドアD(図35)を開いてユーザーによって装置本体Eに設けたカートリッジ装着手段部に対して取り外し可能に装着される。
まず、プロセスカートリッジP側に設けられたガイド部材等を説明する。プロセスカートリッジPの両外側面の略円筒部190、192(図38、39)の外径によりプロセスカートリッジ側のガイド部材が構成される。また、装置本体に装着した際の上方向位置でかつ両端部にそれぞれ回転規制当接部である191、193が設けられている。
次に、装置本体E側に設けられたガイド部材について説明する。装置本体E側のガイド部材は181〜189(図36、37)で構成される。ガイド部材181、186はプロセスカートリッジPの装着方向に対して斜設して構成されており、このガイド部材181、186はガイド部185、189にそれぞれつながり、プロセスカートリッジPのガイド部192、190がそれぞれ挿入されてくる。また、ガイド部材183、182、187も同様にプロセスカートリッジP装着方向に対して斜設して構成されており、プロセスカートリッジPの回転規制当接部193、191がそれぞれ挿入される。またドラムシャッタ161は円筒部197(図39)が装置本体Eガイド部182、184に沿ってガイドされることで開閉する。
またプロセスカートリッジPが有する係合部194と保持部195は、詳しく後述するが、装置本体Eが有する係止部材と、同じく装置本体Eが有する可動部材を作動させる働きをもつ。
(電気接点構成機構)
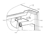
次に電子写真画像形成装置本体の電気接点構成を詳細に説明する。図40〜42は装置本体の構成を説明する斜視図であり、カートリッジ着脱のための開口部より装置本体の内部を見た時の図である。図40はプロセスカートリッジPを装着していない状態を示す図であり、図41はカートリッジPを装着した状態でカートリッジPを不図示にした図である。図40に示すように、装置本体はカートリッジPを装着する為の本体ガイド186、187を有する。また、カートリッジPを画像形成位置に装着した際に、カートリッジPを固定する為の固定バネ188と、ドラム軸196(図38)に当接し、感光体ドラム151をアースに接続する為のアース接点201を有する。更に、装置本体側の電気接点としての現像出力電気接点126(図40(破線))を覆う保護位置(図40)と電気接点126を露出させる露出位置(図41)との間を移動可能な可動部材202と、可動部材202の動作を係止する為の係止部材203(図42)と、可動部材202に取り付けられ可動部材202と共に移動可能な導通部材204とを有する。
導通部材204は電気接点126に隣接した位置に配置されている。装置本体の開口部から装置本体内を見た時に導通部材204は電気接点126の手前側に位置し、互いに近接するように設けられている。
また、シート材Sの搬送路を構成する搬送ガイド下205と搬送ガイド上206(図40、41において破線表示)とを有し、これらは常時アース接続されている。さらに、装置本体の開口部から装置本体内を見た時に電気接点126の奥側に位置する内側板207もアース接続されている。
可動部材202、導通部材204と係止部材203の構成について、更に詳細に説明する。図42に示すように、可動部材202は軸202aで回転可能に保持されており、可動部材202を図40に示す保護位置に回転する方向にバネで付勢されている。この可動部材202に導通部材204は取り付けられている。可動部材202および導通部材204を電気接点126を露出させる露出位置(図41)へ移動させるには、カートリッジPを装置本体Eへ装着させる事で行う。動作については、改めて後述するが、カートリッジPを装置本体Eへ装着する途中で、カートリッジPが有する係合部194(図38)と可動部材202の一部である係合部202bが係合する(図40)。カートリッジPを画像形成位置まで装着すると、カートリッジPが有する係合部194が、可動部材202の保持面202cを保持し、可動部材202および導通部材204を露出位置(図41)に保持する。それにより、可動部材202が有するスリット202dより、電気接点126が露出する事になる。また、内側板207の一部が切り欠かれており、その切り欠き部207aから可動部材202を係止する係止部材203の一部203bが突出している(図42)。 図42は図40の反対側から見た図である。図42(a)において、係止部材203は軸203aで回転可能に保持されている。また、係止部材203は内側板207との間に弾性部材としての弾性部材(不図示)が設けてられており、矢印a方向に付勢されている。それにより、図42(b)で理解されるように、係止部材203の係止部203bが可動部材202の下側に潜り込み、可動部材202が露出位置へ回転するのを防ぐ構成となっている。
(電気接点構成機構の動作説明)
次に電気接点機構の動作について詳細に説明する。図29〜32は、カートリッジPを装置本体Eに挿入(進入)する際の動作を説明する為の模式図である。
図29(a)、図30(a)、図31(a)、図32(a)は装置本体Eのガイド部材181、182側から内側板145の設けられている方向へ向かって見た図(図40の矢印Y方向から見た図)である。図29(b)、図30(b)、図31(b)、図32(b)は図29(a)、図30(a)、図31(a)、図32(a)を矢印Z方向から見た図である。また、図29(a)、図30(a)、図31(a)、図32(a)は、理解し易くする為に、カートリッジPを破線で表現している。更に、可動部材202、導通部材204の一部を切り取って内部の現像出力電気接点126が見える状態にしている。図29〜図32の(b)図において理解しやすくするために、導通部材204はハッチングで示す。現像出力電気接点126は軸208に支持され、回動可能になっている。
図29(a)、(b)は、カートリッジPを装置本体Eに装着途中あるいは装着前の状態を示す図である。可動部材202および導通部材204は現像出力電気接点126を覆う保護位置にあり、係止部材203は可動部材202を係止する係止位置にある。導通部材204のバネ部204aが搬送ガイド下205の導通部材突き当て部205aに付勢されていることで、導通部材204はアース接続されている。バネ部204aがたわむことで所定の接点圧を得ている。可動部材202は、弾性部材209によって、矢印b方向へ付勢されている。係止部材203は前述したように、弾性部材(不図示)によって、矢印a方向に付勢されている。図42に示すように、係止部材203の係止部203bは、内側板207の切り欠き部を通して、装置本体内側の方向に突出しており、可動部材202の下方に潜り込み、可動部材202および導通部材204の回転を係止している。
上記の構成において、カートリッジPの挿入前にユーザーの帯電した手が電気接点126付近に近づいた場合には導通部材204に静電気は放電し、電気接点126には放電しない。
図30(a)、(b)は、図29(a)、(b)よりカートリッジPを装置本体Eに進入させた状態を示す図である。カートリッジPの有する係合部194が、装置本体Eの可動部材202が有する係合部202bと係合した瞬間を示している(図30(a))。この時、係止部材203の突出部203cはカートリッジPのガイド部190の端面で押される。この結果、係止部材203を軸203a中心に矢印c方向へ回転させ、解除位置へ移動させる(図30(b))。解除位置では、係止部材203の係止部203bは可動部材202の回転を係止する位置から離れているので、可動部材202は回転可能な状態となる。係止部材203を付勢する弾性部材は圧縮された状態で保持される。
図31(a)、(b)は、図2(a)、(b)より、更にカートリッジPを装置本体Eに進入させた状態を示す図である。係止部材203は、図30(a)、(b)と同じ姿勢で保持される。その際、カートリッジPのガイド部190の端面によって、係止部材203の姿勢が保たれている。また、可動部材202は係合部194に押されて、軸202aを中心に、弾性部材209の弾性力に抗して、矢印d方向へ回転していく。
図32(a)、(b)は、カートリッジPを画像形成位置まで装着させた状態を示す図である。ガイド部190は、装置本体のガイド部の位置決め部189に嵌合し、位置決めされている。また、ガイド部190の上部は固定バネ188で固定される。係止部材203は、突出部203cを、カートリッジPの保持部195(図38)によって、保持される。更に、可動部材202および導通部材204は係合部194によって、現像出力電気接点126を露出させる露出位置に保持される。この時には導通部材204のバネ部204aが搬送ガイド下205の導通部材突き当て部205aからは離れることでアース接続は解除される。カートリッジPがこの位置まで装着されると、現像出力電気接点126と、カートリッジ接点158が接触し、装置本体EとカートリッジPの電気的接続が成される。画像形成動作はこの状態で行われる。現像出力電気接点126とカートリッジ接点158との電気的接続時には装置本体側の電源部(不図示)から数キロボルトの高圧が印加される。この現像出力電気接点126と導通部材204は近接しているが、導通部材204が搬送ガイド下205(アース接続されている)から確実に離間している。
つまり、本実施例によれば、次の効果を達成することができる。
1)プロセスカートリッジが画像形成装置本体に装着されていない状態で、ユーザーが画像形成装置本体をプロセスカートリッジを装着する姿勢で見たときに、電気接点126が導通部材204のすぐ背面になる。したがって、ユーザーがジャム処理等を行うために、画像形成装置本体内で電気接点126の近くに手を入れたときに、ユーザーの手が帯電していた場合でも、導通部材204に放電する。よって、画像形成装置本体の電気接点126に静電ノイズが印加されることがない。よって、電気回路上の素子に影響を与えること抑えることができる。
2)また、プロセスカートリッジを装着した状態においては、導通部材204はアース接続を解除され、アース接続されている部材からは確実に離れている。この結果、装置本体の電気接点からカートリッジ接点への給電時において電気接続の信頼性を向上させることが出来る。
3)さらに、導通部材の動きをプロセスカートリッジの着脱動作と連動させることにより、導通部材を移動させるためにユーザーが特別な操作をする必要がない。
次に、本発明の第五の実施例について説明する。構成において実施例4で説明したものと同じ構成には同一の符号を示す。また、実施例4と同様の構成および機能についての説明は省略し、本実施形態の特徴部分についてのみ説明する。
(電気接点構成および動作説明)
本実施例の電気接点構成およびその動作について詳細に説明する。図43、図44は、カートリッジPを装置本体Eに挿入(進入)する際の模式図である。
図43(a)、図44(a)は装置本体Eのガイド部材181、182側から内側板145の設けられている方向へ向かって見た図(図40の矢印Y方向から見た図)である。図43(b)、図44(b)は図43(a)、図44(a)を矢印Z方向から見た図である。また、図43(a)、図44(a)において、理解し易くする為に、カートリッジPを破線で表現している。更に、可動部材202の一部、電気接点126のコイル部((b)図)を切り取って内部の現像出力電気接点126が見える状態にしている。現像出力電気接点126は軸208に支持され、回動可能になっている。連結接点バネ210は電装部4に接続している(不図示)。
図43(a)、(b)は、カートリッジPを装置本体Eに装着途中あるいは装着前の状態を示す図である。可動部材202はカートリッジ未装着位置にあり、係止部材203は可動部材202を係止する係止位置にある。電気接点126のアース部126a、接続部126bは可動部材202の引っ掛け部202eにかけられている。可動部材202は、弾性部材209によって、矢印b方向へ付勢されている。この結果、電気接点126のアース部126aが搬送ガイド下205の突き当て部205aに付勢されることで、電気接点126はアース接続されている。係止部材203は前述したように、弾性部材(不図示)によって、矢印a方向に付勢されている。図42に示すように、係止部材203の係止部203bは、内側板207の切り欠き部を通して、装置本体内側の方向に突出しており、可動部材202の下方に潜り込み、可動部材202および導通部材204の回転を係止している。
上記の構成において、カートリッジPの挿入前にユーザーの帯電した手が電気接点126付近に近づいた時、電気接点126に静電気が放電した場合にはアースに落ちることで電装部4に印加されることはない。
図44(a)、(b)は、カートリッジPを画像形成位置まで装着させた状態を示す図である。カートリッジ挿入途中の可動部材202、係止部材203の動きは実施例4と同様であるために省略する。ガイド部190は、装置本体のガイド部の位置決め部189に嵌合し、位置決めされている。また、ガイド部190の上部は固定バネ188で固定される。係止部材203は、突出部203cを、カートリッジPの保持部195(図38)によって、保持される。更に、可動部材202は係合部194によって、カートリッジ装着位置に保持される。また、電気接点126のアース部126a、接続部126bは可動部材202の引っ掛け部202eから離間する。この時に、電気接点のアース部126aが搬送ガイド下205の突き当て部205aからは離れることでアース接続は解除される。また、電気接点の接続部126bが連結接点バネ210の接続部210aと接続する。カートリッジPがこの位置まで装着されると、現像出力電気接点126と、カートリッジ接点158が接触し、電気接点の接続部126bと連結接点バネ210の接続部210aとが接続され、装置本体EとカートリッジPの電気的接続が成される。画像形成動作はこの状態で行われる。現像出力電気接点126とカートリッジ接点158との電気的接続時には数キロボルトの高圧が印加される。この時、電気接点のアース部126aは搬送ガイド下205の突き当て部205a(アース接続されている)から確実に離間している。 つまり、本実施例によれば、次の効果を達成することができる。
1)プロセスカートリッジが画像形成装置本体に装着されていない状態では、電気接点126はアース接続されている。したがって、ユーザーがジャム処理等を行うために、画像形成装置本体内で電気接点126の近くに手を入れたときに、ユーザーの手が帯電していた場合でも、装置本体の電気接点126に静電ノイズが印加される。しかし、アース接続されているために、電気回路上には印加されず電気回路上に与える影響を抑えることができる。
2)また、プロセスカートリッジを装着した状態においては、電気接点126は連結接点バネ210と接続することで装置本体の電装部4と接続される。また、電気接点126はアース接続を解除され、アース接続されている部材からは確実に離れている。この結果、装置本体の電気接点からカートリッジ接点への給電時において電気接続の信頼性を向上させることが出来る。
3)さらに、プロセスカートリッジの着脱動作と連動させることにより、電気接続の切り替えを行うためにユーザーが特別な操作をする必要がない。
次に、本発明の第六の実施例について説明する。構成において実施例4で説明したものと同じ構成には同一の符号を示す。また、実施例4と同様の構成および機能についての説明は省略し、本実施形態の特徴部分についてのみ説明する。
(電気接点構成および動作説明)
本実施例の電気接点構成およびその動作について詳細に説明する。図45、図46は、カートリッジPを装置本体Eに挿入(進入)する際の模式図である。
図45(a)、図46(a)は装置本体Eのガイド部材181、182側から内側板145の設けられている方向へ向かって見た図(図40の矢印Y方向から見た図)である。図45(b)、図46(b)は図45(a)、図46(a)を矢印Z方向から見た図である。また、図45(a)、図46(a)は、理解し易くする為に、カートリッジPを破線で表現している。現像出力電気接点126は軸208に支持され、回動可能になっている。連結接点バネ210は電装部4に接続している(不図示)。
図45(a)、(b)は、カートリッジPを装置本体Eに装着途中あるいは装着前の状態を示す図である。可動部材202はカートリッジ未装着位置にあり、係止部材203は可動部材202を係止する係止位置にある。連結接点バネ210の接続部210aは可動部材202の引っ掛け部202eにかけられている。可動部材202は、弾性部材209によって、矢印b方向へ付勢されている。この結果、連結接点バネ210の接続部210aが電気接点126の接続部126bから離間することで、電気接点126は電気的に浮いた状態である。係止部材203は前述したように、弾性部材(不図示)によって、矢印a方向に付勢されている。図42に示すように、係止部材203の係止部203bは、内側板207の切り欠き部を通して、装置本体内側の方向に突出しており、可動部材202の下方に潜り込み、可動部材202および導通部材204の回転を係止している。
上記の構成において、カートリッジPの挿入前にユーザーの帯電した手が電気接点126付近に近づいた場合には、電気接点126は電気的に浮いているために、電気接点126に静電気が放電されることはない。この結果、電装部4に印加されることはない。
図46(a)、(b)は、カートリッジPを画像形成位置まで装着させた状態を示す図である。カートリッジ挿入途中の可動部材202、係止部材203の動きは実施例4と同様であるために省略する。ガイド部190は、装置本体のガイド部の位置決め部189に嵌合し、位置決めされている。また、ガイド部190の上部は固定バネ188で固定される。係止部材203は、突出部203cを、カートリッジPの保持部195(図38)によって、保持される。更に、可動部材202は係合部194によって、カートリッジ装着位置に保持される。また、連結接点バネ210の接続部210aは可動部材202の引っ掛け部202eから離間する。この時には電気接点の接続部126bが連結接点バネ210の接続部210aと接続する。カートリッジPがこの位置まで装着されると、現像出力電気接点126と、カートリッジ接点158が接触し、電気接点の接続部126bと連結接点バネ210の接続部210aとが接続され、装置本体EとカートリッジPの電気的接続が成される。画像形成動作はこの状態で行われる。現像出力電気接点126とカートリッジ接点158との電気的接続時には数キロボルトの高圧が印加される。この時、電気接点126の近傍にアース接続されている部材は存在しない。
つまり、本実施例によれば、次の効果を達成することができる。
1)プロセスカートリッジが画像形成装置本体に装着されていない状態では、電気接点126は電気的に浮いた状態である。したがって、ユーザーがジャム処理等を行うために、画像形成装置本体内で電気接点126の近くに手を入れたときに、ユーザーの手が帯電していた場合でも、装置本体の電気接点126に静電ノイズが印加されことはないために、電気回路上には印加されず電気回路上の素子に影響を与えることを抑えることができる。
2)また、プロセスカートリッジを装着した状態においては、電気接点126は連結接点バネ210と接続することで装置本体の電装部4と接続される。この結果、装置本体の電気接点からカートリッジ接点への給電時において電気接続の信頼性を向上させることが出来る。
3)さらに、プロセスカートリッジの着脱動作と連動させることにより、電気接続の切り替えを行うためにユーザーが特別な操作をする必要がない。
ここで、前述した実施例1〜6では電気接点として現像接点を例示したが、プロセスカートリッジと装置本体間のその他の電気接点部、例えば帯電接点部、メモリ(記憶素子)電気接点部においても上述構成を適応しうることは明らかである。
また、前述した実施例では電子写真画像形成装置としてレーザービームプリンタを例示したが、電子写真画像形成プロセスを用いて、記録紙、OHPシート、布等の記録媒体に画像を形成する装置であり、例えば、電子写真複写機、電子写真プリンタ(例えば、LEDプリンタ、レーザービームプリンタ等)、電子写真ファクシミリ装置、および電子写真ワードプロセッサー等の他の画像形成装置においても上述構成を適用しうることは明らかである。
実施例1におけるプロセスカートリッジの断面図である。 実施例1における画像形成装置の構成を示す図である。 画像形成装置の斜視図である。 プロセスカートリッジを装着する為の装置本体の装着部を示す図(その1)である。 プロセスカートリッジを装着する為の装置本体の装着部を示す図(その2)である。 プロセスカートリッジの斜視図(その1)である。 プロセスカートリッジの斜視図(その2)である。 プロセスカートリッジの電気接点配置を示す斜視図である。 プロセスカートリッジの電気接点構成を説明する分解図である。 プロセスカートリッジを示す斜視図である。 画像形成装置本体の電気接点構成を示す斜視図(その1)である。 画像形成装置本体の電気接点構成を示す斜視図(その2)である。 画像形成装置本体の電気接点構成を示す斜視図(その3)である。 電気接点機構の動作を説明する図(その1)である。 電気接点機構の動作を説明する図(その2)である。 電気接点機構の動作を説明する図(その3)である。 電気接点機構の動作を説明する図(その4)である。 画像形成装置本体の電気接点構成を示す斜視図である。 実施例2における画像形成装置本体の電気接点構成を示す斜視図である。 画像形成装置本体の電気接点構成を説明する分解図である。 プロセスカートリッジを示す斜視図である。 電気接点機構の動作を説明する図(その1)である。 電気接点機構の動作を説明する図(その2)である。 電気接点機構の動作を説明する図(その3)である。 電気接点機構の動作を説明する図(その4)である。 電気接点機構の動作を説明する図(その5)である。 実施例3における電気接点機構の構成と動作を説明する図である。 電気接点機構の構成を説明する斜視図である。 実施例4においてプロセスカートリッジを装置本体に挿入する際の模式図(その1)である。 プロセスカートリッジを装置本体に挿入する際の模式図(その2)である。 プロセスカートリッジを装置本体に挿入する際の模式図(その3)である。 プロセスカートリッジを装置本体に挿入する際の模式図(その4)である。 電子写真画像形成装置(レーザービームプリンタ)の概略構成断面図である。 着脱可能なプロセスカートリッジおよび電気接点部の概略構成断面図である。 プロセスカートリッジ着脱の際にカートリッジアクセスドアを開けた状態の装置本体概略斜視図である。 装置本体のプロセスカートリッジ装着手段部の斜視図(その1)である。 装置本体のプロセスカートリッジ装着手段部の斜視図(その2)である。 プロセスカートリッジ略斜視図(その1)である。 プロセスカートリッジ略斜視図(その2)である。 装置本体の電気接点機構部の略斜視図(カートリッジ未装着時)である。 装置本体の電気接点機構部の略斜視図(カートリッジ装着時)である。 図40の反対側から見た図である。 実施例5においてプロセスカートリッジを装置本体に挿入する際の模式図(その1)である。 プロセスカートリッジを装置本体に挿入する際の模式図(その2)である。 実施例6においてプロセスカートリッジを装置本体に挿入する際の模式図(その1)である。 プロセスカートリッジを装置本体に挿入する際の模式図(その2)である。
符号の説明
図1〜図28において:
A・・電子写真画像形成装置本体、B・・プロセスカートリッジ、101・・光学手段、102・・記録媒体、103・・搬送手段、104・・転写ローラ、105・・定着ローラ(定着手段)、106・・排紙トレイ、107・・感光体ドラム、108・・帯電ローラ、109・・カートリッジドア、110・・現像ローラ、113・・下枠体、113a・・現像室、114・・上枠体、117・・クリーニングブレード、118・・ドラム枠体、119・・現像ユニット、120・・ドラムユニット、121・・端部カバー部材、122・・現像ローラバネ、123・・フランジ、124・・軸受、130・・カートリッジ装着手段、130a・・カートリッジ装着部、130L1、L2、R1、R2・・本体ガイド、140L1、L2、R1、R2・・カートリッジガイド、140L1a・・カートリッジガイドの一部である当接部(第一の係合部)、140L1b・・リブ、141・・延伸部(第一の保持部)、141a・・延伸部の面に設けた当接部、142・・突出部(第二の係合部、第二の保持部)(実施例3においては、第一の係合部、第一の保持部)、143・・固定バネ、144・・アース接点、160・・現像入力電気接点、161・・現像出力電気接点、162・・可動部材、162a・・軸、162b・・係合部、162c・・保持面、162d・・スリット、163・・係止部材、163d・・係止部材の突出部、
164・・第一の弾性部材、165・・第二の弾性部材、166・・軸、205・・係合部(実施例3における第二の係合部、第二の保持部)
図29〜図46において:
E・・電子写真画像形成装置本体、P・・プロセスカートリッジ、204・・導通部材、204a・・バネ部、205・・ガイド部材下、205a・・突き当て部、206・・ガイド部材上、210・・連結接続バネ、210a・・接続部、126・・電気接点(現像出力電気接点)、126a・・アース部、126b・・接続部、202・・可動部材、202a・・軸、202b・・係合部、202c・・保持面、202d・・スリット、202e・・引っ掛け部、203・・係止部材、203a・・軸、203b・・係止部、203c・・突出部、194・・係合部、195・・保持部

Claims (19)

  1. 本体電気接点と、前記本体電気接点を覆う保護位置と前記本体電気接点を露出させる露出位置との間を移動可能な可動部材と、前記可動部材の動作を係止する係止位置と、前記可動部材の動作の係止を解除した解除位置との間を移動可能な係止部材と、を有する電子写真画像形成装置本体に着脱可能なプロセスカートリッジであって、
    電子写真感光体ドラムと、
    前記電子写真感光体ドラムに作用するプロセス手段と、
    前記プロセスカートリッジの前記装置本体への挿入経路の途中で、前記係止部材を前記係止位置から前記解除位置に移動させる第一の係合部と、
    前記可動部材を前記保護位置から前記露出位置に移動させる第二の係合部と、
    前記プロセスカートリッジが前記装置本体の装着した際に、前記本体電気接点と電気的に接続するカートリッジ接点と、
    を有することを特徴とするプロセスカートリッジ。
  2. 前記係止部材を前記係止位置に移動する方向に付勢する第一の弾性部材と、
    前記可動部材を前記保護位置に移動する方向に付勢する第二の弾性部材と、
    を有し、
    前記プロセスカートリッジが前記装置本体における画像形成位置にある時に、前記第一の弾性部材の弾性力に抗して、前記係止部材を前記解除位置に保持する第一の保持部と、前記第二の弾性部材の弾性力に抗して、前記可動部材を前記露出位置に保持する第二の保持部と、
    を有する事を特徴とする請求項1に記載のプロセスカートリッジ。
  3. 前記第一の係合部は、前記装置本体へ前記プロセスカートリッジを装着する際に、前記装置本体に設けられた装着手段にガイドされるカートリッジガイド部である事を特徴とする請求項1または2に記載のプロセスカートリッジ。
  4. 前記係止部材を前記解除位置に保持する第一の保持部が、前記プロセスカートリッジの長手方向における端部に設けられている事を特徴とする請求項1〜3の何れかに記載のプロセスカートリッジ。
  5. 前記第一の保持部は、前記カートリッジガイド部から延伸している延伸部である事を特徴とする請求項2〜4の何れかに記載のプロセスカートリッジ。
  6. 前記第二の保持部が前記プロセスカートリッジの下方に突出して設けられている事を特徴とする請求項2〜5の何れかに記載のプロセスカートリッジ。
  7. プロセスカートリッジを着脱可能で、記録媒体に画像を形成するための電子写真画像形成装置において、
    (a)本体電気接点と、
    (b)前記本体電気接点を覆う保護位置と前記本体電気接点を露出させる露出位置との間を移動可能な可動部材と、
    (c)前記可動部材の動作を係止する係止位置と、前記可動部材の動作の係止を解除した解除位置との間を移動可能な係止部材と、
    (d)前記電子写真感光体ドラムに作用するプロセス手段と、前記プロセスカートリッジの前記装置本体への挿入経路の途中で、前記係止部材を前記係止位置から前記解除位置に移動させる第一の係合部と、前記可動部材を前記保護位置から前記露出位置に移動させる第二の係合部と、前記プロセスカートリッジが前記装置本体の装着した際に、前記本体電気接点と電気的に接続するカートリッジ接点と、を有するプロセスカートリッジを取り外し可能に装着する装着手段と、
    (e)前記記録媒体を搬送する搬送手段と、
    を有することを特徴とする電子写真画像形成装置。
  8. 更に、前記電子写真画像形成装置は、
    前記係止部材を前記係止位置に移動する方向に付勢する第一の弾性部材と、
    前記可動部材を前記保護位置に移動する方向に付勢する第二の弾性部材と、
    を有し、
    前記プロセスカートリッジが前記装置本体における画像形成位置にある時に、前記プロセスカートリッジに設けらた第一の保持部によって、前記第一の弾性部材の弾性力に抗して、前記係止部材が前記解除位置に保持され、前記プロセスカートリッジに設けらた第二の保持部によって、前記第二の弾性部材の弾性力に抗して、前記可動部材が前記露出位置に保持されることを特徴とする請求項7に記載の電子写真画像形成装置。
  9. 前記可動部材は、前記保護位置においてアースに電気的に接続する導通部材を有することを特徴とする請求項7または請求項8に記載の電子写真画像形成装置。
  10. 前記可動部材は、前記電子写真感光体ドラムの軸線と平行な回転中心を有し、前記装置本体に対して、回転可能に移動することを特徴とする請求項7から請求項9のいずれかに記載の電子写真画像形成装置。
  11. 前記本体電気接点は、前記電子写真感光体ドラムの軸線と平行な回転中心を有し、前記装置本体に対して、回転可能に移動することを特徴とする請求項7から請求項10のいずれかに記載の電子写真画像形成装置。
  12. 本体電気接点と、アースと電気的に接続する第一の位置と、アースと電気的接続が遮断する第二の位置との間を移動可能な導通部材と、前記導通部材の動作を係止する係止位置と、前記導通部材の動作の係止を解除した解除位置との間を移動可能な係止部材と、を有する電子写真画像形成装置本体に着脱可能なプロセスカートリッジであって、
    電子写真感光体ドラムと、
    前記電子写真感光体ドラムに作用するプロセス手段と、
    前記プロセスカートリッジの前記装置本体への挿入経路の途中で、前記係止部材を前記係止位置から前記解除位置に移動させる第一の係合部と、
    前記導通部材を前記保護位置から前記露出位置に移動させる第二の係合部と、
    前記プロセスカートリッジが前記装置本体の装着した際に、前記本体電気接点と電気的に接続するカートリッジ接点と、
    を有することを特徴とするプロセスカートリッジ。
  13. 電子写真画像形成装置本体にプロセスカートリッジを着脱可能な電子写真画像形成装置において、
    (a)本体電気接点と、
    (b)アースと電気的に接続する第一の位置と、アースと電気的接続が遮断する第二の位置との間を移動可能な導通部材と、
    (c)前記導通部材の動作を係止する係止位置と、前記導通部材の動作の係止を解除した解除位置との間を移動可能な係止部材と、
    (d)前記電子写真感光体ドラムに作用するプロセス手段と、前記プロセスカートリッジの前記装置本体への挿入経路の途中で、前記係止部材を前記係止位置から前記解除位置に移動させる第一の係合部と、前記導通部材を前記保護位置から前記露出位置に移動させる第二の係合部と、前記プロセスカートリッジが前記装置本体の装着した際に、前記本体電気接点と電気的に接続するカートリッジ接点と、を有するプロセスカートリッジを取り外し可能に装着する装着手段と、
    (e)前記記録媒体を搬送する搬送手段と、
    を有することを特徴とする電子写真画像形成装置。
  14. 前記電子写真画像形成装置は前記プロセスカートリッジの着脱可能な開口部を有し、前記導通部材が前記電気接点の略前記開口部側に位置することを特徴とする請求項13に記載の電子写真画像形成装置。
  15. 前記導通部材は前記プロセスカートリッジの装着と連動して前記第一の位置から前記第二の位置に移動し、前記プロセスカートリッジの取り出しと連動して前記第二の位置から前記第一の位置に移動することを特徴とする請求項13または14に記載の電子写真画像形成装置。
  16. 更に、電子写真画像形成装置は、前記カートリッジ接点に給電および給電制御する電装部を有し、前記第二の位置において前記電装部と接続し前記電装部からの給電および給電制御が可能となることを特徴とする請求項13から15のいずれかに記載の電子写真画像形成装置。
  17. 前記第一の位置において前記電気接点が電気的にどこにも接続していない状態であり、前記第二の位置において前記電気接点が前記電装部と接続し前記電装部からの給電および給電制御が可能となることを特徴とする請求項16に記載の電子写真画像形成装置。
  18. 前記プロセスカートリッジの装着と連動して前記第一の位置から前記第二の位置となり、前記プロセスカートリッジの取り出しと連動して前記第二の位置から前記第一の位置となることを特徴とする請求項16または17に記載の電子写真画像形成装置。
  19. 前記可動部材と、前記本体電気接点とは、前記軸線方向において並んで設けられていることを特徴とする請求項10、又は11に記載の電子写真画像形成装置。
JP2004105245A 2004-03-31 2004-03-31 電子写真画像形成装置 Expired - Fee Related JP4455124B2 (ja)

Priority Applications (6)

Application Number Priority Date Filing Date Title
JP2004105245A JP4455124B2 (ja) 2004-03-31 2004-03-31 電子写真画像形成装置
US11/091,781 US7242885B2 (en) 2004-03-31 2005-03-29 Process cartridge and image forming apparatus
RU2005109227/28A RU2302027C2 (ru) 2004-03-31 2005-03-30 Обрабатывающий картридж и устройство создания изображения
KR1020050026967A KR100762044B1 (ko) 2004-03-31 2005-03-31 프로세스 카트리지 및 화상 형성 장치
CNB2005100626694A CN100454178C (zh) 2004-03-31 2005-03-31 处理盒和成像设备
EP05007106.7A EP1582942B1 (en) 2004-03-31 2005-03-31 Process cartridge and image forming apparatus

Applications Claiming Priority (1)

Application Number Priority Date Filing Date Title
JP2004105245A JP4455124B2 (ja) 2004-03-31 2004-03-31 電子写真画像形成装置

Publications (3)

Publication Number Publication Date
JP2005292334A true JP2005292334A (ja) 2005-10-20
JP2005292334A5 JP2005292334A5 (ja) 2007-03-22
JP4455124B2 JP4455124B2 (ja) 2010-04-21

Family

ID=34880066

Family Applications (1)

Application Number Title Priority Date Filing Date
JP2004105245A Expired - Fee Related JP4455124B2 (ja) 2004-03-31 2004-03-31 電子写真画像形成装置

Country Status (6)

Country Link
US (1) US7242885B2 (ja)
EP (1) EP1582942B1 (ja)
JP (1) JP4455124B2 (ja)
KR (1) KR100762044B1 (ja)
CN (1) CN100454178C (ja)
RU (1) RU2302027C2 (ja)

Cited By (2)

* Cited by examiner, † Cited by third party
Publication number Priority date Publication date Assignee Title
JP2019184824A (ja) * 2018-04-10 2019-10-24 キヤノン株式会社 画像形成装置
JP2019204116A (ja) * 2019-07-30 2019-11-28 キヤノン株式会社 カートリッジおよびこれを用いた画像形成装置

Families Citing this family (19)

* Cited by examiner, † Cited by third party
Publication number Priority date Publication date Assignee Title
USD523066S1 (en) * 2004-04-09 2006-06-13 Fuji Xerox Co., Ltd. Toner cartridge
JP4667444B2 (ja) * 2006-12-13 2011-04-13 キヤノン株式会社 電子写真画像形成装置
JP5288900B2 (ja) * 2008-06-20 2013-09-11 キヤノン株式会社 プロセスカートリッジ及び電子写真画像形成装置
US7965971B2 (en) * 2008-07-28 2011-06-21 Xerox Corporation Blades, printing apparatuses, replaceable cartridges and methods of treating substances on surfaces
JP4440318B2 (ja) * 2008-07-31 2010-03-24 キヤノン株式会社 プロセスカートリッジ及び電子写真画像形成装置
JP5434184B2 (ja) * 2009-03-25 2014-03-05 株式会社リコー 画像形成装置
MX353327B (es) 2009-03-30 2018-01-08 Canon Kk Contenedor de suministro de revelador y sistema de reabastecimiento de revelador.
RU2547171C2 (ru) * 2010-01-28 2015-04-10 Жухаи Сеине Течнологы Лимитед Обрабатывающий картридж
SG11201901182YA (en) 2016-08-26 2019-03-28 Canon Kk Drum unit, cartridge, electrophotographic image forming apparatus and coupling member
JP7091096B2 (ja) 2017-03-15 2022-06-27 キヤノン株式会社 ドラムユニット、カートリッジ、プロセスカートリッジおよび電子写真画像形成装置
JP6880925B2 (ja) * 2017-03-30 2021-06-02 ブラザー工業株式会社 現像カートリッジ
AU2018384358B2 (en) 2017-12-13 2021-12-02 Canon Kabushiki Kaisha Cartridge and Image Forming Apparatus
JP7262983B2 (ja) 2018-11-30 2023-04-24 キヤノン株式会社 プロセスカートリッジ及び画像形成装置
JP7305417B2 (ja) 2019-04-25 2023-07-10 キヤノン株式会社 プロセスカートリッジ及び画像形成装置
US11040843B2 (en) * 2019-08-09 2021-06-22 Toshiba Tec Kabushiki Kaisha Image forming apparatus
WO2022196788A1 (ja) 2021-03-16 2022-09-22 キヤノン株式会社 トナーカートリッジ及び画像形成装置
JP7549806B2 (ja) * 2021-04-19 2024-09-12 株式会社リコー 画像形成装置
CN116859697B (zh) * 2023-07-10 2026-02-06 珠海奔图电子有限公司 适配器、盒、盒组及图像形成装置
JP2025012871A (ja) * 2023-07-14 2025-01-24 富士フイルムビジネスイノベーション株式会社 像保持体ユニットおよび画像形成装置

Family Cites Families (27)

* Cited by examiner, † Cited by third party
Publication number Priority date Publication date Assignee Title
SU373690A1 (ru) 1971-04-30 1973-03-12 Библиотека
JPS62215278A (ja) 1986-03-15 1987-09-21 Kyocera Corp 電子写真装置
JPH0777921A (ja) 1993-09-09 1995-03-20 Fuji Xerox Co Ltd 画像形成装置のプロセスカートリッジ装着装置
JP3839932B2 (ja) * 1996-09-26 2006-11-01 キヤノン株式会社 プロセスカートリッジ及び電子写真画像形成装置及び電子写真感光体ドラム及びカップリング
JPH0968833A (ja) 1995-09-04 1997-03-11 Canon Inc 電子写真画像形成装置
JPH1063166A (ja) * 1996-08-21 1998-03-06 Brother Ind Ltd 画像形成装置
JP3352370B2 (ja) * 1996-11-14 2002-12-03 キヤノン株式会社 プロセスカートリッジ及び電子写真画像形成装置
JPH10228223A (ja) * 1997-02-14 1998-08-25 Canon Inc プロセスカートリッジ及び電子写真画像形成装置
JPH10228224A (ja) * 1997-02-14 1998-08-25 Canon Inc プロセスカートリッジ及び電子写真画像形成装置
JPH10301350A (ja) 1997-04-24 1998-11-13 Murata Mach Ltd 画像記録装置
JPH11160973A (ja) 1997-11-28 1999-06-18 Fuji Xerox Co Ltd 現像装置
JPH11161131A (ja) * 1997-11-29 1999-06-18 Canon Inc プロセスカートリッジ及び電子写真画像形成装置
JP2001034055A (ja) * 1999-02-18 2001-02-09 Canon Inc 現像剤収納容器及びカートリッジ
US6463225B1 (en) * 1999-09-09 2002-10-08 Canon Kabushiki Kaisha Developing apparatus, process cartridge, feeding member and an elastic sheet
JP2001092335A (ja) * 1999-09-17 2001-04-06 Canon Inc プロセスカートリッジ、電子写真画像形成装置及び現像剤量検出部材
JP4365969B2 (ja) * 2000-01-20 2009-11-18 キヤノン株式会社 現像装置、プロセスカートリッジ及び電子写真画像形成装置
JP4463934B2 (ja) * 2000-04-05 2010-05-19 キヤノン株式会社 画像形成装置
JP2001290360A (ja) * 2000-04-07 2001-10-19 Canon Inc 現像剤容器、プロセスカートリッジ、現像装置及び画像形成装置
JP2001290359A (ja) * 2000-04-07 2001-10-19 Canon Inc 現像剤容器、現像剤量検知システム、プロセスカートリッジ、現像装置及び画像形成装置
JP3442047B2 (ja) * 2000-11-17 2003-09-02 キヤノン株式会社 プロセスカートリッジ及び電子写真画像形成装置
JP2002221889A (ja) 2001-01-26 2002-08-09 Canon Inc 電子写真画像形成装置
JP3840063B2 (ja) * 2001-04-27 2006-11-01 キヤノン株式会社 プロセスカートリッジ
JP3774691B2 (ja) * 2001-10-01 2006-05-17 キヤノン株式会社 電子写真画像形成装置
US6922534B2 (en) * 2001-12-28 2005-07-26 Canon Kabushiki Kaisha Process cartridge and electrophotographic image forming apparatus having electrical connection for memory
JP3625470B1 (ja) * 2003-09-30 2005-03-02 キヤノン株式会社 プロセスカートリッジ、及び、電子写真画像形成装置
JP4110143B2 (ja) * 2004-01-30 2008-07-02 キヤノン株式会社 電子写真画像形成装置、電子写真画像形成装置に着脱可能なユニット及びプロセスカートリッジ
JP4250555B2 (ja) * 2004-03-09 2009-04-08 キヤノン株式会社 電子写真画像形成装置及び離間部材

Cited By (3)

* Cited by examiner, † Cited by third party
Publication number Priority date Publication date Assignee Title
JP2019184824A (ja) * 2018-04-10 2019-10-24 キヤノン株式会社 画像形成装置
JP7086684B2 (ja) 2018-04-10 2022-06-20 キヤノン株式会社 画像形成装置
JP2019204116A (ja) * 2019-07-30 2019-11-28 キヤノン株式会社 カートリッジおよびこれを用いた画像形成装置

Also Published As

Publication number Publication date
EP1582942A2 (en) 2005-10-05
JP4455124B2 (ja) 2010-04-21
EP1582942B1 (en) 2016-02-24
EP1582942A3 (en) 2013-02-20
RU2005109227A (ru) 2006-10-10
KR100762044B1 (ko) 2007-09-28
US7242885B2 (en) 2007-07-10
US20050226648A1 (en) 2005-10-13
CN100454178C (zh) 2009-01-21
RU2302027C2 (ru) 2007-06-27
KR20060045067A (ko) 2006-05-16
CN1677282A (zh) 2005-10-05

Similar Documents

Publication Publication Date Title
JP4455124B2 (ja) 電子写真画像形成装置
US7937020B2 (en) Electrophotographic image forming apparatus
US7486907B2 (en) Electrophotographic image forming apparatus including a tray for carrying a process cartridge
US7761024B2 (en) Electrophotographic color image forming apparatus carrying process cartridge on a movable member
JP4095649B1 (ja) 電子写真画像形成装置、プロセスカートリッジ、及び移動部材
TWI238297B (en) Process cartridge and electrophotographic image forming apparatus
JP4721471B2 (ja) 電子写真画像形成装置
JP4701830B2 (ja) プロセスカートリッジ及び画像形成装置
CN1886702B (zh) 处理盒和电摄影成像设备
JP4963733B2 (ja) 画像形成装置及びカートリッジ
KR100725886B1 (ko) 전자 사진 화상 형성 장치, 프로세스 카트리지 및 방전방지 기구
JP2008165027A (ja) カラー電子写真画像形成装置
JP7433777B2 (ja) カートリッジ
CN111308874B (zh) 成像装置
US8918014B2 (en) Electrophotographic image forming apparatus
US8000634B2 (en) Image forming apparatus and cartridge
JP4006273B2 (ja) プロセスカートリッジ及び画像形成装置
JP2000037926A (ja) 画像形成装置
JP2022038396A (ja) 画像形成装置

Legal Events

Date Code Title Description
A521 Request for written amendment filed

Free format text: JAPANESE INTERMEDIATE CODE: A523

Effective date: 20070205

A621 Written request for application examination

Free format text: JAPANESE INTERMEDIATE CODE: A621

Effective date: 20070205

A977 Report on retrieval

Free format text: JAPANESE INTERMEDIATE CODE: A971007

Effective date: 20090811

A131 Notification of reasons for refusal

Free format text: JAPANESE INTERMEDIATE CODE: A131

Effective date: 20091013

A521 Request for written amendment filed

Free format text: JAPANESE INTERMEDIATE CODE: A523

Effective date: 20091207

TRDD Decision of grant or rejection written
A01 Written decision to grant a patent or to grant a registration (utility model)

Free format text: JAPANESE INTERMEDIATE CODE: A01

Effective date: 20100202

A01 Written decision to grant a patent or to grant a registration (utility model)

Free format text: JAPANESE INTERMEDIATE CODE: A01

A61 First payment of annual fees (during grant procedure)

Free format text: JAPANESE INTERMEDIATE CODE: A61

Effective date: 20100203

FPAY Renewal fee payment (event date is renewal date of database)

Free format text: PAYMENT UNTIL: 20130212

Year of fee payment: 3

R150 Certificate of patent or registration of utility model

Free format text: JAPANESE INTERMEDIATE CODE: R150

FPAY Renewal fee payment (event date is renewal date of database)

Free format text: PAYMENT UNTIL: 20140212

Year of fee payment: 4

LAPS Cancellation because of no payment of annual fees