JP2005291458A - 脚装置 - Google Patents

脚装置 Download PDF

Info

Publication number
JP2005291458A
JP2005291458A JP2004110964A JP2004110964A JP2005291458A JP 2005291458 A JP2005291458 A JP 2005291458A JP 2004110964 A JP2004110964 A JP 2004110964A JP 2004110964 A JP2004110964 A JP 2004110964A JP 2005291458 A JP2005291458 A JP 2005291458A
Authority
JP
Japan
Prior art keywords
leg
leg shaft
lock piece
hole
shaft
Prior art date
Legal status (The legal status is an assumption and is not a legal conclusion. Google has not performed a legal analysis and makes no representation as to the accuracy of the status listed.)
Granted
Application number
JP2004110964A
Other languages
English (en)
Other versions
JP4498805B2 (ja
Inventor
Yasuhiko Inoue
泰彦 井上
Current Assignee (The listed assignees may be inaccurate. Google has not performed a legal analysis and makes no representation or warranty as to the accuracy of the list.)
Nifco Inc
Original Assignee
Nifco Inc
Priority date (The priority date is an assumption and is not a legal conclusion. Google has not performed a legal analysis and makes no representation as to the accuracy of the date listed.)
Filing date
Publication date
Application filed by Nifco Inc filed Critical Nifco Inc
Priority to JP2004110964A priority Critical patent/JP4498805B2/ja
Priority to US11/090,155 priority patent/US7198238B2/en
Priority to CNU2005200114348U priority patent/CN2826134Y/zh
Priority to CNB2005100598980A priority patent/CN100363680C/zh
Publication of JP2005291458A publication Critical patent/JP2005291458A/ja
Application granted granted Critical
Publication of JP4498805B2 publication Critical patent/JP4498805B2/ja
Anticipated expiration legal-status Critical
Expired - Fee Related legal-status Critical Current

Links

Images

Classifications

    • AHUMAN NECESSITIES
    • A47FURNITURE; DOMESTIC ARTICLES OR APPLIANCES; COFFEE MILLS; SPICE MILLS; SUCTION CLEANERS IN GENERAL
    • A47BTABLES; DESKS; OFFICE FURNITURE; CABINETS; DRAWERS; GENERAL DETAILS OF FURNITURE
    • A47B91/00Feet for furniture in general
    • A47B91/02Adjustable feet
    • A47B91/022Adjustable feet using screw means
    • A47B91/024Foot attached to a rotating bolt supported in an internal thread
    • FMECHANICAL ENGINEERING; LIGHTING; HEATING; WEAPONS; BLASTING
    • F16ENGINEERING ELEMENTS AND UNITS; GENERAL MEASURES FOR PRODUCING AND MAINTAINING EFFECTIVE FUNCTIONING OF MACHINES OR INSTALLATIONS; THERMAL INSULATION IN GENERAL
    • F16MFRAMES, CASINGS OR BEDS OF ENGINES, MACHINES OR APPARATUS, NOT SPECIFIC TO ENGINES, MACHINES OR APPARATUS PROVIDED FOR ELSEWHERE; STANDS; SUPPORTS
    • F16M7/00Details of attaching or adjusting engine beds, frames, or supporting-legs on foundation or base; Attaching non-moving engine parts, e.g. cylinder blocks
    • GPHYSICS
    • G03PHOTOGRAPHY; CINEMATOGRAPHY; ANALOGOUS TECHNIQUES USING WAVES OTHER THAN OPTICAL WAVES; ELECTROGRAPHY; HOLOGRAPHY
    • G03BAPPARATUS OR ARRANGEMENTS FOR TAKING PHOTOGRAPHS OR FOR PROJECTING OR VIEWING THEM; APPARATUS OR ARRANGEMENTS EMPLOYING ANALOGOUS TECHNIQUES USING WAVES OTHER THAN OPTICAL WAVES; ACCESSORIES THEREFOR
    • G03B21/00Projectors or projection-type viewers; Accessories therefor
    • G03B21/14Details
    • G03B21/145Housing details, e.g. position adjustments thereof

Landscapes

  • Engineering & Computer Science (AREA)
  • General Engineering & Computer Science (AREA)
  • Mechanical Engineering (AREA)
  • Physics & Mathematics (AREA)
  • General Physics & Mathematics (AREA)
  • Legs For Furniture In General (AREA)
  • Motorcycle And Bicycle Frame (AREA)

Abstract

【課題】脚装置を最小の部品点数をもって適切に構成できるようにする。
【解決手段】下端部に接地部10を有した雄ねじ状をなす脚軸1と、脚軸1に昇降可能に支持される昇降体2とを備えている。昇降体2は、支持対象物Pへの固定部201を備えると共に、脚軸1の通し抜け穴202を備えたベース部分20と、ベース部分20に片一端211を一体化してあると共に、片他端212の前面215側に脚軸1の雄ねじ部12に噛み合う雌ねじ状部213を有し、かつ、片他端212側の背面216側に操作摘み214を備えたロック片部分21とを有している。ベース部分20とロック片部分21とを、ロック片部分21の雌ねじ状部213を前記通し抜け穴202に差し通される脚軸1の外周面よりも前方に入り込む位置に位置づけさせるようにして、プラスチック成形によって一体に形成させている。
【選択図】図2

Description

この発明は、各種の支持対象物に取り付けられてこの支持対象物の脚となると共に、かかる支持対象物を高さ調整可能に支持する機能を備えた脚装置の改良に関する。
下端部に接地部を備えたボルト状をなす脚と、この脚の雄ねじ部に噛み合う部分を備えたナット的に機能する部材とを有し、この脚をもって支持対象物を高さ調整可能に支持するものとして、特許文献1および特許文献2に示されるものがある。
しかるに、これらのものにあっては、支持対象物に固定されるケースと、このケース内に配されるナット的に機能する部材、この部材を付勢するためのバネ、そして前記脚の少なくとも4つのパーツを必ず必要とするものであった。
特開平11−82881号公報 特開2003−311092号公報
この発明が解決しようとする主たる問題点は、この種の脚装置を最小の部品点数をもって適切に構成できるようにする点にある。
前記問題点を解決するために、この発明にあっては、脚装置を以下の(1)〜(4)の構成を備えたものとした。
(1)支持対象物を高さ調整可能に支持する脚装置であって、
(2)下端部に接地部を有した雄ねじ状をなす脚軸と、この脚軸に昇降可能に支持される昇降体とを備えており、
(3)この昇降体は、
支持対象物への固定部を備えると共に、脚軸の通し抜け穴を備えたベース部分と、
このベース部分に片一端を一体化してあると共に、片他端の前面側に脚軸の雄ねじ部に噛み合う雌ねじ状部を有し、かつ、片他端側の背面側に操作摘みを備えたロック片部分とを有しており、
(4)このベース部分とロック片部分とを、ロック片部分の雌ねじ状部を前記通し抜け穴に差し通される脚軸の外周面よりも前方に入り込む位置に位置づけさせるようにして、プラスチック成形によって一体に形成させている。
これにより、前記脚軸と昇降体との2パーツによって、支持対象物を高さ調整可能に支持する脚装置を適切に構成させることができる。すなわち、ロック片部分を弾性変形させながら昇降体の通し抜け穴に脚軸を入れ込ませることにより、入れ込まされた脚軸の雄ねじ部にロック片部分の雌ねじ状部をこのロック片部分の弾発力によって押しつけ噛み合わせた脚装置を構成させることができる。支持対象物にベース部分の固定部によって取り付けられた脚装置は、脚軸を回転操作させることにより、昇降体の下面と脚軸の接地部との間の寸法を変え、これにより、支持対象物の高さの微調整が可能とされる。すなわち、昇降体は前記ロック片部分の雌ねじ状部を脚軸の雄ねじ部に噛み合わせており、脚軸を回転させると雌ねじ状部は脚軸に沿っていわば相対的に螺進又は螺退され、これにより、少しづつ支持対象物の高さを変えることができる。また、ロック片部分の操作摘みを使ってロック片部分をその雌ねじ状部と脚軸の雄ねじ部とのかみ合わせを解くように弾性変形させることにより、つまり、ロック片部分の片他端を後退移動させることにより、脚軸に沿って昇降体を大幅に上昇又は下降させることができ、これにより、支持対象物の高さを大幅調整することができる。
前記ベース部分が上板部を有していると共に、
ロック片部分がこのベース部分の上板部に片一端を一体化させているようにしておくこともある。
このようにした場合、操作摘みを上方に持ち上げるように操作することにより、脚軸に沿って昇降体を大幅に上昇又は下降させることができ、これにより、支持対象物の高さを大幅調整することができるものとされ、この大幅調整にあたって支持対象物を下方から支える手の指などを使って無理なくこの調整をなすことができる。
また、前記ベース部分が側板部を有していると共に、この側板部に左右方向に延びる割溝が形成してあり、
ロック片部分の片他端側の側部にこの割溝に入り込む突起を形成させておくこともある。
支持対象物を支持した状態においては脚軸の雄ねじ部に雌ねじ状部を噛み合わせているロック片部分には上向きの力が作用されるが、前記突起を割溝の上側の溝壁に接触させることでこの力を受けることができ、これによりこうした力の作用によりロック片部分に破損などが生じないようにすることができる。
また、前記脚軸の上端部に、昇降体のベース部分の通し抜け穴への下方からのこの脚軸の入れ込みに伴って、一旦弾性変形した後、この通し抜け穴から上方に抜け出した位置において弾発してこの通し抜け穴に掛合される弾性掛合片を形成させておくこともある。
このようにした場合、昇降体を取り付けた支持対象物を持ち上げるなどした場合などにおいて、昇降体の通し抜け穴から予期せず脚軸が抜け落ちてしまうことがない。
この発明によれば、雄ねじ部を備えた脚軸と、この脚軸の通し抜け穴を備えると共に支持対象物への固定部を備えたベース部分に一体化された雌ねじ状部を備えたロック片部分を持った昇降体との2パーツにより、支持対象物を高さ調整可能に支持する脚装置を適切に構成することができる。
以下、図1ないし図13に基づいて、この発明を実施するための最良の形態について説明する。
なお、ここで図1ないし図5は、脚装置の使用状態をそれぞれ示しており、特に図5は、昇降体2が最も下降した状態を示している。また、図6ないし図11は、昇降体2をそれぞれ示しており、また、図12および図13は、脚軸1の他の構成例の一つを示している。
この実施の形態にかかる脚装置は、各種の支持対象物Pに取り付けられてこの支持対象物Pの脚となると共に、かかる支持対象物Pを高さ調整(レベル調整)可能に支持する機能(アジャスター機能)を備えたものである。
具体的には、かかる脚装置は、例えば、いわゆる液晶プロジェクター、映写機、スライド映写機などの投影機の脚として、あるいはまた、三脚などの脚の下端部に取り付けられてこの脚の一部をなすものとして、用いることができる。この脚装置がかかる投影機に用いられる場合には、この投影機の投影レンズが設けられた前部側の下部に設けられてこの投影機の傾斜角を調整するように用いられ、これにより、この投影レンズから投影される映像がスクリーンなどに映し出される高さ位置を調整するように用いられる。
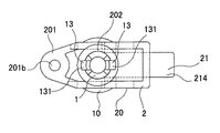
かかる脚装置は、脚軸1と昇降体2とを備えている。
脚軸1は、下端部に接地部10を有した雄ねじ状をなすように構成されている。図示の例にあっては、かかる脚軸1は下端部に円盤状部101を有していると共に、この円盤状部101の下面にクッション材102を備えている。そして、このクッション材102を床面、地面、テーブル面などの接地面Gに接地させて、この接地面G上に支持対象物Pを支持させるようになっている。
また図示の例では、かかる脚軸1は、下端部側と上端部側とにそれぞれ無ねじ部11を有していると共に、両無ねじ部11、11間に雄ねじ部12を備えるように構成されている。この脚軸1の雄ねじ部12には、前記昇降体2を構成する後述するロック片部分21の雌ねじ状部213が噛み合わされ、前記円盤状部101を把持してなす脚軸1の回転操作によってこの昇降体2は上昇又は下降されるが、この昇降体2が上昇され切った位置および下降され切った位置においては前記雌ねじ状部213に噛み合う雄ねじ部12がないことから、上昇され切った位置又は下降され切った位置においてさらに脚軸1を回転操作させてしまうことによる前記雌ねじ状部213の破損を生じさせることはない。
また、図示の例にあっては、脚軸1の上端部に、前記昇降体2の後述するベース部分20の通し抜け穴202への下方からのこの脚軸1の入れ込みに伴って、一旦弾性変形した後、この通し抜け穴202から上方に抜け出した位置において弾発してこの通し抜け穴202に掛合される弾性掛合片13が形成されている。
図示の例にあっては、脚軸1の上端部は中空の筒状に構成されていると共に、この上端部の末端において溝端を外方に解放させて脚軸1の軸線方向に延びる二条の割溝14、14によってこれらの割溝14、14間に前記弾性掛合片13を形成させている。かかる弾性掛合片13は脚軸1の直径方向両側に形成されている。また、図示の例では、二つの弾性掛合片13、13のうちの一方が脚軸1の上端部の末端よりもより上方に突き出すようになっている。二つの弾性掛合片13、13の上端であってその外面部にはそれぞれ、突部131が形成されている。この突部131は脚軸1の下端部側に向いた掛合面132を有すると共に、頂部133を挟んだ上方側にこの頂部133に向かうに連れて次第に突部131の突き出し寸法を大きくする向きに傾斜した傾斜面134を有している。そして、二つの弾性掛合片13、13の突部131の頂部133間の寸法が、昇降体2の通し抜け穴202の穴径よりもやや大きくなるようにしてある。昇降体2と脚軸1とを前記のようにこの脚軸1を通し抜け穴202に入れ込ませて組み合わさせるにあたり、弾性掛合片13は前記突部131の傾斜面134を通し抜け穴202の穴口縁に突き当ててスムースに弾性変形され、この通し抜け穴202から上方に抜け出した位置で弾性復帰して通し抜け穴202に前記掛合面132を掛合させる。
これにより、図示の例にあっては、昇降体2を取り付けた支持対象物Pを持ち上げるなどした場合などにおいて、昇降体2の通し抜け穴202から予期せず脚軸1が抜け落ちてしまうことがないようになっている。
また、図示の例にあっては、二つの弾性掛合片13、13の一方が他方よりも上方に長く延びており、二つの弾性掛合片13、13の突部131の頂部133の位置が上下に異なっていることから、通し抜け穴202への脚軸1の入れ込みにあたり、二つの弾性掛合片13、13の双方を同時に最大限内向きに弾性変形させることなくこの入れ込みをなすことができ、この入れ込みを容易に行えるようになっている。それと共に、図示の例にあっては、二つの弾性掛合片13、13のうちの他方の弾性掛合片13(短い方)の突部131の掛合面132に昇降体2の通し抜け穴202の上側の穴口が突き当たった位置においては脚軸1の雄ねじ部12にロック片部分21の雌ねじ状部213が未だ噛み合うようにしてあると共に、これを越えて脚軸1の回転操作によって昇降体2が上昇されてロック片部分21の雌ねじ状部213が前記無ねじ部11の形成位置に位置された場合には、二つの弾性掛合片13、13のうちの一方の弾性掛合片13(長い方)の突部131の掛合面132に昇降体2の通し抜け穴202の上側の穴口が突き当たるようにしてあり、昇降体2が上昇され切った位置においての昇降体2からの脚軸1の抜け出しを確実に阻止できるようになっている。
図12および図13は、かかる脚軸1を構成する前記円盤状部101の外周面にこの円盤状部101の肉厚方向に沿ったリブ15をこの周方向において隣り合うリブ15との間に間隔を開けて複数設けさせた例を示している。このようにした場合、この円盤状部101を把持などして脚軸1をより容易に回転操作することができる。
かかる脚軸1は、昇降体2の下降させればさせるほど、この昇降体2の上面からの突き出し寸法を大きくさせる。典型的には、支持対象物Pにおける昇降体2の取り付け箇所にはこのように突き出される脚軸1が納まる昇降体2の通し抜け穴202に連通した脚軸1の収容空間Paが形成される。
一方、昇降体2は、前記脚軸1に昇降可能に支持されるようになっている。また、この昇降体2は、ベース部分20とロック片部分21とを一体的に備えている。
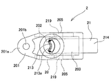
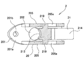
ベース部分20は、支持対象物Pへの固定部201を備えると共に、脚軸1の通し抜け穴202を備えている。図示の例にあっては、かかるベース部分20は、ほぼ長方形の板状をなす上板部203と下板部204とを有すると共に、この上板部203の一方の長辺部と下板部204の一方の長辺部との間、および、この上板部203の他方の長辺部と下板部204の他方の長辺部との間に、側板部205をそれぞれ有しており、左右に開放部206を備えたボックス状をなすように構成されている。そして、図示の例にあっては、上板部203の一方の短辺部側に偏った位置と、下板部204の一方の短辺部側に偏った位置とにそれぞれ、前記脚軸1の通し抜け穴202が貫通状態に形成してある。また、図示の例にあっては、ベース部分20の上部に、上板部203の一方の短辺部から側方に延びる延設片201aが形成されており、この上板部203の上面を支持対象物Pの下面などに添装させた状態でこの延設片201aに設けられた穴201bに下方からねじSなどを入れ込み支持対象物Pに止め付けることにより、この支持対象物Pに昇降体2を固定させるようになっている。
ロック片部分21は、前記ベース部分20に片一端211を一体化してあると共に、片他端212の前面215側に脚軸1の雄ねじ部12に噛み合う雌ねじ状部213を有し、かつ、片他端212側の背面216側に操作摘み214を備えている。
図示の例では、かかるロック片部分21は、ベース部分20の一対の側板部205、205の内面間に、この内面との間に隙間を開ける幅を持つように構成された板状をなすように構成されている。そして、前記通し抜け穴202の側に向けられた前面215と、これと反対の背面216を持つようになっている。雌ねじ状部213は、脚軸1の雄ねじ部12に噛み合う一条又は複数状の突起をロック片部分21の片他端212側の前面215に形成することで構成することができるが、図示の例では、かかる雌ねじ状部213は、脚軸1の雄ねじ部12に噛み合う形状を持った仮想の雌ねじの一部213aを、ロック片部分21の片他端212の前面215に形成させることにより構成されている。また、操作摘み214は、このロック片部分21の片他端212側の背面216から延設されてその端部をこの背面216側にあるベース部分20の前記開放部206から外方に突き出させるように構成されている。
そして、この実施の形態にあっては、前記ベース部分20とロック片部分21とを、ロック片部分21の雌ねじ状部213を前記通し抜け穴202に差し通される脚軸1の外周面よりも前方に入り込む位置に位置づけさせるようにして、すなわち、ロック片部分21が、差し通される脚軸1の軸線を挟んだ一方側から延びてその雌ねじ状部213をこの一方側にある脚軸1の外周面位置xを越えてこの脚軸1の軸線yが位置される位置に近づく位置、あるいは、この軸線y上、あるいは、この軸線yを挟んだ他方側に入り込むように、プラスチック成形によって一体に形成させている。
具体的には、図示の例にあっては、かかるロック片部分21の雌ねじ状部213が、前記通し抜け穴202に差し通される脚軸1の軸線yが位置される位置にほぼ位置づけられるようにして、ベース部分20とロック片部分21とをプラスチック成形によって一体に形成させている。
特に、図示の例にあっては、ベース部分20が左右に開放部206を有していることから、この左右の開放部206を通じてベース部分20の内部に前記ロック片部分21を容易かつ適切にベース部分20と一体にプラスチック成形によって形成させることができる。
このプラスチック成形によって、ロック片部分21は、前記片一端211側を変形中心として、雌ねじ状部213の形成された片他端212側を後退させる向きに弾性変形可能となっている。具体的には、前記ベース部分20の開放部206から突き出されている操作摘み214を操作することにより、ロック片部分21を弾性変形させることができるようになっている。(ロック片部分21の後退位置を図2において仮想線で示す。)
これにより、この実施の形態にかかる脚装置にあっては、前記脚軸1と昇降体2との2パーツによって、支持対象物Pを高さ調整可能に支持する脚装置を適切に構成させることができる。すなわち、ロック片部分21を弾性変形させながら昇降体2の通し抜け穴202に脚軸1を入れ込ませることにより、入れ込まされた脚軸1の雄ねじ部12にロック片部分21の雌ねじ状部213をこのロック片部分21の弾発力によって押しつけ噛み合わせた脚装置を構成させることができる。支持対象物Pにベース部分20の固定部201によって取り付けられた脚装置は、脚軸1を回転操作させることにより、昇降体2の下面と脚軸1の接地部10との間の寸法を変え、これにより、支持対象物Pの高さの微調整が可能とされる。すなわち、昇降体2は前記ロック片部分21の雌ねじ状部213を脚軸1の雄ねじ部12に噛み合わせており、脚軸1を回転させると雌ねじ状部213は脚軸1に沿っていわば相対的に螺進又は螺退され、これにより、少しづつ支持対象物Pの高さを変えることができる。また、ロック片部分21の操作摘み214を使ってロック片部分21をその雌ねじ状部213と脚軸1の雄ねじ部12とのかみ合わせを解くように弾性変形させることにより、つまり、ロック片部分21の片他端212を後退移動させることにより、脚軸1に沿って昇降体2を大幅に上昇又は下降させることができ、これにより、支持対象物Pの高さを大幅調整することができる。
また、図示の例では、かかるロック片部分21が前記ベース部分20の上板部203に片一端211を一体化させて設けられている。
具体的には、図示の例にあっては、ベース部分20の上板部203における通し抜け穴202の形成側と反対の短辺部近傍において、この上板部203の内面にロック片部分21の片一端211を一体に連接させている。ロック片部分21は、この片一端211から片他端212側に近づくに連れて次第にベース部分20の内方に入り込む向きに傾斜状に下方に向けて突き出し、片他端212の前面215側に首部217を介して雌ねじ状部213を備えたヘッド部218を備え、かつ、片他端212の背面216側に操作摘み214を備えている。ヘッド部218の前面215、つまり、雌ねじ状部213の形成面は、脚軸1の差し通し前の状態では前記傾斜と同じ向きに傾斜しており、脚軸1を差し通すことによりロック片部分21は、この形成面と脚軸1の軸線yとをほぼ平行とする位置まで弾性的に後退される。
これにより、図示の例にあっては、操作摘み214を上方に持ち上げるように操作することにより、脚軸1に沿って昇降体2を大幅に上昇又は下降させることができ、これにより、支持対象物Pの高さを大幅調整することができるものとされ、この大幅調整にあたって支持対象物Pを下方から支える手の指などを使って無理なくこの調整をなすことができる。
また、図示の例にあっては、前記ベース部分20の側板部205に左右方向に長く延びる割溝205aが形成してあると共に、前記ロック片部分21の片他端212側の側部にこの割溝205aに入り込む突起219が形成してある。
図示の例にあっては、ロック片部分21の突起219は、ロック片部分21の側部であって、前記ヘッド部218と首部217との連接箇所に形成されている。かかる突部はロック片部分21の両側部にそれぞれ設けられている。そして、図示の例では、ベース部分20の両側板部205にそれぞれ割溝205aが形成されており、ロック片部分21の両突起219、219がそれぞれ対応する側の割溝205a、205aに入り込んだ状態で、この割溝205aを通じてこの突起219を備えたロック片部分21をプラスチック成形するようにしてある。割溝205aは、ロック片部分21の弾性変形による突起219の移動軌跡に沿うように形成された主溝部205bとこの主溝部205bにおける通し抜け穴202の形成側にある溝端に連通して上方に延びる副溝部205cとを有している。
支持対象物Pを支持した状態においては脚軸1の雄ねじ部12に雌ねじ状部213を噛み合わせているロック片部分21には上向きの力が作用されるが、前記突起219を割溝205a(図示の例では主割溝205a)の上側の溝壁205dに接触させることでこの力を受けることができ、これによりこうした力の作用によりロック片部分21に破損などが生じないようにすることができる。
脚装置の使用状態を示した正面図 同断面図 同左側面図 同平面図(支持対象物P省略) 同右側面図 昇降体2の正面図 同平面図 同左側面図 同右側面図 図6におけるA−A線断面図 図8におけるB−B線断面図 脚軸1の他の構成例を示した正面図 同平面図
符号の説明
P 支持対象物
1 脚軸
10 接地部
12 雄ねじ部
2 昇降体
20 ベース部分
201 固定部
202 通し抜け穴
21 ロック片部分
211 片一端
212 片他端
213 雌ねじ状部
214 操作摘み
215 前面
216 背面

Claims (4)

  1. 支持対象物を高さ調整可能に支持する脚装置であって、
    下端部に接地部を有した雄ねじ状をなす脚軸と、この脚軸に昇降可能に支持される昇降体とを備えており、
    この昇降体は、
    支持対象物への固定部を備えると共に、脚軸の通し抜け穴を備えたベース部分と、
    このベース部分に片一端を一体化してあると共に、片他端の前面側に脚軸の雄ねじ部に噛み合う雌ねじ状部を有し、かつ、片他端側の背面側に操作摘みを備えたロック片部分とを有しており、
    このベース部分とロック片部分とを、ロック片部分の雌ねじ状部を前記通し抜け穴に差し通される脚軸の外周面よりも前方に入り込む位置に位置づけさせるようにして、プラスチック成形によって一体に形成させていることを特徴とする脚装置。
  2. ベース部分が上板部を有していると共に、
    ロック片部分がこのベース部分の上板部に片一端を一体化させていることを特徴とする請求項1記載の脚装置。
  3. ベース部分が側板部を有していると共に、この側板部に左右方向に延びる割溝が形成してあり、
    ロック片部分の片他端側の側部にこの割溝に入り込む突起が形成してあることを特徴とする請求項1又は請求項2記載の脚装置。
  4. 脚軸の上端部に、昇降体のベース部分の通し抜け穴への下方からのこの脚軸の入れ込みに伴って、一旦弾性変形した後、この通し抜け穴から上方に抜け出した位置において弾発してこの通し抜け穴に掛合される弾性掛合片が形成されていることを特徴とする請求項1から請求項3のいずれか1項に記載の脚装置。
JP2004110964A 2004-04-05 2004-04-05 脚装置 Expired - Fee Related JP4498805B2 (ja)

Priority Applications (4)

Application Number Priority Date Filing Date Title
JP2004110964A JP4498805B2 (ja) 2004-04-05 2004-04-05 脚装置
US11/090,155 US7198238B2 (en) 2004-04-05 2005-03-28 Leg device
CNU2005200114348U CN2826134Y (zh) 2004-04-05 2005-04-01 支脚装置
CNB2005100598980A CN100363680C (zh) 2004-04-05 2005-04-01 支脚装置

Applications Claiming Priority (1)

Application Number Priority Date Filing Date Title
JP2004110964A JP4498805B2 (ja) 2004-04-05 2004-04-05 脚装置

Publications (2)

Publication Number Publication Date
JP2005291458A true JP2005291458A (ja) 2005-10-20
JP4498805B2 JP4498805B2 (ja) 2010-07-07

Family

ID=35053243

Family Applications (1)

Application Number Title Priority Date Filing Date
JP2004110964A Expired - Fee Related JP4498805B2 (ja) 2004-04-05 2004-04-05 脚装置

Country Status (3)

Country Link
US (1) US7198238B2 (ja)
JP (1) JP4498805B2 (ja)
CN (2) CN2826134Y (ja)

Cited By (5)

* Cited by examiner, † Cited by third party
Publication number Priority date Publication date Assignee Title
JP2009127685A (ja) * 2007-11-21 2009-06-11 Necディスプレイソリューションズ株式会社 電子機器用高さ調整装置
JP2009270665A (ja) * 2008-05-09 2009-11-19 Nifco Inc 脚装置
JP2011112116A (ja) * 2009-11-25 2011-06-09 Sharp Corp アジャスタ及びプロジェクタ
JP2012155171A (ja) * 2011-01-27 2012-08-16 Seiko Epson Corp プロジェクター
CN103388729A (zh) * 2012-05-10 2013-11-13 兆利科技工业股份有限公司 易于组装拆卸的屏幕支撑结构

Families Citing this family (25)

* Cited by examiner, † Cited by third party
Publication number Priority date Publication date Assignee Title
JP4498805B2 (ja) * 2004-04-05 2010-07-07 株式会社ニフコ 脚装置
JP4440736B2 (ja) * 2004-08-30 2010-03-24 株式会社ニフコ 脚装置
DE102005027281B4 (de) * 2005-06-14 2007-03-15 Itw Automotive Products Gmbh & Co. Kg Verbindungsvorrichtung zwischen einem länglichen Bauteil und einer Gewindestange
ITPN20060015U1 (it) * 2006-04-20 2007-10-21 Promark Srl "piedino di supporto per mobili"
US8632038B2 (en) * 2006-10-12 2014-01-21 Table Jacks, Llc Method and apparatus for adjusting heights of objects
DE102007030073B3 (de) * 2007-06-29 2008-11-27 BSH Bosch und Siemens Hausgeräte GmbH Haushaltsgerät mit höhenverstellbaren Fußelementen
DE102007057512A1 (de) * 2007-11-29 2009-06-04 BSH Bosch und Siemens Hausgeräte GmbH Haushaltsgerät
US20100237223A1 (en) * 2009-03-19 2010-09-23 Kao Wei-Chieh Replaceable footpad structure for electronic device
US20120085885A1 (en) * 2009-07-21 2012-04-12 Qing Song Tilt foot mechanism and projection display including the mechanism
US8876299B2 (en) 2009-07-21 2014-11-04 Nec Display Solutions, Ltd. Electronic device
PL388798A1 (pl) * 2009-08-13 2011-02-14 Głowińska Oliwia Ekopan Mechanizm do regulacji długości, zwłaszcza nóg meblowych
US8328149B2 (en) * 2010-02-25 2012-12-11 Stable Tables, Llc Top access leveler assembly
CN203385980U (zh) * 2010-08-26 2014-01-08 Nec显示器解决方案株式会社 投影显示装置的俯仰支脚机构
CN102478755A (zh) * 2010-11-26 2012-05-30 中强光电股份有限公司 用于投影装置的升降机构
TW201236553A (en) * 2011-02-17 2012-09-01 Compal Electronics Inc Electronic device and stand
CN104279402A (zh) * 2014-10-30 2015-01-14 合肥华凌股份有限公司 调节脚组件和冰箱
KR102376043B1 (ko) * 2015-07-14 2022-03-18 엘지전자 주식회사 식기세척기
IT201600070881A1 (it) * 2016-07-07 2018-01-07 Leonardo Srl Sistema di giunzione con livellatore per parti di mobili e articoli da arredamento
JP2018036411A (ja) * 2016-08-30 2018-03-08 ソニー株式会社 画像表示装置、及び画像表示装置の設置方法
CN107420692A (zh) * 2017-08-28 2017-12-01 湖北东力机械科技有限公司 一种断轨式导轨移模硫化机的底部承重支撑结构
US11015637B2 (en) * 2018-04-06 2021-05-25 A. Raymond Et Cie Leveling bolt and related methods
JP2019191205A (ja) * 2018-04-18 2019-10-31 セイコーエプソン株式会社 プロジェクター
CN109043827A (zh) * 2018-08-17 2018-12-21 广西紫极科技有限公司 一种计算机网络技术开发用演示装置
EP4269833B1 (en) * 2020-12-24 2025-09-10 Murata Machinery, Ltd. Support member
CN115421209A (zh) * 2022-08-26 2022-12-02 同方威视科技江苏有限公司 地脚支座及安检设备

Citations (3)

* Cited by examiner, † Cited by third party
Publication number Priority date Publication date Assignee Title
JPH03127620U (ja) * 1990-04-04 1991-12-24
JPH10132144A (ja) * 1996-10-24 1998-05-22 Kyokuto Kogyo Kk 棒状部材への固定機構およびそれを使用した配管支持具
JP2000138467A (ja) * 1998-10-30 2000-05-16 Nikko Ind Corp 機器用調整脚

Family Cites Families (8)

* Cited by examiner, † Cited by third party
Publication number Priority date Publication date Assignee Title
US3868079A (en) * 1973-07-09 1975-02-25 Westinghouse Electric Corp Leveling foot assembly for a laundry appliance
JPH1182881A (ja) 1997-08-29 1999-03-26 Nikko Ind Corp 機器用調整脚
JP2002291554A (ja) * 2001-03-29 2002-10-08 Nix Inc 機器用調整脚
JP3819747B2 (ja) * 2001-06-01 2006-09-13 株式会社ニフコ 昇降脚具
JP2003311092A (ja) 2002-04-25 2003-11-05 Nix Inc 機器用調整脚
CN1477442A (zh) * 2002-08-22 2004-02-25 致伸科技股份有限公司 投影机高度调整系统
US7314206B2 (en) * 2003-11-27 2008-01-01 Lg Electronics Inc. Supporting apparatus for washing machine
JP4498805B2 (ja) * 2004-04-05 2010-07-07 株式会社ニフコ 脚装置

Patent Citations (3)

* Cited by examiner, † Cited by third party
Publication number Priority date Publication date Assignee Title
JPH03127620U (ja) * 1990-04-04 1991-12-24
JPH10132144A (ja) * 1996-10-24 1998-05-22 Kyokuto Kogyo Kk 棒状部材への固定機構およびそれを使用した配管支持具
JP2000138467A (ja) * 1998-10-30 2000-05-16 Nikko Ind Corp 機器用調整脚

Cited By (6)

* Cited by examiner, † Cited by third party
Publication number Priority date Publication date Assignee Title
JP2009127685A (ja) * 2007-11-21 2009-06-11 Necディスプレイソリューションズ株式会社 電子機器用高さ調整装置
JP2009270665A (ja) * 2008-05-09 2009-11-19 Nifco Inc 脚装置
JP2011112116A (ja) * 2009-11-25 2011-06-09 Sharp Corp アジャスタ及びプロジェクタ
JP2012155171A (ja) * 2011-01-27 2012-08-16 Seiko Epson Corp プロジェクター
CN103388729A (zh) * 2012-05-10 2013-11-13 兆利科技工业股份有限公司 易于组装拆卸的屏幕支撑结构
CN103388729B (zh) * 2012-05-10 2015-08-05 兆利科技工业股份有限公司 易于组装拆卸的屏幕支撑结构

Also Published As

Publication number Publication date
JP4498805B2 (ja) 2010-07-07
CN1680745A (zh) 2005-10-12
US20050218276A1 (en) 2005-10-06
US7198238B2 (en) 2007-04-03
CN100363680C (zh) 2008-01-23
CN2826134Y (zh) 2006-10-11

Similar Documents

Publication Publication Date Title
JP4498805B2 (ja) 脚装置
JP4440705B2 (ja) 脚装置
JP3876445B2 (ja) プロジェクタ
US6523799B2 (en) Adjustable-height stand
US8579242B2 (en) Elevating mechanism for projection apparatus
JP4440736B2 (ja) 脚装置
JPH0954370A (ja) プロジェクター及びその高さ調整具
JP2002291554A (ja) 機器用調整脚
JP2009031489A (ja) プロジェクタ装置の角度調整機構
JP2008298917A (ja) プロジェクタ
JP3369976B2 (ja) 傾き調整機構を具えた投写装置
CN219877792U (zh) 一种扶手安装结构
JP4020154B2 (ja) プロジェクタ
JP3819747B2 (ja) 昇降脚具
JP4708825B2 (ja) チルトフット構造体
JPH102485A (ja) 脚高さ調節装置
JP2005299760A (ja) 脚装置
JP4783522B2 (ja) 昇降脚具
US6921173B2 (en) Tilt-foot mechanism for projector
KR100389719B1 (ko) 프로젝터의 경사 조절용 지지 구조
JP2006153957A (ja) 昇降装置
JP2008191556A (ja) プロジェクタの昇降機構及びプロジェクタ
KR102726595B1 (ko) 캠록세트를 이용한 학생용 책상 및 의자 높낮이 조절장치
JP2001054435A (ja) 昇降脚具
JP6674625B2 (ja) アジャスタ及び電子機器

Legal Events

Date Code Title Description
A621 Written request for application examination

Free format text: JAPANESE INTERMEDIATE CODE: A621

Effective date: 20061225

A977 Report on retrieval

Free format text: JAPANESE INTERMEDIATE CODE: A971007

Effective date: 20090820

A131 Notification of reasons for refusal

Free format text: JAPANESE INTERMEDIATE CODE: A131

Effective date: 20090825

A521 Request for written amendment filed

Free format text: JAPANESE INTERMEDIATE CODE: A523

Effective date: 20091013

TRDD Decision of grant or rejection written
A01 Written decision to grant a patent or to grant a registration (utility model)

Free format text: JAPANESE INTERMEDIATE CODE: A01

Effective date: 20100406

A01 Written decision to grant a patent or to grant a registration (utility model)

Free format text: JAPANESE INTERMEDIATE CODE: A01

A61 First payment of annual fees (during grant procedure)

Free format text: JAPANESE INTERMEDIATE CODE: A61

Effective date: 20100414

FPAY Renewal fee payment (event date is renewal date of database)

Free format text: PAYMENT UNTIL: 20130423

Year of fee payment: 3

R150 Certificate of patent or registration of utility model

Free format text: JAPANESE INTERMEDIATE CODE: R150

FPAY Renewal fee payment (event date is renewal date of database)

Free format text: PAYMENT UNTIL: 20130423

Year of fee payment: 3

FPAY Renewal fee payment (event date is renewal date of database)

Free format text: PAYMENT UNTIL: 20140423

Year of fee payment: 4

R250 Receipt of annual fees

Free format text: JAPANESE INTERMEDIATE CODE: R250

R250 Receipt of annual fees

Free format text: JAPANESE INTERMEDIATE CODE: R250

LAPS Cancellation because of no payment of annual fees