JP2005291276A - 流体封入式能動型防振装置 - Google Patents

流体封入式能動型防振装置 Download PDF

Info

Publication number
JP2005291276A
JP2005291276A JP2004104299A JP2004104299A JP2005291276A JP 2005291276 A JP2005291276 A JP 2005291276A JP 2004104299 A JP2004104299 A JP 2004104299A JP 2004104299 A JP2004104299 A JP 2004104299A JP 2005291276 A JP2005291276 A JP 2005291276A
Authority
JP
Japan
Prior art keywords
vibration
fluid
vibration plate
pressure receiving
axial direction
Prior art date
Legal status (The legal status is an assumption and is not a legal conclusion. Google has not performed a legal analysis and makes no representation as to the accuracy of the status listed.)
Granted
Application number
JP2004104299A
Other languages
English (en)
Other versions
JP4123179B2 (ja
Inventor
Mutsumi Muraoka
睦 村岡
Hiroyuki Ichikawa
浩幸 市川
Atsushi Muramatsu
篤 村松
Current Assignee (The listed assignees may be inaccurate. Google has not performed a legal analysis and makes no representation or warranty as to the accuracy of the list.)
Sumitomo Riko Co Ltd
Original Assignee
Tokai Rubber Industries Ltd
Priority date (The priority date is an assumption and is not a legal conclusion. Google has not performed a legal analysis and makes no representation as to the accuracy of the date listed.)
Filing date
Publication date
Application filed by Tokai Rubber Industries Ltd filed Critical Tokai Rubber Industries Ltd
Priority to JP2004104299A priority Critical patent/JP4123179B2/ja
Publication of JP2005291276A publication Critical patent/JP2005291276A/ja
Application granted granted Critical
Publication of JP4123179B2 publication Critical patent/JP4123179B2/ja
Anticipated expiration legal-status Critical
Expired - Fee Related legal-status Critical Current

Links

Images

Landscapes

  • Combined Devices Of Dampers And Springs (AREA)

Abstract

【課題】 目的とする加振力が効率的に且つ安定して発揮されることにより、所期の防振効果を長期間に亘って有効に且つ安定して得ることの出来る、新規な構造の流体封入式能動型防振装置を提供することにある。
【解決手段】 第二の取付部材14で支持せしめられて受圧室42,48の壁部の一部を構成する仕切部材40を設けて、該仕切部材40に透孔110を形成すると共に、該透孔110内に加振板112を嵌め入れて軸方向に変位可能に組み付ける一方、仕切部材40を挟んで受圧室42,48と反対側には、壁部の一部が可撓性膜26で構成されて非圧縮性流体が封入されることにより容積可変の平衡室44を形成すると共に、該平衡室44を受圧室42,48に連通するオリフィス通路58を設けた。
【選択図】 図1

Description

本発明は、非圧縮性流体が封入された受圧室の圧力変動を防振すべき振動の周波数に対応した周期で積極的に制御することにより能動的な防振効果を得るようにした流体封入式の能動型防振装置に係り、特に受圧室の圧力変動の制御のために電磁式のアクチュエータを採用した流体封入式能動型防振装置に関するものである。
例えば自動車のボデー等のように振動低減が重要視される防振対象部材において振動を低減するために、従来では、一般に、ショックアブソーバやゴム弾性体等の減衰効果を利用した振動減衰手段や、コイルスプリングやゴム弾性体等のばね効果を利用した振動絶縁手段の如き防振装置が採用されているが、これらの防振装置は何れも受動的な防振作用を利用するものである。それ故、例えば防振すべき振動の周波数等の特性が変化する場合やより高度な防振効果が要求される場合等においては、充分な防振効果を得ることが難しいという問題があった。そこで、近年では、防振すべき振動の周波数に対応した周期で加振力の発生するアクチュエータを利用して、振動を積極的に低減せしめるようにした能動型防振装置が開発され、検討されている。例えば、特許文献1に記載のものが、それである。
このような能動型防振装置では、加振力を発生するアクチュエータにおいて発生加振力の周波数や位相に関する高度の制御性が要求される。そこで、かかるアクチュエータとしては、コイル部材と該コイル部材への通電によって駆動力を受けるアーマチャ等の出力部材を備え、コイル部材への通電を制御することにより電磁力や磁力の作用によって出力部材に及ぼされる出力をコントロールすることの出来る電磁式のアクチュエータが好適に採用され得る。
より具体的には、かかる能動型防振装置においては、特許文献1にも示されているように、例えば、第一の取付部材と第二の取付部材を本体ゴム弾性体で連結することにより、本体ゴム弾性体で壁部の一部が構成されて振動が入力される受圧室を形成し、この受圧室に非圧縮性流体を封入する一方、受圧室の壁部の別の一部を変位可能に弾性支持された加振板で構成したマウント本体を備えている。そして、このマウント本体に対して、加振板を挟んで受圧室と反対側に電磁式のアクチュエータを配設して、該アクチュエータを構成するコイル部材を第二の取付部材によって固定的に支持せしめる一方、コイル部材への通電によって駆動力が及ぼされる出力部材を加振板に固定することにより、コイル部材への通電によって加振板に駆動力を及ぼして加振板を加振変位せしめることによって、受圧室の圧力を積極的に制御して防振効果を得るようになっている。
ところで、このような能動型防振装置に採用される電磁式アクチュエータにおいては、目的とする防振性能を有効に得るために、コイル部材への通電によって、加振力が目的とする大きさで安定して生ぜしめられることが要求される。入力される振動に対応した大きさの加振力が生ぜしめられることによって、例えば受圧室の圧力変動を加振板の能動的な加振変位で吸収せしめて動ばね定数を低減することにより、防振性能を大幅に向上せしめるような制御が可能となるからである。
そのためには、かかる電磁式アクチュエータにおいて、コイル部材に対する出力部材の相対的な位置関係を高精度に設定することが要求される。蓋し、出力部材に発生する磁力や電磁力の大きさは、出力部材の配設位置における磁束密度の大きさと密接に関係するが、磁束密度の大きさは磁界の発生源であるコイル部材に対する相対位置(離隔距離)によって大きく変化するからである。
ところが、前述の如き従来構造の流体封入式防振装置では、何れも、加振板が、円板形状乃至は円環板形状の支持ゴム弾性体を介して、第二の取付金具によって弾性的に位置決め支持されており、かかる支持ゴム弾性体の弾性変形に基づいて加振板の軸方向変位が許容されるようになっていることから、加振板の変位に際して支持ゴム弾性体に繰り返し生ぜしめられる弾性変形によって支持ゴム弾性体が比較的早期にへたり易い傾向にあった。そして、支持ゴム弾性体がへたると、加振板の支持位置ひいては電磁式アクチュエータにおける出力部材のコイル部材に対する軸方向での相対位置が変化してしまって、所期の駆動力や制振効果を安定して得ることが難しくなってしまうという問題があった。
特に、加振板を弾性支持せしめる支持ゴム弾性体は、受圧室の壁部の一部を構成するものであることから、封入流体に対する耐性も要求されることとなり、材料の選択自由度が比較的に小さく、更に、耐へたり性に優れた材料を採用することが難しいということも、上述の如き経時的な防振性能の低下の問題が、一層大きくなる原因の一つでもあった。
加えて、支持ゴム弾性体によって加振板を支持せしめた構造では、支持ゴム弾性体の加硫成形時における寸法誤差を抑えることが難しいことから、かかる支持ゴム弾性体の寸法誤差によって加振板が傾斜してしまって安定した作動が実現され難い場合もあった。
特開2001−1765号公報
ここにおいて、本発明は上述の如き事情を背景として為されたものであって、その解決課題とするところは、前述の如く、コイル部材と該コイル部材への通電によって動的な加振力が作用せしめられる出力部材との相対位置が、長期間に亘って高精度に設定・維持され得て、目的とする加振力が効率的に且つ安定して発揮されることにより、目的とする防振効果を長期間に亘って有効に且つ安定して得ることの出来る、新規な構造の流体封入式能動型防振装置を提供することにある。
以下、このような課題を解決するために為された本発明の態様を記載する。なお、以下に記載の各態様において採用される構成要素は、可能な限り任意の組み合わせで採用可能である。また、本発明の態様乃至は技術的特徴は、以下に記載のものに限定されることなく、明細書全体および図面に記載されたもの、或いはそれらの記載から当業者が把握することの出来る発明思想に基づいて認識されるものであることが理解されるべきである。
(本発明の態様1)
本発明の態様1の特徴とするところは、第一の取付部材と第二の取付部材を本体ゴム弾性体で連結することにより、該本体ゴム弾性体で壁部の一部が構成されて振動が入力される受圧室を形成し、該受圧室に非圧縮性流体を封入する一方、該受圧室の壁部の別の一部を変位可能に弾性支持された加振板で構成すると共に、該加振板を挟んで該受圧室と反対側に電磁式駆動手段を配設して、該電磁式駆動手段におけるコイル部材への通電によって駆動せしめられる出力部材を該加振板に連結し、該コイル部材への通電により該加振板を加振駆動せしめることにより該受圧室を圧力制御するようにした流体封入式能動型防振装置において、前記第二の取付部材で支持せしめられて前記受圧室の壁部の一部を構成する仕切部材を設けて、該仕切部材に透孔を形成すると共に、該透孔内に前記加振板を嵌め入れて軸方向に変位可能に組み付ける一方、該仕切部材を挟んで該受圧室と反対側には、壁部の一部が可撓性膜で構成されて非圧縮性流体が封入されることにより容積可変の平衡室を形成すると共に、該平衡室を前記受圧室に連通させるオリフィス通路を設けた流体封入式能動型防振装置にある。
このような本態様に従う構造とされた流体封入式能動型防振装置においては、加振板が、透孔に機械構造的に嵌め込まれて、第二の取付部材に支持された仕切部材に軸方向に変位可能に組み付けられていることにより、従来構造における支持ゴム弾性体を介することなく仕切部材に支持されている。これにより、加振板が第二の取付部材内で安定して位置決めされることとなって、加振板に連結される出力部材と電磁式駆動手段のコイル部材における相対的な位置が長期間に亘って高精度に設定, 維持されることから、所期の加振力が得られることに基づいて、目的とする防振効果が長期間に亘って有効に且つ安定して発揮され得るのである。
なお、加振板が仕切部材の透孔内に嵌め込まれて軸方向に変位せしめられる形態は、加振板が透孔内を軸方向に変位可能とされる限りにおいて、何等限定されるものでなく、例えば加振板が透孔内に対して加振板の外周縁部と透孔の縁部を構成する仕切部材の内周縁部の間に所定の大きさの隙間をもって嵌め込まれることによって、加振板の外周縁部が仕切部材の内周縁部に当接されない形態で軸方向に変位せしめられても良い。或いは加振板の外周縁部の一部乃至は全部が仕切部材の内周縁部と当接された形態、換言すると加振板の外周縁部と仕切部材の内周縁部の間の一部乃至は全部に隙間が形成されない形態で、加振板が透孔内を軸方向に変位せしめられるに伴って摺動変位せしめられるようにしても良い。また、加振板の仕切部材への嵌め込み部分における加振板の外周縁部と仕切部材の内周縁部の間に所定の大きさの隙間が形成される場合には、例えば加振板や仕切部材の大きさや形状等の設定変更に基づいて隙間の大きさを調節することよって、隙間を通じての流体流動を実質的に問題ない程度に抑えることが可能である。更に、隙間に問題ない程度の流体流動が生ぜしめられて、受圧室の封入流体が隙間を通じて漏出される場合においても、仕切部材を挟んで受圧室と反対側に平衡室が形成されていることにより、流体における流体封入領域外への漏れ出しが問題となることもない。
また、例えば、加振板を軸方向に変位可能に支持させる機構の一部に出力部材を介した電磁式駆動手段を採用しても良く、それによって、仕切部材の材料や構造、大きさ等の設計自由度が大きく確保される。その結果、例えば、加振板が軸方向に変位されやすい形状や大きさに仕切部材を設定変更すると共に、仕切部材の材料にへたりの少ない材料を採用することも好適に実現されることから、加振板の変位を一層安定させることができる。
(本発明の態様2)
本発明の態様2の特徴とするところは、本発明の前記態様1に係る流体封入式能動型防振装置において、前記可撓性膜が、その外周縁部において前記第二の取付部材に対して流体密に固着されていると共に、該可撓性膜の中央部分に対して連結部材が固着されており、該連結部材が前記加振板に重ね合わされて固定されていることにある。
このような本態様においては、受圧室の壁部の一部を構成する加振板と平衡室の壁部の一部を構成する可撓性膜が連結部材を介して固定されることにより、第一の取付部材と第二の取付部材の間の振動入力時に、該振動に対応して加振板の駆動変位を調整することによって、受圧室と平衡室の間の圧力変動を有効に惹起せしめることができるのであり、以て、オリフィス通路を通じての流体の流動作用に基づく防振効果が一層有利に発揮され得る。
(本発明の態様3)
本発明の態様3の特徴とするところは、本発明の前記態様1又は2に係る流体封入式能動型防振装置において、前記仕切部材には、前記透孔の周縁部において軸方向に立ち上がる円筒形状のガイドスリーブが形成されている一方、前記加振板の外周縁部には、軸方向に延び出す円筒形状のリム部が形成されており、該リム部が該ガイドスリーブに嵌め入れられて軸方向に変位せしめられるようになっていることにある。
このような本態様においては、リム部を備えた加振板がガイドスリーブに沿って軸方向に案内されるように変位せしめられることから、透孔内における加振板の変位が一層安定とされて、加振板の駆動効率の更なる向上が図られ得る。
(本発明の態様4)
本発明の態様4の特徴とするところは、本発明の前記態様1乃至3の何れかに係る流体封入式能動型防振装置において、前記出力部材には、前記加振板から軸方向外方に向かって突出する駆動ロッドが形成されていると共に、該駆動ロッドが、軸方向に離隔する少なくとも二箇所において、軸直角方向に広がる弾性支持部材によって、前記第二の取付部材に対して弾性的に位置決め支持されていることにある。
このような本態様においては、加振板を加振駆動せしめる出力部材が駆動ロッドを含んで構成されることとなる。そこにおいて、駆動ロッドが軸方向に離隔する少なくとも二箇所で弾性支持部材によって弾性的に支持せしめられていることによって、駆動ロッドひいては出力部材における軸方向の駆動変位が良好に確保されつつ、出力部材に惹起されるこじりが軽減乃至は回避されることから、加振板の加振駆動がより一層安定されると共に効率的に実現される。なお、弾性支持部材としては、例えば、天然ゴムや人工ゴム、合成樹脂材料からなるエラストマ材等のゴム弾性体が採用される他、好適には樹脂や合成樹脂からなる板状弾性体が、より好適には本発明の態様5に係る金属製の板ばねが採用される。
(本発明の態様5)
本発明の態様5の特徴とするところは、本発明の前記態様4に係る流体封入式能動型防振装置において、前記弾性支持部材が、軸直角方向に広がる金属製の板ばねによって構成されていることにある。
このような本態様においては、弾性支持部材の耐久性能が向上されると共に、出力部材のこじりが一層有利に抑えられる。
(本発明の態様6)
本発明の態様6の特徴とするところは、本発明の前記態様1乃至5の何れかに係る流体封入式能動型防振装置において、前記加振板の外周縁部と前記透孔の縁部の間に周方向の全周に亘って隙間が形成されていることにある。
このような本態様においては、加振板の軸方向変位にあって、加振板の外周縁部が透孔の縁部を構成する仕切部材の内周縁部に当接されることが軽減乃至は回避されることから、加振板の変位が一層安定とされるのであり、以て、駆動効率の更なる向上が図られ得る。
上述の説明から明らかなように、本発明に従う構造とされた流体封入式能動型防振装置においては、加振板が仕切部材の透孔に嵌め込まれることによって第二の取付部材内で安定して支持せしめられることから、加振板に連結される出力部材と電磁式駆動手段のコイル部材における相対的な位置が長期間に亘って高精度に設定, 維持されることとなり、以て、所期の加振力が得られることに基づいて目的とする防振効果が長期間に亘って有効に且つ安定して発揮され得る。
以下、本発明を更に具体的に明らかにするために、本発明の実施形態について説明する。先ず、図1〜2には、本発明の一実施形態としての自動車用エンジンマウント10が示されいる。このエンジンマウント10は、互いに所定距離を隔てて配された第一の取付部材としての第一の取付金具12と第二の取付部材としての第二の取付金具14が、それらの間に介装された本体ゴム弾性体16によって弾性的に連結された構造とされており、第一の取付金具12と第二の取付金具14が車両のボデー側およびパワーユニット側の各一方に取り付けられることにより、パワーユニットをボデーに対して防振支持せしめるようになっている。また、自動車への装着時には、パワーユニット重量が及ぼされて本体ゴム弾性体16が弾性変形されることにより、第一の取付金具12と第二の取付金具14が互いに接近する方向に所定量だけ相対変位せしめられると共に、防振を目的とする主たる振動が、図1中の略上下方向に入力されることとなる。なお、以下の説明において、特に断りのない限り、上下方向は図1中の上下方向をいう。
より詳細には、第一の取付金具12は、略逆円錐台形状を有しており、その大径側端部には、取付ボルト18が上方に突出するようにして一体的に設けられている。そして、第一の取付金具12は、取付ボルト18によって、例えばパワーユニット側に固定的に取り付けられるようになっている。
一方、第二の取付金具14は、大径の略段付円筒形状とされて、その軸方向中間部分には、水平方向(図1中、左右)に拡がる段差部20が形成されており、該段差部20を挟んで上下に大径部22と小径部24が形成されている。なお、図面上に明示されていないが、第二の取付金具14の内周面には、シールゴム層が被着形成されている。
また、第二の取付金具14の下側開口部には、可撓性膜としての変形容易な薄肉のゴム膜からなる、弛みをもった略円板形状のダイヤフラム26が配設されており、かかるダイヤフラム26の外周縁部が第二の取付金具14の下側開口縁部に加硫接着されることで、第二の取付金具14の下側開口部がダイヤフラム26によって流体密に覆蓋されている。また、ダイヤフラム26の中央部分には、略逆カップ形状を有する連結部材としての連結金具28が差し込まれた状態で加硫接着されている。要するに、ダイヤフラム26は、第二の取付金具14と連結金具28を備えた一体加硫成形品として形成されている。また、第二の取付金具14の外周側には、下方に延びる複数の固定用脚部30を備えた円筒形状の支持筒金具32が固定されており、これら複数の固定用脚部30が図示しない車両ボデー側にボルト固定されることによって、第二の取付金具14が支持筒金具32を介して車両ボデーに対して固定されるようになっている。
また、第二の取付金具14には、上方に離隔して第一の取付金具12が略同一中心軸上に配設されている。そして、これら第一の取付金具12と第二の取付金具14の間に本体ゴム弾性体16が配設されている。
本体ゴム弾性体16は、全体として略円錐台形状を有しており、その大径側端面には下方に開口するすり鉢形状の凹所34が形成されている。また、本体ゴム弾性体16の小径側端面には、第一の取付金具12が差し入れられた状態で加硫接着されていると共に、本体ゴム弾性体16の大径側外周面には、中間スリーブとしての大径の略円筒形状の金属スリーブ36が加硫接着されている。即ち、本体ゴム弾性体16は、第一の取付金具12と金属スリーブ36を備えた一体加硫成形品として形成されているのである。
また、本体ゴム弾性体16の一体加硫成形品における金属スリーブ36が第二の取付金具14の大径部22に嵌め込まれて、金属スリーブ36の大径部22に対する圧入固定や大径部22に施される絞り加工等の縮径加工等によって、本体ゴム弾性体16が、第二の取付金具14に対して流体密に嵌着固定されている。これにより、第二の取付金具14の上側開口部が本体ゴム弾性体16で流体密に覆蓋されて、第二の取付金具14内の本体ゴム弾性体16とダイヤフラム26の間が、外部空間に対して流体密に遮断されている。また、当該遮断領域には、オリフィス部材としてのオリフィス金具38と仕切部材としての仕切金具40が収容配置されている。
これらオリフィス金具38と仕切金具40は、略円板形状を呈していると共に、金属や合成樹脂等の硬質材を用いて形成されている。そして、仕切金具40とオリフィス金具38が第二の取付金具14の大径部22の開口部から順次に軸方向に嵌め込まれて、仕切金具40の外周縁部が第二の取付金具14の段差部20に、オリフィス金具38の外周縁部が仕切金具40の外周縁部に重ね合わされる一方、金属スリーブ36が大径部22に圧入固定されると共に、第二の取付金具14の大径部22乃至は小径部24に縮径加工が施される。それによって、オリフィス金具38と仕切金具40が、それらの各外周縁部が本体ゴム弾性体16や第二の取付金具14の内周面に被着形成されたシールゴム層に密着状態で重ね合わされていることに伴い、第二の取付金具14に流体密に嵌着固定されている。
また、第二の取付金具14内における本体ゴム弾性体16とダイヤフラム26の間がオリフィス金具38や仕切金具40で流体密に仕切られていることによって、両金具38,40を挟んだ一方(図1中、上)の側には、壁部の一部が本体ゴム弾性体16で構成されて、第一の取付金具12と第二の取付金具14の間の振動入力による本体ゴム弾性体16の弾性変形に基づいて圧力変動が惹起される主液室42が形成されていると共に、他方(図1中、下)の側には、壁部の一部がダイヤフラム26で構成されて、ダイヤフラム26の弾性変形に基づいて容積変化が容易に許容される平衡室44が形成されている。更に、これら主液室42や平衡室44には、それぞれ、非圧縮性流体が封入されている。封入流体としては、例えば水やアルキレングリコール, ポリアルキレングリコール, シリコーン油等が採用されるが、特に流体の共振作用等の流動作用に基づく防振効果を有効に得るためには、0.1Pa・s以下の低粘性流体を採用することが望ましい。なお、主液室42や平衡室44への流体の封入は、例えば、非圧縮性流体中において、第一の取付金具12及び金属スリーブ36を備えた本体ゴム弾性体16の一体加硫成形品や第二の取付金具14及び連結金具28を備えたダイヤフラム26の一体加硫成形品、オリフィス金具38、仕切金具40等を、それぞれ、前述の如く組み付けることにより実現される。
また、オリフィス金具38の中央部分には、逆カップ形状の中央壁部46が主液室42側に向かって突出形成されている。また、オリフィス金具38の底部が仕切金具40の径方向中間部分(詳細には、後述のシールゴム54や仕切ゴム56)に密着状に重ね合わされて、中央壁部46の下方開口部が仕切金具40で流体密に覆蓋されることによって、中央壁部46と仕切金具40の間には、非圧縮性流体が封入された副液室48が形成されている。更に、中央壁部46の上底部の中央には、大形の通孔50が貫設されている。これにより、主液室42と副液室48が相互に連通せしめられて、主液室42と副液室48の間の通孔50を通じての流体流動が許容されるようになっている。このことからも、明らかなように、本実施形態では、本体ゴム弾性体16で壁部の一部が構成されて振動が入力される受圧室が、主液室42と副液室48を含んで構成されている。また、本実施形態では、通孔50を通じて流動せしめられる流体の共振作用等の流動作用に基づいて、例えばアイドリング振動等の中周波数域の振動に対して有効な防振効果が発揮されるように、通孔50の通路長さや通路断面積が設定変更されている。
さらに、仕切金具40の外周縁部付近には、上方に開口する周溝52が、略一定の凹状断面をもって周方向に所定の長さ(例えば、略一周の長さ)で延びるように形成されている。また、周溝52の内周縁部には、上方に向かって突出する環状のシールゴム54が略全周に亘って被着形成されている。更に、周溝52における周上の一箇所には、シールゴム54と一体形成された仕切ゴム56が充填されて仕切られている。
そして、オリフィス金具38の周壁部が仕切金具40の周壁部に嵌め込まれると共に、オリフィス金具38の底壁部が仕切金具40のシールゴム54および仕切ゴム56に密着状に重ね合わされることによって、周溝52がオリフィス金具38で流体密に覆蓋されることとなり、以て、オリフィス金具38と仕切金具40の間の外周側には、周方向に所定の長さ(例えば、略一周弱)で延びるオリフィス通路58が形成されている。このオリフィス通路58の一方の端部が、周溝52に固着された仕切ゴム56を挟んだ周方向一方(図2中、左回り)の側においてオリフィス金具38の外周部分に形成された連通孔60を通じて主液室42に接続されていると共に、オリフィス通路58の他方の端部が、仕切ゴム56を挟んだ周方向他方(図2中、右回り)の側において周溝52の底部に貫設された連通孔62を通じて平衡室44に連通されている。また、本実施形態では、オリフィス通路58を通じて流動せしめられる流体の共振作用等の流動作用に基づいて、例えばエンジンシェイク等の低周波数域の振動に対して有効な防振効果が発揮されるように、オリフィス通路58の通路長さや通路断面積が設定変更されている。
その結果、第一の取付金具12と第二の取付金具14の間にシェイク等の低周波大振幅振動が入力されると、主液室42と平衡室44の間に惹起される相対的な圧力変動に基づいてそれら両室44,46間でオリフィス通路58を通じての流体流動が生ぜしめられることとなり、以て、オリフィス通路58通じて流動せしめられる流体の共振作用等の流動作用に基づいて防振効果(高減衰効果)が発揮されるようになっている。
また、仕切金具40における中央壁部46とシールゴム54の間の底壁部には、長孔形状を形状を呈する貫通孔61の複数(本実施形態では4つ)が、周方向に離隔して部分的に貫設されている。更に、シールゴム54等と一体形成された薄肉の弾性ゴム膜63が、各貫通孔61を覆蓋せしめるようにして仕切金具40に加硫接着されている。
その結果、弾性ゴム膜63の上面が主液室42および副液室48かならなる受圧室に露呈されていると共に、弾性ゴム膜63の下面が平衡室44に露呈されていることによって、受圧室と平衡室44の内圧がそれら上下面に及ぼされることから、振動入力時に受圧室と平衡室44の圧力差に基づいて軸方向の変位が生ぜしめられることとなる。それによって、オリフィス通路58や通孔50のチューニング周波数よりも高周波数域の振動が第一の取付金具12と第二の取付金具14の間に入力された際には、オリフィス通路58や通孔50が実質的に閉塞状態となるが、受圧室と平衡室44の間に配設された弾性ゴム膜63の弾性変形に基づく液圧吸収作用によって、オリフィス通路62や通孔50の実質的な閉塞化等に起因する受圧室52の圧力増大に伴う著しい高動ばね化が回避されて、当該高周波振動に対する低動ばね効果が発揮されるようになっている。なお、弾性ゴム膜63の固有振動数が、該弾性ゴム膜63の弾性変形に基づく液圧吸収作用に基づいて、例えば走行こもり音等の高周波小振幅振動に対して有効な防振効果が発揮されるようにチューニングされている。
また、ダイヤフラム26の中央部分に加硫接着された連結金具28の中央には、小形の取付ボルト64が下方に向かって一体的に突設されている。そして、この取付ボルト64に対して略鉛直方向に延びる駆動ロッド66が螺着固定されている。
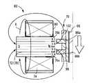
また、第二の取付金具14の下方には、電磁式駆動手段としての電磁式アクチュエータ68が配設されている。本実施形態に係る電磁式アクチュエータ68においては、公知の構造が採用可能であって、例えば特開2003−339145号公報に開示される如きアクチュエータ等が好適に採用されることから、その詳細な説明を省略するが、可動子としての可動部材70の外周側に固定子としての筒状のヨーク部材72が離隔して配設されていると共に、ヨーク部材72にコイル74や永久磁石76が組み付けられて、コイル74への通電により可動部材70とヨーク部材72の間に惹起される電磁力の作用に基づいて可動部材70とヨーク部材72が軸方向に駆動されて相対変位せしめられる構造を有している。
具体的には、ヨーク部材72は、強磁性材からなる積層鋼板によって形成されており、図面には明示されていないが、環状の外周磁路から内周面上に一対の磁極部78,78が対向して突設された構造を有している。また、それら一対の磁極部78,78には、コイル部材としてのコイル74が巻回されている。なお、各コイル74の周りは、電気絶縁層80で被覆されている。
また、ヨーク部材72における一対の磁極部78, 78の内方への突出先端面には、それぞれ、複数(本実施形態では4つ)の永久磁石76が、所定距離を隔てて対向配置されている。これら永久磁石76は、軸直角方向(図1中、左右)に着磁されており、特に本実施形態では、内周面がN極面、外周面がS極面とされた永久磁石76aと内周面がS極面、外周面がN極面とされた永久磁石76bの二種類が用いられている。そして、永久磁石76aと永久磁石76bの複数が、ヨーク部材72の内周面(磁極部78の内方への突出先端面)に対して軸方向に沿って隣り合うようにして交互に固着されている。これにより、複数の永久磁石76における磁極面(部)が、軸方向で交互に異ならされている。
また、ヨーク部材72の外周側には、固定ハウジング82が配設されている。固定ハウジング82は、略逆カップ形状を有しており軸方向に延びる大径の筒状部84と該筒状部84の上端部分に一体的に固着された略平板形状の上底部86を含んで構成されている。そして、ヨーク部材72が、筒状部84の軸方向中間部分に対して、圧入固定されたり、内挿されて筒状部84に縮径加工が施されたりすること等によって固定ハウジング82の内部に軸直角方向に拡がるようにして固定されている。
また、上底部86の外周部分には、軸方向に所定の長さで延びる複数の支持ボルト88が固設されていると共に、該支持ボルト88には、金属製の板ばねとしての上下板ばね90,90が配設されている。板ばね90は、ばね鋼等によって形成された薄肉の環状板形状を有している。また、板ばね90においては、必要に応じて、適当なスリットを形成する等して、実質的な有効ばね長を調節し、ばね特性をチューニングすることも可能である。更に、例示の如き金属製の板状ばねの他、樹脂製や合成樹脂製の板状弾性材などを採用しても良い。
そして、上下板ばね90,90が、その外周部分において固定ハウジング82の支持ボルト88に複数のスペーサ92,92,92を介して挿通されると共に支持ボルト88がナットで螺着固定されることにより、固定ハウジング82内を軸方向に離隔位置して、それぞれ、軸直角方向に拡がって配設されている。また、板ばね90の径方向中間部分には、一対の挿通孔94, 94が形成されており、上述の如き板ばね90の配設にあって、挿通孔92にコイル74が遊挿されることにより、板ばね90の弾性変形が有効に確保されている。
さらに、ヨーク部材72の内周側には、可動部材70が内挿されて略同一中心軸上に配置されている。可動部材70は、軸方向にストレートに延びる長手筒状の固定スリーブ96や薄肉環状の上下の磁性リング98,98を含んで構成されていると共に、鉄系金属等の強磁性材を用いて形成されている。また、可動部材70の上端部付近には、径方向外方に拡がるカラー100が一体形成されている。ここにおいて、固定スリーブ96が、駆動ロッド66に外挿されて、駆動ロッド66の下端部に螺着されたロックナットにより駆動ロッド66に対して固定されている。更に、固定スリーブ96のカラー100に対して軸方向で重ね合わされるようにして、上板ばね90aと、上スペーサ102aと、上磁性リング98aと、中スペーサ102bと、下磁性リング98bと、下板ばね90bと、座金104が、順次に、固定スリーブ96に対して外挿されている。更に、固定スリーブ96の下端部に固定ナット106が螺着されることにより、一対の磁性リング98a,98bが軸方向に離隔配置された形態で、上下の板ばね90a, 90bや上中下スペーサ102a,102b, 102c、上下磁性リング98a,98b、座金104が、固定スリーブ96のカラー100と固定ナット106の間で軸方向に挟持されて、固定スリーブ96延いては駆動ロッド66に対して固定されている。
また、固定ハウジング82の上底部86が第二の取付金具14の下端部分に一体形成された筒状のかしめ部108に嵌め込まれてかしめ加工が施されることによって、ヨーク部材72が、固定ハウジング82を介して第二の取付金具14に固定されている。その結果、電磁式アクチュエータ68がダイヤフラム26の下方において第二の取付金具14に組み付けられていると共に、電磁式アクチュエータ68とダイヤフラム26の中央部分に配設された連結金具28が駆動ロッド66で連結されている。
これによって、可動部材70が固定された駆動ロッド66がヨーク部材72に内挿されて、可動部材70や駆動ロッド66、ヨーク部材72が略同一中心軸上に配置されている。また、可動部材70とヨーク部材72が固定ハウジング82を介して一対の板ばね90,90で弾性連結されていることに基づいて、駆動ロッド66とヨーク部材72には、略同一中心軸上で軸方向における弾性的な相対変位が許容されるようになっている。更に、可動部材70がヨーク部材72の内周面に固着された複数の永久磁石76と軸直角方向で所定の離隔距離をもって対向位置せしめられており、特に可動部材70における磁性リング98の軸直角方向の突出先端面と複数の永久磁石76の内周側における磁極面が、僅かな離隔距離をもって軸直角方向で対向位置せしめられている。
そこにおいて、本実施形態では、仕切金具40の中央部分に略円形の透孔110が形成されており、この透孔110内に加振板112が配設されている。かかる加振板112は、金属や合成樹脂等の硬質材で形成されており、略円板形状を有していると共に、外周縁部には、軸方向両側に向かって突出する略円筒形状のリム部114が一体形成されている。
また、仕切金具40の透孔110の開口周縁部には、軸方向上方に向かって突出する略円筒形状のガイドスリーブ116が一体形成されている。ガイドスリーブ116の内径寸法は、加振板112の外径寸法よりも僅かに大きく設定されている。そして、このガイドスリーブ116に対して加振板112が嵌め入れられており、加振板112のリム部114がガイドスリーブ116で案内されつつ、軸方向に相対変位可能とされている。これによって、リム部114を備えた加振板112が、ガイドスリーブ116を備えた透孔110に嵌め込まれて支持されていることに伴い、目的とする軸方向や軸直角方向に正確に位置決めされているのである。
なお、特に本実施形態に係る加振板112は、実質的に流体流路を形成しない程度に小さな隙間寸法をもって透孔110に嵌め込まれている。当該隙間寸法:l(mm)、即ち加振板112と仕切金具40の間の径方向の離隔距離:l(mm)は、何等限定されるものでないが、例えばl≦0.5に、好適には0.1≦l≦0.3に設定されている。また、例えば、加振板112や仕切金具40の材料に低摺動性能を有するポリテトラフルオロエチレン(PTFE)等の合成樹脂を採用したり、加振板112と仕切金具40の間に摺動スリーブを介在させたり、或いは仕切部材112や仕切金具40の表面にPTFEのコーティング加工を施したり等して、リム部114を備えた加振板112と仕切金具40に安定した相対変位が実現されることが望ましい。
また、連結金具28の中央には、かしめ突部118が上方に向かって突設されており、このかしめ突部118が加振板112の中央に貫設された固定孔120に挿通されて、該かしめ突部118にかしめ加工が施されることによって、加振板112と連結金具28が相互に且つ流体密に固着されている。即ち、加振板112が、連結金具28および駆動ロッド66を介してアクチュエータ68に連結されている。
このような構造とされたエンジンマウント10においては、図3にもモデル的に示されているように、電磁式アクチュエータ68におけるコイル74に対して例えば図3中、X方向に通電することにより、ヨーク部材72の径方向内方(図3中、右)にN極が発生すると共に、径方向他方(図3中、左)にS極が発生する。また、コイル74,74に対して逆向きに通電すると、ヨーク部材72に対してN,S両極が反対に生ぜしめられる。それ故、コイル74に交番電流を通電すると、ヨーク部材72に組み付けられた複数の永久磁石76のN極とS極が交互に一方を弱められ、他方を強められることとなる。その結果、駆動ロッド66の磁性リング98,98に対して軸方向の一方に向かう力と他方に向かう磁力が交互に作用せしめられて、駆動ロッド66が、非通電状態下での釣り合い位置(図1に示される如き状態, 位置)から上下両方向に往復駆動せしめられることとなる。なお、これらの説明からも明らかなように、加振板112に連結されて電磁式アクチュエータ68におけるコイル74への通電によって駆動される出力部材が、駆動ロッド66や可動部材70を含んで構成されている。また、磁性リング98は、永久磁石76の対向面に磁極を有していても良く、それによって、一層大きな駆動力を得ることが出来る。
それによって、例えば、パワーユニットのエンジン点火信号を参照信号とすると共に、車両ボデー等の防振すべき部材の振動検出信号をエラー信号として適応制御等のフィードバック制御を行うこと等によって、コイル74への通電を制御し、駆動ロッド68を軸方向に加振駆動せしめる。その結果、例えばエンジンシェイク等の低周波振動が入力された際に、主液室42および副液室48からなる受圧室と平衡室44の間に圧力変動が有効に惹起せしめられるように加振板112を駆動制御せしめることによって、オリフィス通路58の流体流動量が十分に確保されて、該オリフィス通路58を通じての流体の共振作用等の流動作用に基づく防振効果が一層有利に発揮され得るのである。
また、例えばアイドリング振動等の中周波振動が入力された際に、該振動に対応した駆動力を加振板112に作用せしめることによって、加振板112の加振駆動に基づき主液室42および副液室48からなる受圧室の内圧が制御されることとなり、当該中周波振動に対して積極的乃至は能動的な防振効果が有効に発揮され得る。
特に本実施形態では、オリフィス金具38の通孔50を通じて流動せしめられる流体の共振周波数が、加振板112による能動的な防振効果を得ようとする、アイドリング振動等の中周波振動数域にチューニングされていることと相俟って、加振板112の加振駆動に基づいて主液室42および副液室48に生ぜしめられる圧力変動が、通孔50を通じて主液室42に及ぼされる際に、通孔50を流動せしめられる流体の共振作用等を利用して、効率的に伝達されるようになっている。そして、主液室42および副液室48の圧力変動が積極的に乃至は能動的に制御されることにより、本体ゴム弾性体16で連結された第一の取付金具12と第二の取付金具14の振動伝達特性が調節されて、目的とする防振効果が有利に発揮され得るのである。
そこにおいて、本実施形態のエンジンマウント10では、加振板112が、従来構造のような支持ゴム弾性体を介して第二の取付金具14に支持されることなく、硬質の仕切金具40に形成された透孔110を利用して精度良く組み付けられていることから、加振板112の駆動変位が極めて安定とされる。それ故、目的とする加振力が長きに亘って効率的に且つ安定して発揮されることとなり、所期の防振効果が長期間に亘り安定して得られるのである。
また、本実施形態においては、駆動ロッド66の上部が仕切金具40に支持された加振板112に固定されていることに加えて、駆動ロッド66の中間部分および下部が可動部材70に固定された上下の板ばね90,90に支持されていることによって、該駆動ロッド66における軸方向および軸直角方向の位置決めが高度に実現され得るのであり、以て、加振板112の駆動効率が一層有利に向上され得るのである。
さらに、本実施形態では、加振板112が透孔110に嵌め込まれることによって仕切金具40、延いては第二の取付金具14に支持される一方、加振板112に連結される連結金具28や駆動ロッド66、電磁式アクチュエータ68における可動部材70が、それぞれ、別体形成されていると共にボルト固定により連結されるようになっていることから、例えば非圧縮性流体中において、加振板112を固着した連結金具28と第二の取付金具14を備えたダイヤフラム26の一体加硫成形品に対してオリフィス金具38や仕切金具40、更には金属スリーブ36および第一の取付金具12を備えた本体ゴム弾性体16の一体加硫成形品を組み付けることによって、加振板112を仕切金具40の透孔110に嵌め込むと共に、非圧縮性流体が封入された主液室42や副液室48、平衡室44を形成した後に、大気中において連結金具28と電磁式アクチュエータ68を駆動ロッド66を介してボルト固定により連結させることも可能となる。その結果、本実施形態に係るエンジンマウント10が、簡単な製造工程によって有利に実現され得るのである。
以上、本発明の実施形態について詳述してきたが、これはあくまでも例示であり、かかる実施形態における具体的な記載によって、本発明は、何等限定されるものでなく、当業者の知識に基づいて種々なる変更、修正、改良等を加えた態様で実施可能であり、また、そのような実施態様が、本発明の趣旨を逸脱しない限り、何れも、本発明の範囲内に含まれるものであることは、言うまでもない。
例えば、採用される電磁式アクチュエータには、例示の如き固定子側に永久磁石を配設すると共に、可動子側を強磁性材からなる可動部材で構成することにより、コイルへの通電によって生ぜしめられる磁界によって固定子側のN極とS極を交互に増減させて、可動部材を往復駆動せしめるようにした構造のもの(原理は、例えば特開2003−339145号公報等に開示されて公知のものであるから、ここでは詳細な説明を省略する)の他、特開2000−213586号公報や特開2001−1765号公報等に開示された従来から公知の各種の電磁式アクチュエータが、何れも採用可能である。
要するに、前述の電磁式アクチュエータにおけるヨーク部材や可動部材、永久磁石、コイル等の形状や大きさ、材質、配設形態等は、何等限定されるものでなく、それらの設定変更は当業者の自由である。
例えば、前記実施形態では、ヨーク部材に配設される永久磁石として、軸直角方向に着磁された永久磁石が採用されていたが、軸方向に着磁された永久磁石を採用しても良い。
さらに、前記実施形態では、可動部材が強磁性材で形成されていたが、ヨーク部材に配設された永久磁石による磁界の作用を考慮しつつ、可動部材の一部に永久磁石を配設したり、或いは可動部材を永久磁石で構成することも可能である。
また、主液室や副液室、平衡室、オリフィス通路等の形状や大きさ、構造、数等は、例示の如きものに限定されるものでない。
例えば、前記実施形態では、オリフィス通路が、仕切金具にオリフィス金具が重ね合わされることによって形成されていたが、オリフィス金具を設けずに、仕切金具の外周面に開口して周方向に所定の長さで延びる凹溝を第二の取付金具で覆蓋せしめることにより形成されても良い。加えて、オリフィス金具は必須でないことから、副液室も必ずしも設けられる必要はない。
また、オリフィス通路の具体的構造や寸法等は何等限定されるものでなく、要求される防振特性に応じてチューニングされる。また、オリフィス通路は、受圧室と平衡室を連通させるものであれば良く、例示のように主液室と副液室からなる受圧室を備えている場合には、オリフィス通路により、平衡室を主液室に連通させても良いし、平衡室を副液室に連通させても良い。
また、本発明は、例示の如きエンジンマウントの他、能動的な防振装置に対して広く適用可能であり、例えばFF型自動車用エンジンマウント等として採用されている円筒型のエンジンマウントにおいても、流体封入式能動型防振装置として実現する場合に適用可能であり、或いは例示の如きパワーユニットとボデー間等の二つの部材間に介装される防振連結体乃至は防振支持体の他、制振すべき振動対象物に対して取り付けられる制振器としても、同様に利用することが可能である。具体的には、かかる流体封入式の能動型制振器は、例えば前記実施形態に示されたエンジンマウントを、その第二の取付金具をブラケットにより制振対象物に対して固定する一方、第一の取付金具に対して、その取付板部に適当な質量のマス部材を装着することにより、能動的な制振装置を実現することが出来る。
加えて、本発明は、自動車用のボデーマウントやメンバマウント等、或いは自動車以外の各種装置におけるマウントや制振器などの防振装置や、そのような防振装置に用いられるアクチュエータに対して、同様に適用可能である。
本発明の一実施形態としての自動車用エンジンマウントを示した縦断面説明図である。 図1におけるII−II断面図である。 図1における自動車用エンジンマウントの一部を構成する電磁式アクチュエータの一作動形態をモデル的に示す概略説明図である。
符号の説明
10 エンジンマウント
12 第一の取付金具
14 第二の取付金具
16 本体ゴム弾性体
26 ダイヤフラム
40 仕切金具
42 主液室
44 平衡室
48 副液室
58 オリフィス通路
66 駆動ロッド
68 電磁式アクチュエータ
70 可動部材
74 コイル
110 透孔

Claims (6)

  1. 第一の取付部材と第二の取付部材を本体ゴム弾性体で連結することにより、該本体ゴム弾性体で壁部の一部が構成されて振動が入力される受圧室を形成し、該受圧室に非圧縮性流体を封入する一方、該受圧室の壁部の別の一部を変位可能に弾性支持された加振板で構成すると共に、該加振板を挟んで該受圧室と反対側に電磁式駆動手段を配設して、該電磁式駆動手段におけるコイル部材への通電によって駆動せしめられる出力部材を該加振板に連結し、該コイル部材への通電により該加振板を加振駆動せしめることにより該受圧室を圧力制御するようにした流体封入式能動型防振装置において、
    前記第二の取付部材で支持せしめられて前記受圧室の壁部の一部を構成する仕切部材を設けて、該仕切部材に透孔を形成すると共に、該透孔内に前記加振板を嵌め入れて軸方向に変位可能に組み付ける一方、該仕切部材を挟んで該受圧室と反対側には、壁部の一部が可撓性膜で構成されて非圧縮性流体が封入されることにより容積可変の平衡室を形成すると共に、該平衡室を前記受圧室に連通させるオリフィス通路を設けたことを特徴とする流体封入式能動型防振装置。
  2. 前記可撓性膜が、その外周縁部において前記第二の取付部材に対して流体密に固着されていると共に、該可撓性膜の中央部分に対して連結部材が固着されており、該連結部材が前記加振板に重ね合わされて固定されている請求項1に記載の流体封入式能動型防振装置。
  3. 前記仕切部材には、前記透孔の周縁部において軸方向に立ち上がる円筒形状のガイドスリーブが形成されている一方、前記加振板の外周縁部には、軸方向に延び出す円筒形状のリム部が形成されており、該リム部が該ガイドスリーブに嵌め入れられて軸方向に変位せしめられるようになっている請求項1又は2に記載の流体封入式能動型防振装置。
  4. 前記出力部材には、前記加振板から軸方向外方に向かって突出する駆動ロッドが形成されていると共に、該駆動ロッドが、軸方向に離隔する少なくとも二箇所において、軸直角方向に広がる弾性支持部材によって、前記第二の取付部材に対して弾性的に位置決め支持されている請求項1乃至3の何れかに記載の流体封入式能動型防振装置。
  5. 前記弾性支持部材が、軸直角方向に広がる金属製の板ばねによって構成されている請求項4に記載の流体封入式防振型防振装置。
  6. 前記加振板の外周縁部と前記透孔の縁部の間に周方向の全周に亘って隙間が形成されている請求項1乃至5の何れかに記載の流体封入式能動型防振装置。

JP2004104299A 2004-03-31 2004-03-31 流体封入式能動型防振装置 Expired - Fee Related JP4123179B2 (ja)

Priority Applications (1)

Application Number Priority Date Filing Date Title
JP2004104299A JP4123179B2 (ja) 2004-03-31 2004-03-31 流体封入式能動型防振装置

Applications Claiming Priority (1)

Application Number Priority Date Filing Date Title
JP2004104299A JP4123179B2 (ja) 2004-03-31 2004-03-31 流体封入式能動型防振装置

Publications (2)

Publication Number Publication Date
JP2005291276A true JP2005291276A (ja) 2005-10-20
JP4123179B2 JP4123179B2 (ja) 2008-07-23

Family

ID=35324447

Family Applications (1)

Application Number Title Priority Date Filing Date
JP2004104299A Expired - Fee Related JP4123179B2 (ja) 2004-03-31 2004-03-31 流体封入式能動型防振装置

Country Status (1)

Country Link
JP (1) JP4123179B2 (ja)

Cited By (10)

* Cited by examiner, † Cited by third party
Publication number Priority date Publication date Assignee Title
JP2009092235A (ja) * 2007-09-21 2009-04-30 Tokai Rubber Ind Ltd 流体封入式防振装置
JP2009092237A (ja) * 2007-09-21 2009-04-30 Tokai Rubber Ind Ltd 流体封入式防振装置
JP2009092236A (ja) * 2007-09-21 2009-04-30 Tokai Rubber Ind Ltd 流体封入式防振装置
JP2009162281A (ja) * 2007-12-28 2009-07-23 Tokai Rubber Ind Ltd 能動型流体封入式防振装置
JP2009162282A (ja) * 2007-12-28 2009-07-23 Tokai Rubber Ind Ltd 防振装置用板ばねとそれを用いた能動型流体封入式防振装置や能動型制振装置、電磁式アクチュエータ
US8047513B2 (en) 2007-09-21 2011-11-01 Tokai Rubber Industries, Ltd. Fluid filled type vibration damping device
US8100388B2 (en) 2008-05-29 2012-01-24 Hyundai Motor Company Electromagnetic active engine mount apparatus
US8172209B2 (en) 2007-09-21 2012-05-08 Tokai Rubber Industries, Ltd. Fluid filled type vibration damping device
JP2012097795A (ja) * 2010-10-30 2012-05-24 Toyo Tire & Rubber Co Ltd 能動型液封入式防振装置
JP5899296B1 (ja) * 2014-11-26 2016-04-06 住友理工株式会社 防振用電磁式アクチュエータと、それを用いた能動型流体封入式防振装置および能動型制振装置

Cited By (14)

* Cited by examiner, † Cited by third party
Publication number Priority date Publication date Assignee Title
US8172209B2 (en) 2007-09-21 2012-05-08 Tokai Rubber Industries, Ltd. Fluid filled type vibration damping device
JP2009092237A (ja) * 2007-09-21 2009-04-30 Tokai Rubber Ind Ltd 流体封入式防振装置
JP2009092236A (ja) * 2007-09-21 2009-04-30 Tokai Rubber Ind Ltd 流体封入式防振装置
US8047513B2 (en) 2007-09-21 2011-11-01 Tokai Rubber Industries, Ltd. Fluid filled type vibration damping device
JP2009092235A (ja) * 2007-09-21 2009-04-30 Tokai Rubber Ind Ltd 流体封入式防振装置
JP2009162281A (ja) * 2007-12-28 2009-07-23 Tokai Rubber Ind Ltd 能動型流体封入式防振装置
JP2009162282A (ja) * 2007-12-28 2009-07-23 Tokai Rubber Ind Ltd 防振装置用板ばねとそれを用いた能動型流体封入式防振装置や能動型制振装置、電磁式アクチュエータ
US8100388B2 (en) 2008-05-29 2012-01-24 Hyundai Motor Company Electromagnetic active engine mount apparatus
JP2012097795A (ja) * 2010-10-30 2012-05-24 Toyo Tire & Rubber Co Ltd 能動型液封入式防振装置
JP5899296B1 (ja) * 2014-11-26 2016-04-06 住友理工株式会社 防振用電磁式アクチュエータと、それを用いた能動型流体封入式防振装置および能動型制振装置
WO2016084559A1 (ja) * 2014-11-26 2016-06-02 住友理工株式会社 防振用電磁式アクチュエータと、それを用いた能動型流体封入式防振装置および能動型制振装置
CN106461000A (zh) * 2014-11-26 2017-02-22 住友理工株式会社 隔振用电磁式致动器、使用其的能动型流体封入式隔振装置以及能动型减振装置
CN106461000B (zh) * 2014-11-26 2018-06-12 住友理工株式会社 隔振用电磁式致动器、使用其的能动型流体封入式隔振装置以及能动型减振装置
US10100897B2 (en) 2014-11-26 2018-10-16 Sumitomo Riko Company Limited Vibration-damping electromagnetic actuator, active fluid-filled vibration-damping device and active vibration-damping device using the same

Also Published As

Publication number Publication date
JP4123179B2 (ja) 2008-07-23

Similar Documents

Publication Publication Date Title
JP4120828B2 (ja) 流体封入式能動型防振装置
JP3972210B2 (ja) 流体封入式能動型防振装置
JP5568472B2 (ja) 流体封入式防振装置
EP0945643B1 (en) Fluid-filled active vibration damping device including oscillating member oscillated by actuator controlled with pulse signal
JP5641525B2 (ja) 流体封入式能動型防振装置
JP4123179B2 (ja) 流体封入式能動型防振装置
JP3503288B2 (ja) 流体封入式防振装置
JP5226599B2 (ja) 防振装置
JP4258847B2 (ja) 流体封入式能動型防振装置
JPH05164179A (ja) 流体封入式防振装置
JP3778013B2 (ja) 流体封入式防振装置
JP2618784B2 (ja) 流体封入式防振装置
JP2010270785A (ja) 液封入式防振装置
JP3873618B2 (ja) 能動型防振用加振器およびそれを用いた能動型防振装置
JP2007218418A (ja) 能動型液封入式防振装置
JP4075062B2 (ja) 能動型流体封入式防振装置
JPH10267072A (ja) 流体封入式防振装置
JP4123177B2 (ja) 流体封入式能動型防振装置
JP4079072B2 (ja) 能動型流体封入式防振装置
JP5002176B2 (ja) 電磁式能動型マウント
JP5033082B2 (ja) 能動型液封入式防振装置
JP4088795B2 (ja) 流体封入式能動型防振装置
JP3620369B2 (ja) 流体封入式能動的マウント
JP2827844B2 (ja) 流体封入式マウント装置
JP3116558B2 (ja) 位相変換型流体封入式防振装置

Legal Events

Date Code Title Description
A621 Written request for application examination

Free format text: JAPANESE INTERMEDIATE CODE: A621

Effective date: 20060823

A977 Report on retrieval

Free format text: JAPANESE INTERMEDIATE CODE: A971007

Effective date: 20070510

A131 Notification of reasons for refusal

Free format text: JAPANESE INTERMEDIATE CODE: A131

Effective date: 20070516

A521 Written amendment

Free format text: JAPANESE INTERMEDIATE CODE: A523

Effective date: 20070713

TRDD Decision of grant or rejection written
A01 Written decision to grant a patent or to grant a registration (utility model)

Free format text: JAPANESE INTERMEDIATE CODE: A01

Effective date: 20080408

A01 Written decision to grant a patent or to grant a registration (utility model)

Free format text: JAPANESE INTERMEDIATE CODE: A01

A61 First payment of annual fees (during grant procedure)

Free format text: JAPANESE INTERMEDIATE CODE: A61

Effective date: 20080421

R150 Certificate of patent or registration of utility model

Free format text: JAPANESE INTERMEDIATE CODE: R150

FPAY Renewal fee payment (event date is renewal date of database)

Free format text: PAYMENT UNTIL: 20110516

Year of fee payment: 3

FPAY Renewal fee payment (event date is renewal date of database)

Free format text: PAYMENT UNTIL: 20110516

Year of fee payment: 3

FPAY Renewal fee payment (event date is renewal date of database)

Free format text: PAYMENT UNTIL: 20120516

Year of fee payment: 4

FPAY Renewal fee payment (event date is renewal date of database)

Free format text: PAYMENT UNTIL: 20120516

Year of fee payment: 4

FPAY Renewal fee payment (event date is renewal date of database)

Free format text: PAYMENT UNTIL: 20130516

Year of fee payment: 5

FPAY Renewal fee payment (event date is renewal date of database)

Free format text: PAYMENT UNTIL: 20140516

Year of fee payment: 6

LAPS Cancellation because of no payment of annual fees