EP2660397A1 - Anlage zur Versorgung eines Löschwasserverbrauchers - Google Patents

Anlage zur Versorgung eines Löschwasserverbrauchers Download PDF

Info

Publication number
EP2660397A1
EP2660397A1 EP13165537.5A EP13165537A EP2660397A1 EP 2660397 A1 EP2660397 A1 EP 2660397A1 EP 13165537 A EP13165537 A EP 13165537A EP 2660397 A1 EP2660397 A1 EP 2660397A1
Authority
EP
European Patent Office
Prior art keywords
water
container
way valve
level
valve
Prior art date
Legal status (The legal status is an assumption and is not a legal conclusion. Google has not performed a legal analysis and makes no representation as to the accuracy of the status listed.)
Granted
Application number
EP13165537.5A
Other languages
English (en)
French (fr)
Other versions
EP2660397B1 (de
Inventor
Michael Steinhoff
Current Assignee (The listed assignees may be inaccurate. Google has not performed a legal analysis and makes no representation or warranty as to the accuracy of the list.)
Minimax GmbH and Co KG
Original Assignee
Minimax GmbH and Co KG
Priority date (The priority date is an assumption and is not a legal conclusion. Google has not performed a legal analysis and makes no representation as to the accuracy of the date listed.)
Filing date
Publication date
Application filed by Minimax GmbH and Co KG filed Critical Minimax GmbH and Co KG
Publication of EP2660397A1 publication Critical patent/EP2660397A1/de
Application granted granted Critical
Publication of EP2660397B1 publication Critical patent/EP2660397B1/de
Not-in-force legal-status Critical Current
Anticipated expiration legal-status Critical

Links

Images

Classifications

    • EFIXED CONSTRUCTIONS
    • E03WATER SUPPLY; SEWERAGE
    • E03BINSTALLATIONS OR METHODS FOR OBTAINING, COLLECTING, OR DISTRIBUTING WATER
    • E03B7/00Water main or service pipe systems
    • E03B7/04Domestic or like local pipe systems
    • AHUMAN NECESSITIES
    • A62LIFE-SAVING; FIRE-FIGHTING
    • A62CFIRE-FIGHTING
    • A62C35/00Permanently-installed equipment
    • A62C35/02Permanently-installed equipment with containers for delivering the extinguishing substance
    • A62C35/11Permanently-installed equipment with containers for delivering the extinguishing substance controlled by a signal from the danger zone
    • A62C35/15Permanently-installed equipment with containers for delivering the extinguishing substance controlled by a signal from the danger zone with a system for topping-up the supply of extinguishing material automatically

Definitions

  • the invention relates to a system for feeding water into a container for supplying an extinguishing water consumer from a drinking water pipeline via a free outlet.
  • the plant is everywhere applicable where a water, especially a fire water consumer is present, the water in a container such as an intermediate container is available and the intermediate container with water from the public water supply or the domestic water supply of a building, especially from a Drinking water pipeline to be fed and refilled.
  • connection lines to the make-up valve In order to prevent stagnant water, connection lines to the make-up valve must be flushed regularly in accordance with the generally accepted rules of technology. Usually, self-acting purging devices are installed for this purpose, which ensure the required regular water exchange in the connection lines.
  • Containers such as reservoirs or lines for extinguishing water, for example for extinguishing nozzles of extinguishing systems in a building must have sufficient extinguishing agents such as extinguishing water available.
  • extinguishing agent container is always filled with extinguishing agent and, in the event of fire, is fed with further extinguishing agent, such as water.
  • the extinguishing water is derived from a domestic water supply or a public water supply network, no water from tap water or containers with stagnant water in the public water network or the domestic water network, especially in drinking water pipelines must flow back so that the quality of the drinking water is not affected.
  • DE 600 20 519 T2 describes a parallel-fed integrated non-stagnant water supply network for domestic water and sprinkler systems, in which a storage tank is arranged, the stagnation of water being prevented by supplying both the individual consumers of the house and the sprinkler system directly from the drinking water line, including are provided on the drinking water pipe multiport connections, so that a backflow of the domestic water in the drinking water pipe is not possible.
  • DE 27 47 941 A1 describes a drinking water pipe from which a hot water circuit is diverted and prevent a piston separation pipe and pressure control valve that hot water flows back from the hot water circuit in the drinking water pipe, with a three-way valve is arranged. This electromagnetic three-way valve partially connects the drinking water line with a pressure and discharge line. A reservoir for extinguishing water was not described in this document.
  • DE 10 2006 028 151 A1 1 describes a method for drinking, operating and / or extinguishing water supply and drinking, operating and / or extinguishing water pipes with a reservoir containing a baffle plate.
  • the solution provides that drinking water is introduced into a storage tank and removed as needed via a water pressure line and that a pressure drop in the pipe network is inevitably generated by opening an actuator.
  • the document specifies a possibility to meet the respective requirements with regard to the operation of a domestic water supply.
  • DE 100 35 889 A1 1 describes a device for fresh water supply, in which a container for fresh water and a container for service water are arranged, each container having a float and a valve and a three-way valve is arranged in the inlet of the process water tank in front of a conveyor.
  • the proposed solution meets the legal requirements, however, requires a considerable costly equipment expenditure.
  • this device allows no priority filling of the container in case of need by throttling or blocking the water supply to other consumers.
  • DE 39 11 747 C2 describes a device for regulating the water supply from a reservoir of a fire extinguishing system in which the level of the water level in the container is determined by means of floats, wherein a rod between the float and valve is arranged, which allows a uniform control of the valve and thus the water outlet.
  • a disadvantage of the existing state of the art is that the existing systems for supplying a consumer such as an extinguishing water consumer from a drinking water pipeline of a building or the public water supply require considerable effort to meet the normative requirements. This concerns the technically complex barrier and the devices for flushing. Furthermore, the systems are not always suitable, nachzuspeisen from the pipeline network of the building or from the public pipeline network for water supply demand-controlled water in sufficient quantity in the container. In particular, these systems and devices do not allow priority or exclusive supply of fire water consumers through a container which is filled by blocking or throttling the water supply to all other consumers on the pipeline or the pipe network primarily via a valve which simultaneously performs this shut-off or throttling.
  • a system for feeding water into a container according to the features of the first claim.
  • the system can also be designed as a device.
  • the solution according to the invention provides for a cost-effective and reliable system for the demand-controlled supply of water into a container for supplying an extinguishing water consumer from a drinking water pipeline via a free outlet.
  • This container serves as a buffer and supplies a fire water consumer.
  • the container does not have an immediate fluid connection to the drinking water pipeline, i. no direct connection, so that no water from the container, which is stagnant after a long time, contaminated water, can not get into the drinking water pipeline either by sucking back or by opening valves.
  • the only connection of the container to the supplying pipeline network or drinking water pipeline is the air gap, the free fall distance of the free outlet for filling the container.
  • the term domestic water is also used for drinking water.
  • Household water consumers are thus drinking water consumers, if the pipeline network for domestic water leads drinking water.
  • the drinking water pipeline is part of the drinking water pipeline network, which may also be pronounced as a pipeline network for domestic water.
  • the term drinking water pipeline can be used as a synonym for the pipeline network for domestic water.
  • a valve preferably a multi-way valve is arranged in the drinking water pipeline, preferably the domestic water supply, which completely or partially releases the path of the water via a free outlet into the container in the one switching position or in a circuit area and thereby the flow of water in the Drinking water pipeline in the direction of domestic water consumers in the flow direction after the valve blocks or partially blocks and locks in the other switching position or the other switch position range the path of the water in the container or throttles the inflowing amount of water and the Path of water in the drinking water pipeline in the direction of domestic water consumers completely or partially releases.
  • the feed into the container takes place depending on the level of the water level in the container.
  • the container has a float for determining the level of the water level in the container, wherein the multi-way valve and the float are designed so that the float directly actuates the multi-way valve, and thus the switching position of the multi-way valve from the level of the water level in the container depends.
  • valve is placed directly after the connection to the public water supply in the piping network as the first consumer, so that the container and the fire water consumer in case of need, the first and only water consumer.
  • a suitable level measuring device e.g. a sensor, float switch or float arranged, which determines the level of the liquid in the container and the valve, preferably the multi-way valve in a suitable manner.
  • the valve is then adjusted as long and to the extent required by the level in the tank. This ensures that the intermediate container always has a predetermined water level.
  • the valve control can be mechanical, electrical, pneumatic and hydraulic, wherein the valve can be controlled directly or indirectly.
  • the free outlet may be located between the outlet of the valve and the water surface.
  • a pipe, a gutter or another suitable means for discharging the water can also be arranged between the valve and the free outlet.
  • the container for the extinguishing water may be made of metal, plastic or other suitable material and is designed so that it includes a fire-extinguishing volume, which is sufficient for a part of the deletion process. It may be a closed container in a frost protected location. If no frost-protected place is available, the container should be insulated or heated accordingly. At the lowest point of the container, a drain valve for discharging the extinguishing agent is arranged. At the highest point, as far as it is a closed container, a device for ventilation and be provided.
  • a multi-way valve as a valve in the drinking water pipeline.
  • Particularly suitable is a 3/2-way valve with overlap, so that a continuous control with intermediate positions is possible.
  • switch positions or switch position ranges can be set so that a completely blocked or partially throttled flow of water into the drinking water pipeline from the public water supply is possible, with simultaneous exclusive feed or partially throttled feeding of the water into the container. But it is also possible to block this feed completely or only partially.
  • shut-off valves may be, for example, butterfly valves, which are connected in opposition, so that they can be opened or closed continuously.
  • a float is suitable.
  • This float can actuate the valve directly.
  • Another possibility is to transmit a signal electronically to the valve control.
  • a mechanical transmission for example by means of linkage.
  • a transmission such as a reduction gear can be arranged between the linkage and the valve.
  • Conceivable are other suitable gear or linkage.
  • Another way to measure the level of the water level in the container can be done by means of a pilot valve, in which case a hydraulically acting valve is present, which adjusts the above-mentioned switching positions or switching ranges.
  • valve in this context of the design of the valve, it is possible to form the valve as a motor slide or as a solenoid valve. Also conceivable are pneumatically actuated butterfly valves with pneumatic actuators or self-medium-controlled valves, which are controlled by pilot valves.
  • Another object of the invention is a device for demand-controlled water supply for extinguishing water consumers with feeding water into a container for supplying a fire water consumer from a drinking water pipeline via a free outlet, wherein the container has no immediate fluid connection to the drinking water pipeline.
  • the device is characterized in that a multi-way valve is arranged in the drinking water pipeline, which completely or partially releases the path of the water into the container in the one switching position or in a switching position range and thereby the flow of water in the drinking water pipeline in the direction of domestic water consumers (12). locks or partially blocks and locks in the other switching position or the other switch position range the way of water in the container or throttles the inflowing amount of water and thereby completely or partially releases the path of the water in the drinking water pipeline towards domestic water consumers.
  • the container has a float for determining the level of the water level.
  • the multi-way valve and the float are designed so that the float directly actuates the multi-way valve, and thus the switching position of the multi-way valve depends on the level of the water level in the container.
  • the multi-way valve is a 3/2-way valve with overlap and between float and multi-way valve, a linkage and a transmission are arranged, the float via the linkage and the transmission directly operated the 3/2-way valve ,
  • the solution according to the invention has the advantage that with little technical effort, reliable and inexpensive water from the domestic water supply, if necessary and in required quantities via a container for supplying a fire water consumer is provided without water loss caused by forced flushing.
  • the proposed solution it is still not possible that stagnant water from the extinguishing agent container in the public water supply or in the Drinking water pipeline of the building can get. Furthermore, the system ensures that in case of need, first or even exclusively the container is fed with the water, and that only when reached the predetermined level of water level in the container, the water flow in the drinking water pipeline towards home water consumers is fully released. This is necessary in particular for extinguishing water consumers.
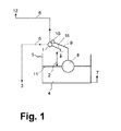
  • the FIG. 1 shows the system for supplying an extinguishing water consumer 7 from a drinking water pipe 6 for a domestic water supply between the inlet of the public water supply 3 and the domestic water consumers 12 of the building or house, in which line 6, the multi-way valve 1 is arranged.
  • the multi-way valve 1 is a 3/2-way valve.
  • the multi-way valve 1 is controlled mechanically via the gear 10, a reduction gear.
  • the water passes at a corresponding valve position in the container 5, the intermediate container for the extinguishing water consumer 7.
  • the container volume is dimensioned according to the water requirement.
  • the container 5 Since the container 5 is filled only via the free outlet 2 and has no pipe connection to the drinking water pipe 6, the container 5 has no direct fluid connection with the drinking water pipe 6. Thus, a safe separation between the fresh water, usually drinking water, in the drinking water pipeline 6 and the Industrial water in the container 5 guaranteed.
  • the water in the container 5 is after filling by prolonged standing in this container to stagnant water, to process water which is contaminated.
  • the level 11 of the water level in the container 5 is controlled by a sensor which is a float 8 with the linkage 9 to the transmission 10.
  • the float 8 actuates the multi-way valve (1) directly to the linkage 9 and the transmission 10, so that the switching position of the multi-way valve 1 from level 11 of the water level in the container 5 depends.
  • the measured level height can be mechanically converted into actuation paths for controlling the multi-way valve and the required switching positions or switching position ranges of the multi-way valve 1 can be realized.
  • a switching position or in a switching position range of the multi-way valve 1 is achieved, which is the path of the water from the drinking water pipe 6 via the pipe 15 to the free outlet and the free outlet 2 in the container. 5 completely or partially releases and thereby blocks or partially blocks the flow of water in the drinking water pipeline 6 of the domestic water supply in the direction of the domestic water consumers. This happens until the float 8 has reached a predetermined height and the multi-way valve 1 blocks the path of the water to the outlet 2 and no more water flows into the container 5. In this switching position, the multi-way valve 1 is the path of water between the inlet from the public water supply 3 to the domestic water consumers 12 in the pipeline network 6 completely free.
  • the multi-way valve 1 closes the way of the water to the domestic water consumer 12 completely or partially, so that the water from the inlet of the public water supply 3 priority or only partially reach the intermediate container for the fire water 4 can.
  • the multi-way valve 1 via the float 8, the linkage 9 and the transmission 10 is controlled so that the water through the pipe 15 and the outlet 2 into the container. 5 flows according to demand, it is ensured that the container 5 is supplied with sufficient water before it reaches the domestic water consumers 12 on the drinking water pipe 6 of the house.
  • the extinguishing water consumer 7 is not shown.
  • Fire water consumers are e.g. Sprinkler systems, water spray extinguishing systems, wall hydrant systems, water mist systems and others, and a connection valve that supplies a mobile extinguishing device and other devices for extinguishing.
  • FIG. 2 shows the possible switching positions of the multi-way valve 1, designed as a 3/2-way valve with overlap and intermediate positions, which either completely or partially releases the path of the water from the inlet 3 of the public water supply to the outlet 2 in the container 5 or in the switched position Path of the water from the inlet 3 of the public water supply towards the domestic water consumer 12 wholly or partially releases.
  • FIG. 3 shows the schematic representation of the system with a multi-way valve 1 and a sensor 13 in the container 5, which is arranged as an electronic sensor over the height of the container 5 for transmitting the level 11 of the water level.
  • the sensory determined level 11 of the water level of the fire-extinguishing water 4 in the container 5 is transmitted electronically to the valve control 14 of the multi-way valve.
  • the switching of the multi-way valve and the flow of water to the demand-controlled feed into the container 5 in an analogous manner as that for FIG. 1 has been described.
  • FIG. 4 shows an embodiment of a schematic representation of the system with a multi-way valve in which a float 8 is disposed on the extinguishing water 4 of the container 5 and electronically transmits the level 11 of the water level to the valve control 14, so that as in the manner already described above a Control of the multi-way valve 1 can be carried out according to the level 11 of the water level.
  • the free outlet 2 is located directly and without a pipe or gutter between multi-way valve 1 and the level 11 of the water level, so that the water falls directly from the multi-way valve 1 into the container 5.

Landscapes

  • Health & Medical Sciences (AREA)
  • Life Sciences & Earth Sciences (AREA)
  • Engineering & Computer Science (AREA)
  • Hydrology & Water Resources (AREA)
  • Public Health (AREA)
  • Water Supply & Treatment (AREA)
  • Float Valves (AREA)

Abstract

Die Erfindung betrifft eine Anlage zur Einspeisung von Wasser in einem Behälter (5) für Wasser zur Versorgung eines Löschwasserverbrauchers (7) aus einer Trinkwasserrohrleitung (6) für Hauswasser über einen freien Auslauf (2), wobei in der Trinkwasserrohrleitung (6) ein Mehrwegeventil (1) angeordnet ist, welches in der einen Schaltstellung oder in einem Schaltstellungsbereich den Weg des Wassers in den Behälter (5) vollständig oder teilweise freigibt und den Fluss des Wassers in der Trinkwasserrohrleitung (6) in Richtung Hauswasserverbraucher (12) sperrt oder teilweise sperrt und in der anderen Schaltstellung oder dem anderen Schaltstellungsbereich den Weg des Wassers in den Behälter (5) sperrt oder die zufließende Wassermenge drosselt und den Weg des Wassers in der Trinkwasserrohrleitung (6) in Richtung Hauswasserverbraucher (12) vollständig oder teilweise freigibt, wobei die Einspeisung in Abhängigkeit vom Niveau (11) des Wasserstandes im Behälter (5) erfolgt.

Description

  • Die Erfindung betrifft eine Anlage zur Einspeisung von Wasser in einen Behälter zur Versorgung eines Löschwasserverbrauchers aus einer Trinkwasserrohrleitung über einen freien Auslauf.
  • Die Anlage ist überall dort anwendbar, wo ein Wasser-, insbesondere ein Löschwasserverbraucher vorhanden ist, dessen Wasser in einem Behälter wie einem Zwischenbehälter zur Verfügung steht und der Zwischenbehälter mit Wasser aus der Leitung der öffentlichen Wasserversorgung bzw. der Hauswasserversorgung eines Gebäudes, insbesondere aus einer Trinkwasserrohrleitung gespeist und nachgespeist werden soll.
  • Damit im Bedarfsfall ausreichend Wasser in den Behälter nachgespeist werden kann, werden in der Regel alle Leitungen zur Versorgung weiterer Wasserverbraucher von der Hauswasserversorgung oder dem öffentlichen Wasserversorgungsnetz mit aufwändigen Armaturen abgesperrt.
  • Um stagnierende Wässer zu verhindern, müssen Anschlussleitungen an die Nachspeisearmatur entsprechend den allgemein anerkannten Regeln der Technik regelmäßig gespült werden. Üblicherweise werden hierfür selbsttätig wirkende Spüleinrichtungen eingebaut, die den erforderlichen regelmäßigen Wasseraustausch in den Anschlussleitungen gewährleisten.
  • Behälter wie Vorratsbehälter oder Leitungen für Löschwasser, beispielsweise für Löschdüsen von Löschanlagen in einem Gebäude müssen ausreichend Löschmittel wie Löschwasser zur Verfügung haben. Das setzt bei einem Behälter wie einem Löschmittelvorratsbehälter für ein Gebäude voraus, dass der Löschmittelbehälter immer mit Löschmittel gefüllt ist und im Brandfall mit weiterem Löschmittel wie Wasser gespeist wird. Sofern das Löschwasser von einer Hauswasserversorgung oder einem öffentlichen Wasserversorgungsnetz abgeleitet wird, darf kein Wasser aus Brauchwasserleitungen oder Behältern mit stagnierendem Wasser in das öffentliche Wassernetz oder das Hauswassernetz, insbesondere in Trinkwasserrohrleitungen zurückfließen, damit die Qualität des Trinkwassers nicht beeinträchtigt wird.
  • Ähnliches gilt für die Befüllung und Nachspeisung von Behältern für z.B. Trinkwasser in Gebäuden.
  • Um eine Wassernachspeisung in einen Zwischenbehälter aus der öffentlichen Wasserversorgung zu erreichen, sind unterschiedliche Lösungen bekannt.
  • DE 600 20 519 T2 beschreibt ein parallel gespeistes integriertes Versorgungsnetz für nicht stagnierendes Wasser für Hauswasser und Sprinkleranlagen, in der ein Vorratsbehälter angeordnet ist, wobei das Stagnieren von Wasser dadurch verhindert wird, dass sowohl die einzelnen Verbraucher des Hauses als auch die Sprinkleranlage direkt von der Trinkwasserleitung versorgt wird, wozu an der Trinkwasserleitung Multiport-Anschlüsse vorgesehen sind, so dass ein Rückfließen des Hauswassers in die Trinkwasserleitung nicht möglich ist.
  • DE 27 47 941 A1 beschreibt eine Trinkwasserleitung von der ein Brauchwasserkreis abgezweigt wird und ein Kolbentrennrohr und Drucksteuerventil verhindern, dass Brauchwasser aus dem Brauchwasserkreis in die Trinkwasserleitung zurückströmt, wobei ein Dreiwegeventil angeordnet ist. Dieses elektromagnetische Dreiwegeventil verbindet teilweise die Trinkwasserleitung mit einer Druck- und Entlastungsleitung. Ein Vorratsbehälter für Löschwasser wurde in diesem Dokument nicht beschrieben.
  • DE 10 2006 028 151 A1 1 beschreibt ein Verfahren zur Trink-, Betriebs- und/oder Löschwasserversorgung und Trink-, Betriebs- und/oder Löschwasserleitungen mit einem Vorratsbehälter, der eine Stauscheibe enthält. Die Lösung sieht vor, dass Trinkwasser in einen Vorlagebehälter eingeleitet und über eine Wasserdruckleitung bedarfsgerecht entnommen wird und dass ein Druckabfall im Leitungsnetz zwangsläufig durch Öffnung eines Stellgliedes erzeugt wird. In dem Dokument wird eine Möglichkeit angegeben, den jeweiligen Anforderungen im Hinblick auf das Betreiben einer Hauswasserleitung zu genügen.
  • DE 100 35 889 A1 1 beschreibt eine Vorrichtung zur Frischwassereinspeisung, in der ein Behälter für Frischwasser und ein Behälter für Brauchwasser angeordnet sind, wobei jeder Behälter einen Schwimmer und ein Ventil aufweist und ein Dreiwegeventil im Zulauf des Brauchwasserbehälter vor einem Fördermittel angeordnet ist. Die vorgeschlagene Lösung wird den gesetzlichen Anforderungen gerecht, setzt allerdings einen erheblichen kostenaufwendigen apparativen Aufwand voraus. Weiterhin ermöglicht diese Vorrichtung keine vorrangige Befüllung der Behälter im Bedarfsfall durch Drosselung oder Absperrung der Wasserzufuhr anderer Verbraucher.
  • DE 39 11 747 C2 beschreibt eine Vorrichtung zum Regeln des Wasserzulaufes aus einem Vorratsbehälter einer Feuerlöschanlage, bei dem mittels Schwimmer das Niveau des Wasserstandes im Behälter festgestellt wird, wobei ein Gestänge zwischen Schwimmer und Ventil angeordnet ist, welches eine gleichmäßige Steuerung des Ventils und somit des Wasseraustrittes erlaubt.
  • Die Druckschrift US 5 975 133 A beschreibt einen Notfallwasserbehälter in einem Wasserversorgungssystem, welcher aber in direkter fluidtechnischer Verbindung mit der Frischwasserversorgung steht und aus dem alle Wasserverbraucher versorgt werden.
  • Nachteilig an dem bestehenden Stand der Technik ist, dass die bestehenden Anlagen zur Versorgung eines Verbrauchers wie eines Löschwasserverbrauchers aus einer Trinkwasserrohrleitung eines Gebäudes oder der öffentlichen Wasserversorgung einen erheblichen Aufwand voraussetzen, um den normativen Anforderungen zu genügen. Dies betrifft die technisch aufwändige Absperrung und die Vorrichtungen zur Spülung. Weiterhin sind die Anlagen nicht in jedem Fall geeignet, aus dem Rohrleitungsnetz des Gebäudes oder aus dem öffentlichen Rohrleitungsnetz zur Wasserversorgung bedarfsgesteuert Wasser in ausreichender Menge in den Behälter nachzuspeisen. Insbesondere ermöglichen diese Anlagen und Vorrichtungen keine vorrangige oder ausschließliche Versorgung des Löschwasserverbrauchers über einen Behälter, welcher durch Absperrung oder Drosselung der Wasserversorgung aller anderen Verbraucher an der Rohrleitung bzw. dem Rohrleitungsnetz vorrangig über ein Ventil gefüllt wird, welches gleichzeitig diese Absperrung oder Drosselung vornimmt.
  • Es ist daher Aufgabe der Erfindung, eine Anlage zu entwickeln, mit der der Betreiber den Anforderungen zur Trennung von Trinkwasser der öffentlichen Wasserversorgung, oder einer Trinkwasserleitung, oder einem Rohrleitungsnetz der Hauswasserversorgung von stagnierendem Wasser mit geringem Aufwand genügen kann, ohne dass Spüleinrichtungen und/oder Spülungen für Rohrleitungen und/oder Armaturen, die mit stagnierendem Wasser in Berührung kommen, erforderlich sind, und dass bei Bedarf das Wasser vorrangig oder ausschließlich für einen Löschwasserverbraucher zur Verfügung steht, welches aus der Einspeisung in einen Behälter zur Verfügung gestellt wird.
  • Diese Aufgabe wird durch eine Anlage zur Einspeisung von Wasser in einen Behälter nach den Merkmalen des ersten Patentanspruches gelöst. Die Anlage kann auch als Vorrichtung ausgeprägt sein.
  • Unteransprüche geben vorteilhafte Ausgestaltungen der Erfindung wieder.
  • Die erfindungsgemäße Lösung sieht eine kostengünstige und zuverlässige Anlage zur bedarfsgesteuerten Einspeisung von Wasser in einen Behälter zur Versorgung eines Löschwasserverbrauchers aus einer Trinkwasserrohrleitung über einen freien Auslauf vor. Dieser Behälter dient als Zwischenspeicher und versorgt einen Löschwasserverbraucher. Der Behälter weist keine unmittelbare fluidtechnische Verbindung mit der Trinkwasserrohrleitung auf, d.h. keine direkte Verbindung, so dass kein Wasser aus dem Behälter, welches nach längerer Zeit stagnierendes, verunreinigtes Wasser ist, nicht in die Trinkwasserrohrleitung gelangen kann weder durch Rücksaugung noch durch Öffnen von Ventilen. Die einzige Verbindung des Behälters zum versorgenden Rohrleitungsnetz oder zur Trinkwasserrohrleitung ist die Luftstrecke, die freie Fallstrecke des freien Auslaufs zur Befüllung des Behälters.
  • In bevorzugten Ausführungen wird für Trinkwasser auch der Begriff Hauswasser verwendet. Hauswasserverbraucher sind somit Trinkwasserverbraucher, falls das Rohrleitungsnetz für Hauswasser Trinkwasser führt. Die Trinkwasserrohrleitung ist Bestandteil des Trinkwasserrohrnetzes, welches auch als Rohrleitungsnetz für Hauswasser ausgeprägt sein kann. Der Begriff Trinkwasserrohrleitung kann als Synonym für das Rohrleitungsnetz für Hauswasser verwendet werden.
  • Als Löschwasserverbraucher wird hier eine Sprinkleranlage, eine Sprühwasserlöschanlage, eine Wandhydrantenanlage, eine Wassernebelanlage und andere Löschvorrichtungen verstanden.
  • Dazu ist in der Trinkwasserrohrleitung, vorzugsweise der Hauswasserversorgung, ein Ventil, vorzugsweise ein Mehrwegeventil angeordnet, welches in der einen Schaltstellung oder in einem Schaltungsbereich den Weg des Wasser über einen freien Auslauf in den Behälter vollständig oder teilweise freigibt und dabei den Fluss des Wasser in der Trinkwasserrohrleitung in Richtung Hauswasserverbraucher in Fließrichtung nach dem Ventil sperrt oder teilweise sperrt und in der anderen Schaltstellung oder dem anderen Schaltstellungsbereich den Weg des Wassers in den Behälter sperrt oder die zufließende Wassermenge drosselt und dabei den Weg des Wassers in der Trinkwasserrohrleitung in Richtung Hauswasserverbraucher vollständig oder teilweise freigibt. Die Einspeisung in den Behälter erfolgt in Abhängigkeit vom Niveau des Wasserstandes im Behälter.
  • In einer besonders bevorzugten Ausführung weist der Behälter einen Schwimmer zur Ermittlung des Niveaus des Wasserstandes im Behälter auf, wobei das Mehrwegeventil und der Schwimmer so ausgebildet sind, dass der Schwimmer das Mehrwegeventil direkt betätigt, und somit die Schaltstellung des Mehrwegeventils vom Niveau des Wasserstandes im Behälter abhängt.
  • In einer vorteilhaften Ausführung wird das Ventil direkt nach dem Anschluss an die öffentliche Wasserversorgung im Rohrleitungsnetz als erster Verbraucher angeordnet, damit der Behälter und der Löschwasserverbraucher im Bedarfsfall der erste und alleinige Wasserverbraucher ist.
  • Zur bedarfsgesteuerten Einspeisung von Wasser in den Behälter ist eine geeignete Füllstandsmessungsvorrichtung, z.B. ein Sensor, Schwimmerschalter oder Schwimmer angeordnet, die den Füllstand der Flüssigkeit im Behälter ermittelt und das Ventil, vorzugsweise das Mehrwegeventil in geeigneter Weise ansteuert. Das Ventil wird dann so lange und in dem Maß verstellt wie das auf Grund des Füllstandes im Behälter erforderlich ist. Damit wird gewährleistet, dass der Zwischenbehälter immer einen vorgegebenen Wasserstand aufweist.
  • Die Ventilsteuerung kann mechanisch, elektrisch, pneumatisch und hydraulisch erfolgen, wobei das Ventil direkt oder indirekt angesteuert werden kann.
  • Unter freiem Auslauf versteht man laut Definition eine freie Fallstrecke mit einem erforderlichen Sicherheitsabstand des Wasseraustritts aus den wasserzuführenden Rohrleitungen oder Armaturen zur Oberfläche des Wasserstandes im Behälter. Im Weiteren wir dieser auch kurz Auslauf genannt.
  • Der freie Auslauf kann sich zwischen der Austrittsöffnung des Ventils und der Wasseroberfläche befinden. Zwischen dem Ventil und dem freien Auslauf kann aber auch ein Rohr, eine Rinne oder ein anderes geeignetes Mittel zur Ableitung des Wassers angeordnet sein.
  • Der Behälter für das Löschwasser kann aus Metall, Kunststoff oder einem anderen geeigneten Material bestehen und ist so ausgelegt, dass er ein Löschwasservolumen beinhaltet, welches für einen Teil des Löschvorganges ausreicht. Es kann sich um einen geschlossenen Behälter an einem frostgeschützten Ort handeln. Sofern kein frostgeschützter Ort zur Verfügung steht, ist der Behälter entsprechend zu dämmen oder zu beheizen. An der tiefsten Stelle des Behälters ist ein Ablassventil zum Ablassen des Löschmittels angeordnet. An der höchsten Stelle kann, sofern es sich um einen geschlossenen Behälter handelt, eine Einrichtung zur Be- und Entlüftung vorgesehen sein.
  • Vorteilhaft ist es, als Ventil in der Trinkwasserrohrleitung ein Mehrwegeventil vorzusehen. Besonders geeignet ist ein 3/2-Wege-Ventil mit Überschneidung, so dass eine stufenlose Regelung mit Zwischenstellungen möglich ist. Dadurch können Schaltstellungen oder Schaltstellungsbereiche eingestellt werden, so dass ein vollständig gesperrter oder teilweise gedrosselter Fluss des Wassers in die Trinkwasserrohrleitung aus der öffentlichen Wasserversorgung möglich ist, bei gleichzeitiger ausschließlicher Einspeisung oder teilweise gedrosselter Einspeisung des Wassers in den Behälter. Es ist aber auch möglich, diese Einspeisung ganz oder nur teilweise zu sperren.
  • Vorteilhaft ist es aber auch, als Ventil zwei Absperrarmaturen einzusetzen. Das können beispielsweise Absperrklappen sein, die entgegensetzt geschaltet sind, so dass sich diese stufenlos öffnen oder schließen lassen.
  • Um das Niveau des Wasserstandes im Behälter zu messen oder zu ermitteln, ist ein Schwimmer geeignet.
  • Dieser Schwimmer kann das Ventil direkt betätigen. Eine andere Möglichkeit ist ein Signal elektronisch zur Ventilsteuerung zu übertragen.
  • Eine weitere Möglichkeit, das Ventil mittels Schwimmer zu betätigen, besteht in einer mechanischen Übertragung, beispielsweise mittels Gestänge. Zwischen dem Gestänge und dem Ventil kann ein Getriebe, beispielsweise ein Untersetzungsgetriebe, angeordnet sein. Denkbar sind aber auch andere geeignete Getriebe oder Gestänge.
  • Eine andere Möglichkeit, das Niveau des Wasserstandes im Behälter zu messen, kann mittels Pilotventils erfolgen, wobei in diesem Fall ein hydraulisch wirkendes Ventil vorhanden ist, welches die obengenannten Schaltstellungen oder Schaltbereiche einstellt.
  • In diesem Rahmen der Ausführung des Ventils ist es möglich, das Ventil als Motorschieber oder als Magnetventil auszubilden. Denkbar sind auch pneumatisch betätigte Absperrklappen mit pneumatischen Stellantrieben oder eigenmediumgesteuerte Ventile, welche durch Pilotventile gesteuert werden.
  • Ein weiterer Gegenstand der Erfindung ist eine Vorrichtung zur bedarfsgesteuerten Wasserbereitstellung für Löschwasserverbraucher mit Einspeisung von Wasser in einen Behälter zur Versorgung eines Löschwasserverbrauchers aus einer Trinkwasserrohrleitung über einen freien Auslauf, wobei der Behälter keine unmittelbare fluidtechnische Verbindung mit der Trinkwasserrohrleitung aufweist. Die Vorrichtung ist dadurch gekennzeichnet, dass in der Trinkwasserrohrleitung ein Mehrwegeventil angeordnet ist, welches in der einen Schaltstellung oder in einem Schaltstellungsbereich den Weg des Wassers in den Behälter vollständig oder teilweise freigibt und dabei den Fluss des Wassers in der Trinkwasserrohrleitung in Richtung Hauswasserverbraucher (12) sperrt oder teilweise sperrt und in der anderen Schaltstellung oder dem anderen Schaltstellungsbereich den Weg des Wassers in den Behälter sperrt oder die zufließende Wassermenge drosselt und dabei den Weg des Wassers in der Trinkwasserrohrleitung in Richtung Hauswasserverbraucher vollständig oder teilweise freigibt. Der Behälter weist einen Schwimmer zur Ermittlung des Niveaus des Wasserstandes auf. In einer besonders bevorzugten Ausführung sind das Mehrwegeventil und der Schwimmer so ausgebildet, dass der Schwimmer das Mehrwegeventil direkt betätigt, und somit die Schaltstellung des Mehrwegeventils vom Niveau des Wasserstandes im Behälter abhängt.
  • In einer weiteren Ausführung stellt das Mehrwegeventil ein 3/2-Wege-Ventil mit Überschneidung dar und zwischen Schwimmer und Mehrwegeventil sind ein Gestänge und ein Getriebe angeordnet, wobei der Schwimmer über das Gestänge und das Getriebe das 3/2-Wege-Ventil direkt betätigt.
  • Die erfindungsgemäße Lösung hat den Vorteil, dass mit geringem technischen Aufwand, zuverlässig und kostengünstig Wasser aus der Hauswasserversorgung bedarfsweise und in erforderlichen Mengen über einen Behälter zur Versorgung eines Löschwasserverbraucher zur Verfügung gestellt wird, ohne dass Wasserverluste durch Zwangsspülungen entstehen.
  • Durch die vorgeschlagene Lösung ist es weiterhin nicht möglich, dass stagnierendes Wasser aus dem Löschmittelbehälter in die öffentliche Wasserversorgung oder in die Trinkwasserrohrleitung des Gebäudes gelangen kann. Weiterhin sorgt die Anlage dafür, dass im Bedarfsfall zuerst oder sogar ausschließlich der Behälter mit dem Wasser gespeist wird, und dass erst bei erreichtem vorgegebenem Niveau des Wasserstandes im Behälter, der Wasserfluss in der Trinkwasserrohrleitung Richtung Hauswasserverbraucher vollständig freigegeben wird. Dies ist insbesondere für Löschwasserverbraucher notwendig.
  • Darüber hinaus wird für die mechanische Ansteuerung des Ventils keine Fremdenergie benötigt. Dies ist besonders für den Fall wichtig, dass der Löschwasserverbraucher auch bei Stromausfall mit Wasser versorgt werden muss.
  • Im Folgenden soll die Erfindung an vier Figuren und einem Ausführungsbeispiel näher erläutert werden. Die Figuren zeigen:
  • Figur 1:
    Schematische Darstellung einer Anlage mit einem Mehrwegventil und einem Zwischenbehälter.
    Figur 2:
    Schaltstellung des Mehrwegventils.
    Figur 3:
    Schematische Darstellung einer Anlage mit einem Mehrwegeventil, einem Zwischenbehälter und einem Sensor im Behälter.
    Figur 4:
    Schematische Darstellung einer Anlage mit einem Mehrwegeventil, einem Zwischenbehälter und einem Schwimmer mit elektronisch betätigtem Ventil.
  • Die Figur 1 zeigt die Anlage zur Versorgung eines Löschwasserverbrauchers 7 aus einer Trinkwasserrohrleitung 6 für eine Hauswasserversorgung zwischen dem Zulauf der öffentlichen Wasserversorgung 3 und den Hauswasserverbrauchern 12 des Gebäudes oder Hauses, wobei in dieser Leitung 6 das Mehrwegeventil 1 angeordnet ist. In der dargestellten Anlagenvariante stellt das Mehrwegeventil 1 ein 3/2-Wege-Ventil dar. Das Mehrwegeventil 1 wird mechanisch über das Getriebe 10, ein Untersetzungsgetriebe, angesteuert. Über die Rohrleitung 15 und den freien Auslauf 2 gelangt das Wasser bei entsprechender Ventilstellung in den Behälter 5, den Zwischenbehälter für den Löschwasserverbraucher 7. Das Behältervolumen ist entsprechend dem Wasserbedarf dimensioniert.
  • Da der Behälter 5 nur über den freien Auslauf 2 befüllt wird und keine Rohrverbindung zur Trinkwasserrohrleitung 6 hat, weist der Behälter 5 keine unmittelbare fluidtechnische Verbindung mit der Trinkwasserrohrleitung 6 auf. Somit ist eine sichere Trennung zwischen dem frischen Wasser, in der Regel Trinkwasser, in der Trinkwasserrohrleitung 6 und dem Brauchwasser im Behälter 5 gewährleistet. Das Wasser im Behälter 5 wird nach der Befüllung durch langes Stehen in diesem Behälter zu stagnierendem Wasser, zu Brauchwasser welches verunreinigt ist.
  • Das Niveau 11 des Wasserstandes im Behälter 5 wird über einen Sensor geregelt, der einen Schwimmer 8 mit dem Gestänge 9 zum Getriebe 10 darstellt. Der Schwimmer 8 betätigt das Mehrwegeventil (1) direkt mit dem Gestänge 9 und dem Getriebe 10, so dass die Schaltstellung des Mehrwegeventils 1 vom Niveau 11 des Wasserstandes im Behälter 5 abhängt.
  • Somit kann die gemessene Füllstandshöhe in Betätigungswege zur Steuerung des Mehrwegeventils mechanisch umgesetzt werden und die erforderlichen Schaltstellungen oder Schaltstellungsbereiche des Mehrwegeventils 1 realisiert werden.
  • Bei Absenken des Wasserspiegels im Behälter 5 unter ein bestimmtes Niveau wird dadurch eine Schaltstellung oder in einem Schaltstellungsbereich des Mehrwegeventils 1 erreicht, welche den Weg des Wasser von der Trinkwasserrohrleitung 6 über die Rohrleitung 15 zum freien Auslauf und über den freien Auslauf 2 in den Behälter 5 vollständig oder teilweise freigibt und dabei den Fluss des Wassers in der Trinkwasserrohrleitung 6 der Hauswasserversorgung in Richtung der Hauswasserverbraucher sperrt oder teilweise sperrt.
    Dies geschieht so lange, bis der Schwimmer 8 eine vorgegebene Höhe erreicht hat und das Mehrwegeventil 1 den Weg des Wassers zum Auslauf 2 sperrt und kein Wasser mehr in den Behälter 5 fließt. In dieser Schaltstellung gibt das Mehrwegeventil 1 den Weg des Wassers zwischen dem Zulauf aus der öffentlichen Wasserversorgung 3 zu den Hauswasserverbrauchern 12 im Rohrleitungsnetz 6 vollständig frei. So lange sich zu wenig Löschwasser 4 im Behälter 5 befindet, schließt das Mehrwegeventil 1 den Weg des Wassers zum Hauswasserverbraucher 12 ganz oder teilweise, so dass das Wasser aus dem Zulauf der öffentlichen Wasserversorgung 3 vorrangig oder nur teilweise in den Zwischenbehälter für das Löschwasser 4 gelangen kann. Dadurch, dass immer dann, wenn der Löschwasserspiegel 11 unter ein bestimmtes Niveau fällt, das Mehrwegeventil 1 über den Schwimmer 8, das Gestänge 9 und das Getriebe 10 so geregelt wird, dass das Wasser über die Rohrleitung 15 und den Auslauf 2 in den Behälter 5 bedarfsgesteuert fließt, ist gewährleistet, dass der Behälter 5 mit ausreichend Wasser versorgt wird, bevor dieses zu den Hauswasserverbrauchern 12 an der Trinkwasserrohrleitung 6 des Hauses gelangt.
  • In der Schaltstellung des Mehrwegeventils 1, in welcher es den Weg des Wassers zum Hauswasserverbraucher 12 ganz schließt, wird ausschließlich der Behälter 5 mit dem Wasser aus der Trinkwasserrohrleitung 6 versorgt. Damit ist im Brandfall immer gesichert, dass im Behälter 5 immer ausreichend Löschwasser 4 zur Brandbekämpfung zur Verfügung steht. Der Anschluss für den Löschwasserverbraucher 7 ist im Behälter 5 unten angeordnet.
  • Der Löschwasserverbraucher 7 ist nicht dargestellt. Löschwasserverbraucher sind z.B. Sprinkleranlagen, Sprühwasserlöschanlagen, Wandhydrantenanlagen, Wassernebelanlagen und anderen sowie, ein Anschlussventil, das eine mobile Löscheinrichtung versorgt und andere Vorrichtungen zur Löschung.
  • Die Figur 2 zeigt die möglichen Schaltstellungen des Mehrwegeventils 1, ausgebildet als 3/2-Wege-Ventil mit Überschneidung und Zwischenstellungen, welches entweder den Weg des Wasser vom Zulauf 3 der öffentlichen Wasserversorgung zum Auslauf 2 in den Behälter 5 ganz oder teilweise freigibt oder in umgeschalteter Stellung den Weg des Wassers vom Zulauf 3 der öffentlichen Wasserversorgung in Richtung zum Hauswasserverbraucher 12 ganz oder teilweise freigibt.
  • Die Figur 3 zeigt die schematische Darstellung der Anlage mit einem Mehrwegeventil 1 und einem Sensor 13 im Behälter 5, der als elektronischer Sensor über die Höhe des Behälters 5 zum Übermitteln des Niveaus 11 des Wasserstandes angeordnet ist. Das sensorisch ermittelte Niveau 11 des Wasserstandes des Löschwassers 4 im Behälter 5 wird elektronisch an die Ventilsteuerung 14 des Mehrwegeventils übertragen. Das Schalten des Mehrwegeventils und das Fließen des Wassers zur bedarfsgesteuerten Einspeisung in den Behälter 5 erfolgen in analoger Weise wie das zur Figur 1 beschrieben wurde.
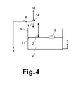
  • Die Figur 4 zeigt ein Ausführungsbeispiel an einer schematischen Darstellung der Anlage mit einem Mehrwegeventil, in dem ein Schwimmer 8 auf dem Löschwasser 4 des Behälters 5 angeordnet ist und elektronisch das Niveau 11 des Wasserstandes an die Ventilsteuerung 14 übermittelt, so dass wie in der bereits oben beschriebenen Weise eine Steuerung des Mehrwegeventils 1 entsprechend dem Niveau 11 des Wasserstandes erfolgen kann.
    Der freie Auslauf 2 befindet sich direkt und ohne Rohr oder Rinne zwischen Mehrwegeventil 1 und dem Niveau 11 des Wasserstandes, so dass das Wasser direkt vom Mehrwegeventil 1 in den Behälter 5 fällt.
  • Liste der verwendeten Bezugszeichen
  • 1 Mehrwegeventil
    2 Freier Auslauf in den Behälter 5
    3 öffentliche Wasserversorgung
    4 Löschwasser
    5 Behälter
    6 Trinkwasserrohrleitung
    7 Löschwasserverbraucher
    8 Schwimmer
    9 Gestänge des Schwimmers
    10 Getriebe zwischen 1 und 9
    11 Niveau des Wasserstands
    12 Hauswasserverbraucher
    13 Sensor
    14 Ventilsteuerung
    15 Rohrleitung zum freien Auslauf 2

Claims (7)

  1. Anlage zur Einspeisung von Wasser in einen Behälter (5) zur Versorgung eines Löschwasserverbrauchers (7) aus einer Trinkwasserrohrleitung (6) über einen freien Auslauf (2), wobei der Behälter (5) keine unmittelbare fluidtechnische Verbindung mit der Trinkwasserrohrleitung (6) aufweist, dadurch gekennzeichnet dass in der Trinkwasserrohrleitung (6) ein Mehrwegeventil (1) angeordnet ist, welches in der einen Schaltstellung oder in einem Schaltstellungsbereich den Weg des Wassers in den Behälter (5) vollständig oder teilweise freigibt und dabei den Fluss des Wassers in der Trinkwasserrohrleitung (6) in Richtung Hauswasserverbraucher (12) sperrt oder teilweise sperrt und in der anderen Schaltstellung oder dem anderen Schaltstellungsbereich den Weg des Wassers in den Behälter (5) sperrt oder die zufließende Wassermenge drosselt und dabei den Weg des Wassers in der Trinkwasserrohrleitung (6) in Richtung Hauswasserverbraucher (12) vollständig oder teilweise freigibt,
    der Behälter (5) einen Schwimmer (8) zur Ermittlung eines Niveaus (11) des Wasserstandes aufweist,
    wobei das Mehrwegeventil (1) und der Schwimmer (8) so ausgebildet sind, dass der Schwimmer (8) das Mehrwegeventil (1) direkt betätigt, und somit die Schaltstellung des Mehrwegeventils (1) vom Niveau (11) des Wasserstandes im Behälter (5) abhängt.
  2. Anlage nach Anspruch 1, dadurch gekennzeichnet, dass das Mehrwegeventil (1) ein 3/2-Wege-Ventil mit Überschneidung darstellt.
  3. Anlage nach Anspruch 1, dadurch gekennzeichnet, dass das Mehrwegeventil (1) durch zwei Absperrarmaturen gebildet wird, die entgegengesetzt geschaltet sind, so dass die Möglichkeit besteht, diese stufenlos zu öffnen und zu schließen.
  4. Anlage nach einem der Ansprüche 1 bis 3, dadurch gekennzeichnet, dass zwischen Schwimmer (8) und Mehrwegeventil (1) ein Gestänge und ein Getriebe angeordnet sind.
  5. Anlage nach einem der Ansprüche 1 bis 4, dadurch gekennzeichnet, dass das Niveau (11) des Wasserstandes mittels Sensor oder Schwimmerschalter ermittelt wird.
  6. Anlage nach einem der Ansprüche 1 bis 5, dadurch gekennzeichnet, dass das Niveau (11) des Wasserstandes mittels Pilotventils gemessen wird und das Mehrwegeventil (1) ein hydraulisch wirkendes Ventil darstellt.
  7. Anlage nach einem der Ansprüche 1 bis 6, dadurch gekennzeichnet, dass die Steuerung des Mehrwegeventils (1) mechanisch, elektrisch, pneumatisch oder hydraulisch erfolgt.
EP13165537.5A 2012-04-30 2013-04-26 Anlage zur Versorgung eines Löschwasserverbrauchers Not-in-force EP2660397B1 (de)

Applications Claiming Priority (1)

Application Number Priority Date Filing Date Title
DE102012207153A DE102012207153A1 (de) 2012-04-30 2012-04-30 Anlage zur Einspeisung von Wasser in einen Behälter

Publications (2)

Publication Number Publication Date
EP2660397A1 true EP2660397A1 (de) 2013-11-06
EP2660397B1 EP2660397B1 (de) 2017-08-23

Family

ID=48190270

Family Applications (1)

Application Number Title Priority Date Filing Date
EP13165537.5A Not-in-force EP2660397B1 (de) 2012-04-30 2013-04-26 Anlage zur Versorgung eines Löschwasserverbrauchers

Country Status (2)

Country Link
EP (1) EP2660397B1 (de)
DE (1) DE102012207153A1 (de)

Cited By (1)

* Cited by examiner, † Cited by third party
Publication number Priority date Publication date Assignee Title
CN114602100A (zh) * 2020-12-04 2022-06-10 国网山东省电力公司检修公司 一种现场火势研判的消防介质持续供给方法及系统

Families Citing this family (1)

* Cited by examiner, † Cited by third party
Publication number Priority date Publication date Assignee Title
DE102014213278A1 (de) 2014-07-09 2016-01-14 Ksb Aktiengesellschaft Überprüfung der Funktionstüchtigkeit von Trennstationen

Citations (10)

* Cited by examiner, † Cited by third party
Publication number Priority date Publication date Assignee Title
DE1708613A1 (de) * 1968-01-23 1971-05-19 Lutz Hermann Dr Ing Druckwasserbehaelter mit Absicherung der Versorgungsleitung
DE2747941A1 (de) 1977-10-26 1979-05-10 Waletzko Alfred Apparatebau Vorrichtung zum schutz von trinkwasserleitungen gegen rueckfliessendes brauchwasser
DE3911747C2 (de) 1989-04-11 1993-06-09 Preussag Ag Minimax, 2060 Bad Oldesloe, De
GB2280369A (en) * 1993-07-29 1995-02-01 Project Fire Engineers Limited Testing a fire sprinkling system
US5975133A (en) 1998-04-10 1999-11-02 Nalewajski; Mieczyslaw T. Emergency water tank reservoir system
DE10035889A1 (de) 2000-07-24 2002-02-14 Lohmann Therapie Syst Lts Medizinischer Haftkleber mit einem Gehalt an Zucker-Estern
DE60020519T2 (de) 2000-03-08 2006-04-27 Franz III Regina Haase Parallel gespeistes integriertes Versorgungsnetz für nicht stagnierendes Wasser für Hauswasser und Sprinkleranlage
DE102006028152A1 (de) * 2005-06-17 2007-01-04 Stemmler, Karl-Heinz, Dr. Verfahren zur Betriebs- und Löschwasserversorgung und Betriebs- und Löschwasseranlage
DE102006028151A1 (de) 2005-06-17 2007-02-01 Stemmler, Karl-Heinz, Dr. Verfahren zur Trink-, Betriebs- und/oder Löschwasserversorgung und Trink-, Betriebs- und/oder Löschwasseranlage
DE102009056452A1 (de) * 2009-12-01 2011-06-09 Grünbeck Wasseraufbereitung GmbH Verfahren zur Aufbereitung von Feuerlöschwasser und Verwendung dieses Feuerlöschwassers in einer Feuerlöschanlage

Family Cites Families (2)

* Cited by examiner, † Cited by third party
Publication number Priority date Publication date Assignee Title
DE19639957A1 (de) * 1996-09-27 1998-04-02 Thomas Mayer Regenwassernutzungsanlage
DE10035898A1 (de) * 2000-07-21 2002-02-07 Manfred Schmitt Vorrichtung zur Frischwassereinspeisung

Patent Citations (10)

* Cited by examiner, † Cited by third party
Publication number Priority date Publication date Assignee Title
DE1708613A1 (de) * 1968-01-23 1971-05-19 Lutz Hermann Dr Ing Druckwasserbehaelter mit Absicherung der Versorgungsleitung
DE2747941A1 (de) 1977-10-26 1979-05-10 Waletzko Alfred Apparatebau Vorrichtung zum schutz von trinkwasserleitungen gegen rueckfliessendes brauchwasser
DE3911747C2 (de) 1989-04-11 1993-06-09 Preussag Ag Minimax, 2060 Bad Oldesloe, De
GB2280369A (en) * 1993-07-29 1995-02-01 Project Fire Engineers Limited Testing a fire sprinkling system
US5975133A (en) 1998-04-10 1999-11-02 Nalewajski; Mieczyslaw T. Emergency water tank reservoir system
DE60020519T2 (de) 2000-03-08 2006-04-27 Franz III Regina Haase Parallel gespeistes integriertes Versorgungsnetz für nicht stagnierendes Wasser für Hauswasser und Sprinkleranlage
DE10035889A1 (de) 2000-07-24 2002-02-14 Lohmann Therapie Syst Lts Medizinischer Haftkleber mit einem Gehalt an Zucker-Estern
DE102006028152A1 (de) * 2005-06-17 2007-01-04 Stemmler, Karl-Heinz, Dr. Verfahren zur Betriebs- und Löschwasserversorgung und Betriebs- und Löschwasseranlage
DE102006028151A1 (de) 2005-06-17 2007-02-01 Stemmler, Karl-Heinz, Dr. Verfahren zur Trink-, Betriebs- und/oder Löschwasserversorgung und Trink-, Betriebs- und/oder Löschwasseranlage
DE102009056452A1 (de) * 2009-12-01 2011-06-09 Grünbeck Wasseraufbereitung GmbH Verfahren zur Aufbereitung von Feuerlöschwasser und Verwendung dieses Feuerlöschwassers in einer Feuerlöschanlage

Cited By (1)

* Cited by examiner, † Cited by third party
Publication number Priority date Publication date Assignee Title
CN114602100A (zh) * 2020-12-04 2022-06-10 国网山东省电力公司检修公司 一种现场火势研判的消防介质持续供给方法及系统

Also Published As

Publication number Publication date
DE102012207153A1 (de) 2013-10-31
EP2660397B1 (de) 2017-08-23

Similar Documents

Publication Publication Date Title
EP3337931B1 (de) Vorrichtung und verfahren zum selbsttätigen spülen mit mehrfachventil
DE102007051433B3 (de) Ventilanordnung für Warmwasserbereiter
DE202012103128U1 (de) Anordnung zur Durchführung einer Hygienespülung in einer Wasserinstallation
EP3554652A1 (de) Feuerlöschanlagenventil, insbesondere nassalarm-, trockenalarm- oder sprühwasserventil, und feuerlöschanlage mit selbigem
DE102005051348B4 (de) Baugruppe zum Zuführen von Wasser zu Heizungsanlagen mit Wassererwärmer
DE102013102567B4 (de) Vorrichtung und Verfahren zur Verhinderung der Verkeimung von Wasserleitungen und Wasserabgabevorrichtungen
EP0051874B1 (de) Automatische Absperranlage für Wasserversorgungsleitungen in Gebäuden
WO2019025495A1 (de) Feuerlöschanlagenventil, insbesondere nassalarm-, trockenalarm-, oder sprühwasserventil sowie steuermodul für selbiges und feuerlöschanlage mit selbigem
EP2993271B1 (de) Steuervorrichtung und trink- und/oder brauchwassersystem mit einer solchen steuervorrichtung
EP2660397B1 (de) Anlage zur Versorgung eines Löschwasserverbrauchers
EP3666984B1 (de) Spülvorrichtung und trink- und brauchwassersystem mit einer solchen spülvorrichtung
DE102017111073B4 (de) Vorrichtung zur Spülung und/oder thermischen Desinfektion von Rohrleitungen
DE9406048U1 (de) Vorrichtung zum automatischen Nachfüllen von Heizungsanlagen
EP2468364B1 (de) Feuerlöschanlage
DE102014113671B4 (de) Vorrichtung mit einem selbststeuernden Druckbehälter zur hydraulischen Entkopplung bei einem Wasserversorgungs-Direktanschluss
EP3561186B1 (de) Wasserarmatur zur durchführung einer hygienespülung
DE3724944C2 (de)
DE3305604A1 (de) Wasserauslaufsicherung fuer zentralheizungsanlagen
DE3527849A1 (de) Vorrichtung zum selbsttaetigen steuern der verbindung zwischen einer trinkwasseranlage und einer brauchwasseranlage ohne dauerentnahme
CH644172A5 (en) Automatically controllable shut-off device for a water-consumption system in which the water is not withdrawn on a continuous basis
DE102006035336A1 (de) Luftkammer
EP1520629B1 (de) Duscheinrichtung
DE102007010436A1 (de) Anschlusszwischenstück mit Bypass
EP3330444B1 (de) Auslaufarmatur mit rückflusssicherung
DE102015015649A1 (de) Leitungsspülvorrichtung und leitungsspülsystem

Legal Events

Date Code Title Description
PUAI Public reference made under article 153(3) epc to a published international application that has entered the european phase

Free format text: ORIGINAL CODE: 0009012

AK Designated contracting states

Kind code of ref document: A1

Designated state(s): AL AT BE BG CH CY CZ DE DK EE ES FI FR GB GR HR HU IE IS IT LI LT LU LV MC MK MT NL NO PL PT RO RS SE SI SK SM TR

AX Request for extension of the european patent

Extension state: BA ME

17P Request for examination filed

Effective date: 20140506

RBV Designated contracting states (corrected)

Designated state(s): AL AT BE BG CH CY CZ DE DK EE ES FI FR GB GR HR HU IE IS IT LI LT LU LV MC MK MT NL NO PL PT RO RS SE SI SK SM TR

GRAP Despatch of communication of intention to grant a patent

Free format text: ORIGINAL CODE: EPIDOSNIGR1

STAA Information on the status of an ep patent application or granted ep patent

Free format text: STATUS: GRANT OF PATENT IS INTENDED

INTG Intention to grant announced

Effective date: 20170426

GRAS Grant fee paid

Free format text: ORIGINAL CODE: EPIDOSNIGR3

GRAA (expected) grant

Free format text: ORIGINAL CODE: 0009210

STAA Information on the status of an ep patent application or granted ep patent

Free format text: STATUS: THE PATENT HAS BEEN GRANTED

AK Designated contracting states

Kind code of ref document: B1

Designated state(s): AL AT BE BG CH CY CZ DE DK EE ES FI FR GB GR HR HU IE IS IT LI LT LU LV MC MK MT NL NO PL PT RO RS SE SI SK SM TR

REG Reference to a national code

Ref country code: GB

Ref legal event code: FG4D

Free format text: NOT ENGLISH

REG Reference to a national code

Ref country code: CH

Ref legal event code: EP

REG Reference to a national code

Ref country code: AT

Ref legal event code: REF

Ref document number: 921506

Country of ref document: AT

Kind code of ref document: T

Effective date: 20170915

REG Reference to a national code

Ref country code: IE

Ref legal event code: FG4D

Free format text: LANGUAGE OF EP DOCUMENT: GERMAN

REG Reference to a national code

Ref country code: DE

Ref legal event code: R096

Ref document number: 502013008121

Country of ref document: DE

REG Reference to a national code

Ref country code: NL

Ref legal event code: FP

REG Reference to a national code

Ref country code: LT

Ref legal event code: MG4D

PG25 Lapsed in a contracting state [announced via postgrant information from national office to epo]

Ref country code: HR

Free format text: LAPSE BECAUSE OF FAILURE TO SUBMIT A TRANSLATION OF THE DESCRIPTION OR TO PAY THE FEE WITHIN THE PRESCRIBED TIME-LIMIT

Effective date: 20170823

Ref country code: FI

Free format text: LAPSE BECAUSE OF FAILURE TO SUBMIT A TRANSLATION OF THE DESCRIPTION OR TO PAY THE FEE WITHIN THE PRESCRIBED TIME-LIMIT

Effective date: 20170823

Ref country code: NO

Free format text: LAPSE BECAUSE OF FAILURE TO SUBMIT A TRANSLATION OF THE DESCRIPTION OR TO PAY THE FEE WITHIN THE PRESCRIBED TIME-LIMIT

Effective date: 20171123

Ref country code: SE

Free format text: LAPSE BECAUSE OF FAILURE TO SUBMIT A TRANSLATION OF THE DESCRIPTION OR TO PAY THE FEE WITHIN THE PRESCRIBED TIME-LIMIT

Effective date: 20170823

Ref country code: LT

Free format text: LAPSE BECAUSE OF FAILURE TO SUBMIT A TRANSLATION OF THE DESCRIPTION OR TO PAY THE FEE WITHIN THE PRESCRIBED TIME-LIMIT

Effective date: 20170823

PG25 Lapsed in a contracting state [announced via postgrant information from national office to epo]

Ref country code: GR

Free format text: LAPSE BECAUSE OF FAILURE TO SUBMIT A TRANSLATION OF THE DESCRIPTION OR TO PAY THE FEE WITHIN THE PRESCRIBED TIME-LIMIT

Effective date: 20171124

Ref country code: RS

Free format text: LAPSE BECAUSE OF FAILURE TO SUBMIT A TRANSLATION OF THE DESCRIPTION OR TO PAY THE FEE WITHIN THE PRESCRIBED TIME-LIMIT

Effective date: 20170823

Ref country code: IS

Free format text: LAPSE BECAUSE OF FAILURE TO SUBMIT A TRANSLATION OF THE DESCRIPTION OR TO PAY THE FEE WITHIN THE PRESCRIBED TIME-LIMIT

Effective date: 20171223

Ref country code: ES

Free format text: LAPSE BECAUSE OF FAILURE TO SUBMIT A TRANSLATION OF THE DESCRIPTION OR TO PAY THE FEE WITHIN THE PRESCRIBED TIME-LIMIT

Effective date: 20170823

Ref country code: PL

Free format text: LAPSE BECAUSE OF FAILURE TO SUBMIT A TRANSLATION OF THE DESCRIPTION OR TO PAY THE FEE WITHIN THE PRESCRIBED TIME-LIMIT

Effective date: 20170823

Ref country code: LV

Free format text: LAPSE BECAUSE OF FAILURE TO SUBMIT A TRANSLATION OF THE DESCRIPTION OR TO PAY THE FEE WITHIN THE PRESCRIBED TIME-LIMIT

Effective date: 20170823

Ref country code: BG

Free format text: LAPSE BECAUSE OF FAILURE TO SUBMIT A TRANSLATION OF THE DESCRIPTION OR TO PAY THE FEE WITHIN THE PRESCRIBED TIME-LIMIT

Effective date: 20171123

PG25 Lapsed in a contracting state [announced via postgrant information from national office to epo]

Ref country code: CZ

Free format text: LAPSE BECAUSE OF FAILURE TO SUBMIT A TRANSLATION OF THE DESCRIPTION OR TO PAY THE FEE WITHIN THE PRESCRIBED TIME-LIMIT

Effective date: 20170823

Ref country code: RO

Free format text: LAPSE BECAUSE OF FAILURE TO SUBMIT A TRANSLATION OF THE DESCRIPTION OR TO PAY THE FEE WITHIN THE PRESCRIBED TIME-LIMIT

Effective date: 20170823

Ref country code: DK

Free format text: LAPSE BECAUSE OF FAILURE TO SUBMIT A TRANSLATION OF THE DESCRIPTION OR TO PAY THE FEE WITHIN THE PRESCRIBED TIME-LIMIT

Effective date: 20170823

REG Reference to a national code

Ref country code: DE

Ref legal event code: R097

Ref document number: 502013008121

Country of ref document: DE

PG25 Lapsed in a contracting state [announced via postgrant information from national office to epo]

Ref country code: SK

Free format text: LAPSE BECAUSE OF FAILURE TO SUBMIT A TRANSLATION OF THE DESCRIPTION OR TO PAY THE FEE WITHIN THE PRESCRIBED TIME-LIMIT

Effective date: 20170823

Ref country code: IT

Free format text: LAPSE BECAUSE OF FAILURE TO SUBMIT A TRANSLATION OF THE DESCRIPTION OR TO PAY THE FEE WITHIN THE PRESCRIBED TIME-LIMIT

Effective date: 20170823

Ref country code: SM

Free format text: LAPSE BECAUSE OF FAILURE TO SUBMIT A TRANSLATION OF THE DESCRIPTION OR TO PAY THE FEE WITHIN THE PRESCRIBED TIME-LIMIT

Effective date: 20170823

Ref country code: EE

Free format text: LAPSE BECAUSE OF FAILURE TO SUBMIT A TRANSLATION OF THE DESCRIPTION OR TO PAY THE FEE WITHIN THE PRESCRIBED TIME-LIMIT

Effective date: 20170823

PLBE No opposition filed within time limit

Free format text: ORIGINAL CODE: 0009261

STAA Information on the status of an ep patent application or granted ep patent

Free format text: STATUS: NO OPPOSITION FILED WITHIN TIME LIMIT

26N No opposition filed

Effective date: 20180524

PG25 Lapsed in a contracting state [announced via postgrant information from national office to epo]

Ref country code: SI

Free format text: LAPSE BECAUSE OF FAILURE TO SUBMIT A TRANSLATION OF THE DESCRIPTION OR TO PAY THE FEE WITHIN THE PRESCRIBED TIME-LIMIT

Effective date: 20170823

PG25 Lapsed in a contracting state [announced via postgrant information from national office to epo]

Ref country code: MT

Free format text: LAPSE BECAUSE OF FAILURE TO SUBMIT A TRANSLATION OF THE DESCRIPTION OR TO PAY THE FEE WITHIN THE PRESCRIBED TIME-LIMIT

Effective date: 20170823

PG25 Lapsed in a contracting state [announced via postgrant information from national office to epo]

Ref country code: MC

Free format text: LAPSE BECAUSE OF FAILURE TO SUBMIT A TRANSLATION OF THE DESCRIPTION OR TO PAY THE FEE WITHIN THE PRESCRIBED TIME-LIMIT

Effective date: 20170823

GBPC Gb: european patent ceased through non-payment of renewal fee

Effective date: 20180426

REG Reference to a national code

Ref country code: IE

Ref legal event code: MM4A

PG25 Lapsed in a contracting state [announced via postgrant information from national office to epo]

Ref country code: LU

Free format text: LAPSE BECAUSE OF NON-PAYMENT OF DUE FEES

Effective date: 20180426

PG25 Lapsed in a contracting state [announced via postgrant information from national office to epo]

Ref country code: GB

Free format text: LAPSE BECAUSE OF NON-PAYMENT OF DUE FEES

Effective date: 20180426

PG25 Lapsed in a contracting state [announced via postgrant information from national office to epo]

Ref country code: IE

Free format text: LAPSE BECAUSE OF NON-PAYMENT OF DUE FEES

Effective date: 20180426

Ref country code: FR

Free format text: LAPSE BECAUSE OF NON-PAYMENT OF DUE FEES

Effective date: 20180430

PG25 Lapsed in a contracting state [announced via postgrant information from national office to epo]

Ref country code: TR

Free format text: LAPSE BECAUSE OF FAILURE TO SUBMIT A TRANSLATION OF THE DESCRIPTION OR TO PAY THE FEE WITHIN THE PRESCRIBED TIME-LIMIT

Effective date: 20170823

PG25 Lapsed in a contracting state [announced via postgrant information from national office to epo]

Ref country code: PT

Free format text: LAPSE BECAUSE OF FAILURE TO SUBMIT A TRANSLATION OF THE DESCRIPTION OR TO PAY THE FEE WITHIN THE PRESCRIBED TIME-LIMIT

Effective date: 20170823

Ref country code: HU

Free format text: LAPSE BECAUSE OF FAILURE TO SUBMIT A TRANSLATION OF THE DESCRIPTION OR TO PAY THE FEE WITHIN THE PRESCRIBED TIME-LIMIT; INVALID AB INITIO

Effective date: 20130426

PG25 Lapsed in a contracting state [announced via postgrant information from national office to epo]

Ref country code: MK

Free format text: LAPSE BECAUSE OF NON-PAYMENT OF DUE FEES

Effective date: 20170823

Ref country code: CY

Free format text: LAPSE BECAUSE OF FAILURE TO SUBMIT A TRANSLATION OF THE DESCRIPTION OR TO PAY THE FEE WITHIN THE PRESCRIBED TIME-LIMIT

Effective date: 20170823

PG25 Lapsed in a contracting state [announced via postgrant information from national office to epo]

Ref country code: AL

Free format text: LAPSE BECAUSE OF FAILURE TO SUBMIT A TRANSLATION OF THE DESCRIPTION OR TO PAY THE FEE WITHIN THE PRESCRIBED TIME-LIMIT

Effective date: 20170823

PGFP Annual fee paid to national office [announced via postgrant information from national office to epo]

Ref country code: CH

Payment date: 20200429

Year of fee payment: 8

Ref country code: NL

Payment date: 20200420

Year of fee payment: 8

PGFP Annual fee paid to national office [announced via postgrant information from national office to epo]

Ref country code: BE

Payment date: 20200420

Year of fee payment: 8

PGFP Annual fee paid to national office [announced via postgrant information from national office to epo]

Ref country code: AT

Payment date: 20200421

Year of fee payment: 8

REG Reference to a national code

Ref country code: NL

Ref legal event code: MM

Effective date: 20210501

REG Reference to a national code

Ref country code: AT

Ref legal event code: MM01

Ref document number: 921506

Country of ref document: AT

Kind code of ref document: T

Effective date: 20210426

REG Reference to a national code

Ref country code: DE

Ref legal event code: R081

Ref document number: 502013008121

Country of ref document: DE

Owner name: MINIMAX GMBH, DE

Free format text: FORMER OWNER: MINIMAX GMBH & CO. KG, 23843 BAD OLDESLOE, DE

REG Reference to a national code

Ref country code: BE

Ref legal event code: MM

Effective date: 20210430

PG25 Lapsed in a contracting state [announced via postgrant information from national office to epo]

Ref country code: LI

Free format text: LAPSE BECAUSE OF NON-PAYMENT OF DUE FEES

Effective date: 20210430

Ref country code: CH

Free format text: LAPSE BECAUSE OF NON-PAYMENT OF DUE FEES

Effective date: 20210430

Ref country code: AT

Free format text: LAPSE BECAUSE OF NON-PAYMENT OF DUE FEES

Effective date: 20210426

PG25 Lapsed in a contracting state [announced via postgrant information from national office to epo]

Ref country code: NL

Free format text: LAPSE BECAUSE OF NON-PAYMENT OF DUE FEES

Effective date: 20210501

PG25 Lapsed in a contracting state [announced via postgrant information from national office to epo]

Ref country code: BE

Free format text: LAPSE BECAUSE OF NON-PAYMENT OF DUE FEES

Effective date: 20210430

PGFP Annual fee paid to national office [announced via postgrant information from national office to epo]

Ref country code: DE

Payment date: 20220419

Year of fee payment: 10

REG Reference to a national code

Ref country code: DE

Ref legal event code: R119

Ref document number: 502013008121

Country of ref document: DE

PG25 Lapsed in a contracting state [announced via postgrant information from national office to epo]

Ref country code: DE

Free format text: LAPSE BECAUSE OF NON-PAYMENT OF DUE FEES

Effective date: 20231103