EP2160258B1 - Rollbördelwerkzeug - Google Patents
Rollbördelwerkzeug Download PDFInfo
- Publication number
- EP2160258B1 EP2160258B1 EP08758908A EP08758908A EP2160258B1 EP 2160258 B1 EP2160258 B1 EP 2160258B1 EP 08758908 A EP08758908 A EP 08758908A EP 08758908 A EP08758908 A EP 08758908A EP 2160258 B1 EP2160258 B1 EP 2160258B1
- Authority
- EP
- European Patent Office
- Prior art keywords
- flanging
- spring
- crimping
- axis
- rotational axis
- Prior art date
- Legal status (The legal status is an assumption and is not a legal conclusion. Google has not performed a legal analysis and makes no representation as to the accuracy of the status listed.)
- Active
Links
Images
Classifications
-
- B—PERFORMING OPERATIONS; TRANSPORTING
- B21—MECHANICAL METAL-WORKING WITHOUT ESSENTIALLY REMOVING MATERIAL; PUNCHING METAL
- B21D—WORKING OR PROCESSING OF SHEET METAL OR METAL TUBES, RODS OR PROFILES WITHOUT ESSENTIALLY REMOVING MATERIAL; PUNCHING METAL
- B21D19/00—Flanging or other edge treatment, e.g. of tubes
- B21D19/02—Flanging or other edge treatment, e.g. of tubes by continuously-acting tools moving along the edge
- B21D19/04—Flanging or other edge treatment, e.g. of tubes by continuously-acting tools moving along the edge shaped as rollers
-
- B—PERFORMING OPERATIONS; TRANSPORTING
- B21—MECHANICAL METAL-WORKING WITHOUT ESSENTIALLY REMOVING MATERIAL; PUNCHING METAL
- B21D—WORKING OR PROCESSING OF SHEET METAL OR METAL TUBES, RODS OR PROFILES WITHOUT ESSENTIALLY REMOVING MATERIAL; PUNCHING METAL
- B21D19/00—Flanging or other edge treatment, e.g. of tubes
- B21D19/02—Flanging or other edge treatment, e.g. of tubes by continuously-acting tools moving along the edge
- B21D19/04—Flanging or other edge treatment, e.g. of tubes by continuously-acting tools moving along the edge shaped as rollers
- B21D19/043—Flanging or other edge treatment, e.g. of tubes by continuously-acting tools moving along the edge shaped as rollers for flanging edges of plates
-
- B—PERFORMING OPERATIONS; TRANSPORTING
- B21—MECHANICAL METAL-WORKING WITHOUT ESSENTIALLY REMOVING MATERIAL; PUNCHING METAL
- B21D—WORKING OR PROCESSING OF SHEET METAL OR METAL TUBES, RODS OR PROFILES WITHOUT ESSENTIALLY REMOVING MATERIAL; PUNCHING METAL
- B21D39/00—Application of procedures in order to connect objects or parts, e.g. coating with sheet metal otherwise than by plating; Tube expanders
- B21D39/02—Application of procedures in order to connect objects or parts, e.g. coating with sheet metal otherwise than by plating; Tube expanders of sheet metal by folding, e.g. connecting edges of a sheet to form a cylinder
- B21D39/021—Application of procedures in order to connect objects or parts, e.g. coating with sheet metal otherwise than by plating; Tube expanders of sheet metal by folding, e.g. connecting edges of a sheet to form a cylinder for panels, e.g. vehicle doors
-
- B—PERFORMING OPERATIONS; TRANSPORTING
- B21—MECHANICAL METAL-WORKING WITHOUT ESSENTIALLY REMOVING MATERIAL; PUNCHING METAL
- B21D—WORKING OR PROCESSING OF SHEET METAL OR METAL TUBES, RODS OR PROFILES WITHOUT ESSENTIALLY REMOVING MATERIAL; PUNCHING METAL
- B21D39/00—Application of procedures in order to connect objects or parts, e.g. coating with sheet metal otherwise than by plating; Tube expanders
- B21D39/02—Application of procedures in order to connect objects or parts, e.g. coating with sheet metal otherwise than by plating; Tube expanders of sheet metal by folding, e.g. connecting edges of a sheet to form a cylinder
- B21D39/021—Application of procedures in order to connect objects or parts, e.g. coating with sheet metal otherwise than by plating; Tube expanders of sheet metal by folding, e.g. connecting edges of a sheet to form a cylinder for panels, e.g. vehicle doors
- B21D39/023—Application of procedures in order to connect objects or parts, e.g. coating with sheet metal otherwise than by plating; Tube expanders of sheet metal by folding, e.g. connecting edges of a sheet to form a cylinder for panels, e.g. vehicle doors using rollers
Definitions
- the invention relates to a Rollbördeltechnikmaschinezeug for flanging of components, preferably for producing Falztagenen of two or more components.
- the tool is fastened or attachable to a movable actuator in space, for example at one end of an arm of an industrial robot, or a similar frame with respect to the connection.
- the tool can be used in particular in the production of vehicles and vehicle parts, preferably in the mass production of automobiles.
- a crimping roller drives off an edge strip of the component to be crimped in the longitudinal direction and applies a crimping strip which surrounds the edge of the edge strip.
- the flared web is folded over, for example, by 90 °, this is done in several successive flanging steps, as for a roll flanging in a plurality of successively executed work runs in the EP 1 420 908 B1 and for a successive shift in a work process in the EP 1 685 915 described.
- those components in which the edge strip along which a flanged web is to be folded are angled relative to an adjacent region of the component and the angular position of the edge strip changes in the longitudinal direction are problematic with respect to the accessibility and, consequently, the freedom of movement of an actuator carrying a roll-flanging tool.
- the edge strip in one longitudinal section with the area of the component adjacent thereto can enclose an angle of 90 °, while another longitudinal section with the area of the component adjacent thereto encloses a different angle or the area concerned, for example, simply straight extended.
- the edge strip may be wound continuously in the longitudinal direction, so that the angular position to the adjacent edge region continuously changes, or in the longitudinal direction of each other or discontinuously contiguous longitudinal sections each having a different angular position.
- Such edge strip course for example, have bonnets which are trough-shaped in cross-section and extend with their tub edges into the side areas of the body to reduce the risk of injury to pedestrians in rear-end collisions.
- the crimping tool must follow the different angular positions of the marginal strip and be correspondingly rotated or pivoted about an axis parallel to the longitudinal direction. Furthermore, in general, the angular position of the tool must also be changed in the successive crimping steps to be performed. The tool as a whole is often a hindrance.
- crimping tools can be used with several flanging rollers. In this way, different longitudinal sections can be crimped with different crimping rollers. Crimping tools of this type, however, are in many cases voluminous and problematic in confined spaces. Not only the multiple crimping rollers, but also their support to a support structure of the tool contribute to the volume of the tool.
- Crimping rollers for closing a fold are advantageously spring-elastically supported.
- An example of a preferred support of this kind is from the DE 100 11 854 A1 known.
- the elastic support also increases the volume of the tool, increases the complexity and, accordingly, the price.
- a crimping tool which is connectable to a robot arm and a plurality of crimping rollers, which are arranged on a relative to a support frame movable tool carrier comprises.
- a spring is arranged, which is supported on the Abstützbock and absorbs movements of the tool carrier.
- the DE 10 2004 042 213 A1 discloses a rolling folding head attachable to an industrial robot, comprising three folding rollers projecting from a carrier and arranged uniformly about a cylinder axis.
- the carrier can spring relative to a mounting plate by means of a spring arranged along the cylinder axis.
- Another object is to simplify a Rollbördeltechnikmaschine that is equipped with a plurality of elastically supported flanging rollers, in terms of resilient support, preferably to obtain a favorable tool for achieving the above task tool geometry.
- the invention relates to a Rollbördeltechnikzeug according to claim 1, which has a support structure, one of the support structure about a first axis of rotation rotatably mounted first crimping roller and a rotatably supported by the support structure about a second axis of rotation second crimping roller.
- the fact that the support structure supports a component of the tool, for example a crimping roller, comprises both the case of a bearing directly through the support structure and an indirect bearing over one or more further structure (s).
- the support structure forms a connection device, by means of which the tool can be connected or already connected to a movable actuator in space.
- the actuator may be an arm or the end of an arm of an industrial robot.
- connection device has a connection surface, preferably a connection plane, with which it contacts the actuator in the connected state. If the connection surface of the support structure is not flat, the connection plane in the sense of the invention is understood to be a replacement plane intended between the actuator and the support structure, this imaginary connection plane pointing at right angles to a direction into which the support structure is pressed against the actuator in the connected state is.
- the tool has a first arm and a second arm, which are spread apart from one another and connected to one another in a connection section.
- the connection device is formed.
- the support structure preferably already has its own arms, which are part of the arms of the tool.
- the arms of the support structure are not movable relative to each other in preferred simple embodiments.
- the support structure can be a structurally rigid structure, which is advantageous not least for the absorption of the forces to be absorbed during crimping.
- the arms of the tool and also the optional arms of the support structure may in particular have a V-shaped relationship to one another and together with the adjacent connection section form a Y-shaped tool and preferably also a Y-shaped support structure.
- first crimping roller are arranged at an end of the first arm facing away from the connecting plane and the second crimping roller at an end of the second arm remote from the connecting plane, either directly on arms of the carrier structure or respectively via a transmission device supported on the carrier structure, which preferably each extends an arm of the support structure.
- the crimping rollers or at least one of the crimping rollers are arranged in the extension of the respective associated arm.
- the axes of rotation of the crimping rollers are aligned relative to each other and the connection level in a special way.
- the axis of rotation of the first flanging roll extends from the first flanging roll through the tool and pierces the connection plane.
- the second axis of rotation is oriented so that a straight line intersecting it at a right angle, i. H. a precipitated on the second axis of rotation Lot, extending from the second crimping roll through the tool pierces the connecting plane and crosses the first axis of rotation in or on the tool or preferably cuts.
- the first axis of rotation and the solder extend through the terminal portion or at least overlap therewith. Further, they preferably intersect or cross each other in the terminal portion or in an overlapping area therewith.
- the tool can selectively use either the first or the second crimping roller to form a crimping ridge or a plurality of crimping ridges immediately or spaced apart in an edge strip of a component Successively reposition in several crimping steps, even if the respective edge strips in the longitudinal direction, d. H. Has in the rolling direction of the respective crimping roller, different angular positions to each adjacent component area.
- the first crimping roller is particularly suitable for folding over a crimping web in an edge strip which has an angle at an angle to the adjacent component region, wherein the radius can form a sharp edge or a softly arched transition.
- first crimping roller extends the first arm of the tool like a finger.
- the second Crimping roller can be used in particular for beading in edge strips, which extend a larger adjacent area of the component straight or at an obtuse angle of more than 90 ° to the adjacent area, so that the adjacent component area, the tool at least not significantly hindered.
- the crimping rollers preferably protrude freely.
- the first crimping roller is freely accessible around the first axis of rotation over the axial length of its rolling or crimping surface, ie completely circulating.
- the tool has no other structure in axial overlap with the rolling surface of the first crimping roller.
- embodiments in which the rolling surface of the first flanging roller is freely accessible from the second flanging roller are also advantageous.
- an embodiment in which at least the side of the rolling surface of the first crimping roller facing away from the second crimping roller is also freely accessible is advantageous. The same applies mutatis mutandis to the second crimping roller, d. H.
- the Rollbördelwerkzeug has a support structure with a connection device for connection to a movable in space actuator, a first crimping roller, a second crimping roller and a spring mounted by the support structure for both crimping rollers together.
- the support structure supports the first crimping roller rotatable about a first axis of rotation and movable transversely to the first axis of rotation against a restoring force of the spring.
- the support structure further supports the second crimping roller rotatable about a second axis of rotation and movable transverse to the second axis of rotation against a restoring force of the same spring.
- the tool is advantageously formed as explained above, but in principle can also be equipped without arms or only with one of the arms.
- the support according to the invention can advantageously build on the support described there for only a single crimping roller.
- the tool comprises a first transfer device for the first crimping roller movably connected to the carrier structure and a second transfer device for the second crimping roller likewise movably connected to the carrier structure.
- the first crimping roller is rotatable about its axis of rotation on the first transmission device and the second crimping roller is rotatably supported on the second transmission device about its axis of rotation.
- the first transfer means is movably connected to the support structure so as to transmit a crimping force acting on the first crimping roller when crimping transversely to the first rotation axis to the spring in a first direction against the force of the spring.
- the second transfer means is movable relative to the support structure in such a manner as to transmit the crimping force against the force of the spring acting on the second crimping roller transverse to the second axis of rotation to the spring.
- the spring is tensioned either by the first crimping roller via the first transmission device or by the second crimping roller via the second transmission device with a force corresponding to the respective crimping force or proportional to the respective crimping force.
- the second transfer means transmits the crimping force of the second crimping roller in a direction opposite to the first direction on the spring. The spring is thus acted upon in such embodiments along a spring axis of the one crimping roller in one axial direction and of the other crimping roller in the opposite axial direction.
- the spring is installed with a preload that is so great that it only springs under the crimping forces when the respective crimping roll is used in a final crimping step as a finish crimping roll while the spring is in one or more prebake crimping preceding the finish crimping (s) does not yield and how a rigid stop acts.
- the orientation of the axes of rotation of the crimping rollers described above facilitates the support via the common spring.
- the crimping of the first crimping roller as Reaction force to be absorbed crimping force can advantageously be transmitted along the precipitated on the second axis of rotation solder on the spring.
- the second transmission device can be connected to the support structure so as to be linearly guided back and forth along the solder and secured against rotation.
- the crimping force to be absorbed by the first crimping roller acts as a lateral force according to the orientation of the first axis of rotation and can be introduced into the carrier structure as a bending force.
- the first transmission device is preferably pivotably connected to the carrier structure about a pivot axis pointing transversely to the first axis of rotation, so that the crimping force to be absorbed by the first crimping roller is at least substantially also parallel to the solder dropped on the second axis of rotation via a lever arm of the transmission device is initiated.
- the transmission device is expediently formed as a pivot lever with a first lever arm extending from the pivot axis to the center of the first flanging roller and a second lever arm extending from the pivot axis to the opposite side to a point at which the force along a spring axis acts and preferably a directional adjustment, for example in a sliding contact.
- the first lever arm and the second lever arm can be equal in particular.
- Lever arms are understood to be the mathematical lever arms.
- the two mathematical lever arms and preferably also the actual, material lever arms can extend each other over the pivot axis in each case in straight alignment, so form a straight pivot lever, but this is not absolutely necessary.
- the force acting on the first flanging roll when crimping 1: 1 ie, neither with reduction nor with translation, transmitted to the spring.
- the spring is supported in preferred embodiments via a load cell, by means of which the force absorbed by the spring during crimping is measured. It is also advantageous if an adjusting device is provided for adjusting the bias of the spring. In alternative embodiments, however, the load cell can also be used to measure the force absorbed by the spring during flanging, in particular during finish flanging, and the actuator can be controlled as a function of the measured value such that the crimping roller used in each case has a crimping force predetermined by an actuator control is pressed against the crimping of the component.
- the Load cell arranged so that both the first crimping roller and the second crimping roller on the common spring on the load cell, that acts on the joint load cell also common in this case.
- a load cell can be used to measure or determine the respective force and another sensor, such as a pressure, force, compression or strain or position sensor, measured with a representative of the force acting on the spring measurement can be.
- the crimping rollers are used in preferred crimping respectively Vorbördelrolle and as Fertigbördelrolle.
- the crimping rollers thus roll off a crimping web in one or more pre-crimping steps in order to shift them by an angle predetermined by the angular position of the axis of rotation of the respective crimping roller. Furthermore, they roll off the crimping web folded over by pre-crimping in a final finished crimping step in which the crimping web is completely folded over and, after the completion of the crimping step, is folded over by 180 ° to the region of the edge strip adjacent to the crimping edge.
- the invention also relates to a method in which a component is preferably folded over to create a component composite along an edge strip which has angular positions that change to an adjacent region of the component.
- the first flanging roller is used in a first longitudinal section of the edge strip and the second flanging roller is used in another longitudinal section of the edge strip.
- the two crimping rollers are used in each case in at least one run for Vorbördeln and a final run for Fertigbördeln in the respective longitudinal section of the edge strip.
- the crimping rollers are each elastically movably supported on the support structure via a separate spring or preferably via the described common spring.
- the springs or the preferably common spring are or is mounted with a bias that is so great that it preferably does not yield at the respective Vorbördel intimid or several Vorbördelitzen per crimping, but acts like a hard stop and only under the larger pressing force during the finish crimping compressed.
- the support structure forms a housing in which one or more components of the tool are or are received or in which one or more components protrude, for example the named spring or one of the transmission devices or both transmission devices.
- support structure also form only a frame in the broader sense, on which the crimping rollers or other components of the tool are supported outside.
- the fact that the first axis of rotation intersects or intersects the perpendicular that has been cut on the second axis of rotation in or on the tool means that the point of intersection or the two points closest to one another in the crossing region are or are located in or on the tool.
- the point of intersection or the points closest to each other in the crossing area are located in or on the support structure and more preferably in or on the connection section of the support structure.
- the axis of rotation of the first crimping roller can point at right angles to the connection plane. Preferably, it has an angle to the connection plane.
- the inclination is advantageously chosen so that the first axis of rotation pierces the connection level in the region of the connection device. For the solder that has been dropped onto the axis of rotation of the second flanging roller, these embodiments are also preferably valid.
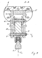
- the FIGS. 1 and 2 show a Rollbördeltechnikmaschine in a side view and a perspective view.
- the tool is as a tool head for an industrial robot or designed a similar movable in space other actuator. It comprises a first crimping roller 1, a second crimping roller 2 and a support structure which serves as a fixed frame and supports the components of the tool, in particular the crimping rollers 1 and 2. Beyond the crimping rollers 1 and 2, the tool has no further flanging rollers.
- the crimping roller 1 is pivotally movable by means of the transmission device 10 and the crimping roller 2 is supported by the transmission device 20 linearly movable on the support structure. At least the tool is suitable for connection to an actuator of the type mentioned.
- the support structure comprises a first arm 3 and a second arm 4, further comprising a connection portion 5, from which the arms 3 and 4 protrude so that they in the side view of FIG. 1 together with the connecting portion 5 approximately form a "Y", and a connection device 6, which is arranged at the end facing away from the arms 3 and 4 of the connecting portion 5.
- the tool is connected by means of the connection device 6 on the actuator, in particular fixed.
- the connection device 6 is formed as a connection flange with a flat connection surface.
- the flange plane which in the fastened state contacts the actuator or a frame comparable with respect to the connection, forms a connection plane C, whereby the connection plane C is understood to be not only the contact surface of the connection device 6 but the entire plane comprising this surface.
- the support structure 3-6 is composed essentially of two spaced-apart support plates and the support plates against each transverse transverse stiffeners together, to which also the connection device 6 belongs.
- the support plates each have the same shape and form the two arms spread apart from each other 3 and 4.
- the crimping roller 1 is mounted about an axis of rotation R 1 and the crimping roller 2 is rotatable about an axis of rotation R 2 .
- the axis of rotation R 1 extends from the crimping roller 1 through the support structure 3-6, in the exemplary embodiment by the arm 3 and the connection section 5, and then pierces the connection plane C, in the exemplary embodiment, the contact surface of the connection device 6.
- the axis of rotation R 2 of second crimping roller 2 is so aligned such that a straight connecting line L, which intersects the axis of rotation R 2 at a central location of the crimping roller 2, that is, the solder there precipitated on the rotation axis R 2 , extending from the crimping roller 2 through the second arm 4 and the connecting portion 5 extends Furthermore, the solder L intersects the rotation axis R 1 in the region of the overlap with the connection section 5, namely within a housing formed by the support structure 3-6 in the region of the connection section 5 , The axis of rotation R 1 and the Lot L enclose an angle of 90 °.
- the axes of rotation R 1 and R 2 span one another on a plane which in FIG.
- the axes of rotation R 1 and R 2 are parallel to each other. Lot L is in the same plane.
- the second crimping roller 2 may be arranged so that its axis of rotation R 2 assumes a different angular position of rotation with the orientation of the axes L and R 1 unchanged relative to the perpendicular L.
- the rotational angular position selected in the exemplary embodiment is a preferred one, the rotational axis R 2 can be rotated about the perpendicular L, for example by an angle of 90 °.
- the transmission device 10 is pivotably supported on the support structure 3-6, in the exemplary embodiment on the arm 3, in a swivel joint about a pivot axis S, which extends in the transverse direction to the axis of rotation R 1 . In the exemplary embodiment, it cuts the axis of rotation R 1 at a right angle. Further, it is perpendicular to the Lot L.
- the transfer device 10 forms a pivot lever with a first lever arm extending from the pivot axis S up to a center of force of the crimping roller 1, and extending from the pivot axis S to the other side second lever arm.
- the transfer device 10 is formed as a two-armed pivot lever and the two lever arms extending along the axis of rotation R. 1 Accordingly, the lever arm pointing from the pivot axis S in the direction of the connection device 6 intersects the perpendicular L dropped onto the rotation axis R 2.
- the transfer device 20 is guided in a sliding joint relative to the support structure 3-6, in the embodiment on the arm 4, along the solder L linear reciprocatingly. Both transmission devices 10 and 20 extend the respective arm 3 or 4, so that as the arms of the tool from the arms 3 and 4 of the support structure 3-6 and the respective transmission means 10 and 20 composite arms 3, 10 and 4, 20 are obtained.
- FIG. 3 shows in a section AA, the in FIG. 1 is located, the crimping roller 1, the transmission device 10 and their respective storage.
- the crimping roller 1 is formed as a shaft finger with a shaft journal which projects into a bore of the transmission device 10 and is rotatably mounted in a received in the bore bearing about the axis of rotation R 1 .
- the shaft journal is thickened at its free end to the crimping area of the rolling surface forming the rolling surface of the crimping roller 1 projecting finger-like from the transmission device 10.
- the shaft journal could be formed by a stub axle pivotally connected to the transmission device 10 and the crimping roller 1 accordingly be rotatably mounted on such a journal via an internal pivot bearing.
- the illustrated embodiment is preferred.
- the pivotal mounting of the transmission device 10 is obtained by means of a pivot pin 7, which extends along the pivot axis S and is torsionally rigidly connected to the arm 3.
- the transmission device 10 is rotatably mounted on the journal 7 in a simple plain bearing.
- a coupling device is formed, by means of which the crimping force F 1 to be received during crimping is introduced into an abutment.
- the coupling device comprises a transverse to the axis of rotation R 1 extending pivot member 11 which is rotatable relative to the transmission device 10 and extending through a bore or half-bore of the transmission device 10 transversely to the axis of rotation R 1 , in the embodiment parallel to the pivot axis S, and a sliding member 12, which is torsionally rigidly connected to the hinge element 11.
- the sliding element may alternatively be rotatably connected to the rotary joint element. If the sliding member 12 is rotatably connected to the pivot member 11, the handle member 11 may in yet another alternative be rigidly connected to the transmission means 10.
- FIG. 4 shows the also in FIG. 1 registered section BB, in which the Lot L extends.
- the crimping roller 2 is on the transfer device 20 along the solder L at a Spring 25 is supported, on which in the opposite direction and the crimping roller 1 via the transmission device 10 and the coupling device 11, 12 is supported.
- the spring 25 acts as a compression spring along the solder L, that is, the solder L also forms the spring axis at the same time. It is shaped in the embodiment as a spiral spring.
- the spring 25 is supported in the direction of the crimping roller 2 via a support element 21 on a stop 9a of a tension member 9.
- the tension member 9 is connected to the support structure 3-6 relative to this at least axially, that is not movably connected parallel to the spring axis L.
- the axially rigid connection is created by means of a connecting element 8.
- the spring 25 is supported via a support member 17 on a transmission element 16 and this via a load cell 14 on a bearing element 18, to which the force of the spring against the coupling device 11, 12 acts.
- the bearing element 18 forms the abutment for the coupling device 11, 12.
- the bearing element 18 forms together with another tension member 19 a counter-holder 18, 19 for the spring 25. It is firmly connected to the tension member 19.
- the two tension members 9 and 19 are stretched by the spring 25 on axial train against each other. They engage behind each other to transmit the tensile force with shoulders formed by shoulders 9b and 19a.
- the tension member 19 is axially movable relative to the tension member 9 against the force of the spring 25.
- the transfer device 20 comprises an outer structure 22, an inner structure acting as a plunger 23 and the crimping roller 2 facing a cover 22 which is attached to the outer structure 22 and the plunger 23 and the crimping force F 2 on the outer structure 22 and the plunger 23 transmits.
- the plunger 23 acts on the support element 21 during crimping in the direction of the crimping force F 2 .
- the coupling device 11, 12 is in sliding contact loosely on the bearing element 18.
- the connecting element 8 forms a stop for the first crimping roller 1, by the outer structure 22 in the region of a bore through which acts as a stop Connecting element 8 extends, forms a counter-stop 22 a, which limits the pivotal movement of the transmission device 10 and thus the crimping roller 1.
- FIG. 5 shows a component composite consisting of an outer part a and an inner part i.
- the components a and i are connected to create a bonnet for an automobile along an outer edge strip of the outer part a by means of hinge joint firmly together.
- the components a and i are sheet metal parts.
- the inner part i is inserted into the outer part a and extends with its outer edge along the two sides and in the front region of the hood in the edge strip of the outer part up to a crimping ridge, which forms the outer edge of the edge strip.
- the components i and a have the shape of a shallow trough in cross-section over most of their length, which becomes flatter towards the front and finally expires.
- the edge strip in which the crimping extends thus has on both sides angled, in the embodiment approximately at right angles to the adjacent central region with which the hood later, when installed covers the engine compartment of the car, and extends the central region to the front accordingly the curvature of the hood.
- the edge strip in which the crimping ridge is to be transferred accordingly has three different longitudinal sections, namely on one side a longitudinal section with a crimping section a 1 , a central longitudinal section in the front section with a crimping section a 2 and on the other side a longitudinal section with a crimping section a 3 .
- the two lateral longitudinal sections of the edge strip have approximately at right angles to the central longitudinal section in the front region.
- the crimping tool is particularly adapted with its two cantilevered arms 3, 10 and 4, 20 and the crimping rollers 1 and 2 arranged there at the respective end for the crimping of such components or component composites.
- the crimping roller 1 is used for crimping in the two lateral longitudinal sections of the edge strip, ie for transferring the crimping web sections a 1 and a 3 , while the crimping section a 2 is folded in the front region with the crimping roller 2 in several crimping steps.
- the actuator sets the roll flanging tool with the flanging roll 1 onto the respective flanged web section a 1 or a 3 .
- the crimping roll 1 is subsequently unrolled along the respective crimping web section a 1 or a 3 , whereby the crimping web section in question is transferred in accordance with the angular position of the rotational axis R 1 .
- the tool In the crimping of the lateral flanged web sections a 1 and a 3 , the tool assumes an angular position in which the arm 4, 20 with the crimping roller 2 protrudes outward from the components a and i, ie the crimping force F 1 acts on the crimping roller 1 as in FIG. 1 shown.
- the crimping web sections a 1 and a 3 are further folded over in several crimping steps by, for example, 30 ° or 45 ° and in the last crimping step, the finish crimping, completely transferred, ie pressed against the edge of the inner part i.
- the actuator pivots the tool into an angular position in which the crimping roller 2 rolls on the latter in accordance with the orientation of the central flanged web section a 2 .
- the crimping web section a 2 is successively folded with the crimping roller 2 in several crimping steps by an angle of for example 30 ° or 45 ° and in a final crimping step, the finish crimping, completely folded and thereby pressed against the edge of the inner part i.
- the tool When crimping with the crimping roller 2, the tool can be aligned so that the arm 3, 10 with the crimping roller 1 is on completion of the Fertigbördel suitss over the inner part i, but preferably the arm 3, 10 of the component composite a, i after gone outside.
- the Rollbördelwerkmaschine can be used for the beading of components that are accommodated in a folding bed.
- the folding bed is arranged stationary and the tool is aligned by the actuator according to the angular position of the respective flanged web section after execution of the respective flanging step and following the course of the respective flanging section in the longitudinal direction.
- the arrangement can also be reversed by the crimping tool is fixed during crimping and instead the folding bed with the components a and i aligned accordingly and moved in space.
- a stationary frame replaced the actuator.
- the tool is suitable for connection to a movable in space actuator, on the other hand, however, can be arranged stationary for flanging.
- the spring 25 is installed with a bias greater than the flanging force F 1 or F 2 acting on the crimping step (s) preceding finish crimping.
- the spring 25 does not yield, the arrangement may be considered rigid.
- finish crimping however, the respective crimping web portion is overrun with a force exceeding the preload, ie the spring 25 springs during finish crimping.
- the exerted or received in the opposite direction crimping force F 1 is transmitted to the bearing element 18 by means of the transmission device 10 and the coupling device 11, 12. If the biasing force of the spring 25 is exceeded, the bearing member 18 moves together with the tension member 19 relative to the rigidly connected to the support structure 3-6 tension member 9 and the arm 4 in the direction of the connecting element 8.
- the force acting on the bearing member 18 force from this to the load cell 14, transmitted from this via the adjusting element 15 and the transmission means 16 on the support member 17 and from this directly to the spring 25. Since the spring 25 is fixed on the further support element 21 on the stop 9a, it springs according to the transmitted force.
- the connecting element 8 forms a stop for the compression in this direction.
- the outer structure 22 forms the counter-stop 22a for this purpose.
- H 1 the maximum stroke or travel is designated for this direction of deflection.
- the coupling of the coupling device 11, 12 with the bearing element 18 should be noted that the in FIG. 4 recognizable bolt left and right of the anvil 18, 19 are only guide pin for the pure sliding contact between the sliding member 12 and the bearing member 18 and the elements 12 and 18 in sliding contact perpendicular to the solder or the spring axis L linearly lead to each other, so no tensile force transmitted ,
- the transmission device 20 executes a linear retraction movement along the spring axis L. It presses with its plunger 23 against the support member 21, which lifts off during the compression of the spring 25 of the stop 9a.
- the spring force is absorbed by the support member 17, which is in the application of the spring 25 in this direction via the transmission element 16, the adjusting element 15 and the Load cell 14 is supported on the bearing element 18.
- the bearing element 18 is fixedly connected to the tension member 19, at least with high tensile strength, so that the force received by the spring 25 is ultimately absorbed by the tension member 9 via the abutment pair 9b, 19a and finally by the support structure 3-6.
- the maximum travel or stroke H 2 in this direction is predetermined by abutment of the outer structure 22 on the stop 19 a of the tension member 19.
- the crimping roller 1 acts on the spring 25 via two equal length lever arms, ie the pivot axis S has the same distance to the perpendicular L as to an imaginary center of force of the crimping roller 1, in which the entire force F 1 acting on the crimping roller 1 during crimping acts, if one thinks of the linear force as being replaced by an individual force. Because of these leverage ratios equal forces F 1 and F 2 also produce equal spring forces.
- two setting elements 26 are arranged, which protrude in opposite directions from the arm 4, 20.
- the setting elements 26 are rod-shaped slim. With the setting elements 26, the actuator in cramped areas, which are the crimping rollers 1 and 2 are not accessible because of their size, press against the crimping.
- the Rollbördelwerkmaschine is ever equipped only with a single crimping roller 1 and a single crimping roller 2.
- a plurality of first flanging rollers 1 can be arranged on the arm 3, 10, preferably on the transmission device 10, and rotatably mounted about mutually parallel first rotary axes R 1 .
- the axes of rotation R 1 of such a plurality of first crimping rollers 1 may be body-fixed or parallel adjustable.
- the adjustability may in particular be designed so that each of the first crimping rollers 1 can be selectively adjusted to the position of the single crimping roller 1 in the exemplary embodiment.
- a plurality of second crimping rollers 2 may be provided on the arm 4, 20, preferably each on the transfer device 20.
- the two or more second crimping rollers 2 may in particular be arranged such that their axes of rotation R 2 are at an angle to each other, for example at right angles.
- the second axes of rotation R 2 are expediently perpendicular to the Lot L, so that the force acting during crimping with the spring axis of the spring 25 is aligned or spaced at least parallel thereto.
- the second crimping rollers can be arranged fixed or adjustable on the Rollbördeltechnikmaschinegne.
- each of the crimping rollers 2 can be selectively adjusted for crimping in a position in which the axis of rotation R 2 of the crimping roller 2 in question intersects the solder L.
- the Rollbördelwerkmaschine can have both modifications or only one of the two modifications mentioned.
Landscapes
- Engineering & Computer Science (AREA)
- Mechanical Engineering (AREA)
- Rolls And Other Rotary Bodies (AREA)
- Manufacturing Of Electrical Connectors (AREA)
- Shaping Metal By Deep-Drawing, Or The Like (AREA)
- Tyre Moulding (AREA)
- Bending Of Plates, Rods, And Pipes (AREA)
- Transmission Devices (AREA)
Applications Claiming Priority (2)
| Application Number | Priority Date | Filing Date | Title |
|---|---|---|---|
| DE202007007838U DE202007007838U1 (de) | 2007-06-01 | 2007-06-01 | Rollbördelwerkzeug |
| PCT/EP2008/004338 WO2008145396A1 (de) | 2007-06-01 | 2008-05-30 | Rollbördelwerkzeug |
Publications (2)
| Publication Number | Publication Date |
|---|---|
| EP2160258A1 EP2160258A1 (de) | 2010-03-10 |
| EP2160258B1 true EP2160258B1 (de) | 2012-10-10 |
Family
ID=38515135
Family Applications (1)
| Application Number | Title | Priority Date | Filing Date |
|---|---|---|---|
| EP08758908A Active EP2160258B1 (de) | 2007-06-01 | 2008-05-30 | Rollbördelwerkzeug |
Country Status (7)
| Country | Link |
|---|---|
| US (1) | US8408036B2 (enExample) |
| EP (1) | EP2160258B1 (enExample) |
| JP (1) | JP5220847B2 (enExample) |
| KR (2) | KR101282614B1 (enExample) |
| CN (1) | CN101687245B (enExample) |
| DE (1) | DE202007007838U1 (enExample) |
| WO (1) | WO2008145396A1 (enExample) |
Families Citing this family (118)
| Publication number | Priority date | Publication date | Assignee | Title |
|---|---|---|---|---|
| DE202009005111U1 (de) * | 2009-08-05 | 2010-12-30 | Kuka Systems Gmbh | Falzeinrichtung |
| JP4795462B2 (ja) * | 2009-11-12 | 2011-10-19 | ファナック株式会社 | 力センサを搭載したロボットマニピュレータを用いたロールヘム加工装置 |
| DE102009060227B4 (de) * | 2009-12-23 | 2018-04-19 | Audi Ag | Verfahren zur Herstellung einer Bauteilverbindung eines Karosseriebauteils und Einstelleinheit |
| FR2955509B1 (fr) * | 2010-01-25 | 2012-03-02 | Peugeot Citroen Automobiles Sa | Dispositif d'assemblage de panneaux pour un vehicule automobile. |
| DE202010011359U1 (de) | 2010-08-13 | 2011-02-10 | Edag Gmbh & Co. Kgaa | Dockingmodul für ein mittels eines Roboters zu handhabendes Werkzeug |
| DE102011007223A1 (de) * | 2011-04-12 | 2012-10-18 | Rolls-Royce Deutschland Ltd & Co Kg | Walzwerkzeugvorrichtung |
| US9352376B2 (en) | 2011-05-24 | 2016-05-31 | Comau S.P.A. | Hemming head device and method |
| DE102012018604A1 (de) | 2012-09-20 | 2014-03-20 | Rolls-Royce Deutschland Ltd & Co Kg | Walzwerkzeugvorrichtung |
| DE102012018605A1 (de) | 2012-09-20 | 2014-03-20 | Rolls-Royce Deutschland Ltd & Co Kg | Walzwerkzeugvorrichtung |
| KR101488739B1 (ko) | 2013-05-27 | 2015-02-04 | 김성근 | 조립식 건축물의 패널 이음새용 벤더 |
| EP2821159B1 (en) | 2013-07-01 | 2016-08-10 | Comau S.p.A. | Tool head for performing industrial operations having a wireless monitoring system |
| CN103495632B (zh) * | 2013-09-27 | 2015-07-22 | 宁波安纳杰模塑科技有限公司 | 用于对阻尼器底座滚边的滚边机 |
| ES2553618B1 (es) * | 2014-05-08 | 2016-09-21 | Ingemat, S.L. | Herramienta para engrapado por roldana |
| ES2770053T3 (es) | 2014-05-16 | 2020-06-30 | Divergent Tech Inc | Nodos formados modulares para chasis de vehículo y sus métodos de uso |
| SG10201806531QA (en) | 2014-07-02 | 2018-09-27 | Divergent Technologies Inc | Systems and methods for fabricating joint members |
| US10105741B2 (en) * | 2015-03-23 | 2018-10-23 | Hirotec America, Inc. | Steerable roller hemming head |
| CN105251840A (zh) * | 2015-11-06 | 2016-01-20 | 爱孚迪(上海)制造系统工程有限公司 | 一种应用于白车身车门窗框滚边的新型滚轮机构 |
| JP2019527138A (ja) | 2016-06-09 | 2019-09-26 | ダイバージェント テクノロジーズ, インコーポレイテッドDivergent Technologies, Inc. | アークおよびノードの設計ならびに製作のためのシステムおよび方法 |
| KR101875645B1 (ko) * | 2016-08-16 | 2018-07-06 | 기아자동차 주식회사 | 스마트 능동제어 헤밍 장치 및 방법 |
| CN106077315A (zh) * | 2016-08-25 | 2016-11-09 | 安徽同步自动化科技有限公司 | 一种滚压包边专用滚压总成 |
| EP3305431B1 (en) | 2016-10-10 | 2023-09-27 | Comau S.p.A. | Hemming apparatus and hemming method |
| US11155005B2 (en) | 2017-02-10 | 2021-10-26 | Divergent Technologies, Inc. | 3D-printed tooling and methods for producing same |
| US10759090B2 (en) | 2017-02-10 | 2020-09-01 | Divergent Technologies, Inc. | Methods for producing panels using 3D-printed tooling shells |
| RS59305B1 (sr) | 2017-02-23 | 2019-10-31 | Comau Spa | Zglobni robot koji nosi glavu za elektrootporno zavarivanje sa elektrodama smeštenim na istoj strani; odgovarajući postupak elektrootpornog zavarivanja na komponenti koja se zavaruje |
| US12251884B2 (en) | 2017-04-28 | 2025-03-18 | Divergent Technologies, Inc. | Support structures in additive manufacturing |
| US10898968B2 (en) | 2017-04-28 | 2021-01-26 | Divergent Technologies, Inc. | Scatter reduction in additive manufacturing |
| US10703419B2 (en) | 2017-05-19 | 2020-07-07 | Divergent Technologies, Inc. | Apparatus and methods for joining panels |
| US11358337B2 (en) | 2017-05-24 | 2022-06-14 | Divergent Technologies, Inc. | Robotic assembly of transport structures using on-site additive manufacturing |
| US11123973B2 (en) | 2017-06-07 | 2021-09-21 | Divergent Technologies, Inc. | Interconnected deflectable panel and node |
| US10919230B2 (en) | 2017-06-09 | 2021-02-16 | Divergent Technologies, Inc. | Node with co-printed interconnect and methods for producing same |
| US10781846B2 (en) | 2017-06-19 | 2020-09-22 | Divergent Technologies, Inc. | 3-D-printed components including fasteners and methods for producing same |
| US10994876B2 (en) | 2017-06-30 | 2021-05-04 | Divergent Technologies, Inc. | Automated wrapping of components in transport structures |
| US11022375B2 (en) | 2017-07-06 | 2021-06-01 | Divergent Technologies, Inc. | Apparatus and methods for additively manufacturing microtube heat exchangers |
| US10895315B2 (en) | 2017-07-07 | 2021-01-19 | Divergent Technologies, Inc. | Systems and methods for implementing node to node connections in mechanized assemblies |
| US10940609B2 (en) | 2017-07-25 | 2021-03-09 | Divergent Technologies, Inc. | Methods and apparatus for additively manufactured endoskeleton-based transport structures |
| US10751800B2 (en) | 2017-07-25 | 2020-08-25 | Divergent Technologies, Inc. | Methods and apparatus for additively manufactured exoskeleton-based transport structures |
| US10605285B2 (en) | 2017-08-08 | 2020-03-31 | Divergent Technologies, Inc. | Systems and methods for joining node and tube structures |
| US10357959B2 (en) | 2017-08-15 | 2019-07-23 | Divergent Technologies, Inc. | Methods and apparatus for additively manufactured identification features |
| US11306751B2 (en) | 2017-08-31 | 2022-04-19 | Divergent Technologies, Inc. | Apparatus and methods for connecting tubes in transport structures |
| US10960611B2 (en) | 2017-09-06 | 2021-03-30 | Divergent Technologies, Inc. | Methods and apparatuses for universal interface between parts in transport structures |
| US11292058B2 (en) | 2017-09-12 | 2022-04-05 | Divergent Technologies, Inc. | Apparatus and methods for optimization of powder removal features in additively manufactured components |
| US10668816B2 (en) | 2017-10-11 | 2020-06-02 | Divergent Technologies, Inc. | Solar extended range electric vehicle with panel deployment and emitter tracking |
| US10814564B2 (en) | 2017-10-11 | 2020-10-27 | Divergent Technologies, Inc. | Composite material inlay in additively manufactured structures |
| US11786971B2 (en) | 2017-11-10 | 2023-10-17 | Divergent Technologies, Inc. | Structures and methods for high volume production of complex structures using interface nodes |
| US10926599B2 (en) | 2017-12-01 | 2021-02-23 | Divergent Technologies, Inc. | Suspension systems using hydraulic dampers |
| US11110514B2 (en) | 2017-12-14 | 2021-09-07 | Divergent Technologies, Inc. | Apparatus and methods for connecting nodes to tubes in transport structures |
| US11085473B2 (en) | 2017-12-22 | 2021-08-10 | Divergent Technologies, Inc. | Methods and apparatus for forming node to panel joints |
| US11534828B2 (en) | 2017-12-27 | 2022-12-27 | Divergent Technologies, Inc. | Assembling structures comprising 3D printed components and standardized components utilizing adhesive circuits |
| US11420262B2 (en) | 2018-01-31 | 2022-08-23 | Divergent Technologies, Inc. | Systems and methods for co-casting of additively manufactured interface nodes |
| US10751934B2 (en) | 2018-02-01 | 2020-08-25 | Divergent Technologies, Inc. | Apparatus and methods for additive manufacturing with variable extruder profiles |
| US11224943B2 (en) | 2018-03-07 | 2022-01-18 | Divergent Technologies, Inc. | Variable beam geometry laser-based powder bed fusion |
| US11267236B2 (en) | 2018-03-16 | 2022-03-08 | Divergent Technologies, Inc. | Single shear joint for node-to-node connections |
| US11254381B2 (en) | 2018-03-19 | 2022-02-22 | Divergent Technologies, Inc. | Manufacturing cell based vehicle manufacturing system and method |
| US11872689B2 (en) | 2018-03-19 | 2024-01-16 | Divergent Technologies, Inc. | End effector features for additively manufactured components |
| US11408216B2 (en) | 2018-03-20 | 2022-08-09 | Divergent Technologies, Inc. | Systems and methods for co-printed or concurrently assembled hinge structures |
| US11613078B2 (en) | 2018-04-20 | 2023-03-28 | Divergent Technologies, Inc. | Apparatus and methods for additively manufacturing adhesive inlet and outlet ports |
| US11214317B2 (en) | 2018-04-24 | 2022-01-04 | Divergent Technologies, Inc. | Systems and methods for joining nodes and other structures |
| US10682821B2 (en) | 2018-05-01 | 2020-06-16 | Divergent Technologies, Inc. | Flexible tooling system and method for manufacturing of composite structures |
| US11020800B2 (en) | 2018-05-01 | 2021-06-01 | Divergent Technologies, Inc. | Apparatus and methods for sealing powder holes in additively manufactured parts |
| US11389816B2 (en) | 2018-05-09 | 2022-07-19 | Divergent Technologies, Inc. | Multi-circuit single port design in additively manufactured node |
| US10691104B2 (en) | 2018-05-16 | 2020-06-23 | Divergent Technologies, Inc. | Additively manufacturing structures for increased spray forming resolution or increased fatigue life |
| US11590727B2 (en) | 2018-05-21 | 2023-02-28 | Divergent Technologies, Inc. | Custom additively manufactured core structures |
| US11441586B2 (en) | 2018-05-25 | 2022-09-13 | Divergent Technologies, Inc. | Apparatus for injecting fluids in node based connections |
| US11035511B2 (en) | 2018-06-05 | 2021-06-15 | Divergent Technologies, Inc. | Quick-change end effector |
| US11292056B2 (en) | 2018-07-06 | 2022-04-05 | Divergent Technologies, Inc. | Cold-spray nozzle |
| US11269311B2 (en) | 2018-07-26 | 2022-03-08 | Divergent Technologies, Inc. | Spray forming structural joints |
| US10836120B2 (en) | 2018-08-27 | 2020-11-17 | Divergent Technologies, Inc . | Hybrid composite structures with integrated 3-D printed elements |
| US11433557B2 (en) | 2018-08-28 | 2022-09-06 | Divergent Technologies, Inc. | Buffer block apparatuses and supporting apparatuses |
| US11826953B2 (en) | 2018-09-12 | 2023-11-28 | Divergent Technologies, Inc. | Surrogate supports in additive manufacturing |
| US11072371B2 (en) | 2018-10-05 | 2021-07-27 | Divergent Technologies, Inc. | Apparatus and methods for additively manufactured structures with augmented energy absorption properties |
| US11260582B2 (en) | 2018-10-16 | 2022-03-01 | Divergent Technologies, Inc. | Methods and apparatus for manufacturing optimized panels and other composite structures |
| US12115583B2 (en) | 2018-11-08 | 2024-10-15 | Divergent Technologies, Inc. | Systems and methods for adhesive-based part retention features in additively manufactured structures |
| US12194536B2 (en) | 2018-11-13 | 2025-01-14 | Divergent Technologies, Inc. | 3-D printer with manifolds for gas exchange |
| US11504912B2 (en) | 2018-11-20 | 2022-11-22 | Divergent Technologies, Inc. | Selective end effector modular attachment device |
| USD911222S1 (en) | 2018-11-21 | 2021-02-23 | Divergent Technologies, Inc. | Vehicle and/or replica |
| US11449021B2 (en) | 2018-12-17 | 2022-09-20 | Divergent Technologies, Inc. | Systems and methods for high accuracy fixtureless assembly |
| US10663110B1 (en) | 2018-12-17 | 2020-05-26 | Divergent Technologies, Inc. | Metrology apparatus to facilitate capture of metrology data |
| US11529741B2 (en) | 2018-12-17 | 2022-12-20 | Divergent Technologies, Inc. | System and method for positioning one or more robotic apparatuses |
| US11885000B2 (en) | 2018-12-21 | 2024-01-30 | Divergent Technologies, Inc. | In situ thermal treatment for PBF systems |
| US12378643B2 (en) | 2019-01-18 | 2025-08-05 | Divergent Technologies, Inc. | Aluminum alloys |
| US11203240B2 (en) | 2019-04-19 | 2021-12-21 | Divergent Technologies, Inc. | Wishbone style control arm assemblies and methods for producing same |
| US12314031B1 (en) | 2019-06-27 | 2025-05-27 | Divergent Technologies, Inc. | Incorporating complex geometric features in additively manufactured parts |
| CN110328266B (zh) * | 2019-08-16 | 2024-04-09 | 江苏三迪机车制造有限公司 | 折边组件及折边方法 |
| US12280554B2 (en) | 2019-11-21 | 2025-04-22 | Divergent Technologies, Inc. | Fixtureless robotic assembly |
| US11912339B2 (en) | 2020-01-10 | 2024-02-27 | Divergent Technologies, Inc. | 3-D printed chassis structure with self-supporting ribs |
| US11590703B2 (en) | 2020-01-24 | 2023-02-28 | Divergent Technologies, Inc. | Infrared radiation sensing and beam control in electron beam additive manufacturing |
| US12194674B2 (en) | 2020-02-14 | 2025-01-14 | Divergent Technologies, Inc. | Multi-material powder bed fusion 3-D printer |
| US11479015B2 (en) | 2020-02-14 | 2022-10-25 | Divergent Technologies, Inc. | Custom formed panels for transport structures and methods for assembling same |
| US11884025B2 (en) | 2020-02-14 | 2024-01-30 | Divergent Technologies, Inc. | Three-dimensional printer and methods for assembling parts via integration of additive and conventional manufacturing operations |
| US12203397B2 (en) | 2020-02-18 | 2025-01-21 | Divergent Technologies, Inc. | Impact energy absorber with integrated engine exhaust noise muffler |
| US11535322B2 (en) | 2020-02-25 | 2022-12-27 | Divergent Technologies, Inc. | Omni-positional adhesion device |
| US11421577B2 (en) | 2020-02-25 | 2022-08-23 | Divergent Technologies, Inc. | Exhaust headers with integrated heat shielding and thermal syphoning |
| US12337541B2 (en) | 2020-02-27 | 2025-06-24 | Divergent Technologies, Inc. | Powder bed fusion additive manufacturing system with desiccant positioned within hopper and ultrasonic transducer |
| US11413686B2 (en) | 2020-03-06 | 2022-08-16 | Divergent Technologies, Inc. | Methods and apparatuses for sealing mechanisms for realizing adhesive connections with additively manufactured components |
| US12111638B2 (en) | 2020-06-10 | 2024-10-08 | Divergent Technologies, Inc. | Adaptive production system |
| US11850804B2 (en) | 2020-07-28 | 2023-12-26 | Divergent Technologies, Inc. | Radiation-enabled retention features for fixtureless assembly of node-based structures |
| US11806941B2 (en) | 2020-08-21 | 2023-11-07 | Divergent Technologies, Inc. | Mechanical part retention features for additively manufactured structures |
| WO2022055898A1 (en) | 2020-09-08 | 2022-03-17 | Divergent Technologies, Inc. | Assembly sequence generation |
| WO2022066671A1 (en) | 2020-09-22 | 2022-03-31 | Divergent Technologies, Inc. | Methods and apparatuses for ball milling to produce powder for additive manufacturing |
| US12220819B2 (en) | 2020-10-21 | 2025-02-11 | Divergent Technologies, Inc. | 3-D printed metrology feature geometry and detection |
| US12311612B2 (en) | 2020-12-18 | 2025-05-27 | Divergent Technologies, Inc. | Direct inject joint architecture enabled by quick cure adhesive |
| US12083596B2 (en) | 2020-12-21 | 2024-09-10 | Divergent Technologies, Inc. | Thermal elements for disassembly of node-based adhesively bonded structures |
| US12226824B2 (en) | 2020-12-22 | 2025-02-18 | Divergent Technologies, Inc. | Three dimensional printer with configurable build plate for rapid powder removal |
| US11872626B2 (en) | 2020-12-24 | 2024-01-16 | Divergent Technologies, Inc. | Systems and methods for floating pin joint design |
| US11947335B2 (en) | 2020-12-30 | 2024-04-02 | Divergent Technologies, Inc. | Multi-component structure optimization for combining 3-D printed and commercially available parts |
| US11928966B2 (en) | 2021-01-13 | 2024-03-12 | Divergent Technologies, Inc. | Virtual railroad |
| US12459377B2 (en) | 2021-01-19 | 2025-11-04 | Divergent Technologies, Inc. | Energy unit cells for primary vehicle structure |
| US12249812B2 (en) | 2021-01-19 | 2025-03-11 | Divergent Technologies, Inc. | Bus bars for printed structural electric battery modules |
| WO2022192465A1 (en) | 2021-03-09 | 2022-09-15 | Divergent Technologies, Inc. | Rotational additive manufacturing systems and methods |
| US12090551B2 (en) | 2021-04-23 | 2024-09-17 | Divergent Technologies, Inc. | Removal of supports, and other materials from surface, and within hollow 3D printed parts |
| US12138772B2 (en) | 2021-04-30 | 2024-11-12 | Divergent Technologies, Inc. | Mobile parts table |
| CN117769486A (zh) | 2021-05-24 | 2024-03-26 | 戴弗根特技术有限公司 | 机器人夹持器设备 |
| WO2023278878A1 (en) | 2021-07-01 | 2023-01-05 | Divergent Technologies, Inc. | Al-mg-si based near-eutectic alloy composition for high strength and stiffness applications |
| US11498112B1 (en) * | 2021-07-14 | 2022-11-15 | DRiV Automotive Inc. | Roller press assembly and method |
| US11865617B2 (en) | 2021-08-25 | 2024-01-09 | Divergent Technologies, Inc. | Methods and apparatuses for wide-spectrum consumption of output of atomization processes across multi-process and multi-scale additive manufacturing modalities |
| US12351238B2 (en) | 2021-11-02 | 2025-07-08 | Divergent Technologies, Inc. | Motor nodes |
| EP4469265A4 (en) | 2022-01-25 | 2025-06-25 | Divergent Technologies, Inc. | MEASUREMENT-BASED CORRECTIONS FOR STRUCTURAL ARRANGEMENT |
| US12152629B2 (en) | 2022-01-25 | 2024-11-26 | Divergent Technologies, Inc. | Attachment structure having a connection member with multiple attachment features |
Family Cites Families (21)
| Publication number | Priority date | Publication date | Assignee | Title |
|---|---|---|---|---|
| CN85201531U (zh) * | 1985-05-14 | 1986-07-02 | 机械工业部第九设计研究院 | 车门滚边机 |
| GB8814938D0 (en) * | 1988-06-23 | 1988-07-27 | Metal Box Plc | Method for roll forming & apparatus for carrying out method |
| JP2675347B2 (ja) * | 1988-09-06 | 1997-11-12 | マツダ株式会社 | ヘミング成形装置 |
| SG44936A1 (en) * | 1992-07-09 | 1997-12-19 | Triengineering Co Ltd | Roller type hemming apparatus |
| JPH08164433A (ja) * | 1994-12-14 | 1996-06-25 | Toyota Motor Corp | ヘミング加工装置 |
| SE513776C2 (sv) * | 1999-03-18 | 2000-11-06 | Abb Ab | Falsningsverktyg, förfarande för dess framställning samt användning av detta verktyg |
| DE10011854C5 (de) * | 2000-03-10 | 2013-06-20 | Fft Edag Produktionssysteme Gmbh & Co. Kg | Rollfalzkopf und Verfahren zum Erzeugen einer Blechfalzverbindung |
| WO2003024641A1 (de) | 2001-08-31 | 2003-03-27 | Edag Engineering + Design Aktiengesellschaft | Rollfalzkopf und verfahren zum falzen eines flansches |
| ES2303934T5 (es) | 2003-09-25 | 2012-05-31 | Mabi Ag | Máquina laminadora de chapas para el acanalado, rebordeado y similares de chapas finas |
| US7254973B2 (en) * | 2004-11-19 | 2007-08-14 | Modern Body Engineering Corporation | Roller tool and positional pressure method of use for the forming and joining of sheet material |
| US6983633B2 (en) * | 2003-10-24 | 2006-01-10 | Ford Global Technologies, Llc | Apparatus for roll hemming with zero angle deflection |
| CN1882401A (zh) * | 2003-11-21 | 2006-12-20 | 乔纳森·莱奥·坎彼安 | 接合片材的工具及方法 |
| US20050217339A1 (en) * | 2004-03-30 | 2005-10-06 | Tesco Engineering Inc. | Roller type hemming apparatus |
| JP4943666B2 (ja) * | 2004-05-11 | 2012-05-30 | 本田技研工業株式会社 | ロールヘミング加工方法及び加工装置 |
| US7290423B2 (en) * | 2004-06-28 | 2007-11-06 | Gm Global Technology Operations, Inc. | Roller hemming apparatus and method |
| DE102004042213A1 (de) * | 2004-09-01 | 2006-03-02 | Dr.Ing.H.C. F. Porsche Ag | An einen Industrieroboter anbaubarer Rollfalzkopf |
| ES2296034T3 (es) * | 2004-09-24 | 2008-04-16 | Edag Engineering + Design Aktiengesellschaft | Dispositivo y procedimiento de rebordeado con proteccion de la pieza. |
| US7124611B2 (en) * | 2004-10-08 | 2006-10-24 | Valiant Corporation | Roller hemming machine |
| DE102005004474B3 (de) | 2005-01-31 | 2006-08-31 | Edag Engineering + Design Ag | Bördelvorrichtung und Bördelverfahren zum Umlegen eines Bördelstegs eines Bauteils um eine Bördelkante |
| US8015688B2 (en) * | 2006-06-30 | 2011-09-13 | GM Global Technology Operations LLC | Method and apparatus for hemming and sealing a joint |
| US20080245124A1 (en) * | 2007-04-05 | 2008-10-09 | Hirotec America, Inc. | Pressure monitoring method for roller hemming |
-
2007
- 2007-06-01 DE DE202007007838U patent/DE202007007838U1/de not_active Expired - Lifetime
-
2008
- 2008-05-30 US US12/601,624 patent/US8408036B2/en active Active
- 2008-05-30 WO PCT/EP2008/004338 patent/WO2008145396A1/de not_active Ceased
- 2008-05-30 CN CN2008800181692A patent/CN101687245B/zh active Active
- 2008-05-30 KR KR1020097027505A patent/KR101282614B1/ko active Active
- 2008-05-30 KR KR1020137003790A patent/KR20130030302A/ko not_active Withdrawn
- 2008-05-30 EP EP08758908A patent/EP2160258B1/de active Active
- 2008-05-30 JP JP2010509746A patent/JP5220847B2/ja active Active
Also Published As
| Publication number | Publication date |
|---|---|
| JP5220847B2 (ja) | 2013-06-26 |
| DE202007007838U1 (de) | 2007-09-13 |
| CN101687245B (zh) | 2012-07-18 |
| US20100242561A1 (en) | 2010-09-30 |
| CN101687245A (zh) | 2010-03-31 |
| US8408036B2 (en) | 2013-04-02 |
| JP2010528864A (ja) | 2010-08-26 |
| KR101282614B1 (ko) | 2013-07-12 |
| KR20100025554A (ko) | 2010-03-09 |
| WO2008145396A1 (de) | 2008-12-04 |
| KR20130030302A (ko) | 2013-03-26 |
| EP2160258A1 (de) | 2010-03-10 |
Similar Documents
| Publication | Publication Date | Title |
|---|---|---|
| EP2160258B1 (de) | Rollbördelwerkzeug | |
| DE102005004474B3 (de) | Bördelvorrichtung und Bördelverfahren zum Umlegen eines Bördelstegs eines Bauteils um eine Bördelkante | |
| EP2440343B1 (de) | Verfahren und werkzeug zum bördeln eines werkstücks | |
| DE102008003067B4 (de) | Verfahren und Biegewerkzeug zum Biegen eines Werkstücks | |
| EP0039322B1 (de) | Vorrichtung zum Abkanten von Blechtafeln | |
| EP2847012B1 (de) | Achseinbindung für eine gefederte fahrzeugachse | |
| DE102009026092A1 (de) | Crimpzange | |
| DE10011854B4 (de) | Rollfalzkopf und Verfahren zum Erzeugen einer Blechfalzverbindung | |
| DE202017006955U1 (de) | Roboterarm mit einer Gewichtsausgleichsvorrichtung | |
| DE60300614T2 (de) | Rollbördelwerkzeug und Bördelverfahren | |
| DE102006001839A1 (de) | Achshebevorrichtung für ein Fahrzeug | |
| EP2020366B1 (de) | Dachspoileranordnung für Nutzfahrzeug-Fahrerhäuser | |
| DE2835514B1 (de) | Vorrichtung zum axialen Verschieben von konischen Zwischenwalzen in einem Mehrrollen-Walzgeruest | |
| DE102007009803A1 (de) | Werkzeug zum automatischen Ausrichten und Justieren von Scharnieren, insbesondere für Türen an Kfz-Karosserien | |
| WO2012167765A1 (de) | Hebelaktor für eine reibungskupplung | |
| DE102018118615B4 (de) | Relativführungsvorrichtung für eine radträgerseitig angeordnete Lenkanordnung | |
| DE3808763C2 (enExample) | ||
| DE2126347C3 (de) | Vorrichtung zum Reinigen der Räder von Fahrzeugen | |
| DE202006000661U1 (de) | Bördelvorrichtung mit nachgiebiger Stützrolle | |
| EP3227035B1 (de) | Falzwerkzeug, falzverfahren und falzeinrichtung | |
| DE69416523T2 (de) | Vorrichtung zum ausrichten beschädigter kraftfahrzeugkarosserien und kraftfahrzeuge | |
| DE20114310U1 (de) | Falzeinrichtung für Roboter | |
| DE2300750A1 (de) | Gerueststuetze | |
| DE1605887B2 (de) | Gelenkanordnung für Fahrzeughauben | |
| DE102006057967B4 (de) | Öffnungsfähiges Fahrzeugdach mit einer Viergelenkanordnung |
Legal Events
| Date | Code | Title | Description |
|---|---|---|---|
| PUAI | Public reference made under article 153(3) epc to a published international application that has entered the european phase |
Free format text: ORIGINAL CODE: 0009012 |
|
| 17P | Request for examination filed |
Effective date: 20091229 |
|
| AK | Designated contracting states |
Kind code of ref document: A1 Designated state(s): AT BE BG CH CY CZ DE DK EE ES FI FR GB GR HR HU IE IS IT LI LT LU LV MC MT NL NO PL PT RO SE SI SK TR |
|
| AX | Request for extension of the european patent |
Extension state: AL BA MK RS |
|
| 17Q | First examination report despatched |
Effective date: 20100707 |
|
| DAX | Request for extension of the european patent (deleted) | ||
| RAP1 | Party data changed (applicant data changed or rights of an application transferred) |
Owner name: FFT EDAG PRODUKTIONSSYSTEME GMBH & CO. KG |
|
| GRAP | Despatch of communication of intention to grant a patent |
Free format text: ORIGINAL CODE: EPIDOSNIGR1 |
|
| GRAS | Grant fee paid |
Free format text: ORIGINAL CODE: EPIDOSNIGR3 |
|
| GRAA | (expected) grant |
Free format text: ORIGINAL CODE: 0009210 |
|
| AK | Designated contracting states |
Kind code of ref document: B1 Designated state(s): AT BE BG CH CY CZ DE DK EE ES FI FR GB GR HR HU IE IS IT LI LT LU LV MC MT NL NO PL PT RO SE SI SK TR |
|
| REG | Reference to a national code |
Ref country code: GB Ref legal event code: FG4D Free format text: NOT ENGLISH |
|
| REG | Reference to a national code |
Ref country code: AT Ref legal event code: REF Ref document number: 578708 Country of ref document: AT Kind code of ref document: T Effective date: 20121015 Ref country code: CH Ref legal event code: EP |
|
| REG | Reference to a national code |
Ref country code: IE Ref legal event code: FG4D Free format text: LANGUAGE OF EP DOCUMENT: GERMAN |
|
| REG | Reference to a national code |
Ref country code: DE Ref legal event code: R096 Ref document number: 502008008376 Country of ref document: DE Effective date: 20121206 |
|
| PG25 | Lapsed in a contracting state [announced via postgrant information from national office to epo] |
Ref country code: SI Free format text: LAPSE BECAUSE OF FAILURE TO SUBMIT A TRANSLATION OF THE DESCRIPTION OR TO PAY THE FEE WITHIN THE PRESCRIBED TIME-LIMIT Effective date: 20121010 |
|
| REG | Reference to a national code |
Ref country code: NL Ref legal event code: VDEP Effective date: 20121010 |
|
| REG | Reference to a national code |
Ref country code: LT Ref legal event code: MG4D |
|
| PG25 | Lapsed in a contracting state [announced via postgrant information from national office to epo] |
Ref country code: FI Free format text: LAPSE BECAUSE OF FAILURE TO SUBMIT A TRANSLATION OF THE DESCRIPTION OR TO PAY THE FEE WITHIN THE PRESCRIBED TIME-LIMIT Effective date: 20121010 Ref country code: NO Free format text: LAPSE BECAUSE OF FAILURE TO SUBMIT A TRANSLATION OF THE DESCRIPTION OR TO PAY THE FEE WITHIN THE PRESCRIBED TIME-LIMIT Effective date: 20130110 Ref country code: LT Free format text: LAPSE BECAUSE OF FAILURE TO SUBMIT A TRANSLATION OF THE DESCRIPTION OR TO PAY THE FEE WITHIN THE PRESCRIBED TIME-LIMIT Effective date: 20121010 Ref country code: NL Free format text: LAPSE BECAUSE OF FAILURE TO SUBMIT A TRANSLATION OF THE DESCRIPTION OR TO PAY THE FEE WITHIN THE PRESCRIBED TIME-LIMIT Effective date: 20121010 Ref country code: IS Free format text: LAPSE BECAUSE OF FAILURE TO SUBMIT A TRANSLATION OF THE DESCRIPTION OR TO PAY THE FEE WITHIN THE PRESCRIBED TIME-LIMIT Effective date: 20130210 Ref country code: HR Free format text: LAPSE BECAUSE OF FAILURE TO SUBMIT A TRANSLATION OF THE DESCRIPTION OR TO PAY THE FEE WITHIN THE PRESCRIBED TIME-LIMIT Effective date: 20121010 Ref country code: ES Free format text: LAPSE BECAUSE OF FAILURE TO SUBMIT A TRANSLATION OF THE DESCRIPTION OR TO PAY THE FEE WITHIN THE PRESCRIBED TIME-LIMIT Effective date: 20130121 Ref country code: SE Free format text: LAPSE BECAUSE OF FAILURE TO SUBMIT A TRANSLATION OF THE DESCRIPTION OR TO PAY THE FEE WITHIN THE PRESCRIBED TIME-LIMIT Effective date: 20121010 |
|
| PG25 | Lapsed in a contracting state [announced via postgrant information from national office to epo] |
Ref country code: PT Free format text: LAPSE BECAUSE OF FAILURE TO SUBMIT A TRANSLATION OF THE DESCRIPTION OR TO PAY THE FEE WITHIN THE PRESCRIBED TIME-LIMIT Effective date: 20130211 Ref country code: CY Free format text: LAPSE BECAUSE OF FAILURE TO SUBMIT A TRANSLATION OF THE DESCRIPTION OR TO PAY THE FEE WITHIN THE PRESCRIBED TIME-LIMIT Effective date: 20121010 Ref country code: GR Free format text: LAPSE BECAUSE OF FAILURE TO SUBMIT A TRANSLATION OF THE DESCRIPTION OR TO PAY THE FEE WITHIN THE PRESCRIBED TIME-LIMIT Effective date: 20130111 Ref country code: LV Free format text: LAPSE BECAUSE OF FAILURE TO SUBMIT A TRANSLATION OF THE DESCRIPTION OR TO PAY THE FEE WITHIN THE PRESCRIBED TIME-LIMIT Effective date: 20121010 Ref country code: PL Free format text: LAPSE BECAUSE OF FAILURE TO SUBMIT A TRANSLATION OF THE DESCRIPTION OR TO PAY THE FEE WITHIN THE PRESCRIBED TIME-LIMIT Effective date: 20121010 |
|
| PG25 | Lapsed in a contracting state [announced via postgrant information from national office to epo] |
Ref country code: EE Free format text: LAPSE BECAUSE OF FAILURE TO SUBMIT A TRANSLATION OF THE DESCRIPTION OR TO PAY THE FEE WITHIN THE PRESCRIBED TIME-LIMIT Effective date: 20121010 Ref country code: SK Free format text: LAPSE BECAUSE OF FAILURE TO SUBMIT A TRANSLATION OF THE DESCRIPTION OR TO PAY THE FEE WITHIN THE PRESCRIBED TIME-LIMIT Effective date: 20121010 Ref country code: DK Free format text: LAPSE BECAUSE OF FAILURE TO SUBMIT A TRANSLATION OF THE DESCRIPTION OR TO PAY THE FEE WITHIN THE PRESCRIBED TIME-LIMIT Effective date: 20121010 Ref country code: BG Free format text: LAPSE BECAUSE OF FAILURE TO SUBMIT A TRANSLATION OF THE DESCRIPTION OR TO PAY THE FEE WITHIN THE PRESCRIBED TIME-LIMIT Effective date: 20130110 Ref country code: CZ Free format text: LAPSE BECAUSE OF FAILURE TO SUBMIT A TRANSLATION OF THE DESCRIPTION OR TO PAY THE FEE WITHIN THE PRESCRIBED TIME-LIMIT Effective date: 20121010 |
|
| PLBE | No opposition filed within time limit |
Free format text: ORIGINAL CODE: 0009261 |
|
| STAA | Information on the status of an ep patent application or granted ep patent |
Free format text: STATUS: NO OPPOSITION FILED WITHIN TIME LIMIT |
|
| PG25 | Lapsed in a contracting state [announced via postgrant information from national office to epo] |
Ref country code: RO Free format text: LAPSE BECAUSE OF FAILURE TO SUBMIT A TRANSLATION OF THE DESCRIPTION OR TO PAY THE FEE WITHIN THE PRESCRIBED TIME-LIMIT Effective date: 20121010 Ref country code: IT Free format text: LAPSE BECAUSE OF FAILURE TO SUBMIT A TRANSLATION OF THE DESCRIPTION OR TO PAY THE FEE WITHIN THE PRESCRIBED TIME-LIMIT Effective date: 20121010 |
|
| 26N | No opposition filed |
Effective date: 20130711 |
|
| REG | Reference to a national code |
Ref country code: DE Ref legal event code: R097 Ref document number: 502008008376 Country of ref document: DE Effective date: 20130711 |
|
| BERE | Be: lapsed |
Owner name: FFT EDAG PRODUKTIONSSYSTEME G.M.B.H. & CO. KG Effective date: 20130531 |
|
| PG25 | Lapsed in a contracting state [announced via postgrant information from national office to epo] |
Ref country code: MC Free format text: LAPSE BECAUSE OF FAILURE TO SUBMIT A TRANSLATION OF THE DESCRIPTION OR TO PAY THE FEE WITHIN THE PRESCRIBED TIME-LIMIT Effective date: 20121010 |
|
| REG | Reference to a national code |
Ref country code: CH Ref legal event code: PL |
|
| PG25 | Lapsed in a contracting state [announced via postgrant information from national office to epo] |
Ref country code: CH Free format text: LAPSE BECAUSE OF NON-PAYMENT OF DUE FEES Effective date: 20130531 Ref country code: LI Free format text: LAPSE BECAUSE OF NON-PAYMENT OF DUE FEES Effective date: 20130531 |
|
| REG | Reference to a national code |
Ref country code: IE Ref legal event code: MM4A |
|
| PG25 | Lapsed in a contracting state [announced via postgrant information from national office to epo] |
Ref country code: BE Free format text: LAPSE BECAUSE OF NON-PAYMENT OF DUE FEES Effective date: 20130531 |
|
| PG25 | Lapsed in a contracting state [announced via postgrant information from national office to epo] |
Ref country code: IE Free format text: LAPSE BECAUSE OF NON-PAYMENT OF DUE FEES Effective date: 20130530 |
|
| REG | Reference to a national code |
Ref country code: AT Ref legal event code: MM01 Ref document number: 578708 Country of ref document: AT Kind code of ref document: T Effective date: 20130530 |
|
| PG25 | Lapsed in a contracting state [announced via postgrant information from national office to epo] |
Ref country code: AT Free format text: LAPSE BECAUSE OF NON-PAYMENT OF DUE FEES Effective date: 20130530 |
|
| PG25 | Lapsed in a contracting state [announced via postgrant information from national office to epo] |
Ref country code: MT Free format text: LAPSE BECAUSE OF FAILURE TO SUBMIT A TRANSLATION OF THE DESCRIPTION OR TO PAY THE FEE WITHIN THE PRESCRIBED TIME-LIMIT Effective date: 20121010 |
|
| PG25 | Lapsed in a contracting state [announced via postgrant information from national office to epo] |
Ref country code: TR Free format text: LAPSE BECAUSE OF FAILURE TO SUBMIT A TRANSLATION OF THE DESCRIPTION OR TO PAY THE FEE WITHIN THE PRESCRIBED TIME-LIMIT Effective date: 20121010 |
|
| PG25 | Lapsed in a contracting state [announced via postgrant information from national office to epo] |
Ref country code: LU Free format text: LAPSE BECAUSE OF NON-PAYMENT OF DUE FEES Effective date: 20130530 Ref country code: HU Free format text: LAPSE BECAUSE OF FAILURE TO SUBMIT A TRANSLATION OF THE DESCRIPTION OR TO PAY THE FEE WITHIN THE PRESCRIBED TIME-LIMIT; INVALID AB INITIO Effective date: 20080530 |
|
| REG | Reference to a national code |
Ref country code: FR Ref legal event code: PLFP Year of fee payment: 9 |
|
| REG | Reference to a national code |
Ref country code: FR Ref legal event code: PLFP Year of fee payment: 10 |
|
| REG | Reference to a national code |
Ref country code: FR Ref legal event code: PLFP Year of fee payment: 11 |
|
| REG | Reference to a national code |
Ref country code: DE Ref legal event code: R081 Ref document number: 502008008376 Country of ref document: DE Owner name: FFT PRODUKTIONSSYSTEME GMBH & CO. KG, DE Free format text: FORMER OWNER: FFT EDAG PRODUKTIONSSYSTEME GMBH & CO. KG, 36041 FULDA, DE |
|
| P01 | Opt-out of the competence of the unified patent court (upc) registered |
Effective date: 20230519 |
|
| PGFP | Annual fee paid to national office [announced via postgrant information from national office to epo] |
Ref country code: DE Payment date: 20250519 Year of fee payment: 18 |
|
| PGFP | Annual fee paid to national office [announced via postgrant information from national office to epo] |
Ref country code: GB Payment date: 20250522 Year of fee payment: 18 |
|
| PGFP | Annual fee paid to national office [announced via postgrant information from national office to epo] |
Ref country code: FR Payment date: 20250521 Year of fee payment: 18 |